JP2012062704A - 扉 - Google Patents

Download PDF

Info

Publication number
JP2012062704A
JP2012062704A JP2010208652A JP2010208652A JP2012062704A JP 2012062704 A JP2012062704 A JP 2012062704A JP 2010208652 A JP2010208652 A JP 2010208652A JP 2010208652 A JP2010208652 A JP 2010208652A JP 2012062704 A JP2012062704 A JP 2012062704A
Authority
JP
Japan
Prior art keywords
door
end plate
opening
recess
fitting recess
Prior art date
Legal status (The legal status is an assumption and is not a legal conclusion. Google has not performed a legal analysis and makes no representation as to the accuracy of the status listed.)
Granted
Application number
JP2010208652A
Other languages
English (en)
Other versions
JP5663248B2 (ja
Inventor
Nobuaki Asukai
信昭 飛鳥井
Keiichi Yoshie
慶一 吉江
Current Assignee (The listed assignees may be inaccurate. Google has not performed a legal analysis and makes no representation or warranty as to the accuracy of the list.)
Noda Corp
Original Assignee
Noda Corp
Priority date (The priority date is an assumption and is not a legal conclusion. Google has not performed a legal analysis and makes no representation as to the accuracy of the date listed.)
Filing date
Publication date
Application filed by Noda Corp filed Critical Noda Corp
Priority to JP2010208652A priority Critical patent/JP5663248B2/ja
Publication of JP2012062704A publication Critical patent/JP2012062704A/ja
Application granted granted Critical
Publication of JP5663248B2 publication Critical patent/JP5663248B2/ja
Active legal-status Critical Current
Anticipated expiration legal-status Critical

Links

Images

Landscapes

  • Securing Of Glass Panes Or The Like (AREA)

Abstract

【課題】開閉の際に手指を挟む危険が生ずることなく 容易に操作可能であり、枠材の表面から突出する部材や部分を無くした構成の扉を提供する。
【解決手段】框材による框組内に鏡板10が設けられてなる扉1において、たとえば左框材23の内側木口面に、鏡板の側端部を嵌合する嵌合凹部25aが形成されると共に、その上方に、表面側から手指を入れて扉開閉を行うための把持凹部27が凹状に形成される。扉開閉操作の際(特に扉を閉じるとき)に、扉と開口枠や戸当たりとの間(片開きの場合)や扉同士の間(両開きの場合)に手指を挟む危険が回避され、安全且つ容易に扉を開閉することができる。框材の内側木口面から裏面側に切り欠いて形成した嵌合凹部に鏡板を嵌合し、その裏面側に設けられる挟持部材を介して、扉裏面側より固定具によって框材に固定する(図3(c),(d))と、鏡板の固定作業を容易に行うことができる。
【選択図】図2

Description

本発明は、収納家具や壁の開口部に開閉可能に設けられる扉に関する。
収納家具や壁の開口部に設けられる扉には、その開閉手段として取手やノブのような部材が取り付けられることが多いが、このような開閉手段は外観上目立つものである。近年ではこの種の扉にもデザイン性が求められる中で、取手やノブのような目立つ開閉手段を設けると、扉のデザインとうまくマッチせずに違和感を与えてしまうことがある。
特許文献1では、鏡板10の左右側縁部を左右縦枠20,20の内周側に形成した溝(鏡板呑み込み部21)に嵌合させて枠内に鏡板を設けた扉において、扉の閉じ側となる縦枠の外周側の側端部表面に断面湾曲状の把持部26を突出形成し、この把持部26に手指を入れて扉を開閉する構成が提案されている。この構成によれば、把持部が縦枠の一部として一体に形成されるので、デザインの一体感・統一感を損なわずに済む利点がある。
特許第3286059号(特開平8−82164号)公報
しかしながら、特許文献1記載の扉における把持部は、扉の閉じ側となる縦枠の側縁端部表面に突出形成されて閉じ方向に開口して設けられることになるので、この把持部による空間に手指を入れて扉を閉じるときに、扉と開口枠や戸当たりとの間(片開きの場合)や扉同士の間(両開きの場合、特許文献1の図3,図4参照)に手指を挟んでしまう恐れがある。
また、この把持部による開閉操作用の空間は、鏡板の側縁端部を嵌合する溝の底部に近い位置に形成されることになる(特許文献1の特に図1参照)ので、把持部の根元部分の強度が低下し、把持部が縦枠の表面から突出して形成されていることとも相俟って、把持部が破損しやすいものとなる。
さらに、縦枠の側縁端部に、鏡板嵌合用の溝を内周側に向けて開口するように形成すると共に、断面湾曲形状を有する把持部を表面に突出形成しなければならず、加工手間がかかりコストが嵩む。
また、把持部が表面側に突出するので、この部分が扉開閉手段として機能することが外観上すぐに分かってしまい、扉全体または枠をできるだけフラットな構成にしたい場合のデザイン要求や、突出部を極力配して人体や家具などとの衝突の際に怪我や損傷を防止することの要求に応えることができない。開閉操作を容易且つ安全に行うためには把持部によって十分な空間を確保する必要があるが、前述のように鏡板嵌合用の溝と位置的に干渉することから、把持部を表面側に大きく突出させて形成せざるを得ず、フラットな扉とは遠くかけ離れた印象のものになってしまう。
したがって、本発明が解決しようとする課題は、開閉の際に手指を挟む危険が生ずることなく容易に操作可能であり、枠材の表面から突出する部材や部分を無くした構成の扉を提供することにある。
この課題を解決するため、請求項1に係る本発明は、鏡板と、この鏡板の対向するいずれかの二辺または四周に設けられる框材とからなり、框材の内側木口面に形成される嵌合凹部に鏡板の側端部が嵌合されることにより鏡板が一対の框材の間または四周框材の内部に設けられてなる扉において、少なくとも一の框材には、鏡板の側端部を嵌合する嵌合凹部が形成された内側木口面に、該框材の表面から手指を入れて扉開閉を行うための把持凹部が該框材の内側木口面から内部に入り込むように凹状に形成されることを特徴とする。
請求項2に係る本発明は、請求項1記載の扉において、前記嵌合凹部は框材の内側木口面から裏面側に切り欠き形成されており、鏡板は、この切り欠き形成された嵌合凹部に嵌合された状態で、その裏面側に設けられる挟持部材を介して、扉裏面側より固定具によって框材に固定されることを特徴とする。
請求項1に係る本発明によれば、扉の少なくとも一の框材において、鏡板の側端部を嵌合する嵌合凹部が形成された内側木口面に、該框材の表面から手指を入れて扉開閉を行うための把持凹部が該框材の内側木口面から内部に入り込むように凹状に形成されるので、この把持凹部に手指を入れて扉の開閉操作を行うとき(特に扉を閉じるとき)に、扉と開口枠や戸当たりとの間(片開きの場合)や扉同士の間(両開きの場合)に手指を挟む危険が回避され、安全且つ容易に扉の開閉を行うことができる。
また、把持凹部は、鏡板の側端部を嵌合する嵌合凹部と同じく、框材の内側木口面に形成されるので、框材の向きを変えることなく同一箇所でこれら嵌合凹部および把持凹部を加工することができ、加工手間およびコストが低減できる。
請求項2に係る本発明によれば、上記効果に加えて、鏡板固定作業を容易にすると共に、鏡板の側端部とこれを嵌合する嵌合凹部とについて厚さ方向での寸法誤差を許容して製造容易とすることができる効果が得られる。
本発明の一実施形態による扉の正面図である。 この扉の図1A−A断面図(a)および底面図(b)である。 この扉における框材内側木口面における鏡板取付構造および把持手段としての後退部の形状についての各種実施形態を示す部分断面図である。 本発明の他実施形態による扉の正面図である。 この扉の図4A−A断面図(a)および同図B部拡大図(b)である。
まず、本発明の構成について概括的に説明する。本発明は、鏡板と、この鏡板の対向するいずれかの二辺または四周に設けられる框材とからなり、框材の内側木口面に形成される嵌合凹部に鏡板の側端部が嵌合されることにより鏡板が一対の框材の間または四周框材の内部に設けられてなる扉において、少なくとも一の框材には、鏡板の側端部を嵌合する嵌合凹部が形成された内側木口面に、該框材の表面と鏡板の表面との間の厚さ方向距離範囲内であって框材の表面の内側突出縁によって覆われる把持凹部が形成され、この把持凹部に手指を入れて扉開閉を行うことを特徴とする。
扉の寸法は、設置される開口部の寸法に合わせて適宜に決定されるが、一般的に、高さ400〜2100mm、幅350〜1600mm、厚さ25〜50mmである。
框材は、一般に集成材から形成されるが、無垢材や、矩形状に組まれた芯材の表裏に木質パネルを貼着してなるフラッシュパネル構造体から形成されても良い。框材の表面には、化粧紙や化粧シートの貼着や塗装などによる化粧が施されても良い。化粧紙や化粧シートなどを貼着して化粧を施す場合には、シートの両端部を框材の内側木口面に形成される嵌合凹部に挿入することで、化粧の切れ目が露呈しない美麗な仕上げとすることができる。また、把持凹部は框材の内側木口面に形成されると共に表面に覆われているため目視されにくいので、塗装による化粧を行う場合には把持凹部の内部への塗装を省略しても良い。
鏡板は、集成材、無垢材、少なくとも表面に化粧が施された繊維板や合板、樹脂パネル、ガラス、木質基板の表面にミラーを設けたものなどを使用することができる。鏡板には任意に化粧を施すことができる。この場合の化粧は、前述した框材についての化粧と同様にして行うことができ、框材と同様または異なる化粧を行うことができる。
以下に実施例を挙げて本発明を詳述するが、本発明はこれら実施例に限定されるものではなく、特許請求の範囲の記載によって定義される発明の範囲内において様々な変形態様を取り得る。
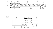
図1および図2には本発明の一実施形態による扉1が示されている。この扉1は、鏡板10の四周に框材20(21〜24)が設けられて構成されている。より詳しくは、上下框材21,22および左右框材23,24の各内側木口面には、鏡板10の対応する側端部11を嵌合する嵌合凹部25が長さ方向に亘って連続的に延長形成されている。図2(a),(b)には左右框材23,24の内側木口面に形成された嵌合凹部25(25a,25b)に鏡板10の側端部11(左右側端部11a,11b)がそれぞれ嵌合されている状態が示されている。図示されないが、同様に、上下框材21,22の内側木口面に形成された嵌合凹部に鏡板10の側端部(上下側端部)11がそれぞれ嵌合されている。この実施例では鏡板10の側端部11が下面側において薄く形成されて突出しており、この突出した側端部11が嵌合凹部25に嵌合されることによって鏡板10が框内に固定される。
図2(a),(b)に明らかなように、左框材23の内側木口面には、その表面26(=扉1の表面)から手指を入れて扉開閉を行うための把持凹部27が左框材23の内側木口面から内部に入り込むように凹状に形成されている。この実施形態では、左框材23の内側木口面から断面湾曲状に後退する把持凹部27として示されており、扉表面26から鏡板10の表面12までの厚さ範囲に亘って形成され、嵌合凹部25に連続している。
上下框材21,22の左右側端部は、左右框材23,24の内側木口面に対応した形状を有する。すなわち、図2(b)に示されるように、上下框材21,22の左右側端部は、鏡板10の左右側端部11a,11bと同形状に突出形成された突出縁部28a,28bを有していて左右框材23,24の嵌合凹部25a,25bに嵌合可能であると共に、この突出縁部28a,28bの上方において、左側端部では左框材23の内側木口面に形成された把持凹部27と同形状の断面湾曲状凹部29が形成され、右側端部は右框材24の内側木口面30に面接する形状とされている。また、突出縁部28a,28bの下方においても、左右框材23,24の内側木口面に面接する形状を有している。そして、上下框材21,22の突出縁部28a,28bを左右框材23,24の嵌合凹部25a,25bに嵌合させると共に、その上下において左右框材23,24の内側木口面に沿って当接させた状態で框組みしたときに、左右框材23,24と上下框材21,22の表裏面がそれぞれ略面一となるように設計されている。図2(b)には左右框材23,24と下框材22との組み付け状態が示されているが、左右框材23,24と上框材21との組み付け状態も同様である。また、上記のように組み付けられる箇所において、各框材の内側木口面には対向する箇所にダボ穴(図示せず)が形成され、対向する一対のダボ穴にダボ(図示せず)を嵌合することによって框組みが行われる。
この扉1の製造方法について説明する。上下左右の框材20(21〜24)の内側木口面となる箇所に長さ方向に亘って嵌合凹部25(25a,25b)を形成すると共に、左框材23についてはその内側木口面にさらに把持凹部27を形成する。さらに、各框材が組み付けられる箇所においてダボ穴を対向形成する。このようにして各框材の内側木口面に形成された嵌合凹部25およびダボ穴にそれぞれ接着剤を塗布し、嵌合凹部25に鏡板10の側端部11を嵌入すると共にダボ穴にダボを嵌入することによって、框材20(21〜24)による框組内に鏡板10が嵌合されて扉1が形成される。この際に嵌合凹部25やダボ穴に塗布した接着剤が框材の内側木口面にあふれ出すことがあっても、把持凹部27が湾曲状に後退して形成されているので、あふれ出した接着剤が扉1の表面に露呈することが無く、見栄えを損なわない。
この実施例の扉1は、玄関収納などの収納家具の開口部において、右框材24に蝶番(図示せず)を取り付けて対向する側板に対して回転可能に設置される開き扉として使用されるものである。そして、左框材23の内側木口面に長さ方向(上下方向)に亘って形成された把持凹部27に手指を入れて開閉操作を行うことができるものである。把持凹部27は扉1の内方に向いて開口しているため、開閉操作の際に、扉同士の間や扉と側板との間に手指を挟む危険が回避され、安全且つ容易に扉の開閉を行うことができる。
なお、この扉1を逆方向の開き扉、すなわち左框材24に蝶番を取り付けて対向する開口縦枠に対して回転可能に設置される開き扉として使用する場合は、把持凹部27を右框材23の内側木口面に形成すれば良い。また、左右框材23,24の内側木口面にそれぞれ把持凹部27を形成しておけば、両方向の開き扉に使用可能な扉1となる。また、この扉1を開き扉として使用する場合も、両方向への移動を可能にするために、左右框材23,24の内側木口面にそれぞれ把持凹部27を形成することが好ましい。
実施例1の把持凹部27は、図3(a)にも示すように、框表面(扉表面)から断面湾曲形状に後退する凹部形状を有するものとされているが、図3(b)に示すように、表面側の内方突出縁部31を残して断面矩形状の凹部形状を有するものとして形成しても良い。いずれの形状であっても、把持凹部27の厚さ方向寸法aは10〜25mm、奥行寸法bは3〜15mmとすることにより、手指を入れやすい空間を与えることができる。
なお、図3(b)は左框材23の内側木口面に嵌合凹部25aおよび把持凹部27を形成する場合の実施例として示されているが、実施例1について既述したように、これに代えてまたはこれと共に、他の框材の内側木口面に把持凹部27を形成しても良く、その場合の把持凹部27の形状や鏡板の嵌合状態なども図3(b)と同様にすることができる。下記する図3(d)〜図3(f)についても同様である。
また、図3(c)に示すように、実施例1と同様に框表面(扉表面)から断面湾曲形状に後退する凹部形状を有するものとしつつも、嵌合凹部25aには至らず、嵌合凹部25aとの間に突出縁部32を挟んで隣接するように形成しても良い。このようにすると、鏡板10の左側端部11aが表裏において同じ深さで嵌合凹部25aに嵌合されることになるので、より強固に鏡板10を框内に固定することができる利点がある。
図3(d)に示す実施例は、嵌合凹部25aが左框材23の内側木口面から裏面側にかけて断面L字状に切り欠き形成されており、この切り欠き形成された嵌合凹部25aに鏡板10の左側端部11aを嵌合させた状態で、その裏面側に設けられる挟持部材33を介して、扉裏面側よりステープルなどの固定具34によって左框材23に固定される。断面L字状に切り欠き形成された嵌合凹部25aは、鏡板10の肉厚部分の厚さtと略同一厚であり、框表面(扉表面)と平行な水平面25cと、框材の木口面と平行な垂直面25dとを有する。さらに、この実施例では鏡板10の左側端部11aと挟持部材33との厚さ合計が鏡板10の肉厚部分の厚さtと略同一であるので、裏面から見たときに左框材23と挟持部材33と鏡板10とがほぼ隙間なく略面一に連続することになり、フラットな外観を与える。
この実施例によると鏡板10の固定作業が容易である。すなわち、上記したように上下左右の框材20(21〜24)の内側木口面から裏面にかけて断面L字状に切り欠いて嵌合凹部25を形成すると共に、左框材23についてはその内側木口面にさらに把持凹部27を形成し、さらに、各框材が組み付けられる箇所においてダボ穴を対向形成する。そして、各框材の内側木口面に形成されたダボ穴に接着剤を塗布し、ダボ穴にダボを嵌入することによって、框材20(21〜24)による框組を形成する。このとき、框組みされた框材20の裏面には嵌合凹部25が露出した状態となっているので、その水平面25cおよび垂直面25dに接着剤を塗布した後、鏡板10を裏面側から嵌め込んで、その側端部11(11a)の表面を水平面25cに押し付けると共にその木口面を垂直面25dに当てがい、それらの当接面同士を接着剤で接着固定する。固定された鏡板10の側端部11aの裏面側に接着剤を塗布し、挟持部材33を該鏡板側端部裏面および嵌合凹部25aの垂直面25dに当接させて接着し、さらに裏面側からステープル34などの固着具を打ち付けて、鏡板10を介して左框材23に固定する。
図3(a)〜図3(c)のように嵌合凹部25を鏡板側端部11が挿入される凹溝として形成する場合には、それらの厚さ寸法について厳密な精度が要求されるが、この実施例では、上述したように、框材の内側木口面から裏面にかけて切り欠かれた断面L字状の嵌合凹部25に鏡板側端部を嵌め込んで固定するので、その作業が容易であると共に、多少の寸法誤差による製造の不具合を回避することができる。
なお、図3(d)において把持凹部27の形状については実施例1と同様の形状(図3(a))が採用されているが、これに代えて図3(b),図3(c)に示されるような形状を採用しても良いことは言うまでもない。
図3(e)に示す実施例は図3(d)の変形例であり、左框材23の内側木口面から裏面にかけて切り欠かれた断面L字状の嵌合凹部25の寸法(裏面から水平面25cまでの距離)を鏡板側端部11aの厚さと略同一とした点で異なっている。この実施例では、扉裏面がフラットにはならないが、その他の点(鏡板固定作業が容易であること、多少の寸法誤差が許容されること)は同様である。また、この実施例によれば、把持凹部27の扉表面からの深さを大きく取ることができるので、この部分に手指をかけて開閉操作を行うことがより容易になる利点がある。
図3(f)に示す実施例は、左框材23の内側木口面において厚さ方向中央に鏡板10の側端部を嵌合する嵌合凹部25aを形成し、その表裏にそれぞれ断面湾曲状の把持凹部27,27を形成したものである。この実施例による扉は、表裏いずれからでも開閉操作可能である。この扉は、左框材23の内側木口面において嵌合凹部25aの表裏両側に把持凹部27,27を形成する点を除いて、実施例1の扉1と同様にして製造することができる。
さらに別の実施例による扉2が図4および図5に示されている。この実施例の扉2は、框材20(21〜24)については実施例1の扉1の框材と同様に、それらの内側木口面に嵌合凹部25に形成されると共に左框材23の内側木口面にはさらに断面湾曲状の把持凹部27が形成されているが、鏡板の形状が異なっている。すなわち、この扉2における鏡板10は、その裏面側の四周縁を小さな厚さで突出させて、嵌合凹部25(25a)に嵌合する側端部11(11a)とし、その根元部分から傾斜面13を介して肉厚部14を有するように形成され、正面から見ると中央領域を占める肉厚部14が矩形状に隆起した形状に観察されるものである。
この実施例においても、左框材23の内側木口面に形成した把持凹部27と鏡板10の左側縁の傾斜面13との間に手指を差し込む空間が形成されるので、扉の開閉操作を安全且つ容易に行うことができる。この場合、把持凹部27の厚さ方向寸法aは10〜25mm、奥行寸法bは3〜15mm、把持凹部27の表面側端部と隆起肉厚部14の端部との間の距離cは15〜40mmとすることにより、手指を入れやすい空間を与えることができる。
1,2 扉
10 鏡板
11 側端部
11a 左側端部
11b 右側端部
12 鏡板の表面
13 傾斜面
14 肉厚部
20 框材
21 上框材
22 下框材
23 左框材
24 右框材
25 嵌合凹部
25a 左框材の内側木口面に形成した嵌合凹部
25b 右框材の内側木口面に形成した嵌合凹部
25c 水平面
25d 垂直面
26 框表面ないし扉表面
27 把持凹部
28a,28b 上下框材の突出縁部
29 上下框材の断面湾曲状凹部
30 右框材の内側木口面
31 左框材の把持凹部の表面側に形成される内方突出縁部
32 左框材の把持凹部と嵌合凹部との間に形成される突出縁部
33 挟持部材
34 固定具

Claims (2)

  1. 鏡板と、この鏡板の対向するいずれかの二辺または四周に設けられる框材とからなり、框材の内側木口面に形成される嵌合凹部に鏡板の側端部が嵌合されることにより鏡板が一対の框材の間または四周框材の内部に設けられてなる扉において、少なくとも一の框材には、鏡板の側端部を嵌合する嵌合凹部が形成された内側木口面に、該框材の表面から手指を入れて扉開閉を行うための把持凹部が該框材の内側木口面から内部に入り込むように凹状に形成されることを特徴とする扉。
  2. 前記嵌合凹部は框材の内側木口面から裏面側に切り欠き形成されており、鏡板は、この切り欠き形成された嵌合凹部に嵌合された状態で、その裏面側に設けられる挟持部材を介して、扉裏面側より固定具によって框材に固定されることを特徴とする請求項1記載の扉。
JP2010208652A 2010-09-16 2010-09-16 Active JP5663248B2 (ja)

Priority Applications (1)

Application Number Priority Date Filing Date Title
JP2010208652A JP5663248B2 (ja) 2010-09-16 2010-09-16

Applications Claiming Priority (1)

Application Number Priority Date Filing Date Title
JP2010208652A JP5663248B2 (ja) 2010-09-16 2010-09-16

Publications (2)

Publication Number Publication Date
JP2012062704A true JP2012062704A (ja) 2012-03-29
JP5663248B2 JP5663248B2 (ja) 2015-02-04

Family

ID=46058682

Family Applications (1)

Application Number Title Priority Date Filing Date
JP2010208652A Active JP5663248B2 (ja) 2010-09-16 2010-09-16

Country Status (1)

Country Link
JP (1) JP5663248B2 (ja)

Cited By (2)

* Cited by examiner, † Cited by third party
Publication number Priority date Publication date Assignee Title
JP2014070326A (ja) * 2012-09-27 2014-04-21 Dainippon Printing Co Ltd
KR200472823Y1 (ko) * 2013-11-08 2014-05-22 송재구 도어 장식 구조

Families Citing this family (1)

* Cited by examiner, † Cited by third party
Publication number Priority date Publication date Assignee Title
CN106639695B (zh) * 2016-11-28 2018-10-09 嘉兴市新飞腾塑业有限公司 可调式门吸

Citations (4)

* Cited by examiner, † Cited by third party
Publication number Priority date Publication date Assignee Title
JPS58101987U (ja) * 1981-12-29 1983-07-11 松下電工株式会社 取手付ドア
JPS62115491U (ja) * 1986-01-13 1987-07-22
JPS63165055U (ja) * 1987-04-18 1988-10-27
JPH01157880U (ja) * 1988-04-23 1989-10-31

Patent Citations (4)

* Cited by examiner, † Cited by third party
Publication number Priority date Publication date Assignee Title
JPS58101987U (ja) * 1981-12-29 1983-07-11 松下電工株式会社 取手付ドア
JPS62115491U (ja) * 1986-01-13 1987-07-22
JPS63165055U (ja) * 1987-04-18 1988-10-27
JPH01157880U (ja) * 1988-04-23 1989-10-31

Cited By (2)

* Cited by examiner, † Cited by third party
Publication number Priority date Publication date Assignee Title
JP2014070326A (ja) * 2012-09-27 2014-04-21 Dainippon Printing Co Ltd
KR200472823Y1 (ko) * 2013-11-08 2014-05-22 송재구 도어 장식 구조

Also Published As

Publication number Publication date
JP5663248B2 (ja) 2015-02-04

Similar Documents

Publication Publication Date Title
JP5663248B2 (ja)
JP2016169507A (ja) 窓枠接合部材と該部材を用いた窓枠
JP6472215B2 (ja) 防火ドア
JP2017053108A (ja) 見切及び当該見切を用いる見切枠及び建具
KR200485330Y1 (ko) 가구용 문 조립체
JP2020094338A (ja) 化粧キャップ及び建具
TWM634861U (zh) 門框固定結構
JP3213833U (ja) 窓部材を有するフラッシュパネル
JP6923598B2 (ja) 見切材を備えた開口部構造及びその施工方法
JP2013245510A (ja) 建具及びその製造方法
JP7186567B2 (ja) 建具
JP6379016B2 (ja) 戸枠装置、これのキャップ部材及び戸枠装置の施工方法
JP3845779B2 (ja) トイレブースのパネルエッジ取付け構造
JP6854635B2 (ja) 見切枠とその施工方法
JP7691911B2 (ja) 建具及び建具の製造方法
JP7353137B2 (ja) 框組み建具
JP7246183B2 (ja) 透光性部材の取り付け構造、建物用戸の構造及び建物用戸
KR200434569Y1 (ko) 가구용 패널의 측면 마감부재
JP4881675B2 (ja) 枠および枠取付構造
JP7496764B2 (ja) 付け框出隅用コーナー部材およびその使用方法
CN207960333U (zh) 推拉门门套
JP3126105U (ja) 壁開口部の開口枠
JP2017210789A (ja) 建具枠
JP2955980B2 (ja) 化粧パネルの製造方法
JP5308740B2 (ja) 枠材の取付構造

Legal Events

Date Code Title Description
A621 Written request for application examination

Free format text: JAPANESE INTERMEDIATE CODE: A621

Effective date: 20130903

A977 Report on retrieval

Free format text: JAPANESE INTERMEDIATE CODE: A971007

Effective date: 20140325

A131 Notification of reasons for refusal

Free format text: JAPANESE INTERMEDIATE CODE: A131

Effective date: 20140422

A521 Written amendment

Free format text: JAPANESE INTERMEDIATE CODE: A523

Effective date: 20140613

TRDD Decision of grant or rejection written
A01 Written decision to grant a patent or to grant a registration (utility model)

Free format text: JAPANESE INTERMEDIATE CODE: A01

Effective date: 20141111

A61 First payment of annual fees (during grant procedure)

Free format text: JAPANESE INTERMEDIATE CODE: A61

Effective date: 20141208

R150 Certificate of patent or registration of utility model

Ref document number: 5663248

Country of ref document: JP

Free format text: JAPANESE INTERMEDIATE CODE: R150