JP2012052685A - 加熱調理器 - Google Patents

加熱調理器 Download PDF

Info

Publication number
JP2012052685A
JP2012052685A JP2010193443A JP2010193443A JP2012052685A JP 2012052685 A JP2012052685 A JP 2012052685A JP 2010193443 A JP2010193443 A JP 2010193443A JP 2010193443 A JP2010193443 A JP 2010193443A JP 2012052685 A JP2012052685 A JP 2012052685A
Authority
JP
Japan
Prior art keywords
top plate
main body
cooking device
plate
frame
Prior art date
Legal status (The legal status is an assumption and is not a legal conclusion. Google has not performed a legal analysis and makes no representation as to the accuracy of the status listed.)
Granted
Application number
JP2010193443A
Other languages
English (en)
Other versions
JP5598175B2 (ja
Inventor
Kojiro Mizutani
幸二郎 水谷
Atsushi Sakamoto
敦 阪本
Current Assignee (The listed assignees may be inaccurate. Google has not performed a legal analysis and makes no representation or warranty as to the accuracy of the list.)
Panasonic Corp
Original Assignee
Panasonic Corp
Priority date (The priority date is an assumption and is not a legal conclusion. Google has not performed a legal analysis and makes no representation as to the accuracy of the date listed.)
Filing date
Publication date
Application filed by Panasonic Corp filed Critical Panasonic Corp
Priority to JP2010193443A priority Critical patent/JP5598175B2/ja
Publication of JP2012052685A publication Critical patent/JP2012052685A/ja
Application granted granted Critical
Publication of JP5598175B2 publication Critical patent/JP5598175B2/ja
Active legal-status Critical Current
Anticipated expiration legal-status Critical

Links

Images

Landscapes

  • Induction Heating Cooking Devices (AREA)

Abstract

【課題】防水性と強度に優れた天板取付構成を有すること。
【解決手段】天板2を下方より受けて保持するアンダーフレーム3に略鉛直下方へ伸長させて形成した腕部10と、本体1の外郭を構成する側板6の上部端面を本体1内側に向かって曲げて形成したフランジ面8とを備え、本体1内部に固定された構造物に天板支持具18を形成し、側板6と腕部10に天板支持具18を介在させて締結して本体に天板を取り付けることで、防水性を増すために備えたフランジ面8の幅に関わらず、天板の防水性を確保しつつ、堅牢な天板取付構成にすることができる。
【選択図】図1

Description

本発明は一般家庭の台所や業務用の厨房などで使用される、据え置き型あるいは組込型の誘導加熱調理器などの加熱調理器に関するものである。
従来、この種の加熱調理器における調理器具載置用の天板の取付け構成は、特に、据え置き型のものについては製品の内部スペースなどの制約もあって、天板の外周を覆うトップフレームに直接取付けて本体の天面に配設されるものが一般的であり、天板とトップフレームは接着剤により接着されている。しかし、前記従来の構成ではトップフレームと天板との接着が不十分で隙間が発生した場合や、たとえ初期は水密性が得られていても、接着強度が不十分な場合に天板上に食材を満たした調理器具の重さが繰り返し加わることによって、接着部がその力に耐えきれなくなって隙間が発生し、その隙間から天板上にこぼれた水などが本体内部に浸入して内部の制御回路などに到達して故障を引き起こす恐れがあった。そのため、天板を下方から保持するアンダーフレームを設け、アンダーフレームとトップフレームによって天板を挟み込み保持することで、接着強度が不十分な場合であっても、天板とトップフレームの間に隙間が生じないようにしている例がある(例えば、特許文献1参照)。
また、本体外郭の上部端面をトップフレームが覆うように天板と本体を取り付けており、外観品位を向上させるとともに、本体へ水を入れない構成としている。
図9は、特許文献1に記載された従来の誘導加熱調理器を示すものである。図9に示すように、天板41はトップフレーム42とアンダーフレーム43に挟み込まれ、接着剤44によって水密性が確保されている。
天板41は本体の上部から略鉛直下方に下ろして、トップフレーム42が側板45の上部端面を覆うように取り付けられ、アンダーフレーム43に備えた下方へ伸長した腕部46と、側板45に備えた貫通穴とを締結して、本体と天板を取り付けて固定している。
これによって、天板上で調理時・清掃時などに水を溢した場合にトップフレームを乗り越えた水は、側板の外を伝って下方へ流れるため、本体へ水が入ることを防止している。
また、これによって、外観部であるトップフレームに締結部を設けず、デザイン性に優れた加熱調理器としている。
特開2008−177010号公報
しかしながら、前記従来の構成では、図9に示すように、トップフレーム42と天板41との隙間が生じないようにしているとはいえ、接着剤44の不良や当接面の変形といった不具合によっては隙間が生じる恐れがあり、その場合は図9の矢印で示すように本体の内側へ水が浸入することがあるため、本体に内蔵された加熱装置や制御装置といった内部部品に対しての防水対策の必要となるという課題があった。
また、天板の隙間から浸入した水を本体の外へ水を排出するために、水受けとして側板の上部端面に内側へフランジを伸長させることが有効であるが、フランジの幅を広くすることによって腕部と側板との距離が離れていくため、天板取付時にネジ締結する際、腕部や側板が変形してしまい取付が困難になることや、取付部の強度が低下するという課題があった。
本発明は、前記従来の課題を解決するもので、本体内への水の浸入による内部部品の水濡れによる故障やトラッキングを防止して信頼性を高めるとともに、天板取付時の作業性および取付部の強度に優れた加熱調理器を提供することを目的とする。
前記従来の課題を解決するために、本発明の加熱調理器は、加熱装置を内蔵する本体と、前記本体の天面に配され被加熱調理物を戴置する天板と、前記天板を下方より受けて保持するアンダーフレームと、前記アンダーフレームに略鉛直下方へ伸長させて形成した腕部と、前記本体の外郭を構成する側板と、前記側板の上部端面を前記本体内側に向かって曲げて形成したフランジ面とを備え、前記本体内部に固定された構造物に天板支持具を形成し、前記側板と前記腕部に前記天板支持具を介在させて締結して前記本体に前記天板を取り付けたものである。
これによって、防水性を増すために備えたフランジ面を内側へ伸ばした場合、天板を取り付けるための腕部はフランジの先端より内側になるため、側板と腕部の間に空間が生じてしまうが、天板支持具を形成して締結時に介在させることで、フランジの幅に関わらず、腕部や側板を変形させること無く天板の取付を行うことができる。
天板取付部の強度を有しながら、本体外郭上端のフランジを内側に伸長することが可能となるので、防水性および強度に優れた加熱調理器を提供することができる。
本発明の実施の形態1における加熱調理器の分解斜視図 本発明の実施の形態1における加熱調理器の天板取付時の要部断面図 本発明の実施の形態1における加熱調理器の天板取付部近傍の断面図 本発明の実施の形態1における天板支持具の斜視図 本発明の実施の形態1における仕切り板の斜視図 本発明の実施の形態1における突っ張り面を備えた天板支持具の斜視図 本発明の実施の形態1における加熱調理器の突っ張り面を備えた天板支持具近傍の断面図 本発明の実施の形態2における加熱調理器の天板取付部近傍の断面図 従来の加熱調理器の天板取付部近傍の断面図
第1の発明は加熱装置を内蔵する本体と、前記本体の天面に配され被加熱調理物を戴置する天板と、前記天板を下方より受けて保持するアンダーフレームと、前記アンダーフレームに略鉛直下方へ伸長させて形成した腕部と、前記本体の外郭を構成する側板と、前記側板の上部端面を前記本体内側に向かって曲げて形成したフランジ面とを備え、前記本体内部に固定された構造物に天板支持具を形成し、前記側板と前記腕部に前記天板支持具を介在させて締結して本体に天板を取り付けたとすることにより、フランジ面の幅を広げるとともに、腕部を本体内側へ移動させた場合、側板からネジを締め付けた時に腕部が外側へ引き込まれて変形するのを天板支持具が支えて抑えることとなり、フランジ面の幅に関わらず、天板を所定の位置に取り付けることができ、防水性および強度に優れた加熱調理
器を提供することができる。
第2の発明は、特に、第1の発明において、加熱装置を駆動させる制御基板と、前記制御基板を保持あるいは包覆して本体内部に固定される基板ケースとを備え、前記基板ケースに天板支持具を取り付けることにより、本体に基板ケースを組み付けた後に、天板支持具をフランジ面の内側にもぐりこんで取り付けることができ、フランジ面の幅によって基板ケースの組み付けが困難になることが無く、組立作業性・メンテナンス性に優れた加熱調理器とすることができる。
第3の発明は、特に、第1の発明において、本体内部に略水平に固定され加熱装置を下方から支持する仕切り板を備え、前記仕切り板を略鉛直上方に折り曲げて天板支持部を形成することにより、天板支持具を仕切り板と一体で形成でき、組立作業性・メンテナンス性に優れた加熱調理器とすることができる。
第4の発明は、特に、第1〜3のいずれか1つの発明において、天板支持具は絞りあるいは曲げ加工によって形成した第2の当接面を側板と当接させ、腕部と側板に挟み込んで締結して本体と天板を取り付けたことにより、側板からネジを締め付けた時に腕部が外側へ引き込まれて変形するのを天板支持具が支えて抑えるとともに、支持具の倒れ・変形および側板の変形を抑えることとなり、フランジ面の幅に関わらず、腕部や側板を変形させること無く天板を所定の位置に取り付けることができ、防水性および強度、外観品位に優れた加熱調理器を提供することができる。
第5の発明は、特に、第1〜4のいずれか1つの発明において、天板支持具は腕部および側板より強度を有する材料で形成することにより、側板からネジを締め付けた時に腕部が外側へ引き込まれて変形するのを天板支持具が支えて抑える場合、支持具の倒れ・変形を防止できるため、安定して天板を所定の位置に取り付けることができる。
第6の発明は、特に、第1〜5のいずれか1つの発明において、フランジ面は、内側端面を略鉛直上方に折り曲げて止水壁を形成し、前記止水壁は天板の端面より内側に位置するようにしたことにより、天板上でこぼした水が天板の端面から流れたとしても、止水壁が天板の端面より内側になるため、水が止水壁より内側に入らず、本体内への水の浸入による内部部品の水濡れによる故障やトラッキングを防止し、信頼性の高い加熱調理器とすることができる。
第7の発明は、特に、第6の発明において、天板とアンダーフレームを共に端面を包覆して挟持する略コの字型のサイドフレームを備え、止水壁が前記サイドフレームの下面端部より本体の内側になるようにしたことにより、サイドフレームによって機械的に保持して天板の端面を保護しながら、もしサイドフレーム接着強度が不十分な場合に天板上でこぼした水がサイドフレームの内側を伝っても、止水壁がサイドフレームの下面端部より内側になるため、水が止水壁より内側に入らず、本体内への水の浸入による内部部品の水濡れによる故障やトラッキングを防止し、信頼性の高い加熱調理器とすることができる。
第8の発明は、特に、第6または第7の発明において、アンダーフレームは端部近傍に下方へ凸の樋を備えたことにより、天板上でこぼした水が天板の端面から流れたとしても、アンダーフレームに設けた樋で水を受けて誘導し、本体内の下方に落下させても実質支障のない場所に落下させ、最終は本体外に排出することができる。
第9の発明は、特に、第1〜5のいずれか1つの発明において、支持具は上部に突っ張り面を備え、前記突っ張り面をアンダーフレームと当接させて天板を本体に取り付けたことにより、支持具の上下方向の位置が規制されるため、側板からネジを締め付ける際に、
ばらつき等による高さのズレが補正され締結が容易になる。
以下、本発明の実施の形態について、図面を参照しながら説明する。なお、この実施の形態によって本発明が限定されるものではない。
(実施の形態1)
図1〜7は、本発明の第1の実施の形態における加熱調理器として、台所や業務用の厨房などでキャビネット上に設置して使用される据え置き型の誘導加熱調理器を例示したものである。
図2、3に示すように、本体1の天面には、鍋、フライパンなどの調理器具を載置する天板2が配されている。天板2は高耐熱のガラスなどの電磁誘導によって加熱されない材質で構成されている。
天板2は下方からアンダーフレーム3によって支持されており、アンダーフレーム3と天板2は接着剤4aによって水密性が保たれている。
サイドフレーム5は略コの字型に折り曲げたステンレスなどの金属で構成され、天板2とアンダーフレーム3の端面を覆いつつ、天板2とアンダーフレーム3が離れないように挟み込んで保持している。
サイドフレーム5の内側と天板2の間は接着剤4bが充填され水密性が保たれている。
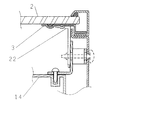
側板6は底板7に取り付けて本体の外郭側面を構成し、側板6の上端部は本体内側方向へ略水平に折り曲げてフランジ面8を設けており、フランジ面の先端部は上方に折り曲げて止水壁9を形成している。
アンダーフレーム3の下面には下方へ伸ばした腕部10がカシメやスポット溶接によって取り付けられており、腕部にはネジ締結用のバーリング穴11が設けられている。腕部は、天板2と本体1を取り付けた際に、腕部10が止水壁9の内側に位置するようにアンダーフレーム3に取り付けられている。
腕部10と、側板6に設けた穴を通じてネジ21で締結することで、本体1と天板2を固定している。
本体の内部には天板の下方に加熱手段として2つの誘導加熱コイル12が配され、その下方には制御基板13を収納した基板ケース14および加熱調理庫としてロースターユニット15が底板に固定されている。
ロースターユニット15は上部に空隙を設けて仕切り板16を取り付けている。
仕切り板16および、基板ケース14の上面には誘導加熱コイル12を支持する支持軸17が形成され、誘導加熱コイル12を所定の位置に固定している。
誘導加熱コイル12は制御基板13によって高周波電力が供給される。
基板ケース14およびロースターユニット15は本体1へ組み付ける時に上方から鉛直下方へ容易に落とし込むことが出来ように、側板6側の端部が止水壁9より本体1の内側になるようにしている。
基板ケース14の上面には略L字形状の天板支持具18が取り付けられている。図4に示すように天板支持具18は板金で構成され、鉛直面の略中央を絞って第2の当接面19を形成し、その略中央には貫通穴20を設けている。
仕切り板16は、図5に示すように側板6側の端部を上方へ折り曲げて略L字形状とし、鉛直面上の腕部10に相当する位置に絞り加工によって第2の当接面19を形成し、その略中央には貫通穴20を設けている。
本体1に天板2を取り付ける際は、図1、2に示すように上方より天板2を下ろしてサイドフレーム5の下面とフランジ面8を当接させた状態で、側板6に設けた穴よりネジ21を差込み、天板支持具18あるいは仕切り板16に設けた貫通穴20を通して腕部10のバーリング穴11で締結している。
以上のように構成された加熱調理器について、以下その動作、作用を説明する。
まず、天板2の上で被加熱調理物である鍋から水を溢したり、清掃中に水を溢したりした場合を考える。
接着による水密性が確保されていれば、水が天板2の端面まで至ったとしても本体内部への水の浸入はない。
しかし、サイドフレーム5などフレーム部品の変形や、接着の不備、接着剤4bの劣化による剥がれなどの不具合が発生した場合、図1に示すように、天板2の端面に至った水はサイドフレームと天板2の隙間を通り、サイドフレーム5の内側へ浸入する。
浸入した水は、図1の矢印で示すように、サイドフレーム5の内側や天板2表面を伝い、サイドフレームの下面に流れる。サイドフレーム5の下面から本体内側へ流れる水は、側板6に設けられた止水壁9で誘導され、フランジ面8とサイドフレーム5の隙間から、本体1の外側へ向けて流れることになる。
以上のように、本体内部へ水が浸入しないようにできるので、誘導加熱コイル12や制御基板13などの充電部に水が付着することを阻止し、故障を防止することができる。
一方で、このような防水性を確保するためには、サイドフレーム5端部の内側に止水壁9を配置しなくてはならず、そのためにはフランジ面8の幅をサイドフレーム5の幅より大きくする必要がある。
また、組立作業やメンテナンス時に本体1に天板2を取り付ける際に、天板2を上方より下ろして容易にセットするため、腕部10は止水壁9より内側になるようにアンダーフレーム3に取り付けられている。
そのため、腕部10と側板6の間にはフランジ面8の幅による空隙が発生することとなる。ここでもし、空隙がある状態で天板2を取り付けた場合、側板6の穴よりネジ21を通して腕部10のバーリング穴11に締め付けていくと、締めこむ力によって腕部10が外側へ向けて変形してしまう。
そこで、本実施の形態では、図3に示すように、腕部10の外側面に当接させるように天板支持具18を備えている。これにより、天板2取付時に側板6の穴よりネジ21を通して腕部10のバーリング穴11に締め付けていく場合、腕部10が外へ引き込まれていく力を本体に固定された天板支持具18が受けて支持することとなり、腕部10が変形す
ることなくネジ締結ができ、天板2の取付が完了する。
また、本実施の形態では、天板支持具18は図4のように鉛直面の略中央に絞り加工を施して第2の当接面19を形成している。これによって、天板2取付時に側板6の穴よりネジ21を通して腕部10のバーリング穴11に締め付けていく場合、腕部10を天板支持具18が支持して変形を防止するのと共に、第2の当接面19が側板6の内側面に当接して、側板6が内側へ引き込まれる力を天板支持具18が支持することとなるとともに、腕部10と側板6との間の空隙を天板支持具18で埋めることとなる。天板支持具18を挟み込んでネジ締結を行うことで、締結部近傍の強度が増すと共に、ネジ21の緩みを防止することとなり、堅牢な天板取付構成を実現できる。
また、図5のように、仕切り板16の端面をL字型に変形させて天板支持具を形成した場合であっても、腕部10と側板6の間に仕切り板16の一部を挟みこむことで、同様の取付構成を実現できるので、同様の効果が得られる。
以上のように、防水性を確保するためにフランジ面8の幅を大きくしたとしても、天板支持具18を介在することにより、堅牢な天板取付構成を実現することができ、防水性や強度に優れつつ、組立作業性やメンテナンス性に優れた加熱調理器とすることができる。
本実施の形態では、腕部10と側板6の距離が離れてしまうことに対して、天板支持具18を介在することとしたが、例えば、フランジ面8の一部を切り欠くことで腕部10の取付位置を止水壁9より外側に配置して空隙を無くすことはできる。しかし、フランジ面8の一部を切り欠くことで、前述の防水性が失われてしまう。また、側板6に絞り加工を施すことで腕部10と距離を近づけることは可能だが、外観上の品位や加工性から限度があり、フランジ面8の幅に関わらず腕部10との距離を無くすことは困難である。
また、本実施の形態において、天板支持具18は板金で構成されているが、その際板厚を腕部10や側板6より増すことで変形する力を受ける天板支持具18の強度が増すため、締付時の変形防止効果が高まり、より堅牢な天板取付構成を実現できる。
また、図6のように天板支持具18の上端部を折り曲げて突っ張り面22を構成することで、図7に示すように天板2取付時にアンダーフレーム3と当接させて押さえ込むことができる。これによって、基板ケース14の歪みや、腕部10の取り付け時のバラツキなどによる、天板支持具18の貫通穴20と側板6の穴および腕部10のバーリング穴11の高さ方向のズレが補正されるため、組立作業性・メンテナンス性に優れた加熱調理器を提供することができる。
(実施の形態2)
図8は、本発明の第2の実施の形態の加熱調理器の要部断面図である。
なお、本実施の形態2の基本構成は実施の形態1と同様であるので、同様な部分の説明は省略し、相違点を中心に説明する。また、実施の形態1と同一要素には同じ符号を付してその説明を省略する。
図8に示すように、本実施の形態ではアンダーフレーム3の端部に下向きに凸の樋31を設けている。
樋31は外側の端面を略鉛直に立ち上げ、その一部を天板2の端面と当接させて、天板組み立て時の位置決めとしている。
サイドフレーム5は樋31の下面と天板2を挟み込んで取り付けられている。
以上のように構成された加熱調理器について、以下その動作、作用を説明する。
実施の形態1と同様に、天板の上で被加熱調理物である鍋から水を溢したり、清掃中に水を溢したりした場合を考える。
サイドフレームなどフレーム部品の変形や、接着の不備、接着剤4bの劣化による剥がれなどの不具合が発生した場合、天板の端面に至った水はサイドフレーム5と天板2の隙間を通り、サイドフレーム5の内側へ浸入する。
浸入した水は図8の矢印に示すようにサイドフレーム5の内側や天板2表面を伝い流れるが、天板2端面より滴下した水は、直下に配した樋31で受けて誘導される。水は下方に流しても支障のないところへ導かれ、本体外郭の隙間より外郭の外へ排出される。
以上のように、本実施の形態では、樋31によって浸入した水を支障のない箇所へ流すことができ、誘導コイルや電源回路などの充電部に水が付着することを阻止し、故障を防止することができる。
また、天板の下面側に下に凸の樋31を設けることで、側板6に備えた止水壁9は防水性を確保するために樋31より内側に配置しなくてはならず、フランジ面8の幅を樋31の幅より大きくする必要がある。そのため、図8に示すように、実施の形態1と同様に天板支持具18を介在することで、腕部10および側板6の変形を防止して堅牢な天板取付構成を実現している。
本発明にかかる加熱調理器は、誘導加熱調理器に限られるものではなく、調理器具載置用の天板を備えた加熱調理器であれば適用できる。
1 本体
2 天板
3 アンダーフレーム
5 サイドフレーム
6 側板
8 フランジ面
9 止水壁
10 腕部
12 誘導加熱コイル(加熱装置)
13 制御基板
14 基板ケース
16 仕切り板
18 天板支持具
19 第2の当接面
22 突っ張り面
31 樋

Claims (9)

  1. 加熱装置を内蔵する本体と、前記本体の天面に配され被加熱調理物を戴置する天板と、前記天板を下方より受けて保持するアンダーフレームと、前記アンダーフレームに略鉛直下方へ伸長させて形成した腕部と、前記本体の外郭を構成する側板と、前記側板の上部端面を前記本体内側に向かって曲げて形成したフランジ面とを備え、前記本体内部に固定された構造物に天板支持具を形成し、前記側板と前記腕部に前記天板支持具を介在させて締結して前記本体に前記天板を取り付けた加熱調理器。
  2. 加熱装置を駆動させる制御基板と、前記制御基板を保持あるいは包覆して本体内部に固定される基板ケースとを備え、前記基板ケースに天板支持具を取り付けた請求項1に記載の加熱調理器。
  3. 本体内部に略水平に固定され加熱装置を下方から支持する仕切り板を備え、前記仕切り板を略鉛直上方に折り曲げて天板支持具を形成した請求項1に記載の加熱調理器。
  4. 天板支持具は絞りあるいは曲げ加工によって形成した第2の当接面を側板と当接させ、腕部と前記側板に挟み込んで締結して本体と天板を取り付けた請求項1〜3のいずれか1項に記載の加熱調理器。
  5. 天板支持具は腕部および側板より強度を有する材料で形成した請求項1〜4のいずれか1項に記載の加熱調理器
  6. フランジ面は、内側端面を略鉛直上方に折り曲げて止水壁を形成し、前記止水壁は天板の端面より内側に位置するようにした請求項1〜5のいずれか1項に記載の加熱調理器。
  7. 天板とアンダーフレームを共に端面を包覆して挟持する略コの字型のサイドフレームを備え、止水壁が前記サイドフレームの下面端部より本体の内側になるようにした請求項6に記載の加熱調理器
  8. アンダーフレームは端部近傍に下方へ凸の樋を備えた請求項6または7に記載の加熱調理器。
  9. 天板支持具は上部に突っ張り面を備え、前記突っ張り面をアンダーフレームと当接させて天板を本体に取り付けた請求項1〜5のいずれか1項に記載の加熱調理器。
JP2010193443A 2010-08-31 2010-08-31 加熱調理器 Active JP5598175B2 (ja)

Priority Applications (1)

Application Number Priority Date Filing Date Title
JP2010193443A JP5598175B2 (ja) 2010-08-31 2010-08-31 加熱調理器

Applications Claiming Priority (1)

Application Number Priority Date Filing Date Title
JP2010193443A JP5598175B2 (ja) 2010-08-31 2010-08-31 加熱調理器

Publications (2)

Publication Number Publication Date
JP2012052685A true JP2012052685A (ja) 2012-03-15
JP5598175B2 JP5598175B2 (ja) 2014-10-01

Family

ID=45906214

Family Applications (1)

Application Number Title Priority Date Filing Date
JP2010193443A Active JP5598175B2 (ja) 2010-08-31 2010-08-31 加熱調理器

Country Status (1)

Country Link
JP (1) JP5598175B2 (ja)

Cited By (5)

* Cited by examiner, † Cited by third party
Publication number Priority date Publication date Assignee Title
EP3048860A4 (en) * 2013-09-19 2016-07-27 Panasonic Ip Man Co Ltd INDUCTION COOKER
US10251220B2 (en) * 2016-09-15 2019-04-02 Panasonic Intellectual Property Management Co., Ltd. Induction cooking device
JP2021044060A (ja) * 2019-09-06 2021-03-18 日立グローバルライフソリューションズ株式会社 加熱調理器
US20220163211A1 (en) * 2020-11-25 2022-05-26 Lg Electronics Inc. Electric range
US20220178548A1 (en) * 2020-12-07 2022-06-09 Lg Electronics Inc. Electric range

Citations (5)

* Cited by examiner, † Cited by third party
Publication number Priority date Publication date Assignee Title
JPS6265791U (ja) * 1985-10-14 1987-04-23
JP2005201584A (ja) * 2004-01-19 2005-07-28 Matsushita Electric Ind Co Ltd 加熱調理器
JP2006125795A (ja) * 2004-11-01 2006-05-18 Rinnai Corp ドロップイン式コンロにおけるコンロ本体の固定構造
JP2008177010A (ja) * 2007-01-18 2008-07-31 Matsushita Electric Ind Co Ltd 加熱調理器
JP2011069532A (ja) * 2009-09-25 2011-04-07 Panasonic Corp 加熱調理器

Patent Citations (5)

* Cited by examiner, † Cited by third party
Publication number Priority date Publication date Assignee Title
JPS6265791U (ja) * 1985-10-14 1987-04-23
JP2005201584A (ja) * 2004-01-19 2005-07-28 Matsushita Electric Ind Co Ltd 加熱調理器
JP2006125795A (ja) * 2004-11-01 2006-05-18 Rinnai Corp ドロップイン式コンロにおけるコンロ本体の固定構造
JP2008177010A (ja) * 2007-01-18 2008-07-31 Matsushita Electric Ind Co Ltd 加熱調理器
JP2011069532A (ja) * 2009-09-25 2011-04-07 Panasonic Corp 加熱調理器

Cited By (9)

* Cited by examiner, † Cited by third party
Publication number Priority date Publication date Assignee Title
EP3048860A4 (en) * 2013-09-19 2016-07-27 Panasonic Ip Man Co Ltd INDUCTION COOKER
US10251220B2 (en) * 2016-09-15 2019-04-02 Panasonic Intellectual Property Management Co., Ltd. Induction cooking device
JP2021044060A (ja) * 2019-09-06 2021-03-18 日立グローバルライフソリューションズ株式会社 加熱調理器
JP7072544B2 (ja) 2019-09-06 2022-05-20 日立グローバルライフソリューションズ株式会社 加熱調理器
US20220163211A1 (en) * 2020-11-25 2022-05-26 Lg Electronics Inc. Electric range
EP4006431A1 (en) * 2020-11-25 2022-06-01 LG Electronics Inc. Electric hob
US11774106B2 (en) 2020-11-25 2023-10-03 Lg Electronics Inc. Electric range
US20220178548A1 (en) * 2020-12-07 2022-06-09 Lg Electronics Inc. Electric range
US11796181B2 (en) * 2020-12-07 2023-10-24 Lg Electronics Inc. Electric range

Also Published As

Publication number Publication date
JP5598175B2 (ja) 2014-10-01

Similar Documents

Publication Publication Date Title
JP5598175B2 (ja) 加熱調理器
JP4647600B2 (ja) 組込み型加熱調理器及び該加熱調理器が組み込まれるキッチンカウンター
JP5045112B2 (ja) 加熱調理器
JP2014229369A (ja) 組込み式の加熱調理器
CN100466870C (zh) 加热烹调器
JP5076737B2 (ja) 誘導加熱調理器
JP4930192B2 (ja) 組み込み式加熱調理器
JP5548945B2 (ja) 加熱調理器
JP5504790B2 (ja) 据え置き型の加熱調理器
JP5692434B2 (ja) 加熱調理器
JP2011181323A (ja) 加熱調理器
WO2016082894A1 (en) Framework for installing built-in type cooking appliance
EP3047213B1 (en) A cooker comprising a cast iron burner plate
JP2013160424A (ja) 組込み型加熱調理器
JP5786126B2 (ja) 加熱調理器
CN214664640U (zh) 具有外围挡圈的炊具
JP5636858B2 (ja) 誘導加熱調理器
JP2005326081A (ja) 加熱調理器
CN217423345U (zh) 烹饪器具的外壳和烹饪器具
CN214307245U (zh) 一种灶面板以及集成灶
JP4029854B2 (ja) 加熱調理器
CN220494857U (zh) 空气炸锅
CN210077360U (zh) 烹饪器具
CN210077416U (zh) 烹饪器具
JP5895119B2 (ja) 加熱調理器

Legal Events

Date Code Title Description
A621 Written request for application examination

Free format text: JAPANESE INTERMEDIATE CODE: A621

Effective date: 20130830

RD01 Notification of change of attorney

Free format text: JAPANESE INTERMEDIATE CODE: A7421

Effective date: 20130912

RD01 Notification of change of attorney

Free format text: JAPANESE INTERMEDIATE CODE: A7421

Effective date: 20140108

RD01 Notification of change of attorney

Free format text: JAPANESE INTERMEDIATE CODE: A7421

Effective date: 20140417

A977 Report on retrieval

Free format text: JAPANESE INTERMEDIATE CODE: A971007

Effective date: 20140513

A131 Notification of reasons for refusal

Free format text: JAPANESE INTERMEDIATE CODE: A131

Effective date: 20140520

A521 Written amendment

Free format text: JAPANESE INTERMEDIATE CODE: A523

Effective date: 20140625

TRDD Decision of grant or rejection written
A01 Written decision to grant a patent or to grant a registration (utility model)

Free format text: JAPANESE INTERMEDIATE CODE: A01

Effective date: 20140715

A61 First payment of annual fees (during grant procedure)

Free format text: JAPANESE INTERMEDIATE CODE: A61

Effective date: 20140728

R151 Written notification of patent or utility model registration

Ref document number: 5598175

Country of ref document: JP

Free format text: JAPANESE INTERMEDIATE CODE: R151