JP2012019060A - Solar cell panel attachment device - Google Patents

Solar cell panel attachment device Download PDF

Info

Publication number
JP2012019060A
JP2012019060A JP2010155327A JP2010155327A JP2012019060A JP 2012019060 A JP2012019060 A JP 2012019060A JP 2010155327 A JP2010155327 A JP 2010155327A JP 2010155327 A JP2010155327 A JP 2010155327A JP 2012019060 A JP2012019060 A JP 2012019060A
Authority
JP
Japan
Prior art keywords
rail
reinforcing member
solar cell
cell panel
support frame
Prior art date
Legal status (The legal status is an assumption and is not a legal conclusion. Google has not performed a legal analysis and makes no representation as to the accuracy of the status listed.)
Granted
Application number
JP2010155327A
Other languages
Japanese (ja)
Other versions
JP5365937B2 (en
Inventor
Tsukasa Fukushima
司 福島
Current Assignee (The listed assignees may be inaccurate. Google has not performed a legal analysis and makes no representation or warranty as to the accuracy of the list.)
Fuji Koatsu Concrete KK
Original Assignee
Fuji Koatsu Concrete KK
Priority date (The priority date is an assumption and is not a legal conclusion. Google has not performed a legal analysis and makes no representation as to the accuracy of the date listed.)
Filing date
Publication date
Application filed by Fuji Koatsu Concrete KK filed Critical Fuji Koatsu Concrete KK
Priority to JP2010155327A priority Critical patent/JP5365937B2/en
Publication of JP2012019060A publication Critical patent/JP2012019060A/en
Application granted granted Critical
Publication of JP5365937B2 publication Critical patent/JP5365937B2/en
Active legal-status Critical Current
Anticipated expiration legal-status Critical

Links

Images

Classifications

    • FMECHANICAL ENGINEERING; LIGHTING; HEATING; WEAPONS; BLASTING
    • F24HEATING; RANGES; VENTILATING
    • F24SSOLAR HEAT COLLECTORS; SOLAR HEAT SYSTEMS
    • F24S25/00Arrangement of stationary mountings or supports for solar heat collector modules
    • F24S25/60Fixation means, e.g. fasteners, specially adapted for supporting solar heat collector modules
    • F24S25/65Fixation means, e.g. fasteners, specially adapted for supporting solar heat collector modules for coupling adjacent supporting elements, e.g. for connecting profiles together
    • FMECHANICAL ENGINEERING; LIGHTING; HEATING; WEAPONS; BLASTING
    • F24HEATING; RANGES; VENTILATING
    • F24SSOLAR HEAT COLLECTORS; SOLAR HEAT SYSTEMS
    • F24S25/00Arrangement of stationary mountings or supports for solar heat collector modules
    • F24S25/10Arrangement of stationary mountings or supports for solar heat collector modules extending in directions away from a supporting surface
    • F24S25/11Arrangement of stationary mountings or supports for solar heat collector modules extending in directions away from a supporting surface using shaped bodies, e.g. concrete elements, foamed elements or moulded box-like elements
    • FMECHANICAL ENGINEERING; LIGHTING; HEATING; WEAPONS; BLASTING
    • F24HEATING; RANGES; VENTILATING
    • F24SSOLAR HEAT COLLECTORS; SOLAR HEAT SYSTEMS
    • F24S25/00Arrangement of stationary mountings or supports for solar heat collector modules
    • F24S25/30Arrangement of stationary mountings or supports for solar heat collector modules using elongate rigid mounting elements extending substantially along the supporting surface, e.g. for covering buildings with solar heat collectors
    • F24S25/33Arrangement of stationary mountings or supports for solar heat collector modules using elongate rigid mounting elements extending substantially along the supporting surface, e.g. for covering buildings with solar heat collectors forming substantially planar assemblies, e.g. of coplanar or stacked profiles
    • YGENERAL TAGGING OF NEW TECHNOLOGICAL DEVELOPMENTS; GENERAL TAGGING OF CROSS-SECTIONAL TECHNOLOGIES SPANNING OVER SEVERAL SECTIONS OF THE IPC; TECHNICAL SUBJECTS COVERED BY FORMER USPC CROSS-REFERENCE ART COLLECTIONS [XRACs] AND DIGESTS
    • Y02TECHNOLOGIES OR APPLICATIONS FOR MITIGATION OR ADAPTATION AGAINST CLIMATE CHANGE
    • Y02EREDUCTION OF GREENHOUSE GAS [GHG] EMISSIONS, RELATED TO ENERGY GENERATION, TRANSMISSION OR DISTRIBUTION
    • Y02E10/00Energy generation through renewable energy sources
    • Y02E10/40Solar thermal energy, e.g. solar towers
    • Y02E10/47Mountings or tracking

Landscapes

  • Engineering & Computer Science (AREA)
  • Physics & Mathematics (AREA)
  • Life Sciences & Earth Sciences (AREA)
  • Sustainable Development (AREA)
  • Sustainable Energy (AREA)
  • Thermal Sciences (AREA)
  • Chemical & Material Sciences (AREA)
  • Combustion & Propulsion (AREA)
  • Mechanical Engineering (AREA)
  • General Engineering & Computer Science (AREA)
  • Roof Covering Using Slabs Or Stiff Sheets (AREA)
  • Photovoltaic Devices (AREA)

Abstract

【課題】高い支持強度を保持しながら、様々なサイズの太陽電池パネルに対応して簡単に取付けることができる実用性が高い太陽電池パネルの取付装置を提供する。
【解決手段】取付土台12に互いに平行に支持された複数のレール14と、複数のレール14に架設され両端をレール14に連結される太陽電池パネル用の支持フレーム16と、レール14と支持フレーム16を連結する連結部18と、を有し、レール14は、角筒状に形成され、上壁の一部を長手方向に沿って連続して開口してスリット26が形成されており、連結部18は、レール14に当着する補強部材38と、補強部材38とレール14のスリット26を貫通した状態で補強部材38とレール14の上壁とを挟み込んで締結させる締結装置40と、支持フレーム16を補強部材38に固定させるフレーム固定機構42と、を含む太陽電池パネルの取付装置10から構成される。
【選択図】図1
Provided is a solar cell panel mounting device with high practicality that can be easily mounted in correspondence with various sizes of solar cell panels while maintaining high support strength.
SOLUTION: A plurality of rails 14 supported in parallel with each other on a mounting base 12, a support frame 16 for a solar cell panel that is installed on the plurality of rails 14 and is connected to the rails 14 at both ends, the rails 14 and the support frame The rail 14 is formed in a rectangular tube shape, and a slit 26 is formed by continuously opening a part of the upper wall along the longitudinal direction. The portion 18 includes a reinforcing member 38 that contacts the rail 14, a fastening device 40 that clamps the reinforcing member 38 and the upper wall of the rail 14 with the reinforcing member 38 passing through the slit 26 of the rail 14, and a support device The solar cell panel mounting device 10 includes a frame fixing mechanism 42 that fixes the frame 16 to the reinforcing member 38.
[Selection] Figure 1

Description

本発明は、様々な太陽電池パネルを確実に支持できる太陽電池パネルの取付装置に関する。   The present invention relates to a solar cell panel mounting apparatus that can reliably support various solar cell panels.

太陽光発電は、温室効果ガスの排出が無く環境負荷が小さなクリーンエネルギーとして期待されており、近年では需要が拡大している。太陽光発電では、太陽電池セルを複数並べて設けられた太陽電池パネルをさらに複数個並設して太陽電池アレイを構成して必要な電力が得られるようになっている。太陽電池パネルを地面上や屋根上等に設置する際には、太陽電池パネル自身の荷重を確実に支持するのは当然ながら、強風や雪、又は地震の揺れ等の外力に耐えうるように強度の高い取り付け構造が必要になる。従来、例えば、特許文献1記載のように、複数個のコンクリート製のブロックと、これらのブロック上に設けられた複数本のフレーム材から成る架台本体と、を備え、フレーム材に複数の太陽電池パネルを支持させる太陽電池モジュール設置用架台が提案されていた。   Photovoltaic power generation is expected as clean energy with no emission of greenhouse gases and low environmental load, and in recent years, the demand is increasing. In solar power generation, a plurality of solar cell panels provided with a plurality of solar cells arranged side by side are arranged in parallel to form a solar cell array so that necessary power can be obtained. When installing a solar panel on the ground or roof, it is natural to support the load of the solar panel itself, but it must be strong enough to withstand external forces such as strong winds, snow, or earthquake shaking. A high mounting structure is required. 2. Description of the Related Art Conventionally, for example, as described in Patent Document 1, a plurality of concrete blocks and a gantry body made of a plurality of frame members provided on these blocks are provided, and a plurality of solar cells are provided on the frame members. A solar cell module installation stand that supports a panel has been proposed.

特開平11−177114号公報JP 11-177114 A

一般に、太陽電池パネルはその構造及び各製造メーカによってサイズが異なっていることが多い。しかしながら、特許文献1のような従来の設置用架台では、L字鋼等のフレーム材をボルトやビス等で組み付けて構成されているが、太陽電池パネルのサイズに対応させて、架台ごとにフレームの長さやボルト用の孔の位置をいちいち変更して製作せざるを得なかった。すなわち、従来の設置用架台では、設置される太陽光パネルのサイズごとに架台設計を変更する必要があることから、取付けサイズの汎用性が劣り、施工作業が煩雑で作業効率も悪いとともに、太陽電池パネルのサイズごとに異なる多種類の構成部材を製造しておく必要があり、製造効率も悪く、高コスト化する問題があった。また、フレーム材等をボルト止めして組み付けている部分に負荷がかかりやすく、フレーム材等の部材が変形又は損傷しやすいおそれがあることから、取付け強度を向上させる技術の開発が望まれていた。   In general, solar cell panels are often different in size depending on the structure and each manufacturer. However, in the conventional installation platform such as Patent Document 1, a frame material such as L-shaped steel is assembled with bolts, screws, or the like. I had to change the length and position of the holes for bolts one by one. In other words, in the conventional installation platform, since the platform design needs to be changed for each size of the installed solar panel, the versatility of the installation size is inferior, the construction work is complicated, the work efficiency is poor, and the solar It is necessary to manufacture various types of constituent members that differ depending on the size of the battery panel, and there is a problem in that the manufacturing efficiency is poor and the cost is increased. In addition, it is likely that a load is applied to a portion where the frame material or the like is bolted and assembled, and members such as the frame material may be easily deformed or damaged. Therefore, development of a technique for improving the mounting strength has been desired. .

本発明は上記従来の課題に鑑みてなされたものであり、その一つの目的は、太陽電池パネルの荷重や風雪、地震等に耐えうる高い支持強度を保持しながら、様々なサイズの太陽電池パネルに対応して簡単に取付けることができる実用性が高い太陽電池パネルの取付装置を提供することにある。   The present invention has been made in view of the above-described conventional problems, and one object of the present invention is to provide solar cell panels of various sizes while maintaining high supporting strength that can withstand the load of the solar cell panel, wind and snow, earthquakes, and the like. It is an object of the present invention to provide a highly practical solar panel mounting apparatus that can be easily mounted.

上記課題を解決するために本発明は、太陽電池パネルSPの取付土台12に互いに平行に支持された複数のレール14と、複数のレール14に架設され両端をレール14に連結される太陽電池パネル用の支持フレーム16と、レール14と支持フレーム16を連結する連結部18と、を有し、レール14は、角筒状に形成され、上壁の一部を長手方向に沿って連続して開口してスリット26が形成されており、連結部18は、レール14の上壁と両側壁とに外側から同時に当着する補強部材38と、レール14のスリット26の長手方向の任意の位置と補強部材38の締結用孔46を位置合わせして補強部材38とレール14のスリット26を貫通した状態で補強部材38とレール14の上壁とを挟み込んで締結させる締結装置40と、支持フレーム16を補強部材38に固定させるフレーム固定機構42と、を含むことを特徴とする太陽電池パネルの取付装置10から構成される。レール14、支持フレーム16、補強部材38等の各構成部材は、例えば、金属や硬質プラスチック等の硬質の素材で形成される。各構成部材は、強度、耐久性、耐候性等の面から、例えば、高耐食溶融めっきを施した鋼板等の硬質の金属素材が好ましいが、硬質プラスチック等でも強度が確保できる構造等であればよく、軽量化、低コスト化を図ることができる。   In order to solve the above-described problems, the present invention provides a plurality of rails 14 supported in parallel to the mounting base 12 of the solar cell panel SP, and a solar cell panel constructed on the plurality of rails 14 and connected to the rails 14 at both ends. Support frame 16, rail 14 and connecting portion 18 for connecting support frame 16, rail 14 is formed in a rectangular tube shape, and a part of the upper wall is continuous along the longitudinal direction. A slit 26 is formed by opening, and the connecting portion 18 includes a reinforcing member 38 that simultaneously contacts the upper wall and both side walls of the rail 14 from the outside, and an arbitrary position in the longitudinal direction of the slit 26 of the rail 14. A fastening device 40 that positions and fastens the fastening hole 46 of the reinforcing member 38 and sandwiches the reinforcing member 38 and the upper wall of the rail 14 with the reinforcing member 38 and the slit 26 of the rail 14 interposed therebetween, and a support. Configured to frame 16 and frame fixing mechanism 42 for fixing the reinforcing member 38, the mounting device 10 of the solar cell panel, which comprises a. Each component such as the rail 14, the support frame 16, and the reinforcing member 38 is formed of a hard material such as metal or hard plastic, for example. Each component is preferably a hard metal material such as a steel plate subjected to high corrosion resistance hot-dip plating from the viewpoint of strength, durability, weather resistance, etc., but if it is a structure that can ensure strength even with hard plastic, etc. Well, weight reduction and cost reduction can be achieved.

また、補強部材38は、レール14の側壁と上壁とに同時に当着するように下方を開放したコ字状に曲折されたコ字状板体44、64、68を含むこととしてもよい。コ字状板体は、レール14形状に対応して曲折角度が設定され、レール14に嵌合状に係合する。   In addition, the reinforcing member 38 may include U-shaped plate bodies 44, 64, and 68 that are bent in a U-shape that is opened downward so that the side wall and the upper wall of the rail 14 are simultaneously attached. The U-shaped plate body has a bending angle corresponding to the shape of the rail 14 and is engaged with the rail 14 in a fitting manner.

また、補強部材38は、レー14ルの両側壁に当着する2つの側部とレールの上壁に当着する上部とを一体形成したコ字状部材であって、側部の下端側から上部との接続隅部に向けて次第に肉厚としたコ字状部材62、66を含むこととしてもよい。   The reinforcing member 38 is a U-shaped member integrally formed with two side portions that contact the both side walls of the rail 14 and an upper portion that contacts the upper wall of the rail, from the lower end side of the side portion. It is good also as including the U-shaped members 62 and 66 which became thick gradually toward the connection corner part with an upper part.

また、フレーム固定機構42は、締結装置40により兼用され、補強部材38上に当着させた支持フレーム16を補強部材38と同時に貫通した状態で挟み込んで締結させたこととしてもよい。   Further, the frame fixing mechanism 42 may also be used by the fastening device 40, and the support frame 16 attached on the reinforcing member 38 may be sandwiched and fastened simultaneously with the reinforcing member 38 to be fastened.

また、フレーム固定機構42は、補強部材から上方側に立ち上がって形成され、支持フレーム16の端部と接続されるフレーム接続片70を含むこととしてもよい。例えば、フレーム接続片70と支持フレーム16とをボルト等の締着部材で締結して接続される。   Further, the frame fixing mechanism 42 may include a frame connecting piece 70 that is formed to rise upward from the reinforcing member and is connected to the end of the support frame 16. For example, the frame connecting piece 70 and the support frame 16 are connected by fastening with a fastening member such as a bolt.

また、レール14は、下壁に対して上壁を傾斜させて断面略台形状に形成されており、補強部材38は、レール14の上壁と両側壁の接続形状に対応して、断面視で上辺が傾斜した略台形又は略平行四辺形の下辺を開放させた変形コ字枠形状62に設けられたこととしてもよい。   The rail 14 is formed in a substantially trapezoidal cross section with the upper wall inclined with respect to the lower wall, and the reinforcing member 38 corresponds to the connection shape of the upper wall and both side walls of the rail 14 in cross-sectional view. It may be provided in the deformed U-shaped frame shape 62 in which the lower side of the substantially trapezoid or the substantially parallelogram whose upper side is inclined is opened.

本発明の太陽電池パネルの取付装置によれば、太陽電池パネルの取付土台に互いに平行に支持された複数のレールと、複数のレールに架設され両端をレールに連結される太陽電池パネル用の支持フレームと、レールと支持フレームを連結する連結部と、を有し、レールは、角筒状に形成され、上壁の一部を長手方向に沿って連続して開口してスリットが形成されており、連結部は、レールの上壁と両側壁とに外側から同時に当着する補強部材と、レールのスリットの長手方向の任意の位置と補強部材の締結用孔を位置合わせして補強部材とレールのスリットを貫通した状態で補強部材とレールの上壁とを挟み込んで締結させる締結装置と、支持フレームを補強部材に固定させるフレーム固定機構と、を含むことから、レールのスリットを利用して、様々なサイズの太陽電池パネルに対応して支持フレームの位置を変更させながら太陽電池パネルを簡単に所定の位置に取付けることができる。さらに、レールにスリットが形成されていても、連結位置では補強部材によりレールの強度を向上させ、該レールの変形を防止することができるので支持強度を高く保持でき、太陽電池パネルの荷重や風雪、地震等に耐えながら取り付けることができる。   According to the solar cell panel mounting apparatus of the present invention, a plurality of rails supported in parallel to each other on the mounting base of the solar cell panel, and a support for a solar cell panel that is installed on the plurality of rails and is connected to the rails at both ends. A frame, and a connecting portion that connects the rail and the support frame. The rail is formed in a rectangular tube shape, and a slit is formed by continuously opening a part of the upper wall along the longitudinal direction. And the connecting portion aligns the reinforcing member that is simultaneously attached to the upper wall and both side walls of the rail from the outside, and the arbitrary position in the longitudinal direction of the slit of the rail and the fastening hole of the reinforcing member, Since it includes a fastening device that clamps and tightens the reinforcing member and the upper wall of the rail while passing through the rail slit, and a frame fixing mechanism that fixes the support frame to the reinforcing member, the rail slit is used. Te, it can be attached easily place the solar cell panel while in correspondence with the solar cell panel is changed the position of the support frame of various sizes. Furthermore, even if a slit is formed in the rail, the strength of the rail can be improved by the reinforcing member at the connecting position and the deformation of the rail can be prevented, so that the supporting strength can be kept high, and the load on the solar cell panel and the wind and snow Can be installed while withstanding earthquakes.

また、補強部材は、レールの側壁と上壁とに同時に当着するように下方を開放したコ字状に曲折されたコ字状板体を含む構成とすることにより、強度を保持させる補強部材を簡単な構造で具体的に実現でき、軽量、コンパクトで、低コストで製造できる。   In addition, the reinforcing member is configured to include a U-shaped plate body that is bent in a U-shape that is opened downward so that the side wall and the upper wall of the rail are simultaneously attached to each other, thereby maintaining strength. Can be concretely realized with a simple structure, and can be manufactured at a low cost with a light weight, a compact size.

また、補強部材は、レールの両側壁に当着する2つの側部とレールの上壁に当着する上部とを一体形成したコ字状部材であって、側部の下端側から上部との接続隅部に向けて次第に肉厚としたコ字状部材を含む構成とすることにより、コ字状部材自体の強度を向上して、より高い強度でレールの変形等を防止できる。また、補強部材を硬質プラスチック等で形成しても強度を維持でき、軽量で、低コストに製造できる。   The reinforcing member is a U-shaped member integrally formed with two side portions that are attached to both side walls of the rail and an upper portion that is attached to the upper wall of the rail. By adopting a configuration including a U-shaped member that is gradually thickened toward the connection corner, the strength of the U-shaped member itself can be improved, and deformation of the rail or the like can be prevented with higher strength. Moreover, even if the reinforcing member is formed of hard plastic or the like, the strength can be maintained, and the light weight can be manufactured at a low cost.

また、フレーム固定機構は、締結装置により兼用され、補強部材上に当着させた支持フレームを補強部材と同時に貫通した状態で挟み込んで締結させた構成とすることにより、支持フレームの形状に応じて簡単な構造で連結させることができるとともに、部品点数を少なくして、低コストで製造できる。   In addition, the frame fixing mechanism is also used by a fastening device, and is configured such that the support frame attached on the reinforcing member is sandwiched and fastened simultaneously with the reinforcing member, thereby depending on the shape of the supporting frame. While being able to connect with a simple structure, it can manufacture at low cost by reducing the number of parts.

また、フレーム固定機構は、補強部材から上方側に立ち上がって形成され、支持フレームの端部と接続されるフレーム接続片を含む構成とすることにより、太陽電池パネルの種類等により支持フレームの構造が異なる場合でも、種々の支持フレームに対応して確実にレールに取り付けることができる。   In addition, the frame fixing mechanism is formed to rise upward from the reinforcing member and includes a frame connection piece connected to the end of the support frame, so that the structure of the support frame can be changed depending on the type of the solar cell panel. Even when different, it can be securely attached to the rail corresponding to various support frames.

また、レールは、下壁に対して上壁を傾斜させて断面略台形状に形成されており、補強部材は、レールの上壁と両側壁の接続形状に対応して、断面視で上辺が傾斜した略台形又は略平行四辺形の下辺を開放させた変形コ字枠形状に設けられた構成とすることにより、太陽電池パネルを傾斜して設置する際にレールの上壁の傾斜を利用して支持フレームを傾斜状態で確実に設置することができる。また、部品点数を少なくして、低コスト化を図ることができる。   The rail is formed in a substantially trapezoidal cross section with the upper wall inclined with respect to the lower wall, and the reinforcing member has an upper side in a sectional view corresponding to the connection shape of the upper wall and both side walls of the rail. By adopting a configuration that is provided in a deformed U-shaped frame shape with the bottom of the inclined substantially trapezoidal or substantially parallelogram open, the inclination of the upper wall of the rail is used when installing the solar panel in an inclined manner. Thus, the support frame can be reliably installed in an inclined state. In addition, the number of parts can be reduced and the cost can be reduced.

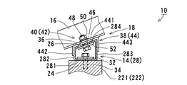
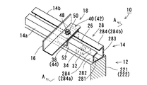
本発明の第1の実施形態に係る太陽電池パネルの取付装置の一部を拡大した斜視説明図である。It is a perspective explanatory view which expanded a part of attachment device of a solar cell panel concerning a 1st embodiment of the present invention. 図1の太陽電池パネルの取付装置を取付土台に設置した概略斜視説明図である。It is the schematic perspective explanatory drawing which installed the mounting apparatus of the solar cell panel of FIG. 1 in the mounting base. 図1のA−A線断面の拡大図である。It is an enlarged view of the AA line cross section of FIG. 図1の太陽電池パネルの取付装置の補強部材をレールに当着させた状態の斜視図である。FIG. 2 is a perspective view of a state in which a reinforcing member of the solar cell panel mounting device of FIG. 1 is attached to a rail. 図1の太陽電池パネルの取付装置の分解斜視図である。It is a disassembled perspective view of the attachment apparatus of the solar cell panel of FIG. 図5の分解図の一部を省略した断面説明図である。FIG. 6 is a cross-sectional explanatory diagram in which a part of the exploded view of FIG. 5 is omitted. 図6のレールの他の形態の説明図である。It is explanatory drawing of the other form of the rail of FIG. 本発明の第2の実施形態に係る太陽電池パネルの取付装置の要部の斜視説明図である。It is perspective explanatory drawing of the principal part of the attachment apparatus of the solar cell panel which concerns on the 2nd Embodiment of this invention. 図8の太陽電池パネルの取付装置の断面図である。It is sectional drawing of the attachment apparatus of the solar cell panel of FIG. 本発明の第3の実施形態に係る太陽電池パネルの取付装置の要部の断面図である。It is sectional drawing of the principal part of the attachment apparatus of the solar cell panel which concerns on the 3rd Embodiment of this invention. 図10の太陽電池パネルの取付装置の補強部材をレールに当着させた状態の斜視図である。It is a perspective view of the state which made the reinforcement member of the attachment apparatus of the solar cell panel of FIG. 10 contact the rail. 本発明の第4の実施形態に係る太陽電池パネルの取付装置の要部の断面図である。It is sectional drawing of the principal part of the attachment apparatus of the solar cell panel which concerns on the 4th Embodiment of this invention. 図12の太陽電池パネルの取付装置の補強部材をレールに当着させた状態の斜視図である。It is a perspective view of the state which made the reinforcement member of the attachment apparatus of the solar cell panel of FIG. 12 contact the rail. 図12の太陽電池パネルの取付装置のレールを分解した状態の断面図である。It is sectional drawing of the state which decomposed | disassembled the rail of the attachment apparatus of the solar cell panel of FIG. 図14のレールの他の形態の説明図である。It is explanatory drawing of the other form of the rail of FIG. 本発明の第5の実施形態に係る太陽電池パネルの取付装置の要部の断面図である。It is sectional drawing of the principal part of the attachment apparatus of the solar cell panel which concerns on the 5th Embodiment of this invention. 図16の太陽電池パネルの取付装置の補強部材をレールに当着させた状態の斜視図である。FIG. 17 is a perspective view of a state in which a reinforcing member of the solar cell panel mounting device of FIG. 16 is attached to a rail. 本発明の第6の実施形態に係る太陽電池パネルの取付装置の要部の断面図である。It is sectional drawing of the principal part of the attachment apparatus of the solar cell panel which concerns on the 6th Embodiment of this invention. 図18の太陽電池パネルの取付装置の補強部材をレールに当着させた状態の斜視図である。FIG. 19 is a perspective view of a state in which a reinforcing member of the solar cell panel mounting device of FIG. 18 is attached to a rail.

以下添付図面を参照しつつ本発明の太陽電池パネルの取付装置の実施の形態について説明する。本発明に係る太陽電池パネルの取付装置は、高い強度の取付構造を保持しながら、太陽電池パネルのサイズが異なっていても取付が制限されたりすることなく簡単かつ確実な取り付けを実現できるものである。図1ないし図6は、本発明の太陽電池パネルの取付装置の第1の実施形態を示している。本実施形態において、太陽電池パネルの取付装置(以下、単に「取付装置」とも言う)10は、図1、図2に示すように、太陽電池パネルSPの取付土台12上に設置されるレール14と、太陽電池パネルSP用の支持フレーム16と、レール14と支持フレーム16とを連結する連結部18と、を備えている。   Embodiments of a solar cell panel mounting apparatus according to the present invention will be described below with reference to the accompanying drawings. The solar cell panel mounting device according to the present invention can realize a simple and reliable mounting without restricting the mounting even if the solar cell panel size is different, while maintaining a high strength mounting structure. is there. FIG. 1 thru | or 6 has shown 1st Embodiment of the attachment apparatus of the solar cell panel of this invention. In the present embodiment, a solar cell panel mounting device (hereinafter also simply referred to as “mounting device”) 10 is a rail 14 installed on a mounting base 12 of a solar cell panel SP, as shown in FIGS. And a support frame 16 for the solar battery panel SP, and a connecting portion 18 that connects the rail 14 and the support frame 16.

本実施形態では、取付土台12は、例えば、地面上等に設置され太陽電池パネルを取付ける基台である。取付土台12と、取付装置10と、により太陽電池パネルSPを地面上に設置させる取付架台装置を構成する。図2に示すように、取付土台12は、例えば、地面上に複数個並設されている。取付土台12は、例えば、工場等で形成されたコンクリート二次製品からなり、地面に接する平面視略矩形状の底部20と、底部20の前後端部から互いに対向して鉛直方向に立ち上がった支持部221、222と、が一体的に形成され、側面視略U字状に形成されている。取付土台12の支持部221、222は、例えば、中間に矩形状の開口23を形成して略門形状又は矩形枠状に形成されている。支持部221、222は、例えば、一方の支持部221の高さより他方の支持部222の高さが高く形成されており、後述のように太陽電池パネルSPは所定の角度で前後に傾斜して取り付けられる。なお、本実施形態では、背の低い一方の支持部221側を前方側とし、背の高い他方の支持部222側を後方側とする。取付土台12は、側面視U字状となっているので太陽電池パネルSPの下方に側方を開放した大容量の中空空間が形成されているとともに、支持部221、222に開口23が形成されているので放熱を効果的に行える。図3、図5に示すように、取付土台12の支持部221、222の上端は平面で形成され、その上端面にレール14が設置される。支持部221、222の上部にはレール14締結用のインサートナット24が長手方向に離隔して複数個埋め込まれている。なお、取付土台12は、全体的に普通コンクリートで形成してもよいし、例えば、底部20の一部を多数の空隙があるポーラスコンクリートで形成してもよい。また、取付土台12の支持部221、222の形状は、例えば、板状や柱状等、その他任意形状でも良く、その高さも太陽電池パネルを設置する高さ位置、傾斜角度等の設計に応じて任意に設定してもよい。また、例えば、取付土台12の底部や支持部には同じ大きさ又は異なる大きさの複数の開口を設けても良いし、開口を設けなくても良い。   In the present embodiment, the mounting base 12 is a base that is installed on the ground or the like and attaches a solar cell panel, for example. The mounting base 12 and the mounting device 10 constitute an mounting base device that installs the solar cell panel SP on the ground. As shown in FIG. 2, for example, a plurality of mounting bases 12 are arranged side by side on the ground. The mounting base 12 is made of, for example, a concrete secondary product formed in a factory or the like, and has a substantially rectangular bottom 20 in plan view that touches the ground, and a support that rises in the vertical direction facing each other from the front and rear ends of the bottom 20. The parts 221 and 222 are integrally formed, and are formed in a substantially U shape in a side view. For example, the support portions 221 and 222 of the mounting base 12 are formed in a substantially gate shape or a rectangular frame shape by forming a rectangular opening 23 in the middle. For example, the support portions 221 and 222 are formed such that the height of the other support portion 222 is higher than the height of the one support portion 221, and the solar cell panel SP is inclined back and forth at a predetermined angle as will be described later. It is attached. In the present embodiment, one of the shorter support portions 221 is the front side, and the other lower support portion 222 side is the rear side. Since the mounting base 12 has a U-shape when viewed from the side, a large-capacity hollow space is formed below the solar cell panel SP, and the openings 23 are formed in the support portions 221 and 222. Therefore, it is possible to effectively dissipate heat. As shown in FIGS. 3 and 5, the upper ends of the support portions 221 and 222 of the mounting base 12 are formed as flat surfaces, and the rails 14 are installed on the upper end surfaces. A plurality of insert nuts 24 for fastening the rails 14 are embedded in the upper portions of the support portions 221 and 222 while being spaced apart in the longitudinal direction. Note that the mounting base 12 may be formed of ordinary concrete as a whole, or, for example, a part of the bottom portion 20 may be formed of porous concrete having a large number of voids. In addition, the shape of the support portions 221 and 222 of the mounting base 12 may be any other shape such as a plate shape or a column shape, and the height thereof depends on the design of the height position, inclination angle, etc. where the solar cell panel is installed. It may be set arbitrarily. In addition, for example, a plurality of openings of the same size or different sizes may be provided on the bottom or support portion of the mounting base 12, or openings may not be provided.

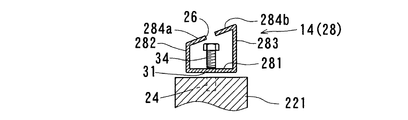
レール14は、図1、図2、図3に示すように、一方に長く形成されており、取付土台12に支持されて太陽電池パネルSP用の支持フレーム16を受ける直線状のベースフレームを構成する。さらに、レール14は、連結部18と協働して支持フレーム16の取付位置を自在に変更できるようになっており、太陽電池パネルのサイズに応じて支持フレーム16の取付位置を自在に変更、調整できる調整手段として機能する。レール14は、取付土台12の前後の支持部221、222の上端にそれぞれ支持され、2個1対で互いに平行に設置されている。本実施形態では、レール14は、例えば、鋼材等の金属素材で形成されており、一方向に長い四角筒状体の一つの壁の一部を長手軸方向に沿って細幅で分割させたスリット付き中空角筒状体からなる。具体的には、レール14は、下壁281と、下壁281から立設し互いに平行に対向した高さが異なる2つの側壁282、283と、下壁281に対して傾斜して側壁282、283の上端に接続された上壁284と、を有した断面略台形状の角筒状体28からなる。レール14は、例えば、取付土台12の支持部282、283にボルト等の締結部材を介して固定される。さらに、レール14には、上壁284の幅方向略中央部分を長手方向に沿って一端から他端まで連続して溝状に開口させたスリット26が形成されている。よって、上壁284は、スリット26を挟んで前方側の低い側壁282に接続された前上壁284aと、後方側の高い側壁283に接続された後上壁284aとに2分割されて若干離隔している。前方の前上壁284aと一方の側壁281とは鈍角で接続され、後方の後上壁284bと他方の側壁282とは鋭角で接続されており、それらの前後の上壁の上面は同一平面上になるように形成されている。上壁284の傾斜角度は、例えば、太陽電池パネルSPの設置角度に対応して約20〜30度の角度で設定されており、支持フレーム16を設置角度で簡単に連結させることができる。これにより、太陽電池パネルの取り付け作業の際に現場での支持フレームの角度調整等を簡略化でき円滑に施工作業を行える。レール14のスリット26は、レール14の長手方向に沿って一定の間隙幅で直線状に細長い隙間となっている。スリット26には、後述のように締結装置40が貫通しており、その貫通位置を連続的に変化させることにより支持フレーム16の連結位置を自在に変更させ得る。なお、レールは3つ以上の複数本を互いに平行に設置することとしてもよい。   As shown in FIGS. 1, 2, and 3, the rail 14 is formed to be long on one side, and forms a linear base frame that is supported by the mounting base 12 and receives the support frame 16 for the solar cell panel SP. To do. Furthermore, the rail 14 can change the attachment position of the support frame 16 freely in cooperation with the connection part 18, and can freely change the attachment position of the support frame 16 according to the size of the solar cell panel. It functions as an adjustment means that can be adjusted. The rails 14 are respectively supported by the upper ends of the support portions 221 and 222 before and after the mounting base 12 and are installed in parallel with each other in pairs. In this embodiment, the rail 14 is formed of, for example, a metal material such as a steel material, and a part of one wall of a rectangular cylindrical body that is long in one direction is divided in a narrow width along the longitudinal axis direction. It consists of a hollow rectangular tube with a slit. Specifically, the rail 14 includes a lower wall 281, two side walls 282, 283 that are erected from the lower wall 281 and that are parallel to each other and have different heights, and a side wall 282 that is inclined with respect to the lower wall 281, And an upper wall 284 connected to the upper end of the H.283, and a rectangular tube body 28 having a substantially trapezoidal cross section. For example, the rail 14 is fixed to the support portions 282 and 283 of the mounting base 12 via fastening members such as bolts. Further, the rail 14 is formed with a slit 26 in which a substantially central portion in the width direction of the upper wall 284 is continuously opened from one end to the other end in a groove shape along the longitudinal direction. Therefore, the upper wall 284 is divided into two parts, a front upper wall 284a connected to the front lower side wall 282 across the slit 26 and a rear upper wall 284a connected to the rear side higher side wall 283, and is slightly separated. is doing. The front front upper wall 284a and one side wall 281 are connected at an obtuse angle, and the rear rear upper wall 284b and the other side wall 282 are connected at an acute angle, and the upper surfaces of the front and rear upper walls are coplanar. It is formed to become. The inclination angle of the upper wall 284 is set at an angle of about 20 to 30 degrees corresponding to the installation angle of the solar cell panel SP, for example, and the support frame 16 can be easily connected at the installation angle. As a result, the angle adjustment of the support frame at the site can be simplified during the installation work of the solar cell panel, and the construction work can be performed smoothly. The slits 26 of the rail 14 are linear and elongated gaps with a constant gap width along the longitudinal direction of the rail 14. As will be described later, the fastening device 40 passes through the slit 26, and the connecting position of the support frame 16 can be freely changed by continuously changing the penetrating position. Note that three or more rails may be installed in parallel to each other.

本実施形態では、図5、図6に示すように、レール14は、スリット付き角筒状体28を長手方向に沿って前後に2分割して構成されている。レール14は、上壁284が長手方向に沿って2分割されているが、下壁281も長手方向に沿って分割されており、2つの分割レール要素14a、14bを組み付けて角筒状体28が構成される。図5に示すように、分割レール要素14a、14bの下壁281a、282bの分割の縁端辺には、組み付け時に貫通孔を形成する凹部30が長手方向に所定の間隔で複数個形成されている。レール14を取付土台12に固定する際には、分割レール要素14a、14bを組み付けた状態で、それらの凹部30が形成する貫通孔と取付土台12の支持部221、222に埋設したインサート24とを位置合わせする。そして、レール14の下壁281に上から押さえ板32を当着させながら、ボルト34等を貫通孔に貫通させてインサートナット24に螺合してレール14の下壁281を締結固定する。本実施形態では、レール14を2分割して構成しているので、台形状のスリット付き角筒状体を一体成形するよりも製造しやすい。なお、レール14は2分割した構成に限らない。例えば、図7に示すように、レール14は、下壁281、両側壁282、283、スリット26を有する上壁284が一体的に形成されたスリット付き角筒状体28で構成してもよい。レール14の下壁281に孔31が穿孔され、ボルト34を介して取付土台の支持部221、222のインサートナット24に締結されて支持される。   In this embodiment, as shown in FIG. 5 and FIG. 6, the rail 14 is configured by dividing a rectangular tube-shaped body 28 with a slit back and forth along the longitudinal direction. In the rail 14, the upper wall 284 is divided into two along the longitudinal direction, but the lower wall 281 is also divided along the longitudinal direction, and the rectangular tubular body 28 is assembled by assembling the two divided rail elements 14 a and 14 b. Is configured. As shown in FIG. 5, a plurality of concave portions 30 that form through holes at the time of assembly are formed at predetermined intervals in the longitudinal edges of the divided walls of the lower walls 281 a and 282 b of the divided rail elements 14 a and 14 b. Yes. When the rail 14 is fixed to the mounting base 12, with the divided rail elements 14 a and 14 b assembled, the through holes formed by the concave portions 30 and the inserts 24 embedded in the support portions 221 and 222 of the mounting base 12 Align. Then, while the pressing plate 32 is attached to the lower wall 281 of the rail 14 from above, the lower wall 281 of the rail 14 is fastened and fixed by threading the bolt 34 or the like through the through hole and screwing into the insert nut 24. In this embodiment, since the rail 14 is divided into two parts, it is easier to manufacture than a case in which a trapezoidal rectangular tube with a slit is integrally formed. In addition, the rail 14 is not restricted to the structure divided into two. For example, as shown in FIG. 7, the rail 14 may be configured by a rectangular tubular body 28 with a slit in which a lower wall 281, side walls 282 and 283, and an upper wall 284 having a slit 26 are integrally formed. . A hole 31 is drilled in the lower wall 281 of the rail 14 and is fastened to and supported by the insert nuts 24 of the mounting base support portions 221 and 222 via bolts 34.

支持フレーム16は、太陽電池パネルSPの周囲又は下面側に組み付けられて該太陽電池パネルSPを支持するパネル取付フレームである。支持フレーム16は、例えば、太陽電池パネルSPの周枠にボルト等の締着部材によって締結することにより該太陽電池パネルを支持している。図1、図2、図3に示すように、本実施形態では、支持フレーム16は、支持土台12の高さ位置が異なる平行な2本のレール14に平面視直交状に交差して架設されており、側面視で約20〜30度程度の傾斜角度で設置されている。そして、支持フレーム16の両端が連結部18を介してレール14の長手方向の任意の位置に連結可能となっている。支持フレーム16は、例えば、断面が略L字に形成されたL字鋼材からなる。図5にも示すように、支持フレーム16の端部には、ボルト締結用の孔36が穿孔されている。なお、支持フレーム16は、例えば、筒状、板形状、I形状、H形状、C形状、溝形形状、U字形状等のその他任意のものでもよく、太陽電池パネルの構造に応じて形成されるとよい。   The support frame 16 is a panel mounting frame that is assembled around the solar cell panel SP or on the lower surface side to support the solar cell panel SP. The support frame 16 supports the solar cell panel, for example, by fastening it to a peripheral frame of the solar cell panel SP with a fastening member such as a bolt. As shown in FIGS. 1, 2, and 3, in the present embodiment, the support frame 16 is constructed so as to intersect with two parallel rails 14 having different height positions of the support base 12 so as to be orthogonal to each other in plan view. It is installed at an inclination angle of about 20 to 30 degrees in side view. The both ends of the support frame 16 can be connected to any position in the longitudinal direction of the rail 14 via the connecting portion 18. The support frame 16 is made of, for example, an L-shaped steel material having a substantially L-shaped cross section. As shown in FIG. 5, a bolt fastening hole 36 is drilled at the end of the support frame 16. Note that the support frame 16 may be any other shape such as a cylindrical shape, a plate shape, an I shape, an H shape, a C shape, a groove shape, a U shape, etc., and is formed according to the structure of the solar cell panel. Good.

連結部18は、平行に配置されたレール14に支持フレーム16の端部をそれぞれ連結する連結手段である。図1、図3に示すように、連結部18は、レール14に係着される補強部材38と、補強部材38をレール14に対して締結する締結装置40と、補強部材38に対して支持フレーム16を固定するフレーム固定機構42と、を含む。   The connecting portions 18 are connecting means for connecting the end portions of the support frame 16 to the rails 14 arranged in parallel. As shown in FIGS. 1 and 3, the connecting portion 18 is supported by a reinforcing member 38 that is engaged with the rail 14, a fastening device 40 that fastens the reinforcing member 38 to the rail 14, and the reinforcing member 38. A frame fixing mechanism 42 for fixing the frame 16.

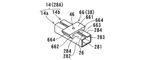
補強部材38は、支持フレーム16の連結位置となるレール14の長手方向の一部分において上壁284と両側壁282、283とに同時に当着してレール14の支持フレーム16との連結部位を補強する補強手段である。上述のように、レール14は、上壁284の一部を長手方向に連続して開口させたスリット26付き角筒状体で構成されている。レール14のスリット26を介して支持フレーム16を単にボルト、ナット等の締結部材で締結することにより、レールの長手方向に対して支持フレーム16を位置変更可能に連結することは可能である。しかしながら、レールがスリットで分割されているので、例えば、風や地震等による揺れや積雪による荷重などにより、ボルト、ナットによる連結部分に負荷等がかかるとレール14が変形し、強度不足や離脱又はガタツキが生じることなどが懸念される。本実施形態では、連結部18がこの補強部材38を有するので、連結部においてレール14の変形等を良好に防止してレールの強度を向上させることができる。また、補強部材38は分割レール要素どうしの組み付け状態を保持しうる。本実施形態では、補強部材38は、図3、図4、図5に示すように、例えば、厚さが5mm程度の金属板を略コ字状に曲折して形成されており、断面略台形状のレール14の上壁284と両側壁282、283の接続形状に対応して略台形状の一辺を開放した変形コ字状板体44からなる。変形コ字状板体44は、所定の横幅で形成され、レール14の上壁284に上方から当着するようにスリット26を跨いで傾斜して配置される上板部441と、上板部441の傾斜方向の両端部に接続されレール14の側壁282、283に外側から当着する側板部442、443と、が一体的に形成されている。変形コ字状板体44は、断面略台形状のレール14の外側から該レール14の長手方向の任意の位置に嵌合状に係着しうる。側板部442、443は、上板部441の傾斜により互いに高さがずれた位置で上板部441に接続され互いに平行に配置されている。上板部441の中間位置には、板面に直交方向に貫通された締結用孔46が穿孔されており、変形コ字状板体44をレール14に嵌合状に係着させると、該締結用孔46とレール14のスリット26との位置が一致して貫通するようになっている。さらに、変形コ字状板体44の上板部の上面には、L字状の支持フレーム16の横片部が当着して載置され、その状態で締結装置40により締結されて互いに固定される。   The reinforcing member 38 simultaneously contacts the upper wall 284 and both side walls 282 and 283 at a part in the longitudinal direction of the rail 14 where the support frame 16 is connected, and reinforces the connection portion of the rail 14 with the support frame 16. It is a reinforcing means. As described above, the rail 14 is configured by a rectangular tubular body with the slit 26 in which a part of the upper wall 284 is continuously opened in the longitudinal direction. By simply fastening the support frame 16 with a fastening member such as a bolt or a nut through the slit 26 of the rail 14, it is possible to connect the support frame 16 so that the position of the support frame 16 can be changed in the longitudinal direction of the rail. However, since the rail is divided by the slits, the rail 14 is deformed when a load or the like is applied to the connection portion by a bolt or a nut due to, for example, a shake due to wind or an earthquake, or a load due to snow, etc. There is concern about the occurrence of rattling. In this embodiment, since the connection part 18 has this reinforcement member 38, a deformation | transformation etc. of the rail 14 can be prevented favorably in a connection part, and the intensity | strength of a rail can be improved. Further, the reinforcing member 38 can maintain the assembled state of the divided rail elements. In the present embodiment, the reinforcing member 38 is formed by bending a metal plate having a thickness of about 5 mm into a substantially U shape, as shown in FIGS. 3, 4, and 5. It is formed of a deformed U-shaped plate body 44 having one side of a substantially trapezoidal shape corresponding to the connection shape of the upper wall 284 and both side walls 282 and 283 of the shaped rail 14. The deformed U-shaped plate body 44 is formed with a predetermined lateral width, and is arranged with an upper plate portion 441 inclined over the slit 26 so as to contact the upper wall 284 of the rail 14 from above, and an upper plate portion Side plate portions 442 and 443 that are connected to both end portions in the inclined direction of 441 and are attached to the side walls 282 and 283 of the rail 14 from the outside are integrally formed. The deformed U-shaped plate body 44 can be engaged with an arbitrary position in the longitudinal direction of the rail 14 from the outside of the rail 14 having a substantially trapezoidal cross section. The side plate portions 442 and 443 are connected to the upper plate portion 441 and arranged in parallel with each other at a position where the height is shifted from each other due to the inclination of the upper plate portion 441. At an intermediate position of the upper plate portion 441, a fastening hole 46 penetrating in a direction orthogonal to the plate surface is drilled, and when the deformed U-shaped plate body 44 is engaged with the rail 14 in a fitting manner, The positions of the fastening hole 46 and the slit 26 of the rail 14 are aligned and penetrated. Further, the horizontal piece portion of the L-shaped support frame 16 is placed on the upper surface of the upper plate portion of the deformed U-shaped plate body 44 and fastened by the fastening device 40 in this state and fixed to each other. Is done.

締結装置40は、補強部材38をレール14へ締結させる締結手段である。本実施形態では、締結装置40は、支持フレーム16を補強部材38に対して固定するフレーム固定機構42を同時に兼用している。フレーム固定機構42は、レール14に締結される補強部材38に対して支持フレーム16を固定することにより、補強部材38を介して間接的に、又は補強部材38と同時に直接的に支持フレーム16をレール14に連結させる。締結装置40すなわちフレーム固定用機構42は、例えば、レール14と変形コ字状板体44と支持フレーム16とを密着させた状態で同時に締結するようになっている。よって、連結部16の構造を大幅に複雑化させることなく、簡単な構成で、部材点数も少なく、効率よい強固な連結構造を実現している。図3、図5に示すように、締結装置40は、例えば、レール14のスリット26と変形コ字状板体44の締結用孔46と支持フレーム16のボルト用の孔36とを貫通するボルト48と、ボルト48に螺合してボルト48と協働して締結するナット50と、を含む。さらに、締結装置40は、例えば、レール14の上壁284に中空内側から当着される矩形状の当て板52を含み、ボルト48、ナット50での締結強度をより向上している。なお、本実施形態では、連結部18は、締結装置40とフレーム固定機構42とを同一のボルト、ナット等の締結部材で兼用させた構造であるが、後述の実施形態のように締結装置40とフレーム固定機構42とを別々に構成してもよい。   The fastening device 40 is fastening means for fastening the reinforcing member 38 to the rail 14. In the present embodiment, the fastening device 40 also serves as a frame fixing mechanism 42 that fixes the support frame 16 to the reinforcing member 38. The frame fixing mechanism 42 fixes the support frame 16 to the reinforcement member 38 fastened to the rail 14, so that the support frame 16 can be directly or simultaneously with the reinforcement member 38 via the reinforcement member 38. Connect to rail 14. The fastening device 40, that is, the frame fixing mechanism 42, for example, is fastened simultaneously with the rail 14, the deformed U-shaped plate body 44, and the support frame 16 being in close contact with each other. Therefore, an efficient and strong connection structure is realized with a simple configuration and a small number of members without greatly complicating the structure of the connection portion 16. As shown in FIGS. 3 and 5, the fastening device 40 includes, for example, a bolt that passes through the slit 26 of the rail 14, the fastening hole 46 of the deformed U-shaped plate 44, and the bolt hole 36 of the support frame 16. 48, and a nut 50 that is screwed to the bolt 48 and fastened in cooperation with the bolt 48. Furthermore, the fastening device 40 includes, for example, a rectangular contact plate 52 that is attached to the upper wall 284 of the rail 14 from the inside of the hollow, and the fastening strength of the bolt 48 and the nut 50 is further improved. In the present embodiment, the connecting portion 18 has a structure in which the fastening device 40 and the frame fixing mechanism 42 are combined with the same fastening member such as a bolt and a nut. However, the fastening device 40 as in the embodiments described later. And the frame fixing mechanism 42 may be configured separately.

本実施形態に係る太陽電池パネルの取付装置10を用いて太陽電池パネルSPを設置する際には、例えば、工場等で形成しておいた複数の取付土台12を施工現場に並べて設置する。なお、取付土台は、現場で型枠等にコンクリートを打設して形成してもよい。図5に示すように、分割レール要素14a、14bを組み付けてレール14を構成しボルト34及び押さえ板32等の締結部材を介して取付土台12の支持部221、222に支持させる。補強部材38をレール14に嵌合状に係着させると同時に、支持フレーム16をレール14に架設し、補強部材38と支持フレーム16の端部とを同時に締結装置40で締結する。レール14は上壁281が傾斜して形成されているので、支持フレーム16を所定の角度で簡単に設置することができる。取付られた支持フレーム16にビス等により太陽電池パネルSPを支持させる。必要に応じて、締結装置40を緩める等して支持フレーム16をレール14の長手方向に沿って移動させて連結位置やフレームどうしの間隔を適宜設定して支持フレームを固定することができる。これにより、支持フレーム16のレール14の長手方向に対する連結位置を変更できるとともに、微調整も行える。その結果、一つの取付装置だけで太陽電池パネルSPのサイズが異なる場合であっても、良好に対応して簡単に確実に取り付けることができ、汎用性が高い。同様の作業を繰返して複数の太陽電池パネルを取り付けて太陽電池アレイを構成する。なお、本実施形態では、レールに支持フレームを連結した後に太陽電池パネルを支持させたが、予め支持フレームに太陽電池パネルを組み付けた状態で支持フレームのレールへの連結作業を行ってもよい。取付装置10により太陽電池パネルSPを取り付けた状態では、連結部18が補強部材38を有しているので、連結部分での耐久性を向上しており、高い強度を保持して風、地震の揺れや雪の荷重等を受けてもレールが変形するのを良好に防止でき、実用的に利用することができる。   When installing the solar cell panel SP using the solar cell panel mounting device 10 according to the present embodiment, for example, a plurality of mounting bases 12 formed in a factory or the like are installed side by side on the construction site. The mounting base may be formed by placing concrete on a formwork or the like on site. As shown in FIG. 5, the divided rail elements 14 a and 14 b are assembled to constitute the rail 14 and supported by the support portions 221 and 222 of the mounting base 12 through fastening members such as bolts 34 and a pressing plate 32. At the same time that the reinforcing member 38 is engaged with the rail 14 in a fitting manner, the support frame 16 is installed on the rail 14, and the reinforcing member 38 and the end of the support frame 16 are simultaneously fastened by the fastening device 40. Since the rail 14 is formed with the upper wall 281 inclined, the support frame 16 can be easily installed at a predetermined angle. The solar cell panel SP is supported on the attached support frame 16 by screws or the like. If necessary, the support frame 16 can be fixed by appropriately setting the connecting position and the interval between the frames by moving the support frame 16 along the longitudinal direction of the rail 14 by loosening the fastening device 40 or the like. Thereby, while being able to change the connection position with respect to the longitudinal direction of the rail 14 of the support frame 16, fine adjustment can also be performed. As a result, even if the size of the solar cell panel SP is different with only one mounting device, it can be easily and reliably mounted in a good manner and is highly versatile. A similar operation is repeated to attach a plurality of solar cell panels to form a solar cell array. In the present embodiment, the solar cell panel is supported after the support frame is connected to the rail. However, the support frame may be connected to the rail in a state where the solar cell panel is assembled to the support frame in advance. In the state where the solar panel SP is attached by the attachment device 10, since the connecting portion 18 has the reinforcing member 38, durability at the connecting portion is improved, and high strength is maintained and wind and earthquake are maintained. Even when subjected to shaking or snow load, the rail can be well prevented from being deformed and can be used practically.

次に、図8、図9を参照しつつ、本発明の第2の実施形態の太陽電池パネルの取付装置10−2について説明する。上記した第1実施形態と同一構成、同一部材には、同一符号を付し、その詳細な説明は省略する。本実施形態では、第1実施形態同様に、取付土台12に支持されるレール14と、太陽電池パネルSPの支持フレーム16と、連結部18と、を備え、連結部16は、補強部材38と、締結装置40と、フレーム固定機構42と、を備えている。本実施形態では、支持フレーム16とフレーム固定機構42の構造が第1実施形態とは異なっている。本実施形態では、支持フレーム16は、例えば、断面が逆U字状の鋼材で形成されており、両端部にはU字の縦板面を横方向に貫通した貫通孔54が形成されている。フレーム固定機構42は、例えば、補強部材38の上面側に設置され、締結装置40によりレール14及び補強部材38と同時に締結される中間接続片56と、中間接続片56と支持フレーム16とを締結するボルトナット等の締結部材と、を有している。中間接続片56は、例えば、金属板をU字状に曲折して形成されており、U字状の底板部には締結装置40のボルト48による締結用の孔58が穿孔されているとともに、U字の両縦板部には支持フレーム16との接続用のボルト孔59が設けられている。中間接続片56は、締結装置40によりレール14に補強部材38と同時に締結された状態で、支持フレーム16の下方側の開口から嵌合状に装着され、ボルト60で締結されて接続される。中間接続片56は、U字状の金属板に限らず、支持フレーム16の構造に応じた構成であるとよく、中間接続片56により種々の支持フレーム16を補強部材及びレールに連結させることができる。また、中間接続片56に対して支持フレーム16の角度をある程度自由に設定でき自由度が高い。さらに、本実施形態の取付装置でも上記実施形態同様に、高い支持強度を保持しながら、様々なサイズの太陽電池パネルに対応して簡単に取付けることができ汎用性が高い等の作用効果を奏し得る。   Next, a solar panel mounting apparatus 10-2 according to a second embodiment of the present invention will be described with reference to FIGS. The same configurations and the same members as those of the first embodiment described above are denoted by the same reference numerals, and detailed description thereof is omitted. In the present embodiment, as in the first embodiment, the rail 14 supported by the mounting base 12, the support frame 16 of the solar cell panel SP, and the connecting portion 18 are provided. The fastening device 40 and the frame fixing mechanism 42 are provided. In the present embodiment, the structures of the support frame 16 and the frame fixing mechanism 42 are different from those in the first embodiment. In the present embodiment, the support frame 16 is made of, for example, a steel material having an inverted U-shaped cross section, and through holes 54 penetrating the U-shaped vertical plate surface in the lateral direction are formed at both ends. . The frame fixing mechanism 42 is installed, for example, on the upper surface side of the reinforcing member 38 and fastens the intermediate connecting piece 56 fastened simultaneously with the rail 14 and the reinforcing member 38 by the fastening device 40, and the intermediate connecting piece 56 and the support frame 16. And fastening members such as bolts and nuts. The intermediate connection piece 56 is formed, for example, by bending a metal plate into a U-shape, and a fastening hole 58 by a bolt 48 of the fastening device 40 is drilled in the U-shaped bottom plate portion. Both U-shaped vertical plate portions are provided with bolt holes 59 for connection to the support frame 16. The intermediate connection piece 56 is fitted into the opening from the lower side of the support frame 16 in a state where the intermediate connection piece 56 is fastened to the rail 14 at the same time as the reinforcing member 38 by the fastening device 40, and is fastened and connected by the bolt 60. The intermediate connection piece 56 is not limited to the U-shaped metal plate, and may have a structure corresponding to the structure of the support frame 16. The intermediate connection piece 56 may connect various support frames 16 to the reinforcing member and the rail. it can. Further, the angle of the support frame 16 with respect to the intermediate connection piece 56 can be freely set to some extent, and the degree of freedom is high. Furthermore, in the mounting device of this embodiment, as in the above-described embodiment, while maintaining high support strength, it can be easily mounted in correspondence with various sizes of solar cell panels, and has the effects such as high versatility. obtain.

次に、図10、図11を参照しつつ、本発明の第3の実施形態の太陽電池パネルの取付装置について説明する。上記実施形態と同一部材には同一符号を付し、その詳細な説明は省略する。図10、図11に示すように、本実施形態に係る取付装置10−3では、第1実施形態の構成と略同じ構成であるが、連結部18の補強部材38の構成が異なっている。本実施形態では、補強部材38は、レール14の傾斜した上壁281に当着する上部621と、上部621の傾斜方向の両端に接続されレール14の両側壁282、283に当着する2つの側部622、623とを一体的に形成し下側を開放した変形コ字状部材62からなる。変形コ字状部材62は、側部622、623の下端側から上部621との接続隅部624に向けて次第に肉厚に形成され、全体的に比較的肉厚で形成されている。これにより、変形コ字状部材62は、例えば、上部621に対して側部622、623が外側に開くように変形するのを良好に防止でき補強部材38自体の強度が高く、好適にレール14の変形を防止できる。変形コ字状部材62は、強度が高いので、例えば、ポリ塩化ビニルや硬質プラスチック等で形成することもでき、装置の軽量化、低コスト化を図ることもできる。また、本実施形態の取付装置でも上記実施形態同様に、高い強度を保持しながら、様々なサイズの太陽電池パネルに対応して簡単に取付けることができ汎用性が高い等の作用効果を奏し得る。   Next, a solar cell panel mounting apparatus according to a third embodiment of the present invention will be described with reference to FIGS. The same members as those in the above embodiment are denoted by the same reference numerals, and detailed description thereof is omitted. As shown in FIGS. 10 and 11, the attachment device 10-3 according to this embodiment has substantially the same configuration as that of the first embodiment, but the configuration of the reinforcing member 38 of the connecting portion 18 is different. In the present embodiment, the reinforcing member 38 includes an upper part 621 that contacts the inclined upper wall 281 of the rail 14 and two upper parts 621 that are connected to both ends in the inclined direction of the upper part 621 and contact both side walls 282 and 283 of the rail 14. It consists of a deformed U-shaped member 62 in which the side portions 622 and 623 are integrally formed and the lower side is opened. The deformed U-shaped member 62 gradually increases in thickness from the lower end side of the side portions 622 and 623 toward the connection corner 624 with the upper portion 621, and is formed relatively thick overall. As a result, the deformed U-shaped member 62 can favorably prevent, for example, the side portions 622 and 623 from opening outward with respect to the upper portion 621, and the strength of the reinforcing member 38 itself is high. Can be prevented from being deformed. Since the deformed U-shaped member 62 has high strength, it can be formed of, for example, polyvinyl chloride or hard plastic, and the apparatus can be reduced in weight and cost. In addition, in the mounting device of this embodiment, similar to the above-described embodiment, it can be easily mounted in correspondence with various sizes of solar cell panels while maintaining high strength, and can exhibit effects such as high versatility. .

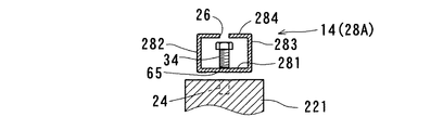
次に、図12、図13、図14を参照しつつ、本発明の第4の実施形態の太陽電池パネルの取付装置について説明する。上記した第1実施形態と同一構成、同一部材には、同一符号を付し、その詳細な説明は省略する。図12、図13、図14に示すように、本実施形態の取付装置10−4では、第1の実施形態の構成と略同じ構成であるが、レール14の構造と、該レール14に係着する補強部材38の構造が異なっている。本実施形態では、レール14は、上壁284が下壁281に対して傾斜しておらず、すなわち上壁と下壁とが平行になっている。よって、レール14は、下壁281、両側壁282、283、上壁284、の4つの壁が互いに略直角に接続された断面視略矩形状に形成されている。レール14の上壁281には、上記実施形態同様に、長手方向に沿って長く連続形成されたスリット26が形成されており、レール14は、Cチャネル状のスリット付き角筒状体28Aからなる。さらに、レール14は、第1実施形態同様に、長手方向に沿って2分割されており、分割レール要素14a、14bを組み付けてレール14を構成され、取付土台12の支持部221、222にボルト34、押さえ板32等の締着部材を介して締結されて支持される。本実施形態では、補強部材38は、レール14の断面略矩形状に対応して上壁284と両側壁282、282に外側から同時に係着するように下方を開口したコ字状板体64からなる。コ字状板体62は、レール14の上面に当着する上板部641と、レール14の両側壁282、283の外面に当着する2つの側板部642、643と、を含み、上板部と各側壁は略直角に接続されている。本実施形態の取付装置でも上記実施形態同様に、高い支持強度を保持しながら、様々なサイズの太陽電池パネルに対応して簡単に取付けることができ汎用性が高い等の作用効果を奏し得る。なお、本実施形態でも、レール14は2分割した構成に限らない。例えば、図15に示すように、レール14は、下壁281、両側壁282、283、スリット26を有する上壁284が一体的に形成されたスリット付き角筒状体28Aで構成してもよい。レール14の下壁281に孔65が穿孔されており、ボルト34を介して取付土台の支持部221、222に締結される。   Next, a solar cell panel mounting apparatus according to a fourth embodiment of the present invention will be described with reference to FIGS. 12, 13, and 14. The same configurations and the same members as those of the first embodiment described above are denoted by the same reference numerals, and detailed description thereof is omitted. As shown in FIGS. 12, 13, and 14, the attachment device 10-4 of the present embodiment has substantially the same configuration as that of the first embodiment, but the structure of the rail 14 and the rail 14 are related. The structure of the reinforcing member 38 to be worn is different. In this embodiment, the rail 14 has the upper wall 284 that is not inclined with respect to the lower wall 281, that is, the upper wall and the lower wall are parallel to each other. Therefore, the rail 14 is formed in a substantially rectangular shape in sectional view in which the four walls of the lower wall 281, the side walls 282 and 283, and the upper wall 284 are connected to each other at a substantially right angle. The upper wall 281 of the rail 14 is formed with a slit 26 that is long and continuously formed along the longitudinal direction, as in the above-described embodiment, and the rail 14 is formed of a rectangular tubular body 28A with a C-channel slit. . Furthermore, the rail 14 is divided into two along the longitudinal direction as in the first embodiment, and the rail 14 is configured by assembling the divided rail elements 14a and 14b, and bolts are attached to the support portions 221 and 222 of the mounting base 12. 34, and is supported by fastening members such as a pressing plate 32. In the present embodiment, the reinforcing member 38 is formed from a U-shaped plate body 64 that opens downward so as to be simultaneously engaged with the upper wall 284 and both side walls 282 and 282 from the outside corresponding to the substantially rectangular shape of the rail 14. Become. The U-shaped plate body 62 includes an upper plate portion 641 that contacts the upper surface of the rail 14 and two side plate portions 642 and 643 that contact the outer surfaces of both side walls 282 and 283 of the rail 14. The part and each side wall are connected at a substantially right angle. Similarly to the above-described embodiment, the attachment device of the present embodiment can be easily attached to various sizes of solar cell panels while maintaining high support strength, and can exhibit effects such as high versatility. In the present embodiment, the rail 14 is not limited to the configuration divided into two. For example, as shown in FIG. 15, the rail 14 may be configured by a rectangular tubular body 28 </ b> A with a slit in which a lower wall 281, side walls 282 and 283, and an upper wall 284 having a slit 26 are integrally formed. . A hole 65 is formed in the lower wall 281 of the rail 14, and is fastened to the support portions 221 and 222 of the mounting base via bolts 34.

次に、図16、図17を参照しつつ、本発明の第5の実施形態の太陽電池パネルの取付装置について説明する。上記実施形態と同一部材には同一符号を付し、その詳細な説明は省略する。図14、図15に示すように、本実施形態に係る取付装置10−5では、第4実施形態の構成と略同じ構成であるが、連結部18の補強部材38の構成が異なっている。本実施形態では、補強部材38は、レール14の上壁281に当着する上部661と、上部661の両端に接続されレール14の両側壁282、283に当着する2つの側部662、663とを一体的に形成し下側を開放したコ字状部材66からなる。コ字状部材66は、上記の第3実施形態の変形コ字状部材62と同様に、側部662、668の下端側から上部661との接続隅部664に向けて次第に肉厚に形成され、全体的に比較的肉厚で形成されている。これにより、第3実施形態同様に、コ字状部材66は、側部662、663が上部661に対して外側に開くように変形するのを良好に防止して補強部材38自体の強度を高く保持でき、好適にレール14の変形を防止できる。コ字状部材66は、強度が高いので、例えば、ポリ塩化ビニルや硬質プラスチック等で形成することもでき、装置の軽量化、低コスト化を図ることもできる。さらに、本実施形態の取付装置でも上記実施形態同様に、高い支持強度を保持しながら、様々なサイズの太陽電池パネルに対応して簡単に取付けることができ汎用性が高い等の作用効果を奏し得る。   Next, a solar cell panel mounting apparatus according to a fifth embodiment of the present invention will be described with reference to FIGS. The same members as those in the above embodiment are denoted by the same reference numerals, and detailed description thereof is omitted. As shown in FIGS. 14 and 15, the attachment device 10-5 according to this embodiment has substantially the same configuration as the configuration of the fourth embodiment, but the configuration of the reinforcing member 38 of the connecting portion 18 is different. In the present embodiment, the reinforcing member 38 includes an upper portion 661 that contacts the upper wall 281 of the rail 14 and two side portions 662 and 663 that are connected to both ends of the upper portion 661 and contact both side walls 282 and 283 of the rail 14. And a U-shaped member 66 having a lower side opened. The U-shaped member 66 is gradually formed thicker from the lower end side of the side portions 662 and 668 toward the connection corner 664 with the upper portion 661, similarly to the deformed U-shaped member 62 of the third embodiment. In general, it is relatively thick. As a result, like the third embodiment, the U-shaped member 66 prevents the side portions 662 and 663 from deforming so as to open outward with respect to the upper portion 661, thereby increasing the strength of the reinforcing member 38 itself. The rail 14 can be suitably prevented from being deformed. Since the U-shaped member 66 has high strength, it can be formed of, for example, polyvinyl chloride or hard plastic, and the weight and cost of the apparatus can be reduced. Furthermore, in the mounting device of this embodiment, as in the above-described embodiment, while maintaining high support strength, it can be easily mounted in correspondence with various sizes of solar cell panels, and has the effects such as high versatility. obtain.

次に、図18、図19を参照しつつ、本発明の第6の実施形態の太陽電池パネルの取付装置について説明する。上記実施形態と同一部材には同一符号を付し、その詳細な説明は省略する。図18、図19に示すように、本実施形態に係る取付装置10−6では、第4実施形態と略同じ構成であるが、連結部18の構成が異なっている。連結部18は、第4実施形態同様に、補強部材38と、締結装置40と、フレーム固定機構42と、を含む。補強部材38は、第4実施形態のコ字状板体58と略同じ構成のコ字状板部68を有し、締結装置40によってレール14の長手方向の任意の位置に締結されて固定される。コ字状板部68には、上板部681の一端縁から上方側に立ち上がったフレーム接続片70が一体的に形成されている。フレーム接続片70は、例えば、板面をレールの長手方向及びコ字状板部68の上面に対して直角に立てた略台形板体からなる。フレーム接続片70の中央位置には、横方向に貫通された孔74が形成されており、支持フレーム16の端部に設けられた孔と位置合わせされた状態でボルト72、ナット73等の締結部材で締結されて接続される。すなわち、フレーム固定機構42は、補強部材38に形成されたフレーム接続片70と、ボルト72、ナット73と、を含む。なお、フレーム接続片は板体からなる構成に限らず、支持フレーム16の構成に応じた構成で形成するとよい。フレーム接続片70により異なる構造の支持フレーム16であっても補強部材及びレールに確実に連結させることができる。また、フレーム接続片70に対して支持フレーム16の角度をある程度自由に設定できる。さらに、本実施形態の取付装置でも上記実施形態同様に、高い支持強度を保持しながら、様々なサイズの太陽電池パネルに対応して簡単に取付けることができ汎用性が高い等の作用効果を奏し得る。   Next, a solar cell panel mounting apparatus according to a sixth embodiment of the present invention will be described with reference to FIGS. The same members as those in the above embodiment are denoted by the same reference numerals, and detailed description thereof is omitted. As shown in FIGS. 18 and 19, the attachment device 10-6 according to this embodiment has substantially the same configuration as that of the fourth embodiment, but the configuration of the connecting portion 18 is different. As in the fourth embodiment, the connecting portion 18 includes a reinforcing member 38, a fastening device 40, and a frame fixing mechanism 42. The reinforcing member 38 has a U-shaped plate portion 68 having substantially the same configuration as the U-shaped plate body 58 of the fourth embodiment, and is fastened and fixed to an arbitrary position in the longitudinal direction of the rail 14 by the fastening device 40. The The U-shaped plate portion 68 is integrally formed with a frame connection piece 70 that rises upward from one end edge of the upper plate portion 681. The frame connecting piece 70 is formed of, for example, a substantially trapezoidal plate body whose plate surface is set perpendicular to the longitudinal direction of the rail and the upper surface of the U-shaped plate portion 68. A hole 74 penetrating in the horizontal direction is formed at the center position of the frame connecting piece 70, and the bolt 72, the nut 73, and the like are fastened in alignment with the hole provided at the end of the support frame 16. Fastened with a member and connected. That is, the frame fixing mechanism 42 includes a frame connection piece 70 formed on the reinforcing member 38, a bolt 72, and a nut 73. Note that the frame connection piece is not limited to a configuration made of a plate, and may be formed in a configuration corresponding to the configuration of the support frame 16. Even the support frame 16 having a different structure can be reliably coupled to the reinforcing member and the rail by the frame connecting piece 70. Further, the angle of the support frame 16 with respect to the frame connection piece 70 can be set freely to some extent. Furthermore, in the mounting device of this embodiment, as in the above-described embodiment, while maintaining high support strength, it can be easily mounted in correspondence with various sizes of solar cell panels, and has the effects such as high versatility. obtain.

以上説明した本発明の太陽電池パネルの取付装置は、上記した実施形態のみの構成に限定されるものではなく、特許請求の範囲に記載した本発明の本質を逸脱しない範囲において、任意の改変を行ってもよい。   The solar cell panel mounting device of the present invention described above is not limited to the configuration of the above-described embodiment alone, and can be arbitrarily modified without departing from the essence of the present invention described in the claims. You may go.

本発明の太陽電池パネルの取付装置は、例えば、種々の太陽電池パネルを所望の場所に設置するのに好適に利用できる。   The solar cell panel mounting apparatus of the present invention can be suitably used to install various solar cell panels at desired locations, for example.

10 太陽電池パネルの取付装置
12 取付土台
14 レール
16 支持フレーム
18 連結部
26 スリット
38 補強部材
40 締結装置
42 フレーム固定機構
44 変形コ字状板体
62 変形コ字状部材
64 コ字状板体
66 コ字状部材
68 コ字状板部
70 フレーム接続片
SP 太陽電池パネル
DESCRIPTION OF SYMBOLS 10 Solar cell panel mounting apparatus 12 Mounting base 14 Rail 16 Support frame 18 Connecting part 26 Slit 38 Reinforcing member 40 Fastening device 42 Frame fixing mechanism 44 Deformed U-shaped plate body 62 Deformed U-shaped plate body 64 U-shaped plate body 66 U-shaped member 68 U-shaped plate portion 70 Frame connecting piece SP Solar panel

Claims (6)

太陽電池パネルの取付土台に互いに平行に支持された複数のレールと、
複数のレールに架設され両端をレールに連結される太陽電池パネル用の支持フレームと、
レールと支持フレームを連結する連結部と、を有し、
レールは、角筒状に形成され、上壁の一部を長手方向に沿って連続して開口してスリットが形成されており、
連結部は、レールの上壁と両側壁とに外側から同時に当着する補強部材と、
レールのスリットの長手方向の任意の位置と補強部材の締結用孔を位置合わせして補強部材とレールのスリットを貫通した状態で補強部材とレールの上壁とを挟み込んで締結させる締結装置と、
支持フレームを補強部材に固定させるフレーム固定機構と、を含むことを特徴とする太陽電池パネルの取付装置。
A plurality of rails supported parallel to each other on the mounting base of the solar panel;
A support frame for a solar cell panel constructed on a plurality of rails and connected to the rails at both ends;
A connecting portion for connecting the rail and the support frame,
The rail is formed in a rectangular tube shape, and a slit is formed by continuously opening a part of the upper wall along the longitudinal direction.
The connecting portion includes a reinforcing member that simultaneously contacts the upper wall and both side walls of the rail from the outside,
A fastening device that aligns an arbitrary position in the longitudinal direction of the slit of the rail with a fastening hole of the reinforcing member and sandwiches the reinforcing member and the upper wall of the rail in a state of passing through the slit of the reinforcing member and the rail; and
And a frame fixing mechanism for fixing the support frame to the reinforcing member.
補強部材は、レールの側壁と上壁とに同時に当着するように下方を開放したコ字状に曲折されたコ字状板体を含む請求項1記載の太陽電池パネルの取付装置。   The solar cell panel mounting device according to claim 1, wherein the reinforcing member includes a U-shaped plate body that is bent in a U-shape with the lower part opened so as to simultaneously contact the side wall and the upper wall of the rail. 補強部材は、レールの両側壁に当着する2つの側部とレールの上壁に当着する上部とを一体形成したコ字状部材であって、側部の下端側から上部との接続隅部に向けて次第に肉厚としたコ字状部材を含む請求項1記載の太陽電池パネルの取付装置。   The reinforcing member is a U-shaped member integrally formed with two side portions that are attached to both side walls of the rail and an upper portion that is attached to the upper wall of the rail, and is a connecting corner between the lower end side of the side portion and the upper portion. The solar cell panel mounting device according to claim 1, comprising a U-shaped member that is gradually thickened toward the portion. フレーム固定機構は、締結装置により兼用され、補強部材上に当着させた支持フレームを補強部材と同時に貫通した状態で挟み込んで締結させたことを特徴とする請求項1ないし3のいずれかに記載の太陽電池パネルの取付装置。   The frame fixing mechanism is also used by a fastening device, and the support frame attached on the reinforcing member is sandwiched and fastened simultaneously with the reinforcing member, and fastened. Solar panel mounting device. フレーム固定機構は、補強部材から上方側に立ち上がって形成され、支持フレームの端部と接続されるフレーム接続片を含む請求項1ないし3のいずれかに記載の太陽電池パネルの取付装置。   The solar cell panel mounting device according to any one of claims 1 to 3, wherein the frame fixing mechanism includes a frame connecting piece that is formed to rise upward from the reinforcing member and is connected to an end portion of the support frame. レールは、下壁に対して上壁を傾斜させて断面略台形状に形成されており、
補強部材は、レールの上壁と両側壁の接続形状に対応して、断面視で上辺が傾斜した略台形又は略平行四辺形の下辺を開放させた変形コ字枠形状に設けられた請求項1ないし5のいずれかに記載の太陽電池パネルの取付装置。
The rail is formed in a substantially trapezoidal cross section with the upper wall inclined with respect to the lower wall,
The reinforcing member is provided in a deformed U-shaped frame shape in which a lower side of a substantially trapezoid or a substantially parallelogram whose upper side is inclined in a cross-sectional view is opened corresponding to a connection shape of the upper wall and both side walls of the rail. The solar cell panel mounting apparatus according to any one of 1 to 5.
JP2010155327A 2010-07-08 2010-07-08 Solar panel mounting device Active JP5365937B2 (en)

Priority Applications (1)

Application Number Priority Date Filing Date Title
JP2010155327A JP5365937B2 (en) 2010-07-08 2010-07-08 Solar panel mounting device

Applications Claiming Priority (1)

Application Number Priority Date Filing Date Title
JP2010155327A JP5365937B2 (en) 2010-07-08 2010-07-08 Solar panel mounting device

Publications (2)

Publication Number Publication Date
JP2012019060A true JP2012019060A (en) 2012-01-26
JP5365937B2 JP5365937B2 (en) 2013-12-11

Family

ID=45604100

Family Applications (1)

Application Number Title Priority Date Filing Date
JP2010155327A Active JP5365937B2 (en) 2010-07-08 2010-07-08 Solar panel mounting device

Country Status (1)

Country Link
JP (1) JP5365937B2 (en)

Cited By (10)

* Cited by examiner, † Cited by third party
Publication number Priority date Publication date Assignee Title
KR101204696B1 (en) 2012-09-27 2012-11-26 주식회사 부력에너지 A fixing apparatus for solar light electric cell plate
JP2014088665A (en) * 2012-10-29 2014-05-15 Mitsubishi Chemical Engineering Corp Installation structure for solar cell module
JP2014122535A (en) * 2012-11-22 2014-07-03 Akiyamakousan Co Ltd Solar panel frame and construction method thereof
CN104124913A (en) * 2013-04-27 2014-10-29 沙嫣 New solar roof integration power generation system
JP2015021315A (en) * 2013-07-19 2015-02-02 ソーラーフロンティア株式会社 Slender member
KR20160034151A (en) * 2014-09-19 2016-03-29 김동열 Apparatus for fixing solar energy generation module
IT202200011411A1 (en) * 2022-05-30 2023-11-30 Basic Soc A Responsabilita Limitata Soc Benefit SUPPORT FOR PHOTOVOLTAIC PANEL
IT202200022905A1 (en) * 2022-11-07 2024-05-07 Contact Italia Srl Mounting system for photovoltaic panels
NL2034357A (en) * 2023-03-16 2024-05-08 Jan Kroeze Johannes Support structure for placing solar panels on a flat surface
BE1031394B1 (en) * 2023-03-16 2025-04-02 Johannes Kroeze Support structure for placing solar panels on a flat surface

Citations (3)

* Cited by examiner, † Cited by third party
Publication number Priority date Publication date Assignee Title
JPS60238558A (en) * 1985-04-19 1985-11-27 株式会社 平井技研 Fixing tool of roof cover
JPH07150718A (en) * 1993-11-30 1995-06-13 Sekisui House Ltd Support device for solar cell module on roof
JP2010045346A (en) * 2008-07-24 2010-02-25 Bp Corp North America Inc Adjustable interlocking solar module and method of installation

Patent Citations (3)

* Cited by examiner, † Cited by third party
Publication number Priority date Publication date Assignee Title
JPS60238558A (en) * 1985-04-19 1985-11-27 株式会社 平井技研 Fixing tool of roof cover
JPH07150718A (en) * 1993-11-30 1995-06-13 Sekisui House Ltd Support device for solar cell module on roof
JP2010045346A (en) * 2008-07-24 2010-02-25 Bp Corp North America Inc Adjustable interlocking solar module and method of installation

Cited By (12)

* Cited by examiner, † Cited by third party
Publication number Priority date Publication date Assignee Title
KR101204696B1 (en) 2012-09-27 2012-11-26 주식회사 부력에너지 A fixing apparatus for solar light electric cell plate
JP2014088665A (en) * 2012-10-29 2014-05-15 Mitsubishi Chemical Engineering Corp Installation structure for solar cell module
JP2014122535A (en) * 2012-11-22 2014-07-03 Akiyamakousan Co Ltd Solar panel frame and construction method thereof
CN104124913A (en) * 2013-04-27 2014-10-29 沙嫣 New solar roof integration power generation system
JP2015021315A (en) * 2013-07-19 2015-02-02 ソーラーフロンティア株式会社 Slender member
KR20160034151A (en) * 2014-09-19 2016-03-29 김동열 Apparatus for fixing solar energy generation module
KR101629458B1 (en) * 2014-09-19 2016-06-10 김동열 Apparatus for fixing solar energy generation module
IT202200011411A1 (en) * 2022-05-30 2023-11-30 Basic Soc A Responsabilita Limitata Soc Benefit SUPPORT FOR PHOTOVOLTAIC PANEL
WO2023233212A1 (en) * 2022-05-30 2023-12-07 Basic Societa' A Responsabilita' Limitata Societa' Benefit A support for photovoltaic panel
IT202200022905A1 (en) * 2022-11-07 2024-05-07 Contact Italia Srl Mounting system for photovoltaic panels
NL2034357A (en) * 2023-03-16 2024-05-08 Jan Kroeze Johannes Support structure for placing solar panels on a flat surface
BE1031394B1 (en) * 2023-03-16 2025-04-02 Johannes Kroeze Support structure for placing solar panels on a flat surface

Also Published As

Publication number Publication date
JP5365937B2 (en) 2013-12-11

Similar Documents

Publication Publication Date Title
JP5365937B2 (en) Solar panel mounting device
US8418984B2 (en) Slider clip and photovoltaic structure mounting system
JP6064425B2 (en) Installation panel for solar cell panel and installation method for solar cell panel
JP2012215067A (en) Solar panel trestle
JP2014148822A (en) Installation device of solar battery array to folded-plate roof
JP5622709B2 (en) Supporting frame structure for photovoltaic panel frame
JP6441041B2 (en) Solar panel mount
JP2015208175A (en) Cradle for photovoltaic power generation panel
JP2013096118A (en) Solar cell module mounting structure
US9267712B1 (en) Strap mount for solar panels
KR101215625B1 (en) Apparatus for supporting solar module
US20150377521A1 (en) Strap mount for solar panels
KR100957230B1 (en) Solar cell assembly
JP2014148821A (en) Solar battery array installation device
KR102112347B1 (en) Prefabricated Solar Structure
JP6029317B2 (en) Solar cell module
KR102804052B1 (en) Supporting structure for building rooftop constructed by modules
JP2014212176A (en) Installation device of solar battery array
JP2015158116A (en) Photovoltaic power generation panel frame
KR101569652B1 (en) Solar moudle supporting apparatus
US12395115B2 (en) Structure for installation of solar power generation panel on roof
JP2017005813A (en) Solar cell module installation frame
JP6816999B2 (en) Fixed structure of solar cell module and photovoltaic power generation system
JP6968559B2 (en) Stand for solar cell module and photovoltaic power generation device
KR20200132116A (en) Supporting structure of solar panel

Legal Events

Date Code Title Description
A621 Written request for application examination

Free format text: JAPANESE INTERMEDIATE CODE: A621

Effective date: 20120418

A977 Report on retrieval

Free format text: JAPANESE INTERMEDIATE CODE: A971007

Effective date: 20130423

TRDD Decision of grant or rejection written
A01 Written decision to grant a patent or to grant a registration (utility model)

Free format text: JAPANESE INTERMEDIATE CODE: A01

Effective date: 20130730

A61 First payment of annual fees (during grant procedure)

Free format text: JAPANESE INTERMEDIATE CODE: A61

Effective date: 20130829

R150 Certificate of patent or registration of utility model

Ref document number: 5365937

Country of ref document: JP

Free format text: JAPANESE INTERMEDIATE CODE: R150

Free format text: JAPANESE INTERMEDIATE CODE: R150

R250 Receipt of annual fees

Free format text: JAPANESE INTERMEDIATE CODE: R250

R250 Receipt of annual fees

Free format text: JAPANESE INTERMEDIATE CODE: R250

R250 Receipt of annual fees

Free format text: JAPANESE INTERMEDIATE CODE: R250

R250 Receipt of annual fees

Free format text: JAPANESE INTERMEDIATE CODE: R250

R250 Receipt of annual fees

Free format text: JAPANESE INTERMEDIATE CODE: R250

R250 Receipt of annual fees

Free format text: JAPANESE INTERMEDIATE CODE: R250

R250 Receipt of annual fees

Free format text: JAPANESE INTERMEDIATE CODE: R250

R250 Receipt of annual fees

Free format text: JAPANESE INTERMEDIATE CODE: R250

R250 Receipt of annual fees

Free format text: JAPANESE INTERMEDIATE CODE: R250

R250 Receipt of annual fees

Free format text: JAPANESE INTERMEDIATE CODE: R250