JP2011236727A - 付帯構造物及びユニット建物 - Google Patents

付帯構造物及びユニット建物 Download PDF

Info

Publication number
JP2011236727A
JP2011236727A JP2011085659A JP2011085659A JP2011236727A JP 2011236727 A JP2011236727 A JP 2011236727A JP 2011085659 A JP2011085659 A JP 2011085659A JP 2011085659 A JP2011085659 A JP 2011085659A JP 2011236727 A JP2011236727 A JP 2011236727A
Authority
JP
Japan
Prior art keywords
unit
building
incidental
column
building unit
Prior art date
Legal status (The legal status is an assumption and is not a legal conclusion. Google has not performed a legal analysis and makes no representation as to the accuracy of the status listed.)
Granted
Application number
JP2011085659A
Other languages
English (en)
Other versions
JP2011236727A5 (ja
JP5081995B2 (ja
Inventor
Yasuhiro Yoda
泰宏 余田
Current Assignee (The listed assignees may be inaccurate. Google has not performed a legal analysis and makes no representation or warranty as to the accuracy of the list.)
Sekisui Chemical Co Ltd
Original Assignee
Sekisui Chemical Co Ltd
Priority date (The priority date is an assumption and is not a legal conclusion. Google has not performed a legal analysis and makes no representation as to the accuracy of the date listed.)
Filing date
Publication date
Application filed by Sekisui Chemical Co Ltd filed Critical Sekisui Chemical Co Ltd
Priority to JP2011085659A priority Critical patent/JP5081995B2/ja
Priority to KR1020110093870A priority patent/KR101362655B1/ko
Publication of JP2011236727A publication Critical patent/JP2011236727A/ja
Publication of JP2011236727A5 publication Critical patent/JP2011236727A5/ja
Application granted granted Critical
Publication of JP5081995B2 publication Critical patent/JP5081995B2/ja
Active legal-status Critical Current
Anticipated expiration legal-status Critical

Links

Images

Landscapes

  • Joining Of Building Structures In Genera (AREA)

Abstract

【課題】ユニット建物を構成する建物ユニットに付帯して連結され、建物ユニットの内部空間を拡大し、建物ユニットに追従しやすい柔軟な付帯構造物を提供する。
【解決手段】ユニット建物を構成する直方体状の建物ユニット1の1つの立面に連結され、建物ユニットの内部空間を拡大させる小型の付帯ユニット10は、4本の柱材11と、柱材の下端部を水平方向に連結する4本の下梁12,13と、柱材の上端部を水平方向に連結する4本の上梁14,15とから直方体状に構成され、建物ユニットの1つの立面を構成する2本の柱材に連結固定され、隣接する2本の柱材と上梁及び下梁で構成される直方体の対向する2側面16は、上梁14が2本の柱材11に剛接合され、下梁12がボルトナット等の固定具12bにより2本の柱材11にジョイントプレート12aを介して連結固定される。
【選択図】図5

Description

本発明は、ユニット建物を構成する建物ユニットに連結される小型の付帯構造物に係り、特に、連結されることでユニット建物の内部空間を拡大させることができる付帯構造物と、これを用いたユニット建物に関する。
従来、この種のユニット建物において、基礎上に据付けられた下階ユニットの側面部に接合され、あるいは該下階ユニットの上部に搭載された上階ユニットの側面部に接合されるオーバーハングユニットがあり、このオーバーハングユニットは柱と床梁と天井梁を接合した骨組構造体からなるものである。そして、このオーバーハングユニットを基礎上に据付けられた下階ユニットの側面部に接合し、ユニット建物を構成している(例えば、特許文献1参照)。
特開平4−360933号公報
このように構成されたユニット建物で使用されるオーバーハングユニットは、前記のように柱と床梁と天井梁を接合した骨組構造体からなるものであり、構造材である柱と床梁と天井梁とを溶接等で接合しており、基準となる建物ユニットと同じ製造工程が必要であり、コストアップの要因となっているとともに、剛接合面の強度が高いため、連結される建物ユニットに追従し難いという問題点がある。
本発明は、このような問題に鑑みてなされたものであって、その目的とするところは、建物ユニットに付帯して連結され室内空間を拡大でき、構成が簡単でコストを低減できる付帯構造物を提供することにある。また、連結される建物ユニットに追従しやすく柔軟な構造の付帯構造物を提供することにある。さらに、分割して輸送することもでき、建築現場で組立てることで輸送コストを低減できる付帯構造物を提供できる。また、この付帯構造物を連結することで外観に変化を持たせて重厚な外観を可能としたユニット建物を提供することにある。
前記目的を達成すべく、本発明に係る付帯構造物は、ユニット建物を構成する直方体状の建物ユニットの1つの立面に連結され、該建物ユニットの内部空間を拡大させる小型の付帯構造物であって、4本の柱材と、該柱材の下端部を水平方向に連結する4本の下梁と、前記柱材の上端部を水平方向に連結する4本の上梁とから直方体状に構成され、前記建物ユニットの前記1つの立面を構成する部材に連結固定されるものであり、前記4本の下梁及び4本の上梁は、前記4本の柱材に固定具により連結されることを特徴としている。
前記のごとく構成された本発明の付帯構造物は、直方体状に構成された付帯構造物は、4本の下梁及び4本の上梁は、4本の柱材にボルトナット等の固定具により連結されるため柔軟に構成され、連結される建物ユニットに追従しやすく、地震等の変位が加わったときでも柔軟に吸収することができる。すなわち、建物ユニットに連結されたとき建物ユニットと一体化し、当該部分に作用する風圧力や地震力(外力)を本体の建物ユニットに伝達し、付帯構造物自体が外力に対抗しない構造となっている。このため、建物ユニットと付帯構造物との接合部等に無理な力がかかることを抑制することができる。
本発明に係る付帯構造物の他の態様としては、ユニット建物を構成する直方体状の建物ユニットの1つの立面に連結され、該建物ユニットの内部空間を拡大させる小型の付帯構造物であって、4本の柱材と、該柱材の下端部を水平方向に連結する4本の下梁と、前記柱材の上端部を水平方向に連結する4本の上梁とから直方体状に構成され、前記建物ユニットの前記1つの立面を構成する部材に連結固定されるものであり、隣接する2本の柱材と上梁及び下梁で構成される直方体の対向する2側面は、上梁又は下梁の一方が2本の柱材に剛接合され、その他方が固定具により2本の柱材に連結固定されることを特徴している。
前記のごとく構成された本発明の付帯構造物は、隣接する2本の柱材と上梁及び下梁で構成される直方体の対向する2側面は、上梁又は下梁の一方が2本の柱材に剛接合され、その他方が固定具を介して連結固定されるため、四隅が剛接合である側面と比して強度が低く柔軟な構造となり、建物ユニットに連結されたとき、この建物ユニットに追従しやすく、地震等の変位が加わったときでも柔軟に吸収することができる。
好ましい態様としては、前記建物ユニットの前記付帯構造物を取り付ける取付面より突出する方向の上梁と下梁及び2本の柱材で袖フレームを2面形成し、前記袖フレームは鉛直荷重のみを負担する。この構成によれば、付帯構造物に水平方向の外力が作用すると、4本の上梁あるいは下梁で構成される水平構面を介して水平力が建物ユニット本体に伝達され、鉛直荷重のみを袖フレームで負担するため、構成を簡略化し、軽量で低コストとすることができる。
また、本発明に係る付帯構造物の好ましい具体的な態様としては、前記固定具による連結は、前記柱材にジョイント部材を介してボルトナットで着脱可能に連結されることを特徴としている。この構成によれば、ボルトナット接合される上梁又は下梁は2本の柱材にジョイント部材を介して連結固定されるためボルトナット接合が容易に行え、付帯構造物の製作が容易となる。
さらに、本発明に係る付帯構造物の好ましい具体的な他の態様としては、前記4本の柱材は断面形状が略コ字状の溝形鋼又はC形鋼からなり、前記ジョイント部材は、前記溝形鋼又はC形鋼の開口の一部を塞ぐように固着され、該ジョイント部材の裏側には、ボルトナット等の固定具の締結スペースが形成されていることを特徴としている。この構成によれば、付帯構造物を軽量に構成でき、溝形鋼又はC形鋼の開口からジョイント部材裏側の締結スペースに手を入れてボルトナット等の固定具で上梁又は下梁を容易に連結することができる。
前記柱材は、溝形鋼又はC形鋼の上端及び下端の開口を閉じる水平状の補強板が固着されており、該補強板と共に前記ジョイント部材を支持する水平状の補強板が固着されていることが好ましい。この構成によれば、柱材の上下端部の開口を水平補強板で塞ぎ、この補強板と共にジョイント部材の高さに相当する距離を離して固着された補強板でジョイント部材を固着するため、柱材の上下端部の強度を向上させることができる。
前記柱材は、溝形鋼又はC形鋼のリブを補強する三角形状の補強プレートが固着されていることが好ましい。この構成によれば、溝形鋼又はC形鋼のリブを三角形状の補強プレートで補強することができる。
前記上梁及び下梁の少なくとも一方は、前記柱材との連結部にジョイント部材が固着され、前記上梁及び下梁の少なくとも一方は該ジョイント部材を介して前記柱材に前記固定具により連結されることが好ましい。この構成によれば、上梁や下梁の端部と柱材の上下端部とのボルトナット等の固定具による連結が効率良く行え、連結状態が安定する。前記ジョイント部材は平板状であり、上下の幅広部と中央の幅狭部とが傾斜辺で連結され、幅広部に前記下梁及び上梁を連結するためのボルトが挿入される貫通孔が形成されていることが好ましく、前記ジョイント部材は前記上梁及び下梁の長手方向の開口を閉じる平坦部と、該平坦部の上下の端部が屈曲されて梁材の上下フランジに固着される上下屈曲部と、前記平坦部の中央部が屈曲されて梁材のウェブに固着される中央屈曲部とを有し、前記平坦部に前記下梁及び上梁を連結するためのボルトが挿入される貫通孔が形成されていると好適である。
また、前記建物ユニットの長辺方向に沿う長さより前記付帯構造物の前記長辺方向に沿う長さが短尺であることが好ましい。この構成によれば、建物ユニットの長辺方向の長さに沿って、この長辺方向の長さより短い付帯構造物を連結し、建物ユニットの強度を補強することなく、長辺方向の室内空間を効率良く拡大させることができる。
前記付帯構造物は、前記4本の柱材の少なくとも上部を連結する水平ブレース材を備えることが好ましい。この構成によれば、付帯構造物の天井面を構成する面の強度を向上することができる。前記付帯構造物は、非耐力構造体であることを特徴としている。非耐力構造体である付帯構造物を、耐力構造体である建物ユニットに連結することで、付帯構造物に加わる地震や風力等の水平力は建物ユニットに加わり、耐力構造体である建物ユニットで負担させることができ、簡単な構成で、かつ低コストで実現する付帯構造物を連結することで室内空間を容易に拡大することができる。
また、本発明に係るユニット建物は、前記したいずれかに記載の付帯構造物を前記建物ユニットに連結固定したことを特徴としている。前記建物ユニットは、柱材及び梁材が全て剛接合されている耐力構造体であることが好ましい。このように構成されたユニット建物は、連結固定された付帯構造物が柔軟な構造であり、耐力構造体である建物ユニットと共に地震や強風時等の変位を柔軟な構造で吸収することができる。さらに、前記付帯構造物は、前記建物ユニットの外面に連結固定されることを特徴とする。複数の建物ユニットを連結したユニット建物で、建物ユニット同士の接合面でなく外面、すなわち、外周側に付帯構造物を連結することにより、ユニット建物の外観に起伏を就けることができ、単純な意匠に変化を与えることができる。
本発明に係るユニット建物は、前記建物ユニットの1つの立面に連結される前記付帯構造物は、該1つの立面より水平方向に短く形成されており、前記建物ユニットは前記付帯構造物の柱材と対向する梁材が補強部材により補強されていることを特徴としている。このように構成されたユニット建物では、建物ユニットより付帯構造物の水平方向の長さが短く、建物ユニットの柱と付帯構造物の柱が一致していない場合でも、建物ユニットの梁材が補強部材で補強されているため、連結状態が安定する。
本発明の付帯構造物は、簡単な構成とすることができ、ユニット建物を構成する建物ユニットに連結固定されることで、該建物ユニットの内部空間を、僅かなコストアップで拡大することができる。また、本発明の付帯構造物を、複数の建物ユニットを並置又は重ねて構成したユニット建物に連結固定することで、ユニット建物の外観に変化を持たせることができ、凹凸のある重厚な外観のユニット建物を形成することができる。さらに、付帯構造物は、それ自体の強度を抑えて構成され、連結される建物ユニットに追従しやすく柔軟な構造となる。
本発明に係る付帯構造物である付帯ユニットが連結固定される建物ユニットの斜視図。 図1の建物ユニットの柱材と梁材との接合部を示す要部斜視図。 図1,2の建物ユニットの柱材と補強プレートとの接合部を示す要部斜視図。 図1,2の建物ユニットの補強プレートと梁材との接合部を示し、(a)は要部平面図、(b)は要部正面図、(c)は(b)のd0−d0線に沿う断面図。 図1の建物ユニットに連結固定される付帯ユニットの一実施形態の斜視図。 図5の付帯ユニットの分解状態を示す斜視図。 図1,5に示される付帯ユニットを建物ユニットに連結固定した状態を示し、(a)は2階の建物ユニットに付帯ユニットを連結した要部側面図、(b)は、1階の建物ユニットに付帯ユニットを連結した要部側面図。 図5のA部を分解した状態の要部斜視図。 (a)は図8の下梁の連結部を詳細に示す要部分解斜視図、(b)、(c)は(a)のジョイントプレートの変形例を示す斜視図。 図8のd1−d1線に沿う平面図。 図8のd2−d2線矢視図。 図8のd3−d3線断面図。 図8のd4−d4線断面図。 本発明に係る付帯ユニットをユニット建物に連結した状態を示し、(a)は1つの建物ユニットの短辺方向と長辺方向に付帯ユニットを連結した要部斜視図、(b)は2つの建物ユニットを2層にして4個の建物ユニットを用いたユニット建物の1階の短辺方向に1つの付帯ユニットを連結した要部斜視図、(c)はユニット建物の2階の短辺方向に1つの付帯ユニットを連結した要部斜視図、(d)はユニット建物の1階と2階の短辺方向に2つの付帯ユニットを上下に連結した要部斜視図、(e)はユニット建物の1階の長辺方向に1つの付帯ユニットを連結した要部斜視図、(f)はユニット建物の2階の長辺方向に1つの付帯ユニットを連結した要部斜視図、(g)は(f)の付帯ユニットより短い付帯ユニットを連結した要部斜視図。 (a)、(b)は図14(b)に相当するユニット建物の垂直荷重及び水平荷重の伝達を示す説明図、(c)、(d)は図14(d)に相当するユニット建物の垂直荷重及び水平荷重の伝達を示す説明図、(e)、(f)は図14(c)に相当するユニット建物の垂直荷重及び水平荷重の伝達を示す説明図。 ユニット建物に付帯構造物を連結し、ユニット建物に外力が作用したとき床もしくは天井の水平構面で外力を負担する説明図。 本発明に係る付帯ユニットをユニット建物に連結した状態を示し、(a)は2つの建物ユニットを2層にしたユニット建物の長辺方向に付帯ユニットを1,2階に重ねて連結した要部斜視図、(b)はユニット建物の1階の長辺方向に1つの付帯ユニットを連結し、その上にバルコニーを設置した要部斜視図、(c)は2つの建物ユニットを2層にするとともに1階に建物ユニットを並べたユニット建物の1階の短辺方向に1つの付帯ユニットを連結した要部斜視図、(d)は2つの建物ユニットを2層にしたユニット建物の1階の建物ユニットの長辺方向に短辺用の付帯ユニットを連結した要部斜視図、(e)は2つの建物ユニットを2層にしたユニット建物の1階の2つの建物ユニットの短辺方向に連続するように付帯ユニットを連結した要部斜視図。 本発明に係る他の付帯ユニットをユニット建物に連結した状態を示し、(a)1つの建物ユニットの短辺方向に付帯ユニットを連結した要部斜視図、(b)は(a)のd5部分のd6−d6方向から見た矢視図、(c)は(b)のd7−d7方向から見た矢視図。 本発明に係るさらに他の付帯ユニットをユニット建物に連結した状態を示し、(a)は1階の建物ユニットの長辺方向に沿って短い付帯ユニットを連結した要部斜視図、(b)は(a)のd8−d8方向から見た矢視図、(c)は(b)のd9−d9方向から見た矢視図。 柱材と梁材との連結構造の変形例を示す要部斜視図。 付帯構造物の他の実施形態を示す要部斜視図。 付帯構造物のさらに他の実施形態の要部構成を示す分解斜視図。 付帯構造物のさらに他の実施形態の要部構成を示す分解斜視図。 付帯構造物と建物ユニットとの連結構造の変形例を示す要部斜視図。 図23の一部を断面とした平面図。 図23,24で使用するナットの変形例を示す正面図と側面図。 付帯構造物と建物ユニットとの連結構造の他の変形例を示す要部断面図。 付帯構造物のさらに他の実施形態を示し、(a)は2つの建物ユニットを積重ねたユニット建物の2階部分に付帯した状態を示す斜視図、(b)は建物ユニットと付帯構造物の連結部を示す要部分解斜視図。 付帯構造物のさらに他の実施形態を、ユニット建物に連結した状態を示す斜視図。
図1,2において、建物ユニット1は、鋼製の構造材を溶接で直方体状に接合して形成したボックスラーメン構造のものであり、角柱からなる4本の柱材2,2…と、この柱材の下端部を水平方向に連結する長辺方向の下梁(床梁)3,3と、短辺方向の下梁(床梁)4,4と、4本の柱材2,2…の上端部を水平方向に連結する長辺方向の上梁(天井梁)5,5と、短辺方向の上梁(天井梁)6,6とから直方体状に形成される。そして、建物ユニット1には、床根太7,7…が下梁3,3間に所定間隔で架設され、天井根太8,8…が上梁5,5間に所定間隔で架設されている。各柱材と各梁材とはコーナー部に補強プレート9,9…を介在させて溶接され、建物ユニット1の剛性を高めている。建物ユニット1は構造計算された耐力構造体となっている。そして、下梁3,3,4,4と、床根太7,7…によりX−Y面に沿う水平な床構面が形成されている。
具体的には、建物ユニット1は、図2〜4に示されるように、柱材2と梁材(下梁3,4、上梁5,6)との接合部には補強プレート9が介在され、柱材2と梁材との接合部を補強することで剛性を高めている。柱材2とコ字状に屈曲された補強プレート9との接合部は図3に示されるように、上板部9aはウェルド部w1で溶接され、縦板部9bはウェルド部w2で溶接され、下板部9cはウェルド部w3で溶接され、強固に固着されている。他の補強プレート9,9…も同様に強固に溶接されている。また、梁材3と補強プレート9との接合部は、図4に示されるように、梁材の上板部と下板部とはウェルド部w4〜w6で強固に溶接され、梁材の縦板部とはウェルド部w7、w8で強固に溶接されている。なお、2点鎖線で示すように、スポット溶接によるスポット部s1〜s3で強固に溶接するように構成してもよい。このように、建物ユニット1は柱材と梁材とが補強プレートを介在させて強固に接合され、剛性の高い構造となっている。
建物ユニット1の直方体において、長辺方向をX方向、短辺方向をY方向、高さ方向をZ方向として説明する。建物ユニット1は、例えば長辺方向(X方向)の長さが2〜5.6メートル程度の長尺であり、短辺方向(Y方向)の長さが1.3もしくは2.5メートル程度であり、高さ方向(Z方向)の長さが2.5〜3メートル程度の直方体状に形成されている。すなわち、建物ユニット1は長辺方向に沿う2つの立面(X−Z面)と、短辺方向に沿う2つの立面(Y−Z面)と、上面、及び底面(X−Y面)の6つの面から構成されている。
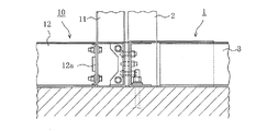
建物ユニット1に連結固定される付帯ユニット10は、小型の直方体をしており、6面を有する直方体状の建物ユニット1の1つの立面である短辺側の側面(Y−Z面)に連結されるように、短辺側の側面と同じ長方形の側面を有しており、建物ユニット1の長辺方向に沿う長さが短く設定されている。例えば、建物ユニット1の長辺方向の長さが2〜5.6メートル程度の長尺であるのに対して、付帯ユニット10のX方向の長さは0.45〜2メートル程度の短尺に設定されている。
付帯ユニット10は、図5〜7に示されるように薄型の直方体状をしており、互いに平行な4本の断面形状が略コ字状の溝形鋼又はC形鋼からなる柱材11,11…と、これらの柱材の下端部をX方向に連結する2本の下梁12,12と、Y方向に連結する2本の下梁13,13、及び柱材の上端部をX方向に連結する2本の上梁14,14と、Y方向に連結する上梁15,15で構成されている。そして、付帯ユニット10は、本実施の形態では、建物ユニット1のY−Z方向の側面の長方形と、付帯ユニット10のY−Z方向の側面の長方形とが同じ形状となっている。この構成により、建物ユニット1に付帯ユニット10が連結固定されたとき、外形的に建物ユニット1が長手方向(X方向)に延長され、突出部や段差部が生じない形状となる。
付帯ユニット10は、建物ユニット1の付帯ユニット10を取り付ける取付面より突出する方向、すなわち、X方向に伸びる上梁14,14と下梁12,12及び2本の柱材11,11で袖フレーム16,16を2面形成している。2面の袖フレーム16,16は対向している平行面で構成され、後述する側面16,16と同義である。また、4本の下梁12,12,13,13で水平構面として床構面が形成され、4本の上梁14,14,15,15で水平構面として天井構面が形成される。床構面は詳細には図示していないが、図6に示されるように下梁13,13と、これらを連結する床複数の根太で構成される。また、天井構面は図6に示されるように上梁15,15と、これらを連結する複数の天井根太で構成される。なお、天井構面は図5に示されるように4本の上梁14,14,15,15と水平ブレース材17,17で構成してもよい。
付帯ユニット10を構成する4本の柱材11は、断面形状が略コ字状の溝形鋼又はC形の鋼材から形成されており、建物ユニット1の断面(ロ)型の角柱の鋼材から形成されている柱材と異なる構成であり、付帯ユニット10のコスト低減が可能となっている。この付帯ユニット10は基本的には隣接する建物ユニット1の1つの立面に連結して固定されるため、基本となる建物ユニット1の強度に依存する非耐力構造体の構成であり、付帯ユニット10自体の強度は緩くても問題はない構成となっている。すなわち、付帯ユニット10は構造計算された強度は要求されず、空間を保持するための強度のみが要求される構成となっているため、コストダウンを達成することができる構成となっている。
付帯ユニット10を構成する部材のうち、X方向に沿う上梁14,14は柱材11,11の上端に溶接等で剛接合され、下梁12,12は柱材11,11の下端に固定具としてボルトナット等で連結され側面16,16を構成している。すなわち、下梁12の両端部には、図8〜10に示されるようにジョイントプレート12aが固着されている。このジョイントプレート12aは、上梁及び下梁の長手方向の開口を閉じる平坦部と、該平坦部の上下の端部が屈曲されて梁材の上下フランジに固着される上下屈曲部と、平坦部の中央部が屈曲されて梁材のウェブに固着される中央屈曲部とを有し、平坦部に下梁及び上梁を連結するためのボルトが挿入される貫通孔が形成されている。そして、ジョイントプレートの貫通孔と柱材11の下端部の貫通孔にボルトを挿通しナットで固定し、柱材11と下梁12をボルトナット12bで連結している。なお、2本の柱材11,11の下端と下梁12,12とを剛接合し、2本の柱材の上端と上梁14,14とをボルト接合するように構成してもよい。
このため、図6に示すように、X−Z方向の付帯ユニット10の側面16,16は上梁14の両端に柱材11,11の上端部が剛接合された門型の接合体の下端を下梁12で連結した接合面となっている。また、付帯ユニット10を構成する部材のうち、Y方向に沿う下梁13,13、及び上梁15,15は柱材11,11…にボルトナット等の固定具で連結されたピン接合面となっている。これにより、下梁12,12は柱材11,11と着脱可能であり、上梁14,14が柱材11,11と剛接合されている構成と比較して柔軟な構造となっている。本実施形態では、付帯ユニット10の上部には、4本の柱材11,11…を連結する水平ブレース材17,17(図5参照)がクロス状態に固定されているが、この水平ブレース材は必ずしも必要でない。
付帯ユニット10は、例えば図7(a)に示されるように、1階の建物ユニット1Aの上部に2階の建物ユニット1が載置固定され、2階の建物ユニット1に付帯してオーバーハング状態に連結固定される。この場合、付帯ユニット10の下方に補助柱hを設けるように構成してもよい。図7(b)では、基礎Kの上部に建物ユニット1が設置固定され、この建物ユニット1に付帯して付帯ユニット10が連結固定される。いずれの場合も、付帯ユニット10は建物ユニット1を構成する柱材や梁材に、後述するようにボルトナット等で連結固定される。
ここで、付帯ユニット10の詳細を図8〜13に基づいて説明する。付帯ユニット10を構成するY方向の下梁13,13、及び上梁15,15は、前記のように柱材11,11…にボルト接合されている。すなわち、柱材11を構成する断面形状が略コ字状の溝形鋼又はC形鋼の下端には、C形鋼の開口を閉じるように2枚の補強板20,20が溶接等により水平に固着されており、2枚の補強板の間隔は下梁13の高さと一致している。また、断面コ字状のC形鋼から構成される柱材11の上端には、同様にC形鋼の開口を閉じるように2枚の補強板21,21が溶接等により水平に溶着されており、2枚の補強板の間隔は上梁15の高さと一致している。
そして、前記2枚の補強板20,20,21,21と、C形鋼の外側の端面とを連結するようにジョイントプレート22,22…が溶接等により垂直に固着されている。このジョイントプレートは溝形鋼又はC形鋼の開口の一部を塞ぐように固着され、上下の幅広部と中央の幅狭部とが傾斜辺で連結され、幅広部に下梁13及び上梁15を連結するためのボルト23が挿入される貫通孔24,24…が形成され、幅狭部によりジョイントプレート裏側に形成された空間を通して、柱材11のC形鋼の内部に固定具としてボルトやナットを挿入できる構成となっている。ジョイントプレート22は、図9(b)、(c)に示されるように、補強板20,20に溶接される部分が三角形で、上下の三角形をつなぐ細板部で構成したジョイントプレート22Aや、2つの三角形に分割されたジョイントプレート22Bの形状のものでもよい。
建物ユニット1に対向する2本の柱材11,11の上下端部に固着された補強板20,21とジョイントプレート22とにより、Y方向に沿う下梁13,13と上梁15,15の連結部が構成される。そして、下梁13,13と上梁15,15には、ジョイントプレート22と対接するエンドプレート13a、15aが固着され、ジョイントプレートの貫通孔24,24…に対応してボルト23を挿入できる貫通孔13b,15bが形成されている。このように、上梁15,15と下梁13,13はジョイントプレート22を介してボルトナット23で接合される構成となっている。
また、柱材11の上部の補強板21,21の中間には、C形鋼の内側のリブを補強するための三角形状の補強プレート25,25…が溶接等により固着されている。この補強プレートにより補強された柱材11のリブには連結プレート26,26…が溶接等により固着され、この連結プレートと対角線上に位置する柱材11の同等の位置に固着された連結プレートとの間に水平ブレース材17,17が連結されている。この水平ブレース材17,17は中間位置にターンバックルを介在させて、長さ及び張力を調整できるように構成してもよい。
建物ユニット1の柱材2,2には、付帯ユニット10を建物ユニット1に連結するための構成として、柱材2,2の付帯ユニット10と対向する上下端部のそれぞれに2つの取付孔30,30が形成され、この取付孔の内部には付帯ユニット10を建物ユニット1に連結固定するボルト31,31が螺合されるナット32,32が溶接等により固着されている。また、2つのナットが溶接された取付孔の中間にはガイドピン33がナット等を介して固定されている。このガイドピン33は、建物ユニット1に付帯ユニット10を連結固定する際に、ボルト締めを容易にするべく位置決めするためのものであり、ガイドピン33の先端は先細に形成されている。
付帯ユニット10には、建物ユニット1の取付孔30と、ガイドピン33に対応して、柱材11,11の建物ユニット1と対向する面に3つの貫通孔27が形成されている。上下の2つの貫通孔はボルト31,31が挿入され、中央の貫通孔にはガイドピン33が挿入される。そして、建物ユニット1の柱材2と付帯ユニット10の柱材11との間には、スペーサ35が介在される構成となっている。スペーサ35には、ボルト31,31及びガイドピン33が挿入できる貫通孔が形成されている。
このように形成された付帯ユニット10は、柱材、梁材が全て剛接合されている建物ユニット1に対して、2つの面(X−Z面)の柱材11,11の上端と上梁14とが剛接合され、柱材11,11の下端と下梁12とがボルトナット12bでピン接合された2つの側面16,16が形成され、側面16,16同士を4本の梁材13,13,15,15でボルトナット23により連結して接合する構造であるため、付帯ユニット10を構成する柱材や梁材のコストも低減することができる。また、付帯ユニット10は、柱材11,11と下梁12と上梁14で構成される2つの側面16,16と4本の梁材13,13,15,15に分けて輸送し、現地で梁材を固定して組立てる構成とすることもできる。さらに、必要に応じて現地で組立てず、工場で直方体状に構成して輸送することもできる。なお、図示の実施形態では、付帯ユニット10を構成する直方体の対向する2つの側面を、一部が剛接合されたX−Z方向の2つの面としたが、Y−Z方向の2つの面を一部が剛接合された側面としてもよいのは勿論である。
建物ユニット1を構成する柱材2,2…の上下端面には、貫通孔が形成され、この貫通孔の内面にはナットが溶接等により固着されている。建物ユニット1の4本の柱材の上部の貫通孔は、建物ユニット1を輸送する際や、基礎上に設置する際に吊上げるためのアイボルト(図示せず)が装着される。また、付帯ユニット10を構成する柱材11,11…の上下端面に固着された補強板20,21にも同様に貫通孔21aが形成され、この貫通孔の内面にはナット28(図10参照)が溶接等により固着されている。柱材11の上端には、このナット28を用いて図8に示されるように、付帯ユニット10上に構築されるバルコニーの柱材Bを連結固定することができる。
前記の如く構成された本実施形態の付帯ユニット10の組立について以下に説明する。前記のように、付帯ユニット10は上部が剛接合され、下部がボルトナット12bで接合された2つの側面16,16と、4本の梁材(下梁13,13及び上梁15,15)とに分けて輸送され、現地で組立てられる。この組立は、側面16,16を構成する柱材11,11の上下端部に固定されたジョイントプレート22,22…の貫通孔24,24…と、下梁13と上梁15のエンドプレート13a,15aの貫通孔13b,15bを合わせてボルト23を挿入し、ナットをねじ込んで固定する。ボルトやナットはジョイントプレート22の幅狭部により柱材11の内部に挿入することができる。これにより、側面16,16は4本の梁材13,13,15,15により結合され、直方体状の付帯ユニット10が完成する。
このように構成された付帯ユニット10は小型であり、2つの面材(上梁14又は下梁12の一方が剛接合され、その他方がピン接合された側面16,16)と4本の梁材(下梁13,13及び上梁15,15)とに分割されるため、輸送が容易に行える。また、付帯ユニット10は強度が要求されないため、柱材11や梁材12,13,14,15は小型軽量のものを使用でき、付帯ユニット10のコストダウンを達成できる。さらに、側面16,16を溶接とボルトナットによるピン接合により作製し、側面16,16を4本の梁材で連結して直方体状の付帯ユニットとすることができ、建物ユニットのような大規模な製造設備が不要となり、容易に作製することができる。
つぎに、本実施形態の付帯ユニット10を建物ユニット1に連結固定する動作について以下に説明する。前記のように組立てられた付帯ユニット10の取付面を、建物ユニット1の被取付面に対向させ、柱材2と柱材11との間にスペーサ35を挟み、両ユニットを密着させる。建物ユニット1の柱材2,2の上下端部から突出するガイドピン33,33を貫通孔27に挿入することにより建物ユニット1の柱材11,11の取付孔30,30と、付帯ユニット10の貫通孔27,27が連通するように密着する。そして、柱材11の貫通孔27側からボルト31を挿入し、柱材2の内部に固定されたナット32に螺合させ締め付ける。ジョイントプレート22横の空間を通して、ボルト31を容易に挿入することができる。
このようにして、建物ユニット1に付帯ユニット10を連結固定すると、建物ユニット1の内部空間は付帯ユニット10の分だけ拡大され、内部空間を有効利用することができる。例えば、図14(a)に示されるように、建物ユニット1の長辺方向(X方向)に付帯ユニット10を連結して延長する場合、あるいは短辺方向(Y方向)に付帯ユニット10Aを連結して延長する場合がある。付帯ユニット10Aも基本的には付帯ユニット10と同様の構成であり、2つの側面16a,16a(Y−Z面)を連結する4本の梁材の長さが長いことが異なるのみである。
図14(b)では、建物ユニット1を2個、2層に積み上げ、4個組み合わせてユニット建物Hを構成し、このユニット建物Hの1階左のユニットに付帯ユニット10を連結固定している。この例では、ユニット建物Hの直方体の形状から付帯ユニット部分が突出して外観に変化を与えており、この付帯部分を例えば玄関部分として利用することができる。また、玄関部分に限られず、例えば居室の内部空間を拡大させることや、収納空間として利用することもできる。この例で示す付帯ユニット10は、建物ユニット1を載置する基礎部分(図示せず)が付帯ユニット部分にも形成されることが望ましく、付帯ユニットは建物ユニット1に追従して柔軟に荷重を吸収できる。
図14(c)では、同様に建物ユニット1を4個組み合わせてユニット建物Hを構成し、このユニット建物Hの2階右のユニットに付帯ユニット10を連結固定している。この例でも、ユニット建物Hの外観に変化を与えることができ、2階の建物ユニット1からオーバーハング状態に付帯ユニット10を突出させ、内部空間を拡大して有効利用することができる。この例で示す付帯ユニット10は、2階部分に装着されるものであり、付帯ユニットは図7(a)に示されるような補助柱hを有するものが好ましい。
図14(d)では、建物ユニット1を4個組み合わせてユニット建物Hを構成し、このユニット建物Hの1,2階左のユニットに2個の付帯ユニット10を上下に重ねて連結固定している。この例でも、ユニット建物Hの外観に変化を与えることができ、1,2階の建物ユニット1,1の内部空間を拡大して有効利用することができ、特に、上下階を貫通する階段室として利用することができる。この例で示す付帯ユニット10は、上下に連続する付帯ユニット10,10が建物ユニット1,1に追従して柔軟な構成とすることができる。
図14(e)では、建物ユニット1を4個組み合わせてユニット建物Hを構成し、このユニット建物Hを構成する建物ユニット1の長辺方向(X方向)に沿って連結される長辺方向用の付帯ユニット10Aを1階建物ユニット1に連結固定している。この例でも、ユニット建物Hの外観に変化を与えることができ、1階の建物ユニット1の内部空間を拡大して有効利用することができる。この例で示す付帯ユニット10Aは、1階部分に装着されるものであり、付帯ユニットは基礎上に設置されることが好ましく、建物ユニットに柔軟に追従することができる。
図14(f)では、建物ユニット1を4個組み合わせてユニット建物Hを構成し、このユニット建物Hを構成する建物ユニット1の長辺方向(X方向)に沿って連結される長辺方向用の付帯ユニット10Aを2階建物ユニット1に連結固定している。この例でも、ユニット建物Hの外観に変化を与えることができ、2階の建物ユニット1の内部空間を拡大して有効利用することができる。この例で示す付帯ユニット10Aは、2階部分に装着されるものであり、付帯ユニットは図7(a)に示されるような補助柱hを必要に応じて設けてもよい。また、図14(g)では、図14(f)の付帯ユニット10AよりX方向に短い付帯ユニット10A’を2階の建物ユニット1に連結固定している。
このように、図14で示された各ユニット建物Hでは、建物ユニット1を複数個積重ね、あるいは並置して構成され、外周側の建物ユニットの1つの立面に付帯ユニット10が連結固定されている。そして、ユニット建物Hでは、耐力構造体である建物ユニット1は、非耐力構造体である付帯ユニットが連結されても充分な構造強度を備えており、地震力や風力等が作用しても変形を抑えて快適な居住性を備えた構成となっている。
図15(a)、(b)は、前記した図14(b)に示す付帯ユニットを建物ユニットに連結したものと同様に、2階建てのユニット建物の1階部分に付帯ユニット10を連結固定したものである。この例では、付帯ユニット10の天井面の鉛直荷重は(a)に示すように、軒先梁と軒元梁を介して袖フレーム(前記の実施形態では側面16に相当)の柱材に伝達され、床面の鉛直荷重も軒先梁と軒元梁を介して袖フレームの柱材に伝達され、最終的に基礎Kに伝達される。また、付帯ユニット10に加わる地震力、風圧力に起因する1階上の水平荷重は、1階上の天井フレーム(天井構面)から建物ユニット1に伝達され、最終的に基礎Kに伝達される。このように、付帯ユニット10に加わる鉛直荷重及び水平荷重は、建物ユニット1及び基礎Kに伝達されるため、付帯ユニット10は柔軟な構造で建物ユニット1に追従することが好ましく、本実施形態の付帯ユニット10は側面16,16が柔軟な構造であり建物ユニット1に追従しやすい構成となっている。すなわち、袖フレーム16,16は鉛直荷重を負担し、水平荷重は建物ユニット1に伝達する構成となっている。
図15(c)、(d)は、前記した図14(d)に示す1,2階に連続する付帯ユニット10,10を建物ユニット1に連結したものと同様に、2階建てのユニット建物の1,2階部分に付帯ユニット10,10を連結固定したものである。この例では、1階、2階の付帯ユニット10の天井面の鉛直荷重は(c)に示すように、軒先梁と軒元梁を介して袖フレーム(前記の実施形態では側面16に相当)の柱材に伝達され、床面の鉛直荷重も軒先梁と軒元梁を介して袖フレームの柱材に伝達され、最終的に基礎Kに伝達される。また、付帯ユニット10に加わる地震力、風圧力に起因する2階上の水平荷重は、2階上の天井フレーム(天井構面)から2階の建物ユニット1に伝達され、1階上の水平荷重は、1階上の天井フレーム(天井構面)から1階の建物ユニット1に伝達され、最終的に基礎Kに伝達される。このように、付帯ユニット10に加わる垂直荷重及び水平荷重は、建物ユニット1及び基礎Kに伝達されるため、本実施形態の付帯ユニット10は側面16,16が柔軟な構造であるため建物ユニット1に追従しやすい。
図15(e)、(f)は、前記した図14(c)に示す付帯ユニット10を2階の建物ユニット1に連結したものと同様に、2階建てのユニット建物の2階部分に付帯ユニット10を連結固定したものである。この例では、2階の付帯ユニット10の天井面の鉛直荷重は(e)に示すように、軒先梁と軒元梁を介して袖フレーム(前記の実施形態では側面16に相当)の柱材に伝達され、床面の鉛直荷重も軒先梁と軒元梁を介して袖フレームの柱材に伝達され、最終的に基礎Kに伝達される。また、付帯ユニット10に加わる地震力、風圧力に起因する2階上の水平荷重は、2階上の天井フレーム(天井構面)から2階の建物ユニット1に伝達され、さらに1階の建物ユニット1に伝達され、最終的に基礎Kに伝達される。このように、付帯ユニット10に加わる垂直荷重及び水平荷重は、建物ユニット1及び基礎Kに伝達されるため、本実施形態の付帯ユニット10は側面16,16が柔軟な構造であるため建物ユニット1に追従しやすい。
ここで、図16を参照して、付帯ユニットに作用する外力を、連結された建物ユニットで負担する説明をすると、図16(a)のように、1階の長辺に平行に連結された付帯ユニット10では、風力や地震等の水平力が作用すると、2階の床構面P1でこの水平力を支持する。このため、付帯ユニット10は非耐力構造体であっても、耐力構造体である建物ユニット1の床構面P1で外力に対抗することができ、柔軟な構造の付帯ユニット10を連結して室内の内部空間を低コストで拡大することができる。すなわち、耐力構造体である建物ユニット1は、非耐力構造体である付帯ユニット10が連結されても充分な強度を有する構造体となっている。
図16(b)のように、1,2階の長辺に平行に連結された付帯ユニット10では、風力や地震等の水平力が作用すると、同様に2階の床構面P1でこの水平力を支持する。このため、付帯ユニット10,10は非耐力構造体であっても、耐力構造体である建物ユニット1の床構面P1で外力に対抗することができ、柔軟な構造の付帯ユニット10を連結して室内の内部空間を低コストで拡大することができる。
図16(c)のように、2階の長辺に平行に連結された付帯ユニット10では、風力や地震等の水平力が作用すると、同様に2階の床構面P1でこの水平力を支持する。このため、付帯ユニット10は非耐力構造体であっても、耐力構造体である建物ユニット1の床構面P1で外力に対抗することができ、柔軟な構造の付帯ユニット10を連結して室内の内部空間を低コストで拡大することができる。
さらに、図16(d)のように、建物ユニットを上下に3個積重ね、1階部分に付帯ユニット10を連結固定したユニット建物では、風力や地震等の水平力が作用すると、2階の床構面P1と、3階の床構面P2でこの水平力を支持する。また、図16(e)のように、建物ユニットを上下に3個積重ね、1階部分と2階部分に付帯ユニット10,10を連結固定したユニット建物では、風力や地震等の水平力が作用すると、2階の床構面P1と、3階の床構面P2でこの水平力を支持する。さらに、図16(f)のように、建物ユニットを上下に3個積重ね、2階部分に付帯ユニット10を連結固定したユニット建物でも、風力や地震等の水平力が作用すると、2階の床構面P1と、3階の床構面P2でこの水平力を支持する。このため、付帯ユニット10は非耐力構造体であっても、耐力構造体である建物ユニット1の床構面で外力に対抗することができ、柔軟な構造の付帯ユニット10を連結して室内の内部空間を低コストで拡大することができる。
図17(a)では、建物ユニット1を4個組み合わせてユニット建物Hを構成し、このユニット建物Hを構成する建物ユニット1の長辺方向(X方向)に沿って連結される長辺方向用の付帯ユニット10Aを1階と2階建物ユニット1,1に連結固定している。この例では、1,2階の建物ユニットの内部空間を大幅に拡大することができる。また、この延長部分を吹き抜けとして利用することもできる。
図17(b)では、建物ユニット1を4個組み合わせてユニット建物Hを構成し、このユニット建物Hを構成する建物ユニット1の長辺方向(X方向)に沿って連結される長辺方向用の付帯ユニット10Aを1階建物ユニット1に連結固定し、付帯ユニット10Aの上部にバルコニーBLを設置している。この例では、図8に示されるように、付帯ユニット10Aの柱材11の上端面に形成した貫通孔21aにボルト等の固定具を通し、内部のナット28にねじ込んでバルコニー柱Bを固定することができる。
図17(c)では、建物ユニット1を上下に4個組み合わせるとともにX方向の1階部分に1個の建物ユニット1を並べて5個の建物ユニットを組み合わせたユニット建物Hを構成し、このユニット建物Hの建物ユニットを4個組み合わせた部分と、1個の建物ユニットの1階の入隅部分に、短辺方向(Y方向)に沿って連結される付帯ユニット10を連結固定している。この例でも、付帯ユニット10を玄関スペース等に有効利用することができる。
図17(d)では、建物ユニット1を4個組み合わせてユニット建物Hを構成し、このユニット建物Hを構成する建物ユニット1の長辺方向(X方向)に沿って、短辺用の付帯ユニット10を1階の建物ユニット1に連結固定している。この例では、1階の建物ユニット1の内部空間を一部拡大することができる。また、ユニット建物Hの外観に変化を与えることができる。なお、この例では、付帯ユニット10を連結する建物ユニット1の長辺方向の中間部に、付帯ユニットに合わせて中間柱を設置すると好ましい。
図17(e)では、建物ユニット1を4個組み合わせてユニット建物Hを構成し、このユニット建物Hを構成する建物ユニット1の短辺方向(Y方向)に沿って、1階の2つの建物ユニット1,1に連続するように付帯ユニット10Bを連結固定している。この付帯ユニット10Bも、前記の付帯ユニット10,10Aと同様の構成であり、2つの側面を4本の梁材で連結して構成される。この例では、1階の2つの建物ユニット1,1に連続して内部空間を拡大することができるとともに、ユニット建物Hの外観に変化を与えることができる。
つぎに、図18を参照して本発明の他の実施形態を説明する。この実施形態は、前記した実施形態と比較して建物ユニットの短辺方向の幅より付帯ユニットの当該方向の幅が僅かに小さく、建物ユニットの一方側の柱と付帯ユニットの一方側の柱とを一致させたとき、建物ユニットの他方側の柱と付帯ユニットの他方側の柱とが外壁パネルPLの厚さ分だけ僅かにずれるものである。この場合は、建物ユニットの柱材と、付帯ユニットの柱材とをボルト固定するか、もしくは梁部分で連結することができる。他の実質的に同等の構成については同じ符号を付して説明は省略する。
図18において、建物ユニット1に連結される付帯ユニット10Cは、前記の実施形態と同様に4本の柱材11と、柱材の下端部を水平方向に連結する4本の下梁12,12,13,13と、柱材の上端部を水平方向に連結する4本の上梁14,14,15,15とから直方体状に構成され、上梁14は柱材11,11に剛接合され、下梁12は柱材11,11にボルト接合されている。この付帯ユニット10Cは、y方向の長さが建物ユニット1のy方向の長さより外壁パネルPLの厚さ分だけ僅かに短いため、一方側の柱材を建物ユニット1の柱材と合わせると他方側の柱材は建物ユニットの他方側の柱材と合わずにずれが生じる。
すなわち、一方側の柱材は、前記の図10,12等に示すように、建物ユニット1の柱材2と付帯ユニット10Cの柱材11とはボルト31、ナット32により連結されているが、他方側では柱材2と柱材11とが一致しない。このため、一致しない状態で、ボルトナットによる連結をするか、あるいは梁部分で連結する。梁部分で連結するときは、図18のように、柱材2と柱材11との間にスペーサ40を挟み、建物ユニット1の下梁4と付帯ユニット10Cの下梁13とを連結板41を渡してボルトナットで連結する。図示していないが上梁側も同様に連結板を渡してボルトナットで連結している。この実施形態でも、付帯ユニット10Cは2側面を構成する下梁12がボルトナットにより接合されているため柔軟な構造となり、連結される建物ユニット1に追従して変位等を柔軟に吸収することができる。なお、この実施形態では、付帯ユニット10Cの建物ユニット1から離れた長辺の床梁は、基礎(図示せず)にアンカーボルトで固定されることが好ましい。
さらに、図19を参照して本発明のさらに他の実施形態を説明する。この実施形態は、前記した実施形態と比較して建物ユニットの長辺方向(水平方向)の長さより付帯ユニットの当該方向の長さが小さく、付帯ユニットの柱材に対応して、建物ユニットの上梁と下梁との間に補強部材として中間柱を設け、この中間柱と付帯ユニットの柱材とを連結して構成することを特徴としている。他の実質的に同等の構成については同じ符号を付して説明は省略する。
図19において、建物ユニット1に連結される付帯ユニット10Dは、前記の実施形態と同様に4本の柱材11と、柱材の下端部を水平方向に連結する4本の下梁12,12,13,13と、柱材の上端部を水平方向に連結する4本の上梁14,14,15,15とから直方体状に構成され、上梁14は柱材11,11に剛接合され、下梁12は柱材11,11にボルト接合されている。
建物ユニット1には、付帯ユニット10Dの柱材11に合わせて、下梁3と上梁5との間に垂直にC形鋼からなる中間柱45(補強部材)が立てられている。そして、中間柱45と付帯ユニット10Dの柱材11との間にスペーサ46が挟まれ、ボルトナット47により連結されている。この実施形態でも、付帯ユニット10Dは2側面を構成する下梁12が、ジョイントプレート12aを介してボルトナット12bにより接合されているため柔軟な構造となり、付帯ユニット10Dは連結される建物ユニット1に追従して変位等を柔軟に吸収することができる。なお、この実施形態では、建物ユニット1の長辺方向の下梁3と上梁5との間に中間柱45を立設するため、補助梁として天井小梁48を設けて建物ユニット1を補強すると好ましい。
本発明の他の実施形態について、図20を参照して説明する。本発明の付帯ユニットを構成するボルトナット等による柱材と梁材との連結は、その仕様によっては溶接接合と同等の固定接合、あるいは半固定接合に近い構造的性状を示す場合がある。本実施形態では、固定接合に近い状態を回避するような連結構造を採用している(ピン接合)。図20では、梁材(下梁12)の端部にプレート12cを溶接し、このプレート12cの中央部に連結プレート12dをさらに溶接し、ボルトナットを挿通する貫通孔の間隔を小さくしている。このように構成することで、プレート12cが変形しやすく、柱と梁との連結部の柔軟性を向上させることができる。
図21は、付帯ユニットのさらに他の実施形態を示している。前記の実施形態では、付帯ユニットは4本の柱材に4本の下梁及び4本の上梁が柱勝ちの仕様として形成されたものであったが、この実施形態では梁勝ちの仕様として形成されたものである。図18の付帯ユニット10Eでは、4本の上梁14a,14a,15a,15a同士が貫通孔に挿通されたボルトナット等の固定具で連結されて長方形状に形成され、長方形状に形成された4本の梁材の下方に4本の柱材11aがボルトナット等の固定具で連結されている。柱材11aの下方と4本の下梁との連結も、図示していないが同様に、4本の下梁同士がボルトナット等の固定具で長方形状に連結され、長方形状に形成された下梁の上部に4本の柱材の下端が連結される構成となっている。このように、本発明に係る付帯構造物は、柱勝ちの構造や、梁勝ちの構造、あるいは柱勝ちと梁勝ちを組み合わせた構造等、適宜の構造を適用することができる。
さらに、本発明の他の実施形態について、図22を参照して説明する。前記した実施形態は柱材11,11と、下梁12と、上梁14とから構成される側面16,16において、上梁又は下梁の少なくとも一方が剛接合され、その他方がジョイント部材を介してボルトナットで連結される例について述べたが、この実施形態は、上梁14と下梁12の両方が固定具により連結固定されるものである。他の実質的に同等の構成については、前記した実施形態と同等であるため、説明を省略する。
図22において、付帯ユニット10Fでは4本の柱材11は、断面形状が略コ字状の溝形鋼又はC形の鋼材から形成されており、付帯ユニット10Fのコスト低減が可能となっている。下梁12及び上梁14も同様に断面形状が略コ字状の溝形鋼又はC形の鋼材から形成されている。そして、X方向に沿う上梁14,14は柱材11,11の上端に固定具としてボルトナット等で連結され、下梁12,12も柱材11,11の下端にボルトナット等で連結され側面16A,16Aを構成している。このボルトナットによる連結は、前記の実施形態と同様に、ジョイントプレート(図示せず)を介して行なわれている。また、必要に応じて水平ブレース材を固定することが好ましい。
この実施形態では、付帯ユニット10Fを構成するX−Z方向の2つの側面16a,16aは2本の柱材及び2本の梁材を連結する4個所の全てが剛接合でなく、ボルトナット等によるピン接合となっていると共に、柱材11,11の上下端をY方向に連結する下梁13及び上梁15もボルトナットにより連結されているため、付帯ユニット10Fは柔軟な構造となっている。このため、付帯ユニット10Fに地震力や風圧力が作用しても、付帯ユニット自身で対抗することなく、連結される建物ユニットに作用した力を伝達して建物ユニットが対抗する構成となっている。この実施形態では、上下の梁材、すなわち下梁12及び上梁14が共に固定具により固定されているため、前記の実施形態と比較してより柔軟な構造となっており、建物ユニットへの追従性が高くなっている。
図23は本発明のさらに他の実施形態の概略構成を示す斜視図である。この実施形態では、建物ユニット10Gを構成する2側面16B,16Bは隣接する2本の柱材11,11と上梁14及び下梁12で構成され、下梁12は2本の柱材11,11の下端部に溶接等で剛接合され、上梁14は固定具としてボルトナット等で2本の柱材11,11の上端部に連結されている。この実施形態では、前記した図6に示す実施形態と比較して上梁14がボルトナットで連結される構成であり、下梁12が溶接等で剛接合されているものである。この構成では、ピン接合される梁が上下で異なるのみであり、前記した第1の実施形態と同様に柔軟な構造となっており、外力等が付帯ユニット10Gに作用したとき柔軟に対応して連結する建物ユニットに力を伝達することができる。
さらに、本発明の付帯構造物と建物ユニットとの連結部の変形例について図24〜26を参照して説明する。図24〜26において、付帯ユニット10Dは前記のように、建物ユニット1の長辺方向に沿って連結されるもので、付帯ユニット10Dの長辺方向(水平方向)の長さは建物ユニット1の長辺方向の長さより短く設定されている。このため、付帯ユニット10Dの柱と建物ユニット1の柱を一方側で合わせると他方側では合わず、付帯ユニット10Dの他方の柱は建物ユニット1の長辺方向の中程に位置することとなる。
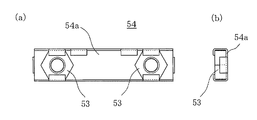
図24〜26で示す例では、建物ユニット1の上梁(天井梁)5の中間部に接合用アタッチメント51を溶接し、このアタッチメントに補強部材として補助梁52を連結している。図示していないが、上梁5の対辺側の上梁にも同様にアタッチメント51が溶接され、補助梁52が両梁の間に連結されている。アタッチメント51は断面がC形、またはU形等の鋼材51aから形成され、この鋼材の上下の寸法を上梁5の両リブ間に合わせて切断し、鋼材の開口を鋼板51bで接合しており、鋼材51aの背面には補助梁52を連結するための貫通孔が形成され、内部にナット53が2つ固着されている。さらに、補助梁52の両端部には連結板52aが溶接されており、この連結板にもボルトを挿通する連結孔が2つ形成されている。
また、鋼板51bには付帯ユニット10Dを連結するボルトが挿通される貫通孔が3つ形成されており、内部には3つのナット53が固着されている。この場合、貫通孔の内側にナット53を溶接する必要があるが、高強度のナットの場合、溶接で破断する可能性がある。このため、ナットを図26に示すような金属ケース54aに納めたナット結合体54とし、金属ケース54aを溶接するとナットの破断を防止することができる。
このように構成された連結構造では、建物ユニット1の上梁5と対向する上梁との間にアタッチメント51,51を介して補助梁52がボルト56をナット53にねじ込んで連結されることで補強されており、この補強された部位の上梁5の外側にスペーサ55を挟んで付帯ユニット10Dが連結される。すなわち、上梁5の外側に位置する付帯ユニット10Dの柱材11のジョイントプレートの内部から連結ボルト56を挿入し、スペーサ55を貫通させてアタッチメント51内のナット53にねじ込んで固定する。
このように構成された付帯ユニットの連結構造では、付帯ユニット10Dの柱が位置する建物ユニット1の梁材(上梁5)の中間部を補強することができ、付帯ユニットが梁材の中間部に連結されても建物ユニット1が補強されているため安定して連結固定することができる。なお、図示していないが、建物ユニット1の下梁も、同様な構成の接合用アタッチメントを溶接固定し、補助梁として床小梁を下梁間に連結することで建物ユニット1を補強すると好適である。
また、図27に示す他の実施形態では、付帯ユニット10Dを連結する建物ユニット1は補強部材として補助梁52Aと中間柱45Aとにより補強されている。この例の補助梁52Aは同様にC形鋼で形成され、中間柱45AもC形鋼で形成されている。そして、補助梁52Aを連結するための接合用アタッチメント51Aは、上梁5と同じ方向のC形鋼を切断した形状であり、前記したアタッチメント51と同様に上梁5に溶接されている。そして、補助梁52Aはアタッチメント51A,51Aを介してボルト56及びナット53により上梁5,5間に連結されている。さらに、上梁5と下梁(図示せず)間に中間柱45Aが連結されて建物ユニット1は補強されている。この実施形態の建物ユニット1では、長さの短い付帯ユニット10Dを連結する部位の上梁5、及び下梁が補助梁52A及び中間柱45Aにより補強されているため、建物ユニット1の連結部分が安定するという特長を有している。
図28に示す他の実施形態の付帯構造物である付帯ユニット10Hは、バルコニーユニットとして構成されている。この付帯ユニット10Hは、図28(b)に示されるように、2本の柱材11,11の下端を下梁12で連結し、上端を上梁14で連結した袖フレームF1と、図示していないが反対側の袖フレームとを備え、これらの袖フレームを下梁13,13と床根太とを溶接した床フレームF2と、上梁15,15と天井根太とを溶接した天井フレームF3とを、前記したものと同様のジョイントプレートを介してボルトナット等で連結して直方体の矩形ユニットを構成している。
袖フレームF1は、詳細には図示していないが、前記の実施形態と同様に下梁12と上梁14の一方は溶接により柱材11,11に剛接合され、他方はボルトナットにより柱材11,11に連結されている。あるいは、下梁12と上梁14とが共にボルトナットにより柱材11,11に連結されている。また、軒先側の長辺方向の中段にはバルコニー手摺18がジョイントプレートJ1を介して連結固定されている。このように複数のフレームで構成された直方体の上面、下面、両側面を外壁材(図示せず)で覆い、付帯ユニット10Hが構成される。
この例の付帯ユニット10Hは、建物ユニット1の1つの立面を構成する部材である柱材2,2に連結固定されるものであり、前記の実施形態と同様に取付孔30にボルトを通して連結固定される。そして、この付帯ユニット10Hをユニット建物の2階に連結固定することで、ユニット建物の2階部分に周囲を囲まれたキャンティバルコニー構成とすることができる。
さらに、図29に示す実施形態の付帯構造物は、付帯ユニット10Iであり、1階の建物ユニットの長辺側の立面(Y−Z面)に連結固定されている。付帯ユニット10Iは建物ユニット1の長辺側の長さより短い長さで構成され、建物ユニット1の長辺側の立面を構成する両端の柱材2,2とは一致せず、上梁と下梁の間に接続された中間柱(図示せず)に付帯ユニットの柱材を合わせて連結固定される。この短尺の付帯ユニット10Hでは、建物ユニット1の長辺より短尺の長さを有する付帯ユニット10Hを連結することで、ユニット建物の外観により変化を持たせて外観の多様化を達成することができる。
以上、本発明の実施形態について詳述したが、本発明は、前記の実施形態に限定されるものではなく、特許請求の範囲に記載された本発明の精神を逸脱しない範囲で、種々の設計変更を行うことができるものである。例えば、直方体の対向する2側面の上梁を剛接合し、下梁をボルト接合するように構成したが、下梁を剛接合し、上梁をボルト接合するように構成してもよい。また、剛接合とボルト接合した2側面を、建物ユニットの長辺方向の幅の狭い2側面とした例を示したが、短辺方向の幅の広い2側面とすることもできる。
ユニット建物として、建物ユニットを4つ、あるいは5つ用いた例を示したが、建物ユニットを2つ、あるいは3つ用いたものでもよく、さらに多数の建物ユニットを用いることができる。また、3階以上のユニット建物に複数の付帯ユニットを連結固定してもよいことは勿論である。さらに、付帯ユニットを構成する柱材として、溝形鋼又はC形鋼の例を説明したが、H形鋼等の他の形状の鋼材を用いてもよい。
本発明の活用例として、この付帯ユニットを用いて建物ユニットを組立てて構成されたユニット建物の外観に変化をつけて重厚なデザインとすることができ、付帯ユニットを連結固定することによってユニット建物の内部空間を拡大することができ、しかも本体の建物ユニットに追従しやすい柔軟な構成にすることができる。
1:建物ユニット、2:柱材、3,4:下梁、5,6:上梁、10,10A,10B、10C,10D,10E,10F,10G,10H,10I:付帯ユニット(付帯構造物)、11,11a:柱材、12,13:下梁、12a:ジョイントプレート(ジョイント部材)、12b:ボルトナット、13a,15a:エンドプレート(ジョイント部材)、14,14a,15,15a:上梁、16,16B:一部を剛接合した側面(袖フレーム)、16A:ボルト接合された側面(袖フレーム)、17:水平ブレース材、20,21:補強板、22:ジョイントプレート(ジョイント部材)、23:ボルト、24:貫通孔、25:補強プレート、26:連結プレート、30:取付孔、31:ボルト(固定具)、32:ナット(固定具)、33:ガイドピン、45,45A:中間柱(補強部材)、51,51A:接合用アタッチメント、52,52A:補助梁(補強部材)、H:ユニット建物、BL:バルコニー、B:バルコニー柱

Claims (16)

  1. ユニット建物を構成する直方体状の建物ユニットの1つの立面に連結され、該建物ユニットの内部空間を拡大させる小型の付帯構造物であって、
    該付帯構造物は、4本の柱材と、該柱材の下端部を水平方向に連結する4本の下梁と、前記柱材の上端部を水平方向に連結する4本の上梁とから直方体状に構成され、前記建物ユニットの前記1つの立面を構成する部材に連結固定されるものであり、
    前記4本の下梁及び4本の上梁は、前記4本の柱材に固定具により連結されることを特徴とする付帯構造物。
  2. ユニット建物を構成する直方体状の建物ユニットの1つの立面に連結され、該建物ユニットの内部空間を拡大させる小型の付帯構造物であって、
    該付帯構造物は、4本の柱材と、該柱材の下端部を水平方向に連結する4本の下梁と、前記柱材の上端部を水平方向に連結する4本の上梁とから直方体状に構成され、前記建物ユニットの前記1つの立面を構成する部材に連結固定されるものであり、
    隣接する2本の柱材と上梁及び下梁で構成される直方体の対向する2側面は、上梁又は下梁の一方が2本の柱材に剛接合され、その他方が固定具により2本の柱材に連結固定されることを特徴とする付帯構造物。
  3. 前記建物ユニットの前記付帯構造物を取り付ける取付面より突出する方向の上梁と下梁及び2本の柱材で袖フレームを2面形成し、
    前記袖フレームは鉛直荷重のみを負担することを特徴とする請求項1又は2に記載の付帯構造物。
  4. 前記固定具による連結は、前記柱材にジョイント部材を介してボルトナットで着脱可能に連結されることを特徴とする請求項1〜3のいずれかに記載の付帯構造物。
  5. 前記4本の柱材は断面形状が略コ字状の溝形鋼又はC形鋼からなり、前記ジョイント部材は、前記溝形鋼又はC形鋼の開口の一部を塞ぐように固着され、該ジョイント部材の裏側には、ボルトナット等の固定具の締結スペースが形成されていることを特徴とする請求項4に記載の付帯構造物。
  6. 前記柱材は、溝形鋼又はC形鋼の上端及び下端の開口を閉じる水平状の補強板が固着されており、該補強板と共に前記ジョイント部材を支持する水平状の補強板が固着されていることを特徴とする請求項5に記載の付帯構造物。
  7. 前記柱材は、溝形鋼又はC形鋼のリブを補強する三角形状の補強プレートが固着されていることを特徴とする請求項5又は6に記載の付帯構造物。
  8. 前記上梁及び下梁の少なくとも一方は、前記柱材との連結部にジョイント部材が固着され、前記上梁及び下梁の少なくとも一方は該ジョイント部材を介して前記柱材に前記固定具により連結されることを特徴とする請求項1又は2に記載の付帯構造物。
  9. 前記ジョイント部材は平板状であり、上下の幅広部と中央の幅狭部とが傾斜辺で連結され、幅広部に前記下梁及び上梁を連結するためのボルトが挿入される貫通孔が形成されていることを特徴とする請求項8に記載の付帯構造物。
  10. 前記ジョイント部材は前記上梁及び下梁の長手方向の開口を閉じる平坦部と、該平坦部の上下の端部が屈曲されて梁材の上下フランジに固着される上下屈曲部と、前記平坦部の中央部が屈曲されて梁材のウェブに固着される中央屈曲部とを有し、前記平坦部に前記下梁及び上梁を連結するためのボルトが挿入される貫通孔が形成されていることを特徴とする請求項8に記載の付帯構造物。
  11. 前記建物ユニットの長辺方向に沿う長さより前記付帯構造物の前記長辺方向に沿う長さが短尺であることを特徴とする請求項1〜10のいずれかに記載の付帯構造物。
  12. 前記付帯構造物は、前記4本の柱材の少なくとも上部を連結する水平ブレース材を備えることを特徴とする請求項1〜11のいずれかに記載の付帯構造物。
  13. 請求項1〜12のいずれかに記載の付帯構造物を前記建物ユニットに連結固定したことを特徴とするユニット建物。
  14. 前記建物ユニットは、柱材及び梁材が全て剛接合されている耐力構造体であることを特徴とする請求項13に記載のユニット建物。
  15. 前記付帯構造物は、前記建物ユニットの外面に連結固定されることを特徴とする請求項13又は14に記載のユニット建物。
  16. 前記建物ユニットの1つの立面に連結される前記付帯構造物は、該1つの立面より水平方向に短く形成されており、前記建物ユニットは前記付帯構造物の柱材と対向する梁材が補強部材により補強されていることを特徴とする請求項13〜15のいずれかに記載のユニット建物。
JP2011085659A 2010-04-14 2011-04-07 付帯構造物及びユニット建物 Active JP5081995B2 (ja)

Priority Applications (2)

Application Number Priority Date Filing Date Title
JP2011085659A JP5081995B2 (ja) 2010-04-14 2011-04-07 付帯構造物及びユニット建物
KR1020110093870A KR101362655B1 (ko) 2011-04-07 2011-09-19 부대 구조물 및 유닛 건물

Applications Claiming Priority (3)

Application Number Priority Date Filing Date Title
JP2010093326 2010-04-14
JP2010093326 2010-04-14
JP2011085659A JP5081995B2 (ja) 2010-04-14 2011-04-07 付帯構造物及びユニット建物

Related Child Applications (1)

Application Number Title Priority Date Filing Date
JP2012163050A Division JP5143971B2 (ja) 2010-04-14 2012-07-23 付帯構造物及びユニット建物

Publications (3)

Publication Number Publication Date
JP2011236727A true JP2011236727A (ja) 2011-11-24
JP2011236727A5 JP2011236727A5 (ja) 2012-05-24
JP5081995B2 JP5081995B2 (ja) 2012-11-28

Family

ID=45324992

Family Applications (2)

Application Number Title Priority Date Filing Date
JP2011085659A Active JP5081995B2 (ja) 2010-04-14 2011-04-07 付帯構造物及びユニット建物
JP2012163050A Active JP5143971B2 (ja) 2010-04-14 2012-07-23 付帯構造物及びユニット建物

Family Applications After (1)

Application Number Title Priority Date Filing Date
JP2012163050A Active JP5143971B2 (ja) 2010-04-14 2012-07-23 付帯構造物及びユニット建物

Country Status (1)

Country Link
JP (2) JP5081995B2 (ja)

Cited By (3)

* Cited by examiner, † Cited by third party
Publication number Priority date Publication date Assignee Title
JP2014040705A (ja) * 2012-08-21 2014-03-06 Sekisui Chem Co Ltd ユニット建物
CN113404320A (zh) * 2021-05-20 2021-09-17 郑州工业应用技术学院 一种建筑主体内加固抗震避灾结构及其施工方法
CN113463759A (zh) * 2021-08-16 2021-10-01 任建利 拱形结构框架、多曲腔墙、发电建筑和多彩发电城市

Citations (8)

* Cited by examiner, † Cited by third party
Publication number Priority date Publication date Assignee Title
JPH02167940A (ja) * 1988-12-20 1990-06-28 Sekisui Chem Co Ltd 建物ユニットの補強構造
JPH05311741A (ja) * 1992-05-11 1993-11-22 Sekisui Chem Co Ltd 角型鋼材とチャンネル型鋼材との接合構造
JPH08177128A (ja) * 1994-12-27 1996-07-09 Misawa Homes Co Ltd 拡張ユニットの取付構造
JPH11200500A (ja) * 1998-01-14 1999-07-27 Sekisui Chem Co Ltd ユニット建物
JP2003119892A (ja) * 2001-10-10 2003-04-23 Sekisui Chem Co Ltd 垂直部材と横架材との接合構造、垂直部材と横架材との接合状態の非破壊検査方法及び建物ユニット並びに建物ユニット間の接合構造
JP2004353346A (ja) * 2003-05-29 2004-12-16 Matsuyama Kozai Kk 鉄骨材の連結機構
JP2006348490A (ja) * 2005-06-13 2006-12-28 Sekisui Chem Co Ltd ブレースの取付構造
JP2009068169A (ja) * 2007-09-10 2009-04-02 Sekisui Chem Co Ltd 建物ユニット及びユニット建物

Family Cites Families (3)

* Cited by examiner, † Cited by third party
Publication number Priority date Publication date Assignee Title
JPS5837302U (ja) * 1981-09-06 1983-03-11 ナショナル住宅産業株式会社 建築用パネルの支持装置
JPH0743288Y2 (ja) * 1990-08-31 1995-10-09 ミサワホーム株式会社 工業化住宅用住宅ユニット
JPH0738337U (ja) * 1993-12-24 1995-07-14 ナショナル住宅産業株式会社 入り隅束受け金物の取付け構造

Patent Citations (8)

* Cited by examiner, † Cited by third party
Publication number Priority date Publication date Assignee Title
JPH02167940A (ja) * 1988-12-20 1990-06-28 Sekisui Chem Co Ltd 建物ユニットの補強構造
JPH05311741A (ja) * 1992-05-11 1993-11-22 Sekisui Chem Co Ltd 角型鋼材とチャンネル型鋼材との接合構造
JPH08177128A (ja) * 1994-12-27 1996-07-09 Misawa Homes Co Ltd 拡張ユニットの取付構造
JPH11200500A (ja) * 1998-01-14 1999-07-27 Sekisui Chem Co Ltd ユニット建物
JP2003119892A (ja) * 2001-10-10 2003-04-23 Sekisui Chem Co Ltd 垂直部材と横架材との接合構造、垂直部材と横架材との接合状態の非破壊検査方法及び建物ユニット並びに建物ユニット間の接合構造
JP2004353346A (ja) * 2003-05-29 2004-12-16 Matsuyama Kozai Kk 鉄骨材の連結機構
JP2006348490A (ja) * 2005-06-13 2006-12-28 Sekisui Chem Co Ltd ブレースの取付構造
JP2009068169A (ja) * 2007-09-10 2009-04-02 Sekisui Chem Co Ltd 建物ユニット及びユニット建物

Cited By (4)

* Cited by examiner, † Cited by third party
Publication number Priority date Publication date Assignee Title
JP2014040705A (ja) * 2012-08-21 2014-03-06 Sekisui Chem Co Ltd ユニット建物
CN113404320A (zh) * 2021-05-20 2021-09-17 郑州工业应用技术学院 一种建筑主体内加固抗震避灾结构及其施工方法
CN113404320B (zh) * 2021-05-20 2022-08-26 郑州工业应用技术学院 一种建筑主体内加固抗震避灾结构及其施工方法
CN113463759A (zh) * 2021-08-16 2021-10-01 任建利 拱形结构框架、多曲腔墙、发电建筑和多彩发电城市

Also Published As

Publication number Publication date
JP2012197671A (ja) 2012-10-18
JP5081995B2 (ja) 2012-11-28
JP5143971B2 (ja) 2013-02-13

Similar Documents

Publication Publication Date Title
JP4858921B2 (ja) 付帯構造物及びユニット建物
JP5953016B2 (ja) 付帯構造物及びユニット建物
JP5767538B2 (ja) 鋼材の連結構造、付帯構造物及びユニット建物
JP4503982B2 (ja) 補強梁およびその補強梁を備えたユニット式建物
JP5271739B2 (ja) 屋上付帯構造物及びユニット建物
JP5143971B2 (ja) 付帯構造物及びユニット建物
JP4583778B2 (ja) ユニット式建物
JP5836077B2 (ja) 付帯構造物及びユニット建物
JP6122980B2 (ja) 付帯構造物及びユニット建物
JP6087987B2 (ja) 付帯構造物及びユニット建物
JP5792448B2 (ja) 付帯構造物及びユニット建物
JP6087986B2 (ja) 付帯構造物及びユニット建物
JP5793286B2 (ja) 付帯構造物及びユニット建物
JP5004434B2 (ja) スチールハウス
KR101362655B1 (ko) 부대 구조물 및 유닛 건물
JP5629171B2 (ja) 建物ユニットと付帯構造物との連結構造及びユニット建物
JP2524409B2 (ja) 軸組、パネル工法の家屋
JP7782609B1 (ja) 建築物の壁および建築物
JP5000881B2 (ja) ユニット式建物およびそのユニット式建物の施工方法
JP5251666B2 (ja) 壁部分の連結ユニット体と梁との結合構造
JP2006037704A (ja) スチールハウスの耐力壁構造
JP2008014096A (ja) 建物
JPH1061016A (ja) ユニット住宅
JPH083215B2 (ja) 家屋構築工法
JP2006307484A (ja) 耐力壁パネル、スチールハウス

Legal Events

Date Code Title Description
A521 Written amendment

Free format text: JAPANESE INTERMEDIATE CODE: A523

Effective date: 20120330

A621 Written request for application examination

Free format text: JAPANESE INTERMEDIATE CODE: A621

Effective date: 20120330

A871 Explanation of circumstances concerning accelerated examination

Free format text: JAPANESE INTERMEDIATE CODE: A871

Effective date: 20120330

A975 Report on accelerated examination

Free format text: JAPANESE INTERMEDIATE CODE: A971005

Effective date: 20120423

A131 Notification of reasons for refusal

Free format text: JAPANESE INTERMEDIATE CODE: A131

Effective date: 20120508

A521 Written amendment

Free format text: JAPANESE INTERMEDIATE CODE: A523

Effective date: 20120607

A131 Notification of reasons for refusal

Free format text: JAPANESE INTERMEDIATE CODE: A131

Effective date: 20120626

A521 Written amendment

Free format text: JAPANESE INTERMEDIATE CODE: A523

Effective date: 20120723

TRDD Decision of grant or rejection written
A01 Written decision to grant a patent or to grant a registration (utility model)

Free format text: JAPANESE INTERMEDIATE CODE: A01

Effective date: 20120807

A01 Written decision to grant a patent or to grant a registration (utility model)

Free format text: JAPANESE INTERMEDIATE CODE: A01

A61 First payment of annual fees (during grant procedure)

Free format text: JAPANESE INTERMEDIATE CODE: A61

Effective date: 20120903

FPAY Renewal fee payment (event date is renewal date of database)

Free format text: PAYMENT UNTIL: 20150907

Year of fee payment: 3

R151 Written notification of patent or utility model registration

Ref document number: 5081995

Country of ref document: JP

Free format text: JAPANESE INTERMEDIATE CODE: R151

FPAY Renewal fee payment (event date is renewal date of database)

Free format text: PAYMENT UNTIL: 20150907

Year of fee payment: 3