JP2011158113A - Drain hopper for storage type water heater - Google Patents

Drain hopper for storage type water heater Download PDF

Info

Publication number
JP2011158113A
JP2011158113A JP2010017770A JP2010017770A JP2011158113A JP 2011158113 A JP2011158113 A JP 2011158113A JP 2010017770 A JP2010017770 A JP 2010017770A JP 2010017770 A JP2010017770 A JP 2010017770A JP 2011158113 A JP2011158113 A JP 2011158113A
Authority
JP
Japan
Prior art keywords
drainage
pipe
branch pipe
drain
hot water
Prior art date
Legal status (The legal status is an assumption and is not a legal conclusion. Google has not performed a legal analysis and makes no representation as to the accuracy of the status listed.)
Granted
Application number
JP2010017770A
Other languages
Japanese (ja)
Other versions
JP5463936B2 (en
Inventor
Shoji Kishimoto
匠示 岸本
Michihiro Uozumi
亨広 魚住
Takayuki Kono
隆行 河野
Mitsuru Kawaguchi
満 川口
Current Assignee (The listed assignees may be inaccurate. Google has not performed a legal analysis and makes no representation or warranty as to the accuracy of the list.)
Toto Ltd
Original Assignee
Toto Ltd
Priority date (The priority date is an assumption and is not a legal conclusion. Google has not performed a legal analysis and makes no representation as to the accuracy of the date listed.)
Filing date
Publication date
Application filed by Toto Ltd filed Critical Toto Ltd
Priority to JP2010017770A priority Critical patent/JP5463936B2/en
Publication of JP2011158113A publication Critical patent/JP2011158113A/en
Application granted granted Critical
Publication of JP5463936B2 publication Critical patent/JP5463936B2/en
Active legal-status Critical Current
Anticipated expiration legal-status Critical

Links

Images

Landscapes

  • Sink And Installation For Waste Water (AREA)

Abstract

<P>PROBLEM TO BE SOLVED: To provide a drain hopper for a storage type water heater which hardly causes the back flow of sewage to a drain branch pipe even if the back flow is generated from a draining downstream side, and furthermore, hardly causes blockage resulting from the formation of a biological slime caused by the accumulation of sewage and bacteria in the drain branch pipe. <P>SOLUTION: In the drain hopper for the storage type water heater including a drain hopper body connected to the storage type water heater, a drain joint vertical pipe connected to a drain main pipe, and the drain branch pipe inclined to the drain joint vertical pipe, and connected to the drain hopper body, an opening area of the drain branch pipe is almost equal at its upstream side and downstream side, the drain branch pipe is projected to the inside of the drain joint vertical pipe, an upper end at the downstream side of the drain branch pipe projected into the drain joint vertical pipe is positioned on a vertical lower part with respect to a bottom surface at the upstream side of the drain branch pipe as a connecting section with the drain hopper body of the drain branch pipe, and on a vertical upper part with respect to a lower end at the downstream side of the drain branch pipe connected to the drain joint vertical pipe, and a check valve is disposed on the connecting section. <P>COPYRIGHT: (C)2011,JPO&INPIT

Description

本発明は、洗面所やキッチンなどに設置される貯湯式温水器からの膨張水を、排水本管へ流すための貯湯式温水器用排水ホッパーに関するものである。   The present invention relates to a drainage hopper for a hot water storage type hot water heater for flowing expansion water from a hot water storage type hot water heater installed in a washroom or a kitchen to a drainage main pipe.

従来、洗面所やキッチンなどに設置される貯湯式温水器で発生した膨張水などの排水は、排水ホッパーの排水継手を排水本管に接続して排水する施工が一般的に行われている。なお、排水ホッパーは排水ホッパー本体と排水継手で構成され、排水継手には排水ホッパー本体へ連通する排水枝管が一体的に設けられている。   Conventionally, drainage such as expansion water generated in a hot water heater installed in a bathroom or kitchen is generally drained by connecting a drainage joint of a drainage hopper to a drainage main. The drain hopper is constituted by a drain hopper body and a drain joint, and the drain joint is integrally provided with a drain branch pipe communicating with the drain hopper body.

排水枝管に排水本管からの汚水が浸入すると、汚水堆積やバクテリアによる生物膜生成による排水枝管の閉塞が発生し、膨張水などの排水が出来なくなり、排水ホッパーの開口部から屋内に、膨張水が、漏水する原因となる。特に、排水ホッパー本体から排水枝管に通じる通路に逆止弁を備えたものにおいては、この逆止弁への汚水堆積やバクテリアによる生物膜生成の影響が大きく、逆止弁の作動に支障を与える可能性もある。 When sewage from the drainage mains enters the drainage branch pipe, the drainage branch pipe is blocked due to sewage accumulation or biofilm formation by bacteria, and it becomes impossible to drain expansion water, etc., and from the opening of the drainage hopper indoors, Inflated water causes water leakage. In particular, in the case where a check valve is provided in the passage from the drain hopper body to the drain branch pipe, the influence of sewage accumulation on the check valve and the generation of biofilm by bacteria is great, and the check valve operation is hindered. There is also the possibility of giving.

この為、排水本管上流からの汚水が排水枝管に浸入することを防ぐ為に、排水本管との合流部に逆流防止壁を設けた継手などもある(先行文献1:特開2000−144838)。 For this reason, in order to prevent the sewage from upstream of the drainage main pipe from entering the drainage branch pipe, there is also a joint provided with a backflow prevention wall at the junction with the drainage main pipe (Prior Art 1: Japanese Patent Laid-Open No. 2000-2000). 144838).

しかしながら、排水本管の下流が閉塞気味であったり、排水圧損が大きな排水経路である場合、洗面所の洗面器やキッチンのシンクからの排水が息継ぎを行ない排水下流からの一時的な逆流が発生し、この逆流した汚水が排水本管を上昇して排水枝管に浸入することがある。この場合、先行文献1の構造であると、排水本管の下流から逆流した汚水は、排水枝管に浸入し、前述した排水枝管の閉塞が発生することとなり、貯湯式温水器で発生した膨張水などの排水が排水ホッパーの開口部から漏水し、屋内を濡らす等の多大な損害を及ぼす結果となる。   However, if the downstream of the main drainage is obstructed or the drainage path has a large drainage pressure loss, the drainage from the washbasin in the washroom or the sink of the kitchen will breathe through, causing a temporary backflow from the drainage downstream. The sewage that has flowed back up the drainage main pipe and may enter the drainage branch pipe. In this case, in the case of the structure of the prior art document 1, the sewage flowing backward from the downstream of the drainage main pipe enters the drainage branch pipe, and the drainage branch pipe is blocked as described above, and is generated in the hot water heater. Drainage such as inflated water leaks from the opening of the drain hopper, resulting in great damage such as wetting indoors.

特開2000−144838号公報(第4頁、第1図)JP 2000-144838 A (page 4, FIG. 1)

本発明は、上記問題を解決するためになされたもので、本発明の課題は、排水下流からの逆流が発生した場合でも排水枝管に汚水が逆流することがなく、排水枝管内での汚水堆積やバクテリアによる生物膜生成による閉塞が発生しない貯湯式温水器用排水ホッパーを提供することである。   The present invention has been made in order to solve the above-described problem. The object of the present invention is to prevent sewage from flowing back into the drainage branch pipe even when a reverse flow from the downstream of the drainage occurs, The object is to provide a drain hopper for hot water storage hot water heaters that is free from clogging due to sedimentation and biofilm formation by bacteria.

上記目的を達成するために請求項1記載の貯湯式温水器用排水ホッパーは、貯湯式温水器に接続される排水ホッパー本体と、排水本管に接続される排水継手縦管と、前記排水継手縦管に傾斜して設けられ、前記排水ホッパー本体に接続される排水枝管とを備えた貯湯式温水器用排水ホッパーであって、前記排水枝管の開口面積は上流側と下流側で略同一であり、前記排水枝管は前記排水継手縦管内部へ突出しており、前記排水継手縦管内部へ突出した前記排水枝管の排水枝管下流側上部先端は、前記排水枝管の前記排水ホッパー本体との接続部である排水枝管の排水枝管上流側底面より鉛直下方向に位置するとともに、前記排水継手縦管へとつながる前記排水枝管の排水枝管下流側下部先端よりも鉛直上方向に位置し、前記接続部に逆止弁を備えたことを特徴とする。   In order to achieve the above object, a drain hopper for a hot water type hot water heater according to claim 1 comprises a drain hopper body connected to the hot water type hot water heater, a drain joint vertical pipe connected to a drain main, and the drain joint vertical A drain hopper for a hot water storage hot water heater provided with a drain branch pipe connected to the drain hopper body, the opening area of the drain branch pipe being substantially the same on the upstream side and the downstream side The drainage branch pipe protrudes into the drainage joint vertical pipe, and the drain branch branch downstream upper end of the drainage branch pipe that protrudes into the drainage joint vertical pipe is the drainage hopper main body of the drainage branch pipe Is located vertically downward from the bottom surface of the drainage branch pipe upstream of the drainage branch pipe, and is vertically upward from the lower end of the drainage branch pipe downstream side of the drainage branch pipe connected to the drainage joint vertical pipe And a check valve at the connection And said that there were pictures.

請求項2記載の貯湯式温水器用排水ホッパーは、貯湯式温水器に接続される排水ホッパー本体と、排水本管に接続される排水継手縦管と、前記排水継手縦管に傾斜して設けられ、前記排水ホッパー本体に接続される排水枝管とを備えた貯湯式温水器用排水ホッパーであって、前記排水枝管の開口面積は上流側と下流側で略同一であり、前記排水枝管の排水枝管下流側上部先端は、前記排水枝管の前記排水ホッパー本体との接続部である排水枝管の排水枝管上流側底面より鉛直下方向に位置するとともに、前記排水継手縦管へとつながる前記排水枝管の排水枝管下流側下部先端よりも鉛直上方向に位置し、前記排水継手縦管と前記排水枝管下流側上部先端とが接続する位置での前記排水継手縦管の開口径は、前記排水継手縦管と前記排水枝管下流側下部先端とが接続する位置での前記排水継手縦管の開口径より小さくなっている前記接続部に逆止弁を備えたことを特徴とする。   The drainage hopper for a hot water storage type hot water heater according to claim 2 is provided to be inclined to the drainage hopper main body connected to the hot water storage type hot water heater, a drainage joint vertical pipe connected to the drainage main pipe, and the drainage joint vertical pipe. A drainage hopper for a hot water storage hot water heater provided with a drainage branch pipe connected to the drainage hopper body, the opening area of the drainage branch pipe being substantially the same on the upstream side and the downstream side, The upper end of the drainage branch pipe downstream side is located vertically downward from the bottom surface of the drainage branch pipe upstream side of the drainage branch pipe that is a connection portion of the drainage branch pipe with the drainage hopper main body, and to the drainage joint vertical pipe. Opening the drainage joint vertical pipe at a position where the drainage joint vertical pipe and the drainage branch pipe downstream upper end are connected to each other and located vertically above the lower end of the drainage branch downstream of the connected drainage branch pipe. The diameter is below the drainage joint vertical pipe and the drainage branch pipe Characterized by comprising a check valve in the connecting portion and the side lower tip is smaller than the opening diameter of the drainage joint vertical pipe at a position to be connected.

請求項3記載の貯湯式温水器用排水ホッパーは、貯湯式温水器に接続される排水ホッパー本体と、排水本管に接続される排水継手縦管と、前記排水継手縦管に略L字形状に設けられ、前記排水ホッパー本体に接続される排水枝管とを備えた貯湯式温水器用排水ホッパーであって、前記排水枝管の開口面積は上流側と下流側で略同一であり、前記排水枝管の排水枝管下流側上部先端は、前記排水枝管の前記排水ホッパー本体との接続部である排水枝管の排水枝管上流側底面より鉛直下方向に位置し、前記接続部に逆止弁を備えたことを特徴とする。 The drainage hopper for hot water storage type hot water heater according to claim 3 has a substantially drained hopper body connected to the hot water storage type hot water heater, a drainage joint vertical pipe connected to the drainage main pipe, and a substantially L shape in the drainage joint vertical pipe. A drainage hopper for a hot water storage hot water heater provided with a drainage branch pipe connected to the drainage hopper body, the opening area of the drainage branch pipe being substantially the same on the upstream side and the downstream side, The upper end on the downstream side of the drainage branch pipe of the pipe is located vertically below the bottom surface on the upstream side of the drainage branch pipe of the drainage branch pipe, which is the connection part of the drainage branch pipe to the drainage hopper body, and is non-returnable to the connection part. It is provided with a valve.

これらの貯湯式温水器用排水ホッパーにおいては、排水本管下流からの逆流が発生した場合でも、排水枝管の排水枝管下流側上部先端から略水平に発生する喫水面と、排水枝管上流に設けられている逆止弁との間に空気層が形成される。これにより、排水枝管内部には汚水が浸入せず、清潔な状態を保つことが可能である。また、前記排水枝管の開口面積が上流側と下流側で略同一であるために圧損が少なく、貯湯式温水器内の貯湯槽の湯水入替や逃し弁の作動確認の際に排出される多量の湯水に対しても排水能力の確保が可能である。 In these drainage hoppers for hot water storage hot water heaters, even if a reverse flow from the downstream of the drainage main pipe occurs, the draft surface that is generated substantially horizontally from the upper end of the drainage branch downstream of the drainage branch and the upstream of the drainage branch An air layer is formed between the check valve provided. Thereby, sewage does not enter the drainage branch pipe, and it is possible to maintain a clean state. Further, since the opening area of the drainage branch pipe is substantially the same on the upstream side and the downstream side, there is little pressure loss, and a large amount is discharged when the hot water is replaced in the hot water storage tank or when the operation of the relief valve is confirmed. It is possible to secure drainage capacity for hot water.

従って、本発明によれば、排水下流からの逆流が発生した場合でも排水枝管に汚水が逆流することがなく、排水枝管内での汚水堆積やバクテリアによる生物膜生成による閉塞が発生せず、また、十分な排水能力も確保できる排水継手を提供できる。   Therefore, according to the present invention, even when a reverse flow from the downstream of the drainage occurs, the sewage does not flow back to the drainage branch pipe, and no clogging occurs due to sewage accumulation in the drainage branch pipe or biofilm generation by bacteria, Moreover, the drainage joint which can ensure sufficient drainage capability can be provided.

本発明の実施形態に係る貯湯式温水器用排水ホッパーの構成を例示する模式的接続図である。It is a typical connection diagram which illustrates the composition of the drain hopper for hot water storage type hot water heaters concerning the embodiment of the present invention. 本発明の第1の実施形態に係る貯湯式温水器用排水ホッパーの構成を例示する断面図である。It is sectional drawing which illustrates the structure of the drainage hopper for hot water storage type water heaters which concerns on the 1st Embodiment of this invention. 本発明の第2の実施形態に係る排水継手の構成を例示する断面図である。It is sectional drawing which illustrates the structure of the drainage coupling which concerns on the 2nd Embodiment of this invention. 本発明の第3の実施形態に係る排水継手の構成を例示する断面図である。It is sectional drawing which illustrates the structure of the drainage coupling which concerns on the 3rd Embodiment of this invention.

以下に、図面を参照しつつ、本発明の実施形態について説明する。   Hereinafter, embodiments of the present invention will be described with reference to the drawings.

図1は、本発明の実施形態に係る貯湯式温水器用排水ホッパーの構成を例示する模式的接続図である。   FIG. 1 is a schematic connection diagram illustrating the configuration of a drain hopper for a hot water storage hot water heater according to an embodiment of the present invention.

排水ホッパー1は、貯湯式温水器2の沸き上げの際に発生する水の体積膨張分である膨張水や、貯湯式温水器2内に備えられた図示しない貯湯槽を清潔に保つ為に行なわれる湯水入替を行なう際に発生する洗浄排水や、貯湯式温水器2内に備えられた図示しない逃し弁の作動確認時の排水を、キッチンのシンク3の排水本管4へ流すように構成されている。   The drain hopper 1 is used to keep the expanded water, which is the volume expansion of the water generated when the hot water heater 2 is boiled, and the hot water storage tank (not shown) provided in the hot water heater 2 clean. The waste water generated when the hot water is replaced and the waste water at the time of confirming the operation of a relief valve (not shown) provided in the hot water storage water heater 2 are flowed to the drain main 4 of the sink 3 of the kitchen. ing.

図1において、排水ホッパー1は、逃し口7、逃し口7から出る排水を受けるホッパー部8、排水本管4からホッパー部8への逆流を防止する逆止弁10で構成された排水ホッパー本体22と、排水ホッパー本体22のホッパー部8に溜まった水を排水本管4に排出するための排水継手9とで構成されている。更に、排水ホッパー本体22の逃し口7は貯湯式温水器2に設けられた膨張水等を排出するための排水口5と連結管6で接続されている。また、ホッパー部8の上方には、排水口空間を確保するための開口部15が設けられている。 In FIG. 1, a drainage hopper 1 is a drainage hopper body composed of an outlet 7, a hopper 8 that receives drainage from the outlet 7, and a check valve 10 that prevents backflow from the drainage main pipe 4 to the hopper 8. 22 and a drainage joint 9 for discharging water collected in the hopper 8 of the drainage hopper body 22 to the drainage main pipe 4. Furthermore, the escape port 7 of the drain hopper main body 22 is connected to the drain port 5 for discharging the expansion water or the like provided in the hot water storage water heater 2 by a connecting pipe 6. In addition, an opening 15 is provided above the hopper 8 for securing a drain outlet space.

貯湯式温水器2は、前述した膨張水や洗浄排水等を排水口5から排出する構造としており、排水口5に接続された連結管6を介して排水ホッパー本体22に設けられた逃し口7へと押し出される。逃し口7から出てくる膨張水や洗浄排水等は、自然落下によりホッパー部8へ排出される。ホッパー部8はトラップ構造になっており、封水水位以上になると排水継手9を介して排水本管4へ排出される。一方、キッチンのシンク3では食器等が洗浄され、その排水は排水トラップ11を経て、排水トラップ11に接続された排水継手9を介し、排水本管4へと流され、図示しない排水枡へと流れる。 The hot water storage water heater 2 has a structure for discharging the above-described expansion water, washing waste water, and the like from the drain port 5, and a relief port 7 provided in the drain hopper body 22 through a connecting pipe 6 connected to the drain port 5. Pushed out. Expansion water, washing drainage, etc. coming out from the escape port 7 are discharged to the hopper 8 by natural fall. The hopper 8 has a trap structure, and is discharged to the drainage main pipe 4 through the drainage joint 9 when the water level is higher than the sealing water level. On the other hand, dishes and the like are washed in the sink 3 of the kitchen, and the drainage passes through the drain trap 11 and flows into the drain main pipe 4 through the drain joint 9 connected to the drain trap 11 to a drain trough (not shown). Flowing.

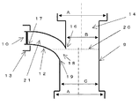
図2は、本発明の第1の実施形態に係る排水ホッパーの構成を例示する断面図である。 FIG. 2 is a cross-sectional view illustrating the configuration of the drain hopper according to the first embodiment of the invention.

排水ホッパー1は、逃し口7、逃し口7から出る排水を受けるホッパー部8、排水本管4からホッパー部8への逆流を防止する逆止弁10で構成された排水ホッパー本体22と、排水ホッパー本体22のホッパー部8に溜まった水を排水本管4に排出するための排水継手9とが接続部13で連結された構造をとっている。排水継手9の排水枝管12は、排水ホッパー本体22との接続部13の排水枝管上流側底面17の水平部分から始まり、途中から略円弧状となり、排水継手縦管14の内部に前述した略円弧状と略同一形状の突出した形状で構成される。 The drainage hopper 1 includes a drainage hopper body 22 composed of an outlet 7, a hopper 8 that receives drainage from the outlet 7, a check valve 10 that prevents backflow from the drainage main pipe 4 to the hopper 8, A drainage joint 9 for discharging water accumulated in the hopper portion 8 of the hopper body 22 to the drainage main pipe 4 is connected by a connecting portion 13. The drainage branch pipe 12 of the drainage joint 9 starts from the horizontal part of the drainage branch pipe upstream side bottom surface 17 of the connection part 13 with the drainage hopper main body 22, becomes a substantially arc shape from the middle, and is described above in the drainage joint vertical pipe 14. It has a protruding shape that is substantially the same shape as the substantially arc shape.

排水管内部には、排水管の閉塞予防の為に、排水の流れを乱す突起物などを設けない構造が望ましく、排水継手9の排水継手縦管14の内部に突出した排水枝管の排水枝管下流側上部先端16は、接続部13の排水枝管の排水枝管上流側底面17よりも鉛直下方で、排水枝管出口18の排水枝管下流側下部先端19よりも鉛直上方に位置される様に形成することにより、出っ張り寸法を抑えている。   In order to prevent the drain pipe from clogging, it is desirable that the drain pipe has a structure that does not have protrusions or the like that disturb the drain flow. The drain branch of the drain branch that protrudes into the drain pipe vertical pipe 14 of the drain joint 9 The upper end 16 on the downstream side of the pipe is located vertically below the bottom 17 on the upstream side of the drainage branch of the drainage branch of the connecting portion 13 and vertically above the lower end 19 on the downstream side of the drainage branch at the outlet 18 of the drainage branch. By forming it like this, the protruding dimensions are suppressed.

排水本管4の下流が閉塞気味であったり、排水本管4にジャバラホースなどの排水圧損が大きな排水管が使用されている場合、キッチンのシンク3からの排水が排水継手9の下流近傍で排水が一時的に上下して逆流が発生し、この逆流した汚水が排水枝管12の接続部13の高さ位置まで上昇して排水枝管12に浸入する恐れがある。   If the drainage main pipe 4 has a closed block or a drainage pipe with a large drainage pressure loss such as a bellows hose is used for the drainage main pipe 4, the drainage from the sink 3 of the kitchen is near the downstream of the drainage joint 9. The drainage temporarily rises and falls to generate a backflow, and the backflowed sewage may rise to the height position of the connecting portion 13 of the drainage branch pipe 12 and enter the drainage branch pipe 12.

しかしながら、本構造においては、排水本管4の下流からの逆流が発生した場合、排水継手縦管14の内部に突出した排水枝管の排水枝管下流側上部先端16から略水平に発生する喫水面20と、逆止弁10との間に空気層21が形成され、排水枝管12の内部が空気で密封された状態になる。これにより、排水本管4から排水が逆流しても、排水枝管12内部には汚水が浸入せず、清潔な状態を保つことが可能となる。 However, in this structure, when a reverse flow from the downstream side of the drainage main pipe 4 occurs, a draft generated substantially horizontally from the drain branch branch downstream upper end 16 of the drainage branch pipe protruding into the drainage joint vertical pipe 14. An air layer 21 is formed between the surface 20 and the check valve 10, and the inside of the drainage branch pipe 12 is sealed with air. Thereby, even if drainage flows backward from the drainage main pipe 4, dirty water does not enter the drainage branch pipe 12, and a clean state can be maintained.

以上のように、排水継手縦管14の内部に排水枝管の排水枝管下流側上部先端16を突出させ、その排水枝管の排水枝管下流側上部先端16を接続部13の排水枝管の排水枝管上流側底面17よりも鉛直下方となる位置とすることにより、キッチンのシンク3からの排水に含まれる汚物の排水枝管12への浸入による汚水堆積やバクテリアによる生物膜生成による排水枝管の閉塞を防ぐことが可能となる。その結果、貯湯式温水器2からの膨張水などの排水が排水枝管12や逆止弁10で詰ることによる排水ホッパー本体22の開口部15からの屋内漏水を防止することが出来る。また、排水継手縦管14の内部に排水枝管の排水枝管下流側上部先端16を突出させ、その排水枝管の排水枝管下流側上部先端16を接続部13の排水枝管の排水枝管上流側底面17よりも鉛直下方となる位置としているので、排水ホッパー本体22と排水継手9との水平方向の距離、鉛直上方向の距離を抑えることができるので、排水ホッパー1全体をコンパクトにすることができる。   As described above, the drain branch branch downstream upper end tip 16 of the drain branch pipe protrudes into the drain joint vertical pipe 14, and the drain branch branch downstream upper tip 16 of the drain branch pipe is connected to the drain branch pipe of the connection portion 13. By setting the position vertically below the bottom surface 17 on the upstream side of the drainage branch pipe, wastewater accumulated by drainage from the sink 3 of the kitchen 3 into the drainage branch pipe 12 and drainage due to biofilm formation by bacteria It becomes possible to prevent the branch pipe from being blocked. As a result, it is possible to prevent indoor water leakage from the opening 15 of the drainage hopper body 22 due to clogging of drainage such as expanded water from the hot water heater 2 with the drainage branch pipe 12 or the check valve 10. Further, the drain branch branch downstream upper end 16 of the drain branch is protruded into the drain joint vertical pipe 14, and the drain branch downstream upper end 16 of the drain branch is connected to the drain branch of the drain branch of the connecting portion 13. Since the position is vertically lower than the bottom surface 17 on the upstream side of the pipe, the horizontal distance between the drain hopper body 22 and the drain joint 9 and the distance in the vertical direction can be suppressed, so the drain hopper 1 as a whole can be made compact. can do.

さらに、貯湯式温水器2内に備えられた貯湯槽を清潔に保つ為に行なわれる湯水入替を行なう際や、貯湯式温水器2内に備えられた逃し弁の作動確認を行なう際には、多量の湯水が排出されるため、排水枝管出口18の開口面積が排水枝管12の断面積よりも小さくなると圧損が大きくなり、その結果排水能力が小さくなって排水ホッパー本体22の開口部15からの屋内漏水につながる恐れがある。そのため、排水継手縦管14の内部に突出した部分(排水枝管出口18)の形状を排水枝管12の上流側の形状と略同一形状とし、排水枝管出口18の開口面積を排水枝管12の上流側の断面積とほぼ同一としている。 Furthermore, when performing hot water replacement to keep the hot water storage tank provided in the hot water heater 2 clean, or when confirming the operation of the relief valve provided in the hot water heater 2, Since a large amount of hot water is discharged, if the opening area of the drainage branch pipe outlet 18 becomes smaller than the cross-sectional area of the drainage branch pipe 12, the pressure loss increases, and as a result, the drainage capacity decreases and the opening 15 of the drainage hopper main body 22 decreases. There is a risk of leaking water indoors. Therefore, the shape of the portion (drainage branch pipe outlet 18) protruding into the drainage joint vertical pipe 14 is made substantially the same shape as the upstream side of the drainage branch pipe 12, and the opening area of the drainage branch pipe outlet 18 is set to the drainage branch pipe. 12 is substantially the same as the cross-sectional area on the upstream side.

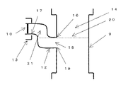
図3は、本発明の第2の実施形態に係る排水継手の構成を例示する断面図である。   FIG. 3 is a cross-sectional view illustrating the configuration of the drainage joint according to the second embodiment of the invention.

排水継手9は排水継手縦管14と排水枝管12とで構成され、排水ホッパー本体22との接続部13の排水枝管上流側底面17の水平部分から始まり、途中から略円弧状となり、排水継手縦管14と連通している。排水継手縦管14と排水継手9との合流部である排水枝管出口18の排水枝管の排水枝管下流側上部先端16は、接続部13の排水枝管の排水枝管上流側底面17よりも鉛直下方に位置される様に形成されている。 The drainage joint 9 is composed of a drainage joint vertical pipe 14 and a drainage branch pipe 12, starting from a horizontal portion of the bottom surface 17 on the upstream side of the drainage branch pipe of the connecting portion 13 with the drainage hopper body 22, and having a substantially arc shape from the middle. It communicates with the joint vertical pipe 14. The upper end 16 on the downstream side of the drainage branch pipe of the drainage branch pipe outlet 18 that is the junction of the drainage joint vertical pipe 14 and the drainage joint 9 is the bottom surface 17 on the upstream side of the drainage branch pipe of the drainage branch pipe of the connecting portion 13. It is formed so as to be positioned vertically downward.

また、排水継手縦管14は排水枝管出口18の排水枝管の排水枝管下流側上部先端16より上方の開口径Bの方が、排水枝管出口18の排水枝管の排水枝管下流側下部先端19より下方の開口径Cより小さくなっている。なお、排水継手縦管14の上端及び下端の開口径Aは同一である。 Further, the drainage joint vertical pipe 14 has an opening diameter B higher than the upper end 16 on the downstream side of the drainage branch pipe of the drainage branch pipe outlet 18 and the downstream side of the drainage branch pipe of the drainage branch pipe of the drainage branch pipe outlet 18. It is smaller than the opening diameter C below the side lower end 19. In addition, the opening diameter A of the upper end and lower end of the drainage joint vertical pipe 14 is the same.

排水管内部には、排水管の閉塞予防の為に、排水の流れを乱す突起物などを設けない構造が望ましく、このようにすることにより、製造上簡単な構造で、排水継手縦管14への突起物をなくすことが出来、且つ、排水枝管の開口面積を上流側と下流側で略同一とすることが出来、排水枝管下流側上部先端16を、排水枝管上流側底面17より鉛直下方向に位置させることが出来る。そして、本構造においては、排水本管4の下流からの逆流が発生した場合、排水枝管出口18の排水枝管の排水枝管下流側上部先端16から略水平に発生する喫水面20と、逆止弁10との間に空気層21が形成され、排水枝管12の内部が空気で密封された状態になる。これにより、排水本管4から排水が逆流しても、排水枝管12内部には汚水が浸入せず、清潔な状態を保つことが可能となる。   In order to prevent the drain pipe from clogging, it is desirable that the drain pipe has a structure that does not have protrusions that disturb the flow of drainage. , And the opening area of the drainage branch pipe can be made substantially the same on the upstream side and the downstream side, and the upper end 16 on the downstream side of the drainage branch pipe is connected to the bottom surface 17 on the upstream side of the drainage branch pipe. It can be positioned vertically downward. And in this structure, when the reverse flow from the downstream of the drain main pipe 4 occurs, the draft surface 20 generated substantially horizontally from the drain branch branch downstream upper end tip 16 of the drain branch of the drain branch outlet 18; An air layer 21 is formed between the check valve 10 and the inside of the drainage branch pipe 12 is sealed with air. Thereby, even if drainage flows backward from the drainage main pipe 4, dirty water does not enter the drainage branch pipe 12, and a clean state can be maintained.

図4は、本発明の第3の実施形態に係る排水継手の構成を例示する断面図である。   FIG. 4 is a cross-sectional view illustrating the configuration of the drainage joint according to the third embodiment of the invention.

排水継手9は排水継手縦管14と排水枝管12とで構成され、排水枝管12は、排水ホッパー本体22との接続部13の排水枝管上流側底面17の水平部分から始まり、途中から略L字形状となり、排水継手縦管14と連通している。排水継手縦管14と排水継手9との合流部である排水枝管出口18の排水枝管の排水枝管下流側上部先端16は、接続部13の排水枝管の排水枝管上流側底面17よりも鉛直下方に位置される様に形成されている。 The drainage joint 9 is composed of a drainage joint vertical pipe 14 and a drainage branch pipe 12, and the drainage branch pipe 12 starts from a horizontal portion of the bottom surface 17 of the drainage branch pipe upstream side of the connection portion 13 with the drainage hopper body 22, and from the middle It is substantially L-shaped and communicates with the drainage joint vertical pipe 14. The upper end 16 on the downstream side of the drainage branch pipe of the drainage branch pipe outlet 18 that is the junction of the drainage joint vertical pipe 14 and the drainage joint 9 is the bottom surface 17 on the upstream side of the drainage branch pipe of the drainage branch pipe of the connecting portion 13. It is formed so as to be positioned vertically downward.

排水管内部には、排水管の閉塞予防の為に、排水の流れを乱す突起物などを設けない構造が望ましく、このようにすることにより、製造上簡単な構造で、排水継手縦管14への突起物をなくすことが出来、且つ、排水枝管の開口面積を上流側と下流側で略同一とすることが出来、排水枝管下流側上部先端16を、排水枝管上流側底面17より鉛直下方向に位置させることが出来る。そして、本構造においては、排水本管4の下流からの逆流が発生した場合、排水枝管出口18の排水枝管の排水枝管下流側上部先端16から略水平に発生する喫水面20と、逆止弁10との間に空気層21が形成され、排水枝管12の内部が空気で密封された状態になる。これにより、排水本管4から排水が逆流しても、排水枝管12内部には汚水が浸入せず、清潔な状態を保つことが可能となる。   In order to prevent the drain pipe from clogging, it is desirable that the drain pipe has a structure that does not have protrusions that disturb the flow of drainage. , And the opening area of the drainage branch pipe can be made substantially the same on the upstream side and the downstream side, and the upper end 16 on the downstream side of the drainage branch pipe is connected to the bottom surface 17 on the upstream side of the drainage branch pipe. It can be positioned vertically downward. And in this structure, when the reverse flow from the downstream of the drain main pipe 4 occurs, the draft surface 20 generated substantially horizontally from the drain branch branch downstream upper end tip 16 of the drain branch of the drain branch outlet 18; An air layer 21 is formed between the check valve 10 and the inside of the drainage branch pipe 12 is sealed with air. Thereby, even if drainage flows backward from the drainage main pipe 4, dirty water does not enter the drainage branch pipe 12, and a clean state can be maintained.

1…排水ホッパー
2…貯湯式温水器
3…シンク
4…排水本管
5…排水口
6…連結管
7…逃し口
8…ホッパー部
9…排水継手
10…逆止弁
11…排水トラップ
12…排水枝管
13…接続部
14…排水継手縦管
15…開口部
16…排水枝管の排水枝管下流側上部先端
17…排水枝管の排水枝管上流側底面
18…排水枝管出口
19…排水枝管の排水枝管下流側下部先端
20…喫水面
21…空気層
22…排水ホッパー本体
DESCRIPTION OF SYMBOLS 1 ... Drainage hopper 2 ... Hot water storage water heater 3 ... Sink 4 ... Drainage main pipe 5 ... Drainage port 6 ... Connection pipe 7 ... Relief port 8 ... Hopper part 9 ... Drainage joint 10 ... Check valve 11 ... Drainage trap 12 ... Drainage Branch pipe 13 ... Connection part 14 ... Drainage joint vertical pipe 15 ... Opening part 16 ... Drainage branch pipe downstream upper part tip of drainage branch pipe 17 ... Drainage branch pipe upstream side bottom face of drainage branch pipe 18 ... Drainage branch pipe outlet 19 ... Drainage Lower end of drainage branch pipe downstream side of branch pipe 20 ... draft surface 21 ... air layer 22 ... drainage hopper body

Claims (3)

貯湯式温水器に接続される排水ホッパー本体と、排水本管に接続される排水継手縦管と、前記排水継手縦管に傾斜して設けられ、前記排水ホッパー本体に接続される排水枝管とを備えた貯湯式温水器用排水ホッパーであって、
前記排水枝管の開口面積は上流側と下流側で略同一であり、前記排水枝管は前記排水継手縦管内部へ突出しており、前記排水継手縦管内部へ突出した前記排水枝管の排水枝管下流側上部先端は、前記排水枝管の前記排水ホッパー本体との接続部である排水枝管の排水枝管上流側底面より鉛直下方向に位置するとともに、前記排水継手縦管へとつながる前記排水枝管の排水枝管下流側下部先端よりも鉛直上方向に位置し、前記接続部に逆止弁を備えたことを特徴とする貯湯式温水器用排水ホッパー。
A drainage hopper body connected to the hot water storage water heater, a drainage joint vertical pipe connected to the drainage main pipe, a drainage branch pipe provided inclined to the drainage joint vertical pipe and connected to the drainage hopper body A hot water heater drain hopper equipped with
The opening area of the drainage branch pipe is substantially the same on the upstream side and the downstream side, the drainage branch pipe projects into the drainage joint vertical pipe, and the drainage of the drainage branch pipe that projects into the drainage joint vertical pipe The upper end of the branch pipe downstream side is positioned vertically downward from the bottom surface of the drainage branch pipe upstream side of the drainage branch pipe that is the connection portion of the drainage branch pipe with the drainage hopper body, and is connected to the drainage joint vertical pipe A drainage hopper for a hot water storage hot water heater, characterized in that the drainage branch pipe is positioned vertically upward from the lower end of the drainage branch pipe on the downstream side, and a check valve is provided in the connecting portion.
貯湯式温水器に接続される排水ホッパー本体と、排水本管に接続される排水継手縦管と、前記排水継手縦管に傾斜して設けられ、前記排水ホッパー本体に接続される排水枝管とを備えた貯湯式温水器用排水ホッパーであって、
前記排水枝管の開口面積は上流側と下流側で略同一であり、前記排水枝管の排水枝管下流側上部先端は、前記排水枝管の前記排水ホッパー本体との接続部である排水枝管の排水枝管上流側底面より鉛直下方向に位置するとともに、前記排水継手縦管へとつながる前記排水枝管の排水枝管下流側下部先端よりも鉛直上方向に位置し、
前記排水継手縦管と前記排水枝管下流側上部先端とが接続する位置での前記排水継手縦管の開口径は、前記排水継手縦管と前記排水枝管下流側下部先端とが接続する位置での前記排水継手縦管の開口径より小さくなっている前記接続部に逆止弁を備えたことを特徴とする貯湯式温水器用排水ホッパー。
A drainage hopper body connected to the hot water storage water heater, a drainage joint vertical pipe connected to the drainage main pipe, a drainage branch pipe provided inclined to the drainage joint vertical pipe and connected to the drainage hopper body A hot water heater drain hopper equipped with
An opening area of the drainage branch pipe is substantially the same on the upstream side and the downstream side, and a drain branch branch downstream upper upper end of the drainage branch pipe is a connection part of the drainage branch pipe with the drainage hopper body. Located vertically downward from the bottom surface of the drainage branch pipe upstream of the pipe, and vertically above the lower end of the drainage branch pipe downstream side of the drainage branch pipe connected to the drainage joint vertical pipe,
The opening diameter of the drainage joint vertical pipe at the position where the drainage joint vertical pipe and the drainage branch pipe downstream upper end are connected is the position where the drainage joint vertical pipe and the drainage branch downstream lower end is connected. A drainage hopper for a hot water storage type hot water heater, characterized in that a check valve is provided in the connection part that is smaller than the opening diameter of the drainage joint vertical pipe in
貯湯式温水器に接続される排水ホッパー本体と、排水本管に接続される排水継手縦管と、前記排水継手縦管に略L字形状に設けられ、前記排水ホッパー本体に接続される排水枝管とを備えた貯湯式温水器用排水ホッパーであって、
前記排水枝管の開口面積は上流側と下流側で略同一であり、前記排水枝管の排水枝管下流側上部先端は、前記排水枝管の前記排水ホッパー本体との接続部である排水枝管の排水枝管上流側底面より鉛直下方向に位置し、前記接続部に逆止弁を備えたことを特徴とする貯湯式温水器用排水ホッパー。
A drainage hopper body connected to the hot water heater, a drainage joint vertical pipe connected to the drainage main pipe, and a drainage branch provided in a substantially L shape on the drainage joint vertical pipe and connected to the drainage hopper body A hot water heater drain hopper comprising a pipe,
An opening area of the drainage branch pipe is substantially the same on the upstream side and the downstream side, and a drain branch branch downstream upper upper end of the drainage branch pipe is a connection part of the drainage branch pipe with the drainage hopper body. A drainage hopper for a hot water storage hot water heater, which is positioned vertically downward from a bottom surface on the upstream side of a drainage branch pipe of the pipe and provided with a check valve at the connecting portion.
JP2010017770A 2010-01-29 2010-01-29 Drainage hopper for hot water storage water heater Active JP5463936B2 (en)

Priority Applications (1)

Application Number Priority Date Filing Date Title
JP2010017770A JP5463936B2 (en) 2010-01-29 2010-01-29 Drainage hopper for hot water storage water heater

Applications Claiming Priority (1)

Application Number Priority Date Filing Date Title
JP2010017770A JP5463936B2 (en) 2010-01-29 2010-01-29 Drainage hopper for hot water storage water heater

Publications (2)

Publication Number Publication Date
JP2011158113A true JP2011158113A (en) 2011-08-18
JP5463936B2 JP5463936B2 (en) 2014-04-09

Family

ID=44590219

Family Applications (1)

Application Number Title Priority Date Filing Date
JP2010017770A Active JP5463936B2 (en) 2010-01-29 2010-01-29 Drainage hopper for hot water storage water heater

Country Status (1)

Country Link
JP (1) JP5463936B2 (en)

Cited By (7)

* Cited by examiner, † Cited by third party
Publication number Priority date Publication date Assignee Title
JP2013148312A (en) * 2012-01-23 2013-08-01 Panasonic Corp Storage type water heater
JP2016223695A (en) * 2015-05-29 2016-12-28 丸一株式会社 Piping structure for electric water heater
JP2017129299A (en) * 2016-01-19 2017-07-27 Toto株式会社 Drain trap
JP2017150773A (en) * 2016-02-26 2017-08-31 Toto株式会社 Hot water storage type electric water heater
JP2019214913A (en) * 2018-06-14 2019-12-19 株式会社ブリヂストン Drain piping structure
CN111473516A (en) * 2020-04-16 2020-07-31 吴阳喜 Saving type water heater pipeline
JP2020148457A (en) * 2016-02-26 2020-09-17 Toto株式会社 Hot water storage type electric water heater

Citations (5)

* Cited by examiner, † Cited by third party
Publication number Priority date Publication date Assignee Title
JPH0674672U (en) * 1993-03-26 1994-10-21 東陶機器株式会社 Expansion water drainage structure of electric water heater
JPH10160259A (en) * 1996-11-29 1998-06-19 Toshiba Electric Appliance Co Ltd Expanded water discharging device for electrical hot water heater
JP2000230260A (en) * 1999-02-09 2000-08-22 Mitsubishi Plastics Ind Ltd Drainage fitting
JP2003194417A (en) * 2001-10-15 2003-07-09 Toto Ltd Drain hopper for hot water storage water heater
JP2008057251A (en) * 2006-08-31 2008-03-13 Toto Ltd Drain trap

Patent Citations (5)

* Cited by examiner, † Cited by third party
Publication number Priority date Publication date Assignee Title
JPH0674672U (en) * 1993-03-26 1994-10-21 東陶機器株式会社 Expansion water drainage structure of electric water heater
JPH10160259A (en) * 1996-11-29 1998-06-19 Toshiba Electric Appliance Co Ltd Expanded water discharging device for electrical hot water heater
JP2000230260A (en) * 1999-02-09 2000-08-22 Mitsubishi Plastics Ind Ltd Drainage fitting
JP2003194417A (en) * 2001-10-15 2003-07-09 Toto Ltd Drain hopper for hot water storage water heater
JP2008057251A (en) * 2006-08-31 2008-03-13 Toto Ltd Drain trap

Cited By (8)

* Cited by examiner, † Cited by third party
Publication number Priority date Publication date Assignee Title
JP2013148312A (en) * 2012-01-23 2013-08-01 Panasonic Corp Storage type water heater
JP2016223695A (en) * 2015-05-29 2016-12-28 丸一株式会社 Piping structure for electric water heater
JP2017129299A (en) * 2016-01-19 2017-07-27 Toto株式会社 Drain trap
JP2017150773A (en) * 2016-02-26 2017-08-31 Toto株式会社 Hot water storage type electric water heater
JP2020148457A (en) * 2016-02-26 2020-09-17 Toto株式会社 Hot water storage type electric water heater
JP2019214913A (en) * 2018-06-14 2019-12-19 株式会社ブリヂストン Drain piping structure
JP7056817B2 (en) 2018-06-14 2022-04-19 株式会社ブリヂストン Drainage piping structure
CN111473516A (en) * 2020-04-16 2020-07-31 吴阳喜 Saving type water heater pipeline

Also Published As

Publication number Publication date
JP5463936B2 (en) 2014-04-09

Similar Documents

Publication Publication Date Title
JP5463936B2 (en) Drainage hopper for hot water storage water heater
JP2010007358A (en) Drain pipe for draining device, and drain trap
JP5604169B2 (en) Siphon drainage system
JP5291404B2 (en) Siphon drainage system
JP3915069B2 (en) Drain pipe
JP5756938B2 (en) Drainage pipes and drainage traps for drainage equipment
JP7167401B2 (en) drain trap
JP2023015321A (en) Water closet
JP3721469B2 (en) Drain pipe
JP2011094359A (en) Drain trap
CN219315908U (en) Intelligent water leakage and flood overflow preventing structure of toilet
KR20160001344U (en) A house inlet comprising a screen and a screen being capable of being detachably mounted to the house inlet
TWI767994B (en) Drainage structure and siphon drainage system
JP6326578B2 (en) Drainage member
CN108755914A (en) The seperated anti-overflow unimpeded floor drain of floatation type big flow
KR20170003867U (en) multi-connecting unit
JP7160323B2 (en) drainage structure
KR101130162B1 (en) a drying drain of sink
JP2018188857A (en) Drain trap
KR20110006553A (en) Blocking device mounted on the reddu
CN201062372Y (en) Drainage impurity-filtering box for sink
CN218667811U (en) Floor drain
KR200369491Y1 (en) Trap for Washstand
JP6988038B2 (en) Drainage port member
JP2015168955A (en) Drain pipe

Legal Events

Date Code Title Description
A621 Written request for application examination

Free format text: JAPANESE INTERMEDIATE CODE: A621

Effective date: 20130111

A977 Report on retrieval

Free format text: JAPANESE INTERMEDIATE CODE: A971007

Effective date: 20131213

TRDD Decision of grant or rejection written
A01 Written decision to grant a patent or to grant a registration (utility model)

Free format text: JAPANESE INTERMEDIATE CODE: A01

Effective date: 20131224

A61 First payment of annual fees (during grant procedure)

Free format text: JAPANESE INTERMEDIATE CODE: A61

Effective date: 20140106

R150 Certificate of patent or registration of utility model

Ref document number: 5463936

Country of ref document: JP

Free format text: JAPANESE INTERMEDIATE CODE: R150

Free format text: JAPANESE INTERMEDIATE CODE: R150