JP2011116226A - Handle mounting structure of storage box - Google Patents

Handle mounting structure of storage box Download PDF

Info

Publication number
JP2011116226A
JP2011116226A JP2009275085A JP2009275085A JP2011116226A JP 2011116226 A JP2011116226 A JP 2011116226A JP 2009275085 A JP2009275085 A JP 2009275085A JP 2009275085 A JP2009275085 A JP 2009275085A JP 2011116226 A JP2011116226 A JP 2011116226A
Authority
JP
Japan
Prior art keywords
handle
bearing piece
storage box
flange portion
cover
Prior art date
Legal status (The legal status is an assumption and is not a legal conclusion. Google has not performed a legal analysis and makes no representation as to the accuracy of the status listed.)
Granted
Application number
JP2009275085A
Other languages
Japanese (ja)
Other versions
JP5426341B2 (en
Inventor
Takamasa Kubo
貴正 久保
Current Assignee (The listed assignees may be inaccurate. Google has not performed a legal analysis and makes no representation or warranty as to the accuracy of the list.)
Kasai Kogyo Co Ltd
Original Assignee
Kasai Kogyo Co Ltd
Priority date (The priority date is an assumption and is not a legal conclusion. Google has not performed a legal analysis and makes no representation as to the accuracy of the date listed.)
Filing date
Publication date
Application filed by Kasai Kogyo Co Ltd filed Critical Kasai Kogyo Co Ltd
Priority to JP2009275085A priority Critical patent/JP5426341B2/en
Publication of JP2011116226A publication Critical patent/JP2011116226A/en
Application granted granted Critical
Publication of JP5426341B2 publication Critical patent/JP5426341B2/en
Expired - Fee Related legal-status Critical Current
Anticipated expiration legal-status Critical

Links

Images

Landscapes

  • Vehicle Step Arrangements And Article Storage (AREA)

Abstract

<P>PROBLEM TO BE SOLVED: To provide a handle mounting structure of a storage box in which a rotary posture holding function at a storage position and a use position of a handle can be maintained for a long period. <P>SOLUTION: A bearing piece 3 erected on a flange portion 2 of a storage box 1 is allowed to bend and deform in the vertical direction by a clearance &delta; set between an upper surface and a cover 20. A connection shaft 11 of a handle 10 is supported by the elastic action due to the vertical bending deformation of the bearing piece 3 on the flange portion 2 and the elasticity of a cushion material 22 interposed to fill the clearance &delta; while being rotatably held by required rotational resistance. <P>COPYRIGHT: (C)2011,JPO&amp;INPIT

Description

本発明は、例えば自動車のラッゲージフロアに配設されて、車載工具類やその他の小物類の収納に便利な収納ボックスの把手取付構造に関する。   The present invention relates to a handle mounting structure for a storage box that is disposed on a luggage floor of an automobile, for example, and is convenient for storing in-vehicle tools and other accessories.

特許文献1には、自動車のラッゲージフロアに配設されて、小物類を収納する上側が開放した収納ボックスが示されている。   Patent Document 1 discloses a storage box which is disposed on a luggage floor of an automobile and whose upper side for storing small items is opened.

実開平10−129353号公報Japanese Utility Model Publication No. 10-129353

前記収納ボックスは適宜の合成樹脂材をもって型成形されており、その上側開放部の周縁には、フロアパネルの凹陥部周縁に対する収納ボックスの係着,定置と、該収納ボックスの閉蓋を兼ねたラッゲージフロアの定置に便利なようにフランジ部が形成されている。   The storage box is molded with an appropriate synthetic resin material, and at the periphery of the upper open portion, the storage box is engaged and fixed with respect to the periphery of the recessed portion of the floor panel, and the storage box is closed. A flange is formed for convenient placement of the luggage floor.

この収納ボックスは、ラッゲージルーム内,外への出し入れや、持ち運びに便利なように把手を設けることが望まれる。   This storage box is preferably provided with a handle so that it can be easily taken in and out of the luggage room and carried.

前記把手の付設形態としては、把手を前記収納ボックスの上側開放部周縁のフランジ部上に回動可能に装着し、収納ボックスをラッゲージフロアに格納する際には把手をボックスの内側に回動して折り込み、収納ボックスの出し入れ時には把手をボックス内側から回動して前記フランジ部上に起立させて、作業者が把持し易いようにすることが望ましい。   As an attachment form of the handle, the handle is rotatably mounted on the flange portion at the periphery of the upper open portion of the storage box, and when the storage box is stored on the luggage floor, the handle is rotated inside the box. It is preferable that the handle is rotated from the inside of the box and stood on the flange portion when the storage box is put in and out, so that the operator can easily hold it.

そこで、前記把手の連結部側の端部に一対の連結軸を設ける一方、収納ボックスの前記フランジ部上に逆L字状の軸受片を一体に立設し、この軸受片の弾性作用により前記連結軸をこれらフランジ部上面と軸受片とで抱持して、把手をこのフランジ部上に回動可能に軸受装着することが考えられる。   Therefore, while providing a pair of connecting shafts at the end of the handle connecting portion side, an inverted L-shaped bearing piece is erected integrally on the flange portion of the storage box, and the elastic action of the bearing piece allows the It is conceivable that the connecting shaft is held between the upper surface of the flange portion and the bearing piece, and the handle is rotatably mounted on the flange portion.

このような把手の取付構造を採用すれば、前記軸受片の弾性により把手の連結軸周りに所要の回動抵抗(摩擦抵抗)が得られて、把手をボックス内側に折り込んだ格納位置と、把手を前記フランジ部上に回動,起立させた使用位置と、にそれぞれ姿勢保持させることが可能となって良好な使用性を得ることができる。   If such a handle mounting structure is adopted, the required rotation resistance (friction resistance) can be obtained around the connecting shaft of the handle by the elasticity of the bearing piece, the storage position where the handle is folded inside the box, and the handle It is possible to maintain the posture at each of the use positions rotated and erected on the flange portion, and good usability can be obtained.

また、軸受片を逆L字状に一体に立設することで、把手の組付け時には該軸受片を径外方向に弾性変形させて、軸受片の端末とフランジ部上面との間の間隔を拡開し、この間隙から把手の連結軸を軸受片の内側にくぐり入れて、把手を前記フランジ部上に容易に組付けることも可能である。   In addition, the bearing piece is erected integrally in an inverted L shape so that when the handle is assembled, the bearing piece is elastically deformed in the radially outward direction so that the distance between the end of the bearing piece and the upper surface of the flange portion is increased. The handle can be easily assembled on the flange portion by expanding and connecting the handle connecting shaft through the gap into the bearing piece.

しかし、このような把手の取付構造では、前記軸受片が前記フランジ部上に逆L字状に立設されているために、該軸受片が経時的に径外方向に変形し易い傾向にあり、この軸受片の径外方向の変形によって、前記把手の連結軸周りの回動抵抗が減少して前記把手が自由に回動して当初の姿勢保持機能が失われる不具合を生じてしまう。   However, in such a handle mounting structure, since the bearing piece is erected in an inverted L shape on the flange portion, the bearing piece tends to be easily deformed radially outward with time. Due to the deformation of the bearing piece in the radially outward direction, the rotation resistance around the connecting shaft of the handle decreases, and the handle rotates freely, resulting in a problem that the original posture maintaining function is lost.

この把手の姿勢保持機能の低下を回避するために、前記フランジ部上面における前記把手の連結軸が摺接する部分に、不織布等のクッション材を接着して摺動抵抗を高めることも考えられる。しかし、この対応では把手を繰り返し回動しているうちにクッション材が次第に剥れて、所期する把手の姿勢保持機能を維持できなくなったり、剥れたクッション材が把手を回動する都度粘着して、不快な粘着音が生じる等の不具合を生じてしまう。   In order to avoid this lowering of the grip posture holding function, it is also conceivable to increase the sliding resistance by bonding a cushion material such as a nonwoven fabric to a portion of the upper surface of the flange portion where the connecting shaft of the handle is in sliding contact. However, in this correspondence, the cushion material gradually peels off while the handle is repeatedly rotated, and the desired posture holding function of the handle cannot be maintained, or the peeled cushion material sticks each time the handle rotates. As a result, problems such as unpleasant adhesive noise occur.

そこで、本発明は把手を収納ボックス側壁に沿って回動した格納位置と、把手を収納ボックスの上側開放部周縁のフランジ部上に回動起立させた使用位置と、の姿勢保持機能を長期に亘って維持することができて、使用性を高めることができる収納ボックスの把手取付構造を提供するものである。   Therefore, the present invention has a long-term posture maintaining function of the storage position in which the handle is rotated along the side wall of the storage box and the use position in which the handle is rotated upright on the flange portion at the periphery of the upper open portion of the storage box. It is possible to provide a handle mounting structure for a storage box that can be maintained over a long period of time and can improve usability.

本発明の収納ボックスの把手取付構造にあっては、物品を収納する上側が開放した合成樹脂製の収納ボックスと、前記収納ボックスの上側開放部周縁のフランジ部上に一体に立設された軸受片と、前記軸受片の弾性作用により、連結軸が前記フランジ部上面とこの軸受片とで抱持されて、該フランジ部上に回動可能に軸受装着された把手と、前記把手の装着部分を内包して、前記フランジ部に外嵌固定されたカバーと、を備え、前記軸受片の上面と、前記カバーとの間には、該軸受片の上下方向の撓み変形を許容する所要のクリアランスが設定され、かつ、前記クリアランスを埋めて該軸受片の上面を押えるクッション材が介装されていることを主要な特徴としている。   In the handle mounting structure of the storage box of the present invention, the synthetic resin storage box with the upper side opened for storing articles, and the bearing that is integrally installed on the flange portion at the periphery of the upper open part of the storage box And a handle in which the connecting shaft is held by the upper surface of the flange portion and the bearing piece by the elastic action of the bearing piece, and is rotatably mounted on the flange portion. And a cover that is externally fitted and fixed to the flange portion, and a required clearance that allows bending deformation in the vertical direction of the bearing piece between the upper surface of the bearing piece and the cover. Is set, and a cushioning material for interposing the clearance and pressing the upper surface of the bearing piece is interposed.

前記軸受片は、その上面とカバーとの間に設定されたクリアランスにより上下方向の撓み変形が許容されているため、把手の連結軸は前記フランジ部上でこの軸受片の上下方向の撓み変形による弾性作用と、該軸受片の上面とカバーとの間で前記クリアランスを埋めて介装されたクッション材の弾性とによって、所要の回動抵抗をもって回動可能に抱持した状態で軸受けされる。   Since the bearing piece is allowed to bend and deform in the vertical direction by the clearance set between the upper surface and the cover, the connecting shaft of the handle is caused by the bending deformation of the bearing piece in the vertical direction on the flange portion. The bearing is supported in a state of being pivotably held with a required rotational resistance by the elastic action and the elasticity of the cushion material interposed between the upper surface of the bearing piece and the cover so as to fill the clearance.

これにより、把手をボックス内,外方向に回動して折り込んだ格納位置、あるいは、把手を上方に回動して前記フランジ部の上方に起立させた使用位置の何れにあっても、把手の自重による回動方向の遊動、即ち、自由回動が阻止されて、該把手が確実に姿勢保持される。   As a result, the handle can be placed in either the storage position where the handle is turned in and out of the box, or the use position where the handle is turned up and raised above the flange portion. The free movement of the rotating direction due to its own weight, that is, the free rotation is prevented, and the handle is reliably held in the posture.

前記クッション材は、前述のように軸受片の上面とカバーとの間にあって、前記連結軸の摺接回動部分には存在していないので、該連結軸の回動によって剥離することはなく、軸受片の押え反力の機能低下が回避される。   Since the cushion material is between the upper surface of the bearing piece and the cover as described above and does not exist in the sliding contact rotation portion of the connection shaft, it does not peel off by the rotation of the connection shaft. A decrease in the function of the pressing reaction force of the bearing piece is avoided.

一方、軸受片は経時的に径外方向に変形し易い傾向にあるが、前記クッション材が前記クリアランスで弾性圧縮されることでこの軸受片の径外方向の変形が規制される。   On the other hand, the bearing piece tends to be easily deformed in the radial direction over time, but the deformation of the bearing piece in the radial direction is restricted by elastically compressing the cushion material by the clearance.

この結果、前記軸受片とクッション材との弾性作用による前記連結軸の抱持力の低下が抑制され、該連結軸周りの回動抵抗の減少に起因した把手の姿勢保持機能の低下が回避される。   As a result, a decrease in the holding force of the connecting shaft due to the elastic action of the bearing piece and the cushioning material is suppressed, and a decrease in the grip posture holding function due to a decrease in the rotational resistance around the connecting shaft is avoided. The

本発明によれば、把手の連結軸を抱持する軸受片の経時的な径外方向の変形が、該軸受片の上面とカバーとの間に設定されたクリアランスにこれを埋めて介装されたクッション材の弾性圧縮作用により規制される。   According to the present invention, the deformation in the radial direction of the bearing piece that holds the handle connecting shaft with time is embedded in the clearance set between the upper surface of the bearing piece and the cover. It is regulated by the elastic compression action of the cushion material.

この結果、軸受片とクッション材との弾性作用による前記連結軸の抱持力の低下が抑制されて、該連結軸周りの回動抵抗の減少に起因した把手の姿勢保持機能の低下が回避され、長期に亘って把手を適正に姿勢保持することができて、使用性が低下するのを回避することができる。   As a result, a decrease in the holding force of the connecting shaft due to the elastic action of the bearing piece and the cushioning material is suppressed, and a decrease in the grip posture holding function due to a decrease in the rotational resistance around the connecting shaft is avoided. The handle can be held in a proper posture over a long period of time, and the deterioration of usability can be avoided.

本発明に係る収納ボックスを示す外観斜視図。The external appearance perspective view which shows the storage box which concerns on this invention. 図1に示した収納ボックスの把手取付け部分の構造を分解して示す斜視図。The perspective view which decomposes | disassembles and shows the structure of the handle attachment part of the storage box shown in FIG. 把手の軸受装着部分を示す拡大斜視図。The expansion perspective view which shows the bearing mounting part of a handle. 図2のA−A線に沿う断面図。Sectional drawing which follows the AA line of FIG.

以下、本発明の一実施形態を自動車のラッゲージフロアに配設される収納ボックスを例に採って、図面と共に詳述する。   Hereinafter, an embodiment of the present invention will be described in detail with reference to the drawings by taking a storage box disposed on a luggage floor of an automobile as an example.

図1,2に示す収納ボックス1は、適宜の合成樹脂材をもって上側が開放した平面短形状に型成形されている。   The storage box 1 shown in FIGS. 1 and 2 is molded into a short planar shape with an upper side opened with an appropriate synthetic resin material.

この収納ボックス1は、自動車のラッゲージフロアFに形成した開口部Faに落し込んで、該開口部Faに挿脱可能に配設されるもので、前記収納ボックス1の上側開放部の周縁には、前記開口部Faの周縁に形成された図外の棚部上に係止するフランジ部2が一体に形成されている。   The storage box 1 is dropped into an opening Fa formed in the luggage floor F of the automobile and is detachably disposed in the opening Fa. The flange portion 2 is integrally formed on the shelf portion (not shown) formed on the periphery of the opening Fa.

このフランジ部2は、収納ボックス1の上側開放部周縁を補剛すると共に、前述のようにラッゲージフロアFの開口部Faの周縁の棚部上への定置係止部として機能する他、該収納ボックス1の上側開放部を閉塞するリッドFbの定置棚部としての機能を併有している。   The flange portion 2 stiffens the periphery of the upper open portion of the storage box 1 and functions as a stationary locking portion on the shelf at the periphery of the opening Fa of the luggage floor F as described above. It also has a function as a stationary shelf portion of the lid Fb that closes the upper open portion of the box 1.

前記リッドFbは、前記ラッゲージフロアFの開口部Faに配設された収納ボックス 1のフランジ部2上に落し込んだ閉蓋状態で、該ラッゲージフロアFと略面一に整合して、該ラッゲージフロアFの一部を構成する。   The lid Fb is in a closed state in which the lid Fb is dropped onto the flange portion 2 of the storage box 1 disposed in the opening Fa of the luggage floor F, and is aligned substantially flush with the luggage floor F. It constitutes a part of the floor F.

前記収納ボックス1の車幅方向両側(図1,2の左右方向両側)のフランジ部2Aには、その車両前後方向(図1,2の上下方向)の中央部分に把手配設部2Bが一段低く有段成形されている。この把手配設部2Bに、前,後一対の軸受片3が一体に立設されている。   The flange portion 2A on both sides in the vehicle width direction of the storage box 1 (both sides in the left and right direction in FIGS. 1 and 2) is provided with a handle arrangement portion 2B at the center in the vehicle longitudinal direction (up and down direction in FIGS. Low stepped molding. A pair of front and rear bearing pieces 3 are erected integrally with the handle arrangement portion 2B.

前記軸受片3は、図3,4にも示すように把手配設部2Bの内縁側から逆L字状に形成されていて、その内周には後述する把手10の連結軸11に摺接する抱持面3aが形成されている。   As shown in FIGS. 3 and 4, the bearing piece 3 is formed in an inverted L shape from the inner edge side of the handle arrangement portion 2 </ b> B, and is in sliding contact with a connecting shaft 11 of the handle 10 described later on the inner periphery thereof. A holding surface 3a is formed.

この抱持面3aは前記連結軸11の回動中心を中心とする円弧に形成されるが、本実施形態では前記抱持面3aが形成される部分が全体的に円弧状に形成されている。   The holding surface 3a is formed in an arc centering on the rotation center of the connecting shaft 11, but in this embodiment, the portion where the holding surface 3a is formed is formed in an arc shape as a whole. .

前記把手10は、適宜の合成樹脂材もしくは軽量金属材料をもって略コ字形に形成されている。   The handle 10 is formed in a substantially U shape with an appropriate synthetic resin material or light metal material.

この把手10の連結側端部には、車両前後方向に内向きに略直角に延出する前後一対の連結軸11が形成されている。   A pair of front and rear connecting shafts 11 are formed at the connecting side end of the handle 10 so as to extend inward in the vehicle front-rear direction in a substantially right angle.

前記把手10は、その連結軸11を前記軸受片3を径外方向に拡開した状態で該軸受片3の内側にくぐり入れて、前記把手配設部2B上に回動可能に抱持した状態で連結される。   The handle 10 is pivotally held on the handle arrangement portion 2B by passing the connecting shaft 11 inside the bearing piece 3 with the bearing piece 3 expanded in the radially outward direction. Connected in state.

前記把手配設部2Bには、前記把手10の装着部分を内包してカバー20が外嵌固定されている。   A cover 20 is fitted and fixed to the handle arrangement portion 2B so as to include a mounting portion of the handle 10.

前記カバー20は、適宜の合成樹脂材をもって、上面が前記フランジ部2Aと略面一に整合する高さで略コ字形断面に形成されている。   The cover 20 is formed of a suitable synthetic resin material and has a substantially U-shaped cross section with an upper surface that is substantially flush with the flange portion 2A.

前記把手配設部2Bの前記カバー20が被冠される部分の車幅方向両側縁部は、該カバー20の肉厚相当の段差をもって車幅方向に有段成形されて、車幅方向の面整合が行われるように構成されている(図4参照)。   Both side edges in the vehicle width direction of the portion where the cover 20 of the handle arrangement portion 2B is crowned are stepped in the vehicle width direction with a step corresponding to the thickness of the cover 20, and a surface in the vehicle width direction is formed. Matching is performed (see FIG. 4).

このカバー20は、前,後端部が端壁で閉止され、この閉止端には把手10の連結軸11が挿通する切欠部20aが形成されている。   The front and rear ends of the cover 20 are closed by end walls, and a notch 20a through which the connecting shaft 11 of the handle 10 is inserted is formed at the closed end.

前記カバー20は、把手配設部2Bに適宜の止着手段により着脱可能に固定される。   The cover 20 is detachably fixed to the handle arrangement portion 2B by appropriate fastening means.

例えば、本実施形態では前記把手配設部2Bに設けたボルト挿通孔2aに下面側から図外のボルトを挿通し、カバー20の内側に突設された図外のボス部にこのボルトで締結して基本的な固定が行われる。   For example, in the present embodiment, a bolt (not shown) is inserted into the bolt insertion hole 2a provided in the handle arrangement portion 2B from the lower surface side, and fastened to the boss portion (not shown) protruding from the inside of the cover 20 with this bolt. Basic fixing is done.

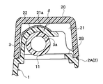
前記軸受片3の上面と、このカバー20との間には、該軸受片3の上下方向の撓み変形を許容する所要のクリアランスδが設定されている。   Between the upper surface of the bearing piece 3 and the cover 20, a required clearance δ that allows the vertical deformation of the bearing piece 3 is set.

本実施形態では、図4に示すように前記カバー20の内面における前記軸受片3に対応する部分に、カバー断面を横切るようにリブ壁21が一体に突設され、該リブ壁21の下縁に前記軸受片3の上面外形よりも僅かに大きく成形した整合縁21aを形成して、該整合縁21aと軸受片3の上面との間に前記クリアランスδが設けられている。   In the present embodiment, as shown in FIG. 4, a rib wall 21 is integrally projected at a portion corresponding to the bearing piece 3 on the inner surface of the cover 20 so as to cross the cross section of the cover. The alignment edge 21 a is formed slightly larger than the outer shape of the upper surface of the bearing piece 3, and the clearance δ is provided between the alignment edge 21 a and the upper surface of the bearing piece 3.

そして、このリブ壁21の整合縁21aと軸受片3との間に、前記クリアランスδを埋めてクッション材22が介装され、このクッション材22によって軸受片3の上面が弾性的に押えつけられている。   A cushion material 22 is interposed between the alignment edge 21a of the rib wall 21 and the bearing piece 3 so as to fill the clearance δ, and the upper surface of the bearing piece 3 is elastically pressed by the cushion material 22. ing.

クッション材22として、例えば適宜の厚みの不織布を用いることができ、この不織布を図3に示すように軸受片3の上面に両面接着テープ等の接着剤で接着して簡単に配設することが可能である。   For example, a nonwoven fabric having an appropriate thickness can be used as the cushion material 22, and the nonwoven fabric can be simply disposed by adhering to the upper surface of the bearing piece 3 with an adhesive such as a double-sided adhesive tape as shown in FIG. 3. Is possible.

以上の構成からなる本実施形態の把手取付構造によれば、前記軸受片3は、その上面とカバー20のリブ壁21との間に設定されたクリアランスδにより上下方向の撓み変形が許容される。一方、把手10の連結軸11は、前記把手配設部2B上で前記軸受片3の上下方向の撓み変形による弾性作用と、該軸受片3の上面とカバー20のリブ壁21との間で前記クリアランスδを埋めて介装されたクッション材22の弾性とによって、所要の回動抵抗をもって回動可能に抱持した状態で軸受けされる。   According to the handle mounting structure of the present embodiment having the above configuration, the bearing piece 3 is allowed to bend and deform in the vertical direction by the clearance δ set between the upper surface of the bearing piece 3 and the rib wall 21 of the cover 20. . On the other hand, the connecting shaft 11 of the handle 10 has an elastic action due to the bending deformation of the bearing piece 3 in the vertical direction on the handle arrangement portion 2B, and between the upper surface of the bearing piece 3 and the rib wall 21 of the cover 20. Bearing is carried out in a state that the cushion member 22 is embedded with the clearance δ so as to be pivotably held with a required rotational resistance.

これにより、把手10を収納ボックス1の内側に回動して折り込んだ格納位置、あるいは、把手10を上方に回動して前記把手配設部2Bの上方に起立させた使用位置の何れにあっても、把手10の自重による回動方向の遊動、即ち、自由回動が阻止され、該把手10の確実な姿勢保持が行われる。   As a result, the handle 10 is either in the storage position in which the handle 10 is turned and folded inside the storage box 1 or in the use position in which the handle 10 is turned up to stand above the handle arrangement portion 2B. However, the free movement of the handle 10 due to its own weight, that is, free rotation, is prevented, and the handle 10 is reliably held in posture.

前記クッション材22は、前述のように軸受片3の上面とカバー20のリブ壁21との間にあって、前記連結軸11の摺接回動部分には存在していないので、該連結軸11の回動によって剥離することはなく、従って、軸受片3の押え反力の機能低下が回避される。   As described above, the cushion material 22 is located between the upper surface of the bearing piece 3 and the rib wall 21 of the cover 20 and is not present in the sliding contact rotation portion of the connecting shaft 11. The peeling does not occur due to the rotation, and therefore, the function reduction of the pressing reaction force of the bearing piece 3 is avoided.

一方、軸受片3は経時的に径外方向に変形し易い傾向にあるが、前記クッション材22が前記クリアランスδで弾性圧縮されることでこの軸受片3の径外方向の変形が規制される。   On the other hand, the bearing piece 3 tends to be easily deformed in the radial direction over time, but the deformation of the bearing piece 3 in the radial direction is restricted by the elastic compression of the cushion material 22 by the clearance δ. .

この結果、前記軸受片3とクッション材22との弾性作用による前記連結軸11の抱持力の低下が抑制される。   As a result, a decrease in the holding force of the connecting shaft 11 due to the elastic action of the bearing piece 3 and the cushion material 22 is suppressed.

これにより、連結軸11周りの回動抵抗の減少に起因した把手10の姿勢保持機能の低下が回避され、長期に亘って把手10を適正に姿勢保持することができて、使用性が低下するのを回避することができる。   As a result, a decrease in the posture holding function of the handle 10 due to a decrease in the rotational resistance around the connecting shaft 11 can be avoided, the handle 10 can be held in a proper posture for a long time, and the usability is reduced. Can be avoided.

なお、前記実施形態では、カバー20の内面にリブ壁21を設けて、該リブ壁21と軸受片3との間にクリアランスδを設定しているが、仕様によってカバー20の上壁と軸受片3の上面との間にこのクリアランスδを設定することも可能である。   In the embodiment described above, the rib wall 21 is provided on the inner surface of the cover 20 and the clearance δ is set between the rib wall 21 and the bearing piece 3. It is also possible to set this clearance δ between the upper surface of the three.

また、本発明は自動車のラッゲージフロア配設用の収納ボックスに限定されることはなく、各種の物品収納ボックスに適用することが可能である。   The present invention is not limited to a storage box for arranging a luggage floor of an automobile, and can be applied to various article storage boxes.

1…収納ボックス
2,2A…フランジ部
3…軸受片
10…把手
11…連結軸
20…カバー
22…クッション材
δ…クリアランス
DESCRIPTION OF SYMBOLS 1 ... Storage box 2, 2A ... Flange part 3 ... Bearing piece 10 ... Handle 11 ... Connecting shaft 20 ... Cover 22 ... Cushion material delta ... Clearance

Claims (1)

物品を収納する上側が開放した合成樹脂製の収納ボックスと、
前記収納ボックスの上側開放部周縁のフランジ部上に一体に立設された軸受片と、
前記軸受片の弾性作用により、連結軸が前記フランジ部上面とこの軸受片とで抱持されて、該フランジ部上に回動可能に軸受装着された把手と、
前記把手の装着部分を内包して、前記フランジ部に外嵌固定されたカバーと、を備え、
前記軸受片の上面と、前記カバーとの間には、該軸受片の上下方向の撓み変形を許容する所要のクリアランスが設定され、かつ、
前記軸受片の上面とカバーとの間には、前記クリアランスを埋めて該軸受片の上面を押えるクッション材が介装されていることを特徴とする収納ボックスの把手取付構造。
A storage box made of synthetic resin with an open upper side for storing articles;
A bearing piece erected integrally on the flange portion at the periphery of the upper open portion of the storage box;
Due to the elastic action of the bearing pieces, a connecting shaft is held between the upper surface of the flange portion and the bearing pieces, and a handle is rotatably mounted on the flange portion.
A cover that includes the grip mounting portion and is externally fixed to the flange portion; and
Between the upper surface of the bearing piece and the cover, a required clearance that allows the bearing piece to bend in the vertical direction is set, and
A handle mounting structure for a storage box, wherein a cushion material is provided between the upper surface of the bearing piece and the cover so as to fill the clearance and press the upper surface of the bearing piece.
JP2009275085A 2009-12-03 2009-12-03 Storage box handle mounting structure Expired - Fee Related JP5426341B2 (en)

Priority Applications (1)

Application Number Priority Date Filing Date Title
JP2009275085A JP5426341B2 (en) 2009-12-03 2009-12-03 Storage box handle mounting structure

Applications Claiming Priority (1)

Application Number Priority Date Filing Date Title
JP2009275085A JP5426341B2 (en) 2009-12-03 2009-12-03 Storage box handle mounting structure

Publications (2)

Publication Number Publication Date
JP2011116226A true JP2011116226A (en) 2011-06-16
JP5426341B2 JP5426341B2 (en) 2014-02-26

Family

ID=44282091

Family Applications (1)

Application Number Title Priority Date Filing Date
JP2009275085A Expired - Fee Related JP5426341B2 (en) 2009-12-03 2009-12-03 Storage box handle mounting structure

Country Status (1)

Country Link
JP (1) JP5426341B2 (en)

Citations (6)

* Cited by examiner, † Cited by third party
Publication number Priority date Publication date Assignee Title
JPS5538800U (en) * 1978-09-07 1980-03-12
JP2000025770A (en) * 1999-06-22 2000-01-25 Fudo Giken Kk basket
JP2002308340A (en) * 2001-04-18 2002-10-23 Shinwa:Kk Cooler box
JP2004142393A (en) * 2002-10-28 2004-05-20 Nakabayashi Co Ltd Handle for sample book
JP2008178451A (en) * 2007-01-23 2008-08-07 Nifco Inc Handle device for carrying case
WO2009025294A1 (en) * 2007-08-21 2009-02-26 Zero-One Design Co., Ltd. Handle

Patent Citations (6)

* Cited by examiner, † Cited by third party
Publication number Priority date Publication date Assignee Title
JPS5538800U (en) * 1978-09-07 1980-03-12
JP2000025770A (en) * 1999-06-22 2000-01-25 Fudo Giken Kk basket
JP2002308340A (en) * 2001-04-18 2002-10-23 Shinwa:Kk Cooler box
JP2004142393A (en) * 2002-10-28 2004-05-20 Nakabayashi Co Ltd Handle for sample book
JP2008178451A (en) * 2007-01-23 2008-08-07 Nifco Inc Handle device for carrying case
WO2009025294A1 (en) * 2007-08-21 2009-02-26 Zero-One Design Co., Ltd. Handle

Also Published As

Publication number Publication date
JP5426341B2 (en) 2014-02-26

Similar Documents

Publication Publication Date Title
JP5465978B2 (en) Assist grip
JP5970133B2 (en) Hook device
US20100001431A1 (en) Release system for container
JPWO2012046287A1 (en) Assist grip
JP6341873B2 (en) Rotating mechanism
JP5426341B2 (en) Storage box handle mounting structure
JP4883575B2 (en) door
JP4296061B2 (en) Console Box
KR200391927Y1 (en) Lock-assembly for armrest box of automobile
JP2013023927A (en) Storage box
KR101326452B1 (en) luggage cover for the luggage room of automobile
JP3180107U (en) Assist grip with coat hook
JP2003118492A (en) Hinge structure for closing lid on trim component
JP3116109U (en) Storage case
JP4346100B2 (en) Aluminum lunch box
CN216969532U (en) Mobile phone support assembly for vehicle and vehicle
KR200401586Y1 (en) The Anchor Cover For Child Seat Of Car
TWI322772B (en) Installation structure for rotatively-opening/closing member
JP3660331B2 (en) Vanity mirror device for trunk
JP2573236Y2 (en) Compact container
JP4032789B2 (en) Cigar lighter lid structure
JP4909690B2 (en) Car deck board opening and closing structure
JPH0522449Y2 (en)
JP3825905B2 (en) Furniture key storage pocket
JP2003226197A (en) Glove box

Legal Events

Date Code Title Description
A621 Written request for application examination

Free format text: JAPANESE INTERMEDIATE CODE: A621

Effective date: 20121016

A977 Report on retrieval

Free format text: JAPANESE INTERMEDIATE CODE: A971007

Effective date: 20131113

TRDD Decision of grant or rejection written
A01 Written decision to grant a patent or to grant a registration (utility model)

Free format text: JAPANESE INTERMEDIATE CODE: A01

Effective date: 20131119

A61 First payment of annual fees (during grant procedure)

Free format text: JAPANESE INTERMEDIATE CODE: A61

Effective date: 20131128

R150 Certificate of patent or registration of utility model

Free format text: JAPANESE INTERMEDIATE CODE: R150

LAPS Cancellation because of no payment of annual fees