JP2011081932A - 加熱ヒータおよびそれを搭載した装置 - Google Patents
加熱ヒータおよびそれを搭載した装置 Download PDFInfo
- Publication number
- JP2011081932A JP2011081932A JP2009231201A JP2009231201A JP2011081932A JP 2011081932 A JP2011081932 A JP 2011081932A JP 2009231201 A JP2009231201 A JP 2009231201A JP 2009231201 A JP2009231201 A JP 2009231201A JP 2011081932 A JP2011081932 A JP 2011081932A
- Authority
- JP
- Japan
- Prior art keywords
- heater
- heating element
- soaking plate
- plate
- heat equalizing
- Prior art date
- Legal status (The legal status is an assumption and is not a legal conclusion. Google has not performed a legal analysis and makes no representation as to the accuracy of the status listed.)
- Pending
Links
- 238000002791 soaking Methods 0.000 claims abstract description 62
- 238000010438 heat treatment Methods 0.000 claims abstract description 60
- 239000012790 adhesive layer Substances 0.000 claims abstract description 17
- 238000001816 cooling Methods 0.000 claims description 37
- 229910052751 metal Inorganic materials 0.000 claims description 19
- 239000002184 metal Substances 0.000 claims description 19
- 239000000919 ceramic Substances 0.000 claims description 16
- 239000002131 composite material Substances 0.000 claims description 16
- 238000004519 manufacturing process Methods 0.000 claims description 16
- 229920001721 polyimide Polymers 0.000 claims description 13
- 239000004642 Polyimide Substances 0.000 claims description 11
- 239000004065 semiconductor Substances 0.000 claims description 11
- 239000004809 Teflon Substances 0.000 claims description 8
- 229920006362 Teflon® Polymers 0.000 claims description 8
- 238000007689 inspection Methods 0.000 claims description 7
- 230000009466 transformation Effects 0.000 abstract description 2
- 239000011888 foil Substances 0.000 description 12
- 239000000463 material Substances 0.000 description 11
- HBMJWWWQQXIZIP-UHFFFAOYSA-N silicon carbide Chemical compound [Si+]#[C-] HBMJWWWQQXIZIP-UHFFFAOYSA-N 0.000 description 9
- 229910010271 silicon carbide Inorganic materials 0.000 description 9
- XUIMIQQOPSSXEZ-UHFFFAOYSA-N Silicon Chemical compound [Si] XUIMIQQOPSSXEZ-UHFFFAOYSA-N 0.000 description 6
- 238000000034 method Methods 0.000 description 6
- 230000008569 process Effects 0.000 description 6
- 229910052710 silicon Inorganic materials 0.000 description 6
- 239000010703 silicon Substances 0.000 description 6
- 239000010949 copper Substances 0.000 description 5
- 239000010410 layer Substances 0.000 description 5
- RYGMFSIKBFXOCR-UHFFFAOYSA-N Copper Chemical compound [Cu] RYGMFSIKBFXOCR-UHFFFAOYSA-N 0.000 description 4
- PXHVJJICTQNCMI-UHFFFAOYSA-N Nickel Chemical compound [Ni] PXHVJJICTQNCMI-UHFFFAOYSA-N 0.000 description 4
- 229910052782 aluminium Inorganic materials 0.000 description 4
- XAGFODPZIPBFFR-UHFFFAOYSA-N aluminium Chemical compound [Al] XAGFODPZIPBFFR-UHFFFAOYSA-N 0.000 description 4
- 229910052802 copper Inorganic materials 0.000 description 4
- 238000009826 distribution Methods 0.000 description 4
- 230000000630 rising effect Effects 0.000 description 4
- 230000000694 effects Effects 0.000 description 3
- 238000005530 etching Methods 0.000 description 3
- 239000011521 glass Substances 0.000 description 3
- 230000007246 mechanism Effects 0.000 description 3
- 239000003507 refrigerant Substances 0.000 description 3
- 238000007650 screen-printing Methods 0.000 description 3
- 229910001220 stainless steel Inorganic materials 0.000 description 3
- 239000010935 stainless steel Substances 0.000 description 3
- 229910052581 Si3N4 Inorganic materials 0.000 description 2
- 230000008859 change Effects 0.000 description 2
- 230000000052 comparative effect Effects 0.000 description 2
- PMHQVHHXPFUNSP-UHFFFAOYSA-M copper(1+);methylsulfanylmethane;bromide Chemical compound Br[Cu].CSC PMHQVHHXPFUNSP-UHFFFAOYSA-M 0.000 description 2
- 239000003365 glass fiber Substances 0.000 description 2
- 229910001026 inconel Inorganic materials 0.000 description 2
- 239000011810 insulating material Substances 0.000 description 2
- 230000010354 integration Effects 0.000 description 2
- 238000003754 machining Methods 0.000 description 2
- 229910052759 nickel Inorganic materials 0.000 description 2
- 239000011347 resin Substances 0.000 description 2
- 229920005989 resin Polymers 0.000 description 2
- HQVNEWCFYHHQES-UHFFFAOYSA-N silicon nitride Chemical compound N12[Si]34N5[Si]62N3[Si]51N64 HQVNEWCFYHHQES-UHFFFAOYSA-N 0.000 description 2
- 239000000758 substrate Substances 0.000 description 2
- 229910000838 Al alloy Inorganic materials 0.000 description 1
- 229910000962 AlSiC Inorganic materials 0.000 description 1
- VYZAMTAEIAYCRO-UHFFFAOYSA-N Chromium Chemical compound [Cr] VYZAMTAEIAYCRO-UHFFFAOYSA-N 0.000 description 1
- ZOKXTWBITQBERF-UHFFFAOYSA-N Molybdenum Chemical compound [Mo] ZOKXTWBITQBERF-UHFFFAOYSA-N 0.000 description 1
- 229910018487 Ni—Cr Inorganic materials 0.000 description 1
- OAICVXFJPJFONN-UHFFFAOYSA-N Phosphorus Chemical compound [P] OAICVXFJPJFONN-UHFFFAOYSA-N 0.000 description 1
- 239000000853 adhesive Substances 0.000 description 1
- 230000001070 adhesive effect Effects 0.000 description 1
- 229910045601 alloy Inorganic materials 0.000 description 1
- 239000000956 alloy Substances 0.000 description 1
- 230000002528 anti-freeze Effects 0.000 description 1
- 238000005452 bending Methods 0.000 description 1
- 238000005219 brazing Methods 0.000 description 1
- VNNRSPGTAMTISX-UHFFFAOYSA-N chromium nickel Chemical compound [Cr].[Ni] VNNRSPGTAMTISX-UHFFFAOYSA-N 0.000 description 1
- 239000011248 coating agent Substances 0.000 description 1
- 238000000576 coating method Methods 0.000 description 1
- 238000013329 compounding Methods 0.000 description 1
- 239000002826 coolant Substances 0.000 description 1
- 239000000498 cooling water Substances 0.000 description 1
- 238000005336 cracking Methods 0.000 description 1
- 230000003247 decreasing effect Effects 0.000 description 1
- 238000005238 degreasing Methods 0.000 description 1
- 238000007599 discharging Methods 0.000 description 1
- 230000004927 fusion Effects 0.000 description 1
- 239000003292 glue Substances 0.000 description 1
- 230000020169 heat generation Effects 0.000 description 1
- 239000002905 metal composite material Substances 0.000 description 1
- 229910052750 molybdenum Inorganic materials 0.000 description 1
- 239000011733 molybdenum Substances 0.000 description 1
- 239000011368 organic material Substances 0.000 description 1
- 229910052698 phosphorus Inorganic materials 0.000 description 1
- 239000011574 phosphorus Substances 0.000 description 1
- 238000007747 plating Methods 0.000 description 1
- 230000009467 reduction Effects 0.000 description 1
- 238000004904 shortening Methods 0.000 description 1
- 239000002356 single layer Substances 0.000 description 1
- WFKWXMTUELFFGS-UHFFFAOYSA-N tungsten Chemical compound [W] WFKWXMTUELFFGS-UHFFFAOYSA-N 0.000 description 1
- 229910052721 tungsten Inorganic materials 0.000 description 1
- 239000010937 tungsten Substances 0.000 description 1
Images
Landscapes
- Resistance Heating (AREA)
- Container, Conveyance, Adherence, Positioning, Of Wafer (AREA)
Abstract
【課題】 昇降温特性を向上させ、高スループットを実現できる剛性の高い加熱ヒータを比較的安価に提供する。
【解決手段】本発明の加熱ヒータは、ウェハ載置面を有する第1の均熱板と、この第1の均熱板を支持する第2の均熱板と、第1の均熱板と第2の均熱板の間に抵抗発熱体を有し、この抵抗発熱体を第1の均熱板のウェハ載置面とは反対側の面に絶縁性の接着層によって一体化したことを特徴とする。このような構造とすることによって、変形や割れが発生することなく、高速昇降温させることができる加熱ヒータを提供することができる。
【選択図】 図1
【解決手段】本発明の加熱ヒータは、ウェハ載置面を有する第1の均熱板と、この第1の均熱板を支持する第2の均熱板と、第1の均熱板と第2の均熱板の間に抵抗発熱体を有し、この抵抗発熱体を第1の均熱板のウェハ載置面とは反対側の面に絶縁性の接着層によって一体化したことを特徴とする。このような構造とすることによって、変形や割れが発生することなく、高速昇降温させることができる加熱ヒータを提供することができる。
【選択図】 図1
Description
本発明は、半導体またはフラットパネルディスプレイを加熱する際に用いる加熱ヒータおよび該加熱ヒータを備えた製造装置あるいは検査装置に関する。
被加熱物を搭載して加熱処理する装置は数多く開発されており、特に被加熱物の温度分布の均一性(以下均熱性と称す)が要求される加熱処理装置として、半導体やフラットパネルディスプレイの生産において半導体基板やガラス基板などの加熱に利用される加熱ヒータが挙げられる。
これら半導体やフラットパネルディスプレイの生産では、連続操業による大量生産によって製品の低価格化が競われており、このためこれらの製造・検査装置ではタクトタイムの短縮が要求されている。1台の装置で高いスループットを得るためには、処理時間の短縮はもちろんのこと、処理条件(温度条件)の変更に伴うヒータ温度変更に要する時間(昇温時間並びに冷却時間)を短縮する必要がある。
特許文献1には、ウェハを載置して加熱制御するヒータ部と、ヒータ部に対し相対的に移動可能に設けられ、ヒータ部の裏面に当接または分離してヒータ部との合計熱容量を変えるためのブロック部を有するヒータモジュールが開示されている。加熱昇温時には、ブロック部をヒータ部から分離しておくことにより急速昇温が可能であり、また冷却時には、ブロック部をヒータ部に当接することにより急速冷却が可能となる。この結果、熱処理工程の所要時間を短縮することができる。
また、ブロック部をヒータ部から離してチャンバーの底部に接触させ、チャンバー底部へ熱を伝えることによりブロック部をすばやく冷やし、次の冷却に備えることが好ましいとされており、チャンバー底部を水冷すると更に次の冷却に備える時間を短くすることができる。当然ながらブロック部に冷媒を流せば、冷却効率はさらに向上するし、チャンバー底部に代わる冷却板を設けても同様の効果が得られる。
特許文献1において、ヒータ部は内部に発熱体を有するいわゆる埋設ヒータであるが、被加熱物の載置面とは反対側の面に発熱体を形成した加熱ヒータもある。載置面の反対側の面に発熱体を形成した加熱ヒータは、例えば渦巻き状の発熱体回路を前記載置面とは反対側の面に形成し、その上に絶縁膜をコーティングして作製される。絶縁膜は、ペースト状の絶縁材料をスクリーン印刷により、発熱体回路が形成された面全面に塗布し脱脂焼成することにより形成することができる。絶縁膜の材料としては、ヒータの材質の熱膨張曲線に近似した熱膨張曲線を有する絶縁性の材料、例えば、結晶化ガラスやグレーズガラス、耐熱性を有する有機物を用いることができる。しかし、スクリーン印刷を用いるこの加熱ヒータは、発熱体としてモリブデンやタングステン等を用いるので、製造コストが高価である。また、スクリーン印刷を用いるので、抵抗値のバラツキが大きく、一定以上の載置面の面内の均熱性を上げることができないという製造上の問題もあった。
別の加熱ヒータとして、被加熱物を載置する面とは反対側の面に、絶縁性を有するシートを介在させ、ステンレスやニッケル−クロム、インコネルなどの金属箔をエッチングして発熱体回路を形成した発熱体を配設し、その上に該発熱体の熱を拡散できるように、柔軟な絶縁シートを介在させ、例えばボルトナットで機械固定させたものがある。しかし、この形態の加熱ヒータは、絶縁性のシートとヒータ本体、発熱体と絶縁性シート等の界面が熱抵抗となるので、急速昇温、急速降温に限界があった。
近年、高スループットを実現するために、高速昇降温の要求はますます高まってきており、その為に加熱ヒータ本体の厚さを薄くすることで熱容量を下げて、昇温速度、降温速度を上げることが検討されてきた。しかし、加熱ヒータ本体の厚みを薄くすると、材質が金属では、剛性が弱くなり、所望の載置面の平面度を得ることが困難になる。また、セラミックスやセラミックスと金属の複合体は、前述のように高価であり、均熱性をよくできないという問題があった。
本発明は、上記問題点を解決するためになされたものである。すなわち、本発明は、昇降温特性を向上させ、高スループットを実現できる均熱性が高く、剛性の高い加熱ヒータを比較的安価に提供することを目的とする。また、該加熱ヒータを搭載した半導体またはフラットパネルディスプレイの製造装置あるいは検査装置を提供することを目的とする。
上記課題を解決するために、発明者らは、ウェハ載置面を有する第1の均熱板と、この第1の均熱板を支持する第2の均熱板と、第1の均熱板と第2の均熱板の間に抵抗発熱体を配置し、この抵抗発熱体を第1の均熱板のウェハ載置面とは反対側の面に絶縁性を有する接着層によって一体化した構造とすれば、変形や割れが発生することなく、高速昇降温させることができることを見出した。
抵抗発熱体を絶縁性を有する接着層によって一体化するとは、金属箔からなる抵抗発熱体を絶縁性を有する接着層(例えばポリイミド)で絶縁被覆した発熱体ユニットとし、この発熱体ユニットを第1の均熱板のウェハ載置面とは反対側の面に融着あるいは接着することである。融着とは、接着層の材料そのものを溶解させて一体化する処理を指し、接着とは、いわゆる接着剤を用いて一体化処理することを指す。また、発熱体ユニットは、複数設置することもできる。
金属箔からなる発熱体は、エッチングによって発熱体回路パターンを形成することができる。エッチングすることによって、発熱体回路パターンの線幅や線間隔の精度を高くすることができるので、抵抗値のばらつきを小さくすることができる。このため、発熱分布を所望の分布にすることが可能であり、載置面の面内の温度分布の均一性(均熱性)を向上させることができる。
前記第1の均熱板と第2の均熱板の少なくとも一方はセラミックスあるいは金属セラミックス複合体であることが好ましい。
前記接着層は、ポリイミドあるいはテフロン(登録商標)またはポリイミドとテフロン(登録商標)の複合体を主原料とすることが好ましい。
前記第2の均熱板と前記発熱体とは接着されておらず、第2の均熱板は、発熱体を介して第1の均熱板と機械的に密着していることが好ましい。機械的に密着とは、例えばネジにより固定されていることをいう。
このような加熱ヒータを備えた半導体またはフラットパネルディスプレイの製造装置あるいは検査装置は、高速昇降温を実現でき、載置面の均熱性も良いので、スループットや歩留りを高くすることができる。
本発明によれば、第1の均熱板のウェハ載置面とは反対側の面に絶縁性を有する接着層によって一体化し、これらを第2の均熱板で支持する構造とすることで、高速昇降温を実現するとともに変形の少ない被加熱物を処理する加熱ヒータを提供できる。
このような加熱ヒータを用いることによって、半導体やフラットパネルディスプレイの製造や検査工程において、例えば温度条件変更にかかる所要時間を短縮することができるので、スループットを向上させることができる。更には、製造される半導体やフラットパネルディスプレイの生産性、性能、歩留り、信頼性を向上させることができるようになる。
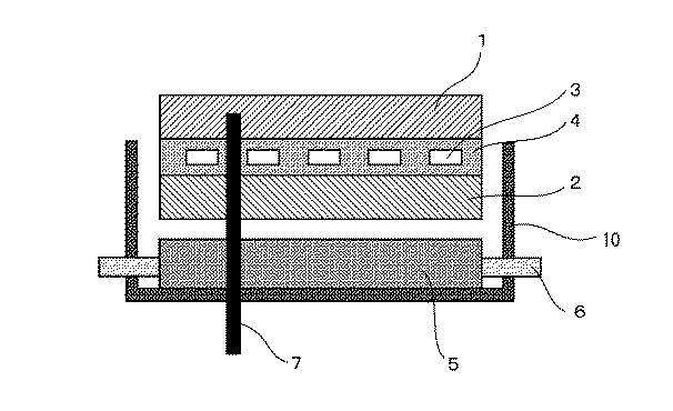
図1を参照して、本発明の加熱ヒータは、ウェハ載置面10を有する第1の均熱板1と、第1の均熱板を支持する第2の均熱板2と、第1の均熱板と第2の均熱板の間に発熱体3を有し、発熱体を第1の均熱板のウェハ載置面とは反対側の面に絶縁性を有する接着層4によって一体化した構造である。また、図2のような構造であってもよい。
第1の均熱板は、熱伝導率が高い材料を用いることにより、ウェハ載置面の均熱性を高めることができる。第2の均熱板は、剛性の高い材料を用いることにより、第1の均熱板の変形を防止することができる。
第1の均熱板と第2の均熱板の少なくとも一方は、セラミックスあるいは金属セラミックス複合材料とすることが望ましい。
セラミックスとしては、窒化アルミニウム、窒化ケイ素、炭化ケイ素などを用いることができる。また、金属セラミックス複合材料としては、シリコンと炭化ケイ素の複合体、アルミニウムと炭化ケイ素の複合体などを用いることができる。
熱伝導がよいことの観点からは、窒化アルミニウム、シリコンと炭化ケイ素の複合体、アルミニウムと炭化ケイ素の複合体が好ましい。剛性が高いことの観点からは、窒化ケイ素、炭化ケイ素、シリコンと炭化ケイ素の複合体が好ましい。
熱容量を小さくして高速昇降温を実現するためには、第1の均熱板と第2の均熱板の厚みは、薄い方がよい。しかし、第1の均熱板の厚みが薄すぎると第2の均熱板で支持しても変形してしまうので、1.0mm以上であることが好ましい。また、第2の均熱板の厚みが薄すぎると、第1の均熱板の変形を防止することが困難になるので、1.0mm以上であることが好ましい。
第1の均熱板と第2の均熱板は、ロウ付け等の接着をしておらず、図示していないが例えばネジなどによって機械的に固定しているので、温度を上げてもいわゆるバイメタル効果による変形(反り)が発生することはない。
発熱体としては、例えば、金属箔からなる発熱体をポリイミドで絶縁被覆した発熱体ユニットとし、この発熱体ユニットを第1の均熱板のウェハ載置面とは反対側の面に融着あるいは接着する。発熱体は、1層でよいが、複数層にした方が、より高速昇温が可能になり、また、ウェハ載置面の均熱性を高めることが容易になる。複数層の場合は、絶縁層であるポリイミド同士を融着あるいは接着する。このように、熱圧着することによって、絶縁層を介しての発熱体と第1の均熱板との間の熱抵抗を下げることができるので、発熱体で発生した熱を効率良く第1の均熱板に伝えることができるので、高速昇温が可能となる。
絶縁性を有する接着層としては、テフロン(登録商標)であってもよい。テフロン(登録商標)の場合は、熱膨張係数の小さなガラス繊維と複合化することにより、熱膨張係数を調整し、接着あるいは融着する金属箔や均熱板との熱膨張係数差を小さくすることが望ましい。熱膨張係数差を小さくすることにより、昇温時の反りを低減することができる。
発熱体の材質は、ステンレス、ニッケルクロム合金、インコネルなどの金属箔を用いることができる。金属箔の厚さは、10〜100μm程度が好ましい。10μm未満になると金属箔の厚みばらつきが抵抗値のばらつきに影響を及ぼしやすくなり、100μmを超えると接着層融着後の段差が大きくなりすぎ、均熱板への融着または接着が困難となる。
以上のような加熱ヒータの第2の均熱板の下側に冷却部材を設置することができる。冷却部材は、加熱時には、第2の均熱板から離しておき、冷却時に第2の均熱板に当接するように稼働機構を具備することが好ましい。冷却時に冷却部材を第2の均熱板に当接することによって、冷却速度を向上させることができる。冷却部材と第2の均熱板とが、均等に当接するように、冷却部材と第2の均熱板との間に、例えばシリコン樹脂や金属多孔体のような柔らかい介在物を設置することが望ましい。
冷却部材の材質は、アルミニウムまたは銅が好ましい。冷却部材には、冷媒流路を設けて不凍冷媒を流す構造としてもよい。なお、第2の均熱板と冷却部材には、抵抗発熱体へ給電するための配線や測温素子を通すための貫通孔を形成することが必要である。
第1の均熱板および第2の均熱板として、表1に記載の材質を用いた。表1において、AlSiCは、アルミニウムと炭化ケイ素の複合体であり、SiSiCは、シリコンと炭化ケイ素の複合体である。第1の均熱板と第2の均熱板の大きさは、共に直径330mmで厚み3mmとした。第1の均熱板と第2の均熱板は、どの材質も平面度50μm以下に仕上加工を行った。なお、材質が銅(Cu)の場合は、全面にニッケルメッキを施した。また、第2の均熱板には、測温素子と給電配線を通すための貫通孔を形成した。
厚さ50μmの第1のポリイミドフィルムに、厚さ30μmのSUS箔を熱圧着した後、SUS箔をエッチングして所定の発熱体回路とした。第1の均熱板のウェハ載置面とは反対側の面に第1のポリイミドに熱圧着された発熱体回路をポリイミドの面が当接するように載せ、発熱体のカバーとして第2のポリイミドフィルムを載せてから、真空脱気し、350℃、5MPaで加圧、加熱して熱圧着した。ポリイミドフィルムはSUS箔と熱膨張係数差が小さいものを使用した。
この発熱体が一体化された第1の均熱板と第2の均熱板とをネジで連結固定して密着させ加熱ヒータを完成させた。この加熱ヒータに通電して200℃に加熱し、昇温時間、200℃での均熱性、および200℃における平面度を測定した。その結果を表1に示す。
表1において、100℃から150℃までの昇温時間が100秒以下を○、100秒を超え、150秒以下を△、150秒を超えるものを×とした。また、均熱性はウェハ載置面全面での温度範囲が0.5℃以下を○、0.5℃を超え、1℃以下を△、1℃を超えるものを×とした。更に、ウェハ載置面の平面度は、50μm以下を○、50μmを超え100μm以下を△、100μmを超えるものを×とした。
また、比較のために接着層(ポリイミド)を第1の均熱板に熱圧着しないで、第2の均熱板との間に挟んだだけでネジ固定したものも作成し、同様の評価をした。その結果も表1にNo.37とNo.38として示す。
表1から、第1の均熱板と発熱体が接着層によって一体化されていれば、昇温特性と均熱性に優れることが判る。また、第1の均熱板と第2の均熱板にうち、どちらか片方がセラミックスあるいは金属セラミックス複合体である場合と両方ともセラミックスあるいは金属セラミックス複合体である場合には、昇温特性、均熱性、平面度の全てにおいて優れた特性を示すことが判る。
第1の均熱板と第2の均熱板の両方が金属の場合は、発熱体と第1の均熱板とが一体化されていない場合に比べれば、均熱性と昇温特性に優れるが、どちらか一方がセラミックスあるいは金属セラミックス複合体の場合に比べて、均熱性と平面度特性に劣ることが判る。第1と第2の均熱板の両方が金属の場合は、剛性が低いので、平面度を維持できないものと思われる。平面度が維持できない影響で均熱性も悪くなるものと推測される。
接着層を厚さ50μmのテフロン(登録商標)にしたこと以外は、実施例1と同様の加熱ヒータを作成し、実施例1と同様に評価した。その結果を表2に示す。なお、テフロン(登録商標)にはガラス繊維を複合して、SUS箔と熱膨張係数を合わせた。
表2から判るように、接着層の材質をテフロン(登録商標)に変えても、ポリイミドの場合と同様の結果であることを確認した。
図3に示す製造装置を作製するため、先ずアルミニウム合金板を用いて冷却部材5を作製した。この冷却部材5には、給電配線、測温素子等を挿通するための貫通孔を機械加工により形成した。更に、第2の均熱板と接触する側の面の平面度が200μmとなるように機械加工を施した。また、第2の均熱板との当接面には、部分接触することなく全面にわたって均一に接触するように、厚さ0.5mmの軟性シリコンシートを設けた。
更に、冷媒を流すことができる流路として外径6mm、内径4mmのリン脱酸銅パイプを曲げ加工して形成した。一方、冷却部材5において、第2の均熱板と接触する面とは反対側の面にザグリ部を設け、ここに上記銅パイプ6をはめ込み、できた隙間には熱伝導性樹脂を埋め込んで、効率良く熱伝達できるようにした。流路の両端には冷却水を供給、排出するための入口及び出口を形成した。流路を支える止め板をネジ止めにより固定し、内部に流路を有する冷却部材5を完成させた。この冷却部材5は、図示しない昇降機構によって上下可動となっており、第2の均熱板2に当接、分離することができる。
次に、容器10をステンレスから作製した。容器10の内面高さ30mm、内径337mm、厚さ1.5mmとし、底板は厚さ3mmとした。なお、底板には給電配線、測温素子、及び容器に対して加熱ヒータを支持する支持ロッドの締結のための開口を設けた。この容器10の支持ロッドに実施例1及び実施例2で作製した各加熱ヒータを取り付け、冷却部材5を昇降機構に組み付けて製造装置とした。各製造装置において、200℃に昇温安定状態にある加熱ヒータに冷却部材を押し当てて急速冷却させ、150℃での平面度変化と冷却速度を測定した。その結果を表3と表4に示す。表3及び表4において、ウェハ載置面の平面度は、50μm以下を○、50μmを超え100μm以下を△、100μmを超えるものを×とした。また、冷却速度は、150℃から100℃までの冷却時間が50秒以下を○、50秒を超えるものを×とした。
本発明によれば、第1の均熱板のウェハ載置面とは反対側の面に絶縁性の接着層によって発熱体が一体化されており、これらを第2の均熱板で支持する構造とすることで、高速昇降温を実現するとともに変形の少ない被加熱物を処理する加熱ヒータを提供できる。
このような加熱ヒータを用いることによって、半導体やフラットパネルディスプレイの製造や検査工程において、例えば温度条件変更にかかる所要時間を短縮することができるので、スループットを向上させることができる。更には、製造される半導体やフラットパネルディスプレイの生産性、性能、歩留り、信頼性を向上させることができるようになる。
1 第1の均熱板
2 第2の均熱板
3 発熱体
4 接着層
5 冷却部材
6 パイプ
7 測温素子
10 容器
2 第2の均熱板
3 発熱体
4 接着層
5 冷却部材
6 パイプ
7 測温素子
10 容器
Claims (5)
- ウェハ載置面を有する第1の均熱板と、該第1の均熱板を支持する第2の均熱板と、前記第1の均熱板と第2の均熱板の間に抵抗発熱体を有し、該抵抗発熱体は、前記第1の均熱板のウェハ載置面とは反対側の面に絶縁性を有する接着層によって一体化されていることを特徴とする加熱ヒータ。
- 前記第1の均熱板と前記第2の均熱板の少なくともいずれか一方がセラミックスまたは金属セラミックス複合体からなることを特徴とする請求項1に記載の加熱ヒータ。
- 前記接着層は、ポリイミドあるいはテフロン(登録商標)またはそれらの複合体を主原料とすることを特徴とする請求項1又は2に記載の加熱ヒータ。
- 前記第2の均熱板は、前記抵抗発熱体を介して前記第1の均熱板と機械的に密着していることを特徴とする請求項1〜3のいずれか1項に記載の加熱ヒータ。
- 請求項1〜4のいずれか1項に記載の加熱ヒータと、可動式冷却部材とを備えた半導体またはフラットパネルディスプレイの製造装置または検査装置。
Priority Applications (1)
| Application Number | Priority Date | Filing Date | Title |
|---|---|---|---|
| JP2009231201A JP2011081932A (ja) | 2009-10-05 | 2009-10-05 | 加熱ヒータおよびそれを搭載した装置 |
Applications Claiming Priority (1)
| Application Number | Priority Date | Filing Date | Title |
|---|---|---|---|
| JP2009231201A JP2011081932A (ja) | 2009-10-05 | 2009-10-05 | 加熱ヒータおよびそれを搭載した装置 |
Publications (1)
| Publication Number | Publication Date |
|---|---|
| JP2011081932A true JP2011081932A (ja) | 2011-04-21 |
Family
ID=44075803
Family Applications (1)
| Application Number | Title | Priority Date | Filing Date |
|---|---|---|---|
| JP2009231201A Pending JP2011081932A (ja) | 2009-10-05 | 2009-10-05 | 加熱ヒータおよびそれを搭載した装置 |
Country Status (1)
| Country | Link |
|---|---|
| JP (1) | JP2011081932A (ja) |
Cited By (4)
| Publication number | Priority date | Publication date | Assignee | Title |
|---|---|---|---|---|
| KR20160039536A (ko) * | 2014-10-01 | 2016-04-11 | 니혼도꾸슈도교 가부시키가이샤 | 반도체 제조장치용 부품 및 그 제조방법 |
| JP2020068219A (ja) * | 2018-10-22 | 2020-04-30 | 日本特殊陶業株式会社 | 保持装置 |
| WO2021015059A1 (ja) * | 2019-07-25 | 2021-01-28 | Agc株式会社 | 積層部材 |
| CN114423102A (zh) * | 2021-12-31 | 2022-04-29 | 中山科邦化工材料技术有限公司 | 一种一体化加热板及其制造方法 |
Citations (5)
| Publication number | Priority date | Publication date | Assignee | Title |
|---|---|---|---|---|
| JP2001126851A (ja) * | 1999-10-26 | 2001-05-11 | Keihin Sokki Kk | 半導体ウエハーにおけるヒータ装置およびその製造方法 |
| JP2005277074A (ja) * | 2004-03-24 | 2005-10-06 | Kyocera Corp | ウェハ支持部材とその製造方法 |
| JP2006140367A (ja) * | 2004-11-15 | 2006-06-01 | Sumitomo Electric Ind Ltd | 半導体製造装置用加熱体およびこれを搭載した加熱装置 |
| JP2007250313A (ja) * | 2006-03-15 | 2007-09-27 | Sumitomo Electric Ind Ltd | 半導体、フラットディスプレイパネル製造検査用ヒータユニット及びそれを備えた装置 |
| JP2009170739A (ja) * | 2008-01-18 | 2009-07-30 | Komatsu Ltd | 基板温度制御装置用ステージ |
-
2009
- 2009-10-05 JP JP2009231201A patent/JP2011081932A/ja active Pending
Patent Citations (5)
| Publication number | Priority date | Publication date | Assignee | Title |
|---|---|---|---|---|
| JP2001126851A (ja) * | 1999-10-26 | 2001-05-11 | Keihin Sokki Kk | 半導体ウエハーにおけるヒータ装置およびその製造方法 |
| JP2005277074A (ja) * | 2004-03-24 | 2005-10-06 | Kyocera Corp | ウェハ支持部材とその製造方法 |
| JP2006140367A (ja) * | 2004-11-15 | 2006-06-01 | Sumitomo Electric Ind Ltd | 半導体製造装置用加熱体およびこれを搭載した加熱装置 |
| JP2007250313A (ja) * | 2006-03-15 | 2007-09-27 | Sumitomo Electric Ind Ltd | 半導体、フラットディスプレイパネル製造検査用ヒータユニット及びそれを備えた装置 |
| JP2009170739A (ja) * | 2008-01-18 | 2009-07-30 | Komatsu Ltd | 基板温度制御装置用ステージ |
Cited By (9)
| Publication number | Priority date | Publication date | Assignee | Title |
|---|---|---|---|---|
| KR20160039536A (ko) * | 2014-10-01 | 2016-04-11 | 니혼도꾸슈도교 가부시키가이샤 | 반도체 제조장치용 부품 및 그 제조방법 |
| JP2020068219A (ja) * | 2018-10-22 | 2020-04-30 | 日本特殊陶業株式会社 | 保持装置 |
| JP2021106280A (ja) * | 2018-10-22 | 2021-07-26 | 日本特殊陶業株式会社 | 保持装置 |
| JP7090195B2 (ja) | 2018-10-22 | 2022-06-23 | 日本特殊陶業株式会社 | 保持装置 |
| WO2021015059A1 (ja) * | 2019-07-25 | 2021-01-28 | Agc株式会社 | 積層部材 |
| CN114126859A (zh) * | 2019-07-25 | 2022-03-01 | Agc株式会社 | 层叠构件 |
| CN114126859B (zh) * | 2019-07-25 | 2023-10-20 | Agc株式会社 | 层叠构件 |
| JP7537434B2 (ja) | 2019-07-25 | 2024-08-21 | Agc株式会社 | 積層部材 |
| CN114423102A (zh) * | 2021-12-31 | 2022-04-29 | 中山科邦化工材料技术有限公司 | 一种一体化加热板及其制造方法 |
Similar Documents
| Publication | Publication Date | Title |
|---|---|---|
| JP5447123B2 (ja) | ヒータユニット及びそれを備えた装置 | |
| JP4497103B2 (ja) | ウェハ保持体およびそれを搭載したヒータユニット、ウェハプローバ | |
| JP6172301B2 (ja) | 静電チャック装置 | |
| US20110139399A1 (en) | Heater unit, heating and cooling device, and apparatus comprising same | |
| JP4893543B2 (ja) | ウエハ保持体及びそれを搭載した半導体製造装置 | |
| JP5381878B2 (ja) | ウェハ加熱用ヒータユニットおよびそれを搭載した半導体製造装置 | |
| JP2018006737A (ja) | 保持装置および保持装置の製造方法 | |
| JP6060889B2 (ja) | ウエハ加熱用ヒータユニット | |
| JP5504924B2 (ja) | 静電チャック装置 | |
| US7425838B2 (en) | Body for keeping a wafer and wafer prober using the same | |
| JP2011081932A (ja) | 加熱ヒータおよびそれを搭載した装置 | |
| JP2008066295A (ja) | 発熱体回路パターン、それを搭載したサセプタ及び半導体製造装置 | |
| JP2013004810A (ja) | ウエハ加熱用ヒータ | |
| JP5605265B2 (ja) | 半導体製造装置用ヒータユニット | |
| JP2013123053A (ja) | 加熱冷却デバイスおよびそれを搭載した装置 | |
| US20060157472A1 (en) | Metal heater | |
| JP4525571B2 (ja) | ウェハ保持体およびそれを搭載したヒータユニット、ウェハプローバ | |
| JP2005340043A (ja) | 加熱装置 | |
| JP2010277809A (ja) | 加熱ヒータおよびそれを備えた装置 | |
| JP2007042958A (ja) | ウェハプローバ用ウェハ保持体およびそれを搭載したウェハプローバ | |
| JP6558184B2 (ja) | 静電チャック装置 | |
| JP5381879B2 (ja) | ウェハ加熱用ヒータユニットおよびそれを搭載した半導体製造装置 | |
| JP5338720B2 (ja) | 加熱ヒータおよびそれを搭載した装置 | |
| JP2017212154A (ja) | ヒータユニット | |
| JP2010170815A (ja) | 加熱冷却ユニット |
Legal Events
| Date | Code | Title | Description |
|---|---|---|---|
| A621 | Written request for application examination |
Free format text: JAPANESE INTERMEDIATE CODE: A621 Effective date: 20121003 |
|
| A977 | Report on retrieval |
Free format text: JAPANESE INTERMEDIATE CODE: A971007 Effective date: 20131004 |
|
| A131 | Notification of reasons for refusal |
Free format text: JAPANESE INTERMEDIATE CODE: A131 Effective date: 20131008 |
|
| A02 | Decision of refusal |
Free format text: JAPANESE INTERMEDIATE CODE: A02 Effective date: 20140225 |
