JP2011019383A - モータ - Google Patents

モータ Download PDF

Info

Publication number
JP2011019383A
JP2011019383A JP2009285587A JP2009285587A JP2011019383A JP 2011019383 A JP2011019383 A JP 2011019383A JP 2009285587 A JP2009285587 A JP 2009285587A JP 2009285587 A JP2009285587 A JP 2009285587A JP 2011019383 A JP2011019383 A JP 2011019383A
Authority
JP
Japan
Prior art keywords
hub
stator
rotor
motor
rotating body
Prior art date
Legal status (The legal status is an assumption and is not a legal conclusion. Google has not performed a legal analysis and makes no representation as to the accuracy of the status listed.)
Granted
Application number
JP2009285587A
Other languages
English (en)
Other versions
JP5048047B2 (ja
Inventor
Viatcheslav Smirnov
スミルノフ ヴィアチェスラフ
Yeol Choi
チェ ヨル
Young-Sun Yoo
ユ ヨンスン
Current Assignee (The listed assignees may be inaccurate. Google has not performed a legal analysis and makes no representation or warranty as to the accuracy of the list.)
Samsung Electro Mechanics Co Ltd
Original Assignee
Samsung Electro Mechanics Co Ltd
Priority date (The priority date is an assumption and is not a legal conclusion. Google has not performed a legal analysis and makes no representation as to the accuracy of the date listed.)
Filing date
Publication date
Application filed by Samsung Electro Mechanics Co Ltd filed Critical Samsung Electro Mechanics Co Ltd
Publication of JP2011019383A publication Critical patent/JP2011019383A/ja
Application granted granted Critical
Publication of JP5048047B2 publication Critical patent/JP5048047B2/ja
Expired - Fee Related legal-status Critical Current
Anticipated expiration legal-status Critical

Links

Images

Classifications

    • HELECTRICITY
    • H02GENERATION; CONVERSION OR DISTRIBUTION OF ELECTRIC POWER
    • H02KDYNAMO-ELECTRIC MACHINES
    • H02K1/00Details of the magnetic circuit
    • H02K1/06Details of the magnetic circuit characterised by the shape, form or construction
    • H02K1/22Rotating parts of the magnetic circuit
    • H02K1/28Means for mounting or fastening rotating magnetic parts on to, or to, the rotor structures
    • H02K1/30Means for mounting or fastening rotating magnetic parts on to, or to, the rotor structures using intermediate parts, e.g. spiders
    • HELECTRICITY
    • H02GENERATION; CONVERSION OR DISTRIBUTION OF ELECTRIC POWER
    • H02KDYNAMO-ELECTRIC MACHINES
    • H02K5/00Casings; Enclosures; Supports
    • H02K5/04Casings or enclosures characterised by the shape, form or construction thereof
    • H02K5/16Means for supporting bearings, e.g. insulating supports or means for fitting bearings in the bearing-shields
    • GPHYSICS
    • G11INFORMATION STORAGE
    • G11BINFORMATION STORAGE BASED ON RELATIVE MOVEMENT BETWEEN RECORD CARRIER AND TRANSDUCER
    • G11B19/00Driving, starting, stopping record carriers not specifically of filamentary or web form, or of supports therefor; Control thereof; Control of operating function ; Driving both disc and head
    • G11B19/20Driving; Starting; Stopping; Control thereof
    • G11B19/2009Turntables, hubs and motors for disk drives; Mounting of motors in the drive
    • HELECTRICITY
    • H02GENERATION; CONVERSION OR DISTRIBUTION OF ELECTRIC POWER
    • H02KDYNAMO-ELECTRIC MACHINES
    • H02K5/00Casings; Enclosures; Supports
    • H02K5/24Casings; Enclosures; Supports specially adapted for suppression or reduction of noise or vibrations

Landscapes

  • Engineering & Computer Science (AREA)
  • Power Engineering (AREA)
  • Motor Or Generator Frames (AREA)
  • Iron Core Of Rotating Electric Machines (AREA)

Abstract

【課題】回転軸と回転体との結合強度が向上され、回転時にロータの安定性が確保されたモータを提供する。
【解決手段】本発明によるモータは、ステータ及びステータに支持されて回転するロータを含むモータにおいて、ロータは、ステータに回転可能に支持される回転軸30と、回転軸30と一体に回転する回転体10と、回転軸30と回転体10との間に介在するリング状のボディを備え、該ボディに、回転体10と結合するボディの外周面を延長した突出部22が備えられたハブ20と、を含むことを特徴とする。突出部22はステータに向かって突出していてよく、回転体10は、突出部22を支持する支持段差部を含むことができ、ハブ20は、回転軸30と結合する楔部24をさらに含むことができる。
【選択図】図1

Description

本発明はモータに関する。
一般的にスピンドルモータ(Spindle motor)はコンピュータ用ドライブなどの、精密な回転装置を必要とする電子製品に広く採用されている。スピンドルモータは、小型でありながら高速回転が可能であり、精密制御が容易であり、電力消費が少ないなどの様々な長所があり、今後その使用が増えることが見込まれている。
このようなスピンドルモータは、回転するロータ(rotor)と、ロータの回転運動を支持するステータ(stator)と、を含むように形成されている。そして、ロータは、一般的に回転軸と、回転軸と結合している回転体と、で形成されている。
しかし、モータのスリム化の傾向に伴って、回転軸と回転体が結合される領域が小さくなり、これによって回転時にロータの安定性が低下するという問題が発生している。すなわち、モータのスリム化により、回転体と結合する回転軸が短くなり、回転体を支持する回転軸の面積が減少する。このため、回転体と回転軸の結合強度が低下して回転の際に発生する振動に対する抵抗力が弱まり、回転時のロータの安定性が低下することになる。
こうした従来技術の問題点に鑑み、本発明は、ロータの回転時に安定性の確保されたモータを提供することを目的とする。
本発明の一実施態様によれば、ステータ及びステータに支持されて回転するロータを含むモータにおいて、ロータは、ステータに回転可能に支持される回転軸と、回転軸と一体に回転する回転体と、回転軸と回転体との間に介在するリング状のボディを備え、該ボディに、回転体と結合するボディの外周面を延長した突出部が備えられたハブと、を含むことを特徴とするモータが提供される。
突出部は、ステータに向かって突出していてよい。
回転体は、突出部を支持する支持段差部を含むことができる。
ハブは、回転軸と結合する楔部をさらに含むことができる。
楔部はハブの内縁の部分に形成され、回転軸は楔部に対応して楔状に凹んだ結合段差部を含むことができる。
ハブのステータに向かう面には流体溝が形成されていてよい。
流体溝は、外径側に向かって傾斜させることができる。
流体溝は、外径側に傾斜した辺を含む三角形の断面を有することができる。
本発明によれば、回転軸と回転体との結合強度が向上して、ロータの回転時に安定性を確保することができる。また、モータのオイルの飛散を防止し、空気抵抗を低減することができる。
なお、上記の発明の概要は、本発明の必要な特徴の全てを列挙したものではない。また、これらの特徴群のサブコンビネーションもまた、発明となり得る。
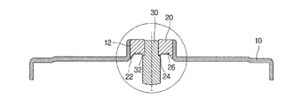
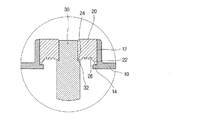
本発明の一実施例によるモータを示す断面図である。 本発明の一実施例によるモータのロータを示す断面図である。 本発明の一実施例によるモータのハブを示す断面図である。 本発明の一実施例によるモータのハブを示す断面図である。 本発明の一実施例によるモータのハブを示す断面図である。 本発明の一実施例によるモータのハブを示す断面図である。 本発明の一実施例によるモータのハブを示す断面図である。
本発明は、多様な変更を加えることができ、様々な実施例を有することができるが、本明細書では特定の実施例を図面に例示し、詳細に説明する。しかし、これは本発明を特定の実施例に限定するものではなく、本発明は、本発明の思想及び技術範囲に含まれるあらゆる変更、均等物及び代替物を含むものとして理解されるべきである。本発明を説明するに当たって、関係する公知技術についての具体的な説明が本発明の要旨をかえって不明瞭にすると判断される場合は、その詳細な説明を省略する。
以下に、本発明の実施例を添付図面に基づいて詳細に説明する。
図1は、本発明の一実施例によるモータを示す断面図であり、図2は、本発明の一実施例によるモータのロータを示す断面図である。
本発明の一実施例によるモータは、回転軸30、回転体10、及びハブ20を含むロータと、ロータを回転可能に支持するステータ40と、を含んでいる。
一般的にモータは、ロータと、ロータの回転運動を支持するステータとを含むように形成されている。具体的には、ロータとしてはシャフト、ロータケースなどの形態のものがあり、ステータとしてはシャフトを回転可能に支持するハウジング、電磁石などの形態のものがある。
本発明の一実施例によるモータは、図1に示すように、回転軸30、ロータケース、及びハブ20を含んでいる。
回転軸30はロータの回転の中心軸であって、ロータの回転時にロータ全体を支える部分である。このために、回転軸30はステータ40に回転可能に支持されている。
本実施例の回転軸30は、一部分がステータ40のハウジング42に挿入されて支持されている。そして、回転軸30とハウジング42との間にはベアリング44が介在し回転軸30の回転を可能としている。
回転体10は、回転軸30と一体になって、回転軸30と共に回転する部分である。このために、後述するハブ20との結合により回転軸30に連結されている。
本実施例の回転体10はロータケースであって、中央部にはハブ20と結合できるように貫通孔12が形成されている。
ハブ20は回転軸30と回転体10とを一体化させる部分であって、回転軸30と回転体10との間に介在しているリング状のボディを備えている。ここで、ハブ20は、回転軸30に結合する部分だけ厚く形成でき、それによって、回転軸30と強固に結合するように回転軸30との結合領域の大きさを広くする役割を果たすことができる。
特に、本実施例におけるハブ20は、ハブ20と回転体10との結合強度を高めるために、回転体10と結合するボディの外周面を延長した突出部22を備えている。すなわち、ハブ20の外周に沿って、回転体10と結合するハブ20の外周面の面積を拡大する突出部22が形成されている。
これにより、回転軸30と回転体10とを、直接結合する場合に比較して、高い結合強度で結合することができる。したがって、ロータの回転時に振動に対する抵抗力が強化されてロータの回転安定性が向上する。
ここで、突出部22はステータ40に向かって突出しているため、スリム化されたモータでもハブ20と回転体10との結合領域を最大限に確保することができる。
また、ハブ20と回転体10との結合強度をさらに高めるために、図3に示すように、突出部22を支持する支持段差部14を回転体10に形成可能である。
また、ハブ20と回転軸30との結合をさらに強固にするために、ハブ20は回転軸30と結合する楔部24をさらに含むことができる。具体的には、本実施例の楔部24は、回転軸30と結合するハブ20の内縁の部分に形成されている。そして、回転軸30には、楔部24が結合されるように、楔部24に対応して楔状に凹んだ結合段差部32が形成されている。
一方、ハブ20には、ロータの回転の際の空気抵抗の低減や、オイル飛散の防止のために、ステータ40に面する面に流体溝26を形成可能である。
図4から図7は、本発明の実施例によるハブ20における流体溝26を示す断面図である。
ロータが高速回転するほど回転体10は空気抵抗を大きく受ける。特に、回転体10の表面で空気流の剥離が発生すると、回転体10の空気抵抗が大きく増加してロータの振動が激しくなる。このような空気流の剥離現象を防止するために、図4に示すように、ハブ20に流体溝26を多数形成して小さな乱流を発生させる。流体溝26によって発生した小さな乱流によって、空気流動が円滑になり、回転体10の表面で空気流動の剥離現象が発生するのが抑制される。このとき、図4及び図5に示すように、流体溝26の幅と深さはモータの作動回転数及び回転体10の直径などの設計仕様に応じて多様に変えることができる。
また、流体溝26はオイルの飛散を防止する役割も果たす。この場合には、図6に示すように、流体溝26を外径側に向かって傾斜するように形成することができる。具体的には、本実施例のハブ20における流体溝26は、外径側に傾斜した辺を含む三角形の断面を有している。
これにより、ロータの回転時に、遠心力により回転中心から外側に移動していくオイルが、傾斜した流体溝26に流入し、運動エネルギーを失って落ち込む。したがって、ロータの回転時に、オイルが回転体10の外部に流出され飛散されることを防止できる。このとき、図7に示すように、流体溝26の内径側端だけでなく、外径側端も傾斜するように形成することで、オイル飛散の防止効果をより向上させることができる。
以上、本発明を実施例を用いて説明したが、本発明の技術的範囲は上記の実施例の記載の範囲には限定されない。上記実施例に、多様な変更または改良を加えることが可能であることが当業者に明らかである。その様な変更または改良を加えた形態も本発明の技術的範囲に含まれ得ることが、特許請求の範囲の記載から明らかである。
10 回転体
14 支持段差部
20 ハブ
22 突出部
24 楔部
26 流体溝
30 回転軸
32 結合段差部
40 ステータ
42 ハウジング
44 ベアリング

Claims (8)

  1. ステータ及び前記ステータに支持されて回転するロータを含むモータにおいて、
    前記ロータは、
    前記ステータに回転可能に支持される回転軸と、
    前記回転軸と一体に回転する回転体と、
    前記回転軸と前記回転体との間に介在するリング状のボディを備え、該ボディに、前記回転体と結合する前記ボディの外周面を延長した突出部が備えられているハブと、
    を含むことを特徴とするモータ。
  2. 前記突出部は、前記ステータに向かって突出していることを特徴とする請求項1に記載のモータ。
  3. 前記回転体は、前記突出部を支持する支持段差部を含むことを特徴とする請求項1または2に記載のモータ。
  4. 前記ハブは、前記回転軸と結合する楔部をさらに含むことを特徴とする請求項1から3の何れか1項に記載のモータ。
  5. 前記楔部は、前記ハブの内縁の部分に形成されており、
    前記回転軸は前記楔部に対応して楔状に凹んだ結合段差部を含むことを特徴とする請求項4に記載のモータ。
  6. 前記ハブには、前記ステータに面して流体溝が形成されていることを特徴とする請求項1から5の何れか1項に記載のモータ。
  7. 前記流体溝は、外径側に向かって傾斜していることを特徴とする請求項6に記載のモータ。
  8. 前記流体溝は、外径側に傾斜した辺を含む三角形の断面を有することを特徴とする請求項7に記載のモータ。
JP2009285587A 2009-07-10 2009-12-16 モータ Expired - Fee Related JP5048047B2 (ja)

Applications Claiming Priority (2)

Application Number Priority Date Filing Date Title
KR10-2009-0063088 2009-07-10
KR1020090063088A KR101039851B1 (ko) 2009-07-10 2009-07-10 모터

Publications (2)

Publication Number Publication Date
JP2011019383A true JP2011019383A (ja) 2011-01-27
JP5048047B2 JP5048047B2 (ja) 2012-10-17

Family

ID=43426927

Family Applications (1)

Application Number Title Priority Date Filing Date
JP2009285587A Expired - Fee Related JP5048047B2 (ja) 2009-07-10 2009-12-16 モータ

Country Status (3)

Country Link
US (1) US7932654B2 (ja)
JP (1) JP5048047B2 (ja)
KR (1) KR101039851B1 (ja)

Cited By (2)

* Cited by examiner, † Cited by third party
Publication number Priority date Publication date Assignee Title
JP2012254000A (ja) * 2011-06-03 2012-12-20 Samsung Electro-Mechanics Co Ltd スピンドルモータ
WO2016084354A1 (ja) * 2014-11-27 2016-06-02 パナソニックIpマネジメント株式会社 電動機と電動機を備える冷凍機器

Families Citing this family (2)

* Cited by examiner, † Cited by third party
Publication number Priority date Publication date Assignee Title
KR101020798B1 (ko) * 2008-12-03 2011-03-09 엘지이노텍 주식회사 스핀들 모터
KR20130051804A (ko) * 2011-11-10 2013-05-21 삼성전기주식회사 스핀들 모터

Citations (3)

* Cited by examiner, † Cited by third party
Publication number Priority date Publication date Assignee Title
JP2003174748A (ja) * 2001-12-04 2003-06-20 Hitachi Ltd 磁気ディスク装置用ディスクドライブモータ
JP2005033897A (ja) * 2003-07-10 2005-02-03 Mitsubishi Electric Corp 回転駆動装置
JP2007282374A (ja) * 2006-04-06 2007-10-25 Nippon Densan Corp ロータ部品、モータおよび記録ディスク駆動装置

Family Cites Families (7)

* Cited by examiner, † Cited by third party
Publication number Priority date Publication date Assignee Title
JP3013960B2 (ja) * 1993-08-13 2000-02-28 株式会社三協精機製作所 ディスク駆動用モータ
KR100316098B1 (ko) 1997-06-20 2002-11-08 삼성전기주식회사 유체 동압 베어링을 사용하는 스핀들 모터의 오일 누출 방지 구 조
JP4260953B2 (ja) * 1998-12-14 2009-04-30 日本電産株式会社 スピンドルモータ
TW420347U (en) * 1999-01-11 2001-01-21 Sunonwealth Electr Mach Ind Co Transfer system structure of main axis motor for CD-ROM drive
KR100377611B1 (ko) * 1999-03-17 2003-03-26 가부시기가이샤 산교세이기 세이사꾸쇼 소형모터
US6704038B2 (en) * 2000-09-27 2004-03-09 Canon Seiki Kabushiki Kaisha Light deflecting apparatus
KR101198612B1 (ko) * 2006-08-07 2012-11-07 엘지이노텍 주식회사 스핀들 모터

Patent Citations (3)

* Cited by examiner, † Cited by third party
Publication number Priority date Publication date Assignee Title
JP2003174748A (ja) * 2001-12-04 2003-06-20 Hitachi Ltd 磁気ディスク装置用ディスクドライブモータ
JP2005033897A (ja) * 2003-07-10 2005-02-03 Mitsubishi Electric Corp 回転駆動装置
JP2007282374A (ja) * 2006-04-06 2007-10-25 Nippon Densan Corp ロータ部品、モータおよび記録ディスク駆動装置

Cited By (3)

* Cited by examiner, † Cited by third party
Publication number Priority date Publication date Assignee Title
JP2012254000A (ja) * 2011-06-03 2012-12-20 Samsung Electro-Mechanics Co Ltd スピンドルモータ
KR101512536B1 (ko) * 2011-06-03 2015-04-16 삼성전기주식회사 스핀들 모터
WO2016084354A1 (ja) * 2014-11-27 2016-06-02 パナソニックIpマネジメント株式会社 電動機と電動機を備える冷凍機器

Also Published As

Publication number Publication date
KR20110005495A (ko) 2011-01-18
US20110006630A1 (en) 2011-01-13
KR101039851B1 (ko) 2011-06-09
JP5048047B2 (ja) 2012-10-17
US7932654B2 (en) 2011-04-26

Similar Documents

Publication Publication Date Title
JP5048047B2 (ja) モータ
JP2012041883A (ja) 遠心ファンおよび遠心ファンを搭載した自走式ロボット
JP2016044673A (ja) 動圧軸受ポンプ
CN104753234A (zh) 具有止推轴承的马达
JP2014013072A (ja) 流体動圧ベアリングアセンブリー及びこれを備えるスピンドルモータ
JP2015095962A (ja) 回転機械
JP5761822B2 (ja) 流体動圧軸受アセンブリ及びそれを備えるスピンドルモータ
JP2015143576A (ja) 動圧軸受装置及びそれを備えるスピンドルモータ
JP2014148976A (ja) 送風装置
JP2016044674A (ja) 動圧軸受ポンプ
KR101052851B1 (ko) 모터
KR101071922B1 (ko) 모터
JP2013185706A (ja) 流体動圧軸受アセンブリ及びそれを含むモータ
JP5498999B2 (ja) スピンドルモーター
JP2013094044A (ja) ステータコア及びこれを備えたスピンドルモータ
KR101095196B1 (ko) 스핀들 모터
JP2009174414A (ja) 軸流ファン
JP2007225115A (ja) 流体動圧ベアリングモータ
JP2018019549A (ja) 回転電機
JP2013070592A (ja) ステータコア及びこれを備えるスピンドルモータ
JP2006226390A (ja) 軸受および血液ポンプ
JP3164720U6 (ja) 非接触式防塵構造を備える放熱ファン
JP5610590B2 (ja) 動圧軸受装置及びそれを備えるスピンドルモータ
JP2014105866A (ja) 流体動圧軸受のシーリングモジュール及びこれを含むスピンドルモータ
JP2007325329A (ja) アキシャルギャップ型モータ及び燃料ポンプ

Legal Events

Date Code Title Description
A131 Notification of reasons for refusal

Free format text: JAPANESE INTERMEDIATE CODE: A131

Effective date: 20120313

A521 Request for written amendment filed

Free format text: JAPANESE INTERMEDIATE CODE: A523

Effective date: 20120530

TRDD Decision of grant or rejection written
A01 Written decision to grant a patent or to grant a registration (utility model)

Free format text: JAPANESE INTERMEDIATE CODE: A01

Effective date: 20120619

A01 Written decision to grant a patent or to grant a registration (utility model)

Free format text: JAPANESE INTERMEDIATE CODE: A01

A61 First payment of annual fees (during grant procedure)

Free format text: JAPANESE INTERMEDIATE CODE: A61

Effective date: 20120718

FPAY Renewal fee payment (event date is renewal date of database)

Free format text: PAYMENT UNTIL: 20150727

Year of fee payment: 3

R150 Certificate of patent or registration of utility model

Free format text: JAPANESE INTERMEDIATE CODE: R150

LAPS Cancellation because of no payment of annual fees