JP2011003340A - Ledやledsmd電球と電灯の有効な放熱構造 - Google Patents
Ledやledsmd電球と電灯の有効な放熱構造 Download PDFInfo
- Publication number
- JP2011003340A JP2011003340A JP2009143994A JP2009143994A JP2011003340A JP 2011003340 A JP2011003340 A JP 2011003340A JP 2009143994 A JP2009143994 A JP 2009143994A JP 2009143994 A JP2009143994 A JP 2009143994A JP 2011003340 A JP2011003340 A JP 2011003340A
- Authority
- JP
- Japan
- Prior art keywords
- led
- lamp
- smd
- substrate
- leds
- Prior art date
- Legal status (The legal status is an assumption and is not a legal conclusion. Google has not performed a legal analysis and makes no representation as to the accuracy of the status listed.)
- Pending
Links
- 230000005855 radiation Effects 0.000 title abstract description 6
- 239000000758 substrate Substances 0.000 claims abstract description 37
- 230000017525 heat dissipation Effects 0.000 claims abstract description 21
- 239000000463 material Substances 0.000 claims description 10
- XEEYBQQBJWHFJM-UHFFFAOYSA-N Iron Chemical compound [Fe] XEEYBQQBJWHFJM-UHFFFAOYSA-N 0.000 claims description 6
- RYGMFSIKBFXOCR-UHFFFAOYSA-N Copper Chemical compound [Cu] RYGMFSIKBFXOCR-UHFFFAOYSA-N 0.000 claims description 4
- 229910052782 aluminium Inorganic materials 0.000 claims description 4
- XAGFODPZIPBFFR-UHFFFAOYSA-N aluminium Chemical compound [Al] XAGFODPZIPBFFR-UHFFFAOYSA-N 0.000 claims description 4
- 229910052802 copper Inorganic materials 0.000 claims description 4
- 239000010949 copper Substances 0.000 claims description 4
- 239000000919 ceramic Substances 0.000 claims description 3
- 229910052742 iron Inorganic materials 0.000 claims description 3
- 238000012546 transfer Methods 0.000 claims description 3
- 238000000465 moulding Methods 0.000 claims description 2
- 238000000742 single-metal deposition Methods 0.000 claims description 2
- 230000000694 effects Effects 0.000 abstract description 3
- 238000005286 illumination Methods 0.000 description 14
- 238000010586 diagram Methods 0.000 description 9
- 230000001154 acute effect Effects 0.000 description 4
- WFKWXMTUELFFGS-UHFFFAOYSA-N tungsten Chemical compound [W] WFKWXMTUELFFGS-UHFFFAOYSA-N 0.000 description 3
- 229910052721 tungsten Inorganic materials 0.000 description 3
- 239000010937 tungsten Substances 0.000 description 3
- DGAQECJNVWCQMB-PUAWFVPOSA-M Ilexoside XXIX Chemical compound C[C@@H]1CC[C@@]2(CC[C@@]3(C(=CC[C@H]4[C@]3(CC[C@@H]5[C@@]4(CC[C@@H](C5(C)C)OS(=O)(=O)[O-])C)C)[C@@H]2[C@]1(C)O)C)C(=O)O[C@H]6[C@@H]([C@H]([C@@H]([C@H](O6)CO)O)O)O.[Na+] DGAQECJNVWCQMB-PUAWFVPOSA-M 0.000 description 2
- 238000000889 atomisation Methods 0.000 description 2
- 229910052751 metal Inorganic materials 0.000 description 2
- 239000002184 metal Substances 0.000 description 2
- 230000002093 peripheral effect Effects 0.000 description 2
- 229910052708 sodium Inorganic materials 0.000 description 2
- 239000011734 sodium Substances 0.000 description 2
- 230000015572 biosynthetic process Effects 0.000 description 1
- 239000004020 conductor Substances 0.000 description 1
- 238000011109 contamination Methods 0.000 description 1
- 238000013461 design Methods 0.000 description 1
- 238000011161 development Methods 0.000 description 1
- 230000007613 environmental effect Effects 0.000 description 1
- 229910052736 halogen Inorganic materials 0.000 description 1
- 150000002367 halogens Chemical class 0.000 description 1
- QSHDDOUJBYECFT-UHFFFAOYSA-N mercury Chemical compound [Hg] QSHDDOUJBYECFT-UHFFFAOYSA-N 0.000 description 1
- 229910052753 mercury Inorganic materials 0.000 description 1
- 238000000034 method Methods 0.000 description 1
- 238000012986 modification Methods 0.000 description 1
- 230000004048 modification Effects 0.000 description 1
- 238000012545 processing Methods 0.000 description 1
- 230000000750 progressive effect Effects 0.000 description 1
- 238000011160 research Methods 0.000 description 1
- 239000000126 substance Substances 0.000 description 1
- 229910052724 xenon Inorganic materials 0.000 description 1
- FHNFHKCVQCLJFQ-UHFFFAOYSA-N xenon atom Chemical compound [Xe] FHNFHKCVQCLJFQ-UHFFFAOYSA-N 0.000 description 1
Images
Landscapes
- Arrangement Of Elements, Cooling, Sealing, Or The Like Of Lighting Devices (AREA)
- Non-Portable Lighting Devices Or Systems Thereof (AREA)
- Led Device Packages (AREA)
Abstract
【課題】本発明は、LEDやSMD LED電球及び電灯の有効な放熱構造を提供する。
【解決手段】ランプソケットからランプ台が伸び、ランプ台の上端の内径から下の適当な位置にリング状ステージが設けられ、上記リング状ステージに、基板が設置され、基板の上端平面の中央において、適当な位置に一つ乃至複数のLEDやSMD LEDが設置され、また、LEDやSMD LEDの周りに、集光環が設けられる。また、LEDやSMD LEDの底部熱伝導座に対応する基板に、一つ乃至複数の直径がLEDやSMD LED熱伝導座に近似する穴が設けられる。また、上記基板の下面に、放熱体が設置され、放熱体の上端面において、LEDやSMD LED熱伝導座の基板の穴に対応する位置に突出柱が形成されてもよく、上記突出柱の上面が、基板の穴に通し、直接にLEDやSMD LED底部の熱伝導座に密着する。より有効な放熱効果が得られる。
【選択図】 図8
【解決手段】ランプソケットからランプ台が伸び、ランプ台の上端の内径から下の適当な位置にリング状ステージが設けられ、上記リング状ステージに、基板が設置され、基板の上端平面の中央において、適当な位置に一つ乃至複数のLEDやSMD LEDが設置され、また、LEDやSMD LEDの周りに、集光環が設けられる。また、LEDやSMD LEDの底部熱伝導座に対応する基板に、一つ乃至複数の直径がLEDやSMD LED熱伝導座に近似する穴が設けられる。また、上記基板の下面に、放熱体が設置され、放熱体の上端面において、LEDやSMD LED熱伝導座の基板の穴に対応する位置に突出柱が形成されてもよく、上記突出柱の上面が、基板の穴に通し、直接にLEDやSMD LED底部の熱伝導座に密着する。より有効な放熱効果が得られる。
【選択図】 図8
Description
本発明は、LEDやSMD LED電球及び電灯の有効な放熱構造に関する。
発光ダイオード(LED)は、耐用寿命が最も長く、熱度が最も低く、化学汚染が最も少なく、消費電力が最も低い光源であるため、LEDは、既存の光照明において、最も省エネルギー且つ環境保護である。
LEDを照明灯としても、次の欠点が残され、
1、既存のLED照明灯の光源が、点光源であるため、ハレーションが発生し、ハロゲン球やタングステン電球が線光源であると異なり、また、高圧ナトリウム灯や蛍光灯(省電力電球)或いはHID電球が、電圧でナトリウムや水銀或いはキセノン等の元素を励起して面光源が形成されると異なるため、LED点光源の投光により形成された投射面内の照度(lux)が、一致ではない。特に、読書照明用灯として、蛍光灯や省エネルギー電球及びタングステン電球に比すると、均一度が不足になる(図1乃至図4のように)。
2、既存のLED照明灯では、一つや複数のLEDを、一つや複数のV形状凹槽である放熱座に埋め込み、V形状槽を利用して必要とする投射角度が形成され、LEDの広角光が、必要とする投射角光に変換されるが、出射角度外の投射光が、V形状凹槽の槽壁に投射して不規則の屈折光になり、均一光の形成に不利になる(図5と図6のように)。
3、既存の高輝度LED照明灯や電灯は、放熱座を増設して熱伝導を行い、その中、低ワット数のLED(例えば、1W)、放熱座を増設することにより、有効な放熱や熱伝導が実現されるが(図5と図6のように)、高ワット数のLED(例えば、3Wや5W)や複数の1WのLEDが一つの小さい基板に実装される場合、発生した高熱は、既存の熱伝導銅基板やアルミニウム基板に放熱座構造を増設しても、有効に放熱できないため、温度が、LEDチップの耐える上限温度(60〜65℃)以下に維持することができなく、LEDチップの機能が悪化して、LEDの耐用寿命が短縮される。
1、既存のLED照明灯の光源が、点光源であるため、ハレーションが発生し、ハロゲン球やタングステン電球が線光源であると異なり、また、高圧ナトリウム灯や蛍光灯(省電力電球)或いはHID電球が、電圧でナトリウムや水銀或いはキセノン等の元素を励起して面光源が形成されると異なるため、LED点光源の投光により形成された投射面内の照度(lux)が、一致ではない。特に、読書照明用灯として、蛍光灯や省エネルギー電球及びタングステン電球に比すると、均一度が不足になる(図1乃至図4のように)。
2、既存のLED照明灯では、一つや複数のLEDを、一つや複数のV形状凹槽である放熱座に埋め込み、V形状槽を利用して必要とする投射角度が形成され、LEDの広角光が、必要とする投射角光に変換されるが、出射角度外の投射光が、V形状凹槽の槽壁に投射して不規則の屈折光になり、均一光の形成に不利になる(図5と図6のように)。
3、既存の高輝度LED照明灯や電灯は、放熱座を増設して熱伝導を行い、その中、低ワット数のLED(例えば、1W)、放熱座を増設することにより、有効な放熱や熱伝導が実現されるが(図5と図6のように)、高ワット数のLED(例えば、3Wや5W)や複数の1WのLEDが一つの小さい基板に実装される場合、発生した高熱は、既存の熱伝導銅基板やアルミニウム基板に放熱座構造を増設しても、有効に放熱できないため、温度が、LEDチップの耐える上限温度(60〜65℃)以下に維持することができなく、LEDチップの機能が悪化して、LEDの耐用寿命が短縮される。
本発明者は、上記欠点を解消するため、慎重に研究し、また、学理を活用して、有効に上記欠点を解消でき、設計が合理である本発明を提案する。
本発明の主な目的は、ランプソケットからランプ台が伸び、ランプ台の上端の内径から下の適当な位置にリング状ステージが設けられ、上記リング状ステージに、基板が設置され、基板の上端平面の中央において、適当な位置に一つ乃至複数のLEDやSMD LEDが設置され、また、LEDやSMD LEDの周りに、集光環が設けられるLEDやSMD LED電球及び電灯の有効な放熱構造を提供する。また、LEDやSMD LEDの底部熱伝導座に対応する基板に、一つ乃至複数の直径がLEDやSMD LED熱伝導座に近似する穴が設けられても良い。また、上記基板の下面に、放熱体が設置され、放熱体の上端面において、LEDやSMD LED熱伝導座の基板の穴に対応する位置に突出柱が形成されてもよく、上記突出柱の上面が、基板の穴に通し、直接にLEDやSMD LED底部の熱伝導座に密着しても良い。突出柱の側面が、基板の穴の内径に密着するため、より有効な放熱効果が得られる。
請求項1の発明は、ランプソケットと、上端の内径から下へリング状ステージが延び、もう一端がランプソケットに結合されるランプ台と、上記ランプ台のリング状ステージに設置され、上方に一つ乃至複数のLEDやSMDが実装され、上記LEDやSMDの底部熱伝導座の下方に対応する位置に、一つ乃至複数の穴が形成される基板と、基板の下方に組立てられ、基板の穴に通してLEDやSMDの底部熱伝導座に密着する一つ乃至複数の突出柱が設けられる放熱体と、が含有される、ことを特徴とするLEDやLED SMD電球と電灯の有効な放熱構造である。
請求項2の発明は、上記放熱体の突出柱の高さが、基板の厚さより大きく、また放熱体の突出柱の外径が、基板の穴の内径よりやや小さくて、直接にLEDやSMD LED底部の熱伝導座に密着することを特徴とする請求項1に記載のLEDやLED SMD電球と電灯の有効な放熱構造である。
請求項3の発明は、上記放熱体の突出柱の上部と外径表面に、熱伝達ゲルが塗布されることを特徴とする請求項2に記載のLEDやLED SMD電球と電灯の有効な放熱構造である。
請求項4の発明は、上記放熱体に、更に、上記基板の穴と断面が十字形である熱伝導柱を構成する穴が形成されて、柱身が放熱体の穴に位置し、柱頂が基板の穴に通して、LED熱伝導座の下面に密着することを特徴とする請求項1に記載のLEDやLED SMD電球と電灯の有効な放熱構造である。
請求項5の発明は、上記放熱体や熱伝導柱、突出柱或いはランプ台は、アルミニウム材や銅材、或いはナノ鉄セラマグネットで、一体成型により構成されるか、嵌設により構成されることを特徴とする請求項4に記載のLEDやLED SMD電球と電灯の有効な放熱構造である。
請求項6の発明は、単一ランタン構造である車投射灯や前照灯セット投射照明灯上の遠投射灯、補助投射灯、フォグライト、デイライト(Day Light)、二方向投射光の電球、単レセプタクルチューブ、双レセプタクルチューブ、双街灯LED灯及びビュー投射灯LED灯に組み立てられることを特徴とする請求項1に記載のLEDやLED SMD電球と電灯の有効な放熱構造である。
以下、図面を参照しながら、本発明の特徴や技術内容について、詳しく説明するが、それらの図面等は、参考や説明のためであり、本発明は、それによって制限されることが無い。
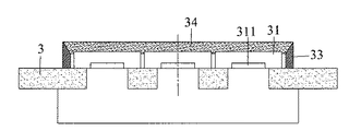
図7乃至図9を参照しながら、本発明に係るLEDやSMD LED電球及び電灯の有効な放熱構造は、ランプソケット1からランプ台2が伸び、上記ランプソケット1の内部に、変圧駆動器11が設置され、上記ランプ台2の上端の内径から下へ適当な位置にリング状ステージ21が伸び、上記リング状ステージ21に基板3が設置され、基板3の上端平面の中央において、適当な位置に一つ乃至複数のLEDやSMD LED31が設置され、また、基板3に、LEDやSMD LED31底部の熱伝導座311に対応する一つ乃至複数の直径がLED熱伝導座311に近似する穴32が設けられ、上記基板3の下面に、放熱体4が設置され、放熱体4が、任意の外型や厚さである熱伝導材質からなる。また、図8の放熱体4の上端面に、基板の穴32に通してLEDやSMD LED31底部の熱伝導座311に対応する高熱伝導の突出柱41が形成され、上記突出柱41の高さが、基板3の厚さよりもやや高く、突出柱41の外径が、基板3の穴32の内径より小さく、また、突出柱41の上面と外周面に熱伝達ゲルが塗布され、放熱体4が、基板3に設置され、図12と図12の1ように、また、一つや複数のLEDやSMD LED31のまわりの基板3に、集光環33を設置しても良く、集光環33が、LEDやSMD LED31の配列に合わせて任意の形状に形成され、集光環33の内周面が傾斜面で、傾斜面の上端が、LEDやSMD LED31より高く、傾斜面の底端が、LEDやSMD LED31の端面より低く、集光環33の底端面が、基板3に位置し、また、LEDやSMD LED31と、集光環33との間に、光ガイドゲル34が塗布され、光ガイドゲル34の塗布面が、LEDやSMD LED31よりも高くなる。これにより、LEDやSMD LED31の点光源は、光ガイドゲル34と集光環33の内縁反射により、原型面光源に集光されて、照度や均一度が向上され、また、上記ランプ台2の上端に、調光レンズ5が設けられ、上記調光レンズ5が、図7のように、その上端面が、凸面51であり、その下面が、凹面52であるが、或いは、図9のように、その内面が平面53で、上記凹面52や平面53の表面を、霧化処理するか、霧化紙を貼り付き、そして、調光レンズ5とLEDやSMD LED31との距離Dを調整し(図7と図9のように)、例えば、(図16と図16の1のように)、調光レンズ5の下面と、上記LEDやSMD LED31との距離D2、D3が、3〜10mmの範囲にあると、集合灯機能を発揮でき、図15のように、調光レンズ5の下面と、上記LEDやSMD LED31との距離D1が、0〜2.5mmの範囲にすると、広角照明灯機能が発揮できる。更に、図9の1のように、本発明に係る構造は、単レセプタクルチューブに組立てられても良いし、図9の2の双レセプタクルチューブに組立てられても良い。
また、図10のように、上記調光レンズ5の上端面の凸面51の辺縁に、平面ステージ511が形成されてもよく、上記凸面51と平面ステージ511とが、鋭角512で接してもよい。これにより、照射角の周りの照度が増加される。
図11のように、前記高熱伝導突出柱41を有する放熱体4を、分割して設置してもよく、即ち、上記放熱体4に、上記基板3の穴32に対応する穴42を形成し、また、上記二つの上下穴32、42の間に、LEDやSMD LED31の熱伝導座311と放熱体4との境面として、快速に放熱できるための、断面が十字形である柱型の熱伝導柱41’を形成する。前記の十字柱型である熱伝導柱41’は、熱伝導性のより良い放熱材料からなり、放熱体4は、熱伝導性がやや悪い放熱材料からなる。これにより、LEDやSMD LED31の熱度が、高熱伝導材質である熱伝導柱41’の立体表面を介して、大面積の輻射状に放熱でき、また、放熱体4を利用して、大面積の放熱処理を行う。一般の、LEDが、基板に対して、小点面の熱伝導と異なり、X、Y、Z軸の面で、LEDの高熱を、有効的に且つ快速的に、熱伝導や放熱を行える。
また、図13のように、ランプ台2全体を、金属放熱座に形成し、また、拡大された熱伝導柱41”が内蔵され、これにより、最も大きい面積の放熱体積と放熱面積が得られ、よりパワーである高照度が実現され、また、大数量のLEDやSMD31の放熱処理が実現される。
前記のランプソケット1は、ネジ式や係合式、ソケット式或いはT字型螺合式(例えば、蛍光灯駆動器のT字型螺合)等である。
前記の放熱体4や突出柱41、熱伝導柱41’、 41”或いはランプ台2は、放熱材料が、アルミニウム材や銅材、或いはナノ鉄セラマグネット等である。
図17を参照しながら、本発明に係るLEDやLED SMD電球及び電灯の有効な放熱構造が、単一ランタン構造前照灯10に組立てられたものであり、また、図18と図18の1を参照しながら、本発明が、前照灯セット電灯10’上の遠投射灯6や補助投射灯7、フォグライト8或いはデイライト(Day Light)9に組み立てられたものである。
また、図19と図19の1を参照しながら、本発明は、二方向投射光構造に組立てられても良い。
そして、本発明も、組立て式LED灯に組立てられてもよく、例えば、LED街灯セットやビュー投射灯LED灯等に組立てられても良い(例えば、図20や図20の1及び図20の2のように)。
以上のように、本発明に係るLEDやSMD LED電球及び電灯の有効な放熱構造は、次の利点が得られ、
1、有効に、高ワット数であるLEDやSMD LED31の駆動熱度を、有効に熱伝導して放熱でき、高ワット数であるLEDやSMD31が、正常に作動でき、LEDやSMD LED31の耐用寿命が向上され、LED電球や電灯がより経済的になる。
2、集光環33の構造により、一つ乃至複数のLEDやSMD31がパッケージされ、集光して、面光源に近似する光源が得られる(図12のように)。
3、内平面や内凹面構造を有する調光レンズ5により、面光源に近似する投射光が、拡大されて、光源を二次集光でき、また、霧化処理により、調光レンズの投射アイリスの周りに発生する黒影段差が消滅されて、残余光面になり、これにより、面光源や強光、均一光及び定射光角度の機能が実現され、ハレーションが、消滅され、均一光や強光の最大照明効果が得られる。
4、凸面と平面により形成された鋭角は、投射光が最も弱い辺縁において、ベゼルが形成されて、その辺縁の照度が増加され、また、霧化処理により均一光が形成される。そして、投射中心の照度に合わせて投射面の均一度が増加される。
5、LEDやSMD LED31と調光レンズ5との間隔Dを利用して、二段階で、射光照射角度を調整でき、また、輝度や均一度が向上され(例えば、図14や図15、図16及び図16の1のように)、また、ダイの開発を低減できコストを節約できる。
1、有効に、高ワット数であるLEDやSMD LED31の駆動熱度を、有効に熱伝導して放熱でき、高ワット数であるLEDやSMD31が、正常に作動でき、LEDやSMD LED31の耐用寿命が向上され、LED電球や電灯がより経済的になる。
2、集光環33の構造により、一つ乃至複数のLEDやSMD31がパッケージされ、集光して、面光源に近似する光源が得られる(図12のように)。
3、内平面や内凹面構造を有する調光レンズ5により、面光源に近似する投射光が、拡大されて、光源を二次集光でき、また、霧化処理により、調光レンズの投射アイリスの周りに発生する黒影段差が消滅されて、残余光面になり、これにより、面光源や強光、均一光及び定射光角度の機能が実現され、ハレーションが、消滅され、均一光や強光の最大照明効果が得られる。
4、凸面と平面により形成された鋭角は、投射光が最も弱い辺縁において、ベゼルが形成されて、その辺縁の照度が増加され、また、霧化処理により均一光が形成される。そして、投射中心の照度に合わせて投射面の均一度が増加される。
5、LEDやSMD LED31と調光レンズ5との間隔Dを利用して、二段階で、射光照射角度を調整でき、また、輝度や均一度が向上され(例えば、図14や図15、図16及び図16の1のように)、また、ダイの開発を低減できコストを節約できる。
そのため、本発明は、より進歩的かつより実用的で、法に従って特許請求を出願する。
以上は、ただ、本発明のより良い実施例であり、本発明は、それによって制限されることが無く、本発明に係わる特許請求の範囲や明細書の内容に基づいて行った等価の変更や修正は、全てが、本発明の特許請求の範囲内に含まれる。
1 ランプソケット
10 単一ランタン構造車投射照明灯
10’ 前照灯セット投射照明灯
11 変圧駆動器
2 ランプ台
21 ステージ
3
基板
31 LEDやSMD LED
311 熱伝導座
32 穴
33 集光環
34 光ガイドゲル
4 放熱体
41 突出柱
41’、41” 熱伝導柱
42 穴
5 調光レンズ
51 凸面
511 平面ステージ
512 鋭角
52 凹面
53 内平面
6 遠投射灯
7 補助投射灯
8 フォグライト
9 デイライト
10 単一ランタン構造車投射照明灯
10’ 前照灯セット投射照明灯
11 変圧駆動器
2 ランプ台
21 ステージ
3
基板
31 LEDやSMD LED
311 熱伝導座
32 穴
33 集光環
34 光ガイドゲル
4 放熱体
41 突出柱
41’、41” 熱伝導柱
42 穴
5 調光レンズ
51 凸面
511 平面ステージ
512 鋭角
52 凹面
53 内平面
6 遠投射灯
7 補助投射灯
8 フォグライト
9 デイライト
Claims (6)
- ランプソケットと、
上端の内径から下へリング状ステージが延び、もう一端がランプソケットに結合されるランプ台と、
上記ランプ台のリング状ステージに設置され、上方に一つ乃至複数のLEDやSMDが実装され、上記LEDやSMDの底部熱伝導座の下方に対応する位置に、一つ乃至複数の穴が形成される基板と、
基板の下方に組立てられ、基板の穴に通してLEDやSMDの底部熱伝導座に密着する一つ乃至複数の突出柱が設けられる放熱体と、
が含有される、
ことを特徴とするLEDやLED SMD電球と電灯の有効な放熱構造。 - 上記放熱体の突出柱の高さが、基板の厚さより大きく、また放熱体の突出柱の外径が、基板の穴の内径よりやや小さくて、直接にLEDやSMD LED底部の熱伝導座に密着することを特徴とする請求項1に記載のLEDやLED SMD電球と電灯の有効な放熱構造。
- 上記放熱体の突出柱の上部と外径表面に、熱伝達ゲルが塗布されることを特徴とする請求項2に記載のLEDやLED SMD電球と電灯の有効な放熱構造。
- 上記放熱体に、更に、上記基板の穴と断面が十字形である熱伝導柱を構成する穴が形成されて、柱身が放熱体の穴に位置し、柱頂が基板の穴に通して、LED熱伝導座の下面に密着することを特徴とする請求項1に記載のLEDやLED SMD電球と電灯の有効な放熱構造。
- 上記放熱体や熱伝導柱、突出柱或いはランプ台は、アルミニウム材や銅材、或いはナノ鉄セラマグネットで、一体成型により構成されるか、嵌設により構成されることを特徴とする請求項4に記載のLEDやLED SMD電球と電灯の有効な放熱構造。
- 単一ランタン構造である車投射灯や前照灯セット投射照明灯上の遠投射灯、補助投射灯、フォグライト、デイライト(Day Light)、二方向投射光の電球、単レセプタクルチューブ、双レセプタクルチューブ、双街灯LED灯及びビュー投射灯LED灯に組み立てられることを特徴とする請求項1に記載のLEDやLED SMD電球と電灯の有効な放熱構造。
Priority Applications (1)
| Application Number | Priority Date | Filing Date | Title |
|---|---|---|---|
| JP2009143994A JP2011003340A (ja) | 2009-06-17 | 2009-06-17 | Ledやledsmd電球と電灯の有効な放熱構造 |
Applications Claiming Priority (1)
| Application Number | Priority Date | Filing Date | Title |
|---|---|---|---|
| JP2009143994A JP2011003340A (ja) | 2009-06-17 | 2009-06-17 | Ledやledsmd電球と電灯の有効な放熱構造 |
Publications (1)
| Publication Number | Publication Date |
|---|---|
| JP2011003340A true JP2011003340A (ja) | 2011-01-06 |
Family
ID=43561161
Family Applications (1)
| Application Number | Title | Priority Date | Filing Date |
|---|---|---|---|
| JP2009143994A Pending JP2011003340A (ja) | 2009-06-17 | 2009-06-17 | Ledやledsmd電球と電灯の有効な放熱構造 |
Country Status (1)
| Country | Link |
|---|---|
| JP (1) | JP2011003340A (ja) |
Cited By (8)
| Publication number | Priority date | Publication date | Assignee | Title |
|---|---|---|---|---|
| CN103325917A (zh) * | 2012-12-20 | 2013-09-25 | 天津金玛光电有限公司 | 带导热功能的直插式led |
| WO2014015653A1 (zh) * | 2012-07-23 | 2014-01-30 | 贵州光浦森光电有限公司 | 互换性和通用性强的led灯泡构成方法及一体式led灯泡及灯具 |
| JP2015146325A (ja) * | 2015-03-27 | 2015-08-13 | 北明電気工業株式会社 | 光源ユニット、トンネル用照明装置、街灯用照明装置 |
| JP2015188056A (ja) * | 2014-03-26 | 2015-10-29 | 賀喜能源股▲ふん▼有限公司 | ケイ素基板を有する発光ダイオードと発光ダイオード灯具 |
| CN105066040A (zh) * | 2015-08-03 | 2015-11-18 | 广州市雷腾照明科技有限公司 | 前照灯光源及其组装方法 |
| JP2017050344A (ja) * | 2015-08-31 | 2017-03-09 | シチズン電子株式会社 | 発光装置 |
| CN106813162A (zh) * | 2017-03-20 | 2017-06-09 | 宁波江北美泰照明电器有限公司 | 一种led灯具 |
| CN106969273A (zh) * | 2017-04-27 | 2017-07-21 | 余胜荣 | 一种led灯具 |
Citations (5)
| Publication number | Priority date | Publication date | Assignee | Title |
|---|---|---|---|---|
| JP2001243809A (ja) * | 2000-02-28 | 2001-09-07 | Mitsubishi Electric Lighting Corp | Led電球 |
| JP2002335019A (ja) * | 2001-03-05 | 2002-11-22 | Nichia Chem Ind Ltd | 発光装置 |
| JP2007150268A (ja) * | 2005-10-31 | 2007-06-14 | Toyoda Gosei Co Ltd | 発光装置 |
| JP2007194132A (ja) * | 2006-01-20 | 2007-08-02 | Fujifilm Holdings Corp | 照明装置 |
| JP2008277817A (ja) * | 2007-05-07 | 2008-11-13 | Advance Connectek Inc | 放熱モジュール及びその製造方法 |
-
2009
- 2009-06-17 JP JP2009143994A patent/JP2011003340A/ja active Pending
Patent Citations (5)
| Publication number | Priority date | Publication date | Assignee | Title |
|---|---|---|---|---|
| JP2001243809A (ja) * | 2000-02-28 | 2001-09-07 | Mitsubishi Electric Lighting Corp | Led電球 |
| JP2002335019A (ja) * | 2001-03-05 | 2002-11-22 | Nichia Chem Ind Ltd | 発光装置 |
| JP2007150268A (ja) * | 2005-10-31 | 2007-06-14 | Toyoda Gosei Co Ltd | 発光装置 |
| JP2007194132A (ja) * | 2006-01-20 | 2007-08-02 | Fujifilm Holdings Corp | 照明装置 |
| JP2008277817A (ja) * | 2007-05-07 | 2008-11-13 | Advance Connectek Inc | 放熱モジュール及びその製造方法 |
Cited By (11)
| Publication number | Priority date | Publication date | Assignee | Title |
|---|---|---|---|---|
| WO2014015653A1 (zh) * | 2012-07-23 | 2014-01-30 | 贵州光浦森光电有限公司 | 互换性和通用性强的led灯泡构成方法及一体式led灯泡及灯具 |
| JP2016500194A (ja) * | 2012-07-23 | 2016-01-07 | グイジョウ ジーゼットジーピーエス カンパニー・リミテッド | 互換性と通用性の高いled電球の構成方法および一体式led電球および灯具 |
| US9625111B2 (en) | 2012-07-23 | 2017-04-18 | Guizhou Gzgps Co., Ltd. | Method for forming LED bulb with high interchangeability and universality and integrated LED bulb and lamp |
| CN103325917A (zh) * | 2012-12-20 | 2013-09-25 | 天津金玛光电有限公司 | 带导热功能的直插式led |
| JP2015188056A (ja) * | 2014-03-26 | 2015-10-29 | 賀喜能源股▲ふん▼有限公司 | ケイ素基板を有する発光ダイオードと発光ダイオード灯具 |
| JP2015146325A (ja) * | 2015-03-27 | 2015-08-13 | 北明電気工業株式会社 | 光源ユニット、トンネル用照明装置、街灯用照明装置 |
| CN105066040A (zh) * | 2015-08-03 | 2015-11-18 | 广州市雷腾照明科技有限公司 | 前照灯光源及其组装方法 |
| JP2017050344A (ja) * | 2015-08-31 | 2017-03-09 | シチズン電子株式会社 | 発光装置 |
| CN106813162A (zh) * | 2017-03-20 | 2017-06-09 | 宁波江北美泰照明电器有限公司 | 一种led灯具 |
| CN106969273A (zh) * | 2017-04-27 | 2017-07-21 | 余胜荣 | 一种led灯具 |
| CN106969273B (zh) * | 2017-04-27 | 2020-04-07 | 余胜荣 | 一种led灯具 |
Similar Documents
| Publication | Publication Date | Title |
|---|---|---|
| US7963686B2 (en) | Thermal dispersing structure for LED or SMD LED lights | |
| JP2011003340A (ja) | Ledやledsmd電球と電灯の有効な放熱構造 | |
| CN102003647B (zh) | 全方位led球泡灯 | |
| CN201100539Y (zh) | 具有多角度照射的照明装置 | |
| CN202012774U (zh) | 一体式散热led筒灯 | |
| KR20110087012A (ko) | Led 조명기구 | |
| US20110013403A1 (en) | Illumination-Improving Structure for LED or SMD LED lights | |
| CN105841041B (zh) | 一种led镜前灯 | |
| CN201651869U (zh) | Led灯泡 | |
| CN101782190B (zh) | 大功率led照明设备 | |
| CN201232979Y (zh) | 一种led射灯 | |
| JP2011003341A (ja) | Ledやsmdled電球及び電灯のハレーション消去且つ均一光と増光及び射角調整可能の構造 | |
| CN201386989Y (zh) | 采用二级散热的led照明灯 | |
| KR101548722B1 (ko) | 엘이디 램프 | |
| KR101396591B1 (ko) | 전구형 led 램프 | |
| CN201851997U (zh) | 一种一体化led筒灯 | |
| CN101699136A (zh) | 一种led灯 | |
| NL2003490C2 (en) | Thermal dispersing structure for led or smd led lights. | |
| KR200448560Y1 (ko) | 발광다이오드 투광기 | |
| CN205402389U (zh) | 一种360度可转式led调光筒灯 | |
| CN221991621U (zh) | 一种节能型发光二极管 | |
| KR200476639Y1 (ko) | 엘이디 조명등 | |
| KR101049834B1 (ko) | 눈부심 방지 및 배광조절이 용이한 엘이디조명기구 및 엘이디조명기구를 가지는 엘이디가로등 | |
| CN205402388U (zh) | 一种led射灯 | |
| NL2003489C2 (en) | Illumination-improving structure for led or smd led lights. |
Legal Events
| Date | Code | Title | Description |
|---|---|---|---|
| A131 | Notification of reasons for refusal |
Free format text: JAPANESE INTERMEDIATE CODE: A131 Effective date: 20120427 |
|
| A02 | Decision of refusal |
Free format text: JAPANESE INTERMEDIATE CODE: A02 Effective date: 20121107 |