JP2011000738A - Image forming apparatus - Google Patents

Image forming apparatus Download PDF

Info

Publication number
JP2011000738A
JP2011000738A JP2009143523A JP2009143523A JP2011000738A JP 2011000738 A JP2011000738 A JP 2011000738A JP 2009143523 A JP2009143523 A JP 2009143523A JP 2009143523 A JP2009143523 A JP 2009143523A JP 2011000738 A JP2011000738 A JP 2011000738A
Authority
JP
Japan
Prior art keywords
electrode
piezoelectric
piezoelectric layer
actuator
group
Prior art date
Legal status (The legal status is an assumption and is not a legal conclusion. Google has not performed a legal analysis and makes no representation as to the accuracy of the status listed.)
Pending
Application number
JP2009143523A
Other languages
Japanese (ja)
Inventor
Shinji Tanaka
田中  慎二
Current Assignee (The listed assignees may be inaccurate. Google has not performed a legal analysis and makes no representation or warranty as to the accuracy of the list.)
Ricoh Co Ltd
Original Assignee
Ricoh Co Ltd
Priority date (The priority date is an assumption and is not a legal conclusion. Google has not performed a legal analysis and makes no representation as to the accuracy of the date listed.)
Filing date
Publication date
Application filed by Ricoh Co Ltd filed Critical Ricoh Co Ltd
Priority to JP2009143523A priority Critical patent/JP2011000738A/en
Publication of JP2011000738A publication Critical patent/JP2011000738A/en
Pending legal-status Critical Current

Links

Images

Landscapes

  • Particle Formation And Scattering Control In Inkjet Printers (AREA)

Abstract

【課題】複数の圧電アクチュエータをパッシブ方式で時分割駆動すると、非吐出ノズルに対する圧電アクチュエータも変位するためにノズルからの吐出や液垂れなどが生じる。
【解決手段】液体吐出ヘッド1の圧電アクチュエータ7は、振動板6上に、第1電極11、第1圧電層12、第2電極13、第2圧電層14、第3電極15を順次積層して構成され、第2電極13は全てのアクチュエータ7で共通に接続して同時に同じ電圧を印加し、第1電極11を走査電極として第1グループにグループ化して各グループ毎に同時に同じ電位を印加し、第3電極15を信号電極として第2グループにグループ化して、各グループ毎に同時に同じ電位を印加し、第1グループに属するグループと第3グループに属するグループに共通のアクチュエータ7は1つのみとした。
【選択図】図1
When a plurality of piezoelectric actuators are driven in a time-sharing manner in a passive manner, the piezoelectric actuators with respect to non-ejection nozzles are also displaced, causing ejection from the nozzles and dripping.
A piezoelectric actuator of a liquid discharge head includes a first electrode, a first piezoelectric layer, a second electrode, a second piezoelectric layer, and a third electrode laminated on the diaphragm. The second electrode 13 is connected in common to all the actuators 7 and applies the same voltage at the same time. The first electrode 11 is used as a scanning electrode and is grouped into a first group, and the same potential is applied to each group simultaneously. Then, the third electrode 15 is grouped into the second group as a signal electrode, and the same potential is simultaneously applied to each group, and there is one actuator 7 common to the group belonging to the first group and the group belonging to the third group. Only.
[Selection] Figure 1

Description

本発明は画像形成装置に関し、特に圧電アクチュエータを含む液体吐出ヘッドを備える画像形成装置に関する。   The present invention relates to an image forming apparatus, and more particularly to an image forming apparatus including a liquid discharge head including a piezoelectric actuator.

プリンタ、ファクシミリ、複写装置、プロッタ、これらの複合機等の画像形成装置として、例えばインク液滴を吐出する液体吐出ヘッド(液滴吐出ヘッド)からなる記録ヘッドを用いた液体吐出記録方式の画像形成装置としてインクジェット記録装置などが知られている。この液体吐出記録方式の画像形成装置は、記録ヘッドからインク滴を、搬送される用紙(紙に限定するものではなく、OHPなどを含み、インク滴、その他の液体などが付着可能なものの意味であり、被記録媒体あるいは記録媒体、記録紙、記録用紙などとも称される。)に対して吐出して、画像形成(記録、印字、印写、印刷も同義語で使用する。)を行なうものであり、記録ヘッドが主走査方向に移動しながら液滴を吐出して画像を形成するシリアル型画像形成装置と、記録ヘッドが移動しない状態で液滴を吐出して画像を形成するライン型ヘッドを用いるライン型画像形成装置がある。   As an image forming apparatus such as a printer, a facsimile, a copying machine, a plotter, or a complex machine of these, for example, a liquid discharge recording type image forming using a recording head composed of a liquid discharge head (droplet discharge head) that discharges ink droplets. As an apparatus, an ink jet recording apparatus or the like is known. This liquid discharge recording type image forming apparatus means that ink droplets are transported from a recording head (not limited to paper, including OHP, and can be attached to ink droplets and other liquids). Yes, it is also ejected onto a recording medium or a recording medium, recording paper, recording paper, etc.) to form an image (recording, printing, printing, and printing are also used synonymously). And a serial type image forming apparatus that forms an image by ejecting liquid droplets while the recording head moves in the main scanning direction, and a line type head that forms images by ejecting liquid droplets without moving the recording head There are line type image forming apparatuses using

なお、本願において、液体吐出記録方式の「画像形成装置」は、紙、糸、繊維、布帛、皮革、金属、プラスチック、ガラス、木材、セラミックス等の媒体に液体を吐出して画像形成を行う装置を意味し、また、「画像形成」とは、文字や図形等の意味を持つ画像を媒体に対して付与することだけでなく、パターン等の意味を持たない画像を媒体に付与すること(単に液滴を媒体に着弾させること)をも意味する。また、「インク」とは、インクと称されるものに限らず、記録液、定着処理液、液体などと称されるものなど、画像形成を行うことができるすべての液体の総称として用い、例えば、DNA試料、レジスト、パターン材料、樹脂なども含まれる。また、「圧電素子」、「圧電層」は、電気機械変換素子、電気機械変換層を意味する。   In the present application, the “image forming apparatus” of the liquid discharge recording method is an apparatus that forms an image by discharging liquid onto a medium such as paper, thread, fiber, fabric, leather, metal, plastic, glass, wood, ceramics, or the like. In addition, “image formation” means not only giving an image having a meaning such as a character or a figure to a medium but also giving an image having no meaning such as a pattern to the medium (simply It also means that a droplet is landed on a medium). “Ink” is not limited to ink, but is used as a general term for all liquids capable of image formation, such as recording liquid, fixing processing liquid, and liquid. DNA samples, resists, pattern materials, resins and the like are also included. “Piezoelectric element” and “piezoelectric layer” mean an electromechanical conversion element and an electromechanical conversion layer.

従来、液体吐出ヘッドとして、液室内の液体であるインクを加圧する圧力を発生するための圧力発生手段(アクチュエータ手段)として圧電アクチュエータを用いるもの、静電アクチュエータを用いるもの、サーマルアクチュエータを用いるものなどが知られている。圧電アクチュエータを用いるものとして、振動板上に第1電極(下部電極)、第1圧電層、第2電極(上部電極)を積層したユニモルフ型圧電素子を配置し、第1電極と第2電極に駆動電圧を印加することで圧電素子の面内方向に伸縮を生じさせて振動板を面外方向に撓ませるものがある。   Conventionally, as a liquid ejection head, a piezoelectric actuator is used as a pressure generating means (actuator means) for generating pressure to pressurize ink which is liquid in a liquid chamber, an electrostatic actuator, a thermal actuator, etc. It has been known. As a piezoelectric actuator, a unimorph type piezoelectric element in which a first electrode (lower electrode), a first piezoelectric layer, and a second electrode (upper electrode) are laminated on a diaphragm is arranged, and the first electrode and the second electrode are arranged on the diaphragm. There is one that causes expansion and contraction in the in-plane direction of the piezoelectric element by applying a driving voltage to bend the diaphragm in the out-of-plane direction.

ところで、画像形成装置(以下「インクジェット記録装置」ともいう。)では、高速で、高画質画像を形成するために、記録ヘッドを構成する液体吐出ヘッドの高集積化が進み、その結果、ノズル数の増大とノズル密度の高密度化が生じている。また、ライン型ヘッドに代表されるようにヘッドが大型化する傾向にもある。   By the way, in an image forming apparatus (hereinafter, also referred to as “inkjet recording apparatus”), in order to form a high-quality image at high speed, the liquid discharge head constituting the recording head is highly integrated, and as a result, the number of nozzles is increased. Increase in nozzle density and nozzle density. In addition, the head tends to increase in size as represented by the line type head.

この場合、液体吐出ヘッドのアクチュエータは電圧印加によって駆動するものであることから、単純にはアクチュエータの数に相当する電極配線が必要となることから、ノズル数が増大することによって電極配線数が増加し、不必要なヘッドの大型化や装置の大型化を招き、装置コストを押し上げることとなる。   In this case, since the actuator of the liquid ejection head is driven by applying a voltage, electrode wiring corresponding to the number of actuators is simply required. Therefore, the number of electrode wiring increases as the number of nozzles increases. As a result, unnecessary head enlargement and apparatus enlargement are caused, and the apparatus cost is increased.

そこで、電気配線数を低減する方法として、ディスプレイの分野で採用されてきた時分割駆動を適用するものがある(サーマルアクチュエータを用いたヘッド:特許文献1)。時分割駆動は、m行の走査電極とn列の信号電極を有し、各々に時分割で電位を与え、それらの交点に配置された素子を選択的に駆動するというものである。   Therefore, as a method for reducing the number of electric wires, there is a method that applies time-division driving that has been adopted in the field of displays (a head using a thermal actuator: Patent Document 1). The time-division driving has m rows of scanning electrodes and n columns of signal electrodes, each is applied with a potential in a time-sharing manner, and elements arranged at the intersections thereof are selectively driven.

この時分割駆動の方式としては、パッシブ駆動とアクティブ駆動の2つの駆動方式が知られている。パッシブ駆動方式は、走査電極に加わる電位が、アクチュエータの一方の電極に直接印加され、信号電極に加わる電位がアクチュエータのもう一方の電極に印加される構成を有する。一方、アクティブ駆動方式は、走査電極と信号電極の交点に薄膜トランジスタ(TFT)や薄膜ダイオード(TFD)などの薄膜能動素子が設けられた構成を採り、スイッチングの高速応答を可能とするものである。   As the time-division driving method, two driving methods of passive driving and active driving are known. The passive drive system has a configuration in which a potential applied to the scanning electrode is directly applied to one electrode of the actuator, and a potential applied to the signal electrode is applied to the other electrode of the actuator. On the other hand, the active drive system adopts a configuration in which a thin film active element such as a thin film transistor (TFT) or a thin film diode (TFD) is provided at the intersection of a scanning electrode and a signal electrode, and enables high-speed switching response.

ディスプレイ分野や、上述したサーマルアクチュエータ(電気−熱変換素子)を用いた液体吐出ヘッドについては、アクティブ駆動方式が採用されている。しかしながら、薄膜圧電素子からなる圧電アクチュエータを用いた液体吐出ヘッドについては、各アクチュエータに対して薄膜能動素子を設けることは、技術的に大きな困難を伴う。すなわち、薄膜圧電素子の作製手法と半導体作製手法が異なっていたり、それらの製膜温度が大きく異なっていたりするため、一つの基板に両者を作り込むことが難しいためである。したがって、薄膜圧電素子の圧電アクチュエータを用いた液体吐出ヘッドについて、時分割駆動を行う場合は、パッシブ駆動方式を採用することになる(特許文献2ないし4)。   For the display field and the liquid discharge head using the above-described thermal actuator (electric-thermal conversion element), an active drive system is employed. However, regarding a liquid discharge head using a piezoelectric actuator composed of a thin film piezoelectric element, it is technically difficult to provide a thin film active element for each actuator. That is, because the method for manufacturing the thin film piezoelectric element and the method for manufacturing the semiconductor are different, or the film forming temperatures thereof are greatly different, it is difficult to manufacture both on one substrate. Therefore, when performing time-division driving for a liquid ejection head using a piezoelectric actuator of a thin film piezoelectric element, a passive driving method is employed (Patent Documents 2 to 4).

特開平01−020152号公報Japanese Patent Laid-Open No. 01-020152 特許第4019197号公報Japanese Patent No. 4019197 特開平06−127034号公報Japanese Patent Application Laid-Open No. 06-127034 特開平07−137242号公報JP 07-137242 A

しかしながら、複数の圧電アクチュエータをパッシブ駆動方式で時分割駆動すると、駆動を所望しない非選択の全てのアクチュエータに対して電圧が全く印加されない状態を作り出すことができないという課題がある。この点について図13及び図14を参照して説明する。   However, when a plurality of piezoelectric actuators are driven in a time-sharing manner by the passive drive method, there is a problem that it is impossible to create a state in which no voltage is applied to all unselected actuators that are not desired to be driven. This point will be described with reference to FIGS.

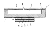
まず、液体吐出ヘッドは、図13に示すように、流路板501にて図示しないノズルが連通する液室502を形成し、液室502の一部の壁面を振動板503にて形成して、振動板503の面外側に圧電アクチュエータ504を配置している。圧電アクチュエータ504は、振動板503上に、第1電極(下部電極)511、圧電層512、第2電極(上部電極)513を順次積層形成して構成される。   First, as shown in FIG. 13, the liquid discharge head forms a liquid chamber 502 in which a nozzle (not shown) communicates with a flow path plate 501, and a part of the wall surface of the liquid chamber 502 is formed with a vibration plate 503. A piezoelectric actuator 504 is disposed outside the diaphragm 503. The piezoelectric actuator 504 is configured by sequentially laminating a first electrode (lower electrode) 511, a piezoelectric layer 512, and a second electrode (upper electrode) 513 on a vibration plate 503.

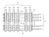
そして、複数の圧電アクチュエータを備える場合、例えば、図14に示すように、m本の第1電極511を走査電極とし、j本の第2電極513を信号電極として、走査電極(第1電極)511と信号電極(第2電極)513の交点に圧電層512が配置されることでそれぞれアクチュエータ504が構成されている。なお、ここでは説明上、アクチュエータがマトリックス配置されているものとするが、図15に示すように、アクチュエータ504がライン状に配置される場合も、次に述べる同じ問題がある。   When a plurality of piezoelectric actuators are provided, for example, as shown in FIG. 14, the m first electrodes 511 are used as scanning electrodes, the j second electrodes 513 are used as signal electrodes, and scanning electrodes (first electrodes). Actuators 504 are configured by disposing piezoelectric layers 512 at the intersections of 511 and signal electrodes (second electrodes) 513. Here, for the sake of explanation, it is assumed that the actuators are arranged in a matrix. However, as shown in FIG. 15, the same problem described below also occurs when the actuators 504 are arranged in a line.

ここで、パッシブ駆動を行うためには、走査電極(第1電極)511と信号電極(第2電極)513に印加する電位を極性の異なる電位とする方法が考えられる。この場合、図14のアクチュエータ504aのみをON駆動する(液滴を吐出させる)場合、駆動電圧をV0とするとき、走査電極511と信号電極512に対し、図16に示す電位E1を印加すれば、アクチュエータ504aがON駆動される。しかし、このとき、アクチュエータ504bには図16の電位E2が、アクチュエータ504cには電位E3が、アクチュエータ504dには電位E4が与えられることになる。つまり、アクチュエータ504bには電位V0/3の電圧が、アクチュエータ504cには電位2×V0/3の電圧が印加されることになる。   Here, in order to perform passive driving, a method in which the potentials applied to the scanning electrode (first electrode) 511 and the signal electrode (second electrode) 513 are different in polarity can be considered. In this case, when only the actuator 504a in FIG. 14 is ON-driven (droplet is ejected), the potential E1 shown in FIG. 16 is applied to the scanning electrode 511 and the signal electrode 512 when the driving voltage is V0. The actuator 504a is driven ON. However, at this time, the potential E2 in FIG. 16 is applied to the actuator 504b, the potential E3 is applied to the actuator 504c, and the potential E4 is applied to the actuator 504d. That is, the voltage of the potential V0 / 3 is applied to the actuator 504b, and the voltage of the potential 2 × V0 / 3 is applied to the actuator 504c.

このように、圧電アクチュエータを用いてパッシブ駆動を行う場合、ON駆動を所望しない非選択のアクチュエータにも駆動電圧の1/2以上の電圧が印加されることとなる。そして、圧電素子は、駆動電圧にほぼリニアな伸縮を生じることから、振動板の面外方向変位量も駆動電圧にほぼリニアな特性を持つため、非選択(液滴を吐出させないノズルに対応する)圧電アクチュエータも吐出時のほぼ1/2以上の駆動力を発生させて、振動板を選択時の1/2の変位量で変位させることになる。   As described above, when passive driving is performed using a piezoelectric actuator, a voltage equal to or greater than ½ of the driving voltage is applied to a non-selected actuator that does not desire ON driving. Since the piezoelectric element expands and contracts substantially linearly with respect to the driving voltage, the out-of-plane displacement of the diaphragm also has characteristics that are approximately linear with respect to the driving voltage, and therefore corresponds to a non-selected (no nozzle that does not eject droplets). ) The piezoelectric actuator also generates a driving force that is approximately ½ or more of that during ejection, and displaces the diaphragm by a ½ displacement amount at the time of selection.

その結果、液滴と吐出させない(非吐出)ノズルについても振動板の変位によって液滴が吐出するおそれがあり、また、液滴が吐出しないまでも、メニスカスの盛り上がりによりノズル面にインクが溢れ出してしまうことがあり、安定した滴吐出を行うことができないという課題がある。   As a result, there is a risk of droplets being ejected due to the displacement of the vibration plate even for nozzles that are not ejected with droplets (non-ejection), and even if the droplets are not ejected, ink overflows to the nozzle surface due to the rise of the meniscus. There is a problem that stable droplet ejection cannot be performed.

本願発明は上記の課題に鑑みてなされたものであり、圧電アクチュエータを有する液体吐出ヘッドを時分割駆動するときに非吐出時ノズルからの滴吐出や溢れを防止して安定して滴吐出を行うことで高品質画像を形成できるようにすることを目的とする。   The present invention has been made in view of the above problems, and stably ejects droplets by preventing droplet ejection and overflow from a non-ejection nozzle when time-sharing driving a liquid ejection head having a piezoelectric actuator. Therefore, it is an object to be able to form a high quality image.

上記の課題を解決するため、画像形成装置は、
液滴を吐出する複数のノズルと、前記ノズルが連通する複数の液室と、前記液室の一部の壁面を形成する複数の振動板と、前記振動板を変位させる複数の圧電アクチュエータとを有する液体吐出ヘッドを備え、
前記液体吐出ヘッドの前記圧電アクチュエータは、前記振動板上に、第1電極、第1圧電層、第2電極、第2圧電層、第3電極を順次積層して構成され、
前記複数の圧電アクチュエータの各第1電極、第2電極及び第3電極のうち、
一の電極は全ての圧電アクチュエータで共通の電位が印加され、
他の一の電極は複数の第1グループに分けられて、グループ毎に同時に共通の電位が印加され、
更に他の一の電極は複数の第2グループに分けられて、グループ毎に同時に共通の電位が印加され、
前記第1グループと前記第2グループに共通して存在する前記圧電アクチュエータが1つのみである
ことを特徴とする画像形成装置。
In order to solve the above problems, an image forming apparatus
A plurality of nozzles for discharging droplets, a plurality of liquid chambers communicating with the nozzles, a plurality of diaphragms forming a part of a wall surface of the liquid chambers, and a plurality of piezoelectric actuators for displacing the diaphragms A liquid ejection head having
The piezoelectric actuator of the liquid ejection head is configured by sequentially laminating a first electrode, a first piezoelectric layer, a second electrode, a second piezoelectric layer, and a third electrode on the diaphragm.
Of the first, second, and third electrodes of the plurality of piezoelectric actuators,
One electrode is applied with a common potential across all piezoelectric actuators,
The other one electrode is divided into a plurality of first groups, and a common potential is simultaneously applied to each group,
Furthermore, the other one electrode is divided into a plurality of second groups, and a common potential is simultaneously applied to each group,
The image forming apparatus according to claim 1, wherein only one piezoelectric actuator exists in common in the first group and the second group.

ここで、前記全ての圧電アクチュエータで共通の電位が印加される一の電極が前記第2電極である構成とできる。   Here, one electrode to which a common potential is applied to all the piezoelectric actuators can be configured as the second electrode.

また、前記第1圧電層に加わる電界強度は前記第2圧電層に加わる電界強度より大きい構成とできる。   The electric field strength applied to the first piezoelectric layer may be greater than the electric field strength applied to the second piezoelectric layer.

また、前記第2電極はグランド電位に接続されている構成とできる。   The second electrode can be connected to a ground potential.

本発明に係る画像形成装置によれば、液体吐出ヘッドの圧電アクチュエータは、振動板上に、第1電極、第1圧電層、第2電極、第2圧電層、第3電極を順次積層して構成され、複数の圧電アクチュエータの各第1電極、第2電極及び第3電極のうち、一の電極は全ての圧電アクチュエータで共通の電位が印加され、他の一の電極は複数の第1グループに分けられて、グループ毎に同時に共通の電位が印加され、更に他の一の電極は複数の第2グループに分けられて、グループ毎に同時に共通の電位が印加され、第1グループと第2グループに共通して存在する圧電アクチュエータが1つのみである構成としたので、時分割駆動するときに非吐出時ノズルからの滴吐出や溢れを防止して、安定して滴吐出を行うことができ、高品質画像を形成できる。   According to the image forming apparatus of the present invention, the piezoelectric actuator of the liquid ejection head is formed by sequentially laminating the first electrode, the first piezoelectric layer, the second electrode, the second piezoelectric layer, and the third electrode on the vibration plate. The first electrode, the second electrode, and the third electrode of the plurality of piezoelectric actuators are configured, one electrode is applied with a common potential in all the piezoelectric actuators, and the other one electrode is a plurality of first groups. A common potential is applied to each group simultaneously, and the other electrode is further divided into a plurality of second groups, and a common potential is applied to each group simultaneously. Since there is only one piezoelectric actuator that exists in common in the group, it is possible to prevent droplet discharge and overflow from the non-discharge nozzle when performing time-division driving, and stably perform droplet discharge. Capable of forming high-quality images Kill.

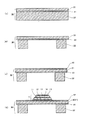
本発明の第1実施形態の説明に供する液体吐出ヘッドの振動板短辺方向の断面説明図である。FIG. 3 is a cross-sectional explanatory diagram of the liquid discharge head in the short side direction of the liquid ejection head for explaining the first embodiment of the present invention. 同実施形態における複数の圧電アクチュエータに対する時分割駆動の第1例の説明に供する平面説明図である。FIG. 6 is an explanatory plan view for explaining a first example of time-division driving for a plurality of piezoelectric actuators in the embodiment. 同時分割駆動で複数の圧電アクチュエータの各電極に与える印加電圧の説明に供する説明図である。It is explanatory drawing with which it uses for description of the applied voltage given to each electrode of a some piezoelectric actuator by simultaneous division drive. 同実施形態における複数の圧電アクチュエータに対する時分割駆動の第2例の説明に供する平面説明図である。FIG. 6 is an explanatory plan view for explaining a second example of time-division driving for a plurality of piezoelectric actuators in the embodiment. 同時分割駆動で複数の圧電アクチュエータの各電極に与える印加電圧の説明に供する説明図である。It is explanatory drawing with which it uses for description of the applied voltage given to each electrode of a some piezoelectric actuator by simultaneous division drive. 本発明における液体吐出ヘッドの圧電アクチュエータの製作工程の説明に供する断面説明図である。It is sectional explanatory drawing with which it uses for description of the manufacturing process of the piezoelectric actuator of the liquid discharge head in this invention. 比較例及び実施例の圧電アクチュエータの圧電層に対する印加電圧と振動板変位量の測定結果の説明に供する説明図である。It is explanatory drawing with which it uses for description of the measurement result of the applied voltage with respect to the piezoelectric layer of a piezoelectric actuator of a comparative example and an Example, and a diaphragm displacement amount. 同じく比較例及び実施例の圧電アクチュエータの圧電層に対する他の印加電圧と振動板変位量の測定結果の説明に供する説明図である。It is explanatory drawing with which it uses for description of the measurement result of the other applied voltage with respect to the piezoelectric layer of the piezoelectric actuator of a comparative example and an Example, and a diaphragm displacement amount similarly. 本発明の第2実施形態における印加電圧の説明に供する説明図である。It is explanatory drawing with which it uses for description of the applied voltage in 2nd Embodiment of this invention. 液体吐出ヘッドを構成する圧電アクチュエータの各電極に与える印加電圧の説明に供する説明図である。It is explanatory drawing with which it uses for description of the applied voltage given to each electrode of the piezoelectric actuator which comprises a liquid discharge head. 本発明に係る画像形成装置の一例を示す全体構成図である。1 is an overall configuration diagram illustrating an example of an image forming apparatus according to the present invention. 同じく要部平面説明図である。Similarly it is principal part plane explanatory drawing. 従来の液体吐出ヘッドにおける圧電アクチュエータの説明に供する振動板短辺方向の要部断面説明図である。It is principal part sectional explanatory drawing of the diaphragm short side direction used for description of the piezoelectric actuator in the conventional liquid discharge head. 同液体吐出ヘッドの複数の圧電アクチュエータに対する時分割駆動の説明に供する平面説明図である。FIG. 6 is an explanatory plan view for explaining time-division driving for a plurality of piezoelectric actuators of the liquid ejection head. 同じく複数の圧電アクチュエータ対する時分割駆動の説明に供する他のアクチュエータ配置例を示す平面説明図である。It is a plane explanatory view showing another example of actuator arrangement for explaining time-division driving for a plurality of piezoelectric actuators. 同時分割駆動における圧電アクチュエータに対する印加電圧の説明に供する説明図である。It is explanatory drawing with which it uses for description of the applied voltage with respect to the piezoelectric actuator in simultaneous division drive.

以下、本発明の実施形態について添付図面を参照して説明する。図1は本発明の第1実施形態の説明に供する説明図である。なお、図1は同実施形態の液体吐出ヘッドの1つのノズルに対応する部分の振動板短辺方向の断面説明図である。
記録ヘッドを構成する液体吐出ヘッド1は、液滴を吐出するノズル2を形成したノズル板3と、ノズル2が連通する液室(圧力室)4を形成する流路板5と、液室4の一部の壁面を形成する振動板6と、振動板6を変位(変形)させる圧電アクチュエータ7とを有している。
Embodiments of the present invention will be described below with reference to the accompanying drawings. FIG. 1 is an explanatory diagram for explaining the first embodiment of the present invention. FIG. 1 is a cross-sectional explanatory view of a portion corresponding to one nozzle of the liquid ejection head of the same embodiment in the diaphragm short side direction.
The liquid discharge head 1 constituting the recording head includes a nozzle plate 3 on which nozzles 2 for discharging liquid droplets are formed, a flow path plate 5 that forms a liquid chamber (pressure chamber) 4 with which the nozzles 2 communicate, and a liquid chamber 4. The diaphragm 6 that forms a part of the wall surface of the motor and the piezoelectric actuator 7 that displaces (deforms) the diaphragm 6 are provided.

圧電アクチュエータ7は、振動板6上に、第1電極11、第1圧電層(第1圧電材料層)12、第2電極13、第2圧電層(第2圧電材料層)14、第3電極15を順次積層して構成されている。   The piezoelectric actuator 7 includes a first electrode 11, a first piezoelectric layer (first piezoelectric material layer) 12, a second electrode 13, a second piezoelectric layer (second piezoelectric material layer) 14, and a third electrode on the diaphragm 6. 15 are sequentially laminated.

駆動電圧印加手段20は、印刷データに応じて、圧電アクチュエータ7の第1電極11、第2電極13、第3電極15に対してそれぞれ駆動電圧V1、V2、V3を印加する。   The drive voltage application unit 20 applies drive voltages V1, V2, and V3 to the first electrode 11, the second electrode 13, and the third electrode 15 of the piezoelectric actuator 7 according to the print data.

ここで、3つの電極11、13、15はそれぞれ独立であり、液滴を吐出する場合には、第1圧電層12、第2圧電層14が共に面内方向に伸びる(又は共に縮む)ように電圧印加を行う。一方、吐出させない場合には、第1圧電層12及び第2圧電層14の一方のみが伸びる(又は縮む)ように電圧印加を行い、他方の圧電層は伸縮させない。   Here, the three electrodes 11, 13, and 15 are independent from each other, and when discharging droplets, both the first piezoelectric layer 12 and the second piezoelectric layer 14 extend (or contract together) in the in-plane direction. Voltage is applied to On the other hand, when not discharging, voltage is applied so that only one of the first piezoelectric layer 12 and the second piezoelectric layer 14 extends (or contracts), and the other piezoelectric layer is not expanded or contracted.

まず、第1圧電層12のみを伸縮させる場合、第1圧電層12のみに電圧を印加するが、その両側には伸縮しない振動板6と第2圧電層14が存在するため、圧電アクチュエータ7と振動板6はユニモルフ型とはならず、第1圧電層の面内方向伸縮は大きく制限され、結果として、振動板6の面外方向変位も非常に小さなものとなる。   First, when only the first piezoelectric layer 12 is expanded and contracted, a voltage is applied only to the first piezoelectric layer 12, but the diaphragm 6 and the second piezoelectric layer 14 that do not expand and contract exist on both sides thereof. The diaphragm 6 is not a unimorph type, and the in-plane expansion and contraction of the first piezoelectric layer is greatly limited. As a result, the out-of-plane displacement of the diaphragm 6 is also very small.

次に、第2圧電層14のみを伸縮させる場合、圧電アクチュエータ7と振動板6はユニモルフ型となり、振動板6を効率良く撓ませることが可能となる。ただし、通常、振動板6と第1圧電層12或いは第2圧電層14は同程度の厚みを有するため、第2圧電層14のみを伸縮させる場合、第1圧電層14も振動板の一部のような構成となる。このとき、液滴吐出のための駆動電圧をV0とし、第2圧電層14に電位V0/2の電圧を印加する場合と、図21の構成の圧電層512に電位V0/2の電圧を印加した場合では、図21と図1で圧電層厚みの合計が同じとして、前者の方が変位量は小さくなる。   Next, when only the second piezoelectric layer 14 is expanded and contracted, the piezoelectric actuator 7 and the diaphragm 6 are unimorph type, and the diaphragm 6 can be flexed efficiently. However, since the diaphragm 6 and the first piezoelectric layer 12 or the second piezoelectric layer 14 usually have the same thickness, when only the second piezoelectric layer 14 is expanded and contracted, the first piezoelectric layer 14 is also a part of the diaphragm. The configuration is as follows. At this time, the driving voltage for droplet discharge is set to V0, and the voltage V0 / 2 is applied to the second piezoelectric layer 14, and the voltage V0 / 2 is applied to the piezoelectric layer 512 having the configuration shown in FIG. In this case, assuming that the total piezoelectric layer thickness is the same in FIG. 21 and FIG. 1, the displacement amount is smaller in the former case.

つまり、液滴吐出のための駆動電圧がV0であったとして、電位V0/2の電圧印加を行っても、振動板6の変位量は液滴吐出のときの変位量の1/2以下となり、液滴吐出を行わないアクチュエータ7の動作による液垂れなどの不具合が改善される。   In other words, assuming that the driving voltage for droplet discharge is V0, even if the voltage V0 / 2 is applied, the displacement amount of the vibration plate 6 is ½ or less of the displacement amount during droplet discharge. In addition, problems such as liquid dripping due to the operation of the actuator 7 that does not discharge droplets are improved.

また、第2圧電層14のみを伸縮させる場合の変位量をより小さくしたい場合には、無負荷状態での第1圧電層12の伸縮を、無負荷状態での第2圧電層14の伸縮よりも大きくなるように設定すれば良い。上述したように、第1圧電層12のみに電圧を印加した場合には、アクチュエータがユニモルフ型ではないため、振動板6の変位は非常に小さい。つまり、第2圧電層14のみに「0」でない電圧が印加される場合よりも、第2圧電層14のみに大きさの等しい電圧が印加される場合の方が、変位量は小さくなる。したがって、第1圧電層12と第2圧電層14が共に駆動される場合には、所望の振動板変位量が得られるようにしておき、第1圧電層12と第2圧電層14が単独で駆動される場合には、得られる振動板変位量が同程度になるように、無負荷状態での第1圧電層12の伸縮が第2圧電層14の伸縮よりも大きくなるように設定しておくと良い。   Further, when it is desired to reduce the amount of displacement when only the second piezoelectric layer 14 is expanded and contracted, the expansion and contraction of the first piezoelectric layer 12 in the no-load state is larger than the expansion and contraction of the second piezoelectric layer 14 in the no-load state. Should be set to be larger. As described above, when a voltage is applied only to the first piezoelectric layer 12, the displacement of the diaphragm 6 is very small because the actuator is not a unimorph type. That is, the amount of displacement is smaller when a voltage having the same magnitude is applied only to the second piezoelectric layer 14 than when a voltage other than “0” is applied only to the second piezoelectric layer 14. Therefore, when both the first piezoelectric layer 12 and the second piezoelectric layer 14 are driven, a desired vibration plate displacement amount is obtained, and the first piezoelectric layer 12 and the second piezoelectric layer 14 are independent. When driven, the expansion and contraction of the first piezoelectric layer 12 in the no-load state is set to be larger than the expansion and contraction of the second piezoelectric layer 14 so that the obtained vibration plate displacement amount is approximately the same. It is good to leave.

この場合、第1圧電層12の伸縮を相対的に上げる方法としては、例えば第1圧電層12と第2圧電層14に印加される最大電圧は同じとして、第1圧電層12を第2圧電層14よりも薄く形成する。或いは、第1圧電層12と第2圧電層14の厚みを略同じとして、第1圧電層12に印加する最大電圧を大きくするなど、第1圧電層12に印加する電界強度を第2圧電層13に印加する電界強度よりも相対的に大きく採っておく構成がある。   In this case, as a method of relatively increasing the expansion and contraction of the first piezoelectric layer 12, for example, the maximum voltage applied to the first piezoelectric layer 12 and the second piezoelectric layer 14 is the same, and the first piezoelectric layer 12 is moved to the second piezoelectric layer. It is formed thinner than the layer 14. Alternatively, the thickness of the first piezoelectric layer 12 and the second piezoelectric layer 14 are substantially the same, and the maximum voltage applied to the first piezoelectric layer 12 is increased, so that the electric field strength applied to the first piezoelectric layer 12 is increased. There is a configuration in which the electric field strength applied to 13 is relatively larger.

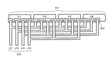
次に、上述した液体吐出ヘッドの圧電アクチュエータをマトリクス配置して時分割駆動する構成の第1例について図2及び図3を参照して説明する。
液体吐出ヘッド1は、図2に示すように、各圧電アクチュエータ7の第1電極11を走査電極(以下、「走査電極11」ともいう。)とし、第3電極15を信号電極(以下、「信号電極15」ともいう。)として、第2電極13は共通電極となっており、走査電極11と信号電極15との交点に第2電極13を介してそれぞれ第1、第2圧電層12、14が設けられて圧電アクチュエータ7が配置されている。
Next, a first example of a configuration in which the piezoelectric actuators of the liquid discharge head described above are arranged in a matrix and time-division driven will be described with reference to FIGS.
As shown in FIG. 2, the liquid ejection head 1 uses the first electrode 11 of each piezoelectric actuator 7 as a scanning electrode (hereinafter also referred to as “scanning electrode 11”) and the third electrode 15 as a signal electrode (hereinafter referred to as “scanning electrode 11”). The second electrode 13 is a common electrode, and the first and second piezoelectric layers 12 and 12 are respectively connected to the intersections of the scanning electrode 11 and the signal electrode 15 via the second electrode 13. 14 is provided, and the piezoelectric actuator 7 is arranged.

ここで、全てのアクチュエータ7の一の電極である第2電極13は、振動板長辺方向端部において配線が通じており、同時に共通の電位が印加される共通電極となっている。   Here, the second electrode 13, which is one electrode of all the actuators 7, is connected to a wiring at an end portion in the long side direction of the diaphragm, and is a common electrode to which a common potential is applied at the same time.

他の一の電極である第1電極11は第1のグルーピングにより複数の第1グループに分けられ、複数の第1グループに分けられた第1電極11はグループ毎に振動板長辺方向端部において電気的に接続され、第1電極11にはグループ毎に同時に共通の電位が印加される。ここでは、第1電極11は、i=1〜i=mのm個のグループに分けられて、例えばi=1に属する圧電アクチュエータ7の第1電極11は同時に共通の電位が印加され、同様に、i=2に属する圧電アクチュエータ7の第1電極11は同時に共通の電位が印加されるというように、各グループi=1〜i=m毎に共通の電位が印加される。   The first electrode 11, which is another electrode, is divided into a plurality of first groups by the first grouping, and the first electrodes 11 divided into the plurality of first groups are end portions in the diaphragm long side direction for each group. The first electrode 11 is simultaneously applied with a common potential for each group. Here, the first electrode 11 is divided into m groups of i = 1 to i = m. For example, the first electrode 11 of the piezoelectric actuator 7 belonging to i = 1 is simultaneously applied with a common potential. In addition, a common potential is applied to each group i = 1 to i = m so that the first electrode 11 of the piezoelectric actuator 7 belonging to i = 2 is simultaneously applied with a common potential.

更に他の一の電極である第3電極15は第2のグルーピングより複数の第2グループに分けられ、複数の第2グループに分けられた第3電極15はグループ毎に振動板長辺方向端部において電気的に接続され、第3電極15にはグループ毎に同時に共通の電位が印加される。ここでは、第3電極15は、j=1〜j=nのn個のグループに分けられて、例えばj=1に属する圧電アクチュエータ7の第3電極15は同時に共通の電位が印加され、同様に、j=2に属する圧電アクチュエータ7の第3電極15は同時に共通の電位が印加されるというように、各グループj=1〜j=n毎に共通の電位が印加される。   Further, the third electrode 15 which is another electrode is divided into a plurality of second groups by the second grouping, and the third electrodes 15 divided into the plurality of second groups are arranged in the longitudinal direction of the diaphragm for each group. A common potential is applied to the third electrode 15 at the same time for each group. Here, the third electrode 15 is divided into n groups of j = 1 to j = n. For example, the third electrode 15 of the piezoelectric actuator 7 belonging to j = 1 is simultaneously applied with a common potential. In addition, a common potential is applied to each group j = 1 to j = n so that the third electrode 15 of the piezoelectric actuator 7 belonging to j = 2 is simultaneously applied with a common potential.

このとき、第1グループの或るグループに属する複数の圧電アクチュエータ7のうち、第2グループの或るグループに属する圧電アクチュエータ7は1つのみである。例えば、第1グループのi=3のグループと第3グループのj=4のグループに属する圧電アクチュエータ7は圧電アクチュエータ7aの1つのみである。   At this time, among the plurality of piezoelectric actuators 7 belonging to a certain group of the first group, there is only one piezoelectric actuator 7 belonging to a certain group of the second group. For example, the piezoelectric actuator 7 belonging to the first group i = 3 and the third group j = 4 is only one of the piezoelectric actuators 7a.

ここでは、各アクチュエータ7の第1圧電層12と第2圧電層14に印加される最大電圧は同じとして説明する。   Here, the description will be made assuming that the maximum voltages applied to the first piezoelectric layer 12 and the second piezoelectric layer 14 of each actuator 7 are the same.

まず、アクチュエータ7aのみを駆動する(液滴を吐出させる)場合、アクチュエータ7aの第1、第2、第3電極11、13、15に対し、各電極11、13、15の電位が図3に示す電位E1となる(電位E1が得られる)電圧V1、V2、V3を印加することで液滴を吐出できるものとする。なお、このとき、第1圧電層12と第2圧電層14が共に伸び,或いは縮むようにするため、両圧電層12、14の配向の向きが逆になっていることが必要である。   First, when only the actuator 7a is driven (droplet is ejected), the potentials of the electrodes 11, 13, and 15 with respect to the first, second, and third electrodes 11, 13, and 15 of the actuator 7a are shown in FIG. It is assumed that droplets can be ejected by applying the voltages V1, V2, and V3 (the potential E1 is obtained) at the potential E1 shown. At this time, in order for both the first piezoelectric layer 12 and the second piezoelectric layer 14 to expand or contract, it is necessary that the orientation directions of both the piezoelectric layers 12 and 14 are reversed.

他のアクチュエータ7b、7c、7dに印加される電位は3つの状態があり、例えば図2に示すアクチュエータ7bの第1、第2、第3電極11、13、15には同様に図3の電位E2となる電圧V1、V2、V3が印加され、アクチュエータ7cの第1、第2、第3電極11、13、15には同様に図3の電位E3となる電圧V1、V2、V3が印加され、アクチュエータ7dの第1、第2、第3電極11、13、15には同様に図3の電位E4となる電圧V1、V2、V3が印加される。   There are three potentials applied to the other actuators 7b, 7c, and 7d. For example, the first, second, and third electrodes 11, 13, and 15 of the actuator 7b shown in FIG. Voltages V1, V2, and V3 to be E2 are applied, and voltages V1, V2, and V3 to be the potential E3 in FIG. 3 are similarly applied to the first, second, and third electrodes 11, 13, and 15 of the actuator 7c. Similarly, voltages V1, V2, and V3 that are the potential E4 of FIG. 3 are applied to the first, second, and third electrodes 11, 13, and 15 of the actuator 7d.

この場合、アクチュエータ7dの第1、第2圧電層12、14には電圧が印加されていない状態になるので液滴は吐出しない。   In this case, since no voltage is applied to the first and second piezoelectric layers 12 and 14 of the actuator 7d, no droplets are ejected.

アクチュエータ7bでは第1圧電層12のみに電圧が印加されているが、上述したようにモノモルフ構造となっていないため、吐出のための駆動電圧V0の1/2(V/02)以上の電圧を印加しても、振動板6の変位量は小さく、液滴を吐出することはできない。また、ノズルからインクが溢れ出すような不具合も生じない。   In the actuator 7b, a voltage is applied only to the first piezoelectric layer 12, but since it does not have a monomorph structure as described above, a voltage equal to or higher than 1/2 (V / 02) of the drive voltage V0 for ejection is used. Even if it is applied, the amount of displacement of the diaphragm 6 is small and droplets cannot be ejected. Further, there is no problem that the ink overflows from the nozzle.

アクチュエータ7cでは、第2圧電層14のみに電圧が印加される。上述したように、第1圧電層12が振動板6の一部のような構成となるため、振動板の変位は小さい。また、第1圧電層12に印加される電界強度を第2圧電層14に印加される電界強度よりも大きくなるように設定することで、アクチュエータ7cの変位量をより小さくすることができ、液滴の吐出に至らないことはもちろん、ノズルから液が溢れ出す不具合も無くなる。   In the actuator 7 c, a voltage is applied only to the second piezoelectric layer 14. As described above, since the first piezoelectric layer 12 is configured as a part of the diaphragm 6, the displacement of the diaphragm is small. Further, by setting the electric field strength applied to the first piezoelectric layer 12 to be larger than the electric field strength applied to the second piezoelectric layer 14, the displacement amount of the actuator 7c can be further reduced, In addition to not discharging droplets, there is no problem of overflowing liquid from the nozzle.

次に、上述した液体吐出ヘッドの圧電アクチュエータをマトリクス配置して時分割駆動する構成の第2例について図4及び図5を参照して説明する。
ここでは、全てのアクチュエータ7の一の電極である第1電極11は、振動板長辺方向端部において配線が通じており、同時に共通の電位が印加される共通電極となっている。
Next, a second example of the configuration in which the piezoelectric actuators of the liquid ejection head described above are arranged in a matrix and driven in a time-sharing manner will be described with reference to FIGS.
Here, the first electrode 11 which is one electrode of all the actuators 7 is connected to the wiring at the end portion in the long side direction of the diaphragm, and is a common electrode to which a common potential is applied at the same time.

他の一の電極である第2電極13は第1のグルーピングにより複数の第1グループに分けられ、複数の第1グループに分けられた第2電極13はグループ毎に振動板長辺方向端部において電気的に接続され、第2電極13にはグループ毎に同時に共通の電位が印加される。ここでは、第2電極13は、k=1〜k=mのm個のグループに分けられて、例えばk=1に属する圧電アクチュエータ7の第2電極13は同時に共通の電位が印加され、同様に、k=2に属する圧電アクチュエータ7の第2電極13は同時に共通の電位が印加されるというように、各グループk=1〜k=m毎に共通の電位が印加される。   The second electrode 13, which is another electrode, is divided into a plurality of first groups by the first grouping, and the second electrodes 13 divided into the plurality of first groups are end portions in the diaphragm long side direction for each group. Are electrically connected to each other, and a common potential is simultaneously applied to the second electrode 13 for each group. Here, the second electrode 13 is divided into m groups of k = 1 to k = m. For example, the second electrode 13 of the piezoelectric actuator 7 belonging to k = 1 is simultaneously applied with a common potential. In addition, a common potential is applied to each of the groups k = 1 to k = m so that the second electrode 13 of the piezoelectric actuator 7 belonging to k = 2 is simultaneously applied with a common potential.

更に他の一の電極である第3電極15は第2のグルーピングより複数の第2グループに分けられ、複数の第2グループに分けられた第3電極15はグループ毎に振動板長辺方向端部において電気的に接続され、第3電極15にはグループ毎に同時に共通の電位が印加される。ここでは、第3電極15は、j=1〜j=nのn個のグループに分けられて、例えばj=1に属する圧電アクチュエータ7の第3電極15は同時に共通の電位が印加され、同様に、j=2に属する圧電アクチュエータ7の第3電極15は同時に共通の電位が印加されるというように、各グループj=1〜j=n毎に共通の電位が印加される。   Further, the third electrode 15 which is another electrode is divided into a plurality of second groups by the second grouping, and the third electrodes 15 divided into the plurality of second groups are arranged in the longitudinal direction of the diaphragm for each group. A common potential is applied to the third electrode 15 at the same time for each group. Here, the third electrode 15 is divided into n groups of j = 1 to j = n. For example, the third electrode 15 of the piezoelectric actuator 7 belonging to j = 1 is simultaneously applied with a common potential. In addition, a common potential is applied to each group j = 1 to j = n so that the third electrode 15 of the piezoelectric actuator 7 belonging to j = 2 is simultaneously applied with a common potential.

このとき、第1グループの或るグループに属する複数の圧電アクチュエータ7のうち、第2グループの或るグループに属する圧電アクチュエータ7は1つのみである。例えば、第1グループのk=3のグループと第3グループのj=4のグループに属する圧電アクチュエータ7は圧電アクチュエータ7aの1つのみである。   At this time, among the plurality of piezoelectric actuators 7 belonging to a certain group of the first group, there is only one piezoelectric actuator 7 belonging to a certain group of the second group. For example, there is only one piezoelectric actuator 7a belonging to the first group k = 3 and the third group j = 4.

ここでは、各アクチュエータ7の第1圧電層12と第2圧電層14に印加される最大電圧は同じとして説明する。   Here, the description will be made assuming that the maximum voltages applied to the first piezoelectric layer 12 and the second piezoelectric layer 14 of each actuator 7 are the same.

まず、アクチュエータ7aのみを駆動する(液滴を吐出させる)場合、アクチュエータ7aの第1、第2、第3電極11、13、15に対し、各電極11、13、15の電位が図5に示す電位E1となる(電位E1が得られる)電圧V1、V2、V3を印加することで液滴を吐出できるものとする。なお、このとき、第1圧電層12と第2圧電層14が共に伸び,或いは縮むようにするため、両圧電層12、14の配向の向きが逆になっていることが必要である。   First, when only the actuator 7a is driven (droplet is discharged), the potentials of the electrodes 11, 13, and 15 with respect to the first, second, and third electrodes 11, 13, and 15 of the actuator 7a are shown in FIG. It is assumed that droplets can be ejected by applying the voltages V1, V2, and V3 (the potential E1 is obtained) at the potential E1 shown. At this time, in order for both the first piezoelectric layer 12 and the second piezoelectric layer 14 to expand or contract, it is necessary that the orientation directions of both the piezoelectric layers 12 and 14 are reversed.

このとき、アクチュエータ7bの第1、第2、第3電極11、13、15には同様に図5の電位E2となる電圧V1、V2、V3が印加され、第1圧電層12のみに電圧が印加され、アクチュエータ7cの第1、第2、第3電極11、13、15には同様に図5の電位E4となる電圧V1、V2、V3が印加され、第2圧電層14のみに電圧が印加され、アクチュエータ7dの第1、第2、第3電極11、13、15には同様に図5の電位E3となる電圧V1、V2、V3が印加され、第1、第2圧電層12、14には電圧が印加されないので、アクチュエータ7b、7c、7dからは液滴が吐出されない。   At this time, voltages V1, V2, and V3 that are the potential E2 of FIG. 5 are similarly applied to the first, second, and third electrodes 11, 13, and 15 of the actuator 7b, and the voltage is applied only to the first piezoelectric layer 12. 5 is applied to the first, second, and third electrodes 11, 13, and 15 of the actuator 7 c in the same manner, and the voltage is applied only to the second piezoelectric layer 14. Similarly, voltages V1, V2, and V3 that are the potential E3 of FIG. 5 are applied to the first, second, and third electrodes 11, 13, and 15 of the actuator 7d, and the first and second piezoelectric layers 12, Since no voltage is applied to 14, no droplets are ejected from the actuators 7b, 7c, 7d.

ただし、この第2例では、滴吐出を行わないアクチュエータ7の第3電極15に−V0/2の電圧を印加する(図5の電位E2、E4の状態)ために、第1例よりは消費電力効率が低下する。   However, in the second example, a voltage of −V0 / 2 is applied to the third electrode 15 of the actuator 7 that does not perform droplet discharge (the states of the potentials E2 and E4 in FIG. 5). Power efficiency is reduced.

次に、圧電アクチュエータの製作方法の一例について図5を参照して説明する。なお、図6は1つのアクチュエータの振動板短辺方向断面図である。
ここでは、図6(a)に示すように、単結晶シリコン基板31、32の間にシリコン酸化膜41を有するSOI基板30を使用する。そして、図6(b)に示すように、シリコン基板31の表面に図示しないレジスト膜を形成し、酸化膜41をストップ層としてシリコン基板32のKOHなどによるウェットエッチング処理を行い、掘り込み部を形成する。掘り込み部は、ヘッドの液室4となり、掘り込み以外の部分は液室間隔壁となる。また、シリコン基板31は振動板6となる(例えば厚さ2μmのシリコン基板31を用いる)。
Next, an example of a method for manufacturing a piezoelectric actuator will be described with reference to FIG. FIG. 6 is a sectional view in the short side direction of the diaphragm of one actuator.
Here, as shown in FIG. 6A, an SOI substrate 30 having a silicon oxide film 41 between single crystal silicon substrates 31 and 32 is used. Then, as shown in FIG. 6B, a resist film (not shown) is formed on the surface of the silicon substrate 31, and the silicon film 32 is wet-etched with KOH or the like using the oxide film 41 as a stop layer, and the digging portion is formed. Form. The digging portion becomes the liquid chamber 4 of the head, and the portion other than the digging becomes the liquid chamber interval wall. Further, the silicon substrate 31 becomes the diaphragm 6 (for example, a silicon substrate 31 having a thickness of 2 μm is used).

次に、図6(c)に示すように、シリコン基板31からなる振動板6上のレジストを除去し、CVDにより0.3μmのHTO(酸化シリコン)膜42を形成する。その後、図5(d)に示すように、CVDによる製膜とパターニングにより、第1電極11、第1圧電層12、第2電極13、第2圧電層14、第3電極15を順次積層して圧電アクチュエータ7を形成する。なお、電極の厚みはそれぞれ0.1μmであり、圧電層の厚みは1.5μm、電極材料は白金とした。   Next, as shown in FIG. 6C, the resist on the vibration plate 6 made of the silicon substrate 31 is removed, and a 0.3 μm HTO (silicon oxide) film 42 is formed by CVD. Thereafter, as shown in FIG. 5D, the first electrode 11, the first piezoelectric layer 12, the second electrode 13, the second piezoelectric layer 14, and the third electrode 15 are sequentially stacked by CVD film formation and patterning. Thus, the piezoelectric actuator 7 is formed. The thickness of each electrode was 0.1 μm, the thickness of the piezoelectric layer was 1.5 μm, and the electrode material was platinum.

ここで、図6は振動板短辺方向断面図であるため明らかでないが、前述したように、全てのアクチュエータ7の一の電極である第2電極12は、振動板長辺方向端部において配線が通じており、同時に共通の電位が印加される共通電極となっている。また、各アクチュエータ7の第1電極11、第3電極はそれぞれグルーピングされて複数の第1グループ、第2グループに分けられ、各グループの第1電極11、第3電極15にはグループ毎に同時に共通の電位が印加される。この場合、第1グループと第2グループに共通して存在する圧電アクチュエータ7は1つのみとしている。   Here, although FIG. 6 is a cross-sectional view in the short side direction of the diaphragm, it is not clear, but as described above, the second electrode 12 which is one electrode of all the actuators 7 is wired at the end part in the long side direction of the diaphragm. And a common electrode to which a common potential is applied at the same time. The first electrode 11 and the third electrode of each actuator 7 are grouped and divided into a plurality of first groups and second groups. The first electrode 11 and the third electrode 15 of each group are simultaneously provided for each group. A common potential is applied. In this case, only one piezoelectric actuator 7 exists in common in the first group and the second group.

次に、従来構成の圧電アクチュエータとの比較について説明する。
(実施例1)
上記図6の作製工程で圧電アクチュエータを製作した。
(比較例1)
前述した図6の作製工程で、図13に示すように、第2圧電層13、第3電極15を有していない圧電アクチュエータ504にしたこと、第1圧電層512の厚みを3μmとしたこと以外同様な構成のものを製作した。
Next, a comparison with a conventional piezoelectric actuator will be described.
Example 1
A piezoelectric actuator was manufactured in the manufacturing process of FIG.
(Comparative Example 1)
In the manufacturing process of FIG. 6 described above, as shown in FIG. 13, the piezoelectric actuator 504 without the second piezoelectric layer 13 and the third electrode 15 is used, and the thickness of the first piezoelectric layer 512 is 3 μm. Other than that, a similar configuration was produced.

そして、実施例1の圧電アクチュエータの第1圧電層12に13V、第2圧電層14に13Vを印加した場合、比較例1の圧電アクチュエータの第1圧電層512に26Vを印加した場合について、振動板の短辺方向中央部の変位量をレーザードップラー振動計で計測した。この結果は、図7に示すように、振動板の変位量が略同じになる。   When 13V is applied to the first piezoelectric layer 12 of the piezoelectric actuator of Example 1 and 13V is applied to the second piezoelectric layer 14, vibration is applied to the case of applying 26V to the first piezoelectric layer 512 of the piezoelectric actuator of Comparative Example 1. The displacement at the center of the short side of the plate was measured with a laser Doppler vibrometer. As a result, as shown in FIG. 7, the displacement amount of the diaphragm is substantially the same.

また、実施例1の圧電アクチュエータの第1圧電層12のみに13Vを印加した場合、第2圧電層14のみに13Vを印加した場合、比較例1の圧電アクチュエータの第1圧電層512に16Vを印加した場合について、同様に、振動板の短辺方向中央部の変位量をレーザードップラー振動計で計測した。この結果を図8に示している。   Further, when 13 V is applied only to the first piezoelectric layer 12 of the piezoelectric actuator of Example 1, and 13 V is applied only to the second piezoelectric layer 14, 16 V is applied to the first piezoelectric layer 512 of the piezoelectric actuator of Comparative Example 1. Similarly, in the case of application, the amount of displacement at the central portion in the short side direction of the diaphragm was measured with a laser Doppler vibrometer. The result is shown in FIG.

この図8から分かるように、実施例1の構成で、第1圧電層12のみに13Vの電圧が印加されるようにして、第2圧電層14に印加される電圧は「0」となる場合、或いは第2圧電層14のみに13Vの電圧が印加されるようにして、第1圧電層12に印加される電圧は「0」となる場合には、比較例1の圧電層に13Vの電圧が印加される場合よりも振動板の変位量が小さくなる。   As can be seen from FIG. 8, in the configuration of Example 1, a voltage of 13 V is applied only to the first piezoelectric layer 12 and the voltage applied to the second piezoelectric layer 14 is “0”. Alternatively, when a voltage of 13 V is applied only to the second piezoelectric layer 14 and the voltage applied to the first piezoelectric layer 12 is “0”, a voltage of 13 V is applied to the piezoelectric layer of Comparative Example 1. The amount of displacement of the diaphragm is smaller than when the voltage is applied.

また、実施例1の構成において、第1圧電層12のみに13V印加される場合の振動板変位量0.2μmは、第2圧電層に13V印加される場合の振動板変位量0.6μmよりも非常に小さいことが分かる。この変位量の差分がほぼ等しくなるように、例えば、第2圧電層14に印加する電圧よりも、第1圧電層12に印加する電圧を大きく採っておくとよい。   In the configuration of the first embodiment, the diaphragm displacement amount 0.2 μm when 13 V is applied only to the first piezoelectric layer 12 is more than the diaphragm displacement amount 0.6 μm when 13 V is applied to the second piezoelectric layer. Is also very small. For example, the voltage applied to the first piezoelectric layer 12 may be set larger than the voltage applied to the second piezoelectric layer 14 so that the difference between the displacement amounts becomes substantially equal.

このように、圧電アクチュエータは、振動板上に、第1電極、第1圧電層、第2電極、第2圧電層、第3電極を順次積層して構成され、複数の圧電アクチュエータの各第1電極、第2電極及び第3電極のうち、一の電極には全ての圧電アクチュエータに共通の電位が印加され、複数の第1グループに分けられた他の一の電極には各グループ毎に同時に共通の電位が印加され、複数の第2グループに分けられた更に他の一の電極には各グループ毎に同時に共通の電位が印加され、第1グループに属するグループと第2グループに属するグループに共通して存在する圧電アクチュエータは1つのみである構成とすることで、時分割駆動するときに非吐出時ノズルからの滴吐出や溢れを防止して、安定して滴吐出を行うことができ、高品質画像を形成できる。   As described above, the piezoelectric actuator is configured by sequentially laminating the first electrode, the first piezoelectric layer, the second electrode, the second piezoelectric layer, and the third electrode on the diaphragm, and each of the first piezoelectric actuators. Of the electrodes, the second electrode, and the third electrode, one electrode is applied with a common potential to all the piezoelectric actuators, and the other electrode divided into a plurality of first groups is simultaneously applied to each group. A common potential is applied, and a further common electrode is applied to each of the other electrodes divided into a plurality of second groups at the same time for each group, and the group belonging to the first group and the group belonging to the second group are applied. By adopting a configuration with only one piezoelectric actuator in common, it is possible to prevent droplet discharge and overflow from the non-discharge nozzle when performing time-division driving, and stably perform droplet discharge. Shape high quality images It can be.

次に、本発明の第2実施形態における印加電圧について図9を参照して説明する。
ここでも、第1圧電層12と第2圧電層14に印加される最大電圧は同じとして説明する。
まず、液滴の吐出を行なうための電位をV0として、前述した図2に示すアクチュエータ7aのみを駆動する(液滴を吐出させる)場合、アクチュエータ7aの第1、第2、第3電極11、13、15に対し、図9に示す電位E1の電圧V1、V2、V3を印加することで液滴を吐出できるものとする。なお、このとき、第1圧電層12と第2圧電層14が共に伸び,或いは縮むようにするため、両圧電層12、14の配向の向きが逆になっていることが必要である。
Next, the applied voltage in the second embodiment of the present invention will be described with reference to FIG.
Here again, the maximum voltage applied to the first piezoelectric layer 12 and the second piezoelectric layer 14 is assumed to be the same.
First, in the case where only the actuator 7a shown in FIG. 2 described above is driven (droplets are discharged) with the potential for discharging droplets as V0, the first, second, and third electrodes 11 of the actuator 7a, It is assumed that droplets can be ejected by applying voltages V1, V2, and V3 of the potential E1 shown in FIG. At this time, in order for both the first piezoelectric layer 12 and the second piezoelectric layer 14 to expand or contract, it is necessary that the orientation directions of both the piezoelectric layers 12 and 14 are reversed.

他のアクチュエータ7に印加される電位は3つの状態があり、例えば図2に示すアクチュエータ7bの第1、第2、第3電極11、13、15には図9の電位E2となる電圧V1、V2、V3が印加され、アクチュエータ7cの第1、第2、第3電極11、13、15には図9の電位E3となる電圧V1、V2、V3が印加され、アクチュエータ7dの第1、第2、第3電極11、13、15には図7の電位E4となる電圧V1、V2、V3が印加される。   The potential applied to the other actuator 7 has three states. For example, the first, second, and third electrodes 11, 13, and 15 of the actuator 7 b shown in FIG. 2 have a voltage V 1 that is the potential E 2 of FIG. V2 and V3 are applied, and voltages V1, V2, and V3 that are the potential E3 of FIG. 9 are applied to the first, second, and third electrodes 11, 13, and 15 of the actuator 7c, and the first and second electrodes of the actuator 7d are applied. 2. The voltages V1, V2, and V3 that are the potential E4 in FIG. 7 are applied to the third electrodes 11, 13, and 15, respectively.

この場合も、前述した実施形態で説明したと同様に、アクチュエータ7b、7c、7dによる振動板6の変形によって液滴の吐出に至らないことはもちろん、ノズルから液体が溢れ出す液垂れのおそれもなくなる。   In this case as well, as described in the above-described embodiment, the deformation of the diaphragm 6 by the actuators 7b, 7c, and 7d does not lead to the discharge of liquid droplets, and there is a risk of liquid dripping from the nozzles. Disappear.

そして、第2電極13を常に電位「0V」とする(第2電極13をGNDに接続する)ことで、第2電極13に印加する電圧を発生させるための回路を設ける必要がなくなり、コストを下げることができる。   Further, by always setting the second electrode 13 to the potential “0 V” (connecting the second electrode 13 to GND), it is not necessary to provide a circuit for generating a voltage to be applied to the second electrode 13, thereby reducing the cost. Can be lowered.

次に、液体吐出ヘッドの実施例及び比較例について説明する。
前述した実施例1の振動板6を形成した基板30にノズルが形成されたノズル板を接合することで液体吐出ヘッドを製作した。
Next, examples and comparative examples of the liquid discharge head will be described.
A liquid discharge head was manufactured by bonding a nozzle plate having nozzles to the substrate 30 on which the diaphragm 6 of Example 1 described above was formed.

そして、この液体吐出ヘッドを用いて、液滴吐出評価を行った。印加電圧を図10に示している。液滴吐出のための電圧V0=26Vとする。第1電極11には正極性の電位を、第3電極15には負極性の電位を与えた。第1電極11、第3電極15に入力するパルス電位の立ち上げ時間Tr、立ち下げ時間Tfは共に、Tr=Tf=1.0μsとした。また、パルス幅Pw=1.5μsとした。第1電極11に印加する最大電位は29.5Vとし、第3電極15に印加する最小電位は−6.5Vとした。   Then, using this liquid discharge head, droplet discharge evaluation was performed. The applied voltage is shown in FIG. The voltage V0 = 26V for droplet discharge is set. A positive potential was applied to the first electrode 11 and a negative potential was applied to the third electrode 15. The rise time Tr and the fall time Tf of the pulse potential input to the first electrode 11 and the third electrode 15 are both Tr = Tf = 1.0 μs. The pulse width Pw was set to 1.5 μs. The maximum potential applied to the first electrode 11 was 29.5V, and the minimum potential applied to the third electrode 15 was −6.5V.

図10の電位E1が得られる駆動波形をアクチュエータ7に印加したところ、体積5.1plの液滴が1mmの飛翔において平均速度6m/sの速度で吐出されたことを確認した。また、図10の電位E2、E3が得られる駆動波形をそれぞれ10個のアクチュエータ7に対して、10kHzの周波数で10分間印加したが、ノズルからインクが溢れ出すような、吐出特性に影響を与えそうな不具合は確認できなかった。   When a drive waveform capable of obtaining the potential E1 of FIG. 10 was applied to the actuator 7, it was confirmed that a droplet having a volume of 5.1 pl was ejected at an average speed of 6 m / s in a flight of 1 mm. Further, the drive waveforms for obtaining the potentials E2 and E3 in FIG. 10 were applied to the 10 actuators 7 for 10 minutes at a frequency of 10 kHz, respectively, but this affects the ejection characteristics such that ink overflows from the nozzles. Such a failure could not be confirmed.

一方、図10の電位E4が得られる駆動波形を10個のアクチュエータ7に対して、10kHzの周波数で、10分間印加したところ、4つのアクチュエータ7について、ノズルから液が僅かに溢れ出していることを確認した。これらの液のノズルからの溢れ出しは、その後の吐出特性に影響を与えるものと思われる。   On the other hand, when the drive waveform for obtaining the potential E4 in FIG. 10 was applied to the 10 actuators 7 at a frequency of 10 kHz for 10 minutes, the liquid slightly overflowed from the nozzles of the four actuators 7. It was confirmed. The overflow of these liquids from the nozzle is thought to affect the subsequent ejection characteristics.

次に、本発明に係る液体吐出ヘッドを備える本発明に係る画像形成装置の一例について図11及び図12を参照して説明する。なお、図11は同装置の機構部の全体構成を説明する概略構成図、図12は同機構部の要部平面説明図である。
この画像形成装置はシリアル型画像形成装置であり、左右の側板201A、201Bに横架したガイド部材である主従のガイドロッド231、232でキャリッジ233を主走査方向に摺動自在に保持し、図示しない主走査モータによってタイミングベルトを介して矢示方向(キャリッジ主走査方向)に移動走査する。
Next, an example of the image forming apparatus according to the present invention including the liquid discharge head according to the present invention will be described with reference to FIGS. FIG. 11 is a schematic configuration diagram for explaining the overall configuration of the mechanism portion of the apparatus, and FIG. 12 is a plan view of a main portion of the mechanism portion.
This image forming apparatus is a serial type image forming apparatus, and a carriage 233 is slidably held in a main scanning direction by main and sub guide rods 231 and 232 which are guide members horizontally mounted on left and right side plates 201A and 201B. The main scanning motor that does not perform moving scanning in the direction indicated by the arrow (carriage main scanning direction) via the timing belt.

このキャリッジ233には、イエロー(Y)、シアン(C)、マゼンタ(M)、ブラック(K)の各色のインク滴を吐出するための本発明に係る液体吐出ヘッドユニットからなる記録ヘッド234を複数のノズルからなるノズル列を主走査方向と直交する副走査方向に配列し、インク滴吐出方向を下方に向けて装着している。   The carriage 233 includes a plurality of recording heads 234 including the liquid discharge head unit according to the present invention for discharging ink droplets of each color of yellow (Y), cyan (C), magenta (M), and black (K). Nozzle rows consisting of these nozzles are arranged in the sub-scanning direction orthogonal to the main scanning direction, and are mounted with the ink droplet ejection direction facing downward.

記録ヘッド234は、それぞれ2つのノズル列を有する液体吐出ヘッド234a、234bを1つのベース部材に取り付けた構成したもので、一方のヘッド234aの一方のノズル列はブラック(K)の液滴を、他方のノズル列はシアン(C)の液滴を、他方のヘッド234bの一方のノズル列はマゼンタ(M)の液滴を、他方のノズル列はイエロー(Y)の液滴を、それぞれ吐出する。なお、ここでは2ヘッド構成で4色の液滴を吐出する構成としているが、各色毎の液体吐出ヘッドを備えることもできる。   The recording head 234 is configured by attaching liquid ejection heads 234a and 234b each having two nozzle rows to one base member, and one nozzle row of one head 234a has a black (K) droplet, The other nozzle row ejects cyan (C) droplets, the other nozzle row of the other head 234b ejects magenta (M) droplets, and the other nozzle row ejects yellow (Y) droplets. . Note that, here, a two-head configuration is used to eject four color droplets, but a liquid ejection head for each color may be provided.

また、キャリッジ233には、記録ヘッド234のノズル列に対応して各色のインクを供給するためのサブタンク235a、235b(区別しないときは「サブタンク235」という。)を搭載している。このサブタンク235には各色の供給チューブ236を介して、供給ユニット224によって各色のインクカートリッジ210から各色のインクが補充供給される。   The carriage 233 is equipped with sub tanks 235a and 235b (referred to as “sub tank 235” when not distinguished) for supplying ink of each color corresponding to the nozzle rows of the recording head 234. The sub tank 235 is supplied with ink of each color from the ink cartridge 210 of each color by the supply unit 224 via the supply tube 236 of each color.

一方、給紙トレイ202の用紙積載部(圧板)241上に積載した用紙242を給紙するための給紙部として、用紙積載部241から用紙242を1枚ずつ分離給送する半月コロ(給紙コロ)243及び給紙コロ243に対向し、摩擦係数の大きな材質からなる分離パッド244を備え、この分離パッド244は給紙コロ243側に付勢されている。   On the other hand, as a paper feeding unit for feeding the paper 242 stacked on the paper stacking unit (pressure plate) 241 of the paper feed tray 202, a half-moon roller (feeding) that separates and feeds the paper 242 one by one from the paper stacking unit 241. A separation pad 244 made of a material having a large coefficient of friction is provided opposite to the sheet roller 243 and the sheet feeding roller 243, and the separation pad 244 is urged toward the sheet feeding roller 243 side.

そして、この給紙部から給紙された用紙242を記録ヘッド234の下方側に送り込むために、用紙242を案内するガイド部材245と、カウンタローラ246と、搬送ガイド部材247と、先端加圧コロ249を有する押さえ部材248とを備えるとともに、給送された用紙242を静電吸着して記録ヘッド234に対向する位置で搬送するための搬送手段である搬送ベルト251を備えている。   In order to feed the sheet 242 fed from the sheet feeding unit to the lower side of the recording head 234, a guide member 245 for guiding the sheet 242, a counter roller 246, a conveyance guide member 247, and a tip pressure roller. And a conveying belt 251 which is a conveying means for electrostatically attracting the fed paper 242 and conveying it at a position facing the recording head 234.

この搬送ベルト251は、無端状ベルトであり、搬送ローラ252とテンションローラ253との間に掛け渡されて、ベルト搬送方向(副走査方向)に周回するように構成している。また、この搬送ベルト251の表面を帯電させるための帯電手段である帯電ローラ256を備えている。この帯電ローラ256は、搬送ベルト251の表層に接触し、搬送ベルト251の回動に従動して回転するように配置されている。この搬送ベルト251は、図示しない副走査モータによってタイミングを介して搬送ローラ252が回転駆動されることによってベルト搬送方向に周回移動する。   The conveyor belt 251 is an endless belt, and is configured to wrap around the conveyor roller 252 and the tension roller 253 so as to circulate in the belt conveyance direction (sub-scanning direction). In addition, a charging roller 256 that is a charging unit for charging the surface of the transport belt 251 is provided. The charging roller 256 is disposed so as to come into contact with the surface layer of the conveyor belt 251 and to rotate following the rotation of the conveyor belt 251. The transport belt 251 rotates in the belt transport direction when the transport roller 252 is rotationally driven through timing by a sub-scanning motor (not shown).

さらに、記録ヘッド234で記録された用紙242を排紙するための排紙部として、搬送ベルト251から用紙242を分離するための分離爪261と、排紙ローラ262及び排紙コロ263とを備え、排紙ローラ262の下方に排紙トレイ203を備えている。   Further, as a paper discharge unit for discharging the paper 242 recorded by the recording head 234, a separation claw 261 for separating the paper 242 from the transport belt 251, a paper discharge roller 262, and a paper discharge roller 263 are provided. A paper discharge tray 203 is provided below the paper discharge roller 262.

また、装置本体の背面部には両面ユニット271が着脱自在に装着されている。この両面ユニット271は搬送ベルト251の逆方向回転で戻される用紙242を取り込んで反転させて再度カウンタローラ246と搬送ベルト251との間に給紙する。また、この両面ユニット271の上面は手差しトレイ272としている。   A double-sided unit 271 is detachably attached to the back surface of the apparatus main body. The duplex unit 271 takes in the paper 242 returned by the reverse rotation of the transport belt 251, reverses it, and feeds it again between the counter roller 246 and the transport belt 251. The upper surface of the duplex unit 271 is a manual feed tray 272.

さらに、キャリッジ233の走査方向一方側の非印字領域には、記録ヘッド234のノズルの状態を維持し、回復するための回復手段を含む本発明に係るヘッドの維持回復装置である維持回復機構281を配置している。この維持回復機構281には、記録ヘッド234の各ノズル面をキャピングするための各キャップ部材(以下「キャップ」という。)282a、282b(区別しないときは「キャップ282」という。)と、ノズル面をワイピングするためのブレード部材であるワイパーブレード283と、増粘した記録液を排出するために記録に寄与しない液滴を吐出させる空吐出を行うときの液滴を受ける空吐出受け284などを備えている。   Further, a maintenance / recovery mechanism 281 that is a head maintenance / recovery device according to the present invention includes a recovery means for maintaining and recovering the nozzle state of the recording head 234 in the non-printing area on one side of the carriage 233 in the scanning direction. Is arranged. The maintenance / recovery mechanism 281 includes cap members (hereinafter referred to as “caps”) 282a and 282b (hereinafter referred to as “caps 282” when not distinguished) for capping each nozzle surface of the recording head 234, and nozzle surfaces. A wiper blade 283 that is a blade member for wiping the ink, and an empty discharge receiver 284 that receives liquid droplets for discharging the liquid droplets that do not contribute to recording in order to discharge the thickened recording liquid. ing.

また、キャリッジ233の走査方向他方側の非印字領域には、記録中などに増粘した記録液を排出するために記録に寄与しない液滴を吐出させる空吐出を行うときの液滴を受ける空吐出受け288を配置し、この空吐出受け288には記録ヘッド234のノズル列方向に沿った開口部289などを備えている。   Further, in the non-printing area on the other side in the scanning direction of the carriage 233, there is an empty space for receiving a liquid droplet when performing an empty discharge for discharging a liquid droplet that does not contribute to the recording in order to discharge the recording liquid thickened during the recording. A discharge receiver 288 is disposed, and the idle discharge receiver 288 is provided with an opening 289 along the nozzle row direction of the recording head 234 and the like.

このように構成したこの画像形成装置においては、給紙トレイ202から用紙242が1枚ずつ分離給紙され、略鉛直上方に給紙された用紙242はガイド245で案内され、搬送ベルト251とカウンタローラ246との間に挟まれて搬送され、更に先端を搬送ガイド237で案内されて先端加圧コロ249で搬送ベルト251に押し付けられ、略90°搬送方向を転換される。   In this image forming apparatus configured as described above, the sheets 242 are separated and fed one by one from the sheet feed tray 202, and the sheet 242 fed substantially vertically upward is guided by the guide 245, and is conveyed to the conveyor belt 251 and the counter. It is sandwiched between the rollers 246 and conveyed, and further, the leading end is guided by the conveying guide 237 and pressed against the conveying belt 251 by the leading end pressing roller 249, and the conveying direction is changed by approximately 90 °.

このとき、帯電ローラ256に対してプラス出力とマイナス出力とが交互に繰り返すように、つまり交番する電圧が印加され、搬送ベルト251が交番する帯電電圧パターン、すなわち、周回方向である副走査方向に、プラスとマイナスが所定の幅で帯状に交互に帯電されたものとなる。このプラス、マイナス交互に帯電した搬送ベルト251上に用紙242が給送されると、用紙242が搬送ベルト251に吸着され、搬送ベルト251の周回移動によって用紙242が副走査方向に搬送される。   At this time, a positive output and a negative output are alternately applied to the charging roller 256, that is, an alternating voltage is applied, and a charging voltage pattern in which the conveying belt 251 alternates, that is, in the sub-scanning direction that is the circumferential direction. , Plus and minus are alternately charged in a band shape with a predetermined width. When the sheet 242 is fed onto the conveyance belt 251 charged alternately with plus and minus, the sheet 242 is attracted to the conveyance belt 251, and the sheet 242 is conveyed in the sub scanning direction by the circumferential movement of the conveyance belt 251.

そこで、キャリッジ233を移動させながら画像信号に応じて記録ヘッド234を駆動することにより、停止している用紙242にインク滴を吐出して1行分を記録し、用紙242を所定量搬送後、次の行の記録を行う。記録終了信号又は用紙242の後端が記録領域に到達した信号を受けることにより、記録動作を終了して、用紙242を排紙トレイ203に排紙する。   Therefore, by driving the recording head 234 according to the image signal while moving the carriage 233, ink droplets are ejected onto the stopped paper 242 to record one line, and after the paper 242 is conveyed by a predetermined amount, Record the next line. Upon receiving a recording end signal or a signal that the trailing edge of the paper 242 has reached the recording area, the recording operation is finished and the paper 242 is discharged onto the paper discharge tray 203.

このとき、記録ヘッド234を構成する液体吐出ヘッドとしては前述した液体吐出ヘッドを使用して、各ノズルに対応する圧電アクチュエータに対して前述した各実施形態で説明した駆動電圧を印加するようにしている。   At this time, the liquid discharge head described above is used as the liquid discharge head constituting the recording head 234, and the drive voltage described in the above-described embodiments is applied to the piezoelectric actuator corresponding to each nozzle. Yes.

これにより、電子部品の耐圧を低下させることができてコストの低減を図れ、液垂れなどの不具合を生じることなく、安定して高画質画像を形成することができる。   As a result, the withstand voltage of the electronic component can be reduced, the cost can be reduced, and a high-quality image can be stably formed without causing problems such as dripping.

なお、上記実施形態では本発明をプリンタ構成の画像形成装置に適用した例で説明したが、これに限るものではなく、前述したように、例えば、プリンタ/ファックス/コピア複合機などの画像形成装置に適用することができ、また、狭義のインク以外の液体や定着処理液などを用いる画像形成装置にも適用することができる。   In the above embodiment, the present invention has been described with reference to an example in which the present invention is applied to an image forming apparatus having a printer configuration. However, the present invention is not limited to this example. In addition, the present invention can also be applied to an image forming apparatus using a liquid other than the narrowly defined ink or a fixing processing liquid.

1 液体吐出ヘッド
2 ノズル
3 ノズル板
4 液室
5 流路板
6 振動板
7 圧電アクチュエータ
11 第1電極
12 第1圧電層
13 第2電極
14 第2圧電層
15 第3電極
234 キャリッジ
235 記録ヘッド(液体吐出ヘッド)
DESCRIPTION OF SYMBOLS 1 Liquid discharge head 2 Nozzle 3 Nozzle plate 4 Liquid chamber 5 Flow path plate 6 Vibrating plate 7 Piezoelectric actuator 11 1st electrode 12 1st piezoelectric layer 13 2nd electrode 14 2nd piezoelectric layer 15 3rd electrode 234 Carriage 235 Recording head ( Liquid discharge head)

Claims (4)

液滴を吐出する複数のノズルと、前記ノズルが連通する複数の液室と、前記液室の一部の壁面を形成する複数の振動板と、前記振動板を変位させる複数の圧電アクチュエータとを有する液体吐出ヘッドを備え、
前記液体吐出ヘッドの前記圧電アクチュエータは、前記振動板上に、第1電極、第1圧電層、第2電極、第2圧電層、第3電極を順次積層して構成され、
前記複数の圧電アクチュエータの各第1電極、第2電極及び第3電極のうち、
一の電極は全ての圧電アクチュエータで共通の電位が印加され、
他の一の電極は複数の第1グループに分けられて、グループ毎に同時に共通の電位が印加され、
更に他の一の電極は複数の第2グループに分けられて、グループ毎に同時に共通の電位が印加され、
前記第1グループと前記第2グループに共通して存在する前記圧電アクチュエータが1つのみである
ことを特徴とする画像形成装置。
A plurality of nozzles for discharging droplets, a plurality of liquid chambers communicating with the nozzles, a plurality of diaphragms forming a part of a wall surface of the liquid chambers, and a plurality of piezoelectric actuators for displacing the diaphragms A liquid ejection head having
The piezoelectric actuator of the liquid discharge head is configured by sequentially laminating a first electrode, a first piezoelectric layer, a second electrode, a second piezoelectric layer, and a third electrode on the diaphragm.
Of the first, second, and third electrodes of the plurality of piezoelectric actuators,
One electrode is applied with a common potential across all piezoelectric actuators,
The other one electrode is divided into a plurality of first groups, and a common potential is simultaneously applied to each group,
Furthermore, the other one electrode is divided into a plurality of second groups, and a common potential is simultaneously applied to each group,
The image forming apparatus according to claim 1, wherein only one piezoelectric actuator exists in common in the first group and the second group.
前記全ての圧電アクチュエータで共通の電位が印加される一の電極が前記第2電極であることを特徴とする請求項1に記載の画像形成装置。   The image forming apparatus according to claim 1, wherein one electrode to which a common potential is applied to all the piezoelectric actuators is the second electrode. 前記第1圧電層に加わる電界強度は前記第2圧電層に加わる電界強度より大きいことを特徴とする請求項1又は2に記載の画像形成装置。   The image forming apparatus according to claim 1, wherein an electric field strength applied to the first piezoelectric layer is larger than an electric field strength applied to the second piezoelectric layer. 前記第2電極はグランド電位に接続されていることを特徴とする請求項1ないし3のいずれかに記載の画像形成装置。   The image forming apparatus according to claim 1, wherein the second electrode is connected to a ground potential.
JP2009143523A 2009-06-16 2009-06-16 Image forming apparatus Pending JP2011000738A (en)

Priority Applications (1)

Application Number Priority Date Filing Date Title
JP2009143523A JP2011000738A (en) 2009-06-16 2009-06-16 Image forming apparatus

Applications Claiming Priority (1)

Application Number Priority Date Filing Date Title
JP2009143523A JP2011000738A (en) 2009-06-16 2009-06-16 Image forming apparatus

Publications (1)

Publication Number Publication Date
JP2011000738A true JP2011000738A (en) 2011-01-06

Family

ID=43559125

Family Applications (1)

Application Number Title Priority Date Filing Date
JP2009143523A Pending JP2011000738A (en) 2009-06-16 2009-06-16 Image forming apparatus

Country Status (1)

Country Link
JP (1) JP2011000738A (en)

Cited By (2)

* Cited by examiner, † Cited by third party
Publication number Priority date Publication date Assignee Title
WO2012107963A1 (en) 2011-02-09 2012-08-16 Advantest Corporation Overload protected switch
US20130050353A1 (en) * 2009-03-13 2013-02-28 Eiichi Ohta Thin-film actuator, liquid ejection head, ink cartridge, and image forming apparatus

Cited By (3)

* Cited by examiner, † Cited by third party
Publication number Priority date Publication date Assignee Title
US20130050353A1 (en) * 2009-03-13 2013-02-28 Eiichi Ohta Thin-film actuator, liquid ejection head, ink cartridge, and image forming apparatus
US8585188B2 (en) * 2009-03-13 2013-11-19 Ricoh Company, Limited Thin-film actuator, liquid ejection head, ink cartridge, and image forming apparatus
WO2012107963A1 (en) 2011-02-09 2012-08-16 Advantest Corporation Overload protected switch

Similar Documents

Publication Publication Date Title
JP5754188B2 (en) Liquid ejection head and image forming apparatus
JP5633200B2 (en) Piezoelectric actuator, liquid discharge head, and image forming apparatus
JP5168934B2 (en) Liquid ejection head, liquid ejection apparatus, image forming apparatus, piezoelectric actuator
JP2009006603A (en) Piezoelectric actuator and manufacturing method thereof, liquid ejection head, and image forming apparatus
JP2009172969A (en) Liquid ejection head and image forming apparatus
JP5327465B2 (en) Liquid discharge head, method for manufacturing the same, and image forming apparatus
US8960876B2 (en) Liquid ejection head and image forming apparatus
JP5549163B2 (en) Liquid ejection head and image forming apparatus
JP2008114561A (en) Liquid ejection head, liquid ejection apparatus, and image forming apparatus
JP5954567B2 (en) Liquid ejection head and image forming apparatus
JP5895348B2 (en) Liquid ejection head and image forming apparatus
JP5338585B2 (en) Liquid ejection head and image forming apparatus
JP2010284960A (en) Image forming apparatus
JP2011000738A (en) Image forming apparatus
JP6455071B2 (en) Liquid ejection head and image forming apparatus
JP6308026B2 (en) Liquid ejection head and image forming apparatus
JP6119320B2 (en) Liquid ejection head and image forming apparatus
JP5935597B2 (en) Liquid ejection head and image forming apparatus
JP5065845B2 (en) Liquid ejection head, liquid ejection apparatus, and image forming apparatus
JP5857559B2 (en) Liquid ejection head and image forming apparatus
JP5444971B2 (en) Piezoelectric actuator manufacturing method, piezoelectric actuator, liquid discharge head, and image forming apparatus
JP2019135086A (en) Liquid discharge head, liquid discharge unit and liquid discharge device
JP5310414B2 (en) Liquid ejection head and image forming apparatus
JP5609461B2 (en) Liquid ejection head and image forming apparatus
JP5776463B2 (en) Multilayer piezoelectric element, liquid discharge head, and image forming apparatus