JP2010524249A - 電子装置のための熱管理システム - Google Patents

電子装置のための熱管理システム Download PDF

Info

Publication number
JP2010524249A
JP2010524249A JP2010502600A JP2010502600A JP2010524249A JP 2010524249 A JP2010524249 A JP 2010524249A JP 2010502600 A JP2010502600 A JP 2010502600A JP 2010502600 A JP2010502600 A JP 2010502600A JP 2010524249 A JP2010524249 A JP 2010524249A
Authority
JP
Japan
Prior art keywords
airflow
thermal management
inlet
expansion
management device
Prior art date
Legal status (The legal status is an assumption and is not a legal conclusion. Google has not performed a legal analysis and makes no representation as to the accuracy of the status listed.)
Pending
Application number
JP2010502600A
Other languages
English (en)
Inventor
ガマル・リフェイ−アーメド
カーリド・シェルタミ
ニマ・オスケイザデ
Current Assignee (The listed assignees may be inaccurate. Google has not performed a legal analysis and makes no representation or warranty as to the accuracy of the list.)
ATI Technologies ULC
Original Assignee
ATI Technologies ULC
Priority date (The priority date is an assumption and is not a legal conclusion. Google has not performed a legal analysis and makes no representation as to the accuracy of the date listed.)
Filing date
Publication date
Application filed by ATI Technologies ULC filed Critical ATI Technologies ULC
Publication of JP2010524249A publication Critical patent/JP2010524249A/ja
Pending legal-status Critical Current

Links

Images

Classifications

    • FMECHANICAL ENGINEERING; LIGHTING; HEATING; WEAPONS; BLASTING
    • F04POSITIVE - DISPLACEMENT MACHINES FOR LIQUIDS; PUMPS FOR LIQUIDS OR ELASTIC FLUIDS
    • F04DNON-POSITIVE-DISPLACEMENT PUMPS
    • F04D25/00Pumping installations or systems
    • F04D25/02Units comprising pumps and their driving means
    • F04D25/08Units comprising pumps and their driving means the working fluid being air, e.g. for ventilation
    • FMECHANICAL ENGINEERING; LIGHTING; HEATING; WEAPONS; BLASTING
    • F04POSITIVE - DISPLACEMENT MACHINES FOR LIQUIDS; PUMPS FOR LIQUIDS OR ELASTIC FLUIDS
    • F04DNON-POSITIVE-DISPLACEMENT PUMPS
    • F04D25/00Pumping installations or systems
    • F04D25/02Units comprising pumps and their driving means
    • F04D25/08Units comprising pumps and their driving means the working fluid being air, e.g. for ventilation
    • F04D25/082Units comprising pumps and their driving means the working fluid being air, e.g. for ventilation the unit having provision for cooling the motor
    • FMECHANICAL ENGINEERING; LIGHTING; HEATING; WEAPONS; BLASTING
    • F04POSITIVE - DISPLACEMENT MACHINES FOR LIQUIDS; PUMPS FOR LIQUIDS OR ELASTIC FLUIDS
    • F04DNON-POSITIVE-DISPLACEMENT PUMPS
    • F04D29/00Details, component parts, or accessories
    • F04D29/58Cooling; Heating; Diminishing heat transfer
    • F04D29/5806Cooling the drive system
    • GPHYSICS
    • G06COMPUTING OR CALCULATING; COUNTING
    • G06FELECTRIC DIGITAL DATA PROCESSING
    • G06F1/00Details not covered by groups G06F3/00 - G06F13/00 and G06F21/00
    • G06F1/16Constructional details or arrangements
    • G06F1/20Cooling means
    • GPHYSICS
    • G06COMPUTING OR CALCULATING; COUNTING
    • G06FELECTRIC DIGITAL DATA PROCESSING
    • G06F1/00Details not covered by groups G06F3/00 - G06F13/00 and G06F21/00
    • G06F1/16Constructional details or arrangements
    • G06F1/20Cooling means
    • G06F1/206Cooling means comprising thermal management
    • HELECTRICITY
    • H05ELECTRIC TECHNIQUES NOT OTHERWISE PROVIDED FOR
    • H05KPRINTED CIRCUITS; CASINGS OR CONSTRUCTIONAL DETAILS OF ELECTRIC APPARATUS; MANUFACTURE OF ASSEMBLAGES OF ELECTRICAL COMPONENTS
    • H05K7/00Constructional details common to different types of electric apparatus
    • H05K7/20Modifications to facilitate cooling, ventilating, or heating
    • HELECTRICITY
    • H05ELECTRIC TECHNIQUES NOT OTHERWISE PROVIDED FOR
    • H05KPRINTED CIRCUITS; CASINGS OR CONSTRUCTIONAL DETAILS OF ELECTRIC APPARATUS; MANUFACTURE OF ASSEMBLAGES OF ELECTRICAL COMPONENTS
    • H05K7/00Constructional details common to different types of electric apparatus
    • H05K7/20Modifications to facilitate cooling, ventilating, or heating
    • H05K7/20709Modifications to facilitate cooling, ventilating, or heating for server racks or cabinets; for data centers, e.g. 19-inch computer racks
    • H05K7/20718Forced ventilation of a gaseous coolant
    • H05K7/20727Forced ventilation of a gaseous coolant within server blades for removing heat from heat source

Landscapes

  • Engineering & Computer Science (AREA)
  • General Engineering & Computer Science (AREA)
  • Physics & Mathematics (AREA)
  • Mechanical Engineering (AREA)
  • Theoretical Computer Science (AREA)
  • Thermal Sciences (AREA)
  • Human Computer Interaction (AREA)
  • General Physics & Mathematics (AREA)
  • Microelectronics & Electronic Packaging (AREA)
  • Computer Hardware Design (AREA)
  • Cooling Or The Like Of Electrical Apparatus (AREA)
  • Cooling Or The Like Of Semiconductors Or Solid State Devices (AREA)

Abstract

電子装置のエアムーバまたは受動形ヒートシンクといった構成変更可能な複数の入口を備える熱管理装置である。熱管理装置は、計算装置に、または拡張モジュール等といった計算装置類の構成要素に配置され、それにより流入気流が熱発生構成要素の温度を低下させる。最善に可能な気流を供給するために、エアムーバは、エアムーバ構成要素の少なくとも一方側から気流に圧力をかける羽根設計を備える。エアムーバは、所要の方向からの吸気に必要な開口を与えるとともにファン送風を供給するための脱着可能カバーを含む。用途に応じて、開口は永続的に開放または閉鎖されていてもよい。吸気流はその後、熱発生要素に向けてファン送風の形態で誘導される。

Description

本発明は電子装置における熱管理に関する。
長年にわたってコンピュータグラフィックスはけた外れに進歩してきた。解像度は著しく増加し、グラフィックス生成は品質強化機能とともに改善されている。同様に、顧客は表示されるグラフィックスの品質に関してより要求が多くなっている。高品質グラフィックスは、映画、ビデオクリップ、ワールドワイドウェブページ、ゲーム、ユーザインタフェース等といった複数の様々な用途において必要とされている。この高品質コンテンツを生成するために当然より多くの資源もまた必要とされる。このように、グラフィックス計算能力は実際上すべての計算装置において必要とされている。
実際には、グラフィックス計算能力を向上させる2つの方法が存在する。第1はより良好なアルゴリズムおよび機能の導入であり、第2はハードウェア計算容量を増大させることによって計算能力を高めることである。これは、より高速な処理装置を使用する、処理装置の数を増やす、そして基板上により多くのメモリを使用することによって達成することができる。最善の結果が達成されるように同時に両方の方法で取り組むことが一般的な手法である。
より多くの高速なハードウェア構成要素を備えることによって計算能力を高めるうえでの1つの問題は、増大する電力消費および発熱である。たとえ新しいより電力効率のよいハードウェア構成要素が製造されたとしても、増大した効率に起因する電力消費のあらゆる可能な節約が、より多くのハードウェアを使用することにより高品質グラフィックスを生成するために使用されることになりそうである。
近年、特定の用途における高品質グラフィックスの要求は、コンピュータにおいて単一のグラフィックス装置を使用することによりその要求された品質を提供することが極めて難しいか不可能であるほどに大きくなっている。グラフィックス装置は一般に、コンピュータまたはワークステーションの主回路板に取付けられた拡張カードである。一般に、追加のカードを主回路板に取付けるための数個のスロットが存在する。従って、明らかな解決策は、同一コンピュータ内に取付けられた他のグラフィックス装置と協働できるグラフィックス装置を提供することである。二重取付けは数年にわたり知られており、それらは最も要求の厳しい顧客に容易な解決策を提供する。
典型的な構成では、2個以上のまったく類似のグラフィックス装置が協働モードで作業するために取付けられる。協働モードが最も要求の厳しい使用者を対象にされると、その構成で使用されるグラフィックスカードは最も効率的なもののうちの1つであることが普通である。これは、高い電力消費および発熱を伴う複数のグラフィックス装置が存在することを意味する。コンピュータの他の構成要素もまた熱を発生するので、計算装置および装置内の別個の構成要素の換気は極めて重要になる。
一般に、中央処理装置およびグラフィックス処理装置といったコンピュータにおいて最も多くの熱を発生する構成要素は、向上した換気のために各自自身のファンを有する。他の解決策は、発生した熱を伝達することができる受動形熱管理システムを熱発生構成要素に備えることである。
しかし、類似の装置に関してこれは、換気が両方の熱管理解決策において隣り合う装置によって妨害されるかもしれないので、問題を含むかもしれない。換気が妨害された場合、装置の温度は動作温度を超えて上昇し、計算エラーまたは装置の動作の停止を生じるか、さもなければ装置を(一般に低下した性能をもたらす)低下した電力消費で動作するように強いるかもしれない。グラフィックスカードに加えて、類似の問題は他の種類の拡張カードでも遭遇し得る。従って、計算装置のための、特にグラフィックス装置のための改善された換気の必要性が存在する。
実施形態において、本発明は開放環境において構成変更可能な(configurable)空気取入口を備える熱管理装置を開示する。本発明は、ファンおよびヒートシンクを含む受動形または能動形熱管理システムで使用することができる。本発明に従った熱管理装置は、調整可能な吸気管理を備えており、気流は、吸気を所要の方向に誘導するように構成された脱着可能カバーおよび/または特殊側板によって制御される。
実施形態において、熱管理装置は、電子装置のための構成変更可能な複数入口エアムーバ構成要素である。本発明に従ったエアムーバは、計算装置に、または拡張カード等といった計算装置類の構成要素に配置され、それにより流入気流が熱発生構成要素の温度を低下させる。最善に可能な気流を供給するために、エアムーバは、羽根がモータにより動かされるとエアムーバ構成要素の少なくとも一方側から気流に圧力をかける羽根設計を備える。エアムーバは、所要の方向からの吸気に必要な開口を与えるとともにファン生成気流を供給するための脱着可能カバーを含む。用途に応じて、開口は永続的に開放または閉鎖されていてもよい。吸気流はその後、熱発生要素に向けてファン生成気流の形態で誘導される。
実施形態において、エアムーバはさらに、気流を所要の方向に誘導するための脱着可能カバーを有する複数の気流出口を備える。
実施形態において、熱管理装置はさらに、より構成変更可能な空気取入口を与えるように構成された特殊な側板を備える。側板はエアムーバ、ヒートシンクまたは熱伝達要素に配置され、それによりそれは可能なインピーダンス領域の外部から吸気流を取り入れる。側板は、熱伝達要素の吸気流方向を制御するように構成されており、前記側板は、少なくとも1つの隣り合う装置に起因する気流抵抗(気流インピーダンス(air flow impedance))による影響を受ける気流を少なくとも部分的に阻止するように構成されている。実施形態において、側板は掩蔽可能な入口開口を備える。
上述の実施形態は、種々の用途の種々の要件を満たす熱管理装置を生産するために組合せてもよい。例えば、能動形および受動形の熱管理の両方を組合せ、組合せたものに掩蔽可能な開口を有する特殊な側板を備えることが可能である。
本発明の効果は、それが、隣り合う装置によって発生する気流インピーダンスにより妨害されることなく、または妨害を少なくして、所要の構成要素に向けて適切な吸気流を供給するということである。これは、より良好な気流を、従ってより良好な冷却を可能にする。これは、数個の熱発生要素を収容する小さな計算装置ケース容積を扱う際に極めて重要である。
本発明のさらなる効果は、所要の構成要素が標準ヒートシンクを装備できることである。従来の技術によれば、ヒートシンクは換気システムに合わせて設計され、従って設計プロセスの複雑さを追加させなければならない。
本発明のさらなる理解を与えこの明細書の一部を構成するために含まれた添付図面は、本発明の実施形態を例示し説明と併せて本発明の原理を解説するのを助ける。
本発明に従った実施形態の立体図を開示する。 図1aの実施形態の分解図である。 図1aおよび1bの実施形態の別の図である。 ホスト装置に取付けられた本発明の例示実施形態のブロック図である。 熱管理装置のうちの1つが側板を備える受動形ヒートシンクである、ホスト装置に取付けられた本発明の例示実施形態のブロック図である。
ここで、その実例が添付図面に例示されている本発明の実施形態に詳細に言及する。
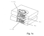
図1aには、本発明に従ったエアムーバの異なる2図が開示されている。本実施形態に従ったエアムーバは、気流出口10、吸気流のための常時入口11および常時入口のための脱着可能カバー12を備える。本実施形態はまた類似の常時入口をエアムーバの反対側にも含む。反対側の入口は図1cに見ることができる。他の実施形態において、換気を改善するために必要な場合、さらなる開口を作ることが可能である。しかし、これらの開口もまた脱着可能カバーを備える。さらなる開口は入口または出口気流について設けてもよい。
図1bは図1aの実施形態の分解図である。図1bのエアムーバは、気流を供給するために羽根およびモータを含む通気(air-moving)機構13、常時入口開口11を有するハウジング14および開口の1つのための脱着可能カバー12を備える。本発明が3つ以上の開口で具体化される場合、1つの開口だけを開放されたままとするなら、より多くのカバーもまた必要である。脱着可能カバー12はラッチまたは他の取付機構によってカバーに好適に取付けられる。1実施形態において、カバーは、装置の使用者がカバーを着脱するために工具を使用しなくて済むようにする機構を採用する。しかし、カバー12にいずれかの既知の取付手段を使用することが可能である。
図2には、本発明の例示実施形態のブロック図が開示されている。図2では2つの通気構成要素が拡張モジュールに取付けられている。図2の実施形態において、拡張モジュールはホストコンピュータの主回路板に取付けられた拡張モジュール20および21である。拡張モジュールは、パーソナルコンピュータ、ワークステーションまたは類似物といった計算装置に取付けられ得る、あらゆる拡張カード、モジュールまたは類似物であるとしてよい。明快さの理由で、ホストコンピュータの主回路板は図には呈示されていない。拡張モジュールおよび主回路板が適切なバスによって接続されていることは当業者には明らかである。適切なバスは一般に拡張スロットの形態で具体化され、それにより複数の拡張カードが計算装置に取付けられ得る。図2には、拡張モジュール20および21が例示されており、それらは隣り合うスロットと接続されている。
図2の拡張モジュールは、図1に開示されたエアムーバといったエアムーバ22および23を備えている。図2の実施形態で使用されるエアムーバは、2つの常時入口を有する。入口は、エアムーバの両方において隣り合う拡張モジュールの隣の入口が覆われ、気流24および25が本実施形態における入口気流を呈するように構成される。このように、入口気流24および25は、隣り合う拡張モジュールのエアムーバによって発生する気流インピーダンスによって妨害されない。図2の実施形態において、出口気流はその後、熱発生構成要素26および27に誘導される。熱発生構成要素の例は拡張モジュールの処理装置である。熱発生構成要素26および27は、図示されていないヒートシンクを備えていてもよい。図2の実施形態はこのようにして、気流インピーダンスによって妨害されることなく熱発生要素に向けて気流を効率的に供給する。
図3の実施形態は図2の実施形態と異なり、モジュールのうちの1つが側板を有する。モジュール31は図2のモジュール21と類似であり、熱管理要素33は気流35を所要の方向に誘導するエアムーバである。モジュール30は側板32を備えている。側板32の下に能動形または受動形熱管理システムが存在してもよい。側板の目的は、モジュール31のエアムーバ33に類似の熱管理システムでは可能でないはずの方向から吸気流34を誘導することである。
当業者は十分理解される通り、本発明はここで、ラックまたはブレード型計算装置内部のサーバ、コンピュータシステム、装置に等しく適用することができる。例えば、ブレード型またはブレード形式計算装置は当業者には周知である。複数のブレード型計算装置が互いにごく接近してラックシステム内に取付けられ得る。気流を改善して、互いに近接する複数の羽根により生じる相反する空気の吸入要件に起因する通気抵抗(通気インピーダンス(air movement impedance))を減少させるために、本発明は例えばブレード型計算装置の各々に適用することができよう。すなわち、ブレード型計算装置全体のためのハウジングは、2つの吸気口、出口(または排気口)および計算装置ハウジング内部に配設されたファンといった通気機構を有するとしてよい。2つの隣接する別のブレード型計算装置の吸気口は各々、通気インピーダンスを低減するために閉じる(または部分的に閉じる)ことができよう。代替として、複数のブレード型サーバ装置の各々のための入口が装置の各々の上面および底面にあるとすれば、計算装置の各々の上面吸気口は計算装置のラック全体を通じて空気インピーダンスを低減するために閉じる(または部分的に閉じるかまたは閉鎖する)ことができよう。
技術の進歩により本発明の基本的な考案が様々なやり方で具体化され得ることは当業者には明らかである。従って本発明およびその実施形態は上述の実例に限定されず、むしろそれらはクレームの適用範囲内で異なってもよい。

Claims (23)

  1. 電子装置のための熱管理装置であって、
    前記熱管理装置は、気流を発生させるための通気装置を収容するためのハウジングを備えており、
    前記ハウジングは、
    流入空気のための少なくとも2つの常時入口開口と、
    前記通気装置によって発生した気流のための少なくとも1つの開口と、
    を含むことを特徴とする熱管理装置。
  2. 前記装置は、気流を発生させるために羽根を動かすように構成された前記羽根をさらに備える請求項1に記載の熱管理装置。
  3. 前記装置は、前記少なくとも2つの常時入口開口のうちの少なくとも1つを少なくとも部分的に覆うための少なくとも1つのカバーをさらに備える請求項1に記載の熱管理装置。
  4. 前記カバーは、気流抵抗を有する方向からの入口気流を少なくとも部分的に阻止するように構成されている請求項3に記載の熱管理装置。
  5. 前記装置は、前記通気装置によって発生した気流のための少なくとも1つの常時開口を少なくとも部分的に覆うための少なくとも1つのカバーをさらに備える請求項1に記載の熱管理装置。
  6. 前記装置は、前記羽根を動かすように構成されたモータをさらに備える請求項2に記載の熱管理装置。
  7. 気流を供給するための熱管理装置を備えるシステムであって、
    前記熱管理装置は、気流を発生させるための通気装置を収容するためのハウジングを備えており、
    前記ハウジングは、流入空気のための少なくとも2つの入口開口と、
    前記通気装置によって発生した気流のための少なくとも1つの開口と、
    を備えることを特徴とするシステム。
  8. 前記熱管理装置は、気流を発生させるために羽根を動かすように構成された前記羽根をさらに備える請求項7に記載のシステム。
  9. 前記熱管理装置は、少なくとも1つの常時入口開口を少なくとも部分的に覆うための少なくとも1つのカバーをさらに備える請求項7に記載のシステム。
  10. 前記カバーは、気流抵抗を有する方向からの入口気流を少なくとも部分的に阻止するように構成されている請求項9に記載のシステム。
  11. 前記システムは、前記通気装置によって発生した気流のための少なくとも1つの常時開口を少なくとも部分的に覆うための少なくとも1つのカバーをさらに備える請求項7に記載のシステム。
  12. 熱管理のために構成変更可能な吸気流を供給するための装置であって、
    熱伝達要素と、
    前記熱伝達要素の吸気流の方向を制御するように構成された側板と、
    を備えており、
    前記側板は、少なくとも1つの隣接する装置による気流抵抗の影響を受ける気流を少なくとも部分的に阻止するように構成されていることを特徴とする装置。
  13. 前記側板は掩蔽可能な入口開口を備える請求項12に記載の装置。
  14. 前記熱伝達要素は受動形ヒートシンクである請求項12に記載の装置。
  15. 前記熱伝達要素はファンを備えた能動形エアムーバである請求項12に記載の装置。
  16. 熱管理のために構成変更可能な吸気流を供給する装置を備える計算機の拡張カードであって、
    熱伝達要素と、
    前記熱伝達要素の吸気流の方向を制御するように構成された側板と、
    を備えており、
    前記側板は、少なくとも1つの隣接する装置による気流抵抗の影響を受ける気流を阻止するように構成されていることを特徴とする拡張カード。
  17. 前記側板は掩蔽可能な入口開口を備える請求項16に記載の拡張カード。
  18. 前記熱伝達要素は受動形ヒートシンクである請求項16に記載の拡張カード。
  19. 前記熱伝達要素はファンを備えた能動形エアムーバである請求項16に記載の拡張カード。
  20. 少なくとも2つの拡張モジュールを備えるコンピュータシステムを動作させるための方法であって、
    前記方法は、
    前記少なくとも2つの拡張モジュールのうちの少なくとも1つの拡張モジュールの吸気口を形成することによって、前記少なくとも1つの拡張モジュールとは別の拡張モジュールによる気流抵抗を低減することを含み、
    前記少なくとも2つの拡張モジュールの各々は前記吸気口を備える熱管理装置を有していることを含むことを特徴とする方法。
  21. 前記少なくとも1つの拡張モジュールの前記吸気口を形成することは、前記気流抵抗を低減する方向から前記吸気口に気流を誘導することを含む請求項20の方法。
  22. 前記少なくとも1つの拡張モジュールの前記吸気口を形成することは、前記少なくとも2つの拡張モジュールのうちの前記少なくとも1つの拡張モジュールの前記吸気口を少なくとも部分的に覆うことを含む請求項20の方法。
  23. 前記少なくとも1つの拡張モジュールの前記吸気口を少なくとも部分的に覆うことは、2つの拡張モジュールの各々の少なくとも1つの吸気口を少なくとも部分的に覆うことによって前記2つの拡張モジュールの各々の気流抵抗を低減することを含む請求項22の方法。
JP2010502600A 2007-04-10 2008-04-09 電子装置のための熱管理システム Pending JP2010524249A (ja)

Applications Claiming Priority (2)

Application Number Priority Date Filing Date Title
US11/733,586 US20080253087A1 (en) 2007-04-10 2007-04-10 Thermal management system for an electronic device
PCT/IB2008/000857 WO2008122878A2 (en) 2007-04-10 2008-04-09 Thermal management system for an electronic device

Publications (1)

Publication Number Publication Date
JP2010524249A true JP2010524249A (ja) 2010-07-15

Family

ID=39831477

Family Applications (1)

Application Number Title Priority Date Filing Date
JP2010502600A Pending JP2010524249A (ja) 2007-04-10 2008-04-09 電子装置のための熱管理システム

Country Status (7)

Country Link
US (1) US20080253087A1 (ja)
EP (1) EP2138022A4 (ja)
JP (1) JP2010524249A (ja)
KR (1) KR20100016420A (ja)
CN (1) CN101715657A (ja)
TW (1) TW200910072A (ja)
WO (1) WO2008122878A2 (ja)

Families Citing this family (5)

* Cited by examiner, † Cited by third party
Publication number Priority date Publication date Assignee Title
DE112012005011T5 (de) 2011-11-29 2014-08-28 Cooper Technologies Co. Luftleithaube für ein Elektrogehäuse
US20140334091A1 (en) * 2013-05-07 2014-11-13 Nvidia Corporation Counter rotating blower with individual controllable fan speeds
US20160369819A1 (en) * 2014-07-31 2016-12-22 Gentherm Incorporated Air mover inlet interface and cover
WO2018194565A1 (en) * 2017-04-18 2018-10-25 Hewlett-Packard Development Company, L.P. Monitoring the thermal health of an electronic device
US10219365B1 (en) * 2018-02-23 2019-02-26 Quanta Computer Inc. Bidirectional and uniform cooling for multiple components in a computing device

Citations (4)

* Cited by examiner, † Cited by third party
Publication number Priority date Publication date Assignee Title
JPS61166197U (ja) * 1985-04-03 1986-10-15
JP3102608U (ja) * 2003-12-26 2004-07-15 國大 張 放熱装置の構造
JP2005516425A (ja) * 2002-01-30 2005-06-02 エレル,デイビット フィン対空気の接触面積が大きいヒートシンク
JP2005197535A (ja) * 2004-01-08 2005-07-21 Toshiba Home Technology Corp 冷却モジュール

Family Cites Families (14)

* Cited by examiner, † Cited by third party
Publication number Priority date Publication date Assignee Title
US3209988A (en) * 1964-06-24 1965-10-05 Clements Mfg Co Hot air blower
JP2744772B2 (ja) * 1995-05-31 1998-04-28 山洋電気株式会社 送風機及び電子部品冷却用送風機
US6452797B1 (en) * 1997-11-12 2002-09-17 Intel Corporation Fan-cooled card
JP3377182B2 (ja) * 1999-03-31 2003-02-17 東芝ホームテクノ株式会社 ファンモータ
US6671177B1 (en) * 2002-10-25 2003-12-30 Evga.Com Corporation Graphics card apparatus with improved heat dissipation
US6822863B1 (en) * 2003-08-18 2004-11-23 Dell Products L.P. Airflow shroud mounted fan system and method for cooling information handling system components
US8720532B2 (en) * 2004-04-29 2014-05-13 Hewlett-Packard Development Company, L.P. Controllable flow resistance in a cooling apparatus
KR20060016236A (ko) * 2004-08-17 2006-02-22 신태영 데스크 탑 퍼스널 컴퓨터에 삽입되는 확장 기판 구조
US20060078423A1 (en) * 2004-10-08 2006-04-13 Nonlinear Tech, Inc. Bi-directional Blowers for Cooling Laptop Computers
JP4461484B2 (ja) * 2004-12-10 2010-05-12 東芝ホームテクノ株式会社 ファンモータ
US7486519B2 (en) * 2006-02-24 2009-02-03 Nvidia Corporation System for cooling a heat-generating electronic device with increased air flow
US20070280818A1 (en) * 2006-06-01 2007-12-06 Chih-Heng Yang Heat-Dissipating Fan
US7529085B2 (en) * 2006-06-30 2009-05-05 Lenovo (Singapore) Pte. Ltd. Thermal docking fansink
US7443672B2 (en) * 2006-10-03 2008-10-28 Fu Zhun Precision Industry (Shen Zhen) Co., Ltd. Video graphics array (VGA) card assembly

Patent Citations (4)

* Cited by examiner, † Cited by third party
Publication number Priority date Publication date Assignee Title
JPS61166197U (ja) * 1985-04-03 1986-10-15
JP2005516425A (ja) * 2002-01-30 2005-06-02 エレル,デイビット フィン対空気の接触面積が大きいヒートシンク
JP3102608U (ja) * 2003-12-26 2004-07-15 國大 張 放熱装置の構造
JP2005197535A (ja) * 2004-01-08 2005-07-21 Toshiba Home Technology Corp 冷却モジュール

Also Published As

Publication number Publication date
WO2008122878A2 (en) 2008-10-16
KR20100016420A (ko) 2010-02-12
EP2138022A2 (en) 2009-12-30
CN101715657A (zh) 2010-05-26
TW200910072A (en) 2009-03-01
WO2008122878A3 (en) 2008-12-04
EP2138022A4 (en) 2011-05-04
US20080253087A1 (en) 2008-10-16

Similar Documents

Publication Publication Date Title
JP5056987B2 (ja) 電子装置
JP5043037B2 (ja) 電子機器シャーシ用の気流管理システム
TWI566679B (zh) 伺服器系統
KR101492320B1 (ko) 네트워크 통신 장치
JP5296595B2 (ja) 熱管理用の装置および熱管理方法
US8472181B2 (en) Computer cabinets having progressive air velocity cooling systems and associated methods of manufacture and use
US8817470B2 (en) Electronic device and complex electronic device
CN102197717B (zh) 运算处理装置
US7535707B2 (en) Power supply cooling system
JP2010524249A (ja) 電子装置のための熱管理システム
CN103176572B (zh) 伺服器及散热模块
US20150163959A1 (en) Electronic device with fan module
US20080101020A1 (en) Computer system having multi-direction blower
CN212009483U (zh) 电脑装置
JP6621153B1 (ja) サーバ装置、冷却方法
US20240074091A1 (en) Directed cooling in heat producing systems
TWI652981B (zh) 主機系統及其散熱裝置與分隔機制
CN113741640B (zh) 电脑装置
CN120803224A (zh) 一种服务器
JP2016040718A (ja) ネットワーク通信装置

Legal Events

Date Code Title Description
A621 Written request for application examination

Free format text: JAPANESE INTERMEDIATE CODE: A621

Effective date: 20101224

A131 Notification of reasons for refusal

Free format text: JAPANESE INTERMEDIATE CODE: A131

Effective date: 20120807

A601 Written request for extension of time

Free format text: JAPANESE INTERMEDIATE CODE: A601

Effective date: 20121106

A602 Written permission of extension of time

Free format text: JAPANESE INTERMEDIATE CODE: A602

Effective date: 20121114

A02 Decision of refusal

Free format text: JAPANESE INTERMEDIATE CODE: A02

Effective date: 20130219