JP2010516423A - 食器洗浄器一体形シンク台及びこれの為の洗浄水噴出装置 - Google Patents
食器洗浄器一体形シンク台及びこれの為の洗浄水噴出装置 Download PDFInfo
- Publication number
- JP2010516423A JP2010516423A JP2009548149A JP2009548149A JP2010516423A JP 2010516423 A JP2010516423 A JP 2010516423A JP 2009548149 A JP2009548149 A JP 2009548149A JP 2009548149 A JP2009548149 A JP 2009548149A JP 2010516423 A JP2010516423 A JP 2010516423A
- Authority
- JP
- Japan
- Prior art keywords
- sink
- cover
- washing water
- cleaning
- opening
- Prior art date
- Legal status (The legal status is an assumption and is not a legal conclusion. Google has not performed a legal analysis and makes no representation as to the accuracy of the status listed.)
- Pending
Links
- XLYOFNOQVPJJNP-UHFFFAOYSA-N water Substances O XLYOFNOQVPJJNP-UHFFFAOYSA-N 0.000 title claims abstract description 227
- 238000005406 washing Methods 0.000 title claims abstract description 116
- 238000004140 cleaning Methods 0.000 claims abstract description 100
- 238000004851 dishwashing Methods 0.000 claims abstract description 11
- 230000033001 locomotion Effects 0.000 claims description 24
- 238000001035 drying Methods 0.000 claims description 15
- 230000001954 sterilising effect Effects 0.000 claims description 7
- 238000004659 sterilization and disinfection Methods 0.000 claims description 6
- 230000008878 coupling Effects 0.000 claims description 5
- 238000010168 coupling process Methods 0.000 claims description 5
- 238000005859 coupling reaction Methods 0.000 claims description 5
- 230000003028 elevating effect Effects 0.000 claims description 5
- 206010001497 Agitation Diseases 0.000 claims description 3
- 230000002093 peripheral effect Effects 0.000 claims description 3
- 239000013013 elastic material Substances 0.000 claims description 2
- 238000007664 blowing Methods 0.000 claims 2
- 230000000630 rising effect Effects 0.000 claims 1
- 238000005507 spraying Methods 0.000 abstract description 5
- 235000021186 dishes Nutrition 0.000 description 23
- 238000000034 method Methods 0.000 description 10
- 230000008569 process Effects 0.000 description 8
- 238000009434 installation Methods 0.000 description 7
- 230000000694 effects Effects 0.000 description 6
- 239000000126 substance Substances 0.000 description 6
- 230000005540 biological transmission Effects 0.000 description 4
- 239000003599 detergent Substances 0.000 description 4
- 230000001678 irradiating effect Effects 0.000 description 4
- 235000021190 leftovers Nutrition 0.000 description 4
- 235000013305 food Nutrition 0.000 description 3
- 239000010794 food waste Substances 0.000 description 3
- 239000008399 tap water Substances 0.000 description 3
- 235000020679 tap water Nutrition 0.000 description 3
- 241000209094 Oryza Species 0.000 description 2
- 235000007164 Oryza sativa Nutrition 0.000 description 2
- 235000013339 cereals Nutrition 0.000 description 2
- 238000012423 maintenance Methods 0.000 description 2
- 239000000463 material Substances 0.000 description 2
- 238000005086 pumping Methods 0.000 description 2
- 239000010453 quartz Substances 0.000 description 2
- 235000009566 rice Nutrition 0.000 description 2
- VYPSYNLAJGMNEJ-UHFFFAOYSA-N silicon dioxide Inorganic materials O=[Si]=O VYPSYNLAJGMNEJ-UHFFFAOYSA-N 0.000 description 2
- 239000007921 spray Substances 0.000 description 2
- NIXOWILDQLNWCW-UHFFFAOYSA-N acrylic acid group Chemical group C(C=C)(=O)O NIXOWILDQLNWCW-UHFFFAOYSA-N 0.000 description 1
- 230000003796 beauty Effects 0.000 description 1
- 230000000903 blocking effect Effects 0.000 description 1
- 230000008859 change Effects 0.000 description 1
- 238000011109 contamination Methods 0.000 description 1
- 239000010419 fine particle Substances 0.000 description 1
- 239000012530 fluid Substances 0.000 description 1
- 238000011010 flushing procedure Methods 0.000 description 1
- 238000005187 foaming Methods 0.000 description 1
- 239000011521 glass Substances 0.000 description 1
- 230000001939 inductive effect Effects 0.000 description 1
- 239000007788 liquid Substances 0.000 description 1
- 239000000696 magnetic material Substances 0.000 description 1
- 239000010970 precious metal Substances 0.000 description 1
- 230000002265 prevention Effects 0.000 description 1
- 230000008439 repair process Effects 0.000 description 1
- 238000007789 sealing Methods 0.000 description 1
- 239000010865 sewage Substances 0.000 description 1
- 239000007787 solid Substances 0.000 description 1
Images
Classifications
-
- B—PERFORMING OPERATIONS; TRANSPORTING
- B08—CLEANING
- B08B—CLEANING IN GENERAL; PREVENTION OF FOULING IN GENERAL
- B08B3/00—Cleaning by methods involving the use or presence of liquid or steam
- B08B3/02—Cleaning by the force of jets or sprays
- B08B3/024—Cleaning by means of spray elements moving over the surface to be cleaned
-
- A—HUMAN NECESSITIES
- A47—FURNITURE; DOMESTIC ARTICLES OR APPLIANCES; COFFEE MILLS; SPICE MILLS; SUCTION CLEANERS IN GENERAL
- A47L—DOMESTIC WASHING OR CLEANING; SUCTION CLEANERS IN GENERAL
- A47L15/00—Washing or rinsing machines for crockery or tableware
- A47L15/0086—In-sink dishwashers
-
- A—HUMAN NECESSITIES
- A47—FURNITURE; DOMESTIC ARTICLES OR APPLIANCES; COFFEE MILLS; SPICE MILLS; SUCTION CLEANERS IN GENERAL
- A47L—DOMESTIC WASHING OR CLEANING; SUCTION CLEANERS IN GENERAL
- A47L15/00—Washing or rinsing machines for crockery or tableware
- A47L15/14—Washing or rinsing machines for crockery or tableware with stationary crockery baskets and spraying devices within the cleaning chamber
-
- B—PERFORMING OPERATIONS; TRANSPORTING
- B08—CLEANING
- B08B—CLEANING IN GENERAL; PREVENTION OF FOULING IN GENERAL
- B08B3/00—Cleaning by methods involving the use or presence of liquid or steam
- B08B3/04—Cleaning involving contact with liquid
- B08B3/10—Cleaning involving contact with liquid with additional treatment of the liquid or of the object being cleaned, e.g. by heat, by electricity or by vibration
Landscapes
- Washing And Drying Of Tableware (AREA)
- Combinations Of Kitchen Furniture (AREA)
Abstract
本発明は、食器洗浄器をシンク台に一体化させて、必要に応じて選択的に食器洗浄機能を使用できるようにすることで、使用が便利且つ簡単でしかも低価額で構成できるだけではなく、空間活用度も高められるようにした食器洗浄器一体形シンク台を提供する為に、排水口が底に形成されている少なくても一つの流し台がシンク台本体の上部に設置されているシンク台に置いて:流し台の底にグリルを介在して配置される食器を洗浄する時に洗浄水が外部に飛散されないように、上記の流し台の上面を被せる為のカバー;高圧の洗浄水を供給する為の給水ポンプ;又、上記の給水ポンプから供給される洗浄水を流し台の内に噴出させて食器を洗浄する為に、上記のカバーの底面と流し台の底及び流し台の側壁のうち少なくても一つに設置される洗浄水噴出手段を含むことを特徴とする。
Description
本発明は厨房に設置されているシンク台上でカバーを折畳させるか又は左右に移動させて便利に使用できるし、シンク台上に設置されている状態でも多様な台所仕事ができるだけではなく、構造が簡単で作動が容易である、食器洗浄器が一体に形成されたシンク台及びこれの為の洗浄水噴出装置に関するものである。又、本発明は食器を洗浄する場合には、超音波によって食器の洗浄が可能になり、すすぐ時には紫外線を照射して食器を殺菌処理できるようにした食器洗浄器一体形シンク台に関するものである。
一般的にシンク台は立式台所形態になっている所で使用されるもので、これは所定の高さのシンク台本体の上側に上向きに開放された流し台を持ち、上記の流し台は底面に排水溝が形成されており、その排水溝を通じて洗浄水が外部に排出できるように構成されている。
最近にはシンク台に接目させた、食器を自動的に洗浄できる食器洗浄器が多数開始されており、使用者達に便宜を提供している。しかし、既存の食器洗浄器はヨーロッパ風に合う厨房家電として、お皿のように比較的に平たい食器はよく洗浄されるが、屈曲した部分が多い韓国形の食器の場合には水を噴出した時に直接当らない部位は洗浄力が大部低下され、この為に乾いた飯粒などは除去されない問題があった。これによって食器にこびりついた飯粒や食べカスを除去する為の別途の手段が必要になって来た。
更に、洗浄作業の為に通称の洗剤を使用する場合は洗浄水に含まれている洗剤は生活汚水を誘発し、又円滑な洗浄にならない場合には洗浄液そのものが食器に残されることになる為、使用者の信頼性を低下させる問題があった。
又、既存の食器洗浄器は熱い洗浄水や泡を立たせる機械装置が別途に設置される場合が大部分であり、その装置は比較的に大きい体積を持つ為、空間活用の側面で効率性が落ちる問題があった。
本発明はこのような問題点を解決する為のものとして、食器洗浄器をシンク台に一体化させて、必要に応じて選択的に食器洗浄機能を使用できるようにすることで、使用に便利且つ簡単でしかも低価格で構成されているだけではなく、空間活用度も高められるようにした食器洗浄器一体形シンク台を提供する為である。
本発明の別の目的は、数多い食器を同時に洗浄できるし、給水及び排水を自動化することで、食器洗浄の能率を倍加できる食器洗浄器一体形シンク台を提供するものである。
本発明のもう一つ別の目的は、別途の洗浄液を使わなくても食器に超音波及び紫外線を照射することで、洗浄作業が円滑に進行できるようにした食器洗浄器一体形シンク台を提供することである。
又本発明は、上述した食器洗浄器一体形シンク台に特に利用できるし、構成が簡単でありながらも洗浄水の噴出機能が優れている為、食器の洗浄効果を増大できる洗浄水の噴出装置を提供することをもう一つの目的とする。
上述した本発明の目的を達成する為の食器洗浄器一体形シンク台は、排水口が底に形成されている、少なくても一つの流し台が、シンク台本体の上部に設置されているシンク台において:流し台の底にグリルを介在して配置される食器を洗浄する時に洗浄水が外部に飛散されないように、上記の流し台の上面を被せる為のカバー;高圧の洗浄水を供給する為の給水ポンプ;又、上記の給水ポンプから供給される洗浄水を流し台の内に噴出させて食器を洗浄できるように、上記のカバーの底面又は流し台の底及び流し台の側面のうち少なくても一つに設置されている洗浄水の噴出手段を含むことを特徴とする。
又、本発明は排水口が底に形成されている、少なくても一つの流し台がシンク台本体の上部に設置されているシンク台において:流し台の底にグリルを介在して配置される食器を洗浄する時に洗浄水が外部に飛散されないように、上記の流し台の上面を開閉する為のカバー;食器のふやかしと洗浄の為に、流し台に満たされた水の中に超音波を発生させるように、上記のカバーの底面と流し台の底及び流し台の側面のうち少なくても一つに設置される超音波の発生手段;又排水口が開閉できるように排水口の下部に設置される開閉手段を含んで構成されることを特徴とする食器洗浄器一体形シンク台を提供する。
又、上述した本発明の別の目的を達成する為の洗浄水の噴出装置は、流し台又は流し台のカバー設置され、食器洗浄用の洗浄水を噴出させる為の洗浄水の噴出装置において、:流し台の底にグリルを介在して配置される食器が洗浄できるように、給水ポンプによって供給される高圧の洗浄水を噴出する為の噴出孔が形成されている噴出ヘッド;その噴出ヘッドが回転できるように収めて、流し台の側面又は底面に設置する為の固定手段;給水ポンプによって供給される高圧の洗浄水によって作動され、上記の噴出ヘッドを回転させる為に設置される回転駆動手段;洗浄動作ではない時の上記の噴出孔を通じた流し台からの逆流を防止する為に、上記の噴出ヘッドの噴出孔を閉鎖させるか、又は洗浄動作時の上記の噴出孔を開放させる為に昇降する開閉部材;又上記の開閉部材を昇降させる為の開閉部材の昇降手段を含んで構成されることを特徴とする。
本発明の為の食器洗浄器一体形シンク台によると次のような効果がある。
第一、食器洗浄器とシンク台を一体化させて使用者が必要に応じて選択的に食器洗浄機能が使用できるようにすることで、食器洗浄器を別途に具備する場合より空間活動度が高められるようになる。
第二、上側と下側で同時に洗浄水が噴出されることにより、流し台の内部に投入される食器に別途の操作をしなくても、食器の隅々まで洗浄水が噴出されることになり、異物質が残存されない奇麗な食器が提供できるようになる。
第三、流し台に設置されるグリルに数多い食器を同時に配置した後、制御ボックスの操作により、自動的に洗浄、乾燥及び殺菌作業が順次に進行されるようになることで、食器の洗浄時にその能率が倍加できるようになる。
第四、別途の洗浄液を使わなくても、食器に超音波及び紫外線を照射して洗浄が進行できるようにすることで、食器に異物質が残存されずに円滑な洗浄作業が成り立つようになる。
第五、本発明の洗浄水の噴出装置によると、洗浄効果を極大化させることができるし、組み立てや分解が簡便且つ維持保守が便利になる長所がある。
以下、本発明による食器洗浄器一体形シンク台及びこれの為の洗浄水噴出装置の実施例などを添付図面を参考して説明すると次のようである。
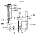
図1又は図3には本発明の食器洗浄器一体形シンク台の一実施例が図示されている。
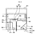
これによると、本実施例のシンク台の内部に所定の空間が形成されている本体(100)を具備して、上記の本体(100)の前方に通常、ドア(110)が開閉可能になるように設置される。
本体(100)の上側の食器が納められるように十分な深さまで入り込んで形成されている流し台(120)が上方に開放された状態で設置されるし、この流し台(120)の底には洗浄水が排出されるように排水口(121)が形成される。この排水口(121)の周りには、図8の実施例と関連して説明される洗浄水噴出装置(300)が安着されるように短壇(121a)が形成される場合もある。
図4,図5及び図8に図示されているように排水口(121)の下側には洗浄水噴出装置(300)が設置され、内部に所定の空間が形成されている集水筒(130)がこの噴出装置(300)の下側の開閉手段(150)を介在して開閉可能になるように結合され、その集水筒(130)の底面には排水ホース(132)が連結される。又集水筒(130)の内部には食べ物のかすを濾す為の濾し網(140)が安着される。集水筒(130)の上端には外側にフレンジ(131)が延長し形成され、この後に説明する洗浄水噴出装置(300)に固定するように結合される。
又流し台(120)には洗浄が進行される間に食器の遊動を防止する為のグリル(600)が安着される。このグリルは多数の横支持帯と縦支持帯が互いに交差して結合され、多数の食器が収納されるように構成されるし、特に内部に食器の投入が容易になるように図12に図示されているように縦帯に対して横帯を各々のヒンジで連結して横帯などが上下に回動できるように構成される場合もある。一方、本体(100)には例えば、流し台(120)の後方に、後述するカバー(220)を受容して昇降する為のカバー受容ケース(210)が設置され、このカバー受容ケース(210)は本体(100)の空間内部に受容されていて、必要時に使用者の操作によって上側に上昇できるように構成される場合もある。即ち、カバー受容ケース(210)は本体(100)の後方に形成されている昇降ホーム(101)を通じて上昇及び下降が可能になるように設置される。
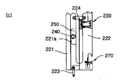
カバー受容ケース(210)の前方には食器の洗浄作業時に洗浄水が外部に飛散されることを防止する為に流し台(120)の上面を被せるカバー(220)が備えられる。図6の(a)又は(c)の実施例でカバー(220)は分割されていて、折畳が可能になるように構成されるし、カバー受容ケース(210)下端には所定の角度で回転可能になるようにヒンジが結合される。
即ち、図6の(a)又は(c)に図示されたようにカバー(220)は第1カバー(221)と第2カバー(222)に区分されるし、第1カバー(221)の下端はカバー受容ケース(210)の下端にリンク(223)を介在してヒンジで結合されるし、第2カバー(222)の下端は第1カバー(221)の上端にリンク(224)を介在してヒンジで結合されることにより、第1カバー(221)及び第2カバー(222)は各々折畳が可能になる。ここで、カバー受容ケース(210)の前面にはカバー(220)が受容されるようにカバー受容ホーム(211)が形成されるし、これによりカバー(220)が外部に突出されないようになることで、全体的なカバー受容ケース(210)の厚さが減少できるようになる。
図示は省略されているが、カバー(220)は折畳めるように分割されて構成されるが、昇降されないように構成される場合もあるし、この場合はカバー受容ケース(210)無しに、直接第1カバー(221)の下端がリンク(223)を介在して本体(100)又は流し台(120)にヒンジで結合される場合もある。
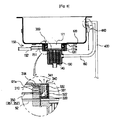
図4及び図5には各々本発明の一実施例によるシンク台の内部構造が図示されている。
本実施例で空間部の後方側にはカバー受容ケース(210)を上昇及び下降させる為の昇降手段として、エアーシンリンダー(212)が設置される。この時、エアーシンリンダー(212)の一側にはエアーシンリンダー(212)にエアーポンピングして供給する為のエアーポンプ(214)が備えられる。即ち、カバー受容ケース(210)の底面は連結棒を介在してエアーシンリンダー(212)と連結されて、このエアーシンリンダー(212)はエアーポンピング(214)からポンピングされた空気を利用してカバー受容ケース(210)の上昇及び下降作用を図る。
一方、流し台(120)の底面又は側面には、流し台(120)に充填された洗浄水に振動を誘発する超音波発生手段(122)が多数備えられる。超音波は一秒当たりおおよそ2万回程の振動数を起こして、医療器具などに活用されている。特に、水の中で発生される超音波により、洗浄は勿論殺菌などの効果があり、これによって食器を洗浄する為の洗剤などが食器に残存されることを防止できるようになる。一方、超音波の発生手段(122)が結合された部位の流し台(120)には漏水を防止する為に、超音波の発生手段(122)が結合される部位に密閉リングを介在することが望ましい。
又、本実施例には洗浄が進行される場合、食器に付いている洗浄水を除去してくれる乾燥装置(400)がもっと含まれる。乾燥装置(400)は図4に図示されたように本体(100)の空間部の内に設置されるヒーター(410)と、このヒーター(410)と流し台(120)の相互間を連結する乾燥ライン(430)で構成される。この時、ヒーター(410)の一側には流し台(120)の方に円滑に熱気を供給できるように送風ファン(420)が設置されることが望ましい。従って、洗浄過程が完了された食器はヒーター(410)から発生される熱気が流し台(120)の内部に伝達されることにより、乾燥される。
併せて、カバー(220)の底面には乾燥された食器又は残飯が殺菌処理できるように紫外線ランプ(240)が設置されることが望ましい。この時、カバー(220)の底面には紫外線ランプ(240)が挿入されるように上方に窪んでいるランプ設置ホーム(221a)が形成されるし、ランプ設置ホーム(221a)の外側には紫外線が透過できるように石英材質の透過板(250)が結合される。例えば、一般ガラスや透明アクリルのように紫外線が透過できないものとは違って、本実施例の透過板(250)は石英材質で形成され、紫外線が透過できるようになっていて、食器や濾し網(22)の方に集まる残飯に紫外線を照射できるし、これによって食器や残飯の殺菌消毒処理が可能になる。このカバー(220)と透過板(250)の結合部位には相互間の気密維持と摩擦による透過板(250)の漏水と破損を防止する為に緩衝パットが備えれることが望ましい。
一方、本実施例の食器洗浄器は洗浄、排水、殺菌、乾燥などが従来の公知されている多様な制御モードによって制御できる。このような制御作業は本体の内に設置されている制御装置(500)によって成り立っている。制御装置(500)はシンク台の美観の為に本体の内に設置され、その前面には食器洗浄の為の多数の操作ボタン、例えば自動ボタン、給水ボタン、洗浄ボタン、乾燥ボタン及び殺菌ボタンなどが備えられる場合がある。この時、各種の操作ボタンはカバー受容ケースに設置される場合もある。従って、使用者は自動進行ボタンを押して、全体的な食器洗浄過程を一体化させて、進行するか或いは各々の操作ボタンを押して食器洗浄の為の各過程をそれぞれ選択することができる。
一方、排水口(121)の下側には洗浄水を上向きに噴出できる洗浄噴出装置(300)が設置される。この洗浄水噴出装置(300)は排水口(121)から着脱できるように結合される為、分離された状態で食器以外の貴金属やその他の物品などを洗浄することもできる。このような洗浄水の噴出装置に関する詳細な説明は後述される。
一方、洗浄水噴出装置(300)を作動させない場合、又は回転翼(230)及び洗浄水噴出装置(300)を通じた洗浄水の供給が完了された後、流し台(120)の中に一定量の洗浄水を貯蔵しようとする場合は排水口(121)を遮断できなけばならない。従って、排水口(121)の下部の一側には排水口(121)を開放又は遮断できるように開閉手段(150)が設置される。この開閉手段(150)は、一例として、排水口(121)を開閉するおおよそ平板形態の開閉部材(151)と、この開閉部材(151)の一側に連結されて制御装置(500)によって作動されるソレノイド(152)で構成されることもできる。
図6の(a)又は(c)及び図7には各々の本発明の一実施例によるカバーの構造が図示されている。
本実施例のカバーには流し台(120)に洗浄水を供給する為の多数の噴出孔(231)が形成されている回転翼(230)が洗浄水噴出手段の一実施例として含まれる。この回転翼(230)は水道水を微細な粒子状態で噴出できるように水道ホースに連結された状態でカバー(220)の底面に設置されるし、回転翼(230)には水道水を一定の圧力を供給されるように給水ポンプが連結される。この時、回転翼(230)はモーター、タービン翼などの回転手段(図示省略)によって、正回転及び逆回転が可能になるように構成されることで、流し台(120)の内に配置された食器にむらなく噴出されるようになり、より望ましい。
一方、回転翼(230)の両端には自力で疎通できるように磁性体(232)で形成し、回転翼(230)が停止される位置から回転翼(230)とは所定の間隔で離隔された状態でカバーの底面には電磁石(260)が設置される。従って、回転翼(230)の回転動作後、電磁石(260)に磁力を認可すると、回転翼(230)を正位置に停止させることができる。
又、流し台(120)をカバー(220)に閉鎖した後、洗浄過程を進行する場合、カバー(220)の遊動を防止する為のロッキング手段(270)を備えることが望ましい。このロッキング手段(270)は、従来に公知されている多様な構成で形成できるもので、一例としては、図7のように第2カバー(222)の底面の中央に設置される締めレバー(271)と、この締めレバーの両側に各々のワイヤー(272)で連結される締め片(273)で構成することもできるし、流し台(120)の両側には上記の締め片(273)の位置に対応できるように締めホームが形成され。従って、カバー(220)が流し台(120)に被われた状態で締めレバー(271)を半時計方向に回転できる場合は締め片(273)は締めホームに挿入されながらカバー(220)が流し台(120)に硬く固定され、洗浄過程が完了された後には反対に締めレバー(271)を時計方向に回転させれば、簡単にカバー(220)を流し台(120)から分離できるようになり、カバー(220)は折畳可能になる。
図8には本発明の一実施例による排水口の構造が詳細に図示されている。
上記で少し言及した通りに、食器の洗浄力が優れるように上側で洗浄水が噴出する回転翼(230)に併せて、流し台の底、又は側面でも洗浄水を噴出できるように洗浄水噴出装置が備えられることが望ましい。
即ち、図8では流し台(120)の排水口(121)の周りでは円筒型の洗浄水噴出装置(300)が形成され、カバー(220)の底面に設置されている回転翼(230)と流し台(120)の洗浄水噴出装置(400)を通じて上下方向から洗浄水を同時に又は交差させて、噴出できるようになることで、より強力な洗浄作業が成り立つようになる。
従って、窪んでいる食器や使用者の手の届きにくい所まで奇麗に洗浄が進行される。この時、水圧の強さによって、自動に水道水の排出量を調節して、過負荷を防止する水圧調節手段が備えられることが望ましい。
このような洗浄水噴出装置(300)は図8又は図10に図示されたように、集水筒(130)の上側に設置され、排水孔(311),内壁(312), 外壁(313)及びフレンジ(314)が形成されている円筒形のハウジング(310)と、噴出孔(341)が形成され、この噴出孔(341)が漏出されるように上記のハウジング(310)が設置される噴出ヘッド(340)と、ハウジング(310)の内壁(312)と外壁(313)の間の円柱空間部の内に納められるし、回転駆動手段(331)が具備されているリング体(330)と、上記回転駆動手段(331)を支えるようにハウジング(310)に設置される下敷板(320)で構成され、その噴出ヘッド(340)、回転昇降手段としてのリング体(330)、及び下敷板(320)はハウジング(410)の内壁(312)と外壁(313)の間の円柱空間部内で回転可能になるように設置される。
即ち、ハウジング(310)の中央には集水筒(130)の内径に対応できるように排水孔(311)が形成され、この排水孔(311)を中心とする同芯円状に内壁(312)が垂直に設置され、ハウジング(310)の外壁(313)と内壁(312)の間には所定の円柱空間部が形成される。従って、上記の円柱空間部の床の上に回転板の下敷板(320)が具備され、この下敷板(320)の上面には一定の間隔で多数の結合突起(321)が突出し形成されるし、この結合突起(321)の上側にはスプリング(322)が結合される。
又、ハウジング(310)の上側には少なくても一つ以上の噴出孔(321)が形成されている噴出ヘッド(320)がその内壁の下端でスクリュー(323)で下敷板(320)と結合されるように配置され、上記ハウジング(310)の外壁(313)と内壁(312)の間の円柱空間部には回転昇降手段としてのリンク体(330)が設置され、このリンク体(330)の外周面には一定の間隔を置いて流入される洗浄水の圧力による影響を受けないように突出部(331)が設置され、この突出部(331)の下側にはリンク体(330)の弾性を支える為のスプリング(322)が設置される。
この時、ハウジング(410)の一側面には給水ポンプに連結される洗浄水の供給ホース(350)が連結され、洗浄水の供給時の突出部(331)に水圧が加わるようになる。
従って、リンク体(330)が洗浄水の加圧によって下向移動されると同時に回転できるように、上記の突出部(331)の上面には外側へ下向に傾くように第1及び第2傾斜面(333a,333b)が回転及び下向を同時に達成できる手段として形成される。この時、第1及び第2傾斜面(333a,333b)の間には噴出孔(321)を開閉できるように開閉ピン(332)が垂直に設置される。洗浄水が供給される場合、突出部(331)の第1及び第2の傾斜面(331a,331b)に作用する洗浄水によって下向及び回転することで、回転する噴出孔(321)を通じて洗浄水が上方に回転しながら噴出され、又は洗浄水の供給が成り立たない場合には突出部(331)の弾性を支えるスプリング(322)によって上昇され、開閉ピン(332)が噴出孔(321)を塞ぐことになり、汚物の流入が防止されるのである。
又、図8から図10の実施例による洗浄噴出装置の変形実施例が図21から図23に図示されている。図21から図23では、図8から図10の実施例でのハウジング(310)の具体的な図示が省略されているが、従来に公知にされた多様な構成によって、円形断面の内部ハウジング(710)と楕円形断面の外部ハウジング(720)に互いが結合・分離可能になるように構成されるし、外部ハウジングにフレンチ(721)が形成されて流し台(120)に固定できるように構成される。又、内部ハウジング(710)は、フレンチ(311)を除いては上述した実施例でのハウジング(310)のように噴出ヘッド(340)、回転昇降手段(330)、スプリング(322)及び受け板(320)が回転できるように結合され、構成が似ているが、公知されている着脱結合構成によって外部ハウジング(720)内に着脱可能に結合される構成で、維持保守が容易であり、内部ハウジング(710)と外部ハウジング(720)の間に排水路を形成して排水が容易にできるようになる。この場合には、内部ハウジング(710)と外部ハウジング(720)の接触部分を通じて給水ホース(350)が連結される。
これに併せて、給水ホース(350)は図10に図示されているように、給水ポンプと連結されている、ある一つの地点で方向調節ベルブを介在して分岐され、二つの給水ホース(351,352)が連結することもできるし、この二つの給水ホース(351,352)は、ハウジング(310)の内部では、互いに対向される方向に洗浄水を噴出するように各噴出孔に配置される。又、上記の分岐された地点に設置される方向調節ベルブは制御装置(500)の信号によって作動するソレノイドベルブの場合もある。従って、給水ホースの中で分岐されている、ある一つの部分(351)に洗浄水が供給される場合は洗浄水が突出部(331)に圧力を加えることになり、これによって回転板(320)とリンク体(330)及び噴出ヘッド(340)は一側方向、即ち時計方向に回転することになる。反対に、制御装置(500)の信号によって分岐されている別の部分の給水ホース(352)に洗浄水を供給する場合は洗浄水噴出装置(300)は他側方向、即ち半時計方向に回転するようになる。このように洗浄水噴出装置(300)を反復的に時計方向と半時計方向に回転させながら噴出孔(341)を通じて洗浄水を噴出するようになることで、食器により効果的に洗浄水を供給するようになることである。ある一方向での回転だけの為には一つの傾斜面だけを具備することもできる。
図11の(a)及び(b)には本発明の一実施例によるオーバーフローライン及び乾燥ラインが図示されている。
図11の(a)及び(b)で、流し台(120)の一側上端と排水口(121)の側面はオーバーフローライン(160)に連結され、流し台(120)の内に必要以上に多くの量の洗浄水が供給される場合は洗浄水を排水口(121)に排出されるようになる。
この時、オーバーフローライン(160)と乾燥ライン(430)には開閉手段(540)がある一つのラインを開放する場合、残りのラインに対して閉鎖できるように設置される。この開閉手段(540)は図11の(a)及び(b)に図示されたように、垂直に設置され、乾燥ライン(430)又はオーバーフローライン(160)を選択的に開閉する開閉部材(550)と、この開閉部材(550)の下側に連結され、制御装置(600)の制御によって開閉部材(550)を昇降させるソレノイド又はエアーシリンダー(541,542)で構成することもできる。
このように構成されている本実施例による食器洗浄器一体形シンク台の作用を制御モードの一例として説明すると次のようである。
先ず、グリルを流し台(120)の内部に安着させて、洗浄しようとする食器をグリルに搭載する。(又はグリルに食器を搭載した後、グリルを流し台に安着させても構わない。)
又、カバー受容ケース(210)の上面に備えられている操作ボタンを押すとカバー受容ケース(210)が上昇するようになる。カバー受容ケース(210)が完全に上昇すると、使用者はカバー受容ケース(210)からカバー(220)を引き出して流し台(120)の上面を被せる。この時、締めレバー(271)を回転させると自動的に締め片(272)が作動してカバー(220)を固定し、締めレバー(271)を解くと締め片(272)が締めホームから離脱することになる。
その後、カバー受容ケース(210)が具備されている給水ボタンを押すと給水ホースに連結されている回転翼(230)から所定の圧力で洗浄水が噴出され、食器を一次的に洗浄することになる。(この時、一次洗浄過程を進行する前にシンク台の美観を損なわないように再び操作ボタンを押して、カバー受容ケースを下降させるように構成することも可能である。即ち、リンクとヒンジをカバー受容ケースから分離して昇降するように構成することを一例として挙げられる。)このように食器を洗浄した洗浄水は排水口(121)を通じてシンク台の外部に排出される。
次に二次洗浄過程が行われる。即ち、開閉手段(150)が排水口(121)を遮断し、流し台(120)には回転翼(230)から噴出される洗浄水が満たされることになる。所定時間(本実施例では3分)の間の流し台(120)に充填された洗浄水に食器を浸けて置く場合、食器に食べ物のかさや残飯などの異物質が付くことになる。その後、超音波の発生手段(122)から所定時間の(本実施例では2分)間に超音波が発生され、流し台(120)の内部に充填されている洗浄水を遊動させると、食器に付いている異物質が食器から簡単に分離される。このような過程が完了されると、排水口(121)を遮断する開閉手段(150)が開放されながら洗浄水が排出される。
最後に、回転翼(230)と洗浄水噴出装置(400)から洗浄水を噴出さて、食器の濯ぎ作業が進行されることで、食器の洗浄作業が完了される。
その後、ヒーター(410)から発生される熱気は乾燥ライン(430)を通じて、流し台(120)の内部に提供され、食器に付いている水気を除去することになり、乾燥された食器には紫外線ランプ(240)が設定されている時間の間隔に紫外線を照射し、殺菌処理をすることで、食器に対する衛生処理が進行されることになる。一方、ヒーター(410)及び紫外線ランプ(240)から発生される熱気及び紫外線が流し台(120)に供給される時に、熱気及び紫外線は食器だけではなく、濾し網(140)に溜まっている異物質にも供給される為、異物質も同様に乾燥されると同時に殺菌処理が可能になる。又、濾し網(140)に溜まっている食べ物のごみは紫外線によって乾燥されている状態であるので、使用者が取り除く時に水が垂れずに、かさかさした状態を維持する為、捨てることが容易になる。
図13又は図16には本発明による左右移動方式の食器洗浄器一体形シンク台の別の実施例の構造が上部平面図、図13の線A−A及び線B−Bの断面図として図示される。
図13又は図16で、この左右移動方式の食器洗浄器一体形シンク台は、底に排水口(121)が形成されている少なくても一つの流し台(120:図面上では二つで厚さを省略して図示されている)を具備するものに適用したもので、基本的にカバー(10)、そのカバー(10)に設置されている噴出手段(20,30,30a),上記のカバー(10)の左右移動案内手段(11)、上記の洗浄水噴出手段(20,30,30a)に連結されている洗浄水の供給ライン(12)、及びカバー(10)の左右移動時に洗浄水供給ライン(12)の移動を許容する為の洗浄水供給ライン(12)の移動許容手段を含んで構成される。
上記のカバー(10)は、図13及び図14に図示されているように、流し台(120)の底にグリル(600)を介在して配置される食器を洗浄する時に、洗浄水が外部に飛散されないように、上記の流し台(120)の上面に被せる閉鎖状態の為の洗浄位置と開放状態の為の非洗浄位置の少なくても二つの位置の間で移動可能になるように、流し台(120)の上面に設置される。図13及び図14では、一組の流し台(120)の間を移動するが、これに限らず、一つの流し台(120)と流し台ではないシンク台にも移動が可能であり、一組の流し台(120)の間だけではなく、三つ以上の流し台(120)の間又は流し台ではないシンク台を含む位置の間でも移動が可能である。
洗浄水噴出手段(20,30,30a)は、上記のカバー(10)の底面で洗浄水を噴出させて、食器を洗浄する為のものとして、図13及び図14では多数の噴出孔(21)を持つ回転翼(20)が設置されるが、これに限らず、単純にカバー(10)の底面に形成される噴出孔の場合もあり、多数の噴出孔(32)を持つ後術する洗浄水噴出装置(30,30a)の場合もある。回転翼(20)の場合、図13又は図15に図示されているように、少なくても回転翼(20)が回転する範囲では回転翼(20)突出されないように、凹ホーム部(22)が形成されることで、カバー(10)が外周から密閉させると同時に左右移動時に流し台(120)の外周に引っかからないことになる。又、回転翼(20)に対する安全の為に図14及び図15に図示されているように、安全網(23)が設置されることが望ましい。
左右移動案内手段(11)は、上記のカバー(10)の左右移動を案内するように、上記のカバー(10)と流し台(120)の上面の間に設置されるものとして、多様な公知の構成が採用される場合もある。図13又は図15、特に図15では左右移動案内手段(11)は、漏水を防止すると同時に滑り運動が可能になるように、上記のカバー(10)と流し台(120)に各々設置される突出部材(11a)と凹ホーム部材(11b)で構成されるし、この突出部材(11a)と凹ホーム部材(11b)のうち少なくても一つはゴムのような弾性素材で形成される。このようにスライド結合方式の場合、漏水防止構造で便利に構成される場合もある。本実施例で左右移動案内手段(11)でスライド方式が図示され説明されるが、左右移動案内手段(11)がこれに限らず、図示は省略されるが、ローラとローラ案内ホームなどを利用してカバー(10)を流し台(120)の上で移動する方式も可能である。
洗浄水供給ライン(12)は、給水ポンプ(233a:図15に図示される)を介在して、高圧の洗浄水を上記の洗浄水噴出手段(20,30,30a)に供給するように連結されるものとして、図13のように矢印方向に屈折性のゴムホースが採用されたものが図示されているが、これに限らず、公知されている多様な構成が採用される場合もある。
又、洗浄水供給ライン(12)は、図13のように外部に突出される洗浄水供給ラインの連結部材(13)又は図15に図示されているように、左右移動案内手段(11)を貫通する洗浄水の供給ライン連結孔(13a)を通じて給水ポンプ(233a)に連結される場合もある。
又、カバー(10)の左右移動時、その洗浄水噴出手段(20,30,30a)の側に連結される洗浄水の供給ライン(12)の移動の為に、その洗浄水噴出手段(20,30,30a)に固定される洗浄水供給ン(12)の一端に対して他端に回動するように構成されたものが図13に図示されるが、カバー(10)の内に設置される供給ライン(12)は固定され、給水ポンプ(233a)から連結される洗浄水供給ラインの連結部材(13)又洗浄水の供給ライン連結孔(13a)側の洗浄水供給ラインが移動又は回動されるように構成される場合もある。
このようにカバー(10)の移動によって、上記の洗浄水の供給ライン(12)の他端とか、上記の洗浄水供給ラインの連結部材(13)又は洗浄水供給ラインの連結孔(13a)側の洗浄水供給ラインの移動を許容するようにカバー(10)と流し台(120)のうち一つに設置される洗浄水供給ラインの通過孔(14)のような移動許容手段が形成される。図15に図示されている例では、洗浄水供給ライン(12)の移動許容手段の洗浄水供給ラインの通過孔(14)で構成されているが、これに限るものではない。その洗浄水供給ライン(12)の移動許容手段の一例として、洗浄水供給ラインの通過孔(14)は、図15のカバー(10)の後面を図示した図16ではカバー(10)の後面に左右で形成されることで、実線と点線で図示されているように、カバー(10)の左右移動時に洗浄水供給ライン(12)が洗浄水供給ラインの通過孔(14)を通じて相対的に移動することになる。
又、洗浄中に、移動と漏水を防止する為に、上記のカバー(10)を流し台(120)の上面に加圧、固定させられるロッキング手段(15)を具備することが望ましいし、ロッキング手段(15)の構成にも制限されてなくて、公知されている多様な構成を採用することができる。
又、上記のカバー(10)の底面には紫外線殺菌の為の紫外線ランプ(24)が設置されることが望ましい。紫外線ランプ(24)は、図13又は図15のようにカバー(10)の底面に形成されているランプ設置ホーム(25)に設置される。
又、上記の流し台(120)の底に洗浄水噴出手段(30,30a)が設置されることが望ましいし、図示は省略されているが、上記の流し台(120)の側壁でも設置される場合もある。このような洗浄水噴出手段(20,30,30a)は、公知されている多様なモードで運転することもできる。一例として、上下の洗浄水噴出手段(20,30,30a)が互いに交替に作動されるように構成することもできる。給水ポンプ(233,233a)は図示されているように、上下の洗浄水噴出手段(20,30,30a)に対して分離するように設置されることもできるし、一つの給水ポンプから多様に制御できる方向制御ベルブを通じて各洗浄水噴出手段(20,30,30a)に連結することもできる。
未説明符号"122"は、流し台(120)の側壁の上部に設置されるオーバーフロー部材で、"500"は上述した構成要素などを制御する為の制御装置であり、制御パンネル及び各種の公知されている制御モードはその図示と説明が省略されている。又、本出願人が出願した特許出願第10-2007-80707号及び第10-2007-80707号に記載されているように、オーバーフロー部材(122)の流体孔を利用した乾燥システムや食器のふやかし及び予備洗浄の為の超音波発生装置及び排水口の開閉装置も本発明にも適用できる場合もあるし、洗剤筒を利用した従来に公知されている構成も採用することができる。
以上のように、構成される左右移動方式の食器洗浄器一体形シンク台は、カバー(10)が左右に移動可能になるように流し台(120)上に設置されるので、カバー(10)を左右に押してスライディングなどによって移動させることで、流し台(120)を開閉できるようになっていて、便利に洗浄の為の閉鎖状態と食器の出入りなどの為の開放状態との間を簡単に変更させられるようになる。又、本出願人の以前に出願した発明のようなヒンジ動作がない為、多くの空間を必要としないだけではなく、カバー(10)を設置した状態で多様な台所仕事ができるようになる。
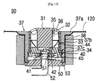
図17又は図20には本発明による洗浄水噴出装置(30a)の別の実施例の構造が図示されている。
その洗浄水噴出装置(30a)は、基本的に噴出ヘッド(31),固定手段(37,38),回転翼(35)及び開閉部材(40)を含んで構成される。
この噴出ヘッド(31)は、流し台(120)の内に設置されるグリル(600)上の食器を洗浄できるように給水ポンプ(233)によって供給される洗浄水を噴出させる為の噴出孔(32)が多数形成されることで、上記の固定手段(37,38)の内で回転可能になるように設置されるだけではなく、多様な種類の洗浄水の噴出形態を形成するように図18に図示された通り、角度、上部平面形状及び断面形状で形成されることもできる。これによって、多様な洗浄水の噴出機能を持つことになり、噴出されない空間をなくし、洗浄角度を多様にして、多様な食器の洗浄効果を極大化させることができる。
又、上記噴出ヘッド(31)は、下部から噴出孔(32)に洗浄水を供給することができるし、後術する回転駆動翼(35)を設置できるように図17,図19及び図20の通り、円柱空間部(33)が形成されることが望ましいし、この円柱空間部(33)の外周端部には引っかかり壇部(34)が形成される。
固定手段(37,38)は、上記の噴出ヘッド(31)を回転可能になるように納めたまま、流し台(120)の側壁や底面に設置される。図面では上記の固定手段(37,38)は、固定部材(37)と固定ナット(38)で構成され、この固定部材(37)は、流し台(120)の設置孔の外周の上面に設置されるフレンジ(37a)と、流し台(120)の設置孔を通過して下向に突出して位置し、外周に雄ねじ部が形成される円筒部(37b)と、上記の噴出ヘッド(31)が上方に離脱されないように、上記の噴出ヘッド(31)の引っかかり壇部(34)が引っかかれる為の引っかかり壇受容部(37c)で構成される。
このように構成される固定部材(37)の円筒部(37b)の雄ねじに図示されているように固定ナット(38)が締結されることで、流し台(120)の設置孔の外周に上記の噴出ヘッド(31)が着脱可能になるように設置されることになるが、本発明で固定手段(37,38)はこのような構成に限るものではなく、着脱可能に設置されることが補修に便利ではあるが、着脱可能ではない状態で設置することもできる。
回転駆動翼(35)は、上記の給水ポンプ(233)によって供給される高圧の洗浄水によって、上記の噴出ヘッド(31)と共に回転するように、上記の噴出ヘッド(31)の内に設置される。共に回転される構成は具体的に図示されていないが、スフルライン結合などと公知されている構成のうち一つが採用されることもできる。
開閉部材(40)は、洗浄動作ではない時に、上記の噴出孔(32)を通じた逆流を防止する為に、上記の噴出ヘッド(31)内の回転駆動翼(35)と噴出孔(32)への洗浄水の供給通路を閉鎖させて、洗浄動作時に上記の噴出ヘッド(31)内の回転駆動翼(35)と噴出孔(32)への洗浄水の供給通路を開放させるように設置される。
上記の開閉部材(40)は、一例として、洗浄水が供給される中央貫通孔(41)と、上記の中央官通孔(41)から放射状の外側に拡張され、下方に洗浄水の圧力が作用される圧力作用部(42)と、上記の噴出ヘッド(31)の円柱空間部(33)の内壁の下端部分で上記の中央貫通孔(41)と円柱空間部(33)の間を開閉させるように、円柱空間部(33)の内壁の下端部分に密閉されるよう接触する開閉部(43)と、上記の円柱空間部(33)内に挿入されて回転駆動翼(35)を効果的に回転させるように洗浄水の流動方向を変化させる為の案内部(44)で構成される。
又、上述した開閉部材(40)の構成に置いて、上記の圧力作動部(42)への洗浄水の圧力によって開放されている開閉部材(40)を閉鎖させるようにスプリング(45)が下部部材(50)との間に設置される。
下部部材(50)は、上記の中央貫通孔(41)内に、気密に挿入されて開閉部材(40)の下部に洗浄水を漏出することがなく、洗浄水を圧力作動部(42)に供給するように中央円筒部(51)が形成され、この中央円筒部(51)の下端には洗浄水供給ライン連結部(52)が連結されて、ねじ(53)によって上記の固定部材(37)の下端に固定される。
このような開閉部材(40)や下部部材(50)の構成も図示されている実施例に制限されず、従来に公知されている多様な構成が採用されることもできる。
又、上記の回転駆動翼(35)からの角度に関係なく、噴出孔(32)の形状と角度によって、洗浄水が噴出されるように洗浄水を底流させる空間部(36)が噴出ヘッド(31)の噴出孔(32)と回転駆動翼(35)の間に形成されることが望ましい。
図示は省略されているが、洗浄水噴出装置(30a)が側壁に設置される時には噴出ヘッド(31)の上部が流し台(120)の内部に向かうし、噴出ヘッド(31)の下部が流し台(120)の外部に向かうように設置される。
上述したように、洗浄水噴出装置(30a)が形成されることで、簡単に構成することができるし、汚物による汚染や詰まりの心配がないだけではなく、回転及び多様な構成の噴出孔(32)によって、洗浄効果を極大化させられるし、組み立てや分解が簡便である為、維持補修が便利である長所がある。
Claims (19)
- 排水口が底に形成されている少なくても一つの流し台がシンク台本体の上部に設置されるシンク台に置いて:
流し台の底にグリルを介在して配置される食器を洗浄する時に洗浄水が外部に飛散されないように、上記の流し台の上面を被せる為のカバー;
高圧の洗浄水を供給する為の給水ポンプ;又、上記の給水ポンプから供給される洗浄水を流し台内に噴出させて食器を洗浄するように上記のカバーの底面と流し台の底及び流し台の側壁のうち少なくても一つに設置される洗浄水噴出手段を含むことを特徴とする食器洗浄器一体形シンク台。 - 第1項に置いて、上記のカバーが、上記の流し台の上面を被せる閉鎖位置と上記の流し台の上面を開放させる開放位置の二つ位置の間で折畳可能になるように、前後方に第1カバー及び第2カバーに分割され構成し、後方の第1カバーは一端がシンク台本体又は流し台にヒンジで連結され、第2カバーは上記の第1カバーの他端にヒンジ結合されることを特徴とする食器洗浄器一体形シンク台。
- 第2項に置いて、上記の分割された第1カバー及び第2カバーが折畳まれた時に、 その折畳まれた第1カバー及び第2カバーを収納する為のカバーケースが追加で含まれ、後方の第1カバーの一端がシンク台本体又は流し台の代わりにそのカバーケースにヒンジで連結され、そのカバーケースをシンク台本体の上部と内部の間で昇降させる為の昇降手段をもっと含むことを特徴とする食器洗浄器一体形シンク台。
- 第1項に置いて、上記のカバーが、上記の流し台の上面を被せる閉鎖位置と上記の流し台の上面を開放させる開放位置(別の流し台の閉鎖位置である場合もある)との少なくても二つの位置の間で、移動可能になるように流し台の上面に設置されるように、上記のカバーの左右移動を案内する為の左右移動手段が上記のカバーと流し台の上面の間に設置されることを特徴とする食器洗浄器一体形シンク台。
- 第4項に置いて、上記の洗浄水噴出手段が上記のカバーに設置され、この洗浄噴出手段側に連結される洗浄水供給ラインの一端に対して相対的に洗浄水供給ラインの別の部分が移動可能になるように、カバーと流し台のうち一つに設置される、洗浄水供給ラインの通過孔のような移動許容手段をもっと含んで構成されることを特徴とする食器洗浄器一体形シンク台。
- 第4項に置いて、上記の左右移動案内手段は、漏水を防止すると同時に滑り運動が可能になるように、上記のカバーと流し台に各々設置される突出部位と凹ホーム部材で構成され、その突出部材と凹ホーム部材のうち少なくても一つはゴムのような弾性素材で形成されるスライド結合手段であることを特徴とする食器洗浄器一体形シンク台。
- 第2項に置いて、上記の洗浄水噴出手段は、噴出孔を持って回転する翼と噴出孔を持って回転する噴出ヘッドを持つ洗浄水噴出装置のうち一つであることを特徴とする食器洗浄器一体形シンク台。
- 排水口が底に形成されている少なくても一つの流し台がシンク台本体の上部に設置されるシンク台に置いて:
流し台の底にグリルを介在して配置される食器を洗浄する時に洗浄水が外部に飛散されないように、上記の流し台の上面を開閉させる為のカバー;
流し台に水を満たして、食器のふやかしと洗浄をするように、その満たされた水の中に超音波を発生させるように、上記のカバーの底面と流し台の底及び流し台の側壁のうち少なくても一つに設置される超音波の発生手段;又、排水口を開閉させるように排水口の下部に設置される開閉手段を含んで構成されることを特徴とする食器洗浄器一体形シンク台。 - 第1項又は第8項に置いて、洗浄又はふやかし中の移動と漏水を防止する為に、上記のカバーを流し台の上面に加圧させて、固定させられるロッキング手段を具備することを特徴とする食器一体形シンク台。
- 第1項又は第8項に置いて、上記のカバーの底面には紫外線殺菌の為の紫外線ランプが設置されることを特徴とする食器洗浄器一体形シンク台。
- 第1項又は第8項に置いて、シンク台本体の空間部内に設置されるヒーターと、 このヒーターから熱を供給されて送風する為の送風ファンと、その送風ファンによるヒーターからの熱風を流し台内に送風する為の乾燥ラインで構成される乾燥装置を追加で含むことを特徴とする食器洗浄器一体形シンク台。
- 第11項に置いて、上記の流し台にオーバーフローラインが設置され、このオーバーフローラインと上記の乾燥ラインとが選択的に流し台に連結させれられるように、開閉手段と共通ラインを追加で具備することを特徴とする食器洗浄器一体形シンク台。
- 流し台又は流し台のカバーに設置され、食器洗浄用洗浄水を噴出させる為の洗浄水噴出装置に置いて:
流し台の底にグリルを介在して配置される食器を洗浄するように給水ポンプによって供給される高圧の洗浄水を噴出させる為の噴出孔が形成される噴出ヘッド;
この噴出ヘッドを回転可能になるように受容して流し台の側壁や底面に設置させる為の固定手段;
給水ポンプによって供給される高圧の洗浄水によって作動され、上記の噴出ヘッドを回転させるように設置される回転駆動手段;
洗浄動作ではない時に、上記の噴出孔を通じた流し台からの逆流を防止する為に、上記の噴出ヘッドの噴出孔を閉鎖させて、洗浄動作時に上記の噴出ヘッドの噴出孔を開放させるように昇降する開閉部材;又、上記の開閉手段を昇降させる為の開閉部材の昇降手段を含んで構成されることを特徴とする洗浄水噴出装置。 - 第13項に置いて:
上記の噴出ヘッドは内壁を具備して;
上記の固定手段は、上記の排水口に通じるように中央に形成される排水孔、上記の噴出ヘッドが上部から回転可能になるように挿入される為に、円柱空間部を置いて、床部に延長され、排水孔の周囲に形成される内壁と外壁、又排水口の周りに固定させられるように、上記の外壁の上端から延長し形成されるフレンジで構成されるハウジングであり;
上記の回転駆動手段と上記の開閉部材昇降手段の下降機能を遂行する傾斜面と、上昇むする時に噴出孔を閉鎖させる開閉噴出部材としての開閉ピンが設置されている突出部が外周に形成されるリンク体によって、上記の回転駆動手段、上記の開閉部昇降手段の下降機能及び開閉部材が一体で形成されて;
上記の開閉部材の昇降手段の上昇機能を遂行する為に、上記の突出部の下部にハウジングの円柱空間部内に挿入されるスプリングを具備して;
上記の噴出ヘッド、リンク体及びスプリングが一体でハウジングの円柱空間部内で回転するように、噴出ヘッドの内壁の下端に固定される下敷板を具備することを特徴とする洗浄水噴出装置。 - 第14項に置いて、上記のハウジングの排水孔を開閉させる為の開閉手段が、上記のハウジングの底面に設置されることを特徴とする洗浄水噴出装置。
- 第13項に置いて:
上記の噴出ヘッドは、下部から噴出孔に通じる円柱空間部が形成され、この円柱空間部の外周の端部に引っかかり壇部が形成されて;
上記の回転駆動手段が上記の円柱空間部と共に回転可能になるように挿入されて;
上記の開閉部材は、洗浄水が供給される中央貫通孔と、上記の中央官通孔から、上記の噴出ヘッドの円柱空間部への洗浄水の供給通路が閉鎖された時に、下方に洗浄水の圧力が作用して、開閉部材を下降させるように、上記の中央貫通孔から放射状の外側に拡張されて形成される圧力作動部と、洗浄時に下降して上記の中央貫通孔から上記の噴出ヘッドの円柱空間部への洗浄水の供給通路を開放させて、非洗浄時に上昇して上記の中央貫通孔から上記の噴出ヘッドの円柱空間部への洗浄水の供給通路を閉鎖させるように、上記の噴出ヘッドの円柱空間部の内壁下端部分との間で開閉される開閉部で構成されて;又、上記の昇降手段は、洗浄水の圧力によって、上記の開閉部を開放させる、上記の圧力作動部と、上記の圧力作動部への洗浄水の圧力によって開放された開閉部材を非洗浄時に閉鎖させるように設置されるスプリングで構成されることを特徴とする洗浄水噴出装置。 - 第16項に置いて、上記の固定手段は、流し台の設置孔の外周の上面に設置されるフレンジと、流し台の設置孔を通過し下向に突出して位置し、外周に雄ねじ部が形成される円筒部と、上記の噴出ヘッドが上方に離脱されないように、上記の噴出ヘッドの引っかかり壇部が引っかかる為の引っかかり壇受容部で構成される固定部材と、その固定部材の円筒部の雄ねじで締結されて、流し台の設置孔の外周に上記の噴出ヘッドを着脱可能に設置させる固定ナットで構成されて;
上記の中央貫通孔内に気密に挿入され、開閉部材の下部に洗浄水の漏出を防止する為の中央円筒部が形成されて、又洗浄水供給ラインの連結部が設置され、ねじによって上記の固定部材の下端に固定される下部部材をもっと含むことを特徴とする洗浄水の噴出装置。 - 第16項に置いて、上記の噴出ヘッドの円柱空間部内に挿入され、回転駆動手段の作動を円滑にできるように、洗浄水の流動方向を変化させる為の案内部が上記の開閉部材の開閉部の外周から突出されるように形成されることを特徴とする洗浄水噴出装置。
- 第14項又は第16項に置いて、上記の噴出孔は流し台の内に多様な角度と形態で洗浄水を噴出させるように、多様な角度と形状で形成されて;
上記の回転駆動手段からの角度に関係なく、噴出孔の形状と角度によって、洗浄水が噴出されるように、洗浄水を底流させる空間部が噴出ヘッドの噴出孔と回転駆動手段の間に形成されることを特徴とする洗浄水の噴出装置。
Applications Claiming Priority (4)
| Application Number | Priority Date | Filing Date | Title |
|---|---|---|---|
| KR20070008710 | 2007-01-29 | ||
| KR1020070080707A KR100871069B1 (ko) | 2007-01-29 | 2007-08-10 | 식기 세척기 일체형 싱크대 |
| KR1020080001677A KR20090075987A (ko) | 2008-01-07 | 2008-01-07 | 좌우 이동방식의 식기 세척기 일체형 싱크대 및 이를 위한세척수 분출장치 |
| PCT/KR2008/000507 WO2008093972A1 (en) | 2007-01-29 | 2008-01-28 | Kitchen sink with a dish-washing apparatus, and washing-water spray apparatus therefor |
Publications (1)
| Publication Number | Publication Date |
|---|---|
| JP2010516423A true JP2010516423A (ja) | 2010-05-20 |
Family
ID=42221476
Family Applications (1)
| Application Number | Title | Priority Date | Filing Date |
|---|---|---|---|
| JP2009548149A Pending JP2010516423A (ja) | 2007-01-29 | 2008-01-28 | 食器洗浄器一体形シンク台及びこれの為の洗浄水噴出装置 |
Country Status (2)
| Country | Link |
|---|---|
| US (1) | US20100132111A1 (ja) |
| JP (1) | JP2010516423A (ja) |
Cited By (3)
| Publication number | Priority date | Publication date | Assignee | Title |
|---|---|---|---|---|
| JP2016202744A (ja) * | 2015-04-27 | 2016-12-08 | 三菱電機株式会社 | 洗浄装置及びキッチンシンク |
| JP2017501829A (ja) * | 2013-12-31 | 2017-01-19 | 寧波方太厨具有限公司Ningbo Fotile Kitchen Ware Co., Ltd | シンク式洗浄機 |
| KR102320948B1 (ko) | 2021-05-10 | 2021-11-04 | 주식회사 넵스 | 하면 패널 교체가 용이한 하부장 |
Families Citing this family (21)
| Publication number | Priority date | Publication date | Assignee | Title |
|---|---|---|---|---|
| CN104235071B (zh) * | 2013-06-05 | 2016-04-06 | 宁波方太厨具有限公司 | 一种开放式水泵及其应用 |
| US9915057B2 (en) | 2015-01-27 | 2018-03-13 | Creative Blonde, Llc | Bathroom sink accessory |
| KR20180088205A (ko) * | 2017-01-26 | 2018-08-03 | 엘지전자 주식회사 | 싱크대 |
| USD896459S1 (en) * | 2018-05-21 | 2020-09-15 | Kohler Co. | Sink shelf |
| CN108968108B (zh) * | 2018-09-06 | 2023-06-30 | 中食净化科技(北京)股份有限公司 | 一种带有快速自动排水系统的净化机及其使用方式 |
| US11925514B2 (en) | 2019-04-29 | 2024-03-12 | KMW Enterprises LLC | Apparatus and methods for intraoperative surgical instrument sterilization |
| TR202000891A2 (tr) * | 2020-01-21 | 2021-07-26 | Machem Makine Ve Kimya Sanayi Ve Ticaret Anonim Sirketi | Yikama üni̇tesi̇nde kullanilmak üzere bi̇r ayirma elemani |
| US11219336B2 (en) * | 2020-02-05 | 2022-01-11 | Christine Hyde | Sink top accessory |
| US20210340744A1 (en) * | 2020-05-04 | 2021-11-04 | Bryan Alintoff | Sink spinner |
| CN112741578B (zh) * | 2020-09-30 | 2025-06-17 | 姚梅珊 | 餐具清洗机及厨房清洗系统及其水槽 |
| US12029369B2 (en) | 2021-09-30 | 2024-07-09 | Midea Group Co., Ltd. | High speed reusable beverage container washing system with pop-up sprayer |
| US12274409B2 (en) | 2021-09-30 | 2025-04-15 | Midea Group Co., Ltd. | Through opening air knife for high speed reusable beverage container washing system |
| US12022988B2 (en) | 2021-09-30 | 2024-07-02 | Midea Group Co., Ltd. | High speed reusable beverage container washing system with slip ring for supplying power to a rotatable ultraviolet light |
| US12036588B2 (en) | 2021-09-30 | 2024-07-16 | Midea Group Co., Ltd. | High speed reusable beverage container washing system with beverage container holder having retainer with lateral opening |
| US12201257B2 (en) | 2021-09-30 | 2025-01-21 | Midea Group Co., Ltd. | High speed reusable beverage container washing system with air knife chamber for supplying air to a rotatable air knife opening |
| US12011132B2 (en) | 2021-09-30 | 2024-06-18 | Midea Group Co., Ltd. | High speed reusable beverage container washing system |
| US12035865B2 (en) * | 2021-09-30 | 2024-07-16 | Midea Group Co., Ltd. | High speed reusable beverage container washing system with concentric housing members |
| US12082761B2 (en) | 2022-06-24 | 2024-09-10 | Midea Group Co., Ltd. | Heated wash fluid circulation system for high speed reusable beverage container washing system |
| US12268346B2 (en) | 2022-06-30 | 2025-04-08 | Midea Group Co., Ltd. | High speed reusable beverage container washing system with themed lighting |
| CN118180022B (zh) * | 2024-05-15 | 2024-07-16 | 成都医学院 | 一种医疗护理用器械洗涤消毒一体化设备 |
| IL314092B2 (en) * | 2024-07-03 | 2025-11-01 | Israel Ben Yehuda Ben | Kitchen in-sink dishwasher with secondary top sink |
-
2008
- 2008-01-28 US US12/523,024 patent/US20100132111A1/en not_active Abandoned
- 2008-01-28 JP JP2009548149A patent/JP2010516423A/ja active Pending
Cited By (3)
| Publication number | Priority date | Publication date | Assignee | Title |
|---|---|---|---|---|
| JP2017501829A (ja) * | 2013-12-31 | 2017-01-19 | 寧波方太厨具有限公司Ningbo Fotile Kitchen Ware Co., Ltd | シンク式洗浄機 |
| JP2016202744A (ja) * | 2015-04-27 | 2016-12-08 | 三菱電機株式会社 | 洗浄装置及びキッチンシンク |
| KR102320948B1 (ko) | 2021-05-10 | 2021-11-04 | 주식회사 넵스 | 하면 패널 교체가 용이한 하부장 |
Also Published As
| Publication number | Publication date |
|---|---|
| US20100132111A1 (en) | 2010-06-03 |
Similar Documents
| Publication | Publication Date | Title |
|---|---|---|
| JP2010516423A (ja) | 食器洗浄器一体形シンク台及びこれの為の洗浄水噴出装置 | |
| KR100871069B1 (ko) | 식기 세척기 일체형 싱크대 | |
| KR101890785B1 (ko) | 싱크대형 세척기 | |
| WO2017152867A1 (zh) | 一种水槽式洗碗机和清洗方法 | |
| US8104489B2 (en) | Dishwasher | |
| CN104224074A (zh) | 水槽式清洗机 | |
| KR20080087237A (ko) | 식기세척기 | |
| KR102359482B1 (ko) | 초음파 식기 세척기 | |
| WO2008093972A1 (en) | Kitchen sink with a dish-washing apparatus, and washing-water spray apparatus therefor | |
| KR20110112990A (ko) | 식기 세척 구조 | |
| KR20190103680A (ko) | 식기세척기 | |
| CN108338766A (zh) | 洗碗机和厨房电器 | |
| KR101135851B1 (ko) | 식기 세척기의 섬프 착탈 구조 | |
| CN108294714A (zh) | 一种厨用清洗装置 | |
| CN111456168A (zh) | 一种水槽洗菜机的下水结构 | |
| CN1239122C (zh) | 洗碗机 | |
| EP1752081A2 (en) | A dish washer | |
| KR20210065497A (ko) | 콤보형 식기세척기 | |
| KR20090023522A (ko) | 식기세척기 | |
| CN110507266A (zh) | 一种全封闭式智能炒菜机刷锅清洗系统 | |
| KR20080070339A (ko) | 공기방울에 의한 세척이 용이한 싱크대 | |
| KR20140100072A (ko) | 식기세척기 | |
| CN211985310U (zh) | 一种洗碗机功能模块总成结构 | |
| KR20090075987A (ko) | 좌우 이동방식의 식기 세척기 일체형 싱크대 및 이를 위한세척수 분출장치 | |
| JP5848004B2 (ja) | 調理鍋の洗浄装置 |