JP2010238407A - 照明装置及び照明システム - Google Patents
照明装置及び照明システム Download PDFInfo
- Publication number
- JP2010238407A JP2010238407A JP2009082798A JP2009082798A JP2010238407A JP 2010238407 A JP2010238407 A JP 2010238407A JP 2009082798 A JP2009082798 A JP 2009082798A JP 2009082798 A JP2009082798 A JP 2009082798A JP 2010238407 A JP2010238407 A JP 2010238407A
- Authority
- JP
- Japan
- Prior art keywords
- light
- light source
- illumination
- source unit
- color
- Prior art date
- Legal status (The legal status is an assumption and is not a legal conclusion. Google has not performed a legal analysis and makes no representation as to the accuracy of the status listed.)
- Pending
Links
Images
Landscapes
- Non-Portable Lighting Devices Or Systems Thereof (AREA)
- Circuit Arrangement For Electric Light Sources In General (AREA)
- Arrangement Of Elements, Cooling, Sealing, Or The Like Of Lighting Devices (AREA)
Abstract
【課題】所定領域の光環境を略一定に保持して使用者に違和感を与えることなく、所定の効果を得ることができる照明装置及び照明システムを提供する。
【解決手段】光出射方向が異なる第1,第2光源部1,2と、第1,第2光源部1,2の少なくとも一つの発光強度を制御する光源制御部とを備える照明装置において、光源制御部101は、第2光源部2の光色及び/又は光量が変更されたときに、第1光源部1からの光が照射される所定領域に第2光源部2から入射する光の光色及び/又は光量の変化に応じて、第1光源部1の発光強度を制御するように構成してある。第2光源部2から所定領域に入射する光の光色の変化を相殺するように第1光源部1の発光強度を制御することにより、所定領域の光環境を略一定に保持して使用者に殆ど違和感を与えることなく、第2光源部2の光色により、演出効果、心理効果等の所定の効果を得ることが可能となる。
【選択図】図2
【解決手段】光出射方向が異なる第1,第2光源部1,2と、第1,第2光源部1,2の少なくとも一つの発光強度を制御する光源制御部とを備える照明装置において、光源制御部101は、第2光源部2の光色及び/又は光量が変更されたときに、第1光源部1からの光が照射される所定領域に第2光源部2から入射する光の光色及び/又は光量の変化に応じて、第1光源部1の発光強度を制御するように構成してある。第2光源部2から所定領域に入射する光の光色の変化を相殺するように第1光源部1の発光強度を制御することにより、所定領域の光環境を略一定に保持して使用者に殆ど違和感を与えることなく、第2光源部2の光色により、演出効果、心理効果等の所定の効果を得ることが可能となる。
【選択図】図2
Description
本発明は、住宅、オフィス等の室内の照明に用いられ、光出射方向が異なる複数の光源部を有する照明装置及び照明システムに関する。
住宅、オフィス等の室内の照明に用いられる照明装置として、従来、白熱電球、蛍光灯等の光源を備える照明装置が用いられている。近年、発光ダイオード(以下LEDという)の高輝度化に伴い、これらの光源に代えて、低消費電力、長寿命等の特性を有するLEDが照明装置の光源として用いられている。
そして、これらの照明装置に求められる機能は、明るく周囲を照らす視認性のみではなく、演出効果、心理効果等の所定の効果を得るべく、多様化してきている。例えば、特定の波長(464nm近傍)領域のスペクトルを増減させて人の睡眠と覚醒のリズムを調整すること、色度を高低に変化させることにより人の心理に影響を与えること等の機能が要望されている。このため、光色を調整できるように構成された照明装置が種々提案されている(例えば、特許文献1参照)。
特許文献1に開示された照明装置は、光色・配光可変用光源と、照明用光源と、光色・配光可変用光源及び照明用光源を制御する制御装置とを備え、照明光の光度、配光、色温度を種々変化させるように構成してある。これにより、夕日、木漏れ日、月明かりなどのやすらぎを感じる自然の照明環境を演出することができる。
しかしながら、特許文献1に係る照明装置においては、照明装置が設置された室内において、自然の照明環境を演出すべく光色・配光可変用光源を制御したときに、照明用光源からの光が照射される使用者の手元等の所定領域の光環境、例えば、所定領域を照らす照明光の色度、照度等も変化してしまう。このため、例えば、読書、食事等の作業又は生活活動をする際に、使用者に違和感を与える虞がある。
本発明は斯かる事情に鑑みてなされたものであり、所定領域の光環境を略一定に保持して使用者に違和感を与えることなく、演出効果、心理効果等の所定の効果を得ることができる照明装置及び照明システムを提供することを目的とする。
本発明に係る照明装置は、光出射方向が異なる複数の光源部と、該複数の光源部の少なくとも一つの発光強度を制御する制御部とを備える照明装置において、前記制御部は、前記複数の光源部の少なくとも一つの光色及び/又は光量が変更されたときに、他の光源部からの光が照射される所定領域に前記光源部から入射する光の光色及び/又は光量の変化に応じて、前記他の光源部の発光強度を制御するように構成してあることを特徴とする。
本発明にあっては、光出射方向が異なる複数の光源部の少なくとも一つの光色及び/又は光量が変更されたときに、他の光源部からの光が照射される所定領域に前記光源部から入射する光の光色及び/光量の変化に応じて、前記他の光源部の発光強度を制御するように構成してある。例えば、自然の照明環境を演出すべく、一つの光源部の光色を変化させたときに、この変化に伴って前記一つの光源部から所定領域に入射する光の光色の変化を相殺するように前記他の光源部の発光強度を制御する。これにより、所定領域の光環境を略一定に保持して使用者に殆ど違和感を与えることなく、演出効果、心理効果等の所定の効果を得ることが可能となる。
本発明に係る照明装置は、前記複数の光源部は、照明装置が設置される室内の所定面を照明する間接照明用の光源部と、室内を照明する室内照明用の光源部とを含んでなり、前記制御部は、前記間接照明用の光源部の光色及び/又は光量が変更されたときに、前記室内照明用の光源部からの光が照射される所定領域に前記間接照明用の光源部から入射する光の光色及び/又は光量の変化に応じて、前記室内照明用の光源部の発光強度を制御するように構成してあることを特徴とする。
本発明にあっては、間接照明用の光源部の光色及び/又は光量が変更されたときに、室内照明用の光源部からの光が照射される所定領域に間接照明用の光源部から入射する光の光色及び/又は光量の変化に応じて、室内照明用の光源部の発光強度を制御するように構成してある。例えば、照明装置を室内の天井面に設置したときに、自然の照明環境を演出すべく、間接照明用の光源部の発光強度を制御して天井面を照明する照明光の光色を変化させたときに、該間接照明用の光源部から出射され、天井面にて反射されて室内の所定領域に入射する光の光色の変化を相殺するように室内照明用の光源部の発光強度を制御する。これにより、所定領域の光環境を略一定に保持して使用者に殆ど違和感を与えることなく、演出効果、心理効果等の所定の効果を得ることができる。
本発明に係る照明装置は、前記複数の光源部は、分光分布が略同一である光源を夫々備えてなることを特徴とする。
本発明にあっては、分光分布が略同一である光源を複数の光源部が夫々備えている。複数の光源部の一つの光源部の光色が変更されたとき、換言すると該光源部の所定の光源の発光強度が変更されたときに、他の光源部の対応する略一定の分光分布の光源の発光強度を適切に変更する。これにより、所定領域を照らす照明光を色度及び照度のみではなく、色の見え方に及ぼす光源の性質である演色性までも略一定に保持することが可能となる。即ち、所定領域の照明光を分光分布レベルにて略一定に保持することが可能となる。
本発明に係る照明装置は、前記光源は、単一のピークを有する分光分布の光を発することを特徴とする。
本発明にあっては、単一のピークを有する分光分布の光を発する光源を用いている。例えば、発光色が異なる複数種類の光源により光源部を構成し、複数種類の光源の発光強度を変更して光色を変化させたときに、単一のピークを有する光源を用いているから、複数種類の光源からの光を重ね合せた後の分光分布を簡単に算出することができる。この分光分布に応じた前記他の光源部の光源の発光強度を適切に制御することにより、所定領域を照らす照明光を色度及び照度のみではなく、演色性までも略一定に保持することができる。即ち、所定領域の照明光を分光分布レベルにて略一定に保持することができる。
本発明に係る照明装置は、前記複数の光源部の少なくとも一つからの光を検出する光センサを備え、前記制御部は、前記光センサによる検出値に応じて、前記他の光源部の発光強度を制御するように構成してあることを特徴とする。
本発明にあっては、光センサにより複数の光源部の少なくとも一つからの光を検出して、検出された値に基づいて他の光源部の発光強度を制御するように構成してある。光センサにより光の変化を実際に検出しているから、光センサを適切に設けることにより、より正確に他の光源部の発光強度を制御することができ、所定領域の光環境をより確実に略一定に保持することができる。
本発明に係る照明装置は、前記光センサは、前記光源部を構成する各光源に対応した感度波長領域を夫々有するように構成してあることを特徴とする。
本発明にあっては、光源部を構成する各光源に対応した感度波長領域を夫々有するように光センサを構成してあるから、感度波長領域が検出対象の光源の分光分布に整合するように適切に光センサを構成することにより、ある光源部の光色が変更されたときに、変更された光源及び該光源の発光強度を正確に検出することができる。この検出結果に基づいて、より正確に他の光源部の発光強度を制御することができ、所定領域を照らす照明光を色度及び照度のみではなく、演色性までも略一定に保持することができる。即ち、所定領域の照明光を分光分布レベルにて略一定に保持することができる。
本発明に係る照明装置は、前記光センサは、対応する光源のピーク波長が感度波長領域に含まれるように構成してあることを特徴とする。
本発明にあっては、前記光センサは、対応する光源のピーク波長が感度波長領域に含まれるように構成してあるから、ある光源部の光色が変更されたときに、変更された光源及び該光源の発光強度をより正確に検出することができる。この検出結果に基づいて、より正確に他の光源部の発光強度を制御することができ、所定領域の光環境をより確実に略一定に保持することができる。
本発明に係る照明装置は、前記光センサは、前記複数の光源部と離隔して前記所定領域に設けてあることを特徴とする。
本発明にあっては、複数の光源部と離隔した、光環境を一定に保持したい所定領域に光センサを設けて、該光センサにより複数の光源部からの光を検出しているから、この検出結果に基づいて、他の光源部の発光強度を適切に制御することができ、所定領域の光環境を更に確実に略一定に保持することができる。
本発明に係る照明装置は、前記制御部は、前記複数の光源部の少なくとも一つの光色及び/又は光量が変更されたときに、照明装置が設置される室内の所定面の予め設定された分光反射率に基づいて、前記他の光源部の発光強度を制御するように構成してあることを特徴とする。
本発明にあっては、照明装置が設置される室内の所定面の予め設定された分光反射率に基づいて、前記他の光源部の発光強度を制御するようにしてあるから、光センサを設ける必要がなく、簡素な構成にて、所定領域の光環境を略一定に保持する制御を行うことができる。
本発明に係る照明装置は、前記光源部はLEDを含んでなることを特徴とする。
本発明にあっては、光源部はLEDを含んでなる。LEDは、一般に、半値幅の狭い単一ピークを有する分光分布の光を発するから、光センサを適切に設定することにより、照明光の分光分布を検出して、検出された分光分布に基づいて光源部の発光強度を制御する場合と同レベルの制御を行うことが可能となる。この結果、所定領域の光環境をより確実に略一定に保持することができ、使用者に違和感を与えずに済む。
本発明に係る照明システムは、複数の照明装置と、該複数の照明装置に離隔して設けられ、前記複数の照明装置からの光を検出する光検出装置とを備える照明システムにおいて、前記複数の照明装置は前述の発明に記載の照明装置であり、前記光検出装置は前記光センサを備えてなり、前記光検出装置による検出値に基づいて、該光検出装置が設けられた所定領域の光環境を略一定に保持するように前記複数の照明装置の発光強度を制御するように構成してあることを特徴とする。
本発明にあっては、前記光センサを有する光検出装置を用いて複数の照明装置からの光を検出して、検出結果に基づいて光検出装置が設けられた所定領域の光環境を略一定に保持するように前記複数の照明装置の発光強度を制御するように構成してある。例えば、自然の照明環境を演出すべく、各照明装置を構成する一つの光源部の光色が変更されたときに、この変更に伴って前記一つの光源部から所定領域に入射する光の光色の変化を相殺するように各照明装置の他の光源部の発光強度を制御する。これにより、所定領域の光環境を略一定に保持して使用者に殆ど違和感を与えることなく、演出効果、心理効果等の所定の効果を得ることが可能となる。
本発明によれば、所定領域の光環境を略一定に保持して使用者に違和感を与えることなく、演出効果、心理効果等の所定の効果を得ることができる。
以下、本発明をその実施の形態を示す図面に基づいて詳述する。以下、天井に設置される照明装置を例に説明する。
(実施の形態1)
図1は、本発明の実施の形態1に係る照明装置の構成を示す模式的断面図である。図2は、実施の形態1に係る照明装置の概略構成を示すブロック図である。
(実施の形態1)
図1は、本発明の実施の形態1に係る照明装置の構成を示す模式的断面図である。図2は、実施の形態1に係る照明装置の概略構成を示すブロック図である。
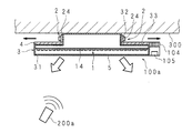
図中1は、発光色が異なる複数の光源を有する第1光源部である。第1光源部1は、図1に示すように、一面開口の筐体形状を有するフレーム3の内部に設けてある。フレーム3は、縦断面形状が開口31の側が広いT字形を有している。第1光源部1は、発光色が赤色である赤色LED11と、発光色が緑色である緑色LED12と、発光色が青色である青色LED13と、これらLED11,12,13が実装されたLED基板14とを備えている。これら赤色LED11、緑色LED12及び青色LED13は、LED素子と、該LED素子を封止する封止樹脂と、入力端子及び出力端子とを備えてなる表面実装型LEDである。この第1光源部1は、フレーム3の開口31の側の内部にLED11,12,13の側が開口31の側になるように取付けてある。
図3は、赤色LED11、緑色LED12及び青色LED13の分光分布の一例を示す図である。図3の横軸は波長(nm)を、縦軸は相対強度を夫々示している。図に示すように、赤色LED11、緑色LED12及び青色LED13は、単一のピークを有する分光分布の光を発する。なお、図3においては、供給する駆動電流をパラメータとした各LED11,12,13の分光分布を夫々示している。
フレーム3の開口31の逆側の外周面32には、第1光源部1と異なる方向に光出射方向がなるように複数の第2光源部2が取付けてある。第2光源部2は、発光色が赤色である赤色LED21と、発光色が緑色である緑色LED22と、発光色が青色である青色LED23と、これらLED21,22,23が実装されたLED基板24とを備えている。この第2光源部2は、第2光源部2の各LED21,22,23の光中心を通る線と第1光源部1の各LED11,12,13の光中心を通る線とがなす角度が略直角となるようにフレーム3の外周面32に取付けてある。
第2光源部2の赤色LED21、緑色LED22及び青色LED23は、第1光源部1の赤色LED11、緑色LED12及び青色LED13夫々と略同一の分光分布を有している。なお、第1光源部1及び第2光源部2に用いるLEDは同じ種類のLEDである、即ち図3に示す同一の分光分布を有するLEDであることが望ましい。また、図2においては、説明の便宜上省略して、赤色LED11,21、緑色LED12,22及び青色LED13,23を夫々一つずつ記載しているが、所望する光色及び光量が可能なように適切な数が夫々設けてある。
第2光源部2が設けられたフレーム3の外周面32に連設され、該外周面32と略直交する連設部の外面33には、第2光源部2の光出射方向に沿って反射板4が設けてある。反射板4は、高い反射率を有する材料製であり、例えば、広範囲の波長領域の光に対して高光反射率であるPET(ポリエチレンテレフタレート)を基材とする材料製、拡散剤が適宜添加されたポリカーボネート樹脂製等である。
フレーム3の開口31には、第1光源部1を覆うように拡散板5が設けてある。拡散板5は、拡散剤が添加された乳白色の樹脂であり、例えば、ポリカーボネート樹脂製である。
以上のように構成された照明装置100の内部の適宜部位には、コンデンサ、トランス等の電子部品を有し、外部電源から供給される交流電圧を直流電圧に変換及び整流する電源回路(図示せず)、第1光源部1及び第2光源部2の発光強度を制御する制御回路(図示せず)等が収容してある。この照明装置100は、拡散板5の側を下側にして、天井300に固定される。このように取付けられることにより、第1光源部1は照明装置100が設置された室内を照明する室内照明用の光源部として、第2光源部2は室内の所定面である天井300面を照明する間接照明用の光源部として機能する。
第1光源部1には、図2に示すように、前記制御回路の一部を構成し、第1光源部1の発光強度を制御する第1光源制御部101が接続してある。同様に、第2光源部2には、前記制御回路の一部を構成し、第2光源部1の発光強度を制御する第2光源制御部102が接続してある。
これら第1光源制御部101及び第2光源制御部102には、照明装置100の適宜位置に設けられた入力信号受信部103が接続してある。入力信号受信部103には、入力装置200からの信号が与えられ、入力信号受信部103は与えられた信号を第1光源制御部101及び第2光源制御部102夫々に与える。
入力装置200は、例えば、照明装置100を点灯/消灯する操作を受け付ける電源スイッチ(図示せず)と、入力装置200の適宜部位に設けられ、照明光の赤色、緑色及び青色夫々の光強度を検出する光センサであるカラーセンサ201と、該カラーセンサ201をオン/オフする操作を受け付けるセンサ動作スイッチ(図示せず)と、カラーセンサ201により検出された各色の光強度に応じて補正データを演算する補正データ演算部202と、昼白色、電球色等の発光色の設定操作を受け付ける発光色設定スイッチ(図示せず)と、明るさの設定操作を受け付ける照度設定スイッチ(図示せず)と、これらのスイッチの操作に応じた信号及び補正データ演算部202による補正データの送信を行う入力信号送信部203とを備えてなるリモートコントローラである。
カラーセンサ201は、各色のLEDに対応した感度波長領域を有する光センサ素子を備えている。具体的には、LEDに供給される駆動電流の使用範囲に亘って、検出対象のLEDのピーク波長を含み、感度ピークが検出対象のLEDのピーク波長と略同一になり、検出対象のLEDの発光強度の高い波長領域、かつ検出対象以外のLEDからの光がなるべく含まれない波長領域に感度波長領域がなるように光センサ素子を選定してある。このように選定された各色のLEDに対する光センサ素子の感度波長領域を図3に示している。λsbは、青色LED13,23に対して用いられる光センサ素子の感度波長領域を、λsgは、緑色LED12,22に対して用いられる光センサ素子の感度波長領域を、λsrは、赤色LED11,21に対して用いられる光センサ素子の感度波長領域を夫々示している。そして、各光センサ素子の感度ピーク波長は、例えば、約455nm、約515nm、約640nmである。なお、カラーセンサ201は、例えば、赤色、緑色及び青色夫々に対して前述したような感度を有する3種類のフォトダイオードを備えてなる。
第1光源制御部101及び第2光源制御部102は、入力装置200からの信号に応じた光色及び光量にて第1光源部1及び第2光源部2夫々を点灯すべく、信号に応じた発光データを記憶部(図示せず)から取得して、取得した発光データに基づいて光源制御データを生成する。発光データは、各色のLEDの発光強度を示すデータであり、例えば、パルス信号を生成するためのデューティ比等のデータである。第1光源制御部101及び第2光源制御部102夫々は、生成した光源制御データに応じて第1光源部1及び第2光源部2夫々の発光強度を制御する。第1光源部1の各LED11,12,13及び第2光源部2の各LED21,22,23は、光源制御データに応じた発光強度にて発光し、第1光源部1及び第2光源部2夫々は所定の光色及び光量にて点灯することになる。
図4は、実施の形態1に係る照明装置100の照明状態を示す説明図である。第1光源部1からの光は、図1に白抜き矢符にて示すように、所定の広がりを有して鉛直方向に出射され、図4に示すように室内の生活空間である所定領域301を照明する。一方、第2光源部2からの光は、図1に矢符にて示すように水平方向に出射され、図4に示すように室内の所定面である天井300面近傍の所定領域302を照明する。入力装置200は、例えば、所定領域301内に座っている人の近傍にある。
図5は、実施の形態1に係る照明装置100の調光制御の処理手順を示すフローチャートである。第1光源制御部101及び第2光源制御部102夫々は、入力信号受信部103及び入力信号送信部203を介して与えられる入力装置200からの信号に基づいて、照明オン信号の受信の有無を判定する(ステップS1)。
ステップS1において、照明オン信号の受信がある場合(ステップS1:YES)、入力装置200からの信号に応じた発光データを記憶部から取得する(ステップS2)。一方、照明オン信号の受信がない場合(ステップS1:NO)、ステップS1に戻り、消灯状態を維持する。なお、発光データは、前述したように、赤色(R)、緑色(G)及び青色(B)夫々の発光強度を示すデータであり、各光源部1,2の各LED11,12,13,21,22,23に対して定めてあり、第1光源部1及び第2光源部2の発光データを夫々、(R1,G1,B1)及び(R2,G2,B2)とする。
ステップS2において取得された発光データに基づいて光源制御データを夫々生成して(ステップS3)、生成された光源制御データに応じて第1光源部1及び第2光源部2夫々の各色のLEDの発光強度を制御して、所定の光色及び光量にて第1光源部1及び第2光源部2を点灯する(ステップS4)。
次に、カラーセンサ201のオン信号の受信の有無を判定する(ステップS5)。ステップS5において、カラーセンサ201のオン信号の受信がある場合(ステップS5:YES)、ステップS6に進む。一方、ステップS5において、カラーセンサ201のオン信号の受信がない場合(ステップS5:NO)、以下に述べる第1光源部1の光源制御データの補正を行わずに、即ちステップS4の点灯状態のままステップS10に進む。
ステップS6において、カラーセンサ201により、照明光の赤色、緑色及び青色夫々の光強度を検出する。照明光の各色の光強度を示す照明光データを(Rh,Gh,Bh)とする。ステップS6において検出された照明光データを用いて、補正データ演算部202により、所定領域301における光環境を略一定に保持すべく、第1光源部1の補正後の発光データである補正データ(R1’,G1’,B1’)を演算する(ステップS7)。
補正データ(R1’,G1’,B1’)は、R1’=2×R1+R2−Rh、G1’=2×G1+G2−Gh、B1’=2×B1+B2−Bhにより夫々求められる。これらの演算式は、第2光源部2からの光が所定面である天井300面において反射して所定領域301に入射する反射光の変動を相殺して、照明光の各色の光強度が所定値(R1+R2,G1+G2,B1+B2)となるように定めてある。この所定値は、例えば、所定領域301の照明光の電球色〜昼光色の発光色と明るさとの組み合わせに応じて予め設定してある基準発光データである。これにより所定領域301の照明光を入力装置200において選択された発光色及び明るさになるように維持しつつ、天井300面近傍の所定領域302の照明光のみを自由に変更することが可能となる。
このようにステップS7において演算された補正データは、入力信号送信部203及び入力信号受信部103を介して第1光源制御部101に与えられる。第1光源制御部101は、補正データに基づいて光源制御データを補正して(ステップS8)、補正された光源制御データに応じて、第1光源部1を点灯する(ステップS9)。このように、第1光源部1に対する光源制御データを補正することにより、入力装置200がある所定領域301の光環境、換言すると所定領域301を照明する照明光の色度、照度及び演色性が略一定に保持されることになる。
次に、第1光源制御部101及び第2光源制御部102夫々は、入力信号受信部103を介して与えられる入力装置200からの信号に基づいて、照明オフ信号の受信の有無を判定する(ステップS10)。
ステップS10において、照明オフ信号の受信がある場合(ステップS10:YES)、第1光源部1及び第2光源部2を消灯して(ステップS11)、照明装置100の調光制御の処理動作を終了する。一方、照明オフ信号の受信がない場合(ステップS10:NO)、ステップS10に戻り、点灯状態を維持する。
以上のように構成された実施の形態1に係る照明装置100においては、間接照明用の光源部(複数の光源部の少なくとも一つ)である第2光源部2の光色及び/又は光量を変更したときに、室内照明用の光源部(他の光源部)である第1光源部1からの光が照射される所定領域301に第2光源部2から入射する光の光色及び/又は光量は変化する。この第2光源部2からの入射光の変化に応じて変化する所定領域301の照明光の各色の光強度を該所定領域301にあるカラーセンサ201により検出する。検出された照明光の各色の光強度に応じて、前述した如く、第1光源部1を構成する赤色LED11、緑色LED12及び青色LED13夫々の発光強度を制御するように構成してある。
例えば、自然の照明環境を演出すべく、第2光源部2を構成する赤色LED21、緑色LED22及び青色LED23夫々の発光強度を制御して、天井300面を照明する第2光源部2の照明光の光色を青空の色になるように変更したときに、第2光源部2から出射され、天井300面にて反射されて室内の所定領域301に入射する光の光色の変化を相殺するように第1光源部1の赤色LED11、緑色LED12及び青色LED13夫々の発光強度が制御されることになる。この結果、所定領域301の光環境を略一定に保持して使用者に殆ど違和感を与えることなく、天井300面に自然の照明環境を構築して、使用者にやすらぎを与えることができる。そして、この自然の照明環境を時間に応じて変化させることにより、室内において睡眠と覚醒のリズムを調整することができる。この睡眠と覚醒のリズムの調整により、季節性うつ病治療、時差ボケの軽減等も含めて使用者の健康維持及び増進に有用である。また、天井300面の所定領域302の色度を高低に変化させることにより人の心理に影響を与えることができる。以上のように、所定領域301の光環境を略一定に保持して使用者に殆ど違和感を与えることなく、演出効果、心理効果等の所定の効果を得ることができる。
また、光環境を一定に保持したい所定領域301にカラーセンサ201を設けているから、所定領域301の光環境を更に確実に略一定に保持することができる。そして、採光の良い室内においては、室外からの太陽光の入射に応じて第1光源部1の発光強度を低減することができ、省エネルギにも資することが可能となる。
また、単一のピークを有し、分光分布が同一である赤色LED、緑色LED及び青色LEDを第1光源部1及び第2光源部2が夫々備えているから、例えば、複数の光源部の一つの光源部である第2光源部2の光色を変更したとき、換言すると該第2光源部2の所定の光源(例えば赤色LED21)の発光強度を変更したときに、他の光源部である第1光源部1の対応する一定の分光分布の光源(赤色LED11)の発光強度を前述した如く、適切に変更することにより、所定領域301を照らす照明光を色度及び照度のみではなく、演色性までも略一定に保持することが可能となる。
そして、光センサであるカラーセンサ201を、図3に示すように、各色のLEDに対応した感度波長領域を有し、前述の如く選定された光センサ素子から構成しているから、RGBのLED夫々の発光強度に対応した光、単色光の光強度を検知することが可能となる。これにより、各波長領域の光強度は、光源であるLEDの発光強度の制御により、殆ど独立に制御することができ、この結果、カラーセンサ201を設けるという簡単な構成により、照明光の分光分布を検出して、検出された分光分布に基づいて第1光源部1及び第2光源部2の発光強度を制御する場合と同レベルの制御を行うことが可能となる。
そして、半値幅の狭い単一ピークを有する分光分布の光を発するLEDを光源として用いているから、分光分布を略一定に保持するという制御をより正確に行うことができる。この結果、所定領域301を照らす照明光を色度及び照度のみではなく、演色性、特に、演色性の代表的な評価方法であるCIE(国際照明委員会)の演色評価方法(CIE,1974:JIS Z 8726)の個々の試験色(15色)に対する特殊演色評価数(Ri)までも略一定に保持することができる。すなわち、第2光源部2の照明光を自由に異なる色に変化させたときに、所定領域301を照らす照明光を分光分布のレベルにおいて略一定に保持することが可能であるから、様々な色味の物体を見たときに、その物体の色味の如何に関わらず、見え方が変化しない。この結果、所定領域301内において、読書、食事等の作業又は生活活動をする際に、使用者に違和感、ストレス等を与えずに済む。
なお、本実施の形態においては、照明装置一つのみを用いた場合について説明したが、複数の照明装置を同一室内に設置して照明システムとして構成することも可能である。図6は、複数の照明装置100,100を備える照明システムの概略構成を示すブロック図である。図6に示すように、光検出装置である入力装置200の入力信号送信部203は、カラーセンサ201により検出された照明光の光強度に基づいて演算された補正データを複数の照明装置100,100夫々の第1光源制御部101,101に入力信号受信部103,103を介して与える。照明システムは、このように与えられた補正データに応じて、所定領域内の光環境、換言すると所定領域を照明する照明光の色度、照度及び演色性を略一定に保持するように複数の照明装置100,100の発光強度を制御するように構成してある。なお、カラーセンサを有する光検出装置である入力装置200は、複数の照明装置100,100に離隔して、これら複数の照明装置100,100からの光が照射される所定領域内、例えば、複数の照明装置100,100の中間地点に配置してある。その他の構成は図2に示す照明装置一つのみの場合と同様であるため、対応する構成部材に図2と同一の参照符号を付して、その構成及び機能の詳細な説明を省略する。以上のように構成された照明システムにおいても、所定領域の光環境を略一定に保持して使用者に殆ど違和感を与えることなく、演出効果、心理効果等の所定の効果を得ることが可能となる。なお、図6においては、複数の照明装置として2つの照明装置を用いた例について示しているが、3つ以上であっても同様である。
また、本実施の形態においては、カラーセンサを入力装置200に組み込んでいるが、これに限定されず、照明装置100と離隔して、所定領域301内に配置可能なように構成してあればよい。
(実施の形態2)
図7は、本発明の実施の形態2に係る照明装置の構成を示す模式的断面図である。図8は、実施の形態2に係る照明装置の概略構成を示すブロック図である。本実施の形態においては、実施の形態1に係る照明装置100とは異なり、カラーセンサ及び補正データ演算部が入力装置ではなく、照明装置に設けてある。
図7は、本発明の実施の形態2に係る照明装置の構成を示す模式的断面図である。図8は、実施の形態2に係る照明装置の概略構成を示すブロック図である。本実施の形態においては、実施の形態1に係る照明装置100とは異なり、カラーセンサ及び補正データ演算部が入力装置ではなく、照明装置に設けてある。
照明装置100aには、図7に示すように、受光制限部104及びカラーセンサ105が設けてある。カラーセンサ105は実施の形態1のカラーセンサ201と同じであるので説明を省略する。受光制限部104は、例えば、ルーバー構造、所定の厚みを有するスリット又はピンホールなどの構造を有し、カラーセンサ105に入射する光の方向を制限して、第2光源部2からの光が直接カラーセンサ105に入射しないようにしてある。
照明装置100aの第1光源制御部101には、照明装置100aの内部の適宜部位に設けられた補正データ演算部106が接続してある。該補正データ演算部106には、カラーセンサ105が接続してある。カラーセンサ105は、第2光源部2から出射し、受光制限部104により入射方向が制限された光、即ち、天井300面において反射した光の赤色、緑色及び青色夫々の光強度を検出し、検出した値を補正データ演算部106に与える。その他の構成は、図1及び図2に示す実施の形態1と同様であるため、対応する構成部材に図1及び図2と同一の参照符号を付して、その構成及び機能の詳細な説明を省略する。
図9は、実施の形態2に係る照明装置100aの調光制御の処理手順を示すフローチャートである。第1光源制御部101及び第2光源制御部102夫々は、入力信号受信部103及び入力信号送信部203を介して与えられる入力装置200aからの信号に基づいて、照明オン信号の受信の有無を判定する(ステップS21)。
ステップS21において、照明オン信号の受信がある場合(ステップS21:YES)、入力装置200aからの信号に応じた発光データを記憶部から取得する(ステップS22)。一方、照明オン信号の受信がない場合(ステップS21:NO)、ステップS21に戻り、消灯状態を維持する。なお、発光データは、前述したように、赤色(R)、緑色(G)及び青色(B)夫々の発光強度を示すデータであり、第1光源部1及び第2光源部2の発光データを夫々、(R1,G1,B1)及び(R2,G2,B2)とする。
ステップS21において取得された発光データに基づいて光源制御データを夫々生成して(ステップS23)、生成された光源制御データに応じて第2光源部2の各色のLEDの発光強度を制御して、所定の光色及び光量にて第2光源部2を点灯する(ステップS24)。
次に、カラーセンサ105のオン信号の受信の有無を判定する(ステップS25)。ステップS25において、カラーセンサ105のオン信号の受信がある場合(ステップS25:YES)、ステップS26に進む。一方、ステップS25において、カラーセンサ105のオン信号の受信がない場合(ステップS25:NO)、以下に述べる第1光源部1の光源制御データの補正を行わずに、ステップS29に進む。
ステップS26において、カラーセンサ105により、第2光源部2からの光が所定面である天井300面において反射された反射光の赤色、緑色及び青色夫々の光強度を検出する。反射光の各色の光強度を示す反射光データを(Rr,Gr,Br)とする。ステップS26において検出された反射光データを用いて、補正データ演算部106により、所定領域301における光環境を略一定に保持すべく、第1光源部1の補正後の発光データである補正データ(R1’,G1’,B1’)を演算する(ステップS27)。
補正データ(R1’,G1’,B1’)は、R1’=R1+R2−Rr、G1’=G1+G2−Gr、B1’=B1+B2−Brにより夫々求められる。これらの演算式は、第2光源部2からの光が所定面である天井300面において反射して所定領域301に入射する反射光の変動を相殺して、照明光の各色の光強度が所定値(R1+R2,G1+G2,B1+B2)となるように定めてある。この所定値は、例えば、所定領域301の照明光の電球色〜昼光色の発光色と明るさとの組み合わせに応じて予め設定してある基準発光データである。所定領域301の照明光を入力装置200aにおいて選択された発光色及び明るさになるように維持しつつ、天井300面近傍の所定領域302の照明光のみを自由に変更することが可能となる。
このようにステップS27において演算された補正データは、第1光源制御部101に与えられる。第1光源制御部101は、補正データに基づいて光源制御データを補正する(ステップS28)。
ステップS23において生成された光源制御データ又はステップS28において補正された光源制御データに応じて、第1光源部1を点灯する(ステップS29)。このように、第1光源部1に対する光源制御データを補正することにより、入力装置200aがある所定領域301の光環境、換言すると所定領域301を照明する照明光の色度、照度及び演色性が略一定に保持されることになる。
次に、第1光源制御部101及び第2光源制御部102夫々は、入力信号受信部103を介して与えられる入力装置200aからの信号に基づいて、照明オフ信号の受信の有無を判定する(ステップS30)。
ステップS30において、照明オフ信号の受信がある場合(ステップS30:YES)、第1光源部1及び第2光源部2を消灯して(ステップS31)、照明装置100aの調光制御の処理動作を終了する。一方、照明オフ信号の受信がない場合(ステップS30:NO)、ステップS30に戻り、点灯状態を維持する。
以上のように構成された実施の形態2に係る照明装置100aにおいては、カラーセンサ105及び補正データ演算部106が入力装置200aではなく、照明装置100aに設けてある。実施の形態2に係る照明装置100aにおいても、実施の形態1に係る照明装置100と同様に、所定領域301を照らす照明光を色度及び照度のみではなく、演色性、特に特殊演色評価数までも略一定に保持することができる。この結果、所定領域の光環境を略一定に保持して、使用者に殆ど違和感を与えることなく、演出効果、心理効果等の所定の効果を得ることができる。
実施の形態2に係る照明装置100aにおいては、これらの効果に加えて、スーパー、デパート等の広い室内において多数の照明装置を用いるときに、個々の照明装置内において、第2光源部から所定領域内へ入射する光の変動を相殺するように第1光源部の発光強度を制御するように構成してあるから、制御が容易となる。これにより、商品を照らす照明光は色度及び照度のみではなく、演色性、特に特殊演色評価数までも略一定に保持する一方、天井面又は壁面を照らす照明光のみを容易に変更することができ、利便性が増す。第2光源部からの照明光により、例えば、タイムセールを行っている場所、レジの位置等を分かりやすく明示することができる。また、売り場の印象を任意に変更することが可能となる。
(実施の形態3)
図10は、本発明の実施の形態3に係る照明装置の概略構成を示すブロック図である。実施の形態3に係る照明装置は、実施の形態1及び2に係る照明装置とは異なり、カラーセンサを用いずに補正データを演算するように構成してある。なお、実施の形態3に係る照明装置の構成を示す模式的断面図は、図1に示す実施の形態1と同様であるため、省略している。
図10は、本発明の実施の形態3に係る照明装置の概略構成を示すブロック図である。実施の形態3に係る照明装置は、実施の形態1及び2に係る照明装置とは異なり、カラーセンサを用いずに補正データを演算するように構成してある。なお、実施の形態3に係る照明装置の構成を示す模式的断面図は、図1に示す実施の形態1と同様であるため、省略している。
照明装置100bの第1光源制御部101には、照明装置100bの内部の適宜部位に設けられた補正データ演算部106が接続してある。該補正データ演算部106には、入力信号受信部103が接続してある。補正データ演算部106には、入力信号送信部203及び入力信号受信部103を介して入力装置200bからの信号が与えられる。その他の構成は、図8に示す実施の形態2と同様であるため、対応する構成部材に図8と同一の参照符号を付して、その構成及び機能の詳細な説明を省略する。
図11は、実施の形態3に係る照明装置100bの調光制御の処理手順を示すフローチャートである。第1光源制御部101及び第2光源制御部102夫々は、入力信号受信部103及び入力信号送信部203を介して与えられる入力装置200bからの信号に基づいて、照明オン信号の受信の有無を判定する(ステップS41)。
ステップS41において、照明オン信号の受信がある場合(ステップS41:YES)、入力装置200bからの信号に応じた発光データを記憶部から取得する(ステップS42)。一方、照明オン信号の受信がない場合(ステップS41:NO)、ステップS41に戻り、消灯状態を維持する。なお、発光データは、前述したように、赤色(R)、緑色(G)及び青色(B)夫々の発光強度を示すデータである。
ステップS41において取得された発光データに基づいて光源制御データを夫々生成する(ステップS43)。
次に、プリセット指定信号の受信の有無を判定する(ステップS44)。なお、プリセット指定信号は、照明装置100bが設置される室内の所定面の分光反射率として入力装置200bに予め設定されたデータの中から選択された分光反射率のデータを示す信号である。この所定面の分光反射率として、天井又は壁に一般的に使用される建材の分光反射率を入力装置200bに予め記憶させておく。
図12は、分光反射曲線の一例を示す図である。図12の横軸は波長(nm)を、縦軸は分光反射率を夫々示している。一点鎖線は石膏の分光反射曲線を、実線は大理石の分光反射曲線を夫々示している。なお、図12は、あくまでも説明の便宜上の例示であり、実際に用いるデータとは必ずしも一致しない。図12に示すように、分光反射率は、波長に応じて変化すると共に、建材の種類によって異なっている。このような建材毎の分光反射率のデータを用いて、まず、例えば、入力装置200bの表示部に建材名を表示させ、使用者に建材を選択させるように構成する。次に、第2光源部2の分光分布に、選択された建材の分光反射率を乗じることにより反射光データを求めるように構成する。
ステップS44において、プリセット指定信号の受信がある場合(ステップS44:YES)、ステップS45に進む。一方、プリセット指定信号の受信がない場合(ステップS44:NO)、以下に述べる第1光源部1の光源制御データの補正を行わずにステップS47に進む。
ステップS45において、図12のような分光反射曲線によって求めた反射光データを用いて、補正データ演算部106において、実施の形態2において述べた同じ演算式により、第1光源部1の補正後の発光データである補正データを演算する。
このようにステップS45において演算された補正データは、第1光源制御部101に与えられる。第1光源制御部101は、補正データに基づいて光源制御データを補正する(ステップS46)。
ステップS43において生成された光源制御データ又はステップS46において補正された光源制御データに応じて、第1光源部1を点灯すると共に、ステップS43において生成された光源制御データに応じて第2光源部2を点灯する(ステップS47)。このように、第1光源部1に対する光源制御データを補正することにより、入力装置200bがある所定領域301の光環境、換言すると所定領域301を照明する照明光の色度、照度及び演色性が略一定に保持されることになる。
次に、第1光源制御部101及び第2光源制御部102夫々は、入力信号受信部103を介して与えられる入力装置200bからの信号に基づいて、照明オフ信号の受信の有無を判定する(ステップS48)。
ステップS48において、照明オフ信号の受信がある場合(ステップS48:YES)、第1光源部1及び第2光源部2を消灯して(ステップS49)、照明装置100bの調光制御の処理動作を終了する。一方、照明オフ信号の受信がない場合(ステップS48:NO)、ステップS48に戻り、点灯状態を維持する。
以上のように構成された実施の形態3に係る照明装置100bにおいては、カラーセンサを用いることなく、予め設定された分光反射率を用いて補正データを演算するように構成してある。実施の形態3に係る照明装置100bにおいても、実施の形態1及び2に係る照明装置と同様に、所定領域301を照らす照明光を色度及び照度のみではなく、演色性、特に特殊演色評価数までも略一定に保持することができる。この結果、所定領域の光環境を略一定に保持して、使用者に殆ど違和感を与えることなく、演出効果、心理効果等の所定の効果を得ることができる。
実施の形態3に係る照明装置100bにおいては、照明装置100bが設置される室内の所定面である天井面又は壁面の予め設定された分光反射率に基づいて、第1光源部の発光強度を制御するようにしてあるから、光センサを設ける必要がなく、簡素な構成にて、所定領域301の光環境を略一定に保持する制御を行うことができる。
なお、光源として赤色LED11,21、緑色LED12,22及び青色LED13,23を用いているから、予め設定する分光反射率は、各色のLEDのピーク波長近傍のみでよい。
以上の実施の形態1乃至3に係る照明装置とは異なる構成を有する照明装置の例を図13及び図14に示す。図13は、他の照明装置の構成を示す模式的断面図である。図14は、他の照明装置の模式的外観斜視図である。
図中1aは、発光色が異なる複数の光源を有する第1光源部である。第1光源部1aは、赤色LED11と、緑色LED12と、青色LED13と、これらLED11,12,13が実装されたLED基板14aとを備えている。第1光源部1aは、照明装置100cの略中央に4等配をなして、LED基板14aの側が照明装置100cの中央の側になるように、取付状態において、光出射方向が水平方向になるように設けてある。
第1光源部1aの上方には、第2光源部2aが取付けてある。第2光源部2aは、赤色LED21と、緑色LED22と、青色LED23と、これらLED21,22,23が実装されたLED基板24aとを備えている。第2光源部2aは、照明装置100cの略中央に4等配をなして、LED基板24aの側が照明装置100cの中央の側になるように、取付状態において、光出射方向が水平方向になるように設けてある。
第1光源部1aと第2光源部2aとの間には、両面反射板4aが設けてある。両面反射板4aは、例えば、両面ミラー、金属板等の高い反射率を有する材料製である。
第1光源部1a及び第2光源部2aの光出射方向には、図14に示すように、放射状に導光板6が設けてある。なお、導光板6は、例えばアクリル樹脂製である。この導光板6の端縁に当接させて、第1光源部1a及び第2光源部2aを覆うように拡散板5aが設けてある。拡散板5aは、拡散剤が添加された乳白色の樹脂であり、例えば、ポリカーボネート樹脂製である。
この照明装置100cにおいては、第1光源部1aからの光は、図13に白抜き矢符にて示すように、導光板6に導かれて略水平方向に出射され、両面反射板4a及び拡散板5aにより、所定の広がりを有して鉛直方向に出射され、室内の所定領域を照明する。一方、第2光源部2aからの光は、図13に矢符にて示すように、導光板6に導かれて略水平方向に出射され、天井300面近傍の所定領域を照明する。
このように構成した照明装置100cにおいても、実施の形態1乃至3に係る照明装置と同様に構成して、前述したような効果を得ることができる。
なお、以上の実施の形態においては、光源として半値幅の狭い単一ピークを有する分光分布の光を発するLEDを用いているが、これに限定されない。例えば、青色LEDと該青色LEDからの光により励起される黄色蛍光体とを有してなる疑似白色LEDのような半値幅が比較的広く、複数のピークを有する分光分布の光を発するLEDを光源として用いることも可能である。この場合、検出対象以外のLEDからの光がなるべく含まれない波長領域に感度波長領域がなるように光センサ素子を選定することが望ましい。また、EL(Electro Luminescence)等を用いてもよい。
また、以上の実施の形態に係る照明装置においては、複数の光源部である第1光源部及び第2光源部夫々の発光強度を制御するように構成してあるが、これに限定されず、室内を照明する第1光源部の発光強度を制御して、該第1光源部からの光が照射される所定領域の光環境を略一定に保持するように構成してあればよい。即ち、室内の光環境を略一定に保持するために第1光源部の発光強度を制御するように構成してあれば足り、第2光源部の発光強度を制御するように構成することは必ずしも必要ではない。
また、以上の実施の形態に係る照明装置においては、複数の光源部として第1光源部と第2光源部の2つの光源部を有するように構成してあるが、光源部の数は2つに限定されず、3つ以上であってもよい。また、第2光源部を間接照明用の光源部として用いているが、これに限定されず、使用者の生活空間以外の他の領域を照明するための光源部であってもよい。
また、このような生活空間の光環境を分光分布レベルにて略一定に保持することができる技術は、以上の実施の形態において述べた場面以外にも適用可能である。例えば、以上の実施の形態に係る照明装置を、画像、映像、音声、時計等に連動させて第2光源部の発光強度を変更することができるように構成することにより、天井面を照明する照明光の光色を画像、映像、音声、時計等に応じて変更させる一方、生活空間の光環境は一定に保持することができる。これにより、画像表示装置の視聴時に、エンターテイメント性を向上することができる一方、読書、食事等の作業又は生活活動も可能となる。
さらに、脈拍、脳波、血圧、皮膚温等の生体情報を検知して、検知した生体情報に応じて、天井面の光色を連動させることも考えられる。この場合、バイオフィードバック(使用者の生体情報が可視化されることにより使用者自身の生理作用を制御できるようになる)の効果を得ることが可能である。生活空間の光環境が一定であり、何らかの他の作業を妨げられないため、例えば、読書しながら天井面を照明する照明光の光色を視野内で感じることにより、効率よく、かつ自力で精神を素早く沈静させることが可能となる。
また、逆に、適切なリズムにて天井面を照明する照明光の光色を制御することも可能である。例えば、脈拍、脳波等の生理的な反応を何らかの状態に誘導するようなリズムにて天井面の光を制御することも可能である。例えば、第2光源部の光量を1/fゆらぎにて変化させることにより使用者に快適感又はリラックス効果を与えることができる。生活空間の光環境が一定であるから、何らかの他の作業を妨げられないと共に、例えば、新聞のような小さな文字を読む場合に、視力の低下を防ぐことができる。
また、以上の実施の形態においては、天井に設置される照明装置を例に説明したが、これに限定されず、壁に設置される照明装置、床に載置される所謂フロアライト等に対しても、同様に構成することができる。更に、本発明は、その他、特許請求の範囲に記載した事項の範囲内において種々変更した形態にて実施することが可能であることは言うまでもない。
1 第1光源部(光源部,室内照明用の光源部)
2 第2光源部(光源部,間接照明用の光源部)
11,21 赤色LED(光源,LED)
12,22 緑色LED(光源,LED)
13,23 青色LED(光源,LED)
100,100a,100b,100c 照明装置
101 第1光源制御部(制御部)
102 第2光源制御部(制御部)
105,201 カラーセンサ(光センサ,光検出装置)
2 第2光源部(光源部,間接照明用の光源部)
11,21 赤色LED(光源,LED)
12,22 緑色LED(光源,LED)
13,23 青色LED(光源,LED)
100,100a,100b,100c 照明装置
101 第1光源制御部(制御部)
102 第2光源制御部(制御部)
105,201 カラーセンサ(光センサ,光検出装置)
Claims (11)
- 光出射方向が異なる複数の光源部と、該複数の光源部の少なくとも一つの発光強度を制御する制御部とを備える照明装置において、
前記制御部は、前記複数の光源部の少なくとも一つの光色及び/又は光量が変更されたときに、他の光源部からの光が照射される所定領域に前記光源部から入射する光の光色及び/又は光量の変化に応じて、前記他の光源部の発光強度を制御するように構成してあることを特徴とする照明装置。 - 前記複数の光源部は、照明装置が設置される室内の所定面を照明する間接照明用の光源部と、室内を照明する室内照明用の光源部とを含んでなり、
前記制御部は、前記間接照明用の光源部の光色及び/又は光量が変更されたときに、前記室内照明用の光源部からの光が照射される所定領域に前記間接照明用の光源部から入射する光の光色及び/又は光量の変化に応じて、前記室内照明用の光源部の発光強度を制御するように構成してあることを特徴とする請求項1に記載の照明装置。 - 前記複数の光源部は、分光分布が略同一である光源を夫々備えてなることを特徴とする請求項1又は2に記載の照明装置。
- 前記光源は、単一のピークを有する分光分布の光を発することを特徴とする請求項3に記載の照明装置。
- 前記複数の光源部の少なくとも一つからの光を検出する光センサを備え、
前記制御部は、前記光センサによる検出値に応じて、前記他の光源部の発光強度を制御するように構成してあることを特徴とする請求項1から4の何れか一つに記載の照明装置。 - 前記光センサは、前記光源部を構成する各光源に対応した感度波長領域を夫々有するように構成してあることを特徴とする請求項5に記載の照明装置。
- 前記光センサは、対応する光源のピーク波長が感度波長領域に含まれるように構成してあることを特徴とする請求項6に記載の照明装置。
- 前記光センサは、前記複数の光源部と離隔して前記所定領域に設けてあることを特徴とする請求項5から7の何れか一つに記載の照明装置。
- 前記制御部は、前記複数の光源部の少なくとも一つの光色及び/又は光量が変更されたときに、照明装置が設置される室内の所定面の予め設定された分光反射率に基づいて、前記他の光源部の発光強度を制御するように構成してあることを特徴とする請求項1から4の何れか一つに記載の照明装置。
- 前記光源部はLEDを含んでなることを特徴とする請求項1から9の何れか一つに記載の照明装置。
- 複数の照明装置と、該複数の照明装置に離隔して設けられ、前記複数の照明装置からの光を検出する光検出装置とを備える照明システムにおいて、
前記複数の照明装置は請求項5から8の何れか一つに記載の照明装置であり、前記光検出装置は前記光センサを備えてなり、
前記光検出装置による検出値に基づいて、該光検出装置が設けられた所定領域の光環境を略一定に保持するように前記複数の照明装置の発光強度を制御するように構成してあることを特徴とする照明システム。
Priority Applications (1)
| Application Number | Priority Date | Filing Date | Title |
|---|---|---|---|
| JP2009082798A JP2010238407A (ja) | 2009-03-30 | 2009-03-30 | 照明装置及び照明システム |
Applications Claiming Priority (1)
| Application Number | Priority Date | Filing Date | Title |
|---|---|---|---|
| JP2009082798A JP2010238407A (ja) | 2009-03-30 | 2009-03-30 | 照明装置及び照明システム |
Publications (1)
| Publication Number | Publication Date |
|---|---|
| JP2010238407A true JP2010238407A (ja) | 2010-10-21 |
Family
ID=43092573
Family Applications (1)
| Application Number | Title | Priority Date | Filing Date |
|---|---|---|---|
| JP2009082798A Pending JP2010238407A (ja) | 2009-03-30 | 2009-03-30 | 照明装置及び照明システム |
Country Status (1)
| Country | Link |
|---|---|
| JP (1) | JP2010238407A (ja) |
Cited By (24)
| Publication number | Priority date | Publication date | Assignee | Title |
|---|---|---|---|---|
| JP2012129164A (ja) * | 2010-12-17 | 2012-07-05 | Toshiba Lighting & Technology Corp | 照明装置 |
| JP2012131429A (ja) * | 2010-12-22 | 2012-07-12 | Toyota Boshoku Corp | 車両室内照明装置 |
| JP2012150995A (ja) * | 2011-01-19 | 2012-08-09 | Panasonic Corp | 照明器具 |
| JP2012150993A (ja) * | 2011-01-19 | 2012-08-09 | Panasonic Corp | 照明器具 |
| JP2012150997A (ja) * | 2011-01-19 | 2012-08-09 | Panasonic Corp | 照明器具 |
| JP2012164625A (ja) * | 2011-01-19 | 2012-08-30 | Panasonic Corp | 照明器具 |
| JP2012195286A (ja) * | 2011-03-15 | 2012-10-11 | Zhongshan Weiqiang Technology Co Ltd | ネットワークで操作する室内照明システム |
| JP2013030425A (ja) * | 2011-07-29 | 2013-02-07 | Toshiba Lighting & Technology Corp | 照明器具 |
| JP2013041719A (ja) * | 2011-08-12 | 2013-02-28 | Toshiba Corp | 照明装置 |
| JP2013058383A (ja) * | 2011-09-08 | 2013-03-28 | Toshiba Lighting & Technology Corp | 照明装置 |
| JP2013196790A (ja) * | 2012-03-15 | 2013-09-30 | Sharp Corp | 照明装置 |
| JP2014056827A (ja) * | 2013-10-23 | 2014-03-27 | Sharp Corp | 照明装置 |
| WO2014083760A1 (ja) * | 2012-11-30 | 2014-06-05 | パナソニック株式会社 | 照明器具および補助光源ユニット |
| JP2014521202A (ja) * | 2011-07-20 | 2014-08-25 | コーニンクレッカ フィリップス エヌ ヴェ | 天窓の体裁を提供する照明エレメント、照明システム、および、ルミナリエ |
| JP2015026601A (ja) * | 2013-06-18 | 2015-02-05 | 岩崎電気株式会社 | 照明装置、及び照明システム |
| JP2016173997A (ja) * | 2016-05-31 | 2016-09-29 | 東芝ライテック株式会社 | 照明器具 |
| JP2017506804A (ja) * | 2014-02-27 | 2017-03-09 | フィリップス ライティング ホールディング ビー ヴィ | 照明システム、コントローラ及び照明方法 |
| WO2017061823A3 (ko) * | 2015-10-08 | 2017-07-13 | 성종현 | 광 연출기능의 조작과 그 표시장치의 조작 및 그 표시장치 등의 구현기술로 이루어지는 광 연출기능표시장치 |
| JP2017530530A (ja) * | 2014-10-01 | 2017-10-12 | フィリップス ライティング ホールディング ビー ヴィ | 作業用照明及び装飾用照明を提供するための照明器具及び方法 |
| WO2018061245A1 (ja) * | 2016-09-29 | 2018-04-05 | パナソニックIpマネジメント株式会社 | 環境制御システム、環境制御方法及びプログラム |
| JP2018521489A (ja) * | 2015-04-28 | 2018-08-02 | アイアート ラブ ゲゼルシャフト ミット ベシュレンクター ハフトゥング | 照明装置および照明装置を制御するための方法 |
| JP2019204707A (ja) * | 2018-05-24 | 2019-11-28 | 日本電信電話株式会社 | 照明制御装置、照明制御方法、及びプログラム |
| JP2022008373A (ja) * | 2019-05-09 | 2022-01-13 | 東芝ライテック株式会社 | 照明器具 |
| JP7535977B2 (ja) | 2021-06-16 | 2024-08-19 | 株式会社遠藤照明 | 照明器具 |
-
2009
- 2009-03-30 JP JP2009082798A patent/JP2010238407A/ja active Pending
Cited By (32)
| Publication number | Priority date | Publication date | Assignee | Title |
|---|---|---|---|---|
| JP2012129164A (ja) * | 2010-12-17 | 2012-07-05 | Toshiba Lighting & Technology Corp | 照明装置 |
| JP2012131429A (ja) * | 2010-12-22 | 2012-07-12 | Toyota Boshoku Corp | 車両室内照明装置 |
| JP2012150995A (ja) * | 2011-01-19 | 2012-08-09 | Panasonic Corp | 照明器具 |
| JP2012150993A (ja) * | 2011-01-19 | 2012-08-09 | Panasonic Corp | 照明器具 |
| JP2012150997A (ja) * | 2011-01-19 | 2012-08-09 | Panasonic Corp | 照明器具 |
| JP2012164625A (ja) * | 2011-01-19 | 2012-08-30 | Panasonic Corp | 照明器具 |
| JP2012195286A (ja) * | 2011-03-15 | 2012-10-11 | Zhongshan Weiqiang Technology Co Ltd | ネットワークで操作する室内照明システム |
| US9791131B2 (en) | 2011-07-20 | 2017-10-17 | Philips Lighting Holding B.V. | Lighting element, a lighting system and a luminaire providing a skylight appearance |
| JP2014521202A (ja) * | 2011-07-20 | 2014-08-25 | コーニンクレッカ フィリップス エヌ ヴェ | 天窓の体裁を提供する照明エレメント、照明システム、および、ルミナリエ |
| JP2013030425A (ja) * | 2011-07-29 | 2013-02-07 | Toshiba Lighting & Technology Corp | 照明器具 |
| JP2013041719A (ja) * | 2011-08-12 | 2013-02-28 | Toshiba Corp | 照明装置 |
| US8783902B2 (en) | 2011-08-12 | 2014-07-22 | Kabushiki Kaisha Toshiba | Illuminating device |
| JP2013058383A (ja) * | 2011-09-08 | 2013-03-28 | Toshiba Lighting & Technology Corp | 照明装置 |
| JP2013196790A (ja) * | 2012-03-15 | 2013-09-30 | Sharp Corp | 照明装置 |
| WO2014083760A1 (ja) * | 2012-11-30 | 2014-06-05 | パナソニック株式会社 | 照明器具および補助光源ユニット |
| JP2014110082A (ja) * | 2012-11-30 | 2014-06-12 | Panasonic Corp | 照明器具および補助光源ユニット |
| JP2015026601A (ja) * | 2013-06-18 | 2015-02-05 | 岩崎電気株式会社 | 照明装置、及び照明システム |
| JP2014056827A (ja) * | 2013-10-23 | 2014-03-27 | Sharp Corp | 照明装置 |
| JP2017506804A (ja) * | 2014-02-27 | 2017-03-09 | フィリップス ライティング ホールディング ビー ヴィ | 照明システム、コントローラ及び照明方法 |
| JP2017530530A (ja) * | 2014-10-01 | 2017-10-12 | フィリップス ライティング ホールディング ビー ヴィ | 作業用照明及び装飾用照明を提供するための照明器具及び方法 |
| US10125946B2 (en) | 2014-10-01 | 2018-11-13 | Philips Lighting Holding B.V. | Luminaire and a method for providing task lighting and decorative lighting |
| JP2018521489A (ja) * | 2015-04-28 | 2018-08-02 | アイアート ラブ ゲゼルシャフト ミット ベシュレンクター ハフトゥング | 照明装置および照明装置を制御するための方法 |
| WO2017061823A3 (ko) * | 2015-10-08 | 2017-07-13 | 성종현 | 광 연출기능의 조작과 그 표시장치의 조작 및 그 표시장치 등의 구현기술로 이루어지는 광 연출기능표시장치 |
| JP2016173997A (ja) * | 2016-05-31 | 2016-09-29 | 東芝ライテック株式会社 | 照明器具 |
| JP2018056014A (ja) * | 2016-09-29 | 2018-04-05 | パナソニックIpマネジメント株式会社 | 環境制御システム、環境制御方法及びプログラム |
| WO2018061245A1 (ja) * | 2016-09-29 | 2018-04-05 | パナソニックIpマネジメント株式会社 | 環境制御システム、環境制御方法及びプログラム |
| JP2019204707A (ja) * | 2018-05-24 | 2019-11-28 | 日本電信電話株式会社 | 照明制御装置、照明制御方法、及びプログラム |
| WO2019225714A1 (ja) * | 2018-05-24 | 2019-11-28 | 日本電信電話株式会社 | 照明制御装置、照明制御方法、及びプログラム |
| JP7031496B2 (ja) | 2018-05-24 | 2022-03-08 | 日本電信電話株式会社 | 照明制御装置、照明制御方法、及びプログラム |
| JP2022008373A (ja) * | 2019-05-09 | 2022-01-13 | 東芝ライテック株式会社 | 照明器具 |
| JP7525454B2 (ja) | 2019-05-09 | 2024-07-30 | 東芝ライテック株式会社 | 照明器具 |
| JP7535977B2 (ja) | 2021-06-16 | 2024-08-19 | 株式会社遠藤照明 | 照明器具 |
Similar Documents
| Publication | Publication Date | Title |
|---|---|---|
| JP2010238407A (ja) | 照明装置及び照明システム | |
| US11426555B2 (en) | Luminaires, systems and methods for providing spectrally and spatially modulated illumination | |
| CN101884249B (zh) | 照明装置 | |
| JP4966315B2 (ja) | 光源システムおよび照明装置 | |
| US9662409B2 (en) | Combinatorial light device for general lighting and lighting with beneficial wavelengths | |
| RU2627029C2 (ru) | Способы и устройство освещения с избирательно применяемым компонентом освещения лица | |
| US20120032616A1 (en) | Wake-up system | |
| JPWO2008069103A1 (ja) | 光源及び光照射装置 | |
| US20100277316A1 (en) | Lighting device | |
| JP4418692B2 (ja) | 照明装置 | |
| JP6256689B2 (ja) | 照明器具 | |
| JP2010092993A (ja) | 照明装置 | |
| JP6270242B2 (ja) | 照明器具 | |
| KR20190064261A (ko) | 발광 다이오드들을 포함하는 발광 장치 | |
| JP2007173557A (ja) | 光源装置 | |
| JP2009266484A (ja) | 照明装置 | |
| JP6233585B2 (ja) | 照明器具 | |
| US20200077486A1 (en) | Light source apparatus and display apparatus | |
| CN108361606B (zh) | 照明装置 | |
| EP1024327A1 (en) | Radiant energy irradiation device | |
| WO2015125515A1 (ja) | 照明装置および照明方法 | |
| KR101868368B1 (ko) | 뇌파리듬 조절 기능이 구비된 조명기구 | |
| JP3171258U (ja) | 照明装置 | |
| JP2008204855A (ja) | 可変色縦型照明器具および可変色縦型照明システム | |
| JP2018056133A (ja) | 照明器具 |