JP2010216548A - Corrosion-proof core for snap tap - Google Patents

Corrosion-proof core for snap tap Download PDF

Info

Publication number
JP2010216548A
JP2010216548A JP2009062897A JP2009062897A JP2010216548A JP 2010216548 A JP2010216548 A JP 2010216548A JP 2009062897 A JP2009062897 A JP 2009062897A JP 2009062897 A JP2009062897 A JP 2009062897A JP 2010216548 A JP2010216548 A JP 2010216548A
Authority
JP
Japan
Prior art keywords
sleeve
branch hole
outer peripheral
core
annular portion
Prior art date
Legal status (The legal status is an assumption and is not a legal conclusion. Google has not performed a legal analysis and makes no representation as to the accuracy of the status listed.)
Pending
Application number
JP2009062897A
Other languages
Japanese (ja)
Inventor
Takuji Nakamura
拓司 中村
Current Assignee (The listed assignees may be inaccurate. Google has not performed a legal analysis and makes no representation or warranty as to the accuracy of the list.)
Kitz Corp
Original Assignee
Kitz Corp
Priority date (The priority date is an assumption and is not a legal conclusion. Google has not performed a legal analysis and makes no representation as to the accuracy of the date listed.)
Filing date
Publication date
Application filed by Kitz Corp filed Critical Kitz Corp
Priority to JP2009062897A priority Critical patent/JP2010216548A/en
Publication of JP2010216548A publication Critical patent/JP2010216548A/en
Pending legal-status Critical Current

Links

Images

Landscapes

  • Branch Pipes, Bends, And The Like (AREA)

Abstract

<P>PROBLEM TO BE SOLVED: To provide a corrosion-proof core for a snap tap which can attach while revealing corrosion prevention performance by preventing a holding sleeve from being dropped into a branch hole even if being in such a state of misaligning to the branch hole in the corrosion-proof core which reveals high sealing performance by being attached to the branch hole smoothly while securing a predetermined mounting state. <P>SOLUTION: The corrosion-proof core for the snap tap includes an elastic sleeve 31 which is attached to the branch hole 23 of a pipe arrangement 20 and is attached to the outer peripheral surface 30a of the holding sleeve 30. The corrosion-proof core locates thick-walled annular portion 50 formed to the elastic sleeve 31 on the lower surface 36a of a collar portion 36 provided on the holding sleeve 30 and then brings the thick-walled annular portion 50 into pressure contact with the outer peripheral edge portion 27 of the branch hole 23 and performs sealing. Then, the corrosion-proof core is configured so as to prevent the holding sleeve 30 from being dropped into the branch hole by bringing the outer peripheral surface 51 of the thick-walled annular portion 50 into pressure contact with a vicinity of an inner peripheral end wall 28 of the branch hole 23 when the holding sleeve 30 is in misaligned state to the branch hole 23. <P>COPYRIGHT: (C)2010,JPO&INPIT

Description

本発明は、水道配管等の配管から支管へ分岐配管を行なうための分水栓の設置に際し、配管である金属管を穿孔したとき、その孔壁の切削面の腐食を防止するために装着する分水栓用防食コアに関する。   When installing a water faucet for branching from a pipe such as a water pipe to a branch pipe, the present invention is mounted to prevent corrosion of the cut surface of the hole wall when a metal pipe as a pipe is drilled. The present invention relates to a corrosion prevention core for a faucet.

従来より、この種の防食コアとして、例えば、特許文献1の分水栓密着コアが知られている。この密着コアは、純銅、燐脱酸銅などの可塑性素材により筒状本体が構成され、この筒状本体の外表面全体がゴムからなる弾性素材による被膜層で覆われてコア部材が構成されている。この密着コアの水道本管への装着時には、挿入棒によりコア部材を強制的に拡径させて水道本管に圧接させるようになっている。   Conventionally, as this kind of anti-corrosion core, for example, the faucet close-contact core of Patent Document 1 is known. This close-contact core has a cylindrical main body made of a plastic material such as pure copper or phosphorous deoxidized copper, and the entire outer surface of the cylindrical main body is covered with a coating layer made of an elastic material made of rubber to form a core member. Yes. When the close-contact core is attached to the water main, the core member is forcibly expanded by the insertion rod and is brought into pressure contact with the water main.

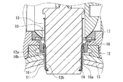
また、上記とは異なる構造の防食コアとして、例えば、特許文献2の保護スリーブが開示されている。同文献2を図13の概略断面図に示す。同図において、保護スリーブ1は、硬質プラスチック又は金属からなる第1スリーブ2と、合成ゴム又は軟質樹脂からなる第2スリーブ3とから構成されている。保護スリーブ1の装着時には、第1スリーブ2を第2スリーブ3に圧入することにより、水道管4の穿孔部5に嵌合された第2スリーブ3が穿孔部の内周面5aに圧着され、このとき、第2スリーブ3のフランジ部6が挿入工具7により水道管4の上面4aに押し付けられて穿孔部5の入口側がシールされるようになっている。   Moreover, for example, a protective sleeve disclosed in Patent Document 2 is disclosed as an anticorrosion core having a structure different from the above. The literature 2 is shown in the schematic cross-sectional view of FIG. In the figure, the protective sleeve 1 is composed of a first sleeve 2 made of hard plastic or metal and a second sleeve 3 made of synthetic rubber or soft resin. When the protective sleeve 1 is mounted, the first sleeve 2 is press-fitted into the second sleeve 3 so that the second sleeve 3 fitted into the perforated portion 5 of the water pipe 4 is crimped to the inner peripheral surface 5a of the perforated portion, At this time, the flange portion 6 of the second sleeve 3 is pressed against the upper surface 4a of the water pipe 4 by the insertion tool 7 so that the inlet side of the perforated portion 5 is sealed.

一方、図14における防食コア体10は、弾性スリーブ体11と、樹脂スリーブ体12と、剛性スリーブ体13とからなる3つのスリーブ体を有する構造になっている。この防食コア体10は、弾性スリーブ体11の内径側に樹脂スリーブ体12を装着したスリーブ本体14に、剛性スリーブ体13を挿入することにより配管部(水道管)15に装着され、樹脂スリーブ体12と弾性スリーブ体11とが拡径して、弾性スリーブ体11が配管部15の穿孔穴16の孔壁部16aに密着する。また、装着後には、樹脂スリーブ体12の鍔状部12aが穿孔穴16の穴縁部16bに掛かって、穿孔穴16の入口部分がシールされると共に、樹脂スリーブ体12が剛性スリーブ体13の押し込みによって穿孔穴16側に脱落することが防がれている。   On the other hand, the anticorrosion core body 10 in FIG. 14 has a structure having three sleeve bodies including an elastic sleeve body 11, a resin sleeve body 12, and a rigid sleeve body 13. The anticorrosion core body 10 is attached to a pipe portion (water pipe) 15 by inserting a rigid sleeve body 13 into a sleeve body 14 having a resin sleeve body 12 attached to the inner diameter side of the elastic sleeve body 11, and the resin sleeve body. 12 and the elastic sleeve body 11 are expanded in diameter, and the elastic sleeve body 11 is in close contact with the hole wall portion 16 a of the hole 16 of the pipe portion 15. After mounting, the flange portion 12 a of the resin sleeve body 12 is hooked on the hole edge portion 16 b of the perforated hole 16 to seal the entrance portion of the perforated hole 16, and the resin sleeve body 12 is attached to the rigid sleeve body 13. It is prevented from falling to the perforated hole 16 side by pushing.

特開2006−226490号公報JP 2006-226490 A 特開平9−42567号公報JP 9-42567 A

しかしながら、特許文献1の密着コアは、密着コアを拡径する際に、可塑性素材を変形させるための抵抗力が大きくなり、また、可塑性素材を真円状に拡径するためにこの可塑性素材と挿入棒とには高い嵌合時の寸法精度が要求されている。しかも、可塑性素材は銅であるため剛性が高く、この可塑性素材が変形するときには、弾性素材の水道本管への密着性が低くなってシール性が維持されないことがある。   However, the close contact core of Patent Document 1 has a large resistance for deforming the plastic material when the diameter of the close contact core is expanded, and this plastic material is used to expand the diameter of the plastic material into a perfect circle. The insertion rod is required to have high dimensional accuracy during fitting. In addition, since the plastic material is copper, the rigidity is high, and when the plastic material is deformed, the adhesion of the elastic material to the water main may be lowered and the sealing performance may not be maintained.

また、特許文献2のような図13における第1スリーブ2と第2スリーブ3とによる2層構造の保護スリーブ1は、第1スリーブ2を硬質プラスチックとすることで第2スリーブ3の水道管4への密着性を向上させることはできるが、次のような課題点が生じていた。すなわち、同公報は、第2スリーブ3として合成ゴムを用いた場合には、第1スリーブ2との摩擦抵抗が高くなって装着が不完全になりやすく、また、第2スリーブ3として軟質樹脂を用いた場合には、圧縮永久ひずみの特性が劣って穿孔部内周面5aとの密着性が悪くなっていた。   Further, the protective sleeve 1 having a two-layer structure of the first sleeve 2 and the second sleeve 3 shown in FIG. 13 as in Patent Document 2 has a water pipe 4 of the second sleeve 3 by making the first sleeve 2 hard plastic. Although the adhesiveness to can be improved, the following problems have arisen. That is, in the same publication, when synthetic rubber is used as the second sleeve 3, the friction resistance with the first sleeve 2 becomes high and the mounting becomes incomplete, and a soft resin is used as the second sleeve 3. When used, the compression set characteristics were inferior, and the adhesion to the inner peripheral surface 5a of the perforated part was poor.

また、図13(a)、図13(b)に示すように、例えば、穿孔工具7ががたついた状態や斜めの状態で取付けられていたり、ガス管や電話線等の他の敷設管との干渉を回避するために分水栓が水道管に斜めに取付けられていたり、或は、水道管4へ分水栓の固定が不十分の状態である場合、穿孔時に穿孔部5が所定の位置からずれて穿孔されることがある。この穿孔部5に対して保護スリーブ1を取付ける場合、穿孔部5の軸芯Sと挿入工具7の軸芯Sとが幅hにおいてずれる、いわゆる、芯ずれ状態になる可能性がある。
この場合、図13(a)に示すように、第2スリーブ3が穿孔部5に対して軸芯がずれた状態で仮着され、この第2スリーブ3に第1スリーブ2を挿入したときには、図13(b)に示すように、第2スリーブ3の穿孔部5との空隙が多い側、すなわち、図における左側においてフランジ部6に押圧力が加わったときに、フランジ部6は剛性が小さいことにより起き上がるように変形して穿孔部5内に肩落ちすることがあった。その結果、フランジ部6全体が穿孔部5に引き込まれるようにして第2スリーブ3が穿孔部5に落ち込むことがあった。
Further, as shown in FIGS. 13A and 13B, for example, the drilling tool 7 is attached in a rattling state or an oblique state, or other laying pipes such as a gas pipe and a telephone line. In order to avoid interference with the water pipe, if the water faucet is attached to the water pipe at an angle, or if the water faucet is not sufficiently fixed to the water pipe 4, the perforated part 5 is predetermined when drilling. May be drilled out of position. When mounting the protective sleeve 1 against the perforated portion 5, displaced in the axis S 2 Togahaba h of axis S 1 and the insertion tool 7 of the drilling unit 5, so-called, it may become misalignment state.
In this case, as shown in FIG. 13 (a), when the second sleeve 3 is temporarily attached with the axial center shifted from the perforated portion 5, and when the first sleeve 2 is inserted into the second sleeve 3, As shown in FIG. 13 (b), when the pressing force is applied to the flange portion 6 on the side where the gap between the second sleeve 3 and the perforated portion 5 is large, that is, the left side in the drawing, the flange portion 6 has low rigidity. As a result, the shoulder may fall into the perforated portion 5 due to deformation. As a result, the second sleeve 3 may fall into the perforated portion 5 so that the entire flange portion 6 is pulled into the perforated portion 5.

一方、図14の構造の防食コア体10は、弾性スリーブ体11と、樹脂スリーブ体12と、剛性スリーブ体13とからなる3層スリーブ構造であるため、剛性スリーブ体13をスリーブ本体14に円滑に挿入して装着を完了させることが可能であり、また、弾性スリーブ体11が穿孔穴16の孔壁部16aに密着することでシール性が高まっている。   On the other hand, the anticorrosion core body 10 having the structure shown in FIG. 14 has a three-layer sleeve structure including an elastic sleeve body 11, a resin sleeve body 12, and a rigid sleeve body 13. It is possible to complete the mounting by inserting the elastic sleeve body, and the sealing performance is enhanced by the elastic sleeve body 11 being in close contact with the hole wall portion 16a of the hole 16.

しかし、この防食コア体10は、呼び径が、例えば、40A、50Aと大きくなりその曲率が大きくなると、樹脂スリーブ体12の鍔状部12aの剛性が下がる。このため、穿孔穴16の軸芯が防食コアの軸芯からずれている場合には、鍔状部12aが下方向に押し潰されたり、また、特許文献2と同様に、樹脂スリーブ体12の挿入時に鍔状部12aの片側が穿孔穴16の穴縁部16bから落ち込んで、この樹脂スリーブ体12の孔壁部16aへの装着部分であるスカート部12bが、配管部15の通水部分である通水口径まで飛び出してこの通水口径内に残る、いわゆるのぞきと呼ばれる現象が発生する可能性があった。   However, when the nominal diameter of the anticorrosion core body 10 is increased to, for example, 40A and 50A and the curvature thereof is increased, the rigidity of the flange-shaped portion 12a of the resin sleeve body 12 is decreased. For this reason, when the axis of the perforated hole 16 is deviated from the axis of the anticorrosion core, the hook-shaped portion 12a is crushed downward, and, as in Patent Document 2, the resin sleeve body 12 At the time of insertion, one side of the hook-shaped portion 12a falls from the hole edge portion 16b of the perforated hole 16, and the skirt portion 12b, which is a mounting portion of the resin sleeve body 12 to the hole wall portion 16a, is a water passage portion of the piping portion 15. There is a possibility that a phenomenon called so-called peep, which jumps out to a certain water flow diameter and remains in the water flow diameter, may occur.

このとき、鍔状部12aの外径は、サドル付分水栓17の通水口18の口径よりも小径であり、また、所定の内径を確保している必要がある。これにより、落ち込み防止策として、鍔状部12aの外径を所定範囲内の最大寸法に設け、且つ、径方向の肉厚を厚く形成することが考えられるが、径方向の肉厚を厚くすると、鍔状部12aの伸び性が悪くなり、剛性スリーブ体13を内挿した時に鍔状部12aが拡径しにくくなり、穿孔穴16の穴縁部16bへの掛かり量が少なくなることとも相まって、下方向に押し潰されて穿孔穴16に落ち込むおそれがある。このように、この防食コア体10は、呼び径が大きい場合に芯ずれが生じていると正確に装着できない可能性があり、しかも、呼び径が大きくなるに従って芯ずれ時の鍔状部12aの掛かり量が少なくなってより落ち込みやすくなっていた。   At this time, the outer diameter of the bowl-shaped portion 12a is smaller than the diameter of the water flow opening 18 of the saddle-equipped water faucet 17, and it is necessary to ensure a predetermined inner diameter. Thereby, as a measure to prevent the sagging, it is conceivable that the outer diameter of the flange-shaped portion 12a is provided in the maximum dimension within a predetermined range and the thickness in the radial direction is increased, but when the thickness in the radial direction is increased. Combined with the fact that the elongate portion of the hook-shaped portion 12a is deteriorated, the diameter of the hook-shaped portion 12a is difficult to expand when the rigid sleeve body 13 is inserted, and the amount of engagement of the hole 16 on the hole edge 16b is reduced. There is a possibility that it will be crushed downward and fall into the perforated hole 16. As described above, the anticorrosion core body 10 may not be correctly mounted if the center diameter is misaligned when the nominal diameter is large, and the corrugated portion 12a at the time of misalignment increases as the nominal diameter increases. The amount of hanging has decreased, making it easier to drop.

本発明は、上記の課題点を解決するために開発したものであり、その目的とするところは、所定の取付け状態を確保しながらスムーズに分岐孔に装着して高シール性を発揮する防食コアであり、分岐孔に対して芯ずれ状態にある場合でもこの分岐孔への落ち込みを防いで防食性能を発揮しながら装着できる分水栓用防食コアを提供することにある。   The present invention has been developed to solve the above-described problems, and the object of the present invention is to provide an anticorrosion core that exhibits a high sealing performance by being smoothly mounted in a branch hole while ensuring a predetermined mounting state. Thus, it is an object of the present invention to provide an anticorrosive core for a water faucet that can be mounted while preventing corrosion to the branch hole and exhibiting anticorrosion performance even when it is in an off-center state with respect to the branch hole.

上記目的を達成するため、請求項1に係る発明は、配管の分岐孔に装着し、かつ、保持スリーブの外周面に装着した弾性スリーブを有する防食コアであって、保持スリーブに設けた鍔部の下面に弾性スリーブに形成した肉厚環状部を位置させて、この肉厚環状部を分岐孔の外周縁部に圧接シールさせると共に、保持スリーブが分岐孔に対して芯ずれ状態にあるとき、肉厚環状部の外周面を分岐孔の内周上端壁近傍に圧接させて保持スリーブの落ち込みを防止するようにした分水栓用防食コアである。   In order to achieve the above object, an invention according to claim 1 is an anticorrosion core having an elastic sleeve attached to a branch hole of a pipe and attached to an outer peripheral surface of a holding sleeve, and a collar provided on the holding sleeve When the thick annular portion formed on the elastic sleeve is positioned on the lower surface of the elastic sleeve, and the thick annular portion is pressed and sealed to the outer peripheral edge of the branch hole, and the holding sleeve is in an off-center state with respect to the branch hole, The anticorrosion core for a water faucet is configured so that the outer peripheral surface of the thick annular portion is pressed against the vicinity of the inner peripheral upper end wall of the branch hole to prevent the holding sleeve from falling.

請求項2に係る発明は、保持スリーブは、剛性スリーブと、この剛性スリーブの外周面に装着した樹脂スリーブとからなり、弾性スリーブの肉厚環状部を樹脂スリーブに形成した鍔部の下面に位置させた分水栓用防食コアである。   According to a second aspect of the present invention, the holding sleeve includes a rigid sleeve and a resin sleeve mounted on the outer peripheral surface of the rigid sleeve, and the elastic sleeve is positioned on the lower surface of the collar portion formed on the resin sleeve. It is the made anticorrosion core for water faucets.

請求項3に係る発明は、弾性スリーブは、ゴムスリーブである分水栓用防食コアである。   The invention according to claim 3 is the anticorrosion core for a water faucet, wherein the elastic sleeve is a rubber sleeve.

請求項4に係る発明は、肉厚環状部の下端面の角度を、外周面に対して90°以下に設けた分水栓用防食コアである。   The invention which concerns on Claim 4 is the anticorrosion core for water faucets which provided the angle of the lower end surface of the thick annular part at 90 degrees or less with respect to the outer peripheral surface.

請求項5に係る発明は、下端面と外周面との境界に角部を設けた分水栓用防食コアである。   The invention which concerns on Claim 5 is the anticorrosion core for water faucets which provided the corner | angular part in the boundary of a lower end surface and an outer peripheral surface.

請求項1に係る発明によると、保持スリーブにより弾性スリーブを拡径させることにより、所定の取付け状態を確保しながらスムーズに分岐孔に装着して高シール性を発揮できる防食コアであり、分岐孔が正規の位置に穿孔されている場合には、肉厚環状部の下端面を分岐孔の外周縁部に圧接シールさせて漏れを防ぎながら装着することができる。一方、分岐孔が芯ずれ状態にある場合には、肉厚環状部の外周面と分岐孔の内周上端縁との間に摺動抵抗が生じるため、保持スリーブが分岐孔に落ち込むことを防ぐことができる。このように、穿孔穴の穿孔位置にかかわらず、防食性能を発揮しながら装着することが可能な分水栓用防食コアを提供できる。   According to the first aspect of the present invention, the elastic sleeve is expanded by the holding sleeve, and the anticorrosion core can be smoothly attached to the branch hole and exhibit high sealing performance while ensuring a predetermined mounting state. Can be mounted while preventing leakage by sealing the lower end surface of the thick annular portion with the outer peripheral edge of the branch hole. On the other hand, when the branch hole is in the misalignment state, sliding resistance is generated between the outer peripheral surface of the thick annular portion and the inner peripheral upper end edge of the branch hole, so that the holding sleeve is prevented from falling into the branch hole. be able to. In this way, it is possible to provide a corrosion prevention core for a water faucet that can be mounted while exhibiting anticorrosion performance regardless of the drilling position of the perforated hole.

請求項2に係る発明によると、配管の分岐孔に対して円滑に挿入でき、作業中の脱落を防ぎつつ装着を完了させることができる防食コアである。また、分岐孔の穿孔状態のばらつきの影響を殆ど受けることなく分岐孔の所定位置に密着させて高いシール性を発揮させながら装着できる。   According to the invention which concerns on Claim 2, it is a corrosion prevention core which can be smoothly inserted with respect to the branch hole of piping, and can complete mounting | wearing, preventing the drop-off | omission in operation | work. Further, it can be mounted while exerting a high sealing performance by being brought into close contact with a predetermined position of the branch hole with almost no influence of variations in the perforated state of the branch hole.

請求項3に係る発明によると、分岐孔との挿着部分における漏れを防ぎつつ取付けでき、既存のゴム製スリーブの形状が若干変わるだけであるので、容易に成形加工でき、加工設備の変更も最小限に抑えることができる。また、部品点数が増加することがないため、製造時における組立も容易である。   According to the invention of claim 3, since it can be installed while preventing leakage at the insertion portion with the branch hole, and the shape of the existing rubber sleeve is only slightly changed, it can be easily molded and the processing equipment can be changed. Can be minimized. Moreover, since the number of parts does not increase, assembly during manufacture is easy.

請求項4に係る発明によると、装着時に弾性スリーブが分岐孔に掛かりやすくなり、芯ずれ時においても、分岐孔からの落ち込みを防ぐことができる防食コアである。   According to the invention which concerns on Claim 4, it is an anticorrosion core which becomes easy for an elastic sleeve to catch on a branch hole at the time of mounting | wearing, and can prevent the fall from a branch hole also at the time of misalignment.

請求項5に係る発明によると、装着時に弾性スリーブが分岐孔の縁から引き込まれ難くなり、特に、芯ズレ時において、肉厚環状部の外周面に強い摺動抵抗が生じて、この肉厚環状部が分岐孔の内周上端壁近傍に位置した状態を確保できるため、弾性スリーブの分岐孔からの落ち込みを防止できる。   According to the invention of claim 5, the elastic sleeve is difficult to be pulled in from the edge of the branch hole at the time of mounting, and particularly when the core is misaligned, a strong sliding resistance is generated on the outer peripheral surface of the thick annular portion. Since the annular portion can be secured in the vicinity of the inner peripheral upper end wall of the branch hole, the elastic sleeve can be prevented from falling from the branch hole.

本発明の分水栓防食コアを装着する状態を示す断面図である。It is sectional drawing which shows the state which mounts the water faucet anticorrosion core of this invention. 本発明の分水栓防食コアの半截断面図である。It is a semi-cross-sectional view of the water faucet anticorrosive core of the present invention. 図2の分水栓防食コアに装着工具を装着した状態を示す断面図である。It is sectional drawing which shows the state which mounted | wore the mounting tool with the water-proof faucet anticorrosion core of FIG. 図1の装着工具を装入した状態を示す要部断面図である。It is principal part sectional drawing which shows the state which inserted the mounting tool of FIG. 図4の装着工具を装入した状態を示す要部断面図である。It is principal part sectional drawing which shows the state which inserted the mounting tool of FIG. 図5の装着工具を装入した状態を示す要部断面図である。It is principal part sectional drawing which shows the state which inserted the mounting tool of FIG. 図6の装着工具を装入した状態を示す要部断面図である。It is principal part sectional drawing which shows the state which inserted the mounting tool of FIG. 防食コアの装着後の状態を示す要部断面図である。It is principal part sectional drawing which shows the state after mounting | wearing with the anticorrosion core. 芯ずれ状態における分水栓防食コアを装着する状態を示す要部断面図である。It is principal part sectional drawing which shows the state which mounts the water faucet anti-corrosion core in a misalignment state. 図9の防食コアの装着後における装着工具を装入した状態を示す要部断面図である。It is principal part sectional drawing which shows the state which inserted the mounting tool after mounting | wearing with the anticorrosion core of FIG. 図10の装着工具を取り外した状態を示す要部断面図である。It is principal part sectional drawing which shows the state which removed the mounting tool of FIG. 配管の分岐孔付近を示した概略斜視図である。It is the schematic perspective view which showed the branch hole vicinity of piping. 従来の保護スリーブを装着する状態を示した断面図である。(a)は、第1スリーブの挿入前の状態を示す概略断面図である。(b)は、第1スリーブを挿入する状態を示す概略断面図である。It is sectional drawing which showed the state which mounts the conventional protective sleeve. (A) is a schematic sectional drawing which shows the state before insertion of a 1st sleeve. (B) is a schematic sectional drawing which shows the state which inserts a 1st sleeve. 従来の防食コア体を装着する状態を示した概略断面図である。It is the schematic sectional drawing which showed the state which mounts the conventional anti-corrosion core body.

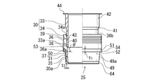
以下に、本発明における分水栓防食コアの好ましい実施形態を図面に基づいて説明する。図1においては、本発明の分水栓防食コアを鋳鉄管などの水道管(配管)20に装着する状態を示しており、また、図2においては、本発明の分水栓防食コアの全体を示している。図1において、配管20には図示しない支管への分岐配管をおこなうための止水機構21を有するサドル付き分水栓(以下、分水栓という)22が設けられ、配管20には、図示しない穿孔工具により通水口となる分岐孔23を穿孔した後に、この分岐孔23に装着工具24によりコア本体25が装着されて分岐孔23の切削面26の腐食が防止されるようになっている。   Below, preferable embodiment of the water faucet anticorrosion core in this invention is described based on drawing. FIG. 1 shows a state where the water faucet anticorrosive core of the present invention is attached to a water pipe (pipe) 20 such as a cast iron pipe, and FIG. 2 shows the whole of the water faucet anticorrosive core of the present invention. Is shown. In FIG. 1, a pipe 20 is provided with a saddle-equipped water faucet (hereinafter referred to as a water faucet) 22 having a water stop mechanism 21 for branching a branch pipe (not shown). After the branch hole 23 serving as a water passage is drilled by the drilling tool, the core body 25 is mounted on the branch hole 23 by the mounting tool 24 to prevent the cutting surface 26 of the branch hole 23 from being corroded.

図1、2において、コア本体25は、略筒状の保持スリーブ30と、弾性スリーブ31とを有し、保持スリーブ30の外周面30aに弾性スリーブ31が装着されている。更に、保持スリーブ30は、剛性スリーブ33と、樹脂スリーブ34とからなり、剛性スリーブ33の外周面33aに樹脂スリーブ34が装着されている。   1 and 2, the core body 25 includes a substantially cylindrical holding sleeve 30 and an elastic sleeve 31, and the elastic sleeve 31 is attached to the outer peripheral surface 30 a of the holding sleeve 30. Further, the holding sleeve 30 includes a rigid sleeve 33 and a resin sleeve 34, and the resin sleeve 34 is attached to the outer peripheral surface 33 a of the rigid sleeve 33.

図2、図3に示すように、保持スリーブ30において、樹脂スリーブ34は、配管20の分岐孔23に装着される装着部35と、この装着部35の上方位置に装着部35よりも拡径状の鍔部36とを有している。鍔部36の外径は、分水栓22の止水機構21の内径よりもやや小径に形成されている。また、装着部35の外周側には、弾性スリーブ31が装着可能な環状凹溝37が形成され、一方、鍔部36の内周側には、テーパ段部38と係止突部39とが形成されている。樹脂スリーブ34は、例えば、滑り特性が良く、且つ、伸び特性が大きい低密度ポリエチレン等の樹脂により形成され、この場合、滑り特性が良いことにより内径側に剛性スリーブ33を挿入しやすくなる。また、伸び特性が大きくなることにより、クラック(割れ)を生じさせることのない拡径が可能になる。   As shown in FIGS. 2 and 3, in the holding sleeve 30, the resin sleeve 34 has a mounting portion 35 mounted in the branch hole 23 of the pipe 20, and a diameter larger than that of the mounting portion 35 above the mounting portion 35. And a hook-like flange 36. The outer diameter of the collar portion 36 is formed to be slightly smaller than the inner diameter of the water stop mechanism 21 of the water faucet 22. Further, an annular concave groove 37 into which the elastic sleeve 31 can be mounted is formed on the outer peripheral side of the mounting portion 35, while a taper step portion 38 and a locking projection 39 are formed on the inner peripheral side of the flange portion 36. Is formed. The resin sleeve 34 is formed of, for example, a resin such as low-density polyethylene having good sliding characteristics and high elongation characteristics. In this case, the rigid sleeve 33 can be easily inserted on the inner diameter side due to the good sliding characteristics. In addition, since the elongation characteristic is increased, the diameter can be expanded without causing cracks.

また、剛性スリーブ33は、挿入側から順に、小径部40と、テーパ部41と、大径部42とを有し、小径部40と大径部42との間にテーパ部41が設けられている。この形状により、剛性スリーブ33は、樹脂スリーブ34を2段階に拡径させることが可能になっている。また、小径部40においては、係止溝43が形成されており、この係止溝43には、樹脂スリーブ34の係止突部39が係止可能になっている。また、大径部42の開口端部側には、フランジ部44が形成され、このフランジ部44により、装着工具の押圧部63と当接し、樹脂スリーブ34への挿入が可能になる。剛性スリーブ33は、例えば、ステンレス等の金属により形成される。   The rigid sleeve 33 has a small diameter portion 40, a tapered portion 41, and a large diameter portion 42 in order from the insertion side, and the tapered portion 41 is provided between the small diameter portion 40 and the large diameter portion 42. Yes. With this shape, the rigid sleeve 33 can expand the diameter of the resin sleeve 34 in two stages. Further, a locking groove 43 is formed in the small diameter portion 40, and a locking projection 39 of the resin sleeve 34 can be locked in the locking groove 43. Further, a flange portion 44 is formed on the opening end side of the large diameter portion 42, and the flange portion 44 abuts against the pressing portion 63 of the mounting tool and can be inserted into the resin sleeve 34. The rigid sleeve 33 is made of a metal such as stainless steel, for example.

一方、弾性スリーブ31は、ゴムスリーブからなり、スカート部49と、肉厚環状部50とを有している、弾性スリーブ31は、肉厚環状部50が上述した樹脂スリーブ34の鍔部36の下面36aに位置した状態で環状凹溝37に装着されている。肉厚環状部50は、外周面51と、下端面52と、上端面53とを有する形状になっている。外周面51は、弾性スリーブ31の挿入方向と平行に形成され、この外周面51に対して、下端面52の角度θは90°以下80°以上(本実施例においては90°)に設けられている。また、下端面52と外周面51との境界には、角部54が設けられている。   On the other hand, the elastic sleeve 31 is made of a rubber sleeve, and has a skirt portion 49 and a thick annular portion 50. The elastic sleeve 31 has the thick annular portion 50 of the flange portion 36 of the resin sleeve 34 described above. The annular groove 37 is mounted on the lower surface 36a. The thick annular portion 50 has a shape having an outer peripheral surface 51, a lower end surface 52, and an upper end surface 53. The outer peripheral surface 51 is formed in parallel with the insertion direction of the elastic sleeve 31, and the angle θ of the lower end surface 52 with respect to the outer peripheral surface 51 is provided at 90 ° or less and 80 ° or more (90 ° in this embodiment). ing. Further, a corner 54 is provided at the boundary between the lower end surface 52 and the outer peripheral surface 51.

肉厚環状部50は、本実施形態のように、スカート部49と一体に形成することが弾性スリーブ31の成形上も、樹脂スリーブ34への装着上も望ましいが、別体に形成することもできる。また、肉厚環状部50の外径は、樹脂スリーブ34の鍔部36の図示しない外径と略同径か、又は、やや大径に形成され、本実施形態においては、同径もしくは同径から0.4mm大径となる(片側が0.2mm増加する)範囲の寸法に形成されている。   The thick annular portion 50 is preferably formed integrally with the skirt portion 49 as in the present embodiment in terms of molding of the elastic sleeve 31 and mounting to the resin sleeve 34, but may be formed separately. it can. Further, the outer diameter of the thick annular portion 50 is substantially the same as or slightly larger than the outer diameter (not shown) of the flange portion 36 of the resin sleeve 34. In the present embodiment, the outer diameter is the same or the same diameter. To 0.4 mm in diameter (one side increases by 0.2 mm).

この理由として、肉厚環状部50が鍔部外径よりも小さいと、後述する保持スリーブ30と分岐孔23との芯ずれの際に、肉厚環状部50の圧縮量が小さくなって落ち込み防止機能が働き難くなり、また、肉厚環状部50の外径が大きすぎると、後述するコア本体25の挿入過程において分水栓22の内部を通過する際に、肉厚環状部50が分水栓22の止水機構21と接触してめくれ上がったり、切断したり、分岐孔23に到達する前に分水栓22の止水機構21により拡径が始まったりする等の不具合が生じるためである。
また、肉厚環状部50は、径方向の肉厚tがスカート部49の肉厚tの3〜5倍程度であることが望ましく、この場合には強い剛性が発揮される。
The reason for this is that if the thick annular portion 50 is smaller than the outer diameter of the collar portion, the amount of compression of the thick annular portion 50 becomes small and prevents falling when the holding sleeve 30 and the branch hole 23 described later are misaligned. If the function is difficult to work and the outer diameter of the thick annular portion 50 is too large, the thick annular portion 50 will be diverted when passing through the interior of the water faucet 22 during the insertion process of the core body 25 described later. This is because problems such as turning up or cutting in contact with the water stop mechanism 21 of the stopper 22, or starting diameter expansion by the water stop mechanism 21 of the water stopper 22 before reaching the branch hole 23 occur. .
Also, thick annular part 50 is desirably the thickness t 1 in the radial direction is 3-5 times the thickness t 2 of the skirt portion 49, a strong rigidity is exhibited in this case.

なお、上記実施形態において、肉厚環状部50の厚さが薄い状態、例えば、スカート部49の肉厚と同等程度である場合には、肉厚環状部50と切削面26との接触面積が小さくなるため、肉厚環状部50が分岐孔23に落ち込んだ後の摺動抵抗が小さくなる。このため、樹脂スリーブ34の落ち込みを防止できなくなることがある。よって、肉厚環状部50は、適度の摺動抵抗を発揮できる前述の厚さに設ける必要がある。   In the above-described embodiment, when the thickness of the thick annular portion 50 is thin, for example, approximately equal to the thickness of the skirt portion 49, the contact area between the thick annular portion 50 and the cutting surface 26 is small. Since it becomes small, the sliding resistance after the thick annular part 50 falls into the branch hole 23 becomes small. For this reason, the resin sleeve 34 may not be prevented from falling. Therefore, it is necessary to provide the thick annular portion 50 at the aforementioned thickness that can exhibit an appropriate sliding resistance.

本発明の防食コアは、コア本体25が装着工具24により分岐孔23に装着されたときに、肉厚環状部50が分岐孔22の外周縁部27に圧接シールされる。また、このとき、スカート部49が、分岐孔23と樹脂スリーブ34との間に挟着されて分岐孔23の切削面26に圧接シールされる。
また、コア本体25を装着する時、分岐孔23が正規の位置に穿孔されずに分水栓22の軸芯とずれた位置にあるとき、すなわち、保持スリーブ30が分岐孔23に対して芯ずれ状態にあるときには、肉厚環状部50の外周面51を分岐孔23の内周上端壁28近傍に圧接させて保持スリーブ30の落ち込みが防止される。
In the anticorrosion core of the present invention, when the core body 25 is mounted on the branch hole 23 by the mounting tool 24, the thick annular portion 50 is pressed and sealed to the outer peripheral edge portion 27 of the branch hole 22. At this time, the skirt portion 49 is sandwiched between the branch hole 23 and the resin sleeve 34 and is pressed and sealed to the cutting surface 26 of the branch hole 23.
Further, when the core body 25 is mounted, the branch hole 23 is not perforated at a normal position and is in a position shifted from the axis of the water faucet 22, that is, the holding sleeve 30 is centered with respect to the branch hole 23. When in the shifted state, the outer peripheral surface 51 of the thick annular portion 50 is pressed against the vicinity of the inner peripheral upper end wall 28 of the branch hole 23 to prevent the holding sleeve 30 from falling.

一方、上述の配管20は、本実施形態においては、単一材料によって形成されているが、内周面側にモルタルライニング層や樹脂ライニング層などの適宜のライニング層が施されていてもよい。また、図1に示すように、分水栓22は、支管を接続するための継手部22aを備えた分岐部22bと、配管20から支管へ分岐配管を行なうための前記止水機構21とを有している。止水機構21は、ボール弁体45と、ステム46と、ボールシート47と、ガスケット48とを有している。ボール弁体45は、内部に略T字型の貫通孔45aを有し、また、このボール弁体45にステム46が接続されている。ボールシート47は、ボール弁体45の両側に配設されてこのボール弁体45をシール状態で保持している。ガスケット48は、分水栓22を構成するサドル22cと配管20との間に装着され、これらをシールしている。   On the other hand, although the above-mentioned piping 20 is formed of a single material in the present embodiment, an appropriate lining layer such as a mortar lining layer or a resin lining layer may be provided on the inner peripheral surface side. As shown in FIG. 1, the water faucet 22 includes a branch portion 22 b provided with a joint portion 22 a for connecting a branch pipe, and the water stop mechanism 21 for performing a branch pipe from the pipe 20 to the branch pipe. Have. The water stop mechanism 21 includes a ball valve body 45, a stem 46, a ball seat 47, and a gasket 48. The ball valve body 45 has a substantially T-shaped through hole 45 a inside, and a stem 46 is connected to the ball valve body 45. The ball seat 47 is disposed on both sides of the ball valve body 45 and holds the ball valve body 45 in a sealed state. The gasket 48 is mounted between the saddle 22c constituting the water faucet 22 and the pipe 20, and seals them.

図1、図3に示したコア本体25が装着される装着工具24は、先端側から、突状係止部60、第1テーパ部61、第2テーパ部62、押圧部63を有している。突状係止部60は、仮組みしたコア本体25を取付ける際に、樹脂スリーブ34の先端側に形成された爪部64を係止してコア本体25全体を仮着させるためのものであり、第1テーパ部61、第2テーパ部62は、樹脂スリーブ34を鍔部36から先端にかけて順次拡径させて、剛性スリーブ33による挿入を円滑に行い得るように機能する。また、押圧部63は、これらよりも後部に環状に突設形成され、装着工具24を挿入したときに剛性スリーブ33のフランジ部44に当接してこのフランジ部44を押圧可能になっている。また、装着工具24の上部には、操作杆65が螺着により取付けられ、装着工具24は、この操作杆65により操作可能になっている。   The mounting tool 24 to which the core body 25 shown in FIGS. 1 and 3 is mounted has a projecting locking portion 60, a first taper portion 61, a second taper portion 62, and a pressing portion 63 from the tip side. Yes. The projecting locking portion 60 is for temporarily fixing the core body 25 by locking the claw portion 64 formed on the front end side of the resin sleeve 34 when the temporarily assembled core body 25 is attached. The first taper portion 61 and the second taper portion 62 function so that the resin sleeve 34 can be expanded in diameter from the flange portion 36 to the tip so that the insertion by the rigid sleeve 33 can be performed smoothly. Further, the pressing portion 63 is formed to project in an annular shape at the rear of the pressing portion 63 so as to abut against the flange portion 44 of the rigid sleeve 33 when the mounting tool 24 is inserted so that the flange portion 44 can be pressed. Further, an operating rod 65 is attached to the upper portion of the mounting tool 24 by screwing, and the mounting tool 24 can be operated by the operating rod 65.

続いて、上記した防食コアを仮組みする場合の手順を説明する。
コア本体25の仮組み時には、先ず、弾性スリーブ31が装着された樹脂スリーブ34の開口部34aより剛性スリーブ33を挿入し、この剛性スリーブ33の先端側を樹脂スリーブ34のテーパ段部38に当接させる。このとき、同時に樹脂スリーブ34の係止突部39が剛性スリーブ33の係止溝43に係止して仮組みされる。その際、剛性スリーブ33の小径部40の外周側が鍔部36内周側の略全周に渡って面接触するように保持されるので、樹脂スリーブ34と剛性スリーブ33とが確実に同芯上に保持された状態で、剛性スリーブ33の挿入が円滑に行われる状態に仮着される。この場合、樹脂スリーブ34と剛性スリーブ33との仮組みは、剛性スリーブ33の先端(下端)を樹脂スリーブ34の上端側から押し込むだけであるため作業が容易である。
このようにして、樹脂スリーブ34と剛性スリーブ33とが一体化して保持スリーブ30が設けられ、この保持スリーブ30と、弾性スリーブ31とによりコア本体25が構成される。
Then, the procedure in the case of temporarily assembling the above-described anticorrosion core will be described.
When the core body 25 is temporarily assembled, first, the rigid sleeve 33 is inserted from the opening 34 a of the resin sleeve 34 to which the elastic sleeve 31 is mounted, and the distal end side of the rigid sleeve 33 is brought into contact with the taper step portion 38 of the resin sleeve 34. Make contact. At this time, the locking protrusion 39 of the resin sleeve 34 is simultaneously locked and temporarily assembled in the locking groove 43 of the rigid sleeve 33. At that time, since the outer peripheral side of the small-diameter portion 40 of the rigid sleeve 33 is held so as to be in surface contact over substantially the entire inner periphery of the flange 36, the resin sleeve 34 and the rigid sleeve 33 are reliably concentric. The rigid sleeve 33 is temporarily attached in a state in which the rigid sleeve 33 is smoothly inserted. In this case, the temporary assembly of the resin sleeve 34 and the rigid sleeve 33 is easy because the tip (lower end) of the rigid sleeve 33 is simply pushed from the upper end side of the resin sleeve 34.
Thus, the resin sleeve 34 and the rigid sleeve 33 are integrated to provide the holding sleeve 30, and the core body 25 is configured by the holding sleeve 30 and the elastic sleeve 31.

続いて、仮組みが成されたコア本体25を、操作杆65が螺着された装着工具24に仮固定する。コア本体25を装着工具24の下方側より取付けると、樹脂スリーブ34の爪部64が突状係止部60に係止することで、装着工具24からのコア本体25の抜け落ちが防がれると共に、このコア本体25が水平状態を保つようになっている。装着工具24は、コア本体25が仮着された状態で分水栓22にアタッチメントアダプタ66を介して取付けられ、このとき、コア本体25が分岐孔23の装着位置に配設される。   Subsequently, the core body 25 that has been temporarily assembled is temporarily fixed to the mounting tool 24 to which the operation rod 65 is screwed. When the core body 25 is attached from the lower side of the mounting tool 24, the claw portion 64 of the resin sleeve 34 is locked to the projecting locking portion 60, thereby preventing the core body 25 from falling off from the mounting tool 24. The core body 25 is kept horizontal. The mounting tool 24 is attached to the water faucet 22 via the attachment adapter 66 with the core main body 25 temporarily attached. At this time, the core main body 25 is disposed at the mounting position of the branch hole 23.

次に、本発明における上記実施形態の分水栓用防食コアを分水栓・配管に装着する場合の装着手順並びに作用を説明する。図3においては、本発明の分水栓用防食コアを装着工具24に装着した状態を示している。装着工具24にコア本体25を装着する際は、樹脂スリーブ34先端の爪部64を突状係止部60に樹脂の弾性を利用して係止させ、ワンタッチで取付けできるようになっている。   Next, the installation procedure and operation when the anticorrosion core for a water faucet of the above embodiment of the present invention is attached to a water faucet / pipe will be described. In FIG. 3, the state which mounted | wore the mounting tool 24 with the anticorrosion core for water faucets of this invention is shown. When the core body 25 is mounted on the mounting tool 24, the claw portion 64 at the tip of the resin sleeve 34 is locked to the protruding locking portion 60 using the elasticity of the resin, and can be attached with one touch.

コア本体25を分岐孔23に装着する際において、先ず、保持スリーブ30(分水栓22)と分岐孔23とが同芯状態にある場合のコア本体25の装着の過程を述べる。図1において、図示しないハンドルを回し、配管20に設けた分岐孔23に装着工具24の操作杆65を挿入すると、樹脂スリーブ34の鍔部36の下面側が分岐孔23の外周縁部27に着座する。このとき、鍔部36の付け根部分を分岐孔23の内径とほぼ同径に設定していることにより、鍔部36の下端面が外周縁部27に掛かった状態になる。   When the core body 25 is mounted in the branch hole 23, first, the process of mounting the core body 25 when the holding sleeve 30 (water faucet 22) and the branch hole 23 are in the concentric state will be described. In FIG. 1, when a handle (not shown) is turned and the operation rod 65 of the mounting tool 24 is inserted into the branch hole 23 provided in the pipe 20, the lower surface side of the flange portion 36 of the resin sleeve 34 is seated on the outer peripheral edge portion 27 of the branch hole 23. To do. At this time, the base portion of the flange portion 36 is set to have substantially the same diameter as the inner diameter of the branch hole 23, so that the lower end surface of the flange portion 36 is engaged with the outer peripheral edge portion 27.

この状態から、続けて装着工具24を挿入すると、図4に示すように、装着工具24の突状係止部60と樹脂スリーブ34の爪部64との係合状態が解除され、装着工具24の押圧部63が剛性スリーブ33のフランジ部44に当接する。この段階から、剛性スリーブ33の樹脂スリーブ34への内挿が開始する。   When the mounting tool 24 is continuously inserted from this state, as shown in FIG. 4, the engagement state between the protruding locking portion 60 of the mounting tool 24 and the claw portion 64 of the resin sleeve 34 is released, and the mounting tool 24 The pressing portion 63 abuts on the flange portion 44 of the rigid sleeve 33. From this stage, the insertion of the rigid sleeve 33 into the resin sleeve 34 starts.

装着工具24を更に挿入すると、樹脂スリーブ34と剛性スリーブ33との仮組みが解除され、剛性スリーブ33の小径部40が樹脂スリーブ34の装着部35を拡径し、この装着部35の拡径により、図5において、弾性スリーブ33が分岐孔23の切削面26を覆い始める。このとき、肉厚環状部50は、分岐孔23の外周縁部27の外側に位置した状態で鍔部36により押圧されるため、この外周縁部27に密着シールして防食する。   When the mounting tool 24 is further inserted, the temporary assembly of the resin sleeve 34 and the rigid sleeve 33 is released, the small diameter portion 40 of the rigid sleeve 33 expands the mounting portion 35 of the resin sleeve 34, and the diameter of the mounting portion 35 increases. Accordingly, in FIG. 5, the elastic sleeve 33 starts to cover the cutting surface 26 of the branch hole 23. At this time, the thick annular portion 50 is pressed by the flange portion 36 in a state of being located outside the outer peripheral edge portion 27 of the branch hole 23, so that the outer peripheral edge portion 27 is tightly sealed to prevent corrosion.

図6において、装着工具24の挿入を続けると、剛性スリーブ33の小径部40が装着部の拡径を続けながら、大径部42が鍔部36を拡径する。そして、図7に示すように、剛性スリーブ33のフランジ部44が鍔部36の上端面36bに当接したときにコア本体25の装着が完了する。その際、装着工具24の挿入トルクが重くなることにより、作業者は、挿入の完了を手応えで感じることができる。   In FIG. 6, when the mounting tool 24 is continuously inserted, the large diameter portion 42 expands the flange portion 36 while the small diameter portion 40 of the rigid sleeve 33 continues to expand the mounting portion. Then, as shown in FIG. 7, the mounting of the core body 25 is completed when the flange portion 44 of the rigid sleeve 33 comes into contact with the upper end surface 36 b of the flange portion 36. At that time, since the insertion torque of the mounting tool 24 becomes heavy, the operator can feel the completion of the insertion with a quick response.

次いで、作業者は、図8に示すように、装着工具24を引き上げて、分水栓22を閉状態にして、装着工具24を取り外して作業を完了する。このように、弾性スリーブ31が、肉厚環状部50が分岐孔23の外周縁部27に圧接シールした状態で装着されたときには、スカート部49の外周面49aが分岐孔切削面26に密着シールし、また、鍔部36が分水栓22の内径に密着することで、長期に渡って防食性能を発揮し続けることが可能になる。   Next, as shown in FIG. 8, the operator pulls up the mounting tool 24, closes the water tap 22, removes the mounting tool 24, and completes the work. As described above, when the elastic sleeve 31 is mounted in a state where the thick annular portion 50 is pressed and sealed to the outer peripheral edge portion 27 of the branch hole 23, the outer peripheral surface 49 a of the skirt portion 49 is tightly sealed to the branch hole cutting surface 26. In addition, since the collar portion 36 is in close contact with the inner diameter of the water faucet 22, it becomes possible to continue exhibiting anticorrosion performance for a long period of time.

続いて、保持スリーブ30(分水栓22)と、分岐孔23とが芯ずれ状態にある場合について述べる。図9において、分水栓22、及び、装着工具24の中心軸Oに対して、分岐孔23の中心軸Oが距離wにおいてずれた状態になっている。
装着工具24の操作杆65を分岐孔23に挿入すると、この装着工具24により下降したコア本体25が分岐孔23の外周縁部27に着座する。このとき、分岐孔23が芯ずれ状態にあるため、この分岐孔23の一方側(例えば、図9における分岐孔23の右側)では肉厚環状部50が分岐孔23の外周縁部27に掛かった状態になり、また、他方側(例えば、図9における分岐孔23の左側)では肉厚環状部50が外周縁部27に掛かっていない状態となる。
Next, the case where the holding sleeve 30 (water faucet 22) and the branch hole 23 are in the misalignment state will be described. In FIG. 9, the central axis O 2 of the branch hole 23 is shifted at a distance w with respect to the central axis O 1 of the water faucet 22 and the mounting tool 24.
When the operating rod 65 of the mounting tool 24 is inserted into the branch hole 23, the core body 25 lowered by the mounting tool 24 is seated on the outer peripheral edge portion 27 of the branch hole 23. At this time, since the branch hole 23 is in a misalignment state, the thick annular portion 50 is hooked on the outer peripheral edge portion 27 of the branch hole 23 on one side of the branch hole 23 (for example, the right side of the branch hole 23 in FIG. 9). In addition, the thick annular portion 50 is not hung on the outer peripheral edge 27 on the other side (for example, the left side of the branch hole 23 in FIG. 9).

ただし、この場合、図12に示すように、外周縁部27は、配管20の円弧面に形成されているため、この配管20の管頂部における点Pでは肉厚環状部50が接しやすく、また、管頂部から90°の位置の点Qでは肉厚環状部50が接し難くなっている。そして、この点Pから点Qまでの区間では、配管20の外周が緩やかな曲面になっていることにより、肉厚環状部50は外周縁部27に掛かった状態から次第に離れた状態になっている。そのため、分岐孔23が芯ずれ状態にあっても、外周縁部27に掛からない側の肉厚環状部50全体が外周縁部27から浮くことはない。なお、便宜上、図1においても、点Pと点Qの位置を示している。また、図1においては、サドル付分水栓の説明上、肉厚環状部50が点Qまで接した状態を示しており、図4〜図8においても同様に図示している。図9、図10は、肉厚環状部50が点Pに接した状態を示している。   However, in this case, as shown in FIG. 12, the outer peripheral edge 27 is formed on the circular arc surface of the pipe 20, so that the thick annular portion 50 is easily in contact with the point P at the top of the pipe 20. The thick annular portion 50 is difficult to contact at the point Q at a position 90 ° from the top of the tube. And in the section from this point P to the point Q, the outer periphery of the pipe 20 is a gently curved surface, so that the thick annular portion 50 is gradually separated from the state of hanging on the outer peripheral edge portion 27. Yes. Therefore, even if the branch hole 23 is in the misalignment state, the entire thick annular portion 50 on the side that does not hook the outer peripheral edge 27 does not float from the outer peripheral edge 27. For convenience, the positions of the points P and Q are also shown in FIG. Moreover, in FIG. 1, the thickness annular part 50 has shown the state which contact | connected to the point Q on description of the water faucet with a saddle, and it shows in figure similarly in FIGS. 9 and 10 show a state where the thick annular portion 50 is in contact with the point P. FIG.

図10は、図9の状態から装着工具24を下降させて剛性スリーブ33を樹脂スリーブ34に内挿させ、剛性スリーブ33の大径部42により鍔部36を拡径した状態を示している。この場合、外周縁部27に掛かった側の肉厚環状部50は、剛性スリーブ33の内挿により下方向に圧縮され、外周縁部27に対してこの肉厚環状部50と、鍔部36下面36aとが強固に掛かった状態となる。これにより、肉厚環状部50の下端面52が外周縁部27を防食する。一方、外周縁部27に掛かっていない側の肉厚環状部50は、剛性スリーブ33の内挿によりやや落ち込んだ状態になり、更に、剛性スリーブ33の小径部40が装着部35を拡径したときに、分岐孔23の切削面26と装着部35との間に肉厚環状部50が圧縮されて、この肉厚環状部50の外周面51が分岐孔23の内周上端壁28近傍に圧接した状態になる。その結果、この接触部分の摺動抵抗が上がって、肉厚環状部50が分岐孔23から落ち込むことが防がれる、いわゆる、ブレーキ(滑り止め)効果が発揮される。   FIG. 10 shows a state where the mounting tool 24 is lowered from the state of FIG. 9, the rigid sleeve 33 is inserted into the resin sleeve 34, and the flange portion 36 is expanded by the large diameter portion 42 of the rigid sleeve 33. In this case, the thick annular portion 50 on the side of the outer peripheral edge portion 27 is compressed downward by the insertion of the rigid sleeve 33, and the thick annular portion 50 and the flange portion 36 with respect to the outer peripheral edge portion 27. The bottom surface 36a is firmly attached. Thereby, the lower end surface 52 of the thick annular portion 50 protects the outer peripheral edge portion 27 from corrosion. On the other hand, the thick annular portion 50 on the side not hanging on the outer peripheral edge portion 27 is slightly depressed by the insertion of the rigid sleeve 33, and the small diameter portion 40 of the rigid sleeve 33 expands the mounting portion 35. Sometimes, the thick annular portion 50 is compressed between the cutting surface 26 of the branch hole 23 and the mounting portion 35, and the outer peripheral surface 51 of the thick annular portion 50 is near the inner peripheral upper end wall 28 of the branch hole 23. It will be in the state of pressure contact. As a result, the sliding resistance of the contact portion is increased, and a so-called brake (anti-slip) effect that prevents the thick annular portion 50 from falling from the branch hole 23 is exhibited.

更に、この状態から装着工具24の挿入を更に続けた場合には、鍔部36の落ち込みを防ぎつつ芯ずれ状態の分岐孔23にコア本体25を挿入でき、前述した保持スリーブ30と分岐孔23とが同芯の場合と同様に、剛性スリーブ33のフランジ部44が鍔部36に当接したときに装着工具24の挿入トルクが重くなるため、作業者は、挿入の完了をこの挿入トルクの増加より感じることが可能となる。続いて、図11に示すように、作業者が装着工具24を引き上げて、分水栓22を閉状態にして、装着工具24を取り外すことによってコア本体25の装着作業が完了する。   Furthermore, when the insertion of the mounting tool 24 is further continued from this state, the core body 25 can be inserted into the branch hole 23 in the misalignment state while preventing the collar portion 36 from falling, and the holding sleeve 30 and the branch hole 23 described above can be inserted. Since the insertion torque of the mounting tool 24 becomes heavy when the flange portion 44 of the rigid sleeve 33 comes into contact with the flange portion 36 as in the case of the concentric cores, the operator can complete the insertion with the insertion torque. It becomes possible to feel more than the increase. Subsequently, as shown in FIG. 11, the operator pulls up the mounting tool 24, closes the water faucet 22, and removes the mounting tool 24 to complete the mounting operation of the core body 25.

この場合、図11において、肉厚環状部50が外周縁部27に掛かっていなかった部分、すなわち、図における外周縁部27の左側付近では、上記したようにこの肉厚環状部50が切削面26において圧縮された状態になっているが、この部分においては、肉厚環状部50が圧縮された分、切削面26により強く密着シールして、長期に渡って防食機能を発揮し続けることが可能になる。   In this case, in FIG. 11, in the portion where the thick annular portion 50 is not hung on the outer peripheral edge portion 27, that is, in the vicinity of the left side of the outer peripheral edge portion 27 in the figure, the thick annular portion 50 is cut as described above. In this portion, the thick annular portion 50 is compressed, and the cutting surface 26 is tightly sealed to continue to exhibit the anticorrosion function for a long time. It becomes possible.

また、肉厚環状部50の下端面52の角度θが外周面51に対して90°よりも大きく、下端面52に水平部分が無い場合には、上方から押圧力が加わったときに、その傾斜角によって肉厚環状部50は分岐孔23に引き込まれるような力が加わって落ち込みやすくなる。そのため、前述したように、下端面52の角度θは、外周面51に対して90°以下とすることが望ましく、この場合、例えば、角度θを小さくして下端面52の内径側がえぐれた形状になったとしても、90°の場合と同様の機能を発揮することができる。   Further, when the angle θ of the lower end surface 52 of the thick annular portion 50 is larger than 90 ° with respect to the outer peripheral surface 51, and there is no horizontal portion on the lower end surface 52, when a pressing force is applied from above, Due to the inclination angle, the thick annular portion 50 is easily depressed due to a force applied to the branch hole 23. Therefore, as described above, the angle θ of the lower end surface 52 is desirably 90 ° or less with respect to the outer peripheral surface 51. In this case, for example, the shape in which the inner diameter side of the lower end surface 52 is hollowed out by reducing the angle θ. Even if it becomes, it can exhibit the function similar to the case of 90 degrees.

一方、下端面52と外周面51との境界にアール面やC面を形成した場合にも、これらにより上記と同様にして肉厚環状部が落ち込みやすくなる。このため、下端面52と外周面51との間は、可能な限り尖鋭な状態に形成されていることが望ましい。   On the other hand, even when a rounded surface or a C surface is formed at the boundary between the lower end surface 52 and the outer peripheral surface 51, the thick annular portion is likely to drop in the same manner as described above. For this reason, it is desirable that the lower end surface 52 and the outer peripheral surface 51 be formed as sharp as possible.

また、肉厚環状部50が鍔部36の外周面側まで延設されている場合、例えば、鍔部36の外周面上方まで延設されている場合には、肉厚環状部が延設された分、鍔部36の内径が小さくなって強度が低下し、分岐孔に落ち込む可能性がある。このため、肉厚環状部50は、外周面51と、下端面52と、上端面53とを有する断面略矩形状であり、上端面53が鍔部36の下面36aに配置された状態で装着されることが好ましい。   Moreover, when the thick annular part 50 is extended to the outer peripheral surface side of the collar part 36, for example, when it is extended to the upper outer peripheral surface of the collar part 36, the thick annular part is extended. Therefore, there is a possibility that the inner diameter of the flange portion 36 is reduced, the strength is lowered, and falls into the branch hole. For this reason, the thick annular portion 50 has a substantially rectangular cross section having an outer peripheral surface 51, a lower end surface 52, and an upper end surface 53, and is mounted in a state where the upper end surface 53 is disposed on the lower surface 36 a of the flange portion 36. It is preferred that

なお、前述した実施形態は、あくまでも本発明における分水栓用防食コアの一例であり、本発明の防食コアは、前記実施形態以外の様々な形態に設けることができる。   In addition, embodiment mentioned above is an example of the anti-corrosion core for water faucets in this invention to the last, and the anti-corrosion core of this invention can be provided in various forms other than the said embodiment.

20 配管
23 分岐孔
25 コア本体
27 外周縁部
28 内周上端壁
30 保持スリーブ
30a 外周面
31 弾性スリーブ
33 剛性スリーブ
33a 外周面
34 樹脂スリーブ
36 鍔部
36a 下面
50 肉厚環状部
51 外周面
52 下端面
54 角部
θ 角度
20 piping 23 branch hole 25 core main body 27 outer peripheral edge 28 inner peripheral upper end wall 30 holding sleeve 30a outer peripheral surface 31 elastic sleeve 33 rigid sleeve 33a outer peripheral surface 34 resin sleeve 36 flange 36a lower surface 50 thick annular portion 51 outer peripheral surface 52 lower End face 54 Corner θ angle

Claims (5)

配管の分岐孔に装着し、かつ、保持スリーブの外周面に装着した弾性スリーブを有する防食コアであって、前記保持スリーブに設けた鍔部の下面に前記弾性スリーブに形成した肉厚環状部を位置させて、この肉厚環状部を前記分岐孔の外周縁部に圧接シールさせると共に、前記保持スリーブが前記分岐孔に対して芯ずれ状態にあるとき、前記肉厚環状部の外周面を前記分岐孔の内周上端壁近傍に圧接させて前記保持スリーブの落ち込みを防止するようにしたことを特徴とする分水栓用防食コア。   An anticorrosion core having an elastic sleeve attached to the branch hole of the pipe and attached to the outer peripheral surface of the holding sleeve, wherein a thick annular portion formed on the elastic sleeve is formed on the lower surface of the flange provided on the holding sleeve. The thick annular portion is pressed and sealed to the outer peripheral edge of the branch hole, and the outer peripheral surface of the thick annular portion is positioned when the holding sleeve is misaligned with respect to the branch hole. An anticorrosion core for a water faucet, wherein the retaining sleeve is prevented from falling by being pressed against the vicinity of the inner peripheral upper end wall of the branch hole. 前記保持スリーブは、剛性スリーブと、この剛性スリーブの外周面に装着した樹脂スリーブとからなり、前記弾性スリーブの肉厚環状部を前記樹脂スリーブに形成した鍔部の下面に位置させた請求項1に記載の分水栓用防食コア。   The holding sleeve includes a rigid sleeve and a resin sleeve mounted on an outer peripheral surface of the rigid sleeve, and a thick annular portion of the elastic sleeve is positioned on a lower surface of a collar portion formed on the resin sleeve. The anticorrosion core for water faucets as described in 1. 前記弾性スリーブは、ゴムスリーブである請求項1又は2に記載の分水栓用防食コア。   The anticorrosion core for a water faucet according to claim 1 or 2, wherein the elastic sleeve is a rubber sleeve. 前記肉厚環状部の下端面の角度を、前記外周面に対して90°以下に設けた請求項1乃至3の何れか1項に記載の分水栓用防食コア。   The anticorrosion core for a water faucet according to any one of claims 1 to 3, wherein an angle of a lower end surface of the thick annular portion is provided to be 90 ° or less with respect to the outer peripheral surface. 前記下端面と外周面との境界に角部を設けた請求項1乃至4の何れか1項に記載の分水栓用防食コア。   The anticorrosion core for water faucets of any one of Claims 1 thru | or 4 which provided the corner | angular part in the boundary of the said lower end surface and an outer peripheral surface.
JP2009062897A 2009-03-16 2009-03-16 Corrosion-proof core for snap tap Pending JP2010216548A (en)

Priority Applications (1)

Application Number Priority Date Filing Date Title
JP2009062897A JP2010216548A (en) 2009-03-16 2009-03-16 Corrosion-proof core for snap tap

Applications Claiming Priority (1)

Application Number Priority Date Filing Date Title
JP2009062897A JP2010216548A (en) 2009-03-16 2009-03-16 Corrosion-proof core for snap tap

Publications (1)

Publication Number Publication Date
JP2010216548A true JP2010216548A (en) 2010-09-30

Family

ID=42975610

Family Applications (1)

Application Number Title Priority Date Filing Date
JP2009062897A Pending JP2010216548A (en) 2009-03-16 2009-03-16 Corrosion-proof core for snap tap

Country Status (1)

Country Link
JP (1) JP2010216548A (en)

Cited By (5)

* Cited by examiner, † Cited by third party
Publication number Priority date Publication date Assignee Title
JP2013194866A (en) * 2012-03-21 2013-09-30 Cosmo Koki Co Ltd Corrosion-proof core
JP2014081003A (en) * 2012-10-15 2014-05-08 Maezawa Kyuso Industries Co Ltd Snap tap contact core and installing method
JP2014199074A (en) * 2013-03-29 2014-10-23 株式会社水道技術開発機構 Anticorrosive core fitting tool and method for fitting anticorrosive core
CN104975632A (en) * 2014-04-11 2015-10-14 德胜(苏州)洋楼有限公司 Water supply control equipment for single-family house
JP2019116911A (en) * 2017-12-26 2019-07-18 株式会社タブチ Water supply pipe corrosion proof kit, corrosion proof sleeve and installing jig for corrosion proof sleeve

Cited By (6)

* Cited by examiner, † Cited by third party
Publication number Priority date Publication date Assignee Title
JP2013194866A (en) * 2012-03-21 2013-09-30 Cosmo Koki Co Ltd Corrosion-proof core
JP2014081003A (en) * 2012-10-15 2014-05-08 Maezawa Kyuso Industries Co Ltd Snap tap contact core and installing method
JP2014199074A (en) * 2013-03-29 2014-10-23 株式会社水道技術開発機構 Anticorrosive core fitting tool and method for fitting anticorrosive core
CN104975632A (en) * 2014-04-11 2015-10-14 德胜(苏州)洋楼有限公司 Water supply control equipment for single-family house
JP2019116911A (en) * 2017-12-26 2019-07-18 株式会社タブチ Water supply pipe corrosion proof kit, corrosion proof sleeve and installing jig for corrosion proof sleeve
JP7129078B2 (en) 2017-12-26 2022-09-01 株式会社タブチ Installation jig for water pipe anti-corrosion kit and anti-corrosion sleeve

Similar Documents

Publication Publication Date Title
JP2010216548A (en) Corrosion-proof core for snap tap
EP3037708A1 (en) Joint for high-pressure pipes and joint structure
JP5631709B2 (en) Pipe fitting
JP5019971B2 (en) Pipe fitting
JP2010096305A (en) Pipe coupling structure
JP4531479B2 (en) Anticorrosion sleeve
JP2015068448A (en) Drain pipe connection structure
JP4933340B2 (en) Anticorrosion sleeve
JP2005351428A (en) Corrosion prevention structure of pipe end face
JP4276014B2 (en) Faucet
JP4845536B2 (en) Anti-corrosion structure of pipe end face
JP6285204B2 (en) Gate valve device
JP4903525B2 (en) Water faucet with anti-corrosion sleeve and saddle
JP3813294B2 (en) Attaching the anti-corrosion sleeve
JP4610963B2 (en) Temporary assembly structure of anti-corrosion sleeve
JP4347299B2 (en) Anti-corrosion sleeve for tool mounting
JP4361260B2 (en) Anti-corrosion sleeve
JP2009144785A (en) Pipe fitting for faucet
US8003181B2 (en) Anticorrosion sleeve
JP4458934B2 (en) Anti-corrosion structure of pipe end face
JP3156347U (en) Flexible joint with water hammer preventer
JP5723160B2 (en) Rust prevention member
JP5452198B2 (en) S trap or P trap breakage prevention structure
KR20050120613A (en) Built in type connecting pipe for rest raining
JPH10306895A (en) Snap tap with saddle