JP2010209590A - スレート屋根用足場板 - Google Patents

スレート屋根用足場板 Download PDF

Info

Publication number
JP2010209590A
JP2010209590A JP2009057021A JP2009057021A JP2010209590A JP 2010209590 A JP2010209590 A JP 2010209590A JP 2009057021 A JP2009057021 A JP 2009057021A JP 2009057021 A JP2009057021 A JP 2009057021A JP 2010209590 A JP2010209590 A JP 2010209590A
Authority
JP
Japan
Prior art keywords
scaffold
slate
slate roof
roof
plate
Prior art date
Legal status (The legal status is an assumption and is not a legal conclusion. Google has not performed a legal analysis and makes no representation as to the accuracy of the status listed.)
Granted
Application number
JP2009057021A
Other languages
English (en)
Other versions
JP5378014B2 (ja
Inventor
Isao Kobayashi
功 小林
Katsukiyo Shimomura
勝清 下村
Hiroyuki Takagi
裕幸 高木
Current Assignee (The listed assignees may be inaccurate. Google has not performed a legal analysis and makes no representation or warranty as to the accuracy of the list.)
KASHIWABARA Corp KK
Original Assignee
KASHIWABARA Corp KK
Priority date (The priority date is an assumption and is not a legal conclusion. Google has not performed a legal analysis and makes no representation as to the accuracy of the date listed.)
Filing date
Publication date
Application filed by KASHIWABARA Corp KK filed Critical KASHIWABARA Corp KK
Priority to JP2009057021A priority Critical patent/JP5378014B2/ja
Publication of JP2010209590A publication Critical patent/JP2010209590A/ja
Application granted granted Critical
Publication of JP5378014B2 publication Critical patent/JP5378014B2/ja
Active legal-status Critical Current
Anticipated expiration legal-status Critical

Links

Images

Landscapes

  • Roof Covering Using Slabs Or Stiff Sheets (AREA)

Abstract

【課題】作業者がスレート屋根で作業し易くすることで作業効率を向上させる。
【解決手段】スレートSで葺かれたスレート屋根Rに足場を形成するスレート屋根用足場板1において、作業者が歩くための足場形成部2と、足場形成部2の下側に設けられ、スレート屋根R上に載置されるベース部3とが備えられている。ベース部3は、足場形成部2の傾斜角度がスレート屋根Rの傾斜角度よりも小さい値となるように足場形成部2の傾斜角度を設定する。
【選択図】図1

Description

本発明は、スレート屋根の足場板に関し、特に、スレート屋根の補修、塗装、点検、清掃等の作業性を向上させるスレート屋根用足場板に関する。
従来より、工場、倉庫、駅のプラットフォームの上屋等の屋根は、スレートによって葺かれたスレート屋根で構成されることが多い。このようなスレートが葺かれた屋根上では、スレートの取り替え工事や、屋根及び樋の点検・清掃、塗装等のために、作業者が屋根上を歩行する必要があり、このときに特許文献1に開示されているようにスレート屋根用足場板が用いられている。
特開2007−239415号公報
ところで、工事等に必要な工具や屋根の修理に必要な重い部材等を作業者がスレート屋根上で持って歩く場合や、強い風が吹く状況下で作業しなければならない場合において、特許文献1の足場板は、スレート屋根に載置するとスレート屋根の傾斜角度と同じだけ傾くので、作業者はスレート屋根の上で作業をする際にバランスを崩し易い。したがって、作業者はスレート屋根の上において作業がし難く、作業効率が低下してしまう。
本発明は斯かる点に鑑みてなされたものであり、スレート屋根において作業者が作業し易くすることで作業効率を向上させることにある。
上記目的を達成するために、第1の発明では、スレートで葺かれたスレート屋根に足場を形成するスレート屋根用足場板であって、作業者が歩くための足場形成部と、上記足場形成部の下側に設けられ、スレート屋根に載置されるベース部とを備え、上記ベース部は、上記足場形成部の傾斜角度がスレート屋根の傾斜角度よりも小さい値となるように該足場形成部の傾斜角度を設定し、又は、該足場形成部を水平とするように形成されている構成とした。
この構成によれば、作業者がスレート屋根の上でバランスを崩しにくくなる。
第2の発明では、第1の発明において、ベース部には、スレート屋根の波形状に対応して延びる波形状部が形成され、上記波形状部には、下方に突出する部分において、上記スレート屋根の傾きに沿う方向に貫通する貫通孔が形成されている構成とした。
この構成によれば、雨が降った際、スレート屋根の上を足場板の上方から流れる雨水が、貫通孔を通過して足場板の下方へ流れて排水されるので、足場板によってスレート屋根の上にせき止められて溜まらなくなる。
第3の発明では、第2の発明において、波形状部の下方に突出する先端部分には貫通孔と連通する切り欠き部が形成されている構成とした。
この構成によれば、貫通孔を流れる雨水が切り欠き部によって貫通孔の外へ排水され、貫通孔内に溜まりにくくなる。
第4の発明では、第1から3のいずれか1つの発明において、ベース部が非通電性の材質で形成されている構成とした。
この構成によれば、電流が通らない足場板となる。
第5の発明では、第1から4のいずれか1つの発明において、ベース部が独立気泡の発泡材で形成されている構成とした。
この構成によれば、雨水を吸収しにくくなるとともに内部に埃が入り込みにくい足場板となる。
第6の発明によれば、第1から5のいずれか1つの発明において、ベース部がクッション材で構成され、足場形成部が上記ベース部よりも固い材質である構成とした。
この構成によれば、作業者が足場板上で作業をする際に、クッション材は柔らかいのでスレート屋根に沿うように変形し、ベース部とスレート屋根との接触面が広くなる。したがって、足場板上で作業する作業者の荷重がスレート屋根に分散するようになる。また、足場形成部がベース部よりも固い材質からなるので作業者が足場形成部の上を歩いても折れ曲がらずに作業し易くなる。
第1の発明によれば、作業者はスレート屋根上で作業し易くなり、作業者の作業効率を高めることができる。
第2の発明によれば、スレート屋根の上を流れる雨水が貫通孔を通過して足場板よりも下方へ流れるので、足場板によってスレート屋根の上に雨水が溜まるのを抑止できる。したがって、雨天時において、スレート屋根の上に載置した足場板が雨水によって流されてしまうのを防止することができる。
第3の発明によれば、切り欠き部によって貫通孔内に雨水が溜まりにくくなるので、雨水によって足場板の重量は重くなりにくく、作業者は足場板を容易に搬送できる。
第4の発明によれば、足場板は電流を通さないので、仮にスレート屋根に落雷があった場合でも、足場板上で作業する作業者の感電を防止することができる。
第5の発明によれば、雨天時や埃が多い場所での作業でも足場板の重量は重くなりにくく、作業者は足場板を容易に搬送できる。また、足場板の内部にまで埃が入らないので足場板の劣化を防止でき、耐久性を向上させることができる。
第6の発明によれば、クッション材によってスレート屋根に作業者の荷重が局部的に集中しないようにし、作業者によるスレート屋根の破損を防ぐことができる。また、足場形成部によってスレート屋根の上において作業者が作業し易くなるので作業効率をより一層高めることができる。
以下、本発明の実施形態を図面に基づいて詳細に説明する。尚、以下の好ましい実施形態の説明は、本質的に例示に過ぎず、本発明、その適用物或いはその用途を制限することを意図するものではない。
図1は、本発明のスレート屋根用足場板1をスレート屋根Rの上に載置した状態を示す。上記スレート屋根用足場板1は、スレート屋根Rの上で作業者の足場を形成する板状の足場形成部2と、該足場形成部2の下方に一体に接合されるベース部3とから構成されている。
スレート屋根用足場板1の構造を説明する前に、スレート屋根Rの構造について説明する。スレート屋根Rは、図6に示すように、母屋を構成する鉄骨構造体の骨材Frと、骨材Frの上部に配置されるスレートSと、スレートSを骨材Frに取り付けるためのボルトBo及びナットNuとを備えている。骨材Frは、所定の間隔をあけて複数配置されている。ボルトBoの基部には、骨材Frに引っ掛かる鈎部が形成されている。ボルトBoは、この鈎部からスレートSを貫通する方向に真っ直ぐに延びており、先端部がスレートSを貫通してスレートSの上面から突出している。ボルトBoの先端部には、ナットNuが螺合している。
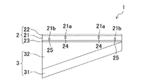
図1に示すように、足場形成部2はスレートSの波形状が連続する方向に沿って延びる板形状をなしている。上記足場形成部2は、図2に示すように、平面視で長方形をなしており、長手方向の寸法は約1200mmに設定され、幅方向の寸法は約300mmに設定されている。足場形成部2は、図4に示すように、中央材21と、該中央材21を上下方向に挟むように形成された板状の上側材22及び下側材23と、足場形成部2を補強する上側補強リブ24と下側補強リブ25とから構成されており、作業者が工具等の重い物を持ちながら足場形成部2の上を歩いても折れ曲がらずに作業がし易くなるようになっている。
上記中央材21は、例えば、建築材に用いられる押出ポリスチレン等の発泡材からなるものであり、図4に示すように、中央材21の上面から下方に窪んで長手方向に真っ直ぐ延びる上側凹溝部21aが、幅方向中央を中心として対称に一対形成されている。また、上記中央材21は、該中央材21の下面から上方に窪んで長手方向に真っ直ぐ延びる下側凹溝部21bが、幅方向中央を中心として対称に一対形成されている。そして、上記下側凹溝部21bの各々は、上側凹溝部21aよりも幅方向外方に位置している。また、上記中央材21には、図6に示すように、幅方向略中央においてスレートS面に対して直交する方向に貫通し、長手方向に延びる貫通孔21cが長手方向に3カ所形成されている。すなわち、貫通孔21cはボルトBoの中心軸方向に貫通している。
上側材22及び下側材23は、例えば、繊維強化プラスチック(FRP)等からなるものであり、図1に示すように、平板の形状をなし、中央材21の上面及び下面に沿って延びている。図示しないが上側材22の上面には、作業者のスリップ防止のため、砂を散りばめて接着させた薄い層が形成されている。上側補強リブ24及び下側補強リブ25は、例えば、繊維強化プラスチック等からなる平板状の補強材である。上側補強リブ24は、中央材21に形成された上側凹溝部21aに嵌り込むようになっており、下側補強リブ25は、下側凹溝部21bに嵌り込むようになっている。上記上側材22及び下側材23には、中央材21の貫通孔21cに対応するようにそれぞれ貫通孔22c及び貫通孔23cが形成されている。そして、中央材21の上側凹溝部21aに上側補強リブ24を嵌め込むとともに中央材21の下側凹溝部21bに下側補強リブ25を嵌め込み、上側材22を中央材21の上面に接着剤等で接着し、下側材23を中央材21の下面に接着剤等で接着する。これにより、中央材21と、上側材22と、下側材23と、上側補強リブ24と、下側補強リブ25とが一体化され、足場形成部2が形成されるようになっている。
図1に示すように、上記ベース部3は、発泡ポリエチレン等の独立気泡の発泡材で形成されたクッション材であり、スレートSの波形状に対応して延びる波形状部31と、該波形状部31の上方に位置し、上面が足場形成部2と接着される本体部32とを備えている。ここで独立気泡とは、発泡材中に独立した気泡を多数有するもののことを言い、吸水性が極めて小さく、衝撃吸収性、加工性、浮揚性に優れているのを特徴としている。例えば、JSP社製のミラプランク−E(登録商標)を用いるのが適している。上記ベース部3では発泡倍率が15倍の発泡材を使用している。図6に示すように、ベース部3には、足場形成部2の貫通孔21c、22c、23cに対応する位置にスレートS面に対して直交する方向に貫通する貫通孔3cが形成されている。すなわち、貫通孔3cはボルトBoの中心軸方向に貫通している。そして、足場形成部2とベース部3とが接合されると、足場形成部2の貫通孔21c、22c、23cと、ベース部3の貫通孔3cとによって、ボルトBoの中心軸方向に貫通する貫通孔1aが形成されるようになっている。上記足場板1をスレート屋根Rに載置する際に、スレート屋根RにおけるボルトBo及びナットNuが貫通孔1a内となるように載置することで足場板1のベース部3とボルトBo及びナットNuとの接触を避けることができるようになっている。
波形状部31は、足場板1をスレートS上に載置した状態で、下面の略全体がスレートSに接触するような形状となっている。この波形状部31の下方に突出する部分には、スレート屋根Rの傾きに沿う方向に貫通する貫通孔31aが形成されている。この貫通孔31aの断面形状は、スレート屋根Rの波形状に沿う方向の幅が突出方向先端に行くにしたがって狭くなるように略三角形となっている。さらに、波形状部31の下方に突出する先端部分には、上記貫通孔31aにスレート屋根Rの傾きに沿う方向全体に亘って連通する直線状の切り欠き部31bが形成されている。上記貫通孔31aと切り欠き部31bとは切り抜きにより形成されている。上記貫通孔31aと切り欠き部31bとは以下のように形成される。まず、ベース部3が溶ける程度となるまで発熱させた電熱線を用い、上記波形状部31の下方に突出する先端部分から電熱線を波形状部31内に切り込ませる。そして、貫通孔31a及び切り欠き部31bの形状に対応するように電熱線を動かすと、電熱線の軌跡の内側部分が他の部分から分離される。この分離した部分を取り除くことで貫通孔31a及び切り欠き部31bが得られるようになっている。上記貫通孔31a及び切り欠き部31bを形成することによって波形状部31は柔らかくなるので、スレート屋根Rの上に載置された足場板1上で作業者が作業する際に、波形状部31はスレート屋根Rの波形状に沿って変形し易くなる。また、貫通孔31aを設けることによって作業者は貫通孔31a内に指を入れることができるようになり、これにより足場形成部2を掴み易くなるので、足場板1の搬送が容易となるようになっている。
図4に示すように、本実施形態では、スレート屋根Rの傾斜角度約16.7度に対して足場形成部2が水平となるように本体部32の断面形状を設定している。すなわち、本体部32は、スレートSの波形状が連続する方向に沿って延びており、その断面形状は、スレート屋根Rの上側に位置する高さ寸法が下側に位置する高さ寸法より短くなるようにすることで、足場形成部2が水平となるようになっている。つまり、本体部32の断面形状を変えることによって足場形成部2の傾斜角度をスレート屋根Rの傾斜角度よりも小さい値とすることができるようになっている。
尚、波形状部31の下面は、スレートSの波形状と全く同じ形状でなくてもよく、対応していればよい。すなわち、足場形成部2に作業者が上がった時に、ベース部3の波形状部31がスレートSに対して面接触するように変形することで作業者の荷重が局部的に作用しないようにすればよい。したがって、例えば、スレート屋根Rの上に足場板1を載置した状態で波形状部31の突出部分の高さが、スレートSの窪んだ部分の深さと異なっていてもよく、また、波形状部31に細かな凹凸や溝が形成されていてもよい。
また、ベース部3はスレートSと同系色の灰色のものを用いるのが好ましい。塗装により着色してもよいし、灰色の発泡材を用いて製作してもよい。
また、ベース部3は、独立気泡の発泡材で、比重が1未満であるので水よりも軽い。したがって、足場板1は水に浮くぐらいに軽量であり、作業者が持ち運び易いものとなっている。
次に、上記のように構成された足場板1をスレート屋根Rの上に載置する場合について説明する。足場板1をスレート屋根Rの上に載置するとき、足場板1の貫通孔1a内にスレート屋根RにおけるボルトBo及びナットNuが位置するようにする。するとベース部3とボルトBo及びナットNuとが接触せずに足場板1を載置することができる。このとき、ベース部3の本体部32によってスレート屋根Rの上で足場形成部2が水平となる。つまり、足場形成部2の傾斜角度がゼロとなる。したがって、作業者はスレート屋根R上でバランスを崩しにくくなるので作業がし易くなり、作業者の作業効率を高めることができる。また、貫通孔1aがボルトBoの中心軸の延長線上に位置することになるので、ナットNuを締めたり緩めたりする際には、工具を貫通孔1aの上方から貫通孔1a内へ差し込んでいくだけで工具が貫通孔1aの内面でスムーズに案内されながらナットNuまで到達するようになる。これにより、ナットNuを締めたり緩めたりする作業の作業性が向上する。
上記足場板1上に作業者が上がると、作業者の荷重によりベース部3がスレートSに押さえ付けられる。これにより、スレートSの表面に凹凸等があっても、ベース部3の波形状部31の下面がスレートSの表面の形状に沿うように変形し、波形状部31の下面の広い範囲がスレートSの表面に密着する。したがって、作業者の荷重が局部的に作用しなくなるとともに足場板1の滑りが抑制される。加えて、例えば、足場板1がスレート屋根Rの傾斜方向に移動しようとしたとき、ボルトBo及びナットNuが貫通孔3c内に位置していることにより、足場板1の移動がボルトBo及びナットNuによって阻止される。
以上説明したように、本発明にかかるスレート屋根用足場板1によれば、足場板1をスレート屋根R上に載置した際に、ベース部3によって足場形成部2が水平となる。したがって、作業者はスレート屋根R上でバランスを崩しにくくなって作業がし易くなり、作業者の作業効率を高めることができる。尚、足場形成部2は水平でなくてもよく、スレート屋根Rの傾斜角度約16.7度よりも小さくて、以下に示すように所定の角度傾斜するものでもよい。上記所定の角度は、5度以内であるのが好ましい。これは、実際に足場板1をスレート屋根R上に截置して複数の作業者により実験した結果、傾斜角度が5度よりも大きいと作業者が傾きがあることを感じてバランスを取りにくいという結果を得られたことから設定した数値であり、より好ましくは傾斜角度が3度以内となる場合である。
また、ベース部3の波形状部31には、下方に突出する部分においてスレートSに沿う方向に延びる貫通孔31aが形成されているので、雨が降ってもスレート屋根R上を足場板1の上方から流れる雨水が貫通孔31aを通過して足場板1の下方に流れるようになる。したがって、足場板1によってスレート屋根R上に雨水が溜まるのを抑止でき、雨水によって足場板1が流されてしまうのを防止できる。
また、波形状部31の下方に突出する先端部分には貫通孔31aに連通する切り欠き部31bが形成されているので、切り欠き部31bによって雨水が貫通孔31aから排水され、貫通孔31a内に雨水が溜まりにくくなる。したがって、雨水によって足場板1が重くなりにくく、作業者は容易に足場板1を搬送できる。
また、足場形成部2は押出ポリスチレン及びFRPで形成され、ベース部3は発泡ポリエチレンで形成されているので、足場板1は電流を通さない。したがって、仮にスレート屋根Rに落雷があった場合でも、足場板1上で作業する作業者の感電を防止することができる。また、足場板1には金属部分が設けられていないので、雨水によって濡れても錆の発生による劣化は生じない。
また、ベース部3は独立気泡の発泡ポリエチレンで形成されているので、雨水を吸収しにくくなるとともに内部に埃が入り込みにくくなる。したがって、雨天時や埃が多い場所の作業においても足場板1は重くなりにくく、作業者は容易に足場板1を搬送できる。また、足場板1の内部にまで埃が入らないので足場板1の劣化を防止でき、耐久性を向上させることができる。
また、ベース部3が発泡ポリエチレンで構成され、足場形成部2がベース部3よりも固い押出ポリスチレン及びFRPで構成されているので、作業者が足場板1に上がると、クッション材で形成されたベース部3がスレート屋根Rの波形状に沿うように変形し、ベース部3とスレート屋根Rとの接触面が多くなる。したがって、作業者の荷重がスレート屋根Rに局部的に作用しないようにできる。また、足場形成部2がベース部3よりも固いので作業者はスレート屋根Rの上で作業をし易くなり、作業効率を高めることができる。
本発明は、例えば、スレート屋根の補修、塗装、点検、清掃等の作業性を向上させるスレート屋根で使用する足場板として適している。
スレート屋根用足場板をスレート屋根の上に載置した状態を示した斜視図である。 スレート屋根用足場板の平面図である。 スレート屋根用足場板の正面図である。 スレート屋根用足場板の側面図である。 図1のA−A線における断面図である。 図1のB−B線における断面図である。
1 スレート屋根用足場板
1a 貫通孔
2 足場形成部
3 ベース部
3c 貫通孔
21 中央材
21a 上側凹溝部
21b 下側凹溝部
21c 貫通孔
22 上側材
22c 貫通孔
23 下側材
23c 貫通孔
24 上側補強リブ
25 下側補強リブ
31 波形状部
31a 貫通孔
31b 切り欠き部
32 本体部
R スレート屋根
S スレート
Fr 骨材
Bo ボルト
Nu ナット

Claims (6)

  1. スレートで葺かれたスレート屋根に足場を形成するスレート屋根用足場板であって、
    作業者が歩くための足場形成部と、
    上記足場形成部の下側に設けられ、スレート屋根に載置されるベース部とを備え、
    上記ベース部は、上記足場形成部の傾斜角度がスレート屋根の傾斜角度よりも小さい値となるように該足場形成部の傾斜角度を設定し、又は、該足場形成部を水平とするように形成されていることを特徴とするスレート屋根用足場板。
  2. 請求項1に記載のスレート屋根用足場板において、
    ベース部には、スレート屋根の波形状に対応して延びる波形状部が形成され、
    上記波形状部には、下方に突出する部分において、上記スレート屋根の傾きに沿う方向に貫通する貫通孔が形成されていることを特徴とするスレート屋根用足場板。
  3. 請求項2に記載のスレート屋根用足場板において、
    波形状部の下方に突出する先端部分には貫通孔と連通する切り欠き部が形成されていることを特徴とするスレート屋根用足場板。
  4. 請求項1乃至3に記載のスレート屋根用足場板において、
    ベース部が非通電性の材質で形成されていることを特徴とするスレート屋根用足場板。
  5. 請求項1乃至4に記載のスレート屋根用足場板において、
    ベース部が独立気泡の発泡材で形成されていることを特徴とするスレート屋根用足場板。
  6. 請求項1乃至5に記載のスレート屋根用足場板において、
    ベース部がクッション材で構成され、
    足場形成部が上記ベース部よりも固い材質であることを特徴とするスレート屋根用足場板。
JP2009057021A 2009-03-10 2009-03-10 スレート屋根用足場板 Active JP5378014B2 (ja)

Priority Applications (1)

Application Number Priority Date Filing Date Title
JP2009057021A JP5378014B2 (ja) 2009-03-10 2009-03-10 スレート屋根用足場板

Applications Claiming Priority (1)

Application Number Priority Date Filing Date Title
JP2009057021A JP5378014B2 (ja) 2009-03-10 2009-03-10 スレート屋根用足場板

Publications (2)

Publication Number Publication Date
JP2010209590A true JP2010209590A (ja) 2010-09-24
JP5378014B2 JP5378014B2 (ja) 2013-12-25

Family

ID=42970028

Family Applications (1)

Application Number Title Priority Date Filing Date
JP2009057021A Active JP5378014B2 (ja) 2009-03-10 2009-03-10 スレート屋根用足場板

Country Status (1)

Country Link
JP (1) JP5378014B2 (ja)

Cited By (1)

* Cited by examiner, † Cited by third party
Publication number Priority date Publication date Assignee Title
JP2023086408A (ja) * 2021-12-10 2023-06-22 グリーンテクノロジー株式会社 足場板

Citations (6)

* Cited by examiner, † Cited by third party
Publication number Priority date Publication date Assignee Title
JPS5022814B1 (ja) * 1970-04-27 1975-08-02
JPS62280447A (ja) * 1986-05-28 1987-12-05 積水化学工業株式会社 軒先構造
JPH10306519A (ja) * 1997-04-30 1998-11-17 Sumitomo Constr Co Ltd 断熱屋根及び断熱壁
JP2003227208A (ja) * 2002-02-01 2003-08-15 Gantan Beauty Ind Co Ltd 断熱材、屋根緑化構造、及びその施工方法
JP2007239415A (ja) * 2006-03-13 2007-09-20 Kashiwabara Painting Works Co Ltd スレート屋根上の足場板
JP2008266920A (ja) * 2007-04-17 2008-11-06 Kashiwabara Painting Works Co Ltd スレート屋根用足場板

Patent Citations (6)

* Cited by examiner, † Cited by third party
Publication number Priority date Publication date Assignee Title
JPS5022814B1 (ja) * 1970-04-27 1975-08-02
JPS62280447A (ja) * 1986-05-28 1987-12-05 積水化学工業株式会社 軒先構造
JPH10306519A (ja) * 1997-04-30 1998-11-17 Sumitomo Constr Co Ltd 断熱屋根及び断熱壁
JP2003227208A (ja) * 2002-02-01 2003-08-15 Gantan Beauty Ind Co Ltd 断熱材、屋根緑化構造、及びその施工方法
JP2007239415A (ja) * 2006-03-13 2007-09-20 Kashiwabara Painting Works Co Ltd スレート屋根上の足場板
JP2008266920A (ja) * 2007-04-17 2008-11-06 Kashiwabara Painting Works Co Ltd スレート屋根用足場板

Cited By (1)

* Cited by examiner, † Cited by third party
Publication number Priority date Publication date Assignee Title
JP2023086408A (ja) * 2021-12-10 2023-06-22 グリーンテクノロジー株式会社 足場板

Also Published As

Publication number Publication date
JP5378014B2 (ja) 2013-12-25

Similar Documents

Publication Publication Date Title
JP5898461B2 (ja) 屋根材
CN105539597B (zh) 用于机动车车身的罩盖
KR101413058B1 (ko) 케이블 교량의 박스 거더
JP5378014B2 (ja) スレート屋根用足場板
JP2010013886A (ja) モルタル下地用ラスおよび建築壁構造
JP5544229B2 (ja) 塀、塀の構築方法
JP6532448B2 (ja) コンクリート鉛直打継目用の型枠資材
KR20200053488A (ko) 금속 벽재 및 그것을 이용한 벽 시공 방법
JP2017106218A (ja) 打設コンクリートの均し具
KR20200130910A (ko) 강재 데크
KR101167980B1 (ko) 조립식 빗물저장시설의 상판 구조
KR200428125Y1 (ko) 비계용 발판 구조
JP5940905B2 (ja) 仮設足場板及びその製造方法
JP2019512620A (ja) 足場板
JP4147250B2 (ja) スレート屋根上の足場板
KR102574033B1 (ko) 건축물 및 토목 구조물 크랙보수용 헤라
JP5139710B2 (ja) スレート屋根用足場板
JP6463583B1 (ja) 雪止め部材の設置構造
RU154570U1 (ru) Скребок для уборки снега, грязи, мусора
CN214194085U (zh) 一种避免施工时污水污染外观的箱梁结构
JP7386518B2 (ja) 取付金具、シート構造体、テント
KR20150064446A (ko) 경사면 작업용 사다리
KR20130109517A (ko) 연료유 탱크를 구비한 이중 선체
KR20120044332A (ko) 건축물 지붕의 누수 방지용 시트패널 및 그 누수방지용 시트패널을 이용한 지붕의 방수시공방법
CN202117323U (zh) 一种建筑模板支架副梁结构

Legal Events

Date Code Title Description
A621 Written request for application examination

Free format text: JAPANESE INTERMEDIATE CODE: A621

Effective date: 20120113

RD02 Notification of acceptance of power of attorney

Free format text: JAPANESE INTERMEDIATE CODE: A7422

Effective date: 20120113

A977 Report on retrieval

Free format text: JAPANESE INTERMEDIATE CODE: A971007

Effective date: 20130128

A131 Notification of reasons for refusal

Free format text: JAPANESE INTERMEDIATE CODE: A131

Effective date: 20130205

A521 Request for written amendment filed

Free format text: JAPANESE INTERMEDIATE CODE: A523

Effective date: 20130315

TRDD Decision of grant or rejection written
A01 Written decision to grant a patent or to grant a registration (utility model)

Free format text: JAPANESE INTERMEDIATE CODE: A01

Effective date: 20130903

A61 First payment of annual fees (during grant procedure)

Free format text: JAPANESE INTERMEDIATE CODE: A61

Effective date: 20130925

R150 Certificate of patent or registration of utility model

Ref document number: 5378014

Country of ref document: JP

Free format text: JAPANESE INTERMEDIATE CODE: R150

Free format text: JAPANESE INTERMEDIATE CODE: R150

R250 Receipt of annual fees

Free format text: JAPANESE INTERMEDIATE CODE: R250

R250 Receipt of annual fees

Free format text: JAPANESE INTERMEDIATE CODE: R250

R250 Receipt of annual fees

Free format text: JAPANESE INTERMEDIATE CODE: R250

R250 Receipt of annual fees

Free format text: JAPANESE INTERMEDIATE CODE: R250

R250 Receipt of annual fees

Free format text: JAPANESE INTERMEDIATE CODE: R250

R250 Receipt of annual fees

Free format text: JAPANESE INTERMEDIATE CODE: R250

R250 Receipt of annual fees

Free format text: JAPANESE INTERMEDIATE CODE: R250

R250 Receipt of annual fees

Free format text: JAPANESE INTERMEDIATE CODE: R250

R250 Receipt of annual fees

Free format text: JAPANESE INTERMEDIATE CODE: R250

R250 Receipt of annual fees

Free format text: JAPANESE INTERMEDIATE CODE: R250