JP2010180930A - 防振装置 - Google Patents
防振装置 Download PDFInfo
- Publication number
- JP2010180930A JP2010180930A JP2009023759A JP2009023759A JP2010180930A JP 2010180930 A JP2010180930 A JP 2010180930A JP 2009023759 A JP2009023759 A JP 2009023759A JP 2009023759 A JP2009023759 A JP 2009023759A JP 2010180930 A JP2010180930 A JP 2010180930A
- Authority
- JP
- Japan
- Prior art keywords
- plate
- wall portion
- top wall
- elastic body
- rubber elastic
- Prior art date
- Legal status (The legal status is an assumption and is not a legal conclusion. Google has not performed a legal analysis and makes no representation as to the accuracy of the status listed.)
- Pending
Links
- 238000013461 design Methods 0.000 abstract description 6
- 239000002184 metal Substances 0.000 description 18
- 238000003780 insertion Methods 0.000 description 16
- 230000037431 insertion Effects 0.000 description 16
- 230000000052 comparative effect Effects 0.000 description 11
- NJPPVKZQTLUDBO-UHFFFAOYSA-N novaluron Chemical compound C1=C(Cl)C(OC(F)(F)C(OC(F)(F)F)F)=CC=C1NC(=O)NC(=O)C1=C(F)C=CC=C1F NJPPVKZQTLUDBO-UHFFFAOYSA-N 0.000 description 10
- 238000005452 bending Methods 0.000 description 9
- 239000000463 material Substances 0.000 description 8
- 238000000465 moulding Methods 0.000 description 8
- 238000002955 isolation Methods 0.000 description 6
- 230000006835 compression Effects 0.000 description 5
- 238000007906 compression Methods 0.000 description 5
- 238000000034 method Methods 0.000 description 5
- 238000006073 displacement reaction Methods 0.000 description 4
- 230000000694 effects Effects 0.000 description 4
- 235000019589 hardness Nutrition 0.000 description 4
- 238000009434 installation Methods 0.000 description 4
- 229910000831 Steel Inorganic materials 0.000 description 3
- 239000000203 mixture Substances 0.000 description 3
- 239000010959 steel Substances 0.000 description 3
- 238000002347 injection Methods 0.000 description 2
- 239000007924 injection Substances 0.000 description 2
- 238000004519 manufacturing process Methods 0.000 description 2
- 230000003068 static effect Effects 0.000 description 2
- 238000013016 damping Methods 0.000 description 1
- 230000007423 decrease Effects 0.000 description 1
- 230000002452 interceptive effect Effects 0.000 description 1
- 238000012986 modification Methods 0.000 description 1
- 230000004048 modification Effects 0.000 description 1
- 238000005096 rolling process Methods 0.000 description 1
- 238000007789 sealing Methods 0.000 description 1
- 238000012360 testing method Methods 0.000 description 1
- 238000004073 vulcanization Methods 0.000 description 1
- XLYOFNOQVPJJNP-UHFFFAOYSA-N water Substances O XLYOFNOQVPJJNP-UHFFFAOYSA-N 0.000 description 1
Images
Landscapes
- Arrangement Or Mounting Of Propulsion Units For Vehicles (AREA)
- Vibration Prevention Devices (AREA)
- Springs (AREA)
Abstract
【課題】マウント本体を備えた防振装置において、部品点数を減らすとともに、P方向のばね定数に対するQ方向のばね定数の比の設計自由度を向上させる。
【解決手段】マウント本体3は、上方に延びる第1取付ボルト7が配設される上側プレート11と、外側斜め下方に延びる第2取付ボルト9が配設される下側プレート15と、両者を連結するゴム弾性体17とを有する。上側プレート11は、第1取付ボルト7の軸心と直交するプレート頂壁部11cと、プレート頂壁部11cの内側端部から下方に延びるプレート竪壁部11bと、プレート竪壁部11bの下端から内側斜め下方に延びるプレート傾斜壁部11aとを有している。ゴム弾性体17は、下側プレート15からプレート傾斜壁部11aの位置まで延びる略直方体状の下側部分17aと、下側部分17aとプレート竪壁部11b及び頂壁部11cとで囲まれた略楔状の上側部分17bとを有している。
【選択図】図1
【解決手段】マウント本体3は、上方に延びる第1取付ボルト7が配設される上側プレート11と、外側斜め下方に延びる第2取付ボルト9が配設される下側プレート15と、両者を連結するゴム弾性体17とを有する。上側プレート11は、第1取付ボルト7の軸心と直交するプレート頂壁部11cと、プレート頂壁部11cの内側端部から下方に延びるプレート竪壁部11bと、プレート竪壁部11bの下端から内側斜め下方に延びるプレート傾斜壁部11aとを有している。ゴム弾性体17は、下側プレート15からプレート傾斜壁部11aの位置まで延びる略直方体状の下側部分17aと、下側部分17aとプレート竪壁部11b及び頂壁部11cとで囲まれた略楔状の上側部分17bとを有している。
【選択図】図1
Description
本発明は、防振装置に関し、特に、エンジン等のパワートレインを車体に対して防振支持する車両用の防振装置に関するものである。
従来から、エンジンの振動に対して垂直及び水平の二方向で各々所要の防振作用が得られるように、防振装置を傾斜させて(当該防振装置のマウント本体の底面を水平方向に対し傾斜させた状態で)車体に取り付けることが知られている。
例えば、特許文献1に記載されている防振部材(防振装置)は、一端部がエンジンに固定されるとともに他端部が水平方向に延びるエンジンブラケットと、水平方向に対し傾斜した平坦支持面部を有するマウントメンバーとの間に配設されており、上記エンジンブラケットの他端部に当接する楔状の台座部が組み付けられたエンジン側プレートメンバーと、当該マウントメンバーの平坦支持面部に当接する車体側プレートメンバーと、これら両プレートメンバーによって挟持される直方体状の弾性体と、からなる。
この防振部材は、台座部から上方に向かって延びるボルトをエンジンブラケットに取り付けるとともに、車体側プレートメンバーから斜め下方に向かって延びるボルトをマウントメンバーに取り付けることにより、車体に対してエンジンを防振支持するようになっている。
実開平2−49401号公報
ところで、上記特許文献1のもののように、互いに平行な取付板間に弾性体を挟持してなるマウント本体を有する防振装置では、一般的に、取付板と垂直な方向における圧縮ばね定数に比して、取付板と平行な方向におけるせん断ばね定数が小さい値となることが知られている。
また、弾性体の形状は基本的には直方体に近いものが多いが、直方体状の弾性体における、車体側の取付面(マウントメンバーの平坦支持面部)に対して垂直な方向(以下、P方向ともいう)と、車体側の取付面に対して平行な方向(以下、Q方向ともいう)とのばね定数の比は、弾性体の寸法によってほぼ決定されるため、その設計自由度は低い。例えば、従来の防振装置では、車両の要求仕様に応じてP方向のばね定数を決めると、Q方向において高いばね定数を確保することが困難となり、エンジンのローリングに対して左右の防振装置が十分機能し得ないおそれがある。
さらに、直方体状の弾性体を水平方向に対して傾斜させているため、その上部をエンジンブラケットと連結するためにエンジン側プレートメンバーに楔状の台座部を組み付けており、それ故少なくとも2つ以上の部材が必要になって、部品点数が多くなるという問題がある。
本発明は、かかる点に鑑みてなされたものであり、その目的とするところは、エンジンを車体に防振支持するためのマウント本体を備えた防振装置において、部品点数を減らすとともに、P方向のばね定数に対するQ方向のばね定数の比の設計自由度を向上させる技術を提供することにある。
上記の目的を達成するために、本発明では、基本的に略直方体状のゴム弾性体の上部に楔状に突出する部分(上側部分)を一体成形し、それらの上部に亘って屈曲形状の上側プレートを取り付け、当該上側プレートにエンジン側取付ボルト(第1取付ボルト)を配設するための部位を一体に形成している。
第1の発明は、エンジンを車体に防振支持するためのマウント本体を備え、当該マウント本体の底面を傾斜させた状態で当該車体に取り付けられる防振装置であって、上記マウント本体は、エンジン側に取り付けられる第1取付ボルトが上方に向かって延びるように配設される上側プレートと、車体側に取り付けられる第2取付ボルトが側方一側斜め下方に向かって延びるように配設される、当該マウント本体の底面をなす下側プレートと、当該両プレートを連結するゴム弾性体と、を有しており、上記下側プレートは、上記第1及び第2取付ボルトの双方の軸心と直交する方向である軸直角方向から見て、当該第2取付ボルトの軸心と直交する方向に延びており、上記上側プレートは、軸直角方向から見て上記第1取付ボルトの軸心と直交する方向に延び、当該第1取付ボルトが取り付けられる頂壁部と、当該頂壁部の側方他側の端部から下方乃至側方他側斜め下方に向かうように延びる側壁部と、を有し、これら側壁部及び頂壁部が一体に形成されたものであり、上記ゴム弾性体は、上記下側プレートの上面から、上記頂壁部の側方一側の端部と上記側壁部の側方他側の端部とを結ぶ位置まで上記第2取付ボルトの軸心方向に延びる略直方体状の下側部分と、軸直角方向から見て、当該下側部分と上記側壁部及び頂壁部とにより囲まれた略楔状の上側部分と、を有していることを特徴とするものである。
上記第1の発明では、マウント本体は、第1取付ボルトが上方に向かって延びるように配設される上側プレートと、第2取付ボルトが側方一側斜め下方に向かって延びるように配設され、当該第2取付ボルトと直交する下側プレートとを有している。この第2取付ボルトを車体側に取り付けると、マウント本体の底面が傾斜した状態で、防振装置が車体に取り付けられるとともに、エンジン側に取り付けられる第1取付ボルトが上方に向かって真っ直ぐ延びた状態となり、水平に載置されるエンジンを傾斜したマウント本体によって弾性支持することができる。
また、ゴム弾性体は、下側プレートの上面から上側プレートに至るように第2取付ボルトの軸心方向に延びる略直方体状の下側部分と、その上部に一体成形された楔状突出部(上側部分)とを有し、当該上側部分は、軸直角方向から見て、下側部分と上側プレートの側壁部及び頂壁部とにより囲まれる空間を埋めるように形成されている。つまり、ゴム弾性体は、上側プレートと下側プレートとを連結する従来同様の略直方体状の下側部分に加えて、従来例では台座部が設けられてデッドスペースとなっていた部分にもゴムが充填されたような形状をなしており、こうして上側部分を付加することで、ばね特性を変更することができる。
具体的には、上側部分が付加されることで、車体側の取付面に対して垂直な方向(以下、P方向ともいう)についてゴム弾性体の寸法が大きくなるので、このP方向のばね定数は小さくなるが、上側部分は側壁部及び頂壁部に囲まれているため、車体側の取付面に対して平行な方向(以下、Q方向ともいう)には変形し難く、このQ方向のばね定数にはほとんど影響を与えないと考えられる。したがって、従来の略直方体状のゴム弾性体に比して、P方向のばね定数に対するQ方向のばね定数の比が大きくなる。このような作用(上側部分の付加によるばね特性の変化)は、上側部分の形状や下側部分に対する体積比によって変わるので、これらを適宜設定することによって、P方向のばね定数に対するQ方向のばね定数の比の設計自由度が向上する。
そして、例えば、同じ条件(同じ車種、同じ設置位置、同じ防振装置の寸法等)において、ゴム材料の硬度を調整することにより、同じP方向のばね定数(圧縮ばね定数)を有するマウント本体を備えた防振装置を用いるのであれば、従来同様の略直方体状のゴム弾性体を有する防振装置と比べて、Q方向のばね定数(せん断ばね定数)が高くなり、ロール方向の変位をより一層抑えることができる。
さらに、上側プレートは、ゴム弾性体の上側部分を囲むように、第1取付ボルトの軸心と直交する方向に延びる頂壁部と、これに連続して当該頂壁部と異なる方向に延びる側壁部とが板材の曲げ加工で一体に形成されていて、その頂壁部に第1取付ボルトが取り付けられている。このように、曲げ加工により側壁部及び頂壁部が一体形成された上側プレートを用いることにより、別体の台座部が不要になって部品点数を削減できる。
第2の発明は、上記第1の発明において、請求項1記載の防振装置において、上記側壁部は、上記頂壁部の側方他側の端部から下方に延びる竪壁部と、当該竪壁部の下端から上記下側プレートと略平行に斜め下方に延びる傾斜壁部と、を有しており、上記ゴム弾性体の上側部分は、軸直角方向から見て、上記下側部分と上記竪壁部及び頂壁部とにより囲まれた略楔状をなしていることを特徴とするものである。
上記第2の発明では、上側プレートの側壁部は、傾斜壁部と、当該傾斜壁部と頂壁部とを連結するように上下に延びる竪壁部とを有している。そして、下側プレートと略平行、即ちゴム弾性体の下側部分の上面と略平行な傾斜壁部は、ゴム弾性体の上側部分の寸法に影響を与えないので、頂壁部が延びる方向に沿うように竪壁部の配置位置を変化させることで、ゴム弾性体の上側部分の寸法を調整できる。したがって、P方向のばね定数に対するQ方向のばね定数の比の設計自由度がさらに向上する。
第3の発明は、上記第1又は第2の発明において、上記ゴム弾性体の上側部分は、軸直角方向の両側にそれぞれ上記上側プレートによって覆われていない開放面を有することを特徴とするものである。
上記第3の発明では、ゴム弾性体の上側部分は、軸直角方向の両側が上側プレートによって覆われていないので、例えば、ゴム弾性体にP方向の圧縮力が作用して、その上側部分が軸直角方向に膨らむように変形した際、その変形が抑えられず、当該上側部分の付加によってゴム弾性体全体のばね特性に及ぼす作用が十分に得られる。したがって、上記の例で言えば、P方向のばね定数をより小さくすることが可能となり、ばね定数比の設計自由度がより一層向上する。
本発明に係る防振装置によれば、ゴム弾性体は、下側プレートの上面から、頂壁部の側方一側の端部と側壁部の側方他側の端部とを結ぶ位置まで延びる略直方体状の下側部分に加えて、下側部分の上部に一体成形された楔状の上側部分を有しており、車体側の取付面に対して垂直なP方向についてゴム弾性体の寸法が大きくなるので、従来の略直方体状のゴム弾性体に比して、車体側の取付面に対して平行なQ方向のばね定数に対するP方向のばね定数の比が小さくなる。上側部分の付加によるこのようなばね特性の変化は、上側部分の形状や下側部分に対する体積比によって変わるので、これらを適宜設定することによって、P方向のばね定数に対するQ方向のばね定数の比の設計自由度が向上する。
さらに、マウント本体の上側プレートは、ゴム弾性体の上側部分の付加によるQ方向のばね定数への影響を(Q方向に変形し易くなるのを)抑えるために、当該上側部分を囲むように、第1取付ボルトの軸心と直交する方向に延びる頂壁部と、これに連続して異なる方向に延びる側壁部とが一体に形成されていて、その頂壁部に第1取付ボルトが取り付けられているので、別体の台座部が不要になって部品点数を削減できる。
以下、本発明の実施形態を図面に基づいて詳細に説明する。
(実施形態1)
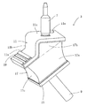
図1は、本実施形態に係る防振装置の縦断面図であり、図2は、防振装置に備えられたマウント本体を示す斜視図であり、図3は、防振装置を示す分解斜視図であり、図4は、防振装置の車体及びエンジンへの取付状態を示す車両正面図である。
図1は、本実施形態に係る防振装置の縦断面図であり、図2は、防振装置に備えられたマウント本体を示す斜視図であり、図3は、防振装置を示す分解斜視図であり、図4は、防振装置の車体及びエンジンへの取付状態を示す車両正面図である。
図4に示すように、防振装置1,1は、車幅方向両側に形成されているマウントメンバ(車体)29の傾斜面に取り付けられ、左右両側から縦置きされたエンジン27を防振支持するようになっている。以下、左右両側の防振装置1,1のうち左側の防振装置1について説明するが、右側の防振装置1の構成も左側の防振装置1とほぼ同様である。
この防振装置1は、エンジン27を車体に対して防振支持するマウント本体3と、このマウント本体3の下部に取り付けられているストッパ金具23と、このマウント本体3を上方から覆うように収容しているケース5とを備えており、マウント本体3の底面を傾斜させた状態でマウントメンバ29に対して取り付けられている。
上記マウント本体3は、エンジン27から車体に伝達される振動や衝撃を緩和するものであり、上記エンジン27側に取り付けられる第1取付ボルト7と、上記マウントメンバ29側に取り付けられる第2取付ボルト9と、それらの取付ボルト7,9を各々支持する上側及び下側プレート11,15と、該各プレート11,15を介して第1及び第2取付ボルト7,9を連結するゴム弾性体17とを有している。
上記第1取付ボルト7は、カシメボルトであり、上記ゴム弾性体17の上部に、より詳しくは、ゴム弾性体17の上部に設けられた上側プレート11に、上方に向かって延びるように配設されていて、ナット35(図7参照)で締め付けられることで、エンジン27に取り付けられたエンジンブラケット31(エンジン27側)に取り付けられるようになっている。
上記第2取付ボルト9は、カシメボルトであり、ゴム弾性体17の下部に、より詳しくは、ゴム弾性体17の下部に設けられた下側プレート15に配設されていて、第1取付ボルト7とは異なる方向、具体的には、エンジン27の車載状態で下方に向かうほど車幅方向外側に傾斜するように(側方一側斜め下向きに)延びている。換言すると、第2取付ボルト9は、マウントメンバ29の傾斜面に対し垂直な方向(上下方向に対し略45度傾斜した方向)に延びていて、ナット37で締め付けられることで、マウントメンバ29(車体側)に取り付けられる。
上記下側プレート15は、第1及び第2取付ボルト7,9の双方の軸心と直交する方向であるボルト軸直角方向(軸直角方向)から見て、当該第2取付ボルト9の軸心と直交する方向に延びるように、換言すると、マウントメンバ29の傾斜面と平行に形成されていて、当該下側プレート15の下面がマウント本体3の底面をなしている。この下側プレート15には、その中央部に第2取付ボルト9と同じ方向に延びるボルト挿通孔15aが形成されている。第2取付ボルト9は、このボルト挿通孔15aに挿通されて下側プレート15に取り付けられている。なお、本実施形態におけるボルト軸直角方向は車両前後方向と略一致している。
上記上側プレート11は、略長方形状の鋼板を曲げ加工したものであり、車幅方向に水平に延びているプレート頂壁部(頂壁部)11cと、当該プレート頂壁部11cの車幅方向内側(側方他側)の端部から下方に延びるプレート竪壁部(竪壁部)11bと、当該プレート竪壁部11bの下端から下方に行くに従って車幅方向内側に傾斜して延びるプレート傾斜壁部(傾斜壁部)11aとを有している。
より詳しくは、上記プレート傾斜壁部11aは、下側プレート15と略平行であり、その上端から上方に延びるプレート竪壁部11bの上端からプレート傾斜壁部11aとは反対側(外側)に折れ曲がって、プレート頂壁部11cが、ボルト軸直角方向から見て上記第1取付ボルト7の軸心と直交する方向に延びている。
このように、プレート傾斜壁部11a、プレート竪壁部11b及びプレート頂壁部11cが一体に形成されるように板材を折り曲げることにより、上側プレート11には、下側プレート15と平行なプレート傾斜壁部11aよりも上側に、ボルト軸直角方向から見て略L字状をなす、第1取付ボルト7を配設するための部位が形成される。このため、第2取付ボルト9をマウントメンバ29に取り付けると、防振装置1が、マウント本体3の底面が傾斜した状態でマウントメンバ29に取り付けられるとともに、エンジン側に取り付けられる第1取付ボルト7が上方に向かって真っ直ぐ延びた状態となる。
上記プレート傾斜壁部11aの上面には、クッションラバー19が形成されており、該クッションラバー19によって、ケース5と上側プレート11との寸法誤差が吸収されるようになっている。これにより、上側プレート11とケース5との接触音が抑えられる。なお、クッションラバー19は、プレート傾斜壁部11aの中央部に第2取付ボルト9と同じ方向に延びるように貫通形成された貫通孔11fを通じて上記ゴム弾性体17と連繋している。
上記プレート頂壁部11cには、その中央部に上下方向に延びるボルト挿通孔11dが形成されており、第1取付ボルト7は、このボルト挿通孔11dに挿通されてプレート頂壁部11cに取り付けられている。上側プレート11は、第1取付ボルト7をエンジンブラケット31に締結することで、エンジン27側に固定されるようになっている。
また、プレート頂壁部11cの上面には、その車幅方向外側の端部に上方に突出する突起部11eが形成されている。この突起部11eは、マウント本体3をケース5に組み付けた際、後述するケース5の貫通孔5gに嵌挿されることにより、ケース5に対するマウント本体3の廻り止めとして機能する。
上記ゴム弾性体17は、エンジン27をマウントメンバ29に防振支持するためのものであり、第1取付ボルト7と第2取付ボルト9とを連結するように、加硫成形により上側プレート11及び下側プレート15と一体化されている。
このゴム弾性体17は、下側プレート15の上面から第2取付ボルト9の軸心の方向(斜め上方)に延びて、その上面が上側プレート11のプレート傾斜壁部11aの下面と略面一になる(プレート頂壁部11cの車幅方向外側の端部とプレート傾斜壁部11aの車幅方向内側の端部とを結ぶ位置まで至る)略直方体状の下側部分17aと、当該下側部分17aの上面(プレート傾斜壁部11aを延長させた仮想面(図1〜図3の二点鎖線))とプレート竪壁部11b及びプレート頂壁部11cの下面とで囲まれる空間を埋めるように楔状に形成された上側部分17bとを有している。
より詳しくは、下側部分17aは、その車幅方向内側の側面17cが、下側プレート15の上面から車幅方向外側に若干反りながら斜め上方に延びて上側プレート11のプレート傾斜壁部11aの下面に至るように形成されている一方、その車幅方向外側の側面17dが、下側プレート15の上面から斜め上方に延びた後に屈曲して第1取付ボルト7の延びる方向(上方)に延びて上側プレート11のプレート頂壁部11cの下面に至るように形成され、その上面がプレート傾斜壁部11aと略平行に形成される略直方体状をなしている。そうして、ゴム弾性体3全体としては、当該略直方体状の下側部分17aの上側に、ボルト軸直角方向から見て略三角形状の上側部分17bが一体付加された形状をなしている。
このように、略直方体状の下側部分17aの上側に略楔状の上側部分17bが付加されることにより、下側プレート15(マウントメンバ29の傾斜面)に対して垂直な方向(以下、P方向ともいう)についてゴム弾性体の寸法が大きくなるので、このP方向のばね定数は小さくなるが、上側部分17bはプレート竪壁部11b及びプレート頂壁部11cに囲まれているため、下側プレート15(マウントメンバ29の傾斜面)に対して平行な方向(以下、Q方向ともいう)には変形し難く、このQ方向のばね定数にはほとんど影響を与えないと考えられる。したがって、従来の略直方体状のゴム弾性体に比して、P方向のばね定数に対するQ方向のばね定数の比が大きくなる。
上記ストッパ金具23は、上記ケース5に当接することによりゴム弾性体17の過度の変位を抑えるものであり、ゴム弾性体17の第2取付ボルト9側(下側)に下側プレート15の下面と当接するようにして配設されている。このストッパ金具23は、金具長手方向(Q方向)に延びている金具本体部33と、該金具本体部33の長手方向両端部から上記ケース5の内方に(斜め上方に)向かって、後述するケース5の側壁部5e,5eと対向するように延びている当接部43,43とを有していて、図示の如くコ字状に形成されている。このストッパ金具23は、マウント本体3とは別体とされ、当該マウント本体3に対し第2取付ボルト9が延びる方向に着脱可能に取り付けられている。
上記金具本体部33には、第2取付ボルト9を挿通するためのボルト挿通孔33aが形成されており、ストッパ金具23は、このボルト挿通孔33aに第2取付ボルト9を挿通することで、マウント本体3に取り付けられている。また、金具本体部33には、図5に示すように、挿通孔33cが形成されており、この挿通孔33cにマウントメンバ29に設けられた突起を挿入することで、マウントメンバ29に対するストッパ金具23の回転が阻止されるようになっている。なお、金具本体部33には、軽量化を図るために肉抜き穴33b,33b,…がボルト挿通孔33aを囲むように4箇所形成されている。
上記当接部43,43(ストッパ金具23の金具長手方向の両端部)には、上記ケース5の側壁部5e,5eと所定間隔を隔てているストッパゴム部25,25がそれぞれ加硫成形されている。各ストッパゴム部25,25は、各当接部43,43の金具長手方向外側面43a,43a及び内側面43b,43bを覆うように形成されている。より詳しくは、各ストッパゴム部25,25は、各当接部43,43の外側面43a,43aのみならず金具本体部33の金具長手方向両端の上側部分を覆うように金具本体部33の厚さ中央位置まで延びている。一方、各ストッパゴム部25,25は、各当接部43,43の内側面43b,43b全体を覆うように金具本体部33上面まで延びていて、ゴム弾性体17が変形した際、当接部43のエッジ等が直接ゴム弾性体17に当接するのを防ぐようになっている。
また、ストッパゴム部25とゴム弾性体17とは、別々に加硫成形されるという利点を活かして、それぞれ異なる硬度のゴム材、より具体的には、それぞれ最適な硬度のゴム材からなっている。これにより、本実施形態の防振装置1は、防振装置として要求される特性とストッパとして要求される特性とを同時に満足することができる。
上記ケース5は、鋼板を成形加工することによって形成され、図示の如く車両前後方向に見て、マウント本体3の外形に沿うように折り曲げられた金属プレートを、両側から2枚の金属プレート5h,5hで挟んだような形状をなす。このケース5は、図示の車載状態で車幅方向に水平に延びる頂壁部5a(ケース5の上部)と、該頂壁部5aの車幅方向内側の端部から下方に延びる上側竪壁部5bと、該上側竪壁部5bの下端から下方に行くに従って車幅方向内側に傾斜して延びる傾斜部5cと、該傾斜部5cの下端から下方に延びる下側竪壁部5dと、該傾斜部5cの下端及び上記頂壁部5aの車幅方向外側の端部から上記第2取付ボルト9の軸心方向に延びる側壁部5e,5e(ケース5の下部)と、これらの壁部5a,5b,5c,5d,5e,5eを車両前後方向の両側から挟む妻壁部5h,5hとを有している。
上記頂壁部5aは、上側プレート11のプレート頂壁部11cに重ねられている。この頂壁部5aには、上記第1取付ボルト7の挿通されるボルト挿通孔5fと、上側プレート11の突起部11eが嵌挿される貫通孔5gとが形成されている。このボルト挿通孔5fの内径は、マウント本体3をケース5に組付け易すくするために、第1取付ボルト7の外径よりも僅かに大きくなっている。
上記上側竪壁部5b及び傾斜部5cは、それぞれ上側プレート11のプレート竪壁部11b及びプレート傾斜壁部11aと近接して対向している。そして、傾斜部5cには、上述の如くプレート傾斜壁部11aの上面に設けられたクッションラバー19が当接しており、該傾斜部5cとクッションラバー19との間で、ケース5と上側プレート11との寸法誤差が吸収されるようになっている。
上記側壁部5e,5eは、マウント本体3を収容するための開口部21を形成しているとともに、ストッパゴム部25,25と金具長手方向に所定間隔を隔てている。
なお、上記図1は、マウント本体3に荷重の作用していない状態を示しており、この状態では当該マウント本体3の車幅方向内側のストッパゴム部25とケース5の車幅方向内側の側壁部5eとが近接しているが、防振装置1が車体に取り付けられて、マウント本体3にパワープラントの静荷重が加わる1G状態では、図示しないが、ゴム弾性体17が撓んでケース5が下方に変位するので、その側壁部5e,5eとストッパゴム部25,25との間には、車幅方向内側及び外側でほぼ等しい所定の間隔が形成されることになる。
このように、側壁部5e,5eはストッパゴム部25,25と所定の間隔を隔てているので、例えば、エンジン始動後のようにエンジン27から入力される振動が小さい場合には、側壁部5e,5eとストッパゴム部25,25とは当接しないが、例えば悪路走行時等において防振装置1に大きな荷重が作用すると、ゴム弾性体17が大きく変形して、側壁部5e,5eとストッパゴム部25,25とが当接し、ゴム弾性体17の過大な変位が抑えられるようになっている。
なお、上記妻壁部5h,5hは、マウント本体3と車両前後方向に所定間隔を隔てており、ストッパ金具23や上側プレート11とは接触しない。
このように、形成されたケース5にマウント本体3を収容し、当該マウント本体3の上面、金具長手方向両側面及び車両前後方向両側面を覆うことにより、油分を含んだ水がかかったり、車体に設けられた他の部材がマウント本体3に接触したりすることが抑制される。したがって、油分によってゴム弾性体17が劣化したり、他の部材が上側又は下側プレート11,15に接触することにより防振装置1の防振特性が低下したり、また、他の部材がゴム弾性体17に繰り返し接触することにより該ゴム弾性体17に亀裂が生じたりするのを抑えることができる。
−防振装置の製造方法−
次に、防振装置1の製造方法について説明する。
次に、防振装置1の製造方法について説明する。
先ず、上記プレート傾斜壁部11a、プレート竪壁部11b及びプレート頂壁部11cが一体に形成されるように板材を曲げ加工する。そうして、上側プレート11のプレート頂壁部11cに形成されているボルト挿通孔11dに上記第1取付ボルト7を挿通し、第1取付ボルト7をプレート頂壁部11cに固定する。一方、上記下側プレート15に形成されているボルト挿通孔15aに上記第2取付ボルト9を挿通し、第2取付ボルト9を下側プレート15に固定する。
次いで、第1及び第2取付ボルト7,9の双方の軸心と直交する方向に開閉する第1成形用金型(図示せず)を用意し、上側プレート11のプレート傾斜壁部11aと下側プレート15とが対向するような位置関係で、両プレート11,15を該第1成形用金型内にセットする。
そして、未加硫ゴム組成物を供給して、それを図示しないゴム注入孔を介して第1成形用金型内のキャビティに充填する。そして、型締めを行い、所定温度で所定時間そのままの状態を保持する。このとき、ゴムが加硫してゴム弾性体17及びクッションラバー19が成形されるとともに、これらゴム部材が上側プレート11や下側プレート15に加硫接着され一体化する。その後、第1成形用金型を開き、マウント本体3を取り出す。
一方、第1及び第2取付ボルト7,9の双方の軸心と直交する方向に開閉する第2成形用金型(図示せず)を用意し、ストッパ金具23を該第2成形用金型内にセットする。
次いで、ゴム弾性体17とは配合の異なる未加硫ゴム組成物を射出して、それを図示しないゴム注入孔を介して第2成形用金型内のキャビティに充填する。そして、型締めを行い、所定温度で所定時間そのままの状態を保持する。このとき、ゴムが加硫して一対のストッパゴム部25,25が成形されるとともに、これらストッパゴム部25,25がストッパ金具23の当接部43,43の外側面43a,43a及び内側面43b,43bに加硫接着され一体化する。その後、第2成形用金型を開き、ストッパ金具23を取り出す。
そして、図6(a)に示すように、ケース5の開口部21からマウント本体3を挿入する。この際、第1取付ボルト7の軸心Z1を、ケース5に形成されているボルト挿通孔5fの軸心Z2に対しやや傾けた状態で該第1取付ボルト7を挿入する。そして、上側プレート11がケース5に収容された段階で、第1取付ボルト7を真っ直ぐに起立させ、上側プレート11の突起部11eがケース5の貫通孔5gに嵌合するように、マウント本体3をケース5に収容する。
次いで、図6(b)に示すように、ケース5に収容されているマウント本体3に、ストッパ金具23を第2取付ボルト9が延びる方向から装着する。この際、金具本体部33に形成されているボルト挿通孔33aに第2取付ボルト9を挿通しながらストッパ金具23をケース5に押し込むだけの簡単な作業で、ストッパゴム部25,25と側壁部5e,5eとが干渉することなく、ストッパ金具23がマウント本体3に取り付けられる。
−防振装置及びエンジンの取付手順−
次に、防振装置1及びエンジン27の取付手順について説明する。
次に、防振装置1及びエンジン27の取付手順について説明する。
先ず、第2取付ボルト9をマウントメンバ29の傾斜面に形成されているボルト挿通孔29aに挿通する。そして、該第2取付ボルト9に、マウントメンバ29の裏側に設けられたナット37を螺合させて、防振装置1をマウントメンバ29に締結する(図4参照)。
次いで、エンジン27の左右両側にエンジンブラケット31をボルト締結する。そして、図7に示すように、エンジンブラケット31に設けられているナット35と防振装置1の第1取付ボルト7との中心軸を合わせながらエンジン27を下降させて、エンジンブラケット31を介してエンジン27をケース5の頂壁部5aに載置し、ボルト締めすることにより固定する。なお、図7では図を見やすくするためにマウントメンバ29を図示省略している。
−効果−
上記実施形態では、マウント本体3は、第1取付ボルト7が上方に向かって延びるように配設される上側プレート11と、第2取付ボルト9が車幅方向外側斜め下方に向かって延びるように配設され、当該第2取付ボルト9と直交する下側プレート15とを有している。この第2取付ボルト9をマウントメンバ29に取り付けると、防振装置1が、マウント本体3の底面が傾斜した状態でマウントメンバ29に取り付けられるとともに、エンジン27側に取り付けられる第1取付ボルト7が上方に向かって真っ直ぐ延びた状態となり、水平に載置されるエンジン27を傾斜したマウント本体3によって弾性支持することができる。
上記実施形態では、マウント本体3は、第1取付ボルト7が上方に向かって延びるように配設される上側プレート11と、第2取付ボルト9が車幅方向外側斜め下方に向かって延びるように配設され、当該第2取付ボルト9と直交する下側プレート15とを有している。この第2取付ボルト9をマウントメンバ29に取り付けると、防振装置1が、マウント本体3の底面が傾斜した状態でマウントメンバ29に取り付けられるとともに、エンジン27側に取り付けられる第1取付ボルト7が上方に向かって真っ直ぐ延びた状態となり、水平に載置されるエンジン27を傾斜したマウント本体3によって弾性支持することができる。
また、上記上側プレート11は、板材の曲げ加工で形成されたものであり、下側プレート15と略平行なプレート傾斜壁部11aと、当該プレート傾斜壁部11aの上端から上方に延びるように形成されるプレート竪壁部11bと、ボルト軸直角方向から見て当該プレート竪壁部11bの上端から第1取付ボルト7の軸心と直交する方向に延びるように形成されるプレート頂壁部11cとを有している。換言すると、上側プレート11には、下側プレート15と平行な部位(プレート傾斜壁部11a)よりも上側に、ボルト軸直角方向から見て略L字状をなす、第1取付ボルト7を配設するための部位(プレート竪壁部11b及びプレート頂壁部11c)が曲げ加工により形成されている。このように、曲げ加工によりプレート傾斜壁部11a、プレート竪壁部11b及びプレート頂壁部11cが一体形成された上側プレート11を用いることにより、別体の台座部が不要になって部品点数を削減できる。
また、ゴム弾性体17は、下側プレート15の上面から上側プレート11のプレート傾斜壁部11aに向かって、即ち第2取付ボルト9の軸心方向に延びて、上面がプレート傾斜壁部11aの下面と略面一になるように形成された略直方体状の下側部分17aと、ボルト軸直角方向から見て、当該下側部分17aとプレート竪壁部11b及びプレート頂壁部11cにより囲まれる空間を埋めるように、略楔状に形成された上側部分17bとを有している。つまり、ゴム弾性体17は、上側プレート11と下側プレート15とを連結する従来同様の略直方体状のゴム弾性体(下側部分17a)に加えて、従来例では楔状の台座部が設けられてデッドスペースとなっていた部分にもゴムが充填されたような形状をなしており、こうして上側部分17bを付加することで、ばね特性を変更することができる。
より詳しくは、上側部分17bが付加されることで、P方向についてゴム弾性体17の寸法が大きくなるので、このP方向のばね定数は小さくなるが、上側部分17bはプレート竪壁部11b及びプレート頂壁部11cに囲まれているため、Q方向には変形し難く、このQ方向のばね定数にはほとんど影響を与えないと考えられる。したがって、従来の略直方体状のゴム弾性体に比して、P方向のばね定数に対するQ方向のばね定数の比が大きくなる。このような作用(上側部分17bの付加によるばね特性の変化)は、上側部分17bの形状や下側部分17aに対する体積比によって変わるので、これらを適宜設定することによって、P方向のばね定数に対するQ方向のばね定数の比の設計自由度が向上する。
そして、例えば、同じ条件(同じ車種、同じ設置位置、同じ防振装置1(マウント本体3)の寸法等)において、ゴム材料の硬度を調整することにより、同じP方向のばね定数(圧縮ばね定数)を有するマウント本体3を備えた防振装置1を用いるのであれば、従来同様の略直方体状のゴム弾性体を有する防振装置と比べて、Q方向のばね定数(せん断ばね定数)が高くなり、ロール方向の変位をより一層抑えることができる。
また、ゴム弾性体17の上側部分17bは、ボルト軸直角方向の両側(開放面)が、その上面のように上側プレート11に被着していないので、上述したようにゴム弾性体17にP方向の圧縮力が作用して、当該ゴム弾性体17の上側部分17bがボルト軸直角方向に膨らむように変形した際、その変形が抑えられず、当該上側部分17bの付加による前記の効果が十分に得られ、ばね定数の比の設計自由度がより一層向上する。
さらに、下側プレート15と略平行、即ちゴム弾性体17の下側部分17aの上面と略平行なプレート傾斜壁部11aは、ゴム弾性体17の上側部分17bの寸法に影響を与えないので、車幅方向におけるプレート竪壁部11bの配置位置を変化させることで、上側部分17bの寸法が調整可能となる。したがって、P方向のばね定数に対するQ方向のばね定数の比の設計自由度がさらに向上する。
(実施形態2)
本実施形態に係る防振装置1は、ゴム弾性体17の上側部分17bが開放面を有しない点が実施形態1と異なるものである。以下、実施形態1と異なる点について説明する。
本実施形態に係る防振装置1は、ゴム弾性体17の上側部分17bが開放面を有しない点が実施形態1と異なるものである。以下、実施形態1と異なる点について説明する。
防振装置1は、図8に示すようなマウント本体13を備えている。上側プレート10は、ボルト軸直角方向から見て第1取付ボルト7の軸心と直交する方向に延び、当該第1取付ボルト7が取り付けられるプレート頂壁部10cと、当該プレート頂壁部10cの車幅方向内側の端部から下方に延びるプレート竪壁部10bと、当該プレート竪壁部10bの下端から下側プレート15と略平行に延びるプレート傾斜壁部10aと、ゴム弾性体17の上側部分17bのボルト軸直角方向の両側面を覆う略三角形状のプレート妻壁部10d,10dとを有しており、これらプレート頂壁部10c、プレート竪壁部10b、プレート傾斜壁部10a及びプレート妻壁部10d,10dが一体に形成されたものである。
マウント本体13では、このようにゴム弾性体17の上側部分17bのボルト軸直角方向の両側がプレート妻壁部10d,10dによって覆われているので、例えばゴム弾性体17にP方向の圧縮力が作用して、その上側部分17bがボルト軸直角方向に膨らむように変形しようとしても、その変形が抑えられることから、上側部分17bの付加によってゴム弾性体17全体のばね特性に及ぼす作用が小さくなる。したがって、マウント本体13は、P方向のばね定数をあまり小さくせず、且つ、Q方向の見かけのばね定数を若干大きくする場合等に適している。
なお、図8中の符合10eは、ゴム弾性体17を加硫成形する際のシール性を確保するためにプレート妻壁部10d,10dのボルト軸直角方向の両外側に形成されたエッジであり、プレート傾斜壁部10aの一部をなすものではない。
(実施形態3)
本実施形態に係る防振装置1は、上側プレート12のプレート側壁部12aが、プレート竪壁部及びプレート傾斜壁部からなる折り曲げ形状ではなくフラット形状である点が実施形態1及び2と異なるものである。以下、実施形態1及び2と異なる点について説明する。
本実施形態に係る防振装置1は、上側プレート12のプレート側壁部12aが、プレート竪壁部及びプレート傾斜壁部からなる折り曲げ形状ではなくフラット形状である点が実施形態1及び2と異なるものである。以下、実施形態1及び2と異なる点について説明する。
防振装置1は、図9に示すようなマウント本体53を備えている。上側プレート12は、ボルト軸直角方向から見て第1取付ボルト7の軸心と直交する方向に延び、当該第1取付ボルト7が取り付けられるプレート頂壁部12bと、ボルト軸直角方向から見て当該プレート頂壁部12bの車幅方向内側の端部から車幅方向内側斜め下方に向かって直線状に延びるプレート側壁部12aとを有しており、これらプレート頂壁部12b及びプレート側壁部12aが一体に形成されたものである。
ゴム弾性体17の上側部分17eは、ボルト軸直角方向から見て、下側部分17aとプレート側壁部12a及びプレート頂壁部12bとにより囲まれた略楔状になっている。より詳しくは、ゴム弾性体17の上側部分17eは、ボルト軸直角方向から見て、Q方向における下側部分17aの上端の略全幅を底辺とする三角形状になっており、ボルト軸直角方向に延びるプレート側壁部12aの下縁を中心として、当該プレート側壁部12aの傾斜角を変えることによって、下側部分17aに対する体積比が変化するようになっている。したがって、マウント本体53は、簡単な構造で、上側部分17eの下側部分17aに対する体積比を大きく設定する場合等に適している。
なお、本実施形態では、上側プレート12として略長方形状の鋼板を、プレート側壁部12aとプレート頂壁部12bとが鈍角をなすように、曲げ加工したものを用いたが、プレート側壁部12aとプレート頂壁部12bとが直角をなすように、即ちプレート側壁部12aがプレート頂壁部12bの車幅方向内側の端部から下方に延びるように、曲げ加工したものを用いてもよい。
(その他の実施形態)
上記各実施形態では、ストッパ金具23をマウント本体3と別体としたが、マウント本体3をケース5で覆うことなく且つストッパ金具23を他の部材と当接させる構造を採用するのであれば、ストッパ金具23とマウント本体3とを一体に形成してもよい。
上記各実施形態では、ストッパ金具23をマウント本体3と別体としたが、マウント本体3をケース5で覆うことなく且つストッパ金具23を他の部材と当接させる構造を採用するのであれば、ストッパ金具23とマウント本体3とを一体に形成してもよい。
また、上記実施形態3では、プレート側壁部12aを、ボルト軸直角方向から見てプレート頂壁部12bの車幅方向内側端部から車幅方向内側斜め下方に向かって直線状に延びるように形成したが、これに限らず、ボルト軸直角方向から見てプレート頂壁部12bの車幅方向内側端部から屈曲又は湾曲しながら車幅方向内側斜め下方に向かって延びるように形成してもよい。
さらに、上記実施形態3では、ゴム弾性体17の上側部分17eが開放面を有しているが、略三角形状のプレートを用いてボルト軸直角方向の両側面を覆うようにしてもよい。
本発明は、実施形態に限定されず、その精神又は主要な特徴から逸脱することなく他の色々な形で実施することができる。
このように、上述の実施形態はあらゆる点で単なる例示に過ぎず、限定的に解釈してはならない。さらに、特許請求の範囲の均等範囲に属する変形や変更は、全て本発明の範囲内のものである。
上記実施形態1〜3に係る防振装置1と、図10(a)及び(b)に示すマウント本体103,113を備えた防振装置とを用意し、各防振装置のマウント本体にパワープラントの静荷重が加わる1G状態における、P方向のばね定数に対するQ方向及びボルト軸直角方向(R方向という)のばね定数の比をそれぞれ測定した。その試験結果について下記の表1に基づいて説明する。
図10(a)に示すマウント本体103を備えた従来の防振装置を用いたものを比較例1とし、図10(b)に示すマウント本体113を備えた防振装置を用いたものを比較例2とし、実施形態1に係る防振装置1を用いたものを実施例1とし、実施形態2に係る防振装置1を用いたものを実施例2とし、実施形態3に係る防振装置1を用いたものを実施例3とした。
なお、実施例1〜3の防振装置1では、ゴム弾性体17の下側部分17aの寸法を全て同じ寸法とした。また、比較例1及び2に用いた防振装置では、第1及び第2取付ボルト107,109、下側プレート115並びにストッパ金具123を、本発明に係るマウント本体3,13,53のものと同じ仕様とした。
また、比較例1(従来例)のマウント本体103においては、フラット形状の上側プレート111を下側プレート115と略平行に配置し、実施例1〜3のゴム弾性体17の下側部分17aとほぼ同じ寸法のゴム弾性体117によってこれら両プレート111,115を連結した。また、上側プレート111には、楔状の台座部114が組み付け、当該台座部114に第1取付ボルト107を配設した。
一方、比較例2のマウント本体113では、フラット形状の上側プレート112を、R方向から見て第1取付ボルト107の軸心と直交する方向に延びるように配置し、互いに非平行に配置された上側及び下側プレート112,115を大きく湾曲させたゴム弾性体118によって連結した。このため、比較例2のゴム弾性体118は、比較例2や実施例1〜3のゴム弾性体17,117,…に比して、Y方向の自由長が長くなった。
表1に示すように、略直方体状の下側部分17aに略楔状の上側部分17b,17eを付加したゴム弾性体17を用いた実施例1〜3では、従来例である比較例1に対するP方向のばね定数の比が小さくなることが確認された。
また、P方向のばね定数に対するQ方向のばね定数の比は、比較例1では0.12であったのに対し、実施例1では0.14、実施例2では0.13、また、実施例3では0.16となり、略楔状の上側部分17b,17eを付加するとともに当該上側部分17b,17eを上側プレート10,11,12で囲むことにより、Q方向の見かけのばね定数が確実に大きくなることが確認できた。
さらに、実施例1及び実施例2の結果から、ゴム弾性体17の上側部分17bのR方向の両側が開放されている方が、Q方向の見かけのばね定数が高められることが分かった。これは、R方向への膨張が制限されたことで、ゴム弾性体17の上側部分17bが見かけ上硬くなり、この上側部分17bを付加することによるP方向のばね定数の低減効果が小さくなったことに起因すると考えられる。なお、R方向のばね定数については、略楔状の上側部分17b,17eを付加しても、比較例1(従来例)と比べて、P方向のばね定数に対する比がほとんど変化しないことが分かった。
一方、比較例2では、P方向のばね定数に対するQ方向及びR方向のばね定数の比が最も大きくなったが、これはP方向のばね定数が極端に小さくなったことに起因しており、防振装置に求められるばね定数を確保するためには、ゴム弾性体118の寸法を大幅に上げる必要があることから、実用し難いことが確認された。
以上の結果から、本発明に係る防振装置1によれば、上側プレート10,11,12及びゴム弾性体17の上側部分17bの形状等を適宜設定することによって、P方向のばね定数に対するQ方向のばね定数の比の設計自由度が確実に向上することが確認された。
以上説明したように、本発明は、エンジン等のパワートレインを車体に対して防振支持する車両用の防振装置等について有用である。
1 防振装置
3 マウント本体
7 第1取付ボルト
9 第2取付ボルト
10 上側プレート
10a プレート傾斜壁部(傾斜壁部)(側壁部)
10b プレート竪壁部(竪壁部)(側壁部)
10c プレート頂壁部(頂壁部)
11 上側プレート
11a プレート傾斜壁部(傾斜壁部)(側壁部)
11b プレート竪壁部(竪壁部)(側壁部)
11c プレート頂壁部(頂壁部)
12 上側プレート
12a プレート側壁部(側壁部)
12b プレート頂壁部(頂壁部)
13 マウント本体
15 下側プレート
17 ゴム弾性体
17a 下側部分
17b 上側部分
17e 上側部分
21 開口部
23 ストッパ金具
25 ストッパゴム部27 エンジン
29 マウントメンバ(車体)
53 マウント本体
3 マウント本体
7 第1取付ボルト
9 第2取付ボルト
10 上側プレート
10a プレート傾斜壁部(傾斜壁部)(側壁部)
10b プレート竪壁部(竪壁部)(側壁部)
10c プレート頂壁部(頂壁部)
11 上側プレート
11a プレート傾斜壁部(傾斜壁部)(側壁部)
11b プレート竪壁部(竪壁部)(側壁部)
11c プレート頂壁部(頂壁部)
12 上側プレート
12a プレート側壁部(側壁部)
12b プレート頂壁部(頂壁部)
13 マウント本体
15 下側プレート
17 ゴム弾性体
17a 下側部分
17b 上側部分
17e 上側部分
21 開口部
23 ストッパ金具
25 ストッパゴム部27 エンジン
29 マウントメンバ(車体)
53 マウント本体
Claims (3)
- エンジンを車体に防振支持するためのマウント本体を備え、当該マウント本体の底面を傾斜させた状態で当該車体に取り付けられる防振装置であって、
上記マウント本体は、エンジン側に取り付けられる第1取付ボルトが上方に向かって延びるように配設される上側プレートと、車体側に取り付けられる第2取付ボルトが側方一側斜め下方に向かって延びるように配設される、当該マウント本体の底面をなす下側プレートと、当該両プレートを連結するゴム弾性体と、を有しており、
上記下側プレートは、上記第1及び第2取付ボルトの双方の軸心と直交する方向である軸直角方向から見て、当該第2取付ボルトの軸心と直交する方向に延びており、
上記上側プレートは、軸直角方向から見て上記第1取付ボルトの軸心と直交する方向に延び、当該第1取付ボルトが取り付けられる頂壁部と、当該頂壁部の側方他側の端部から下方乃至側方他側斜め下方に向かうように延びる側壁部と、を有し、これら側壁部及び頂壁部が一体に形成されたものであり、
上記ゴム弾性体は、上記下側プレートの上面から、上記頂壁部の側方一側の端部と上記側壁部の側方他側の端部とを結ぶ位置まで上記第2取付ボルトの軸心方向に延びる略直方体状の下側部分と、軸直角方向から見て、当該下側部分と上記側壁部及び頂壁部とにより囲まれた略楔状の上側部分と、を有していることを特徴とする防振装置。 - 請求項1記載の防振装置において、
上記側壁部は、上記頂壁部の側方他側の端部から下方に延びる竪壁部と、当該竪壁部の下端から上記下側プレートと略平行に斜め下方に延びる傾斜壁部と、を有しており、
上記ゴム弾性体の上側部分は、軸直角方向から見て、上記下側部分と上記竪壁部及び頂壁部とにより囲まれた略楔状をなしていることを特徴とする防振装置。 - 請求項1又は2記載の防振装置において、
上記ゴム弾性体の上側部分は、軸直角方向の両側にそれぞれ上記上側プレートによって覆われていない開放面を有することを特徴とする防振装置。
Priority Applications (1)
| Application Number | Priority Date | Filing Date | Title |
|---|---|---|---|
| JP2009023759A JP2010180930A (ja) | 2009-02-04 | 2009-02-04 | 防振装置 |
Applications Claiming Priority (1)
| Application Number | Priority Date | Filing Date | Title |
|---|---|---|---|
| JP2009023759A JP2010180930A (ja) | 2009-02-04 | 2009-02-04 | 防振装置 |
Publications (1)
| Publication Number | Publication Date |
|---|---|
| JP2010180930A true JP2010180930A (ja) | 2010-08-19 |
Family
ID=42762635
Family Applications (1)
| Application Number | Title | Priority Date | Filing Date |
|---|---|---|---|
| JP2009023759A Pending JP2010180930A (ja) | 2009-02-04 | 2009-02-04 | 防振装置 |
Country Status (1)
| Country | Link |
|---|---|
| JP (1) | JP2010180930A (ja) |
Cited By (5)
| Publication number | Priority date | Publication date | Assignee | Title |
|---|---|---|---|---|
| US20120146269A1 (en) * | 2010-12-13 | 2012-06-14 | Kurashiki Kako Co., Ltd. | Antivibration device |
| CN104709061A (zh) * | 2015-01-27 | 2015-06-17 | 中国重汽集团济南动力有限公司 | 一种越野汽车大马力发动机悬置 |
| CN105264259A (zh) * | 2013-07-16 | 2016-01-20 | 住友理工株式会社 | 隔振装置 |
| WO2017027093A1 (en) * | 2015-08-11 | 2017-02-16 | The Pullman Company | Micro shear hub dual ring isolator |
| CN113815397A (zh) * | 2021-10-31 | 2021-12-21 | 东风商用车有限公司 | 一种用于商用车的动力总成悬置软垫总成 |
-
2009
- 2009-02-04 JP JP2009023759A patent/JP2010180930A/ja active Pending
Cited By (14)
| Publication number | Priority date | Publication date | Assignee | Title |
|---|---|---|---|---|
| US20120146269A1 (en) * | 2010-12-13 | 2012-06-14 | Kurashiki Kako Co., Ltd. | Antivibration device |
| US8950737B2 (en) * | 2010-12-13 | 2015-02-10 | Kurashiki Kako Co., Ltd. | Antivibration device |
| CN105264259B (zh) * | 2013-07-16 | 2017-07-28 | 住友理工株式会社 | 隔振装置 |
| CN105264259A (zh) * | 2013-07-16 | 2016-01-20 | 住友理工株式会社 | 隔振装置 |
| US9551396B2 (en) * | 2013-07-16 | 2017-01-24 | Sumitomo Riko Company Limited | Vibration damping device |
| CN104709061B (zh) * | 2015-01-27 | 2017-02-22 | 中国重汽集团济南动力有限公司 | 一种越野汽车大马力发动机悬置系统 |
| CN104709061A (zh) * | 2015-01-27 | 2015-06-17 | 中国重汽集团济南动力有限公司 | 一种越野汽车大马力发动机悬置 |
| WO2017027093A1 (en) * | 2015-08-11 | 2017-02-16 | The Pullman Company | Micro shear hub dual ring isolator |
| US9845720B2 (en) | 2015-08-11 | 2017-12-19 | The Pullman Company | Micro shear hub dual ring isolator |
| KR20180030060A (ko) * | 2015-08-11 | 2018-03-21 | 더풀맨캄파니 | 마이크로 전단 허브 이중 링 아이솔레이터 |
| CN107921862A (zh) * | 2015-08-11 | 2018-04-17 | 普尔曼公司 | 微型剪切毂双环隔离器 |
| KR102131754B1 (ko) | 2015-08-11 | 2020-07-09 | 더풀맨캄파니 | 마이크로 전단 허브 이중 링 아이솔레이터 |
| CN113815397A (zh) * | 2021-10-31 | 2021-12-21 | 东风商用车有限公司 | 一种用于商用车的动力总成悬置软垫总成 |
| CN113815397B (zh) * | 2021-10-31 | 2023-09-01 | 东风商用车有限公司 | 一种用于商用车的动力总成悬置软垫总成 |
Similar Documents
| Publication | Publication Date | Title |
|---|---|---|
| CN100394063C (zh) | 发动机安装件 | |
| CN105339703B (zh) | 隔振装置 | |
| JP4759539B2 (ja) | 遮熱ゴムカバー付き防振装置 | |
| JP4780991B2 (ja) | エンジンマウントおよびそれを用いたパワーユニットの防振支持構造 | |
| JP6002607B2 (ja) | 防振装置 | |
| JP4772001B2 (ja) | 遮熱ゴムカバー付き防振装置 | |
| JP2010180930A (ja) | 防振装置 | |
| JP5916502B2 (ja) | 防振支持構造体 | |
| JP2010084791A (ja) | 防振装置 | |
| JP2008185201A (ja) | エンジンマウント | |
| JP5061067B2 (ja) | 車両用のダイナミックダンパ | |
| JP2010101375A (ja) | 防振装置 | |
| JP4086854B2 (ja) | ダイナミックダンパ | |
| CN208101694U (zh) | 一种悬置装置及包含有该悬置装置的减振总成 | |
| KR20120014968A (ko) | 브릿지형 리어 롤로드 | |
| JP5752458B2 (ja) | ダイナミックダンパ | |
| KR20120051293A (ko) | 향상된 진동 절연 효과를 가지는 하이드로 롤로드 | |
| JP4914863B2 (ja) | 振動部品の防振マウント | |
| JP2007292150A (ja) | ゴムマウント | |
| JP6182077B2 (ja) | 筒形防振装置 | |
| JP2008094248A (ja) | トルクロッド | |
| JP5149773B2 (ja) | ダイナミックダンパ | |
| JP4252466B2 (ja) | ストッパ付防振装置 | |
| JP2025107999A (ja) | 防振ユニット | |
| JP5950452B2 (ja) | マフラーサポート |
