JP2010158094A - Brushless motor - Google Patents

Brushless motor Download PDF

Info

Publication number
JP2010158094A
JP2010158094A JP2008333892A JP2008333892A JP2010158094A JP 2010158094 A JP2010158094 A JP 2010158094A JP 2008333892 A JP2008333892 A JP 2008333892A JP 2008333892 A JP2008333892 A JP 2008333892A JP 2010158094 A JP2010158094 A JP 2010158094A
Authority
JP
Japan
Prior art keywords
housing
bearing
bearing housing
motor
substrate
Prior art date
Legal status (The legal status is an assumption and is not a legal conclusion. Google has not performed a legal analysis and makes no representation as to the accuracy of the status listed.)
Pending
Application number
JP2008333892A
Other languages
Japanese (ja)
Inventor
Mikio Kawamura
幹夫 川村
Makoto Uchida
誠 内田
Masahiro Otawara
昌弘 大田原
Naoyuki Miyashita
直幸 宮下
Keiki Saito
啓樹 齋藤
Current Assignee (The listed assignees may be inaccurate. Google has not performed a legal analysis and makes no representation or warranty as to the accuracy of the list.)
Mitsuba Corp
Original Assignee
Mitsuba Corp
Priority date (The priority date is an assumption and is not a legal conclusion. Google has not performed a legal analysis and makes no representation as to the accuracy of the date listed.)
Filing date
Publication date
Application filed by Mitsuba Corp filed Critical Mitsuba Corp
Priority to JP2008333892A priority Critical patent/JP2010158094A/en
Publication of JP2010158094A publication Critical patent/JP2010158094A/en
Pending legal-status Critical Current

Links

Images

Landscapes

  • Brushless Motors (AREA)

Abstract

<P>PROBLEM TO BE SOLVED: To provide a brushless motor wherein temperature rise in a board placed in a space formed by a motor housing and an end bracket is suppressed and degradation in motor output accuracy is prevented. <P>SOLUTION: In the brushless motor 1, a stator 3, a rotor 4, and a control board 71 for controlling the rotation of the rotor 4 are housed in a space formed by the motor housing 2 and an end cover 6. The motor housing 2 includes a bearing 8 and a bearing housing 10 made of metal with a bearing 9 held therein is provided between the stator 3 and the control board 71. The rotating shaft 7 of the rotor 4 is rotatably supported by these bearings 8, 9. The bearing housing 10 is so formed that it can be brought into contact with the motor housing 2 and an end portion 51a is provided at least between the bearing housing 10 and the control board 71. The end portion is for preventing heat produced in the bearing 9 and the bearing housing 10 from being transmitted to the control board 71. <P>COPYRIGHT: (C)2010,JPO&INPIT

Description

この発明は、ブラシレスモータに関するものである。   The present invention relates to a brushless motor.

一般に、ブラシレスモータは、開口部を有するモータハウジングと、このモータハウジングの開口部を閉塞するエンドブラケットとで形成される空間内に、コイルが巻装されたステータと、ステータに対して回転自在に設けられ永久磁石を有するロータと、ロータの回転制御を行う基板とが収納されている場合が多い。   Generally, a brushless motor has a stator in which a coil is wound in a space formed by a motor housing having an opening and an end bracket that closes the opening of the motor housing, and is rotatable with respect to the stator. In many cases, a rotor having a permanent magnet provided and a substrate for controlling the rotation of the rotor are housed.

ロータは回転軸を有しており、この回転軸がモータハウジングに設けられた第一軸受けとエンドブラケットに設けられた第二軸受けとで回転自在に支持されている場合がある。そして、エンドブラケットとステータとの間に形成される空隙に基板を配置している。   The rotor has a rotating shaft, and this rotating shaft may be rotatably supported by a first bearing provided in the motor housing and a second bearing provided in the end bracket. And the board | substrate is arrange | positioned in the space | gap formed between an end bracket and a stator.

基板には、例えば、磁気検出素子が実装されている。一方、回転軸の第二軸受け寄りには、磁気検出素子と対向するようにセンサマグネットが設けられ、これら磁気検出素子とセンサマグネットとでロータの回転位置を検出できるようになっている。そして、この検出結果に基づいてコイルに所望の電流を供給し、ロータの回転制御を行う(例えば、特許文献1参照)。
特開2004−266939号公報
For example, a magnetic detection element is mounted on the substrate. On the other hand, a sensor magnet is provided near the second bearing of the rotation shaft so as to face the magnetic detection element, and the rotational position of the rotor can be detected by the magnetic detection element and the sensor magnet. And based on this detection result, a desired electric current is supplied to a coil, and rotation control of a rotor is performed (for example, refer patent document 1).
JP 2004-266939 A

ところで、コイルに電流が供給されると熱が発生し、この熱が回転軸などに伝わってモータハウジングとエンドブラケットとで形成される空間内の雰囲気温度を上昇させてしまう。このため、基板の温度が上昇し、例えば、ロータの回転位置の検出精度が低下し、モータの出力精度が悪化するおそれがあるという課題がある。   By the way, when an electric current is supplied to the coil, heat is generated, and this heat is transmitted to the rotating shaft and the like, thereby raising the ambient temperature in the space formed by the motor housing and the end bracket. For this reason, there exists a subject that the temperature of a board | substrate rises, for example, the detection accuracy of the rotation position of a rotor falls and there exists a possibility that the output accuracy of a motor may deteriorate.

そこで、この発明は、上述した事情に鑑みてなされたものであって、モータハウジングとエンドブラケットとで形成される空間内に配置された基板の温度上昇を抑制し、モータ出力精度の悪化を防止するブラシレスモータを提供するものである。   Accordingly, the present invention has been made in view of the above-described circumstances, and suppresses a temperature rise of a substrate disposed in a space formed by a motor housing and an end bracket, thereby preventing deterioration of motor output accuracy. A brushless motor is provided.

上記の課題を解決するために、請求項1に記載した発明は、開口部を有するモータハウジングと、前記開口部を閉塞するエンドカバーとで形成される空間内に、コイルが巻装されたステータと、前記ステータに対して回転自在に設けられたロータと、前記ロータの回転軸の一端側を回転自在に支持し、前記モータハウジングに設けられた第一軸受けと、前記回転軸の他端側を回転自在に支持し、金属製の軸受けハウジングに保持されている第二軸受けと、前記軸受けハウジングを間に挟んで前記ステータとは反対側に配置され、前記ロータの回転制御を行うための基板とを備えたブラシレスモータであって、前記軸受けハウジングを前記モータハウジングに接触可能に形成し、少なくとも前記軸受けハウジングと前記基板との間に、前記第二軸受け、および前記軸受けハウジングで発生した熱を前記基板に伝達されるのを阻止するための遮熱板を設けたことを特徴とする。
このように構成することで、回転軸の熱を第二軸受け、および軸受けハウジングを介してモータハウジングに伝達させ、放熱させることができる。また、遮熱板によって、第二軸受け、および軸受けハウジングに伝達された熱が基板に伝達されるのを阻止することができる。このため、基板周囲の雰囲気温度の上昇を防止することができ、基板の温度上昇を抑制することができる。
In order to solve the above problems, the invention described in claim 1 is a stator in which a coil is wound in a space formed by a motor housing having an opening and an end cover that closes the opening. A rotor rotatably provided with respect to the stator, a first bearing provided on the motor housing that rotatably supports one end of the rotary shaft of the rotor, and the other end of the rotary shaft And a second bearing held by a metal bearing housing, and a substrate for controlling the rotation of the rotor, which is disposed on the opposite side of the stator with the bearing housing interposed therebetween. A brushless motor, wherein the bearing housing is formed so as to be in contact with the motor housing, and the second housing is at least between the bearing housing and the substrate. Receiving, and wherein the heat generated in the bearing housing provided with a heat shielding plate for preventing from being transmitted to the substrate.
By comprising in this way, the heat | fever of a rotating shaft can be transmitted to a motor housing via a 2nd bearing and a bearing housing, and can be radiated. Further, the heat shield plate can prevent the heat transmitted to the second bearing and the bearing housing from being transmitted to the substrate. For this reason, an increase in the ambient temperature around the substrate can be prevented, and an increase in the temperature of the substrate can be suppressed.

請求項2に記載した発明は、前記軸受けハウジングは、前記モータハウジングの内周面に圧入可能に形成されていることを特徴とする。
このように構成することで、軸受けハウジングとモータハウジングとを確実に接触させることができると共に、この接触力を大きくすることができる。このため、軸受けハウジングからモータハウジングへの熱伝達効率を向上さることができる。
The invention described in claim 2 is characterized in that the bearing housing is formed so as to be press-fit into an inner peripheral surface of the motor housing.
By comprising in this way, while being able to make a bearing housing and a motor housing contact reliably, this contact force can be enlarged. For this reason, the heat transfer efficiency from a bearing housing to a motor housing can be improved.

請求項3に記載した発明は、前記遮熱板は前記軸受けハウジングに対応するように形成されており、少なくとも前記軸受けハウジングの前記基板側の面を覆っていることを特徴とする。
このように構成することで、遮熱板を配置するためのスペースの省スペース化を図ることができる。
The invention described in claim 3 is characterized in that the heat shield plate is formed to correspond to the bearing housing and covers at least the surface of the bearing housing on the substrate side.
By comprising in this way, the space-saving for the space for arrange | positioning a heat shield can be achieved.

請求項4に記載した発明は、前記遮熱板に、この遮熱板と前記基板との間に空隙を形成するための立ち上がり部を形成したことを特徴とする。
このように構成することで、遮熱板と基板との間に確実に空隙を形成することができるので、遮熱板の熱が基板に伝達され難くなる。また、遮熱板と基板との相互位置関係を容易に決定させることができる。
The invention described in claim 4 is characterized in that a rising portion for forming a gap between the heat shield plate and the substrate is formed in the heat shield plate.
By comprising in this way, since a space | gap can be reliably formed between a heat shield board and a board | substrate, the heat of a heat shield board becomes difficult to be transmitted to a board | substrate. Moreover, the mutual positional relationship between the heat shield and the substrate can be easily determined.

請求項5に記載した発明は、前記遮熱板と前記軸受けハウジングとの間に、空隙を形成したことを特徴とする。
このように構成することで、空隙が断熱層として機能し、軸受けハウジングの熱を遮熱板に伝わり難くすることができる。
The invention described in claim 5 is characterized in that a gap is formed between the heat shield plate and the bearing housing.
By comprising in this way, a space | gap functions as a heat insulation layer and can make it difficult to transmit the heat | fever of a bearing housing to a heat shield.

請求項6に記載した発明は、前記遮熱板は樹脂で成型されており、前記開口部の近傍に前記基板と外部機器とを電気的に接続するためのコネクタを設け、このコネクタと前記遮熱板とを一体成形したことを特徴とする。
このように構成することで、部品点数を減少させることができる。
According to a sixth aspect of the present invention, the heat shield plate is molded of resin, and a connector for electrically connecting the substrate and an external device is provided in the vicinity of the opening, and the connector and the shield are provided. The heat plate is integrally formed.
By comprising in this way, a number of parts can be reduced.

請求項1に記載した発明によれば、回転軸の熱を第二軸受け、および軸受けハウジングを介してモータハウジングに伝達させ、放熱させることができる。また、遮熱板によって、第二軸受け、および軸受けハウジングに伝達された熱が基板に伝達されるのを阻止することができる。このため、基板周囲の雰囲気温度の上昇を防止することができ、基板の温度上昇を抑制することができる。よって、モータ出力精度の悪化を防止することができる。   According to the first aspect of the present invention, the heat of the rotating shaft can be transmitted to the motor housing via the second bearing and the bearing housing to dissipate heat. Further, the heat shield plate can prevent the heat transmitted to the second bearing and the bearing housing from being transmitted to the substrate. For this reason, an increase in the ambient temperature around the substrate can be prevented, and an increase in the temperature of the substrate can be suppressed. Therefore, deterioration of motor output accuracy can be prevented.

請求項2に記載した発明によれば、軸受けハウジングとモータハウジングとを確実に接触させることができると共に、この接触力を大きくすることができる。このため、軸受けハウジングからモータハウジングへの熱伝達効率を向上さることができる。よって、より確実に基板の温度上昇を抑制することができる。   According to the second aspect of the invention, the bearing housing and the motor housing can be reliably brought into contact with each other, and this contact force can be increased. For this reason, the heat transfer efficiency from a bearing housing to a motor housing can be improved. Therefore, the temperature rise of the substrate can be suppressed more reliably.

請求項3に記載した発明によれば、遮熱板を配置するためのスペースの省スペース化を図ることができるので、ブラシレスモータの小型化を図ることが可能になる。   According to the invention described in claim 3, since the space for arranging the heat shield plate can be saved, it is possible to reduce the size of the brushless motor.

請求項4に記載した発明によれば、遮熱板と基板との間に確実に空隙を形成することができるので、遮熱板の熱が基板に伝達され難くなる。このため、さらに確実に基板の温度上昇を抑制することができる。
遮熱板と基板との相互位置関係を容易に決定させることができるので、基板の組み付け性を向上させることが可能になる。
According to the invention described in claim 4, since a gap can be reliably formed between the heat shield plate and the substrate, the heat of the heat shield plate is hardly transmitted to the substrate. For this reason, the temperature rise of a board | substrate can be suppressed more reliably.
Since the mutual positional relationship between the heat shield plate and the substrate can be easily determined, it is possible to improve the assembling property of the substrate.

請求項5に記載した発明によれば、空隙が断熱層として機能し、軸受けハウジングの熱を遮熱板に伝わり難くすることができる。このため、より確実に基板の温度上昇を抑制することができる。   According to the fifth aspect of the present invention, the air gap functions as a heat insulating layer, and the heat of the bearing housing can be made difficult to be transmitted to the heat shield plate. For this reason, the temperature rise of a board | substrate can be suppressed more reliably.

請求項6に記載した発明によれば、部品点数を減少させることができるので、ブラシレスモータの製造コストを低減することが可能になる。   According to the invention described in claim 6, since the number of parts can be reduced, the manufacturing cost of the brushless motor can be reduced.

次に、この発明の実施形態を図面に基づいて説明する。
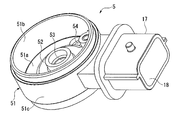
図1、図2に示すように、ブラシレスモータ1は、例えば、車両の電装品の駆動源として用いられるものであって、有底筒状のモータハウジング2と、モータハウジング2の内周面に内嵌固定されたステータ3と、ステータ3に対して回転自在に設けられたロータ4とを備え、モータハウジング2の開口部2aを中間ブラケット5、エンドカバー6の順で閉塞している。
Next, embodiments of the present invention will be described with reference to the drawings.
As shown in FIGS. 1 and 2, the brushless motor 1 is used, for example, as a drive source for electrical components of a vehicle, and has a bottomed cylindrical motor housing 2 and an inner peripheral surface of the motor housing 2. A stator 3 that is fitted and fixed and a rotor 4 that is rotatable with respect to the stator 3 are provided, and the opening 2 a of the motor housing 2 is closed in the order of the intermediate bracket 5 and the end cover 6.

モータハウジング2の周壁21は段付き状に形成されており、開口部2a側に形成されているブラケット収納部21aと、モータハウジング2のエンド部(底部)22側に形成されブラケット収納部21aよりも段差に縮径されたステータ収納部21bとを有している。
ステータ収納部21bのエンド部22には、径方向略中央に軸方向外側に向かって突出する略円筒状のボス部23が形成されている。このボス部23には、ロータ4の回転軸7の一端を回転自在に支持するための軸受け(第一軸受け)8が内嵌固定されている。
The peripheral wall 21 of the motor housing 2 is formed in a stepped shape. The bracket housing portion 21a is formed on the opening 2a side, and the end portion (bottom) 22 side of the motor housing 2 is formed on the side of the bracket housing portion 21a. Also has a stator accommodating portion 21b having a diameter reduced to a step.
The end portion 22 of the stator housing portion 21b is formed with a substantially cylindrical boss portion 23 that protrudes outward in the axial direction at substantially the center in the radial direction. A bearing (first bearing) 8 for rotatably supporting one end of the rotating shaft 7 of the rotor 4 is fitted and fixed to the boss portion 23.

ステータ3は、モータハウジング2のステータ収納部21bに内嵌固定されている。ステータ3は、略円筒状のステータコア31を有している。ステータコア31は、プレス加工によって略環状に打ち抜いた金属板(電磁鋼板)32をロータ4の軸方向に複数枚積層したものである。ステータコア31の外周部には、コイル35を巻装するためのティース部33が放射状に複数形成されている。各ティース部33には、全周に渡って絶縁材であるインシュレータ34がそれぞれ装着され、このインシュレータ34上にコイル35が巻装されている。   The stator 3 is internally fitted and fixed to the stator housing portion 21 b of the motor housing 2. The stator 3 has a substantially cylindrical stator core 31. The stator core 31 is formed by laminating a plurality of metal plates (electromagnetic steel plates) 32 punched into a substantially annular shape by pressing in the axial direction of the rotor 4. A plurality of teeth 33 for winding the coil 35 are radially formed on the outer periphery of the stator core 31. Each tooth portion 33 is provided with an insulator 34 that is an insulating material over the entire circumference, and a coil 35 is wound on the insulator 34.

ロータ4は、回転軸7のステータ3に対応する部位に外嵌固定されているロータコア41を有している。ロータコア41は、金属板(電磁鋼板)を軸方向に積層したり、軟磁性粉末を圧縮成型したりして形成されたものである。ロータコア41の径方向略中央には、回転軸7を圧入するための圧入孔46が形成されている。ロータコア41の外周側には、複数の永久磁石42が周方向に磁極が順番に変わるように配設されている。   The rotor 4 has a rotor core 41 that is externally fitted and fixed to a portion corresponding to the stator 3 of the rotating shaft 7. The rotor core 41 is formed by laminating metal plates (electromagnetic steel plates) in the axial direction or compression-molding soft magnetic powder. A press-fitting hole 46 for press-fitting the rotary shaft 7 is formed in the approximate center in the radial direction of the rotor core 41. On the outer peripheral side of the rotor core 41, a plurality of permanent magnets 42 are arranged so that the magnetic poles change in order in the circumferential direction.

また、回転軸7の他端には、センサマグネット43がマグネットホルダ44を介して設けられている。センサマグネット43はリング状に形成されたものであって、ロータ4の回転位置を検出するための回転位置検出装置40の一方を構成するものである。
マグネットホルダ44は、円板状に形成されており、径方向略中央に回転軸7に外嵌可能な孔45が形成されている。そして、マグネットホルダ44の外周部であって軸方向内側、つまり、ステータ3側の面にセンサマグネット43が配置されている。
A sensor magnet 43 is provided on the other end of the rotating shaft 7 via a magnet holder 44. The sensor magnet 43 is formed in a ring shape and constitutes one of the rotational position detection devices 40 for detecting the rotational position of the rotor 4.
The magnet holder 44 is formed in a disc shape, and a hole 45 that can be externally fitted to the rotary shaft 7 is formed at a substantially central portion in the radial direction. The sensor magnet 43 is arranged on the outer peripheral portion of the magnet holder 44 and on the inner side in the axial direction, that is, on the surface on the stator 3 side.

図2〜図4に示すように、中間ブラケット5は、ブラケット収納部21aに内嵌固定されている。中間ブラケット5は樹脂で成型されたものであって、有底筒状の中間ブラケット本体51を有している。そして、中間ブラケット本体51のエンド部(底部)51aをステータ3側に向けた状態で配置されている。エンド部51aの略中央には、軸方向に沿って開口部51bに向かって突出するボス部52が形成されている。このボス部52は、回転軸7の他端側を回転自在に支持するための軸受け(第二軸受け)9を収納する部位として機能する。   As shown in FIGS. 2 to 4, the intermediate bracket 5 is fitted and fixed to the bracket storage portion 21 a. The intermediate bracket 5 is molded of resin and has a bottomed cylindrical intermediate bracket body 51. And it arrange | positions in the state which orient | assigned the end part (bottom part) 51a of the intermediate bracket main body 51 to the stator 3 side. A boss portion 52 that protrudes toward the opening portion 51b along the axial direction is formed at substantially the center of the end portion 51a. The boss portion 52 functions as a portion that houses a bearing (second bearing) 9 for rotatably supporting the other end of the rotating shaft 7.

ここで、エンド部51aのステータ3側の面には、金属製の軸受けハウジング10が取り付けられている。軸受けハウジング10は略円板状に形成された軸受けハウジング本体12を有している。この軸受けハウジング本体12の直径D1は、モータハウジング2のブラケット収納部21aの内周面に圧入可能に設定されている。また、軸受けハウジング本体12は、モータハウジング2のブラケット収納部21aとステータ収納部21bとの間に形成された段差面25に当接することにより、軸方向の位置決めが行われている。   Here, a metal bearing housing 10 is attached to the surface of the end portion 51a on the stator 3 side. The bearing housing 10 has a bearing housing main body 12 formed in a substantially disc shape. The diameter D1 of the bearing housing main body 12 is set so as to be press-fitted into the inner peripheral surface of the bracket housing portion 21a of the motor housing 2. Further, the bearing housing body 12 is positioned in the axial direction by abutting against a step surface 25 formed between the bracket housing portion 21a and the stator housing portion 21b of the motor housing 2.

軸受けハウジング本体12の径方向略中央には、中間ブラケット5側に向かって突出する保持部11が形成されている。この保持部11は、エンド部51aのボス部52に収納された状態になっており、保持部11に軸受け9が圧入固定されている。すなわち、エンド部51aは、軸受けハウジング10に対応するように形成されており、軸受けハウジング10のステータ3とは反対側の面を被覆した状態になっている。   A holding portion 11 that protrudes toward the intermediate bracket 5 is formed at a substantially radial center of the bearing housing body 12. The holding portion 11 is housed in the boss portion 52 of the end portion 51 a, and the bearing 9 is press-fitted and fixed to the holding portion 11. That is, the end portion 51 a is formed so as to correspond to the bearing housing 10 and covers the surface of the bearing housing 10 opposite to the stator 3.

また、軸受けハウジング10の保持部11には、径方向略中央に挿通孔13が形成されていると共に、中間ブラケット本体51のボス部52には、径方向略中央に挿通孔53が形成されている。これら挿通孔13,53には、回転軸7が挿通される。回転軸7の他端は、挿通孔13,53を介して軸方向外側に向かって突出した状態になっている。
さらに、軸受けハウジング10の軸受けハウジング本体12には、後述のパワーターミナル15を挿通可能な挿通孔16が3箇所周方向に沿って形成されている。中間ブラケット本体51のエンド部51aには、挿通孔16に対応する箇所に、挿通孔56が3箇所形成されている。
Further, the holding portion 11 of the bearing housing 10 has an insertion hole 13 formed in the substantially central portion in the radial direction, and the boss portion 52 of the intermediate bracket body 51 has an insertion hole 53 formed in the substantially central portion in the radial direction. Yes. The rotation shaft 7 is inserted through the insertion holes 13 and 53. The other end of the rotating shaft 7 is in a state of protruding outward in the axial direction through the insertion holes 13 and 53.
Furthermore, the bearing housing body 12 of the bearing housing 10 is formed with three insertion holes 16 along the circumferential direction through which a power terminal 15 described later can be inserted. Three insertion holes 56 are formed at positions corresponding to the insertion holes 16 in the end portion 51 a of the intermediate bracket body 51.

また、軸受けハウジング本体12には、回転軸7を中心にして対称となる位置に一対のバーリング加工が施され、ここに雌ネジ部14が刻設されている。
一方、中間ブラケット本体51のエンド部51aには、雌ネジ部14に対応する部位にボルト孔54が形成されている。このボルト孔54に不図示のボルトを挿通し、雌ネジ部14に螺入することによって軸受けハウジング10に中間ブラケット5を締結固定することができる。すなわち、軸受けハウジング10は、モータハウジング2のブラケット収納部21aに圧入固定されていると共に、中間ブラケット5に締結固定されている。中間ブラケット本体51は、軸受けハウジング10と一体となって段差面25により軸方向の位置決めが行われている。
Further, the bearing housing main body 12 is subjected to a pair of burring processes at positions symmetrical with respect to the rotation shaft 7, and a female screw portion 14 is engraved therein.
On the other hand, a bolt hole 54 is formed in a portion corresponding to the female screw portion 14 in the end portion 51 a of the intermediate bracket body 51. The intermediate bracket 5 can be fastened and fixed to the bearing housing 10 by inserting a bolt (not shown) into the bolt hole 54 and screwing it into the female screw portion 14. That is, the bearing housing 10 is press-fitted and fixed to the bracket housing portion 21 a of the motor housing 2 and is fastened and fixed to the intermediate bracket 5. The intermediate bracket body 51 is integrated with the bearing housing 10 and is positioned in the axial direction by the step surface 25.

中間ブラケット本体51の周壁51cには、外周面の軸方向両端側にOリング溝57a,57bが形成されている。これらOリング溝57a,57bには、それぞれOリング58が装着されている。Oリング58を装着することにより、中間ブラケット本体51とモータハウジング2、およびエンドカバー6との間のシール性を確保することができる。   On the peripheral wall 51c of the intermediate bracket body 51, O-ring grooves 57a and 57b are formed on both axial ends of the outer peripheral surface. An O-ring 58 is mounted in each of the O-ring grooves 57a and 57b. By mounting the O-ring 58, the sealing performance between the intermediate bracket body 51, the motor housing 2, and the end cover 6 can be secured.

また、中間ブラケット本体51の周壁51cには、コネクタ17が径方向に沿って突出した状態で一体成形されている。モータハウジング2のブラケット収納部21aには、コネクタ17に対応する部位に切り欠き部59が形成されており、この切り欠き部59を介してコネクタ17が径方向外側へと突出している。
コネクタ17は、不図示の外部機器とブラシレスモータ1とを電気的に接続するためのものであって、不図示の外部コネクタを嵌着可能な受入れ口18が形成されている。この受入れ口18には、パワーターミナル15とセンサーターミナル19とが内装されている。
The connector 17 is integrally formed on the peripheral wall 51c of the intermediate bracket main body 51 in a state of protruding along the radial direction. The bracket housing portion 21a of the motor housing 2 is formed with a notch 59 at a portion corresponding to the connector 17, and the connector 17 protrudes radially outward through the notch 59.
The connector 17 is for electrically connecting an external device (not shown) and the brushless motor 1, and has a receiving port 18 into which an external connector (not shown) can be fitted. A power terminal 15 and a sensor terminal 19 are provided in the receiving port 18.

パワーターミナル15は外部電源からの電力を供給するためのものであって、受入れ口18からステータ3に至るまで延在するように、断面略L字状に形成されている。パワーターミナル15のステータ3側端末部は、中間ブラケット本体51のエンド部51aに形成された挿通孔56、および軸受けハウジング10の軸受けハウジング本体12に形成された挿通孔16を介してステータ3の近傍まで延出している。そして、パワーターミナル15のステータ3側端末部には、ステータ3に巻装されたコイル35の端末部が接続されている。これによって、コイル35に電力が供給されるようになっている。   The power terminal 15 is for supplying electric power from an external power source, and has a substantially L-shaped cross section so as to extend from the receiving port 18 to the stator 3. The stator 3 side terminal portion of the power terminal 15 is in the vicinity of the stator 3 via the insertion hole 56 formed in the end portion 51a of the intermediate bracket body 51 and the insertion hole 16 formed in the bearing housing body 12 of the bearing housing 10. It extends to. And the terminal part of the coil 35 wound by the stator 3 is connected to the stator 3 side terminal part of the power terminal 15. As a result, electric power is supplied to the coil 35.

一方、センサーターミナル19は、後述する制御基板71に接続され、この制御基板71と外部制御機器(不図示)との間の信号の出入力を行うために用いられる。センサーターミナル19は、受入れ口18から制御基板71に至るまで延在するように、断面略L字状に形成されている。   On the other hand, the sensor terminal 19 is connected to a control board 71 to be described later, and is used for inputting and outputting signals between the control board 71 and an external control device (not shown). The sensor terminal 19 has a substantially L-shaped cross section so as to extend from the receiving port 18 to the control board 71.

ここで、図2に示すように、中間ブラケット5のボス部52には、軸方向に沿って、かつ開口部51bに向かって立ち上がり部55が一体成形されている。立ち上がり部55は、回転軸7の周囲を取り囲むように略円筒状に形成されている。この立ち上がり部55上には、制御基板71が載置されている。つまり、制御基板71は、立ち上がり部55によって位置決めされた状態で固定されている。制御基板71が立ち上がり部55上に載置されることにより、中間ブラケット本体51のエンド部51aと制御基板71との間には空隙K1が形成される。   Here, as shown in FIG. 2, a rising portion 55 is integrally formed on the boss portion 52 of the intermediate bracket 5 along the axial direction and toward the opening 51b. The rising portion 55 is formed in a substantially cylindrical shape so as to surround the periphery of the rotation shaft 7. A control board 71 is placed on the rising portion 55. That is, the control board 71 is fixed in a state where it is positioned by the rising portion 55. By placing the control board 71 on the rising part 55, a gap K <b> 1 is formed between the end part 51 a of the intermediate bracket body 51 and the control board 71.

センサーターミナル19の制御基板71側の端末部は、制御基板71を厚さ方向に貫通、つまり、軸方向に沿って貫通するように形成されている。これにより、センサーターミナル19と制御基板71とが接続される。
制御基板71には、センサマグネット43に対向する箇所にセンサマグネット43の磁気変化を検出可能な磁気検出素子72(例えば、ホール素子やMR素子)が実装されている。
The terminal portion on the control board 71 side of the sensor terminal 19 is formed to penetrate the control board 71 in the thickness direction, that is, to penetrate along the axial direction. Thereby, the sensor terminal 19 and the control board 71 are connected.
A magnetic detection element 72 (for example, a Hall element or an MR element) capable of detecting a magnetic change of the sensor magnet 43 is mounted on the control board 71 at a location facing the sensor magnet 43.

エンドカバー6は有底筒状に形成されたものであって、中間ブラケット本体51の開口部51bを閉塞するように設けられている。すなわち、制御基板71や回転位置検出装置40は、中間ブラケット本体51とエンドカバー6とで閉塞された空間内に存在することになる。
エンドカバー6の周壁6aは、中間ブラケット本体51の周壁51cの軸方向略中央まで延在している。エンドカバー6の開口縁には、外フランジ部61が形成されている。
The end cover 6 is formed in a bottomed cylindrical shape, and is provided so as to close the opening 51 b of the intermediate bracket body 51. That is, the control board 71 and the rotational position detection device 40 exist in a space closed by the intermediate bracket body 51 and the end cover 6.
The peripheral wall 6 a of the end cover 6 extends to substantially the center in the axial direction of the peripheral wall 51 c of the intermediate bracket body 51. An outer flange portion 61 is formed at the opening edge of the end cover 6.

一方、モータハウジング2の周壁21(ブラケット収納部21a)も中間ブラケット本体51の周壁51cの軸方向略中央まで延在し、この開口縁に外フランジ部24が形成されている。この外フランジ部24の外周縁には周方向に複数の舌片部26が形成されており、この舌片部26を径方向内側に折り返す形で折り曲げ、エンドカバー6をカシメ固定している。
また、エンドカバー6の周壁6aには、コネクタ17に対応する部位に切り欠き部62が形成されている。
On the other hand, the peripheral wall 21 (bracket housing portion 21a) of the motor housing 2 also extends to the substantially axial center of the peripheral wall 51c of the intermediate bracket body 51, and an outer flange portion 24 is formed at the opening edge. A plurality of tongue pieces 26 are formed in the circumferential direction on the outer peripheral edge of the outer flange portion 24. The tongue pieces 26 are folded back inward in the radial direction, and the end cover 6 is fixed by crimping.
Further, a cutout portion 62 is formed in a portion corresponding to the connector 17 on the peripheral wall 6 a of the end cover 6.

このような構成のもと、ブラシレスモータ1は、コネクタ17のパワーターミナル15を介してコイル35に電力が供給されると、ティース部33に磁界が発生する。そして、この磁界とロータ4の永久磁石42との間に吸引力や反発力が発生し、ロータ4が回転する。このとき、ロータ4の回転軸7と一体となってセンサマグネット43が回転する。   Under such a configuration, the brushless motor 1 generates a magnetic field in the teeth portion 33 when electric power is supplied to the coil 35 via the power terminal 15 of the connector 17. An attractive force or a repulsive force is generated between the magnetic field and the permanent magnet 42 of the rotor 4, and the rotor 4 rotates. At this time, the sensor magnet 43 rotates integrally with the rotating shaft 7 of the rotor 4.

すると、センサマグネット43が回転することによる磁界の変化を制御基板71の磁気検出素子72が検出し、この検出結果を信号出力する。この出力信号はロータ4の回転位置情報として、センサーターミナル19を介して外部機器(不図示)に入力される。そして、ロータ4の回転位置情報に基づいて選択的にコイル35に電力を供給し、ロータ4を継続的に回転させる。   Then, the change of the magnetic field due to the rotation of the sensor magnet 43 is detected by the magnetic detection element 72 of the control board 71, and the detection result is output as a signal. This output signal is input as rotational position information of the rotor 4 to an external device (not shown) via the sensor terminal 19. Then, electric power is selectively supplied to the coil 35 based on the rotational position information of the rotor 4, and the rotor 4 is continuously rotated.

次に、図5に基づいて、熱の伝達経路について説明する。
コイル35に電力を供給することにより、コイル35に熱が発生する。この熱は、ステータコア31を介してモータハウジング2へと伝達される(熱伝達経路1、図5における矢印A参照)。
また、コイル35で発生した熱は、ステータコア31、およびロータコア41を介して回転軸7へと伝達される(熱伝達経路2、図5における矢印B参照)。
Next, the heat transfer path will be described with reference to FIG.
By supplying power to the coil 35, heat is generated in the coil 35. This heat is transferred to the motor housing 2 through the stator core 31 (see the heat transfer path 1 and arrow A in FIG. 5).
Further, the heat generated in the coil 35 is transmitted to the rotating shaft 7 through the stator core 31 and the rotor core 41 (refer to the heat transfer path 2 and the arrow B in FIG. 5).

ここで、回転軸7へと伝達された熱は、回転軸7の他端側を回転自在に支持している軸受け9に伝達される。軸受け9は、金属製の軸受けハウジング10に保持されているので、軸受け9に伝達された熱は軸受けハウジング10に伝達される。また、軸受けハウジング10は、モータハウジング2のブラケット収納部21aに圧入固定されているので、軸受けハウジング10に伝達された熱はモータハウジング2に伝達される。すなわち、熱伝達経路2から軸受け9に伝達された熱は、軸受けハウジング10を介してモータハウジング2に伝達される(熱伝達経路3、図5における矢印C)。   Here, the heat transmitted to the rotating shaft 7 is transmitted to the bearing 9 that rotatably supports the other end of the rotating shaft 7. Since the bearing 9 is held by a metal bearing housing 10, the heat transmitted to the bearing 9 is transmitted to the bearing housing 10. Further, since the bearing housing 10 is press-fitted and fixed to the bracket housing portion 21 a of the motor housing 2, the heat transmitted to the bearing housing 10 is transmitted to the motor housing 2. That is, the heat transferred from the heat transfer path 2 to the bearing 9 is transferred to the motor housing 2 via the bearing housing 10 (heat transfer path 3, arrow C in FIG. 5).

このように、コイル35で発生した熱は、熱伝達経路1を通ってモータハウジング2に伝達されると共に、熱伝達経路2、および熱伝達経路3を通ってモータハウジング2伝達される。そして、モータハウジング2から大気中に放熱される。
ここで、軸受けハウジング10のステータ3とは反対側の面は、中間ブラケット本体51のエンド部51aによって被覆された状態になっている。すなわち、エンド部51aは、これよりも軸方向外側の制御基板71や回転位置検出装置40の配置空間とエンド部51aよりも軸方向内側の空間とを区画する隔壁の役割を有している。
As described above, the heat generated in the coil 35 is transmitted to the motor housing 2 through the heat transfer path 1, and is transmitted to the motor housing 2 through the heat transfer path 2 and the heat transfer path 3. Then, heat is radiated from the motor housing 2 to the atmosphere.
Here, the surface of the bearing housing 10 opposite to the stator 3 is covered with the end portion 51 a of the intermediate bracket body 51. That is, the end part 51a has a role of a partition that partitions the arrangement space of the control board 71 and the rotational position detection device 40 on the axially outer side from this and the space on the axially inner side of the end part 51a.

このことは、熱体が存在している軸受け9や軸受けハウジング10と、制御基板71や回転位置検出装置40との間に壁が隔ててあるということであり、エンド部51aが軸受け9や軸受けハウジング10で発生した熱を制御基板71や回転位置検出装置40に伝達されるのを阻止する遮熱板として機能していることになる。
これに加え、中間ブラケット5のボス部52には、立ち上がり部55が一体成形され、これによって、エンド部51aと制御基板71との間に空隙K1が形成されている。このため、空隙K1を介在させる分、さらに制御基板71に軸受け9や軸受けハウジング10からの熱が伝達され難くなっている。
This means that there is a wall between the bearing 9 and the bearing housing 10 where the thermal body is present and the control board 71 and the rotational position detecting device 40, and the end portion 51 a is connected to the bearing 9 and the bearing. It functions as a heat shield that prevents the heat generated in the housing 10 from being transmitted to the control board 71 and the rotational position detector 40.
In addition, a rising portion 55 is formed integrally with the boss portion 52 of the intermediate bracket 5, thereby forming a gap K <b> 1 between the end portion 51 a and the control board 71. For this reason, the heat from the bearing 9 and the bearing housing 10 is not easily transmitted to the control board 71 as the gap K1 is interposed.

したがって、上述の実施形態によれば、コイル35で発生した熱を熱伝達経路1(図5における矢印A参照)に加えて熱伝達経路2、および熱伝達経路3(図5における矢印B,および矢印C参照)により放熱させることができる。また、遮熱板として機能している中間ブラケット本体51のエンド部51aによって軸受け9、および軸受けハウジング10に伝達された熱が制御基板71に伝達されるのを阻止することができる。このため、制御基板71周囲の雰囲気温度の上昇を防止することができ、制御基板71の温度上昇を抑制することができる。よって、ブラシレスモータ1の出力精度の悪化を防止することができる。   Therefore, according to the above-described embodiment, the heat generated in the coil 35 is added to the heat transfer path 1 (see arrow A in FIG. 5), the heat transfer path 2 and the heat transfer path 3 (arrow B in FIG. 5), and The heat can be dissipated by the arrow C). Further, it is possible to prevent the heat transmitted to the bearing 9 and the bearing housing 10 from being transmitted to the control board 71 by the end portion 51a of the intermediate bracket body 51 functioning as a heat shield. For this reason, an increase in the ambient temperature around the control board 71 can be prevented, and an increase in the temperature of the control board 71 can be suppressed. Therefore, deterioration of the output accuracy of the brushless motor 1 can be prevented.

また、軸受けハウジング10は、モータハウジング2のブラケット収納部21aに圧入固定されているので、軸受けハウジング10とモータハウジング2とを確実に接触させることができると共に、この接触力を大きくすることができる。このため、軸受けハウジング10からモータハウジング2への熱伝達効率を向上さることができる。よって、より確実に制御基板71の温度上昇を抑制することができる。   Further, since the bearing housing 10 is press-fitted and fixed to the bracket housing portion 21a of the motor housing 2, the bearing housing 10 and the motor housing 2 can be reliably brought into contact with each other and the contact force can be increased. . For this reason, the heat transfer efficiency from the bearing housing 10 to the motor housing 2 can be improved. Therefore, the temperature rise of the control board 71 can be suppressed more reliably.

さらに、軸受けハウジング10は、モータハウジング2のブラケット収納部21aとステータ収納部21bとの間に形成された段差面25に当接しているので、この分軸受けハウジング10とモータハウジング2との接触面積を増大させることができる。このため、より確実に軸受けハウジング10の熱をモータハウジング2に伝達することが可能になる。
そして、エンド部51aは、軸受けハウジング10に対応するように形成されているので、エンドカバー6とエンド部51aとの間に空きスペースが増大し、この空きスペースを有効活用することができる。このため、ブラシレスモータ1の小型化を図ることができる。
Further, since the bearing housing 10 is in contact with a step surface 25 formed between the bracket housing portion 21a and the stator housing portion 21b of the motor housing 2, the contact area between the bearing housing 10 and the motor housing 2 is reduced. Can be increased. For this reason, it becomes possible to transmit the heat of the bearing housing 10 to the motor housing 2 more reliably.
And since the end part 51a is formed so as to correspond to the bearing housing 10, an empty space increases between the end cover 6 and the end part 51a, and this empty space can be used effectively. For this reason, size reduction of the brushless motor 1 can be achieved.

また、中間ブラケット5のボス部52に立ち上がり部55を一体成形し、これによって、さらに制御基板71に軸受け9や軸受けハウジング10からの熱が伝達され難くなっている。このため、より確実に制御基板71の温度上昇を抑制することができる。さらに、エンド部51aと制御基板71との相互位置関係を容易に決定させることができるので、制御基板71の組み付け性を向上させることが可能になる。   Further, the rising portion 55 is formed integrally with the boss portion 52 of the intermediate bracket 5, whereby heat from the bearing 9 and the bearing housing 10 is not easily transmitted to the control board 71. For this reason, the temperature rise of the control board 71 can be suppressed more reliably. Furthermore, since the mutual positional relationship between the end portion 51a and the control board 71 can be easily determined, it is possible to improve the assembling property of the control board 71.

そして、中間ブラケット本体51の周壁51cにコネクタ17を一体成形したので、部品点数を減少させることができる。このため、ブラシレスモータ1の製造コストを低減することが可能になる。
また、中間ブラケット本体51の周壁51cには、外周面の軸方向両端側にOリング溝57a,57bが形成され、ここにそれぞれOリング58を装着している。このため、中間ブラケット5に遮熱機能と気密を確保するためのOリング保持機能とを兼ね備えることができ、さらに製造コストを低減することが可能になる。
Since the connector 17 is integrally formed with the peripheral wall 51c of the intermediate bracket body 51, the number of parts can be reduced. For this reason, the manufacturing cost of the brushless motor 1 can be reduced.
In addition, O-ring grooves 57a and 57b are formed in the peripheral wall 51c of the intermediate bracket main body 51 at both axial ends of the outer peripheral surface, and O-rings 58 are respectively attached thereto. For this reason, the intermediate bracket 5 can be provided with both a heat shielding function and an O-ring holding function for ensuring airtightness, and the manufacturing cost can be further reduced.

なお、本発明は上述の実施形態に限られるものではなく、本発明の趣旨を逸脱しない範囲において、上述の実施形態に種々の変更を加えたものを含む。
また、上述の実施形態では、中間ブラケット5のエンド部51aは、軸受けハウジング10に対応するように形成されており、軸受けハウジング10のステータ3とは反対側の面を被覆した状態になっている場合について説明した。しかしながら、これに限られるものではなく、軸受けハウジング10をエンド部51a内にインサート成型してもよい。この場合、軸受けハウジング10を軸受け(第二軸受け)9とモータハウジング2とに金属接触させるように成型すればよい。
The present invention is not limited to the above-described embodiment, and includes various modifications made to the above-described embodiment without departing from the spirit of the present invention.
In the above-described embodiment, the end portion 51 a of the intermediate bracket 5 is formed so as to correspond to the bearing housing 10, and covers the surface of the bearing housing 10 opposite to the stator 3. Explained the case. However, the present invention is not limited to this, and the bearing housing 10 may be insert-molded in the end portion 51a. In this case, the bearing housing 10 may be molded so as to be in metal contact with the bearing (second bearing) 9 and the motor housing 2.

さらに、中間部ラケット5のエンド部51aと軸受けハウジング10との間に、空隙を形成してもよい。
より具体的に、図6に基づいて説明する。
同図に示すように、エンド部51aの軸受けハウジング10側の面には、この軸受けハウジング10の形状に対応するように段付き状に形成された凹部65が設けられている。したがって、軸受けハウジング10は、凹部65を閉塞するように配置された状態になる。これにより、エンド部51aと軸受けハウジング10との間に空隙K2が形成される。このため、この空隙K2が断熱層として機能し、軸受けハウジング10からの熱をエンド部51aに伝わり難くすることができる。よって、さらに確実に制御基板71の温度上昇を抑制することができる。
Further, a gap may be formed between the end portion 51 a of the intermediate racket 5 and the bearing housing 10.
More specifically, a description will be given based on FIG.
As shown in the figure, a recess 65 formed in a stepped shape so as to correspond to the shape of the bearing housing 10 is provided on the surface of the end portion 51a on the bearing housing 10 side. Therefore, the bearing housing 10 is arranged so as to close the recess 65. As a result, a gap K2 is formed between the end portion 51a and the bearing housing 10. For this reason, this gap | interval K2 functions as a heat insulation layer, and can make it difficult to transmit the heat from the bearing housing 10 to the end part 51a. Therefore, the temperature rise of the control board 71 can be suppressed more reliably.

そして、上述の実施形態では、エンド部51aよりも軸方向外側に配置された基板は、磁気検出素子72などが実装された制御基板71である場合について説明した。しかしながら、基板は制御基板71に限られるものではなく、例えば、コイル35に電力を供給するための配電基板などであってもよい。
また、上述の実施形態では、回転位置検出装置40は、センサマグネット43と磁気検出素子72とで構成されている磁気式のものである場合について説明した。しかしながら、これに限られるものではなく、受/発光素子とスリットパターンが形成されたロータリスケールで構成される所謂光学式の回転位置検出装置であってもよい。
In the above-described embodiment, the case has been described in which the substrate disposed on the outer side in the axial direction than the end portion 51a is the control substrate 71 on which the magnetic detection element 72 and the like are mounted. However, the board is not limited to the control board 71, and may be a power distribution board for supplying power to the coil 35, for example.
Further, in the above-described embodiment, the case where the rotational position detection device 40 is a magnetic type constituted by the sensor magnet 43 and the magnetic detection element 72 has been described. However, the present invention is not limited to this, and it may be a so-called optical rotational position detection device configured by a rotary scale in which a light receiving / emitting element and a slit pattern are formed.

本発明の実施形態におけるブラシレスモータの斜視図である。It is a perspective view of the brushless motor in the embodiment of the present invention. 本発明の実施形態におけるブラシレスモータの縦断面である。It is a longitudinal section of a brushless motor in an embodiment of the present invention. 本発明の実施形態における中間ブラケットの斜視図である。It is a perspective view of the intermediate bracket in the embodiment of the present invention. 本発明の実施形態における軸受けハウジングの斜視図である。It is a perspective view of the bearing housing in the embodiment of the present invention. 本発明の実施形態における熱伝達経路の説明図である。It is explanatory drawing of the heat transfer path | route in embodiment of this invention. 本発明の他の実施形態におけるブラシレスモータの縦断面である。It is a longitudinal section of the brushless motor in other embodiments of the present invention.

符号の説明Explanation of symbols

1 ブラシレスモータ
2 モータハウジング
2a 開口部
3 ステータ
4 ロータ
5 中間ブラケット
6 エンドカバー
7 回転軸
8 軸受け(第一軸受け)
9 軸受け(第二軸受け)
10 軸受けハウジング
11 保持部
12 軸受けハウジング本体
17 コネクタ
31 ステータコア
35 コイル
51 中間ブラケット本体
51a エンド部(遮熱板)
55 立ち上がり部
71 制御基板(基板)
K1,K2 空隙
DESCRIPTION OF SYMBOLS 1 Brushless motor 2 Motor housing 2a Opening part 3 Stator 4 Rotor 5 Intermediate bracket 6 End cover 7 Rotating shaft 8 Bearing (first bearing)
9 Bearing (second bearing)
DESCRIPTION OF SYMBOLS 10 Bearing housing 11 Holding part 12 Bearing housing main body 17 Connector 31 Stator core 35 Coil 51 Intermediate bracket main body 51a End part (heat shield)
55 Rising part 71 Control board (board)
K1, K2 gap

Claims (6)

開口部を有するモータハウジングと、前記開口部を閉塞するエンドカバーとで形成される空間内に、
コイルが巻装されたステータと、
前記ステータに対して回転自在に設けられたロータと、
前記ロータの回転軸の一端側を回転自在に支持し、前記モータハウジングに設けられた第一軸受けと、
前記回転軸の他端側を回転自在に支持し、金属製の軸受けハウジングに保持されている第二軸受けと、
前記軸受けハウジングを間に挟んで前記ステータとは反対側に配置され、前記ロータの回転制御を行うための基板とを備えたブラシレスモータであって、
前記軸受けハウジングを前記モータハウジングに接触可能に形成し、
少なくとも前記軸受けハウジングと前記基板との間に、前記第二軸受け、および前記軸受けハウジングで発生した熱を前記基板に伝達されるのを阻止するための遮熱板を設けたことを特徴とするブラシレスモータ。
In a space formed by a motor housing having an opening and an end cover that closes the opening,
A stator wound with a coil;
A rotor provided rotatably with respect to the stator;
A first bearing provided on the motor housing, rotatably supporting one end of the rotating shaft of the rotor;
A second bearing that rotatably supports the other end of the rotating shaft and is held by a metal bearing housing;
A brushless motor disposed on the opposite side of the stator with the bearing housing in between, and a substrate for controlling rotation of the rotor;
Forming the bearing housing in contact with the motor housing;
A brushless, characterized in that a heat shield for preventing heat generated in the second bearing and the bearing housing from being transmitted to the substrate is provided between at least the bearing housing and the substrate. motor.
前記軸受けハウジングは、前記モータハウジングの内周面に圧入可能に形成されていることを特徴とする請求項1に記載のブラシレスモータ。   The brushless motor according to claim 1, wherein the bearing housing is formed so as to be press-fitted into an inner peripheral surface of the motor housing. 前記遮熱板は前記軸受けハウジングに対応するように形成されており、少なくとも前記軸受けハウジングの前記基板側の面を覆っていることを特徴とする請求項1に記載のブラシレスモータ。   2. The brushless motor according to claim 1, wherein the heat shield plate is formed so as to correspond to the bearing housing, and covers at least a surface of the bearing housing on the substrate side. 前記遮熱板に、この遮熱板と前記基板との間に空隙を形成するための立ち上がり部を形成したことを特徴とする請求項1〜請求項3の何れかに記載のブラシレスモータ。   The brushless motor according to any one of claims 1 to 3, wherein a rising portion for forming a gap between the heat shield plate and the substrate is formed on the heat shield plate. 前記遮熱板と前記軸受けハウジングとの間に、空隙を形成したことを特徴とする請求項1〜請求項4の何れかに記載のブラシレスモータ。   The brushless motor according to any one of claims 1 to 4, wherein a gap is formed between the heat shield plate and the bearing housing. 前記遮熱板は樹脂で成型されており、
前記開口部の近傍に前記基板と外部機器とを電気的に接続するためのコネクタを設け、このコネクタと前記遮熱板とを一体成形したことを特徴とする請求項1〜請求項5の何れかに記載のブラシレスモータ。

The heat shield is molded of resin,
The connector for electrically connecting the said board | substrate and external apparatus in the vicinity of the said opening part was provided, and this connector and the said heat insulation board were integrally molded, The any one of Claims 1-5 characterized by the above-mentioned. The brushless motor described in Crab.

JP2008333892A 2008-12-26 2008-12-26 Brushless motor Pending JP2010158094A (en)

Priority Applications (1)

Application Number Priority Date Filing Date Title
JP2008333892A JP2010158094A (en) 2008-12-26 2008-12-26 Brushless motor

Applications Claiming Priority (1)

Application Number Priority Date Filing Date Title
JP2008333892A JP2010158094A (en) 2008-12-26 2008-12-26 Brushless motor

Publications (1)

Publication Number Publication Date
JP2010158094A true JP2010158094A (en) 2010-07-15

Family

ID=42575559

Family Applications (1)

Application Number Title Priority Date Filing Date
JP2008333892A Pending JP2010158094A (en) 2008-12-26 2008-12-26 Brushless motor

Country Status (1)

Country Link
JP (1) JP2010158094A (en)

Cited By (11)

* Cited by examiner, † Cited by third party
Publication number Priority date Publication date Assignee Title
JP2012147519A (en) * 2011-01-07 2012-08-02 Mitsuba Corp Motor device
JP2012244855A (en) * 2011-05-23 2012-12-10 Denso Trim Kk Starter generator
JP2015144564A (en) * 2015-03-25 2015-08-06 デンソートリム株式会社 starter generator
CN106104991A (en) * 2014-08-01 2016-11-09 松下知识产权经营株式会社 electric motor
KR20170042741A (en) * 2014-09-30 2017-04-19 니혼 덴산 가부시키가이샤 motor
US20170201148A1 (en) * 2014-09-30 2017-07-13 Nidec Corporation Motor
KR101859465B1 (en) * 2014-09-30 2018-05-21 니혼 덴산 가부시키가이샤 Motor
CN109254247A (en) * 2018-09-20 2019-01-22 精进百思特电动(上海)有限公司 A kind of new energy rotor mechanism for testing under high-speed condition
KR20190034330A (en) * 2016-09-02 2019-04-01 히다치 오토모티브 시스템즈 가부시키가이샤 Electric Driving Device and Electric Power Steering Device
JP2023106939A (en) * 2022-01-21 2023-08-02 東芝産業機器システム株式会社 Electric motor
US11881747B2 (en) 2018-09-28 2024-01-23 Nidec Corporation Motor

Cited By (19)

* Cited by examiner, † Cited by third party
Publication number Priority date Publication date Assignee Title
JP2012147519A (en) * 2011-01-07 2012-08-02 Mitsuba Corp Motor device
JP2012244855A (en) * 2011-05-23 2012-12-10 Denso Trim Kk Starter generator
CN106104991B (en) * 2014-08-01 2017-07-18 松下知识产权经营株式会社 electric motor
CN106104991A (en) * 2014-08-01 2016-11-09 松下知识产权经营株式会社 electric motor
KR101859465B1 (en) * 2014-09-30 2018-05-21 니혼 덴산 가부시키가이샤 Motor
US10411553B2 (en) 2014-09-30 2019-09-10 Nidec Corporation Motor including bus bar assembly
US20170201148A1 (en) * 2014-09-30 2017-07-13 Nidec Corporation Motor
KR20170042741A (en) * 2014-09-30 2017-04-19 니혼 덴산 가부시키가이샤 motor
US10541584B2 (en) * 2014-09-30 2020-01-21 Nidec Corporation Motor
KR20180055911A (en) * 2014-09-30 2018-05-25 니혼 덴산 가부시키가이샤 Motor
KR101888890B1 (en) 2014-09-30 2018-08-16 니혼 덴산 가부시키가이샤 Motor
KR101896304B1 (en) * 2014-09-30 2018-09-07 니혼 덴산 가부시키가이샤 Motor
US20170201152A1 (en) * 2014-09-30 2017-07-13 Nidec Corporation Motor
JP2015144564A (en) * 2015-03-25 2015-08-06 デンソートリム株式会社 starter generator
KR20190034330A (en) * 2016-09-02 2019-04-01 히다치 오토모티브 시스템즈 가부시키가이샤 Electric Driving Device and Electric Power Steering Device
KR102154942B1 (en) * 2016-09-02 2020-09-10 히다치 오토모티브 시스템즈 가부시키가이샤 Electric drive and electric power steering
CN109254247A (en) * 2018-09-20 2019-01-22 精进百思特电动(上海)有限公司 A kind of new energy rotor mechanism for testing under high-speed condition
US11881747B2 (en) 2018-09-28 2024-01-23 Nidec Corporation Motor
JP2023106939A (en) * 2022-01-21 2023-08-02 東芝産業機器システム株式会社 Electric motor

Similar Documents

Publication Publication Date Title
JP2010158094A (en) Brushless motor
JP5253789B2 (en) Brushless motor
JP5709481B2 (en) motor
JP3799362B1 (en) Rotating electric machine with magnetic sensor
US10468935B2 (en) Motor
KR101555804B1 (en) Rotary electric machine
WO2019004004A1 (en) Electronic device
JP2019180196A (en) motor
CN115912756A (en) motor
US10958124B2 (en) Motor
JP6789000B2 (en) Rotating machine
JP2013009571A (en) Motor
CN112564425A (en) Motor and motor assembling method
JP5368524B2 (en) Resolver stator structure
JP2008228367A (en) Brushless motor
JP2009273292A (en) Brushless motor
JP2010142053A (en) Brushless motor
JP2008219997A (en) Brushless motor
CN222750202U (en) Stator and motor
KR20210109272A (en) Rotor and motor having the same
JP2004064801A (en) Brushless motor
JP2009100539A (en) Brushless motor
JP6858925B2 (en) Motor with drive circuit
KR20180085494A (en) Detecting device for sensing the rotor position and motor having the same
WO2025220337A1 (en) Motor