JP2010155481A - ハイブリッド車両用動力伝達装置 - Google Patents

ハイブリッド車両用動力伝達装置 Download PDF

Info

Publication number
JP2010155481A
JP2010155481A JP2008333514A JP2008333514A JP2010155481A JP 2010155481 A JP2010155481 A JP 2010155481A JP 2008333514 A JP2008333514 A JP 2008333514A JP 2008333514 A JP2008333514 A JP 2008333514A JP 2010155481 A JP2010155481 A JP 2010155481A
Authority
JP
Japan
Prior art keywords
input
shaft
rotation
gear
transmission
Prior art date
Legal status (The legal status is an assumption and is not a legal conclusion. Google has not performed a legal analysis and makes no representation as to the accuracy of the status listed.)
Pending
Application number
JP2008333514A
Other languages
English (en)
Inventor
Shuichi Fujimoto
修一 藤本
Naohito Nishida
尚人 西田
Kazuma Hatayama
一馬 畑山
Current Assignee (The listed assignees may be inaccurate. Google has not performed a legal analysis and makes no representation or warranty as to the accuracy of the list.)
Honda Motor Co Ltd
Original Assignee
Honda Motor Co Ltd
Priority date (The priority date is an assumption and is not a legal conclusion. Google has not performed a legal analysis and makes no representation as to the accuracy of the date listed.)
Filing date
Publication date
Application filed by Honda Motor Co Ltd filed Critical Honda Motor Co Ltd
Priority to JP2008333514A priority Critical patent/JP2010155481A/ja
Publication of JP2010155481A publication Critical patent/JP2010155481A/ja
Pending legal-status Critical Current

Links

Images

Classifications

    • YGENERAL TAGGING OF NEW TECHNOLOGICAL DEVELOPMENTS; GENERAL TAGGING OF CROSS-SECTIONAL TECHNOLOGIES SPANNING OVER SEVERAL SECTIONS OF THE IPC; TECHNICAL SUBJECTS COVERED BY FORMER USPC CROSS-REFERENCE ART COLLECTIONS [XRACs] AND DIGESTS
    • Y02TECHNOLOGIES OR APPLICATIONS FOR MITIGATION OR ADAPTATION AGAINST CLIMATE CHANGE
    • Y02TCLIMATE CHANGE MITIGATION TECHNOLOGIES RELATED TO TRANSPORTATION
    • Y02T10/00Road transport of goods or passengers
    • Y02T10/60Other road transportation technologies with climate change mitigation effect
    • Y02T10/62Hybrid vehicles

Landscapes

  • Structure Of Transmissions (AREA)
  • Electric Propulsion And Braking For Vehicles (AREA)
  • Hybrid Electric Vehicles (AREA)

Abstract

【課題】動力伝達装置の小型化及び軽量化を図って車両への搭載性を向上させる。
【解決手段】夫々複数の変速段を成立させる第1変速手段5と第2変速手段7とを設ける。第1変速手段5の第1入力軸4に第1入力クラッチ12を介して第1入力側伝達軸10を接続する。第1入力側伝達軸10に接続された第2入力側伝達軸14を第2入力クラッチ13を介して第2変速手段7の第2入力軸6に接続する。内燃機関2からの回転を第1回転要素Rfに入力し、第2回転要素Cfに第1入力側伝達軸10を連結し、電動機3からの回転を第3回転要素Sfに入力する動力合成機構11を設ける。動力合成機構11に第1回転要素Rfと第2回転要素Cfとの連結・切り離しを行う係合要素29を設ける。
【選択図】図1

Description

本発明は、内燃機関と電動機とを備えるハイブリッド車両用動力伝達装置に関する。
従来、内燃機関と電動機とを備えるハイブリッド車両に用いられる動力伝達装置として、夫々が複数の変速段を成立させるように構成された第1変速手段と第2変速手段とを備え、更に、内燃機関と電動機との何れか一方又は両方の動力を第1変速手段に入力すると共に、この動力をプラネタリギヤにより分配して第2変速手段に入力するようにした動力伝達装置が知られている(下記特許文献1参照)。
特開2006−44521
上記従来の動力伝達装置は、プラネタリギヤにより第1変速手段と第2変速手段とに動力を配分して、第1変速手段と第2変速手段とで単一の変速手段として機能させ、或いは、第1変速手段と第2変速手段とを夫々独立の変速手段として機能させるものである。
しかしながら、第1変速手段と第2変速手段とが有する変速段(合計で前進10速段)を成立させるためには、第1変速手段の入力軸と第2変速手段の入力軸との夫々に、各変速段毎に対応する数の変速用の駆動ギヤを配設しなければならず、変速段の数に応じて各入力軸の軸長が長くなる。しかも、第1変速手段と第2変速手段とに動力を配分するためのプラネタリギヤを、内燃機関及び電動機と各変速手段との間に介装しているために、更に、軸方向に大となる。このため、動力伝達装置の小型化及び軽量化が困難となる不都合があった。
以上の点に鑑み、本発明は動力伝達装置の小型化及び軽量化を図って車両への搭載性を向上させたハイブリッド車両用動力伝達装置を提供することを課題とする。
かかる課題を解決するために、本発明は、内燃機関と電動機とを備えるハイブリッド車両用動力伝達装置であって、第1入力軸を有して複数の変速段を成立させる第1変速手段と、第1入力軸に第1入力クラッチにより切り離し自在に連結されて該第1入力軸に内燃機関と電動機との何れか一方又は両方からの回転を伝達する第1入力側伝達軸と、第1入力軸と平行の第2入力軸を有して第1変速手段と異なる複数の変速段を成立させる第2変速手段と、第1入力側伝達軸に平行に配置された副軸が備える中間伝達ギヤを介して第1入力側伝達軸に接続され、第2入力軸に第2入力クラッチにより切り離し自在に連結されて該第2入力軸に内燃機関と電動機との何れか一方又は両方からの回転を伝達する第2入力側伝達軸と、第1入力軸及び第2入力軸に平行に配置され、第1入力軸と第2入力軸とが夫々のギヤ列を介して選択的に接続される出力軸と、互いに差動回転する第1〜第3回転要素により構成され、内燃機関からの回転が第1回転要素に入力可能とされ、第2回転要素に第1入力側伝達軸が連結され、電動機からの回転が第3回転要素に入力可能とされた動力合成機構とを備えてなり、該動力合成機構は、第1変速手段及び第2変速手段の上流側で低速段と高速段とを成立させるべく第1回転要素と第2回転要素との連結・切り離しを行う係合要素を備えることを特徴とする。
また、本発明において、前記動力合成機構の第1回転要素は、前記内燃機関の回転が出力される動力軸に第2の係合要素により切り離し自在に接続されることを特徴とする。
更に、前記動力合成機構は、変速機ケース内に収容されており、前記第1回転要素を該変速機ケースに解除自在に固定する第3の係合要素を備えることを特徴とする。
また、本発明において、車両の始動時に前記内燃機関から前記第1回転要素への入力を開始するとき、前記第3回転要素から前記電動機へ回転を入力して該電動機による回生を行うことを特徴とする。
また、本発明において、前記副軸は、後進段を成立させる後進用駆動ギヤを連結・切り離し自在に備え、該後進用駆動ギヤを介して前記出力軸に接続されることを特徴とする。
また、本発明において、前記第2変速手段は、各変速段の1つとして最低速段を成立させ、前記副軸は、前記第1入力軸に接続されて該第1入力軸から回転を入力することにより、前記後進用駆動ギヤによる後進段を成立させることを特徴とする。
本発明は、第1〜第3回転要素により構成された前記動力合成機構を設けて、内燃機関からの回転を第1回転要素に入力し、電動機からの回転を第3回転要素に入力て第2回転要素から第1入力側伝達軸へ出力する。そして、動力合成機構は、前記係合要素により第1回転要素と第2回転要素との連結・切り離しが行えるようにしたので、第1変速手段及び第2変速手段の上流側で低速段と高速段とを成立させることができる。
これにより、第1変速手段と第2変速手段とで成立させる変速段を、動力合成機構により倍増させることができるので、第1変速手段と第2変速手段とで変速段を成立させるギヤ数を増加させることなく、変速段数を増加させることができる。従って、第1変速手段及び第2変速手段の軸長をコンパクトに構成することができ、小型化及び軽量化が容易となって車両への搭載性を向上させることができる。
また、前記動力合成機構は、第3回転要素に入力した電動機からの回転により第1入力側伝達軸を駆動するので、第1変速手段と第2変速手段との何れに対しても電動機の動力を伝達することができる。そして、前記第2の係合要素を設けることで、動力合成機構の第1回転要素から内燃機関を切り離すことができるので、電動機による駆動時に内燃機関の引きずりを防止して電動機による駆動を効率良く行うことができる。また、内燃機関が停止状態のときに、前記係合要素(第1の係合要素)と第2の係合要素とを共に連結状態として電動機を駆動させることで、電動機の回転を停止状態の内燃機関に伝達させて内燃機関を始動させることができ、例えば、エンジンスタータ等が不要となるので一層の小型化が実現できる。
更に、前記第3の係合要素を設けることにより、第1回転要素の回転を停止させ、電動機からの回転を減速して第1入力側伝達軸に伝達することが可能となる。これによれば、電動機の出力を2段階で変速でき、電動機の体格を小とすることが可能となるので、車両への搭載性を一層向上させることができる。
また、車両の始動時に前記内燃機関から前記第1回転要素への入力を開始するときに第3回転要素から電動機へ回転を入力して電動機による回生を行うことで、電気的にトルクコンバータとしての作用を得ることができるので、例えば、従来の摩擦クラッチや流体トルクコンバータを備えるものに比べ、熱変換による動力損失を抑えることができ、回生により経済的に動力が得られて、しかも、極めてスムーズな発進動作を得ることができる。
また、前記副軸は、後進段を成立させる後進用駆動ギヤを連結・切り離し自在に備えることにより、後進用駆動ギヤと中間伝達ギヤの支持を副軸により共用することができ、軸数を減少させて小型化することができる。
また、前記第2変速手段の変速段の1つとして最低速段を成立するようにしておき、副軸を第1入力軸に接続して該第1入力軸から回転を入力して後進用駆動ギヤによる後進段を成立させることにより、最低速段から後進に切り換えるとき、最低速段で第2入力軸が回転している間に、回転停止状態の副軸に後進用駆動ギヤを連結しておくことができ、前進から後進への切換えは第2入力クラッチを切り離し、第1入力クラッチを連結状態とする動作だけで後進駆動することができる。これにより、前進から後進への切換えを円滑且つ迅速に行うことができる。
本発明の一実施形態を図面に基づいて説明する。図1に示すように、本実施形態の動力伝達装置1は、エンジン2(内燃機関)と電動機3(モータ・ジェネレータ)とを駆動源として備えている。また、動力伝達装置1は、第1入力軸4を有して複数の変速段を成立させる第1変速手段5と、第1入力軸4と平行の第2入力軸6を有して第1変速手段5と異なる複数の変速段を成立させる第2変速手段7とを備えている。更に、動力伝達装置1は、副軸8及び出力軸9を備えると共に、エンジン2と電動機3との何れか一方又は両方からの回転を入力し第1入力側伝達軸10に出力するプラネタリギヤ11(動力合成機構)を備えている。
第1入力軸4は、第1入力クラッチ12により第1入力側伝達軸10との連結と切り離しとが行われ、第2入力軸6は、第2入力クラッチ13により第2入力側伝達軸14との連結と切り離しとが行われる。
第1入力側伝達軸10には第1連結ギヤ15が設けられ、この第1連結ギヤ15は副軸8に設けられた中間伝達ギヤ16に常時噛合している。そして、第2入力側伝達軸14には第2連結ギヤ17が設けられ、副軸8の中間伝達ギヤ16には、この第2連結ギヤ17が常時噛合している。これにより、第1入力側伝達軸10と第2入力側伝達軸14とは中間伝達ギヤ16を介して常時接続された状態で共に回転する。
第1変速手段5の第1入力軸4には、第2変速駆動ギヤ19と第4変速駆動ギヤ21とが回転自在に設けられており、第2変速駆動ギヤ19と第4変速駆動ギヤ21とは、油圧力により作動される第1連結手段22(シンクロメッシュ機構)により第1入力軸4に切換え連結される。第1連結手段22は、図示において右動したとき第2変速駆動ギヤ19を第1入力軸4に連結し、左動したとき第4変速駆動ギヤ21を第1入力軸4に連結し、更に、中立位置においては第2変速駆動ギヤ19と第4変速駆動ギヤ21との両方を第1入力軸4から切り離した状態とする。
第2変速手段7の第2入力軸6には、第1変速駆動ギヤ18と第3変速駆動ギヤ20とが回転自在に設けられており、第1変速駆動ギヤ18と第3変速駆動ギヤ20とは、油圧力により作動される第2連結手段23(シンクロメッシュ機構)により第2入力軸6に切換え連結される。第2連結手段23は、図示において右動したとき第1変速駆動ギヤ18を第2入力軸6に連結し、左動したとき第3変速駆動ギヤ20を第2入力軸6に連結し、更に、中立位置においては第2変速駆動ギヤ19と第4変速駆動ギヤ21との両方を第2入力軸6から切り離した状態とする。
副軸8は、前記中間伝達ギヤ16を一体に備えると共に、後進用駆動ギヤ24を回転自在に備えている。後進用駆動ギヤ24は、油圧力により作動される第3連結手段25(シンクロメッシュ機構)により副軸8に対して連結・切り離しが行われる。後進用駆動ギヤ24を副軸8に設けたことにより、後進用の軸が不要となり、軸数を削減して省スペース化を図ることができる。
出力軸9は、第1入力軸4及び第2入力軸6に対して平行に回転自在に設けられている。出力軸9には、図1における右側から順に、終減速駆動ギヤ26、第1共用従動ギヤ27、及び第2共用従動ギヤ28が配設されている。
終減速駆動ギヤ26は、図示しないが、デファレンシャルギヤ機構の終減速従動ギヤに噛合し、このデファレンシャルギヤ機構を介して車両の駆動輪を駆動するようになっている。第1共用従動ギヤ27は、第1入力軸4の第2変速駆動ギヤ19に常時噛合すると共に、第2入力軸6の第1変速駆動ギヤ18に常時噛合し、更に、副軸8の後進用駆動ギヤ24に常時噛合する。第2共用従動ギヤ28は、第1入力軸4の第4変速駆動ギヤ21に常時噛合すると共に、第2入力軸6の第3変速駆動ギヤ20に常時噛合する。このように、第2変速駆動ギヤ19、第1変速駆動ギヤ18、及び後進用駆動ギヤ24の夫々の従動ギヤとして第1共用従動ギヤ27を共用し、第4変速駆動ギヤ21及び第3変速駆動ギヤ20の夫々の従動ギヤとして第2共用従動ギヤ28を共用しているので、部品点数(主にギヤの数)が飛躍的に削減でき、コンパクトに構成することができる。
プラネタリギヤ11は、リングギヤRf(第1回転要素)と、リングギヤRfに噛合するピニオンPfと、ピニオンPfを自転及び公転自在に支持するキャリアCf(第2回転要素)と、ピニオンPfに噛合するサンギヤSf(第3回転要素)とで構成されている。また、プラネタリギヤ11のリングギヤRfには、第1リングクラッチ29(係合要素)と第2リングクラッチ30(第2の係合要素)とが設けられている。第1リングクラッチ29は、リングギヤRfとキャリアCfとの連結・切り離しを行う。第2リングクラッチ30は、リングギヤRfとエンジン2の回転が出力される動力軸2a(はずみ車の出力側の軸等)とを切り離し自在に連結する。
プラネタリギヤ11の外周には、電動機3が配置されている。即ち、電動機3のステータ3aを最外周に配し、その内側のロータ3bの内部空間にプラネタリギヤ11を収容してコンパクトに構成されている。そして、本実施形態では、エンジン2からの回転が第2リングクラッチ30を介してリングギヤRfに入力可能とされると共に、電動機3からの回転がサンギヤSfに入力可能とされており、第1入力側伝達軸10がキャリアCfに連結されている。
プラネタリギヤ11においては、第1リングクラッチ29と第2リングクラッチ30とを共に接続状態とすることでエンジン2からの回転が1:1の変速比で第1入力側伝達軸10に伝達され、第2リングクラッチ30を接続状態とし且つ第1リングクラッチ29を切り離し状態とすることでエンジン2からの回転が減速されて第1入力側伝達軸10に伝達されるので、2つの変速段を得ることができる。また、第1リングクラッチ29を接続状態とし且つ第2リングクラッチ30を切り離し状態とすることでエンジン2を切り離して電動機3からの回転を1:1の変速比で第1入力側伝達軸10に伝達することもできる。
なお、本実施形態においては、第1入力側伝達軸10におけるエンジン2と反対側端部に第1入力クラッチ12を配置し、第2入力側伝達軸14におけるエンジン2と反対側端部に第2入力クラッチ13を配置することにより、エンジン2と両変速手段5,7との間にスペースを確保し、このスペースにプラネタリギヤ11を配置すると共にプラネタリギヤ11の外周に電動機3を配置したことにより、一層の小型化が図られている。
上記構成からなる動力伝達装置1において、各変速段の設定及びその動力伝達経路について図2を参照して説明する。先ず、エンジン2からの回転出力を用いるときの、前進における各変速段及び後進段について説明する。
1速段は、第2リングクラッチ30を接続状態とし且つ第1リングクラッチ29を切り離し状態としてエンジン2からの回転を減速して第1入力側伝達軸10に伝達する。そして、第2連結手段23を右動させて第1変速駆動ギヤ18を第2入力軸6に連結し(第1連結手段22は中立位置とし)、第2入力クラッチ13を接続作動させる(第1入力クラッチ12は切り離し状態とする)ことにより設定される。第1入力側伝達軸10から第2入力側伝達軸14に伝達された回転駆動力は、第2入力クラッチ13を経て第2入力軸6に伝達され、第2入力軸6に連結された第1変速駆動ギヤ18と、これに噛合する第1共用従動ギヤ27とを介して出力軸9に伝達される。これにより1速段による駆動力は終減速駆動ギヤ26を介して出力される。
なお、このときプラネタリギヤ11においては、電動機3の制御により、ロータ3bの自由回転を得るようにすれば、サンギヤSfが自由回転して所謂ニュートラル状態となり、電動機3の逆回転による制御によりサンギヤSfを停止させることで、車両の発進を円滑に行うことができる。また、車両の発進時にエンジン2からの回転をサンギヤSfを介して電動機3へ入力することで、電動機3の回生制御を行い電気的にトルクコンバータの作用を得ることができる。こうすることで、例えば、従来の摩擦クラッチや流体トルクコンバータを備えるものに比べ、熱変換による動力損失を抑えることができ、回生により経済的に動力が得られて、しかも、極めてスムーズな発進動作を得ることができる。
2速段は、第2リングクラッチ30と第1リングクラッチ29とを接続状態としてエンジン2からの回転を1:1の変速比で第1入力側伝達軸10に伝達し、他は1速段と同様に維持することにより設定される。これにより、プラネタリギヤ11における変速段の切換えのみで2速段が成立し、2速段による駆動力は終減速駆動ギヤ26を介して出力される。
3速段は、第2リングクラッチ30を接続状態とし且つ第1リングクラッチ29を切り離し状態としてエンジン2からの回転を減速して第1入力側伝達軸10に伝達する。そして、第1連結手段22を右動させて第2変速駆動ギヤ19を第1入力軸4に連結し(第2連結手段23は中立位置とし)、第1入力クラッチ12を接続作動させる(第2入力クラッチ13は切り離し状態とする)ことにより設定される。第1入力側伝達軸10に伝達された回転駆動力は、第1入力クラッチ12を経て第1入力軸4に伝達され、第1入力軸4に連結された第2変速駆動ギヤ19と、これに噛合する第1共用従動ギヤ27とを介して出力軸9に伝達される。これにより3速段による駆動力は終減速駆動ギヤ26を介して出力される。
4速段は、第2リングクラッチ30と第1リングクラッチ29とを接続状態としてエンジン2からの回転を1:1の変速比で第1入力側伝達軸10に伝達し、他は3速段と同様に維持することにより設定される。これにより、プラネタリギヤ11における変速段の切換えのみで4速段が成立し、4速段による駆動力は終減速駆動ギヤ26を介して出力される。
5速段は、第2リングクラッチ30を接続状態とし且つ第1リングクラッチ29を切り離し状態としてエンジン2からの回転を減速して第1入力側伝達軸10に伝達する。そして、第2連結手段23を左動させて第3変速駆動ギヤ20を第2入力軸6に連結し(第1連結手段22は中立位置とし)、第2入力クラッチ13を接続作動させる(第1入力クラッチ12は切り離し状態とする)ことにより設定される。第1入力側伝達軸10から第2入力側伝達軸14に伝達された回転駆動力は、第2入力クラッチ13を経て第2入力軸6に伝達され、第2入力軸6に連結された第3変速駆動ギヤ20と、これに噛合する第2共用従動ギヤ28とを介して出力軸9に伝達される。これにより5速段による駆動力は終減速駆動ギヤ26を介して出力される。
6速段は、第2リングクラッチ30と第1リングクラッチ29とを接続状態としてエンジン2からの回転を1:1の変速比で第1入力側伝達軸10に伝達し、他は5速段と同様に維持することにより設定される。これにより、プラネタリギヤ11における変速段の切換えのみで6速段が成立し、6速段による駆動力は終減速駆動ギヤ26を介して出力される。
7速段は、第2リングクラッチ30を接続状態とし且つ第1リングクラッチ29を切り離し状態としてエンジン2からの回転を減速して第1入力側伝達軸10に伝達する。そして、第1連結手段22を左動させて第4変速駆動ギヤ21を第1入力軸4に連結し(第2連結手段23は中立位置とし)、第1入力クラッチ12を接続作動させる(第2入力クラッチ13は切り離し状態とする)ことにより設定される。第1入力側伝達軸10に伝達された回転駆動力は、第1入力クラッチ12を経て第1入力軸4に伝達され、第1入力軸4に連結された第4変速駆動ギヤ21と、これに噛合する第2共用従動ギヤ28とを介して出力軸9に伝達される。これにより7速段による駆動力は終減速駆動ギヤ26を介して出力される。
8速段は、第2リングクラッチ30と第1リングクラッチ29とを接続状態としてエンジン2からの回転を1:1の変速比で第1入力側伝達軸10に伝達し、他は7速段と同様に維持することにより設定される。これにより、プラネタリギヤ11における変速段の切換えのみで8速段が成立し、8速段による駆動力は終減速駆動ギヤ26を介して出力される。
以上のように、前記プラネタリギヤ11を設けることにより、第1変速手段5と第2変速手段7とで4つの変速段を成立させるように構成しておくだけで、8つの変速段を成立させることができるので、第1変速手段5と第2変速手段7とで8つの変速段を成立させる場合に比べて第1入力側伝達軸10、第1入力軸4、第2入力側伝達軸14、及び第2入力軸6等の各軸の長さ寸法を小とし、動力伝達装置1をコンパクトに形成することができる。
後進段は、第2リングクラッチ30と第1リングクラッチ29とを接続状態とし、第3連結手段25により後進用駆動ギヤ24を副軸8に連結する(第1及び第2連結手段23は中立位置とする)ことにより設定される。第1入力側伝達軸10に伝達された回転駆動力は、第1連結ギヤ15及び中間伝達ギヤ16を介して副軸8に伝達され、後進用駆動ギヤ24とこれに噛合する第1共用従動ギヤ27とを介して出力軸9に伝達される。これにより後進段における駆動力は終減速駆動ギヤ26を介して出力される。
電動機3のみにより駆動する場合には、第2リングクラッチ30によりエンジン2の動力軸2aを切り離し、第1リングクラッチ29を接続状態として電動機3からの回転を第1入力側伝達軸10に伝達する。この状態で、上述した1速段、3速段、5速段、及び7速段と同様にして、4つの変速段を得ることができる。このとき、第2リングクラッチ30によってエンジン2の動力軸2aが切り離されていることにより、エンジン2の引きずりを防止することができる。また、エンジン2が停止状態のときに、第2リングクラッチ30と第1リングクラッチ29とを接続して電動機3を駆動させることで、電動機3の回転を停止状態のエンジン2に伝達させてエンジン2を始動させることができ、例えば、エンジンスタータが不要となる。更に、エンジン2による駆動中に車両の減速等に際して電動機3による回生を行う場合には、回生を行う車速段に応じて第1リングクラッチ29を接続作動させ、第2リングクラッチ30を切り離し作動させることにより、エンジン2を切り離して効率の良い回生を行うことができる。
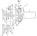
ここで、図1においては、電動機3の駆動時に第2リングクラッチ30によりエンジン2の動力軸2aを切り離し、第1リングクラッチ29を接続状態として電動機3からの回転を第1入力側伝達軸10に伝達するものを示したが、例えば、図3に示すように、動力伝達装置1を収容する図示しない変速機ケースにプラネタリギヤ11のリングギヤRfを解除自在に固定する第3リングクラッチ31(第3の係合要素)を設けてもよい。この構成では、第2リングクラッチ30と第1リングクラッチ29とを切り離し状態とし、第3リングクラッチ31を接続状態として電動機3の駆動を行うことで、プラネタリギヤ11により上述の1速段よりも低い減速段を得ることができる。なお、図3に示す第3リングクラッチ31に替えて、図4に示すようにワンウェイクラッチ32(第3の係合要素)を採用してもよい。ワンウェイクラッチ32は、電動機3からの回転をサンギヤSfに入力したときに、サンギヤSfの回転方向に対して逆回転となるリングギヤRfを係止してリングギヤRfの回転を停止させるが、エンジン2からの回転がリングギヤRfに入力されたときには、リングギヤRfの係止を解除して回転自在とする。なお、電動機3からの入力回転方向と、電動機3からの入力回転方向とは同じ方向とされている。
また、図1においては、後進用駆動ギヤ24を備える副軸8を、第1入力側伝達軸10の第1連結ギヤ15により中間伝達ギヤ16を介して回転させる構成を示したが、これ以外に、図5に示すように、副軸8を他の2つの連結ギヤ33,34を介して第1入力軸4に接続し、第1入力軸4から副軸8に回転を入力するようにしてもよい。このとき、中間伝達ギヤ16は副軸8に回転自在に設けて、第1入力側伝達軸10から第2入力側伝達軸14への回転の伝達のみを行うようにする。このように構成することで、第2入力クラッチ13を連結状態として第2入力軸6の第1変速駆動ギヤ18を回転させているときに、第1入力クラッチ12を切り離し状態として副軸8を回転させない状態としておくことができる。従って、後進直前の状態が前進最低速段(1速段)による走行状態であっても、その間に第3連結手段25による副軸8への後進用駆動ギヤ24の連結を完了させることができ、前進から後進への切換えは第2入力クラッチ13を切り離し第1入力クラッチ12を連結状態とするだけで後進駆動することができる。これにより、前進から後進への切換えを円滑且つ迅速に行うことができる。
本発明の動力伝達装置の概略構成を示す図。 本発明の動力伝達装置の作動を示す図。 図1の動力伝達装置における他の例を示す図。 図1の動力伝達装置における他の例を示す図。 図1の動力伝達装置における他の例を示す図。
符号の説明
1…動力伝達装置、2…エンジン(内燃機関)、2a…動力軸、3…電動機、4…第1入力軸、5…第1変速手段、6…第2入力軸、7…第2変速手段、8…副軸、9…出力軸、10…第1入力側伝達軸、11…プラネタリギヤ(動力合成機構)、12…第1入力クラッチ、13…第2入力クラッチ、14…第2入力側伝達軸、16…中間伝達ギヤ、24…後進用駆動ギヤ、29…第1リングクラッチ(係合要素)、30…第2リングクラッチ(第2の係合要素)、31…第3リングクラッチ(第3の係合要素)、32…ワンウェイクラッチ(第3の係合要素)、Rf…リングギヤ(第1回転要素)、Cf…キャリア(第2回転要素)、Sf…サンギヤ(第3回転要素)。

Claims (6)

  1. 内燃機関と電動機とを備えるハイブリッド車両用動力伝達装置であって、
    第1入力軸を有して複数の変速段を成立させる第1変速手段と、
    第1入力軸に第1入力クラッチにより切り離し自在に連結されて該第1入力軸に内燃機関と電動機との何れか一方又は両方からの回転を伝達する第1入力側伝達軸と、
    第1入力軸と平行の第2入力軸を有して第1変速手段と異なる複数の変速段を成立させる第2変速手段と、
    第1入力側伝達軸に平行に配置された副軸が備える中間伝達ギヤを介して第1入力側伝達軸に接続され、第2入力軸に第2入力クラッチにより切り離し自在に連結されて該第2入力軸に内燃機関と電動機との何れか一方又は両方からの回転を伝達する第2入力側伝達軸と、
    第1入力軸及び第2入力軸に平行に配置され、第1入力軸と第2入力軸とが夫々のギヤ列を介して選択的に接続される出力軸と、
    互いに差動回転する第1〜第3回転要素により構成され、内燃機関からの回転が第1回転要素に入力可能とされ、第2回転要素に第1入力側伝達軸が連結され、電動機からの回転が第3回転要素に入力可能とされた動力合成機構とを備えてなり、
    該動力合成機構は、第1変速手段及び第2変速手段の上流側で低速段と高速段とを成立させるべく第1回転要素と第2回転要素との連結・切り離しを行う係合要素を備えることを特徴とするハイブリッド車両用動力伝達装置。
  2. 前記動力合成機構の第1回転要素は、前記内燃機関の回転が出力される動力軸に第2の係合要素により切り離し自在に接続されることを特徴とする請求項1記載のハイブリッド車両用動力伝達装置。
  3. 前記動力合成機構は、変速機ケース内に収容されており、前記第1回転要素を該変速機ケースに解除自在に固定する第3の係合要素を備えることを特徴とする請求項2記載のハイブリッド車両用動力伝達装置。
  4. 車両の始動時に前記内燃機関から前記第1回転要素への入力を開始するとき、前記第3回転要素から前記電動機へ回転を入力して該電動機による回生を行うことを特徴とする請求項1乃至3の何れか1項記載のハイブリッド車両用動力伝達装置。
  5. 前記副軸は、後進段を成立させる後進用駆動ギヤを連結・切り離し自在に備え、該後進用駆動ギヤを介して前記出力軸に接続されることを特徴とする請求項1乃至4の何れか1項記載のハイブリッド車両用動力伝達装置。
  6. 前記第2変速手段は、各変速段の1つとして最低速段を成立させ、
    前記副軸は、前記第1入力軸に接続されて該第1入力軸から回転を入力することにより、前記後進用駆動ギヤによる後進段を成立させることを特徴とする請求項5記載のハイブリッド車両用動力伝達装置。
JP2008333514A 2008-12-26 2008-12-26 ハイブリッド車両用動力伝達装置 Pending JP2010155481A (ja)

Priority Applications (1)

Application Number Priority Date Filing Date Title
JP2008333514A JP2010155481A (ja) 2008-12-26 2008-12-26 ハイブリッド車両用動力伝達装置

Applications Claiming Priority (1)

Application Number Priority Date Filing Date Title
JP2008333514A JP2010155481A (ja) 2008-12-26 2008-12-26 ハイブリッド車両用動力伝達装置

Publications (1)

Publication Number Publication Date
JP2010155481A true JP2010155481A (ja) 2010-07-15

Family

ID=42573732

Family Applications (1)

Application Number Title Priority Date Filing Date
JP2008333514A Pending JP2010155481A (ja) 2008-12-26 2008-12-26 ハイブリッド車両用動力伝達装置

Country Status (1)

Country Link
JP (1) JP2010155481A (ja)

Cited By (2)

* Cited by examiner, † Cited by third party
Publication number Priority date Publication date Assignee Title
CN102910066A (zh) * 2011-08-02 2013-02-06 本田技研工业株式会社 混合动力驱动装置
CN105909747A (zh) * 2016-05-29 2016-08-31 无锡商业职业技术学院 一种可发电式行星齿轮减速器

Citations (3)

* Cited by examiner, † Cited by third party
Publication number Priority date Publication date Assignee Title
JPH09123773A (ja) * 1995-10-27 1997-05-13 Toyota Motor Corp ハイブリッド駆動装置
JP2003312281A (ja) * 2003-03-05 2003-11-06 Aisin Aw Co Ltd 車輌用駆動装置
JP2006044521A (ja) * 2004-08-06 2006-02-16 Toyota Motor Corp 駆動装置およびこれを備える動力出力装置並びにこれを搭載する自動車

Patent Citations (3)

* Cited by examiner, † Cited by third party
Publication number Priority date Publication date Assignee Title
JPH09123773A (ja) * 1995-10-27 1997-05-13 Toyota Motor Corp ハイブリッド駆動装置
JP2003312281A (ja) * 2003-03-05 2003-11-06 Aisin Aw Co Ltd 車輌用駆動装置
JP2006044521A (ja) * 2004-08-06 2006-02-16 Toyota Motor Corp 駆動装置およびこれを備える動力出力装置並びにこれを搭載する自動車

Cited By (3)

* Cited by examiner, † Cited by third party
Publication number Priority date Publication date Assignee Title
CN102910066A (zh) * 2011-08-02 2013-02-06 本田技研工业株式会社 混合动力驱动装置
JP2013032119A (ja) * 2011-08-02 2013-02-14 Honda Motor Co Ltd ハイブリッド駆動装置
CN105909747A (zh) * 2016-05-29 2016-08-31 无锡商业职业技术学院 一种可发电式行星齿轮减速器

Similar Documents

Publication Publication Date Title
JP4466685B2 (ja) 車両用動力伝達装置
CN102015399B (zh) 混合动力装置
CN103221242B (zh) 混合动力驱动装置
JP5312481B2 (ja) ハイブリット車両の動力伝達装置
JP5178845B2 (ja) ハイブリット車両の動力伝達装置
JP5162792B2 (ja) 動力伝達装置
JP2010162924A (ja) ハイブリット車両の動力伝達装置
CN103827545A (zh) 行星变速器
WO2008156197A1 (ja) 動力伝達装置
JP2005155891A (ja) ハイブリッド車の駆動装置
KR100852044B1 (ko) 하이브리드 전기 차량용 듀얼 클러치 변속기
JP2009067212A (ja) ハイブリッド駆動装置
WO2012169410A1 (ja) 車両用駆動装置
JP2015140127A (ja) ハイブリッド車両用変速機
JP5437226B2 (ja) ハイブリッド駆動装置
JP5198348B2 (ja) ハイブリッド車両用トランスミッション
JP2010162923A (ja) ハイブリッド車両の動力伝達装置
JP4400676B2 (ja) ハイブリッド車の駆動装置
JP2017193320A (ja) 自動車用駆動装置
JP4134998B2 (ja) ハイブリッド車の駆動装置
JP2010179859A (ja) ハイブリッド車両用動力伝達装置
JP3860593B2 (ja) ハイブリッド駆動装置並びにそれを搭載した自動車
JP2010155481A (ja) ハイブリッド車両用動力伝達装置
JP2018118616A (ja) 車両用駆動装置
JPWO2018079842A1 (ja) 車両用駆動装置

Legal Events

Date Code Title Description
A621 Written request for application examination

Free format text: JAPANESE INTERMEDIATE CODE: A621

Effective date: 20101125

A131 Notification of reasons for refusal

Free format text: JAPANESE INTERMEDIATE CODE: A131

Effective date: 20120612

A131 Notification of reasons for refusal

Free format text: JAPANESE INTERMEDIATE CODE: A131

Effective date: 20120821

A02 Decision of refusal

Free format text: JAPANESE INTERMEDIATE CODE: A02

Effective date: 20130122