JP2010113082A - 光モジュール及び光モジュールの作製方法 - Google Patents
光モジュール及び光モジュールの作製方法 Download PDFInfo
- Publication number
- JP2010113082A JP2010113082A JP2008284575A JP2008284575A JP2010113082A JP 2010113082 A JP2010113082 A JP 2010113082A JP 2008284575 A JP2008284575 A JP 2008284575A JP 2008284575 A JP2008284575 A JP 2008284575A JP 2010113082 A JP2010113082 A JP 2010113082A
- Authority
- JP
- Japan
- Prior art keywords
- waveguide
- optical
- face
- optical module
- distance
- Prior art date
- Legal status (The legal status is an assumption and is not a legal conclusion. Google has not performed a legal analysis and makes no representation as to the accuracy of the status listed.)
- Granted
Links
Images
Landscapes
- Length Measuring Devices By Optical Means (AREA)
- Optical Couplings Of Light Guides (AREA)
- Optical Integrated Circuits (AREA)
Abstract
【解決手段】光モジュール100は、第1PLC110と第2PLC120の2つのPLCを接続して構成されている。そして、第1PLC110および第2PLC120を跨いでMZI回路101が形成されている。MZI回路101は、一部が第2PLC120に形成され、他の部分が第1PLC110に形成されている。MZI回路101を端面距離測定用光回路として用い、これにより端面間距離Dを高精度に測定することが可能となる。
【選択図】図1
Description
本発明の好ましい実施の形態における光モジュール及び光モジュールの作製方法について、図面を参照して詳細に説明する。同一機能を有する各構成部については、図示及び説明簡略化のため、同一符号を付して示す。
本発明の第2の実施の形態に係る光モジュールを、図7を用いて説明する。図7は、本実施形態の光モジュール200の基本構造を示す概略構成図である。本実施形態の光モジュール200は、PLC210と220とを接合して構成されており、第1の実施形態と同様に、端面距離測定用光回路として両方のPLCに跨ってMZI回路201が形成されている。
本発明の第3の実施の形態に係る光モジュールを、図8を用いて説明する。図8は、本実施形態の光モジュール300の基本構造を示す概略構成図である。本実施形態の光モジュール300は、PLC310と320とを接合して構成されており、第1の実施形態と同様に、端面距離測定用光回路として両方のPLCに跨ってMZI回路301が形成されている。
本発明の第4の実施の形態に係る光モジュールを、図9を用いて説明する。図9は、本実施形態の光モジュール400の基本構造を示す概略構成図である。本実施形態の光モジュール400は、PLC410と420とを接合して構成されており、第1の実施形態と同様に、端面距離測定用光回路として両方のPLCに跨ってMZI回路401が形成されている。
本発明の第5の実施の形態に係る光モジュールを、図10を用いて説明する。図10は、本実施形態の光モジュール500の基本構造を示す概略構成図である。本実施形態の光モジュール500は、端面距離測定用光回路として2つのMZI回路501、502を備えており、接続する2つのPLC510、520の両方に跨ってそれぞれが形成されている。
本発明の第6の実施の形態に係る光モジュールを、図11を用いて説明する。図11は、本実施形態の光モジュール600の基本構造を示す概略構成図である。本実施形態の光モジュール600では、MZI回路601の構成が上記の各実施形態と異なっている。第1PLC610に形成された第1導波路602は、方向性結合器611、612の間で最も遠い距離にある端子611aと612bとの間に接続され、第1分割導波路603aと第2分割導波路603bが、方向性結合器611、612の間で最も近い距離にある端子611bと612aにそれぞれ接続されている。本実施形態では、方向性結合器611、612の各端子と第1導波路602、第1分割導波路603a、及び第2分割導波路603bとの接続の仕方が、上記の実施形態と逆になっている。
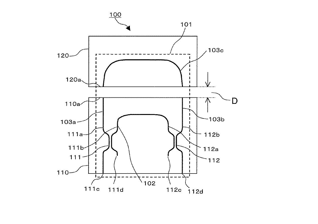
101、201、301、401、501、601 MZI回路
102、602 第1導波路
103a、403a、603a 第1分割導波路
103b、403b、603b 第2分割導波路
103c、403c、603c 第3分割導波路
110、210、310、410、510、610 第1PLC
110a、120a 接続端面
111、112、411、412、611、612 方向性結合器
111a、111b、112a、112b、611a、611b、612a、612b 端子
111c、611c 入射用端子
111d、112c、611d、612c 終端
112d、612d 出射用端子
120、220、320、420、520、620 第2PLC
130 光源
140 OSA
150 パルス光源
160 測定装置
161 SHG導波路
162 SPF
163 PD
164 出力装置
211、311、415、511 第1回路
221、321、425、521 第2回路
Claims (14)
- 2つの光デバイスを対向するそれぞれの接続端面で光学的に接続して構成された光モジュールであって、
第1の光デバイスが、一の接続端面と、2つの方向性結合器と、両端が前記2つの方向性結合器のそれぞれに接続された第1導波路と、前記2つの方向性結合器のそれぞれと前記一の接続端面との間に形成された第1分割導波路及び第2分割導波路と、を備え、
第2の光デバイスが、他の接続端面と、両端が前記他の接続端面に形成された第3分割導波路を備え、
前記一の接続端面と前記他の接続端面とが所定距離だけ離して配置され、前記第1分割導波路と前記第3分割導波路との間、及び前記第2分割導波路と前記第3分割導波路との間、がそれぞれ光学的に接続されて第2導波路を形成し、
前記第1導波路、前記第2導波路および前記2つの方向性結合器が端面距離測定用光回路を形成している
ことを特徴とする光モジュール。 - 前記第1導波路は、前記2つの方向性結合器の間で最も近い距離にある端子間に接続され、
前記第2導波路は、前記2つの方向性結合器の間で最も遠い距離にある端子間に接続されている
ことを特徴とする請求項1に記載の光モジュール。 - 前記第1導波路は、前記2つの方向性結合器の間で最も遠い距離にある端子間に接続され、
前記第2導波路は、前記2つの方向性結合器の間で最も近い距離にある端子間に接続され、
前記第1導波路と前記第2導波路とが、モード結合が生じないように重ねて配置されている
ことを特徴とする請求項1に記載の光モジュール。 - 前記端面距離測定用光回路は、前記接続端面の長手方向のいずれか一端側に配置されている
ことを特徴とする請求項1乃至3のいずれか1項に記載の光モジュール。 - 前記端面距離測定用光回路は、前記2つの光デバイス上に形成されている別の光回路とモード結合が生じないように重ねて配置されている
ことを特徴とする請求項1乃至3のいずれか1項に記載の光モジュール。 - 前記第1分割導波路及び前記2つの方向性結合器の一方と、前記第2分割導波路及び前記方向性結合器の他方とが前記第1の光デバイスの接続端面の長手方向の両端にそれぞれ配置されている
ことを特徴とする請求項1乃至3のいずれか1項に記載の光モジュール。 - 前記端面距離測定用光回路は、前記接続端面の両端側にそれぞれ1つずつ配置されている
ことを特徴とする請求項1乃至3のいずれか1項に記載の光モジュール。 - 前記第1導波路及び前記第2導波路のいずれか一方が前記2つの方向性結合器の一方に設けられた入射用端子と他方に設けられた出射用端子との間に接続され、前記第1導波路及び前記第2導波路の他方が前記2つの方向性結合器のそれぞれの終端間に接続されており、
前記第1導波路、前記第1分割導波路、前記第2分割導波路、および前記第3分割導波路のそれぞれの長さは、前記端面間距離が所定の大きさの時に前記入射用端子から前記出射用端子までの光路長と前記2つの終端間の光路長とが等しくなるように決定されている
ことを特徴とする請求項1乃至7のいずれか1項に記載の光モジュール。 - 前記端面距離測定用光回路は、マッハツェンダ−干渉計(MZI)回路を形成している
ことを特徴とする請求項1乃至8のいずれか1項に記載の光モジュール。 - 前記2つの光デバイスの少なくとも一方は、シリコン基板上に導波路が形成された平面光波回路(PLC)である
ことを特徴とする請求項1乃至9のいずれか1項に記載の光モジュール。 - 前記2つの光デバイスの少なくとも一方は、半導体導波路を有する
ことを特徴とする請求項1乃至9のいずれか1項に記載の光モジュール。 - 一の接続端面と、2つの方向性結合器と、両端が前記2つの方向性結合器のそれぞれに接続された第1導波路と、前記2つの方向性結合器のそれぞれと前記一の接続端面との間に形成された第1分割導波路及び第2分割導波路とを備えた第1の光デバイスと、
他の接続端面と、両端が前記他の接続端面に形成された第3分割導波路を備えた第2の光デバイスとを、
前記一の接続端面と前記他の接続端面とを対向させて光学的に接続する光モジュールの作製方法であって、
前記第1分割導波路と前記第3分割導波路との間、及び前記第2分割導波路と前記第3分割導波路との間、をそれぞれ光学的に接続させて第2導波路を形成し、
前記第1導波路、前記第2導波路及び前記2つの方向性結合器で端面距離測定用光回路を形成し、
前記第1導波路及び前記第2導波路のいずれか一方が前記2つの方向性結合器の一方に設けられた入射用端子と他方に設けられた出射用端子との間に接続され、前記第1導波路及び前記第2導波路の他方が前記2つの方向性結合器のそれぞれの終端間に接続されており、
前記入射用端子から所定の入射光を入射させて前記出射用端子から出射される出射光を所定の測定手段で測定し、
前記測定手段による測定結果に基づいて前記一の接続端面と前記他の接続端面との端面間距離が所定の大きさとなるように位置合わせする
ことを特徴とする光モジュールの作製方法。 - 前記入射光として所定波長の連続光を用い、前記測定手段として自由スペクトル領域(FSR)を測定可能な光スペクトラム・アナライザ(OSA)を用い、前記端面間距離が所定の大きさとなるときの前記FSRの目標値を事前に決定し、前記OSAで測定された前記FSRの値が前記目標値に一致するように前記端面間距離を調整する
ことを特徴とする請求項12に記載の光モジュールの作製方法。 - 前記端面間距離が所定の大きさの時に前記入射用端子から前記出射用端子までの光路長と前記2つの終端間の光路長とが等しくなるように、前記第1導波路、前記第1分割導波路、前記第2分割導波路、および前記第3分割導波路のそれぞれの長さを決定し、前記入射光として所定波長のパルス光を用い、前記測定手段としてSHG光を発生させてその出力を測定する出力装置を用い、前記SHG光の出力が最大となるように前記端面間距離を調整する
ことを特徴とする請求項12に記載の光モジュールの作製方法。
Priority Applications (1)
| Application Number | Priority Date | Filing Date | Title |
|---|---|---|---|
| JP2008284575A JP5065230B2 (ja) | 2008-11-05 | 2008-11-05 | 光モジュール及び光モジュールの作製方法 |
Applications Claiming Priority (1)
| Application Number | Priority Date | Filing Date | Title |
|---|---|---|---|
| JP2008284575A JP5065230B2 (ja) | 2008-11-05 | 2008-11-05 | 光モジュール及び光モジュールの作製方法 |
Publications (2)
| Publication Number | Publication Date |
|---|---|
| JP2010113082A true JP2010113082A (ja) | 2010-05-20 |
| JP5065230B2 JP5065230B2 (ja) | 2012-10-31 |
Family
ID=42301693
Family Applications (1)
| Application Number | Title | Priority Date | Filing Date |
|---|---|---|---|
| JP2008284575A Expired - Fee Related JP5065230B2 (ja) | 2008-11-05 | 2008-11-05 | 光モジュール及び光モジュールの作製方法 |
Country Status (1)
| Country | Link |
|---|---|
| JP (1) | JP5065230B2 (ja) |
Citations (5)
| Publication number | Priority date | Publication date | Assignee | Title |
|---|---|---|---|---|
| JPS6412205A (en) * | 1987-07-07 | 1989-01-17 | Topcon Corp | Optical integrated circuit type interferometer |
| JPH0316493U (ja) * | 1989-06-30 | 1991-02-19 | ||
| JPH0694425A (ja) * | 1992-02-15 | 1994-04-05 | Daimler Benz Ag | 光学的集積歪み干渉計 |
| JP2001272468A (ja) * | 2000-03-27 | 2001-10-05 | Nikon Corp | 光導波路デバイス及びこれを用いた光波測距装置 |
| JP2002062454A (ja) * | 2000-08-18 | 2002-02-28 | Advantest Corp | 光導波路接続装置 |
-
2008
- 2008-11-05 JP JP2008284575A patent/JP5065230B2/ja not_active Expired - Fee Related
Patent Citations (5)
| Publication number | Priority date | Publication date | Assignee | Title |
|---|---|---|---|---|
| JPS6412205A (en) * | 1987-07-07 | 1989-01-17 | Topcon Corp | Optical integrated circuit type interferometer |
| JPH0316493U (ja) * | 1989-06-30 | 1991-02-19 | ||
| JPH0694425A (ja) * | 1992-02-15 | 1994-04-05 | Daimler Benz Ag | 光学的集積歪み干渉計 |
| JP2001272468A (ja) * | 2000-03-27 | 2001-10-05 | Nikon Corp | 光導波路デバイス及びこれを用いた光波測距装置 |
| JP2002062454A (ja) * | 2000-08-18 | 2002-02-28 | Advantest Corp | 光導波路接続装置 |
Also Published As
| Publication number | Publication date |
|---|---|
| JP5065230B2 (ja) | 2012-10-31 |
Similar Documents
| Publication | Publication Date | Title |
|---|---|---|
| US6115520A (en) | Compact mach-zehnder interferometer and wavelength reference employing same | |
| US20100322555A1 (en) | Grating Structures for Simultaneous Coupling to TE and TM Waveguide Modes | |
| US20100092128A1 (en) | Optical Transceiver module | |
| US6775439B2 (en) | Optical circuit device and optical transceiver | |
| JP2002006155A (ja) | 光合分波器及び光導波路を有する光システム | |
| JP2004117706A (ja) | 光集積素子、光集積素子の製造方法、及び光源モジュール | |
| US10564355B2 (en) | Optical waveguide element | |
| JP2010223991A (ja) | 光波長フィルタ及び光合分波素子 | |
| EP2131220A1 (en) | Method of adjusting optical axis of optical waveguide element, and optical waveguide element | |
| JP4477260B2 (ja) | 導波路型光カプラおよび該導波路型光カプラを用いた光合分波器 | |
| Murao et al. | Lens alignment technique using high-power laser for hybrid integrated multi-channel transmitter optical sub-assemblies | |
| WO2019244554A1 (ja) | 平面光波回路及び光デバイス | |
| JP6393221B2 (ja) | 光送信器および光送信装置 | |
| WO2020213067A1 (ja) | 光合波回路および光源 | |
| US9874705B2 (en) | Optical waveguide module | |
| JP5065230B2 (ja) | 光モジュール及び光モジュールの作製方法 | |
| JP6427072B2 (ja) | 光ファイバブロック | |
| JP6389443B2 (ja) | ハイブリッド集積化光デバイスとその製造方法 | |
| JP2015099711A (ja) | センサ光回路並びにリチウムイオン二次電池 | |
| JP2008170831A (ja) | 光変調器 | |
| Liu et al. | High assembly tolerance and cost-effective 100-Gb/s TOSA with silica-PLC AWG multiplexer | |
| US6690856B2 (en) | Optical waveguide filter using multi-mode interference | |
| Romero-García et al. | Misalignment tolerant couplers for hybrid integration of semiconductor lasers with silicon photonics parallel transmitters | |
| JP2012242654A (ja) | 光合分波器および光合分波方法 | |
| CN114689188A (zh) | 波长测量芯片及波长测量系统 |
Legal Events
| Date | Code | Title | Description |
|---|---|---|---|
| A621 | Written request for application examination |
Free format text: JAPANESE INTERMEDIATE CODE: A621 Effective date: 20110801 |
|
| A977 | Report on retrieval |
Free format text: JAPANESE INTERMEDIATE CODE: A971007 Effective date: 20120425 |
|
| A131 | Notification of reasons for refusal |
Free format text: JAPANESE INTERMEDIATE CODE: A131 Effective date: 20120501 |
|
| A521 | Written amendment |
Free format text: JAPANESE INTERMEDIATE CODE: A523 Effective date: 20120626 |
|
| TRDD | Decision of grant or rejection written | ||
| A01 | Written decision to grant a patent or to grant a registration (utility model) |
Free format text: JAPANESE INTERMEDIATE CODE: A01 Effective date: 20120720 |
|
| A01 | Written decision to grant a patent or to grant a registration (utility model) |
Free format text: JAPANESE INTERMEDIATE CODE: A01 |
|
| A61 | First payment of annual fees (during grant procedure) |
Free format text: JAPANESE INTERMEDIATE CODE: A61 Effective date: 20120809 |
|
| FPAY | Renewal fee payment (event date is renewal date of database) |
Free format text: PAYMENT UNTIL: 20150817 Year of fee payment: 3 |
|
| LAPS | Cancellation because of no payment of annual fees |
