JP2010111996A - Toilet unit - Google Patents

Toilet unit Download PDF

Info

Publication number
JP2010111996A
JP2010111996A JP2008282796A JP2008282796A JP2010111996A JP 2010111996 A JP2010111996 A JP 2010111996A JP 2008282796 A JP2008282796 A JP 2008282796A JP 2008282796 A JP2008282796 A JP 2008282796A JP 2010111996 A JP2010111996 A JP 2010111996A
Authority
JP
Japan
Prior art keywords
toilet
drain pipe
pipe
hand
toilet bowl
Prior art date
Legal status (The legal status is an assumption and is not a legal conclusion. Google has not performed a legal analysis and makes no representation as to the accuracy of the status listed.)
Pending
Application number
JP2008282796A
Other languages
Japanese (ja)
Inventor
友紀 ▲くわ▼野
Tomonori Kuwaya
Takeshi Takagi
健 高木
Koichiro Matsushita
康一郎 松下
Emiko Tsuda
英美子 津田
Yuichi Sato
雄一 佐藤
Eiji Nomoto
英二 野本
Satoo Nakada
聡郎 中田
Current Assignee (The listed assignees may be inaccurate. Google has not performed a legal analysis and makes no representation or warranty as to the accuracy of the list.)
Toto Ltd
KI Holdings Co Ltd
Original Assignee
Toto Ltd
Koito Industries Ltd
Priority date (The priority date is an assumption and is not a legal conclusion. Google has not performed a legal analysis and makes no representation as to the accuracy of the date listed.)
Filing date
Publication date
Application filed by Toto Ltd, Koito Industries Ltd filed Critical Toto Ltd
Priority to JP2008282796A priority Critical patent/JP2010111996A/en
Publication of JP2010111996A publication Critical patent/JP2010111996A/en
Pending legal-status Critical Current

Links

Images

Classifications

    • YGENERAL TAGGING OF NEW TECHNOLOGICAL DEVELOPMENTS; GENERAL TAGGING OF CROSS-SECTIONAL TECHNOLOGIES SPANNING OVER SEVERAL SECTIONS OF THE IPC; TECHNICAL SUBJECTS COVERED BY FORMER USPC CROSS-REFERENCE ART COLLECTIONS [XRACs] AND DIGESTS
    • Y02TECHNOLOGIES OR APPLICATIONS FOR MITIGATION OR ADAPTATION AGAINST CLIMATE CHANGE
    • Y02ATECHNOLOGIES FOR ADAPTATION TO CLIMATE CHANGE
    • Y02A10/00TECHNOLOGIES FOR ADAPTATION TO CLIMATE CHANGE at coastal zones; at river basins
    • Y02A10/30Flood prevention; Flood or storm water management, e.g. using flood barriers

Landscapes

  • Sanitary Device For Flush Toilet (AREA)

Abstract

<P>PROBLEM TO BE SOLVED: To prevent, in a draining structure configured to discharge waste water of a sanitary device and waste water of a lifting/lowering toilet bowl to one floor-side drain pipe, overflow of sewage or filth from the sanitary device when the floor-side drain pipe is clogged. <P>SOLUTION: The toilet unit includes: a toilet bowl body provided to be capable of lifting and lowering; a toilet bowl drain pipe which is connected to a drain port of the toilet bowl body and extends/contracts or moves up/down according to the lifting/lowering of the toilet bowl body; the sanitary device; a sanitary device drain pipe connected to a drain port of the sanitary device; and a merging member for connecting the toilet bowl drain pipe and the sanitary device drain pipe to the floor-side drain pipe. The overflow level of the sanitary device is located above the overflow level of the toilet bowl body in an upper limit position of the toilet bowl body. <P>COPYRIGHT: (C)2010,JPO&INPIT

Description

本発明は、部屋の床若しくは壁に取り付けられ昇降する便器の排水とその他の衛生機器の排水とが合流するトイレユニットに関する発明である。   The present invention relates to a toilet unit in which the drainage of a toilet attached to the floor or wall of a room and the drainage of other sanitary equipment merge.

従来、昇降便器の排水管構造については、特許文献1のような蛇腹を使用した構造が知られている。   Conventionally, a structure using a bellows as disclosed in Patent Document 1 is known as a drain pipe structure of an elevator toilet.

一方、従来の便器において、衛生機器と便器の排水管が合流する構造として特許文献2や特許文献3のように、便器の排水ソケットに手洗い器などの衛生機器からの排水管が合流する構造が知られている
特開平1-235739号公報 特開2003-27563号公報 特開2003-313925号公報
On the other hand, in a conventional toilet, a structure in which a drainage pipe from a sanitary device such as a hand-washer joins a drainage socket of a toilet bowl as in Patent Document 2 and Patent Document 3 as a structure in which a sanitary appliance and a drainage pipe of the toilet bowl merge. Are known
Japanese Unexamined Patent Publication No. 1-235739 JP 2003-27563 A JP2003-313925A

ところで、昇降便器では一般的な便器の設置高さよりも高い位置まで便器が上昇するため、手洗い器などの衛生機器を一般的な設置高さに設置すると、昇降便器の溢れ面が衛生機器の溢れ縁の上方に位置してしまう可能性がある。排水管が詰まった場合に、両者がこのような位置関係であれば、便器を洗浄すると手洗い器などの衛生機器から汚物が溢れ出してしまう恐れがある。
衛生機器に汚水が流れこんだり汚物が溢れ出すようなことになれば、非常に不衛生であると同時に、悪臭などで使用者に不快な思いをさせてしまうことなる。本発明は上記問題を解決するためになされたものである。
By the way, since the toilet rises to a position higher than the installation height of a general toilet in a lifting toilet, when a sanitary device such as a hand-washer is installed at a general installation height, the overflow surface of the lifting toilet overflows the sanitary device. It may be located above the edge. If the drainage pipe is clogged and the two are in such a positional relationship, if the toilet is washed, filth may overflow from a sanitary device such as a hand-washer.
If sewage flows into the sanitary equipment or the filth overflows, it is very unsanitary and at the same time makes the user feel uncomfortable with bad odors. The present invention has been made to solve the above problems.

上記課題を解決するための本発明によれば、昇降可能に設けられた便器本体と、
前記便器本体の排水口に接続され、前記便器本体の昇降に合わせて伸縮または昇降する便器排水管と、
衛生機器と、
前記衛生機器の排水口に接続された衛生機器排水管と、
前記便器排水管と前記衛生機器排水管とを床側排水管に接続するための合流部材と、を備え、
前記衛生機器の溢れ面が前記便器本体の上限位置における前記便器本体の溢れ面よりも上方に位置することを特徴とする。
According to the present invention for solving the above-mentioned problems, a toilet body provided so as to be movable up and down;
A toilet drain pipe connected to a drain outlet of the toilet body and extending or retracting as the toilet body moves up and down;
Sanitary equipment,
A sanitary equipment drain pipe connected to the sanitary equipment drain;
A merging member for connecting the toilet drain pipe and the sanitary equipment drain pipe to a floor drain pipe,
The overflow surface of the sanitary device is located above the overflow surface of the toilet body at the upper limit position of the toilet body.

本発明によれば、衛生機器の排水と昇降便器の排水とを一つの床側排水管へ排水する排水構造において、床側排水管が詰まった場合においても衛生機器から汚水や汚物が溢れ出すことを防止することができる。
According to the present invention, in a drainage structure for draining sanitary equipment drainage and lifting toilet drainage to one floor side drain pipe, even if the floor side drain pipe is clogged, sewage and filth overflow from the sanitary equipment. Can be prevented.

以下、本発明の一実施形態にかかる壁掛昇降便器、手洗器で構成されたトイレブースについて図面に基づいて説明する。図1は、本発明の一実施形態にかかる壁掛昇降便器、手洗器を設置したトイレブースを示す全体概略図であり、図2は図1に示した昇降上限位置における壁掛昇降便器の溢れ面と手洗器の溢れ面との高さの関係を示した図であり、図3は図1に示した壁掛昇降便器をキャビネット後方から見た場合の全体斜視図である。   Hereinafter, a toilet booth constituted by a wall-mounted lifting toilet and hand-washing apparatus according to an embodiment of the present invention will be described with reference to the drawings. FIG. 1 is an overall schematic diagram illustrating a toilet booth provided with a wall-mounted elevator toilet and hand-washing apparatus according to an embodiment of the present invention, and FIG. 2 is an overflow surface of the wall-mounted elevator toilet shown in FIG. It is the figure which showed the relationship of the height with the overflow surface of a hand-washing machine, and FIG. 3 is a whole perspective view at the time of seeing the wall hanging raising / lowering toilet shown in FIG. 1 from the cabinet back.

本発明の一実施形態にかかるトイレブースは図1に示すように壁掛昇降便器1、壁掛昇降便器の便器本体9を保持するための便器固定フレーム30(図3参照)を収納するキャビネット2、手洗器3、手洗器のトラップを隠蔽するための手洗キャビネット4、手洗器を設置するためのカウンター5、手洗器3への給水管、手洗器3からの手洗排水管14(図2参照)を隠蔽するためにカウンターに取り付けられた配管カバー6、壁掛昇降便器1を昇降するためのリモコン7、便器本体9に設置された温水洗浄便座8から構成されている。   As shown in FIG. 1, a toilet booth according to an embodiment of the present invention includes a wall hanging elevator 1, a cabinet 2 for storing a toilet fixing frame 30 (see FIG. 3) for holding a toilet main body 9 of the wall hanging toilet, hand washing Concealing machine 3, hand washing cabinet 4 for concealing trap of hand washing machine, counter 5 for installing hand washing machine, water supply pipe to hand washing machine 3, and hand washing drain pipe 14 from hand washing machine 3 (see FIG. 2) In order to do this, it is composed of a pipe cover 6 attached to the counter, a remote controller 7 for raising and lowering the wall hanging toilet 1 and a warm water washing toilet seat 8 installed in the toilet body 9.

図2は壁掛昇降便器1が最も高い位置まで上昇したときの状態を示している。スパウト12からの吐水は手洗器3及び手洗器3の下に設置されたトラップ13を介して手洗排水管14を通りプラグソケット200から排出される。壁掛昇降便器1からの排水は伸縮式排水管100を通ってプラグソケット200から排出される。   FIG. 2 shows a state where the wall-mounted lifting toilet 1 is raised to the highest position. The water discharged from the spout 12 is discharged from the plug socket 200 through the hand-washing drain pipe 14 via the hand-washing machine 3 and the trap 13 installed under the hand-washing machine 3. Drainage from the wall hanging toilet 1 is discharged from the plug socket 200 through the telescopic drainage pipe 100.

手洗器の溢れ面11の高さは壁掛昇降便器1が最も高く上昇した場合の壁掛昇降便器の溢れ面10の高さよりも高い位置に設置されている。ここで壁掛昇降便器の溢れ面10は便器本体9の開口上端面である。   The height of the overflow surface 11 of the hand-washing device is set at a position higher than the height of the overflow surface 10 of the wall-mounted lift toilet 1 when the wall-mounted lift toilet 1 is raised highest. Here, the overflow surface 10 of the wall-mounted lifting toilet is the opening upper end surface of the toilet body 9.

このような位置に設置することで、床排水管90(図4参照)が詰まった状態で便器を洗浄したとしても、洗浄水が溢れるのは壁掛昇降便器の溢れ面10からであり手洗器排水管14を通って手洗器3まで逆流し、手洗器の溢れ面11から溢れることはなく衛生的である。   Even if the toilet bowl is washed with the floor drain pipe 90 (see FIG. 4) clogged by being installed at such a position, the flushing water overflows from the overflow surface 10 of the wall-mounted elevator and toilet drainage It flows back to the hand-washer 3 through the pipe 14, and does not overflow from the overflow surface 11 of the hand-washer.

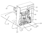
図3に示すように壁掛昇降便器1は便器本体9の底部がトイレ床面Fに接しない構造の壁掛便器である。便器本体9が固定される便器固定フレーム30は固定フレーム31と可動フレーム32を備えている。ベース板20には2本の固定フレーム31の下端から壁掛昇降便器1の前方に向かって便器先端より若干先まで延在している鋼板ベース板21が戴置固定されている。鋼板ベース板21の周囲は面一のトイレ床を形成するように鋼板ベース板21と同じ厚みの合板で埋められる。   As shown in FIG. 3, the wall-mounted lift toilet 1 is a wall-mounted toilet having a structure in which the bottom of the toilet body 9 does not contact the toilet floor F. The toilet bowl fixing frame 30 to which the toilet bowl body 9 is fixed includes a fixed frame 31 and a movable frame 32. A steel plate base plate 21 extending from the lower ends of the two fixed frames 31 toward the front of the wall-mounted lifting toilet 1 and extending slightly beyond the front end of the toilet bowl is placed and fixed to the base plate 20. The periphery of the steel plate base plate 21 is filled with plywood having the same thickness as the steel plate base plate 21 so as to form a flush toilet floor.

また、可動フレーム32の上端にはロータンク(図示せず)を載せる載置部33が設けられ、便器洗浄用の水を貯水するロータンクがこの上に載置されるようになっている。   In addition, a mounting portion 33 for placing a low tank (not shown) is provided at the upper end of the movable frame 32, and a low tank for storing toilet flushing water is placed thereon.

また、固定フレーム31の下方部分には、DCモータなどのモータ61が配置され、可動フレーム32の一部にはこのモータ61で駆動され伸縮自在に延在する例えばボールネジからなる伸縮シャフト62の端部が結合されている。そして、トイレの使用者や清掃者がトイレに備わった昇降リモコン7(図1参照)を操作することでモータ61の駆動力を介して可動フレーム32を固定フレーム31に対して所定量だけ昇降させるようになっている。   A motor 61 such as a DC motor is disposed below the fixed frame 31, and an end of a telescopic shaft 62 made of, for example, a ball screw, is driven by the motor 61 and extends in a telescopic manner at a part of the movable frame 32. The parts are combined. Then, the toilet user or the cleaner operates the elevator remote control 7 (see FIG. 1) provided in the toilet to raise and lower the movable frame 32 by a predetermined amount with respect to the fixed frame 31 through the driving force of the motor 61. It is like that.

固定フレーム31の下端は、図3に示すように、断面L型の鋼板からなる取付け板36を介してボルト等の締結具を用いて鋼板ベース板21に固定されている。   As shown in FIG. 3, the lower end of the fixed frame 31 is fixed to the steel plate base plate 21 using a fastener such as a bolt via a mounting plate 36 made of a steel plate having an L-shaped cross section.

図4に示すように、伸縮式排水管100は便器と接続された汚物排出口94に接続された便器側排水管101と床排水管90とに連通している。そして、伸縮式排水管100は接続排水管110と蛇腹管120とを備えている。   As shown in FIG. 4, the telescopic drainage pipe 100 communicates with the toilet drainage pipe 101 and the floor drainage pipe 90 connected to the waste discharge port 94 connected to the toilet bowl. The telescopic drain pipe 100 includes a connection drain pipe 110 and a bellows pipe 120.

また、伸縮式排水管100はプラグソケット200を介して床排水管90と接続されているトイレ床に設けられた挿通用開口部と上述した床排水管90との間の隙間がプラグソケット200により覆われている。   Further, the telescopic drain pipe 100 has a gap between the insertion opening provided in the toilet floor connected to the floor drain pipe 90 via the plug socket 200 and the floor drain pipe 90 described above by the plug socket 200. Covered.

便器側排水管101は伸縮性を有した例えば軟質の或る程度の強度と洗浄液の排水に耐えられる耐薬品性の塩ビ管などのゴムでできており、便器側方から見て略L字形を有し、一端部が便器と接続された汚物排出口94に接続され、他端が接続排水管110の上端部101aに結合されている。施工時のプラグソケットとフレームの配置誤差等により、仮にプラグソケットの固定位置と便器側排水管の端部の距離が規定の距離よりも長くなった或いは短くなった場合にも、便器側排水管101が伸縮性を有することで、また便器側排水管101が蛇腹部101aを有することで、蛇腹部101aで誤差を吸収することができ、接続排水管110を傾けることなく鉛直方向に中心を合わせて配置することを可能とし、円滑な便器の昇降を可能とする。   The toilet-side drain pipe 101 is made of rubber, such as a PVC pipe having chemical properties that can withstand the drainage of the cleaning liquid, which has elasticity, and has a substantially L shape when viewed from the side of the toilet bowl. And having one end connected to a waste discharge port 94 connected to the toilet and the other end coupled to the upper end 101a of the connection drain pipe 110. Even if the distance between the fixing position of the plug socket and the end of the toilet drain pipe becomes longer or shorter than the specified distance due to the placement error of the plug socket and frame during construction, etc., the toilet drain pipe Since 101 has elasticity and the toilet-side drain pipe 101 has the bellows part 101a, the bellows part 101a can absorb errors, and the connection drain pipe 110 can be centered in the vertical direction without tilting. The toilet can be moved up and down smoothly.

また、接続排水管110の上端部110aには便器側排水管101の端部が被せられ、この端部の周囲をホースクランプ(図示せず)によってしっかりと締結し、排水管内部の汚水や臭気がこの連結部から外部に漏れないようになっている。   Further, the upper end portion 110a of the connecting drainage pipe 110 is covered with the end portion of the toilet-side drainage pipe 101, and the periphery of this end part is firmly fastened by a hose clamp (not shown), so that sewage and odor inside the drainage pipe can be obtained. Is prevented from leaking outside from this connecting portion.

図5は図4に示した接続構造を上から見た上面図である。   FIG. 5 is a top view of the connection structure shown in FIG. 4 as viewed from above.

図6は、図5に示したプラグソケットの上面図である。図7は、図6に示したプラグソケットの斜視図である。図8は、図7に示したプラグソケットの分解構成図である。
プラグソケット200は、十分な強度を有し成形性に優れ洗浄液の排水に耐えられる耐薬品性を有した硬質の塩ビ等でできており、上側プラグソケット201と下側プラグソケット202で構成されている。
上側プラグソケット201は、延出部200aに手洗排水管14(図2参照)を接続するための手洗排水合流口203を備え、蛇腹管120を接続するための上側凸部204と上部嵌合壁205を有する。
下側プラグソケット202は、ベース板210とベース板210から上方に突出し上端部が縮径した開口部を有する円筒管212と下部嵌合壁213を備え、床排水管90と接続される。ベース板210の四隅にはプラグソケット200をトイレ床面Fに取り付けるためのボルト等の締結具を通す取付孔211が形成されている。
6 is a top view of the plug socket shown in FIG. FIG. 7 is a perspective view of the plug socket shown in FIG. FIG. 8 is an exploded view of the plug socket shown in FIG.
The plug socket 200 is made of hard polyvinyl chloride or the like having sufficient strength, excellent moldability, and chemical resistance that can withstand drainage of cleaning liquid, and is composed of an upper plug socket 201 and a lower plug socket 202. Yes.
The upper plug socket 201 includes a hand-washing drainage junction 203 for connecting the hand-washing drain pipe 14 (see FIG. 2) to the extending part 200a, and an upper projection 204 and an upper fitting wall for connecting the bellows pipe 120. 205.
The lower plug socket 202 includes a base plate 210, a cylindrical tube 212 having an opening projecting upward from the base plate 210 and having a reduced diameter at the upper end portion, and a lower fitting wall 213, and is connected to the floor drain pipe 90. At the four corners of the base plate 210, attachment holes 211 are formed through which fasteners such as bolts for attaching the plug socket 200 to the toilet floor F are passed.

また、円筒管212の下端部には便器が昇降するとき、接続排水管110の動きをスムースにするために、接続排水管110と蛇腹管120に貯まった空気を床排水管90
に吸排気するための吸排気口223が設けられている。
In addition, when the toilet is moved up and down at the lower end of the cylindrical pipe 212, the floor drain pipe 90 is used to store the air accumulated in the connecting drain pipe 110 and the bellows pipe 120 so that the connection drain pipe 110 moves smoothly.
An intake / exhaust port 223 is provided for intake and exhaust.

また、円筒管212の内径は、接続排水管110の外径と略等しくなっており、これによって接続排水管110を円筒管212の内側に挿入した際に、上下方向にスムーズに摺動可能になっている。便器本体9の昇降に合わせて接続排水管110も昇降し、昇降の上限位置から下限位置のいずれの位置においても接続排水管110と円筒管212との重なりができるように設計されている。このような構成にすることで、便器からの排水が確実に床排水管90に流れ込むようになっている。   Further, the inner diameter of the cylindrical pipe 212 is substantially equal to the outer diameter of the connection drain pipe 110, so that when the connection drain pipe 110 is inserted inside the cylindrical pipe 212, it can slide smoothly in the vertical direction. It has become. The connecting drainage pipe 110 is also raised and lowered in accordance with the raising and lowering of the toilet body 9, and the connecting drainage pipe 110 and the cylindrical pipe 212 are designed to overlap at any position from the upper limit position to the lower limit position. With such a configuration, the waste water from the toilet bowl flows into the floor drain pipe 90 with certainty.

また、下側プラグソケット202の傾斜面202aは手洗排水管14から手洗排水合流部203を経由し流れ込んだ排水が流れやすく、さらに万が一床排水管90が詰まり、汚水が逆流しても詰まりが解消したときには汚水が床排水管90に流れやすくするため、下部嵌合壁213側から円筒管212側に傾斜がついている。   In addition, the inclined surface 202a of the lower plug socket 202 easily flows the drainage flowing from the handwash drainage pipe 14 via the handwash drainage junction 203, and the floor drain pipe 90 is clogged by any chance. In order to make it easier for sewage to flow into the floor drain pipe 90, the cylinder pipe 212 side is inclined from the lower fitting wall 213 side.

上部嵌合壁205は下部嵌合壁213の内周側に挿入可能であり、上部嵌合壁205の外周面と下部嵌合壁213の内周面とが接着剤等で接合されている。   The upper fitting wall 205 can be inserted into the inner peripheral side of the lower fitting wall 213, and the outer peripheral surface of the upper fitting wall 205 and the inner peripheral surface of the lower fitting wall 213 are joined by an adhesive or the like.

また、手洗排水管14は蛇腹管120に干渉しないように配置しているので、便器の昇降する際に、蛇腹管120の伸縮が手洗排水管14によって妨げられることがない。   Moreover, since the hand-washing drain pipe 14 is arranged so as not to interfere with the bellows pipe 120, the expansion and contraction of the bellows pipe 120 is not hindered by the hand-washing drain pipe 14 when the toilet is lifted.

さらには、手洗排水管14は床に固定されたプラグソケット200に接続されているので、便器の昇降に合せて手洗排水管14を伸縮、あるいは昇降させる必要がない。手洗排水管14は複数の排水管を連結して構成する場合が多く、手洗排水管14を伸縮、あるいは昇降させる場合には、その連結部に緩みが生じる可能性がある。前記構成とすることで、手洗排水管14の信頼性を損なわず、漏水等を防ぐことができる。   Furthermore, since the hand-washing drain pipe 14 is connected to the plug socket 200 fixed to the floor, it is not necessary to extend or lower the hand-washing drain pipe 14 as the toilet is lifted. In many cases, the hand-washing drain pipe 14 is configured by connecting a plurality of drain pipes. When the hand-washing drain pipe 14 is expanded or contracted or lifted, there is a possibility that the connecting portion may be loosened. By setting it as the said structure, water leakage etc. can be prevented, without impairing the reliability of the hand-washing drain pipe 14. FIG.

ブラグソケット200は床排水管90との連結部である外周壁230及び内周壁240が側面視でベース板210より下方に突出するように設けられている。床排水管90とプラグソケット200とは、床下側で接着接続される。このような構成にすることで、蛇腹部120の伸縮スペースを長くとることができ、便器本体の昇降ストロークも大きく取ることができる。また、蛇腹形状が複雑になること防ぐことができる。   The brag socket 200 is provided so that an outer peripheral wall 230 and an inner peripheral wall 240 which are connecting portions with the floor drain pipe 90 protrude downward from the base plate 210 in a side view. The floor drain pipe 90 and the plug socket 200 are adhesively connected on the lower side of the floor. With such a configuration, the space for the bellows portion 120 can be extended, and the lifting stroke of the toilet body can be increased. Moreover, it can prevent that a bellows shape becomes complicated.

また、延出部200aの下面と、上部嵌合壁205の内周面と、底面214とで形成される緩衝室202bは手洗器からの排水を床排水管側に導入するための空間である。緩衝室202bの高さをできるだけ低くすることで、蛇腹管120の伸縮スペースを広くとることができる。また、緩衝室202bは手洗水排水時にサイホンを発生しないよう床排水管90の径よりも十分大きくなっている。   The buffer chamber 202b formed by the lower surface of the extending portion 200a, the inner peripheral surface of the upper fitting wall 205, and the bottom surface 214 is a space for introducing waste water from the hand-washer to the floor drain pipe side. . By making the height of the buffer chamber 202b as low as possible, the expansion / contraction space of the bellows tube 120 can be widened. Further, the buffer chamber 202b is sufficiently larger than the diameter of the floor drain pipe 90 so as not to generate siphons when hand-washing water is drained.

図9は建築躯体に取り付けた伸縮式排水管の状態を示す正面図、図10は建築躯体に取り付けた伸縮式排水管の状態を示す側面図である。床排水管90の排水心300は住宅躯体である根太301、大引302の影響を受けにくい位置でしかもキャビネット前出を最小限にすることが可能な位置に設けられており、その床排水管90の排水心300と壁303の間に手洗排水合流部203を設けることで、キャビネット前出を広くすることなく、手洗排水管14をプラグソケット200に接続することができる。   FIG. 9 is a front view showing a state of the telescopic drainage pipe attached to the building case, and FIG. 10 is a side view showing a state of the telescopic drainage pipe attached to the building case. The drainage core 300 of the floor drainage pipe 90 is provided at a position that is not easily affected by the joist 301 and the large pulling 302 that are housing frames, and at a position that can minimize the amount of advancement from the cabinet. By providing the hand wash drainage junction 203 between the drainage core 300 and the wall 303, the hand wash drain pipe 14 can be connected to the plug socket 200 without widening the cabinet.

手洗排水合流部203の開口を正面から見て横方向あるいは前方に向けることで、キャビネット前出を広くすることなく構成することができる。   By directing the opening of the hand-washing / drainage joint portion 203 in the lateral direction or the front as viewed from the front, it can be configured without widening the front of the cabinet.

手洗排水合流部203は蛇腹管120に隠れず前方から見える位置にあるため、伸縮式排水管100を設置したあとでも前方から容易に手洗排水合流部203と手洗排水管14とを接続できる。したがって、手洗排水管14のメンテナンス時においても容易に作業を行うことができる。   Since the hand-washing / drainage confluence 203 is in a position where it can be seen from the front without being hidden by the bellows pipe 120, the hand-washing / drainage confluence 203 and the hand-washing drain 14 can be easily connected from the front even after the telescopic drainage pipe 100 is installed. Therefore, the work can be easily performed even during the maintenance of the hand-washing drain pipe 14.

図11は建築躯体に取り付けた伸縮式排水管100と便器固定フレーム30の状態を示す正面図、図12は建築躯体に取り付けた伸縮式排水管100と便器固定フレーム30の状態を示す側面図である。手洗排水合流部203は便器固定フレーム30の内側にあり、手洗排水管14も便器固定フレーム内側に配置しているので、便器固定フレーム30の外側を収納スペースとして有効に活用できる。   FIG. 11 is a front view showing a state of the telescopic drain pipe 100 and the toilet bowl fixing frame 30 attached to the building cabinet, and FIG. 12 is a side view showing a state of the telescopic drain pipe 100 and the toilet bowl fixing frame 30 attached to the building cabinet. is there. Since the hand-washing / drainage confluence 203 is inside the toilet bowl fixing frame 30 and the hand-washing drain pipe 14 is also arranged inside the toilet bowl fixing frame 30, the outside of the toilet bowl fixing frame 30 can be used effectively as a storage space.

図13は、便器が最も低い位置まで下がったときの図である。プラグソケット200の吸排気口223は、便器10が上昇すると共に接続排水管110が伸びたときに、床排水管90の内部から接続排水管110及び円筒管212と蛇腹管120とで画成された空間に吸気して蛇腹管120も抵抗なく伸びることができるよう設けられている。また、吸排気口223は、昇降便器10が下降すると共に接続排水管110が縮んだときに、接続排水管110及び円筒管212と蛇腹管120とで画成された空間から床排水管90の内部に排気して蛇腹管120も抵抗なく縮むようにしている。   FIG. 13 is a view when the toilet is lowered to the lowest position. The inlet / outlet 223 of the plug socket 200 is defined by the connecting drain pipe 110, the cylindrical pipe 212, and the bellows pipe 120 from the inside of the floor drain pipe 90 when the toilet 10 is raised and the connecting drain pipe 110 is extended. The bellows tube 120 is provided so as to be able to extend without resistance by sucking into the space. The air intake / exhaust port 223 is connected to the floor drain pipe 90 from the space defined by the connection drain pipe 110, the cylindrical pipe 212, and the bellows pipe 120 when the toilet 10 descends and the connection drain pipe 110 contracts. The bellows tube 120 is shrunk without resistance by exhausting the inside.

プラグソケット200は、外周縁から内側に向かって僅かに下方に傾斜した傾斜面202aを有しており、仮に接続排水管110の下端部で汚物が詰まって接続排水管110内が満水となり、接続排水管110の上側円筒管111と下側円筒管112との接続部等から汚水が漏出した場合にも、傾斜面202a及び吸排気口223を介してこの汚水を床排水管90に戻す役目を果たしている。   The plug socket 200 has an inclined surface 202a inclined slightly downward from the outer peripheral edge toward the inside. Temporarily, the lower end portion of the connection drain pipe 110 is clogged with dirt, and the connection drain pipe 110 is filled with water. Even when sewage leaks from a connection portion between the upper cylindrical pipe 111 and the lower cylindrical pipe 112 of the drain pipe 110, the sewage is returned to the floor drain pipe 90 through the inclined surface 202a and the intake / exhaust port 223. Plays.

プラグソケット200の内部は、図13に示すように下側プラグソケット本体202の外周壁230の内側に内周壁240が周方向全体に亘って所定間隔隔てて備わっている。そして、上述した吸排気口223は、下側プラグソケット202の上面の内周壁240が延在形成する部分とこの内側の上方に突出した円筒管212との間であって円筒管212側に形成されている。   Inside the plug socket 200, as shown in FIG. 13, an inner peripheral wall 240 is provided inside the outer peripheral wall 230 of the lower plug socket main body 202 at a predetermined interval over the entire circumferential direction. The intake / exhaust port 223 described above is formed on the cylindrical tube 212 side between the portion where the inner peripheral wall 240 on the upper surface of the lower plug socket 202 extends and the cylindrical tube 212 projecting upward on the inside. Has been.

外周壁230と内周壁240との間にはこのように所定の間隙が周方向に亘って形成さ
れているので、大径の床排水管91をプラグソケット200に接続する場合は、外周壁230の内周面に床排水管91の外周面が当接嵌合して接続され、小径の床排水管92をプラグソケット200に接続する場合は、内周壁240の内周面に床排水管92の外周面が当接嵌合して接続されるようになっている。なお、小径の床排水管92をプラグソケット200に接続する場合は、床排水管92の上端部がプラグソケット200の吸排気口223を塞がないような寸法関係で吸排気口223がプラグソケット200に形成されている。
Since the predetermined gap is thus formed in the circumferential direction between the outer peripheral wall 230 and the inner peripheral wall 240, when connecting the large-diameter floor drain pipe 91 to the plug socket 200, the outer peripheral wall 230 is formed. When the small-diameter floor drain pipe 92 is connected to the plug socket 200, the floor drain pipe 92 is connected to the inner peripheral face of the inner peripheral wall 240. The outer peripheral surfaces of these are abutted and connected to each other. When connecting a small-diameter floor drain pipe 92 to the plug socket 200, the intake / exhaust port 223 is plug socket so that the upper end of the floor drain pipe 92 does not block the intake / exhaust port 223 of the plug socket 200. 200.

プラグソケット200の外周壁230には、図4に示すようにその上部に蛇腹管120の下端が被せられ、ホースクランプ(図示せず)を介して蛇腹管120の下端とプラグソケット200の上部凸部204との間から臭気や汚水が漏出しないようにしている両者を密着させている。   As shown in FIG. 4, the outer peripheral wall 230 of the plug socket 200 is covered with the lower end of the bellows tube 120 on the upper portion thereof, and the lower end of the bellows tube 120 and the upper protrusion of the plug socket 200 are connected via a hose clamp (not shown). Both of them are kept in close contact with each other so that odors and sewage do not leak from the portion 204.

蛇腹管120は、例えば軟質の塩ビなどの伸縮性に優れた材質でできており、その上側
端部は、接続排水管110と便器側排水管101との間の接続部にホースクランプを介して両者を密着させた状態で接続されるようになっており、その下側端部は円筒状をなしてこの下端部がプラグソケット200の上部凸部204に被さり、上述したようにホースクランプで上部凸部204にしっかりと密着した状態で接続されるようにな
っている。
The bellows tube 120 is made of a material having excellent elasticity such as soft vinyl chloride, and the upper end portion thereof is connected to a connection portion between the connection drain pipe 110 and the toilet side drain pipe 101 via a hose clamp. They are connected in a state where they are in close contact with each other, and the lower end portion thereof is cylindrical, and the lower end portion thereof covers the upper convex portion 204 of the plug socket 200. The projection 204 is connected in a state of being in close contact with the projection 204.

このとき、プラグソケット200と蛇腹管120との接続部分の高さと、プラグソケット200と蛇腹管120を固定する固定具であるホースクランプの高さとは、所定の遊びを除いて概同一となっている。このことにより、接続部分をより床面に近い位置に配置することができ、便器の最下端の位置をできるだけ低くできるよう工夫されている。   At this time, the height of the connecting portion between the plug socket 200 and the bellows tube 120 and the height of the hose clamp that is a fixture for fixing the plug socket 200 and the bellows tube 120 are substantially the same except for a predetermined play. Yes. By this, the connection part can be arrange | positioned in the position nearer to a floor surface, and it is devised so that the position of the lowest end of a toilet bowl can be made as low as possible.

このように伸縮式排水管100は、伸縮しても排水が逆勾配になることがないように、伸縮が常に鉛直方向になるように構成されている。   In this way, the telescopic drainage pipe 100 is configured so that the expansion and contraction is always in the vertical direction so that the drainage does not have a reverse gradient even if it expands and contracts.

また、蛇腹を左右方向に取り回して伸縮するタイプに比べて、伸縮スペースが少なくて、便器の最下端の位置をより低くできるようになっている。   Moreover, compared with the type which expands and contracts by extending a bellows in the left-right direction, there is less space for expansion and contraction, and the lowermost position of the toilet can be lowered.

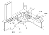
さらに、図14は本発明の一実施形態にかかるトイレブースを示す全体概略図であり、壁掛昇降便器は最も高くまで上昇した場合を示した図である。オストメイト用汚物流し400の溢れ面401の高さ、便器に座った状態で使用可能な手洗器500の溢れ面501の高さ、手洗器600の溢れ面601の高さはいずれも、壁掛昇降便器1が最も高くまで上昇した場合の便器本体9の溢れ面10の高さよりも高く位置に設置されているので、万が一排水管が詰まった場合においてもオストメイト用汚物流し400や手洗器500、手洗い器600から汚水が溢れだすことがなく衛生的である。   Furthermore, FIG. 14 is the whole schematic diagram which shows the toilet booth concerning one Embodiment of this invention, and is the figure which showed the case where a wall hanging elevator was raised to the highest. The height of the overflow surface 401 of the ostomate waste logistics 400, the height of the overflow surface 501 of the hand-washing device 500 that can be used while sitting on the toilet, and the height of the overflow surface 601 of the hand-washing device 600 are all 1 is set higher than the height of the overflow surface 10 of the toilet main body 9 when it rises to the highest level, so that in the unlikely event that the drain pipe is clogged, the ostomate waste logistics 400, handwasher 500, handwasher It is hygienic without spilling from 600.

なお、本発明における昇降便器とは実施例にて説明した昇降便器に限らず、フレームにそって昇降する機構を備えた便器であれば、どのような形態であっても問題ない。例えば、フレームは床固定であっても、壁固定であっても、あるいはその両方に固定されていてもよい。また、下限位置において便器本体が床と当接していてもよいし、昇降は手動によって行われるものであってもよい。
また、本発明における衛生機器は、実施例において説明した手洗い器、オストメイトに限らず、その他の衛生機器であっても問題ない。例えば、洗面器や歯磨き用ボウル、掃除用流しなどが考えられる。
In addition, the elevator toilet in the present invention is not limited to the elevator toilet described in the embodiment, and there is no problem in any form as long as the toilet includes a mechanism that moves up and down along the frame. For example, the frame may be fixed to the floor, fixed to the wall, or fixed to both. In addition, the toilet main body may be in contact with the floor at the lower limit position, and the lifting / lowering may be performed manually.
In addition, the sanitary equipment in the present invention is not limited to the hand-washing machine and ostomate described in the embodiments, and there is no problem even if it is other sanitary equipment. For example, a wash basin, a toothpaste bowl, a cleaning sink, etc. are conceivable.

本発明の一実施形態にかかる壁掛昇降便器、手洗器を設置したトイレブースを示す全体概略図であるBRIEF DESCRIPTION OF THE DRAWINGS It is the whole schematic which shows the toilet booth which installed the wall-mounted raising / lowering toilet and hand-washing machine concerning one Embodiment of this invention. 図1に示した壁掛昇降便器の溢れ面と手洗器溢れ面の高さの関係を示したもので壁掛昇降便器が最も高い位置に昇降した場合の図である。It is a figure in case the wall hanging up-and-down toilet raises and lowers to the highest position, showing the relationship between the height of the overflow surface of the wall-mounted lifting toilet shown in FIG. 図1に示した壁掛昇降便器の全体斜視図である。It is a whole perspective view of the wall-mounted lifting toilet shown in FIG. 図3で示した壁掛昇降便器の便器背面の汚物排出口と伸縮式排水管を組み立てた状態を示す断面図である。It is sectional drawing which shows the state which assembled the filth discharge port and the expansion-contraction type drain pipe of the toilet back surface of the toilet bowl shown in FIG. 図3で示した壁掛昇降便器の便器背面の汚物排出口と伸縮式排水管を組み立てた状態を示す上面図である。It is a top view which shows the state which assembled the filth discharge port and the telescopic drain pipe of the toilet back surface of the wall-mounted lifting toilet shown in FIG. 図5に示したプラグソケットの上面図である。FIG. 6 is a top view of the plug socket shown in FIG. 5. 図5に示したプラグソケットの斜視図である。FIG. 6 is a perspective view of the plug socket shown in FIG. 5. 図5に示したプラグソケットの分解構成図である。FIG. 6 is an exploded configuration diagram of the plug socket illustrated in FIG. 5. 図3に示した伸縮式排水管を建築躯体に取り付けた状態を示す正面図である。It is a front view which shows the state which attached the expansion-contraction type drain pipe shown in FIG. 3 to the building frame. 図3に示した伸縮式排水管を建築躯体に取り付けた状態を示す側面図である。It is a side view which shows the state which attached the expansion-contraction type drain pipe shown in FIG. 3 to the building frame. 図3に示した伸縮式排水管、便器固定フレームを建築躯体に取り付けた状態を示す正面図である。It is a front view which shows the state which attached the expansion-contraction type drain pipe and toilet bowl fixing frame shown in FIG. 3 to the building frame. 図3に示した伸縮式排水管、便器固定フレームを建築躯体に取り付けた状態を示す側面図である。It is a side view which shows the state which attached the expansion-contraction type drain pipe and toilet bowl fixing frame shown in FIG. 3 to the building frame. 図1に示した壁掛昇降便器が最も低い位置まで下がった状態での便器背面の汚物排出口、伸縮式排水管を示す断面斜視図である。It is a cross-sectional perspective view which shows the filth outlet and the telescopic drain pipe of the back surface of the toilet bowl in a state where the wall-mounted lifting toilet shown in FIG. 1 is lowered to the lowest position. 本発明の一実施形態にかかるトイレブースを示す全体概略図である。1 is an overall schematic diagram showing a toilet booth according to an embodiment of the present invention.

符号の説明Explanation of symbols

1 壁掛昇降便器
2 キャビネット
3 手洗器
4 手洗キャビネット
5 カウンター
6 配管カバー
7 リモコン
8 温水洗浄便座
9 便器本体
10 壁掛昇降便器の溢れ面
11 手洗器溢れ面
12 スパウト
13 トラップ
14 手洗排水管
20 ベース板
21 鋼板ベース板
30 便器固定フレーム
31 固定フレーム
32 可動フレーム
33 載置部
36 取付け板
61 モーター
62 伸縮シャフト
90 床排水管
91 大径の床排水管
92 小径の床排水管
94 汚物排出口
100 伸縮式排水管
101 便器側排水管
101a 蛇腹部
110 接続排水管
110a 上端部
120 蛇腹部
200 プラグソケット
200a 延出部
201 上部プラグソケット
202 下部プラグソケット
202a 傾斜面
202b 緩衝室
203 手洗排水合流部
204 上側凸部
205 上部嵌合壁
210 ベース板
211 取付孔
212 円筒管
213 下部嵌合壁
223 吸排気口
230 外周壁
240 内周壁
300 排水心
301 根太
302 大引き
303 壁
400 オストメイト用汚物流し
401 オストメイト用汚物流しの溢れ面
500 手洗器
501 手洗器の溢れ面
600 手洗器
601 手洗器の溢れ面
DESCRIPTION OF SYMBOLS 1 Wall hanging toilet 2 Cabinet 3 Hand washing machine 4 Hand washing cabinet 5 Counter 6 Piping cover 7 Remote control 8 Hot water washing toilet seat 9 Toilet bowl body 10 Overflowing surface of the wall hanging toilet 11 Washing machine overflow surface 12 Spout 13 Trap 14 Hand washing drain pipe 20 Base plate 21 Steel plate base plate 30 Toilet bowl fixed frame 31 Fixed frame 32 Movable frame 33 Mounting portion 36 Mounting plate 61 Motor 62 Telescopic shaft 90 Floor drain pipe 91 Large diameter floor drain pipe 92 Small diameter floor drain pipe 94 Soil discharge port 100 Telescopic drainage Pipe 101 Toilet side drain pipe 101a Bellows part 110 Connection drain pipe 110a Upper end part 120 Bellows part 200 Plug socket 200a Extension part 201 Upper plug socket 202 Lower plug socket 202a Inclined surface 202b Buffer chamber 203 Hand wash drainage confluence part 204 Upper convex part 205 Upper mating wall 21 Base plate 211 Mounting hole 212 Cylindrical tube 213 Lower fitting wall 223 Air intake / exhaust port 230 Outer peripheral wall 240 Inner peripheral wall 300 Drain core 301 joist 302 Large draw 303 Wall 400 Ostomate filth distribution 401 Ostomate spill distribution overflow surface 500 Hand wash 501 Handwasher overflow surface 600 Handwasher 601 Handwasher overflow surface

Claims (2)

昇降可能に設けられた便器本体と、
前記便器本体の排水口に接続され、前記便器本体の昇降に合わせて伸縮または昇降する便器排水管と、
衛生機器と、
前記衛生機器の排水口に接続された衛生機器排水管と、
前記便器排水管と前記衛生機器排水管とを床側排水管に接続するための合流部材と、を備え、
前記衛生機器の溢れ面が前記便器本体の上限位置における前記便器本体の溢れ面よりも上方に位置することを特徴とするトイレユニット。
Toilet body provided so that it can be raised and lowered,
A toilet drain pipe connected to a drain outlet of the toilet body and extending or retracting as the toilet body moves up and down;
Sanitary equipment,
A sanitary equipment drain pipe connected to the sanitary equipment drain;
A merging member for connecting the toilet drain pipe and the sanitary equipment drain pipe to a floor drain pipe,
A toilet unit, wherein the overflow surface of the sanitary device is located above the overflow surface of the toilet body at the upper limit position of the toilet body.
前記衛生機器が手洗い器または洗面器であることを特徴とする請求項1に記載のトイレユニット The toilet unit according to claim 1, wherein the sanitary equipment is a hand-washing machine or a wash-basin.
JP2008282796A 2008-11-04 2008-11-04 Toilet unit Pending JP2010111996A (en)

Priority Applications (1)

Application Number Priority Date Filing Date Title
JP2008282796A JP2010111996A (en) 2008-11-04 2008-11-04 Toilet unit

Applications Claiming Priority (1)

Application Number Priority Date Filing Date Title
JP2008282796A JP2010111996A (en) 2008-11-04 2008-11-04 Toilet unit

Publications (1)

Publication Number Publication Date
JP2010111996A true JP2010111996A (en) 2010-05-20

Family

ID=42300761

Family Applications (1)

Application Number Title Priority Date Filing Date
JP2008282796A Pending JP2010111996A (en) 2008-11-04 2008-11-04 Toilet unit

Country Status (1)

Country Link
JP (1) JP2010111996A (en)

Cited By (2)

* Cited by examiner, † Cited by third party
Publication number Priority date Publication date Assignee Title
CN110215150A (en) * 2019-07-12 2019-09-10 刘伯武 A kind of variable diameter closestool
JP2022056707A (en) * 2020-09-30 2022-04-11 Toto株式会社 Toilet unit

Citations (2)

* Cited by examiner, † Cited by third party
Publication number Priority date Publication date Assignee Title
JPH01235739A (en) * 1988-03-15 1989-09-20 Matsushita Electric Works Ltd Vertically movable toilet stool
JP2008088770A (en) * 2006-10-05 2008-04-17 Toto Ltd Drain connection pipe structure

Patent Citations (2)

* Cited by examiner, † Cited by third party
Publication number Priority date Publication date Assignee Title
JPH01235739A (en) * 1988-03-15 1989-09-20 Matsushita Electric Works Ltd Vertically movable toilet stool
JP2008088770A (en) * 2006-10-05 2008-04-17 Toto Ltd Drain connection pipe structure

Cited By (3)

* Cited by examiner, † Cited by third party
Publication number Priority date Publication date Assignee Title
CN110215150A (en) * 2019-07-12 2019-09-10 刘伯武 A kind of variable diameter closestool
CN110215150B (en) * 2019-07-12 2023-11-24 刘伯武 Diameter-variable closestool
JP2022056707A (en) * 2020-09-30 2022-04-11 Toto株式会社 Toilet unit

Similar Documents

Publication Publication Date Title
JP4612983B2 (en) Building structure having floor drainage and floor drainpipe
JP5496705B2 (en) Drainage structure of drain trap and unit bath
JP5429438B2 (en) Telescopic drainage pipe structure for lifting toilet
JP6579373B2 (en) Toilet device
US7621002B1 (en) System and method for controlling, draining, removing, and disposing of liquids and light solids
JP5651830B2 (en) Connection structure between tank and drainage
JP2001040745A (en) Indoor underfloor piping using catch basin and work execution method thereof
JP2010111996A (en) Toilet unit
JP6372976B2 (en) Drainage pipe structure and drainage pipe construction method
KR20210000700U (en) Dual pipe type floor drainage apparatus
KR20130018624A (en) On floor drainage apparatus
US8578522B1 (en) System and method for controlling, draining, removing, and disposing of liquids and light solids
KR20170002282U (en) Floor drain apparatus
JP7138319B2 (en) Drainage piping for drainage equipment
KR102831468B1 (en) flow drain for layered piping
KR101243894B1 (en) Connection structure for trap and drain pipe
JP2010059654A (en) Drainage structure, drainage structure of shower room, and drainage structure of waterproof pan for washing machine
JP2002081116A (en) Bathroom
JP3852617B1 (en) Dirty logistics unit for ostomate
JP5662194B2 (en) Washing area structure of bathroom unit
JP2004116222A (en) Sanitary fixture unit
KR200464491Y1 (en) System toilet
CN105839751A (en) Squatting pan
JP6259980B2 (en) Drainage equipment
JP5380658B2 (en) Drainage device mounting structure

Legal Events

Date Code Title Description
A621 Written request for application examination

Free format text: JAPANESE INTERMEDIATE CODE: A621

Effective date: 20111102

RD02 Notification of acceptance of power of attorney

Free format text: JAPANESE INTERMEDIATE CODE: A7422

Effective date: 20111102

A977 Report on retrieval

Free format text: JAPANESE INTERMEDIATE CODE: A971007

Effective date: 20130124

A131 Notification of reasons for refusal

Free format text: JAPANESE INTERMEDIATE CODE: A131

Effective date: 20130204

A02 Decision of refusal

Free format text: JAPANESE INTERMEDIATE CODE: A02

Effective date: 20130604