JP2010053599A - 基礎貫通さや管並びにこれを用いた基礎貫通配管構造及び排水管の取り外し方法 - Google Patents

基礎貫通さや管並びにこれを用いた基礎貫通配管構造及び排水管の取り外し方法 Download PDF

Info

Publication number
JP2010053599A
JP2010053599A JP2008219900A JP2008219900A JP2010053599A JP 2010053599 A JP2010053599 A JP 2010053599A JP 2008219900 A JP2008219900 A JP 2008219900A JP 2008219900 A JP2008219900 A JP 2008219900A JP 2010053599 A JP2010053599 A JP 2010053599A
Authority
JP
Japan
Prior art keywords
pipe
elbow joint
foundation
downstream
length
Prior art date
Legal status (The legal status is an assumption and is not a legal conclusion. Google has not performed a legal analysis and makes no representation as to the accuracy of the status listed.)
Granted
Application number
JP2008219900A
Other languages
English (en)
Other versions
JP5384881B2 (ja
Inventor
Atsuya Mayama
淳哉 真山
一正 ▲吉▼田
Kazumasa Yoshida
Current Assignee (The listed assignees may be inaccurate. Google has not performed a legal analysis and makes no representation or warranty as to the accuracy of the list.)
Takiron Co Ltd
Original Assignee
Takiron Co Ltd
Priority date (The priority date is an assumption and is not a legal conclusion. Google has not performed a legal analysis and makes no representation as to the accuracy of the date listed.)
Filing date
Publication date
Application filed by Takiron Co Ltd filed Critical Takiron Co Ltd
Priority to JP2008219900A priority Critical patent/JP5384881B2/ja
Publication of JP2010053599A publication Critical patent/JP2010053599A/ja
Application granted granted Critical
Publication of JP5384881B2 publication Critical patent/JP5384881B2/ja
Active legal-status Critical Current
Anticipated expiration legal-status Critical

Links

Images

Landscapes

  • Sink And Installation For Waste Water (AREA)
  • Branch Pipes, Bends, And The Like (AREA)

Abstract

【課題】排水管を水密的に接続できて、切断具を用いて容易に排水管の取り外しが可能で、配筋を切断することなく設置できる基礎貫通さや管を提供する。
【解決手段】90°エルボ継手30を収容できる縦さや管部10と横さや管部2からなる建物の基礎Bを貫通するように埋設されるさや管S3であって、縦さや管部10の下流側の幅W2を上流側の幅W1よりも広くなるように形成した構成とする。このような構成とすることで、基礎貫通さや管S3をコンパクトに形成しても、切断具が挿入できるスペースができて、可能な限り基礎貫通さや管S3をコンパクトに形成することができるようになり、コンクリート基礎Bに配設された配筋9を切断する必要がなくなる。また、切断具で90°エルボ継手3を切断するのを前提としているので、排水管の接続に接着剤を用いることができ、経時と共に水密性が低下する心配がない。
【選択図】図13

Description

本発明は、建物の床下のコンクリート基礎に埋設される基礎貫通さや管並びにこれを用いた基礎貫通配管構造及び排水管の取り外し方法に関するものである。
従来、トイレ、風呂場、洗面所等からの排水を、建物の屋内から屋外に導く排水管路として、本出願人が提案した、建物のコンクリート基礎を挿通する基礎挿通排水管の外径より大きい内径を有したボイド管を建物のコンクリート基礎に設けて、そのボイド管に基礎挿通排水管を収容した排水管路が知られている(特許文献1)。この排水管路に用いられるボイド管は、縦ボイド管と、その縦ボイド管に連通する横ボイド管とから構成されており、その内部には、基礎挿通排水管を構成する縦管、横管と、それらを接続する90°エルボ継手が収容されている。
上記排水管路は、90°エルボ継手に接続されている縦管と横管を取り外すことで、建物のコンクリート基礎を壊すことなく基礎挿通排水管を容易に補修、交換することができる優れたものである。
また、建物のコンクリート基礎を挿通する配管構造として、建物のコンクリート基礎の内部に、基礎挿通排水管を挿通するための空間を内部に有した筒状で両端が開口した配管ケースを埋設し、その配管ケースの内部で上流側と下流側の基礎挿通排水管を接続した配管施工構造も知られている(特許文献2)。この配管ケースは、内部に収容される基礎挿通排水管が、変形を伴わないで出し入れすることのできる広さに形成されている。
特開2002−227266号公報 特開2002−195455号公報
しかしながら、上記特許文献1の排水管路は、基礎挿通排水管の補修、交換は、縦管と横管を90°エルボ継手から取り外すことにより行われ、ボイド管内の90°エルボ継手や縦管、横管を切断するという概念は全くないので、それらを取り外し易いように、90°エルボ継手と縦管と横管は接着剤を用いずシールリングによって接続されている。そのため耐久性に若干問題があり、シールリングの劣化と共に水密性が低下する恐れがあった。また、ボイド管内において配管を取り外すための作業スペースを確保するには、縦ボイド管又は横ボイド管の内径を大きく形成する必要が生じるので、ボイド管を建物のコンクリート基礎に設置する際に、基礎を構成する配筋を切断する必要があった。
この特許文献1には、ボイド管内に、基礎挿通排水管としてフレキシブル管を収容した排水管路も開示されているが、フレキシブル管はポリエチレン樹脂で成形されているため、硬質塩化ビニル樹脂で成形された排水管とフレキシブル管を接着剤で接着することができず、間にソケットを介在することで接続されている。ここで、排水管とソケットは共に硬質塩化ビニル樹脂で成形されているため、接着剤で接着することができるが、フレキシブル管はポリエチレン樹脂で成形されているため、ソケットとフレキシブル管は接着することができず、シールリング等によりシールして接続する必要があった。そのためシールリング等の経年劣化により水密性が低下する恐れがあった。
また、上記特許文献2の配管施工構造も、内部に収容される基礎挿通排水管が、変形を伴わないで出し入れすることができる大きさに配管ケースが形成されているので、配管ケースを設置するには、配筋を切断する必要があり、配筋を切断することで低下した強度を補うために、補強筋を入れて補強する必要があるので、施工が大がかりなものとなり、施工費用も嵩むという問題があった。
本発明は上記の問題に鑑みてなされたもので、その解決しようとする課題は、硬質樹脂製の上流側の排水管と下流側の排水管を90°エルボ継手に接着剤で水密的に接続でき、排水管の補修・交換時に切断具を用いて容易に排水管の取り外しが可能であり、更に、配筋を切断することなく設置できるコンパクトな基礎貫通さや管並びにこれを用いた基礎貫通配管構造及び排水管の取り外し方法を提供することにある。
上記目的を達成するため、本発明に係る基礎貫通さや管は、90°エルボ継手を収容できる縦さや管部と横さや管部からなる建物の基礎を貫通するように埋設されるさや管であって、上記縦さや管部の下流側の幅を上流側の幅よりも広くなるように形成したことを特徴とするものである。
本発明の基礎貫通さや管においては、縦さや管部の少なくとも片側の側壁面に、該側壁面から側方に突出した膨出部を形成し、縦さや管部の下流側の幅を上流側の幅よりも広くなるように形成することも好ましい。また、縦さや管部の下流側の壁面が平坦であることが好ましく、縦さや管部の側壁面に設けられた膨出部の下流側に位置する壁面が、縦さや管部の下流側の平坦な壁面と同一面上にあることが好ましい。更に、縦さや管部の底部に、横さや管部の底部よりも下方に突出した膨出部が形成されていると共に、該膨出部が側壁面に形成された膨出部と一続きに形成されていたり、縦さや管部が、横さや管部と一体化される縦さや管部本体と、高さ調整のためのアジャスター部からなることも好ましい。また、縦さや管部に、下流側から上流側にかけて30〜75°の角度で立ち上がる立上がり面を設けたことが好ましく、縦さや管部の内部に、90°エルボ継手を保持する保持部を設けたり、縦さや管部と横さや管部が別体に形成されていたりすることがより好ましい。
次に、上記構成の基礎貫通さや管を用いた本発明の基礎貫通配管構造は、上記構成の基礎貫通さや管をを建物の基礎に埋設すると共に、その内部に90°エルボ継手を収容し、90°エルボ継手の上流側接続口に上流側の排水管を接続すると共に、90°エルボ継手の下流側接続口に下流側の排水管を接続することを特徴とするものである。
本発明の基礎貫通配管構造においては、基礎貫通さや管の内部に収容された90°エルボ継手が、90°エルボ継手の上流側接続口又はその近傍と、縦さや管部の内壁面との空間に挿入された90°エルボ継手を保持する90°エルボ継手保持部材によって保持されていることが好ましい。また、下流側の排水管が横さや管部内において、配管保持部材によって保持されていることが好ましく、横さや管部と下流側の排水管の隙間に、止水部材を設けたことがより好ましい。更に、横さや管部の下流側端部に、ソケット部材を設けた基礎貫通配管構造がより好ましい。
一方、本発明の排水管の取り外し方法は、上記構成の基礎貫通配管構造において、縦さや管部の幅が広い下流側の上方から切断具を挿入し、その切断具で90°エルボ継手を切断して、上流側の排水管と下流側の排水管を基礎貫通さや管から取り出すことを特徴とするものである。
本発明の基礎貫通さや管は、縦さや管部の下流側の幅が上流側の幅よりも広くなるように形成されているので、基礎貫通さや管を全体的にコンパクトに形成しても、90°エルボ継手を切断する切断具が挿入されるスペースを有する。従って、従来のように、ボイド管を建物のコンクリート基礎に埋設する際に、コンクリート基礎に配設された配筋を切断する必要がなくなり、建物の強度を低下させることがなく、強度低下を補うための補強筋を入れる必要もないので施工費用を抑えることもできる。また、本発明の基礎貫通さや管は、管路内の点検・補修、又は配管の変更を行う際に、切断具を用いて90°エルボ継手を切断してから行うことを前提としているので、基礎貫通さや管の内部に収容される90°エルボ継手と、上流側の排水管及び下流側の排水管とを接続するときに接着剤を用いることができ、経時と共に水密性が低下する心配がない。
例えば、縦さや管部の少なくとも片側の側壁面に、該側壁面から側方に突出した膨出部を形成し、縦さや管部の下流側の幅を上流側の幅よりも広くなるように形成した基礎貫通さや管のように、膨出部を形成することで縦さや管部の下流側の幅を上流側の幅よりも広くすると、可能な限り基礎貫通さや管を全体的にコンパクトに形成しても、切断具を挿入するスペースができるので、コンクリート基礎に配設された配筋を切断する必要が殆どなくなる。
また、縦さや管部の下流側の壁面が平坦である基礎貫通さや管は、縦さや管部の下流側の壁面を円形ではなく、平坦に形成することで、円形のボイド管と比較すると、基礎貫通さや管の全幅が狭くても、縦さや管部の下流側に切断具が挿入し易くなるので、基礎貫通さや管をよりコンパクトに形成することができるようになる。
特に、縦さや管部の側壁面に設けられた膨出部の下流側に位置する壁面が、縦さや管部の下流側の平坦な壁面と同一面上にある基礎貫通さや管は、膨出部の下流側に位置する壁面が下流側の壁面と同一面上にあることで、切断具を下流側の壁面に沿わせながら90°エルボ継手を切断できるようになるので、下流側の壁面が切断具のガイドとなり、90°エルボ継手をより切断し易くなる。
更に、縦さや管部の底部に、横さや管部の底部よりも下方に突出した膨出部が形成されていると共に、該膨出部が側壁面に形成された膨出部と一続きに形成されている基礎貫通さや管は、多少さや管の下側部分が大きくなるが、膨出部を一続きに形成すると、切断具を挿入し易くなるので、90°エルボ継手の切断がより容易となる。
特に、縦さや管部が、横さや管部と一体化される縦さや管部本体と、高さ調整のためのアジャスター部からなる基礎貫通さや管は、配筋と配筋の間隔が狭い場所でも基礎貫通さや管をより設置し易くなるのは勿論のこと、アジャスター部の高さを、施工現場に合わせて変更することで、様々な深さのコンクリート基礎に対応することができるようになる。
尚、縦さや管部本体と横さや管部は、横さや管部を縦さや管部本体に接続することで一体化してもよいし、初めから縦さや管部本体と横さや管部を一体成形することで一体化してもよい。
また、縦さや管部に、下流側から上流側にかけて30〜75°の角度で立ち上がる立上がり面を設けた基礎貫通さや管は、墨出しや鉄筋、型枠の施工を容易にするためコンクリート基礎の下に捨て打ちされる捨てコンや、下が直接土に接している土間コンクリートのもぐりこみ部の傾斜角と等しくなるので、それらの上に安定して設置することができ、針金や固定ホルダー等による配筋への固定が容易になると共に、基礎貫通さや管の設置スペースを確保するため、捨てコンや土間コンを削ったりする必要がなくなる。
更に、縦さや管部の内部に、90°エルボ継手を保持する保持部を設けた基礎貫通さや管は、90°エルボ継手を保持する保持部を設けたことで、さや管の内部に90°エルボ継手をグラつきなく安定して収容することができるようになり、グラつきがなくなるので、90°エルボ継手に上流側の排水管や下流側の排水管を接続し易くなると共に、90°エルボ継手の切断が容易となる。
また、縦さや管部と横さや管部が別体に形成されている基礎貫通さや管のように、縦さや管部と横さや管部を別体に形成することで、一体型と比べると成形するのが容易となる。しかも、縦さや管部又は横さや管部を配筋と配筋の間に設置してから、横さや管部又は縦さや管部を接続して一体化することができるようになるので、配筋と配筋の間隔が狭い場所でも基礎貫通さや管を設置し易くなる。
次に、本発明の基礎貫通配管構造は、前述した種々の効果を奏する基礎貫通さや管を用いるので、コンクリート基礎に配設された配筋を切断する必要が殆どなくなり、建物の強度を低下させてしまう心配がない。従って、低下した強度を補うための補強筋が不要となるので、施工費用を抑えることもできる。また、90°エルボ継手と、上流側の排水管及び下流側の排水管との接続に、接着剤を用いることができるので、長期に亘って良好な水密性を確保できる。
また、基礎貫通さや管の内部に収容された90°エルボ継手が、90°エルボ継手の上流側接続口又はその近傍と、縦さや管部の内壁面との空間に挿入された90°エルボ継手を保持する90°エルボ継手保持部材によって保持されている基礎貫通配管構造は、90°エルボ継手保持部材を、90°エルボ継手の上流側接続口又はその近傍と縦さや管部の内壁面との空間に挿入することで、さや管の内部に90°エルボ継手をグラつきなく安定して収容できるようになり、上流側の排水管や下流側の排水管を接続し易くなる。また、90°エルボ継手のグラつきがなくなることで、切断の最中に90°エルボ継手がズレることがなくなるので、切断の作業効率が向上する。
更に、下流側の排水管が横さや管部内において、配管保持部材によって保持されている基礎貫通配管構造は、配管保持部材で下流側の排水管を保持させることで下流側の排水管が安定する。従って、下流側の排水管が接続された90°エルボ継手も安定することになり、その90°エルボ継手を切断するとき、グラつくことなく切断することができるようになる。
また、横さや管部と下流側の排水管の隙間に、止水部材を設けた基礎貫通配管構造は、横さや管部に水が侵入するのを防ぐので、水密性が向上し、内部に収容された部材の耐久性も向上する。
更に、横さや管部の下流側端部に、ソケット部材を設けた基礎貫通配管構造は、下流側の排水管をソケット部材に差し込むだけで接続することができるようになるので、施工性が向上する。
次に、本発明の排水管の取り外し方法は、90°エルボ継手を切断具で切断して上流側と下流側に2分割し、基礎貫通さや管から上流側の排水管及び下流側の排水管を取り出すことで、簡単にさや管内の補修・交換などのメンテナンスができる。その際、基礎貫通さや管をコンクリート基礎に埋設したまま行うことができるので、管路内を点検・補修、又は配管の変更を行うのにコンクリート基礎を壊す必要がなくなり、新たにコンクリートを打設するといった手間も省けて、施工費用を抑えることができる。
以下、図面を参照して本発明の具体的な実施形態を詳述する。
図1は本発明の一実施形態に係る基礎貫通さや管の斜視図、図2は同さや管を構成する縦さや管部本体の斜視図、図3は同さや管を構成するアジャスター部の斜視図、図4は同さや管を構成する縦さや管部の断面図、図5は本発明の一実施形態に係る基礎貫通配管構造を示す概略図、図6は同配管構造の要部断面図、図7は同配管構造に用いる配管保持部材の斜視図、図8は同配管保持部材の断面図、図9は同配管構造に用いる90°エルボ継手保持部材の斜視図である。
本発明の基礎貫通さや管S1(以下、単にさや管S1という。)は、図5、図6に示すように、家屋のコンクリート基礎Bを貫通するように埋設されて、その内部空間に90°エルボ継手3を収容し、屋内のトイレ、風呂場、洗面所等(不図示)からの排水が合流する上流側の排水管7と、その上流側の排水管7からの排水を屋外の排水管路に導く下流側の排水管8を接続するために用いられるものである。
上記さや管S1は、図1に示すように、地面に対して略垂直に立設する縦さや管部1と、地面に対して略水平の横さや管部2からなるもので、縦さや管部1と横さや管部2はそれぞれ別体に形成されたのち一体化されている。縦さや管部1の開口部の横断面形状は、上流側が略半円形に形成されており、下流側が方形となるように形成されている。この縦さや管部1の開口部の長さは、図6に示すように、内部に収容される90°エルボ継手3の全長よりも短くなるように形成することが好ましく、90°エルボ継手3を斜めに傾けなければ縦さや管部1に収容できない程度の大きさに形成されている。このように、縦さや管部1の空間の横断面形状を円形又は楕円形ではなく、上流側を半円形に形成し、下流側を方形に形成すると、90°エルボ継手3を縦さや管部1に収容し易くなると共に、縦さや管部1の長さ寸法を短くすることができるので、配筋9と配筋9の間隔が狭い場合でも、配筋9を切断することなく設置することができるようになりコンクリート基礎Bの強度低下を防ぐことができる。
上記縦さや管部1は、図2に示す縦さや管部本体1Aと、図3に示すアジャスター部1Bから構成されている。図2に示すように、縦さや管部本体1Aは、底部1aと、底部1aの両側から上方へ立設された側壁面1b,1bと、底部1aの下流側端部から上方へ立設された下流側の壁面1cと、底部1aの上流側端部から上方へ立設された上流側の壁面1dからなるもので、上流側の壁面1dは略半円形に形成され、下流側の壁面1cは平坦に形成されている。
尚、上流側の壁面1dを、下流側の壁面1cと同じ様に平坦に形成すると、90°エルボ継手3が挿入しにくくなり、それを解決するにはさや管S1を大きく形成しなければいけなくなるので、本実施形態のように、上流側の壁面1dは、半円形状に形成するのが好ましい。
上記縦さや管部本体1Aの底部1aは、図4、図5に示すように、下流側から上流側にかけて斜め上方へ立ち上がるように形成された立ち上がり面で、この立ち上がり角度θは、土間コンクリートCの傾斜角に合わせて30°〜75°に設定されている。このように底部1aを下流側から上流側にかけて30°〜75°の角度で斜め上方へ立ち上がるように形成することで、墨出しや鉄筋、型枠の施工を容易にするためコンクリート基礎Bの下に捨て打ちされる捨てコン(不図示)や、下が直接土に接している土間コンクリートCの傾斜角と等しくなるので、それらの上に安定して設置することができるようになると共に、さや管Sの設置スペースを確保し易くなる。
尚、捨てコンや土間コンクリートCの傾斜角の大半は、45°〜60°程度の範囲に収まるので、底部1aの立ち上がり角度θが45°〜60°に設定された縦さや管部本体1Aが特に好適に用いられる。
また、図1、図2、図4に示すように、上記縦さや管部本体1Aの両側の側壁面1b,1bには、90°エルボ継手3を切断するための切断具(不図示)を挿入できるスペースを有した膨出部1e,1eが、側壁面1b,1bから側方に10mm程度突出するように形成されている。この膨出部1e,1eの下流側に位置する壁面は、縦さや管部本体1Aの平坦な下流側の壁面1cと同一面上にあり、このように、膨出部1e,1eを平坦な下流側の壁面1cと同一面上に形成することで、切断具を下流側の壁面1cに沿わせながら90°エルボ継手3を切断することができるので、切断作業が容易となる。
尚、縦さや管部本体1Aの側壁面1bに形成される膨出部1eは、少なくとも縦さや管部本体1Aの片側の側壁面1bに1つ形成されていれば90°エルボ継手3を切断することができるが、本実施形態のように、両側の側壁面1b,1bにそれぞれ膨出部1e,1eを形成すると、切断具をどちらの膨出部1eからでも挿入することができるようになるので、切断の作業性がより向上する。
また、上記縦さや管部本体1Aの内部には、図2、図4に示すように、後述する90°エルボ継手3を保持する保持部1iが設けられている。この保持部1iは、縦さや管部本体1Aの上流側の壁面1dから底部1aにかけて下流側に突出するように形成されたもので、図6に示すように、90°エルボ継手3の湾曲部3aの形状に沿うように円弧状に形成されている。この保持部1iを形成したことで、90°エルボ継手3を縦さや管部1に収容し、90°エルボ継手3の湾曲部3aの外周面を保持部1iに載置したとき、上流側の壁面1dと90°エルボ継手3との隙間がなくなるので、グラつくことなく安定して収容することができるようになる。
更に、図1、図2に示すように、縦さや管部本体1Aの下流側の壁面1cには、後述する横さや管部2を接続するための接続口1gが形成されている。この接続口1gの内側に、横さや管部2を差し込むことで縦さや管部1と横さや管部2を一体化するため、接続口1gの内径は横さや管部2の外径と略等しくなるように形成されている。また、縦さや管部本体1Aの両側の側壁面1b,1bから側方に突出した膨出部1e,1eには、コンクリート基礎Bに配設された配筋9とさや管S1を針金で連結するための針金保持部1hがそれぞれに1つずつ、計2つ設けられている。
上記縦さや管部本体1Aと共に縦さや管部1を構成するアジャスター部1Bは、さや管S1の高さを調整するための部材で、図3に示すように、前述した縦さや管部本体1Aと同一の平面形状をしており、両側の側板1j,1jと、下流側の壁板1kと、上流側の壁板1lからなる。両側の側板1j,1jは、「建築基準法施行令」に鉄筋のかぶり厚さを4cm以上とする旨の規定があるので、この条件を満たすように配筋9からの距離を保つため、縦さや管部本体1Aに形成された膨出部1e,1eの間隔よりも狭くなるように形成されている(両側の側壁面1b,1bとは略同間隔)。また、アジャスター部1Bの下端には、上記縦さや管部本体1Aの上端を挿入接続可能な受け口1mが形成されている。このように縦さや管部1を、縦さや管部本体1Aと、高さ調整のためのアジャスター部1Bから構成することで、アジャスター部1Bの高さを、施工現場に合わせて変更することで、様々な深さのコンクリート基礎Bに対応することができるようになる。
尚、予めアジャスター部1Bの高さを、想定されるコンクリート基礎Bの深さよりも高く形成し、施工現場で余った上部を切断して高さ調整をしてもよい。また、アジャスター部1Bを複数段積み上げることによって高さ調整をしてもよい。
上記構成の縦さや管部1と一体化される横さや管部2は、図1、図6に示すように、その内部に後述する配管保持部材4や横短管6や下流側の排水管8を挿通できるだけの内径を有した円筒で、施工現場ではコンクリート基礎Bの寸法に合わせて切断して用いるため、通常想定されるコンクリート基礎Bから突出するように、コンクリート基礎Bよりも長くなるように形成されている。
尚、本実施形態のさや管S1は縦さや管部1と、横さや管部2を別体に形成しているが、一体に形成しても構わない。
上記さや管S1の寸法、材質等については特に限定されないが、建物のコンクリート基礎Bに配設される配筋9と配筋9の間隔は200mmの場合が最も多いので、それらに干渉せず、且つ、「建築基準法施行令」の条件を具備するため、縦さや管部1の長さが100mm、縦さや管部本体1Aの幅が140mm、アジャスター部1Bの幅が120mm、さや管S1の高さが190mm程度のものが好適に用いられる。また、強度、耐久性、成形性を考慮すると、合成樹脂製のものが望ましく、硬質塩化ビニル樹脂で成形されたものが好適に用いられる。
以上のような構成のさや管S1は、管路内の点検・補修、又は配管の変更を行う際に、切断具を用いて90°エルボ継手3を切断してから行うことを前提としているので、さや管S1内部に収容される部材同士を接続するときに接着剤を用いることができ、経時と共に水密性が低下する心配がない。また、切断具を挿入するための膨出部1e,1eを、縦さや管部本体1Aの両側の側壁面1b,1bに設け、更に、縦さや管部1の下流側の壁面1cを円形ではなく平坦に形成したことで、縦さや管部本体1Aの全長、全幅を極力コンパクトに形成することが可能となり、従来のように、ボイド管を建物のコンクリート基礎Bに埋設する際に、コンクリート基礎Bに配設された配筋9を切断する必要がなくなる。従って、建物の強度を低下させることがなく、補強筋を入れる必要もないので施工費用を抑えることができるようになる。
尚、上記のような構成のさや管S1の他に、図12に示すようなさや管S2も好適に用いられる。このさや管S2は、図12に示すように、前述した縦さや管部本体1Aの代わりに、底部1aにも90°エルボ継手3を切断するための切断具を挿入できるスペースを有した膨出部1fが形成された縦さや管部本体10Aを用いたものである。この底部1aに形成された膨出部1fは、横さや管部2の管底よりも下方に20mm程度突出するように形成されたもので、前述した側壁面1b,1bに形成された膨出部1e,1eと一続きになるように形成されている。このように、底部1aにも膨出部1fを形成し、膨出部1e,1f,1eを一続きとすることで、多少さや管S2の下側部分が前述したさや管S1よりも大きくなって、平坦な面に載置したときの安定性には劣るが、切断具を奥まで挿入して上下に動かすことができるようになるので、90°エルボ継手3の切断がより容易となる。
このさや管S2のその他の構成は、前述した図1〜図4に示すさや管S1と同様であるから、同一部材に同一符号を附して説明を省略する。
上記構成のさや管S1を用いた基礎貫通配管構造は、図5、図6に示すように、上記さや管S1を建物のコンクリート基礎Bに埋設して、そのさや管S1の内部に90°エルボ継手3を収容し、90°エルボ継手3の上流側接続口3bに上流側の排水管7を接続すると共に、90°エルボ継手3の下流側接続口3cに下流側の排水管8を接続したものである。次にその施工例を説明する。
まず、コンクリート型枠(不図示)で建物のコンクリート基礎Bの外形を形成し、その内部にコンクリート基礎Bを補強するための配筋9を配設する。そして、図6に示すように、横さや管部2の内部に、上流側から90°エルボ継手3、横短管6、配管保持部材4の順番でそれぞれを接続したものを収容する。このとき、当然のことながら90°エルボ継手3の大部分は収容できないので、下流側の一部分のみを収容しておく。横さや管部2の内部に上記部材を収容すると、針金や固定ホルダー等で横さや管部2を配筋9に固定する。このとき、横さや管部2のコンクリート基礎Bの外側に位置する端部にテープ等を用いて止水しておくことが好ましい。このように止水することで、のちにコンクリートを打設したとき、コンクリートがさや管S1の内部に侵入するのを防止することができる。
上記横さや管部2に収容される90°エルボ継手3は、図6に示すように、硬質塩化ビニル樹脂で成形された断面形状が略L字形の継手で、湾曲部3aと、その湾曲部3aの上端に形成された上部接続口3bと、湾曲部3aの下端に形成された下部接続口3cからなり、上部接続口3bは、縦短管11と90°継手13を介して上流側の排水管7に接続されて、下部接続口3cは、横短管6と配管保持部材4を介して下流側の排水管8に接続されるようになっている。
また、上記横さや管部2に収容される配管保持部材4は、図6に示すように、外径が横さや管部2の内径よりもやや小さい円筒で、図7、図8に示すように、その一端よりもやや中心側の外周面には、外径が横さや管部2の内径と略等しい環状の凸部4cが形成されていると共に、他端の外周面にも該環状の凸部4cが形成されている。そして、配管保持部材4の一端よりもやや中心側の外周面に形成された環状の凸部4cと配管保持部材4の端部との間には、ゴムなどで形成されて弾性を有する環状のシールリング4aが取付けられている。また、配管保持部材4の内部の略中間には、横短管6や下流側の排水管8を差し込んだときのストッパーとなる環状の凸部4bが形成されている。このように、環状の凸部4c,4cを外周面に形成すると共に、弾性を有する環状のシールリング4aを配管保持部材4の外周面に取付けると、横さや管部2と配管保持部材4との隙間がなくなるので、90°エルボ継手3や横短管6や下流側の排水管8をガタつきなく収容することができるようになる。従って、90°エルボ継手3を切断するとき、90°エルボ継手3が振れなくなるので切断し易くなるばかりか、本実施形態の基礎貫通配管構造は、図6に示すように、横さや管部2の下流側に収容された配管保持部材4を、環状のシールリング4aが横さや管部2の下流側端部に位置するように収容してあるので、横さや管部2と配管保持部材4との隙間が皆無となり、配管保持部材4が、横さや管部2の内部に水等が侵入するのを防止する止水部材としての機能を奏することになる。しかも、この配管保持部材4を横さや管部2の下流側端部に収容すると、下流側の排水管8を配管保持部材4に差し込むだけで90°エルボ継手3と連結されるので、横短管6と下流側の排水管8を接続するためのソケット部材ともなる。
尚、コンクリート基礎Bが厚くて横さや管部2の全長が長くなる場合や、切断作業時の配管のグラつきをより確実に抑えたい場合などには、図10に示すように、上記配管保持部材4を2つ用いることが好ましい。この実施形態の基礎貫通配管構造は、横さや管部2の内部に、上流側から90°エルボ継手3、横短管6、配管保持部材4、横短管6、配管保持部材4の順番でそれぞれを接続したものを収容したものである。この際、横さや管部2に収容される2つの上記配管保持部材4,4は、横さや管部2の下流側では、前述したように、環状のシールリング4aが横さや管部2の下流側端部に位置するように収容されており、横さや管部2の上流側では、90°エルボ継手3や横短管6,6や下流側の排水管8をガタつきなく設置できるようにバランスをとるため、環状のシールリング4aが上流側に位置するように収容されている。
この実施形態の基礎貫通配管構造のその他の構成は、前述した図5〜図9に示す基礎貫通配管構造と同様であるから、同一部材に同一符号を附して説明を省略する。
また、配管保持部材4を2つ用いた上記基礎貫通配管構造に代えて、図11の(a)に示すように、上流側に収容された配管保持部材4の代わりに保持部材15を用いた基礎貫通配管構造も好適に施工される。この保持部材15は、図11の(b)に示すように、横さや管部2と横短管6との下側の隙間を埋める断面形状が円弧状の部材で、弾力性、クッション性に優れた材質で成形されたものが好適に用いられる。この保持部材15を円形に形成して、横さや管部2と横短管6との隙間を全て埋めてしまうと、横さや管部2の内部に横短管6を収容しにくくなるので、本実施形態のように、円周の略1/4程度に形成したものが好ましい。このような保持部材15で、横さや管部2と横短管6との隙間を埋めることにより、配管保持部材4を2つ用いた上記基礎貫通配管構造と同様に、横さや管部2の内部に配管を安定して取付けることができるので、グラつきがなくなって切断作業が容易となる。
尚、上流側に収容される保持部材15は上記材質や形状に制限されることはなく、横さや管部2と横短管6の隙間を埋めるものであれば特に限定はされず、例えばOリング、Vパッキン又は合成樹脂製の成形品等などでもよい。また、本実施形態のように、部分的に支持する保持部材15に限定されるものではなく、周方向の全周に亘って隙間を埋める保持部材であっても構わない。
この実施形態の基礎貫通配管構造のその他の構成は、前述した図10に示す基礎貫通配管構造と同様であるから、同一部材に同一符号を附して説明を省略する。
上記のように、横さや管部2の内部に90°エルボ継手3、配管保持部材4、横短管6を収容し、横さや管部2を配筋9に固定すると、次に、縦さや管部本体1Aの接続口1gが下方を向くように縦さや管部本体1Aを略90°傾けて、その接続口1gに、90°エルボ継手3の横さや管部2に収容されていない上部接続口3bを挿入し、90°エルボ継手3の湾曲部3aに縦さや管部本体1Aの保持部1iを沿わせながら縦さや管部本体1Aを徐々に垂直に立設していくと共に、土間コンクリートCの傾斜面に縦さや管部本体1Aの底部1aを載置する。縦さや管部本体1Aの底部1aは、前述したように、コンクリート基礎Bの下に捨て打ちされる捨てコン(不図示)や、土間コンクリートCの傾斜角と等しくなるように、下流側から上流側にかけて30°〜75°の角度で斜め上方へ立ち上がるように形成されているので、それらの上にも安定して設置することができるようになり、設置スペースを選ばない。このようにして、90°エルボ継手3を縦さや管部本体1Aの内部に収容し、縦さや管部本体1Aに形成された接続口1gに、横さや管部2を挿入して接続し、縦さや管部本体1Aと横さや管部2を一体化したのち、縦さや管部本体1Aに設けられた針金保持部1hと、その近傍の配筋9を針金で結束して、縦さや管部本体1Aを配筋9に固定する。縦さや管部本体1Aを配筋9に固定すると、縦さや管部本体1Aの上方からアジャスター部1Bを被せて、縦さや管部本体1Aとアジャスター部1Bを一体化する。このとき、高さ調整のためのアジャスター部1Bは、打設したコンクリートがさや管S1の内部に入らないように、コンクリート基礎Bのベタ基礎部分から若干突出するように高さ調整すると共に、テープ等でさや管S1の内部にコンクリートが侵入するのを防止する。縦さや管部本体1Aとアジャスター部1Bを一体化すると、次に、アジャスター部1Bの下流側の壁面1kと、90°エルボ継手3の上部接続口3bとの隙間に、図9に示す90°エルボ継手保持部材5を挿入する。
上記アジャスター部1Bの下流側の壁面1kと、90°エルボ継手3の上部接続口3bとの隙間に挿入される90°エルボ継手保持部材5は、図9に示すように、90°エルボ継手3の上部接続口3bの外形に合致する円弧状の切欠部5aが形成されたもので、軽量で、弾力性、クッション性に優れた材質である発泡スチロールや発泡ゴムなどで形成されたものが好適に用いられる。この90°エルボ継手保持部材5を、90°エルボ継手3の上部接続口3bと、アジャスター部1Bの下流側の壁面1kとの隙間に挿入すると、90°エルボ継手3は、縦さや管部本体1Aの内部に形成された保持部1iと、90°エルボ継手保持部材5の2つで保持されるので、後述する縦短管11を90°エルボ継手3の上流側接続口3bにグラつきなく確実に取付けることができて、90°エルボ継手3を切断する際に、切断具を上下に動かしても90°エルボ継手3が振れないのでより切断し易くなる。
上記のように、さや管S1の内部に上記部材を収容し、配筋9への固定が完了すると、次いで、コンクリート型枠にコンクリートを打設して、建物のコンクリート基礎Bを形成する。
尚、上記の施工方法に限らず、縦さや管部1(縦さや管部本体1Aとアジャスター部1Bを一体化したもの)と横さや管部2を一体化した状態で配筋9に固定し、コンクリートを打設した後に、さや管Sの内部に、上流側から90°エルボ継手3、横短管6、配管保持部材4の順番でそれぞれを接続して収容しても構わない。また、縦さや管部1と横さや管部2を一体化して、さや管Sの内部に、上流側から90°エルボ継手3、横短管6、配管保持部材4の順番でそれぞれを接続して収容したのち、さや管Sを配筋9に接続して、その後にコンクリートを打設しても構わない。
上記の手順で、さや管S1をコンクリート基礎Bに埋設すると、次に、90°エルボ継手3の上部接続口3bに縦短管11を接続し、その縦短管11を、トイレ、風呂場、洗面所等からの排水設備(不図示)からの排水が合流する上流側の排水管7が接続された90°継手13に接続する。このようにして、90°エルボ継手3と上流側の排水管7は接続される。
また、下流側の排水管8は、横さや管部2に収容された配管保持部材4に接続することで、90°エルボ継手3と接続される。そして、下流側の排水管8は、90°継手13、短管14、90°継手13、短管14を介して屋外の排水桝12と接続されて、施工が完了する。
以上のような本発明の基礎貫通配管構造は、前述したコンパクトなさや管S1を用いるので、配筋9を切断する必要が殆どなくなり、建物の強度を低下させてしまう心配がない。従って、低下した強度を補うための補強筋が不要となるので、施工費用を抑えることもできる。また、排水管同士の接続に、接着剤を用いることができるので、長期に亘って水密性が良好である。
次に、上記基礎貫通配管構造の管路内を点検・補修、又は配管の変更を行うための、上流側の排水管7及び下流側の排水管8の取り外し方法を説明する。
まず、縦さや管部1のアジャスター部1Bの上部開口から、切断具をさや管S1の内部に挿入していき、縦さや管部本体1Aの両側の側壁面1b,1bに形成されたいずれか一方の膨出部1eに切断具を挿入する。この切断具としては、縦さや管部1の下流側の平坦な壁面1k,1cに沿うように挿入できる、コンパクトなノコギリが好適に用いられる。そして、切断具を縦さや管部1の下流側の平坦な壁面1k,1cに沿わせながら上下に動かして、90°エルボ継手3を切断し、90°エルボ継手3を上流側と下流側に分離する。
上記のように、90°エルボ継手3を上流側と下流側に分離すると、上流側の排水管7、下流側の排水管8を適当な箇所で切断して、縦さや管部1の上部開口から90°エルボ継手3の上流側と縦短管11を取り出すと共に、横さや管部2から90°エルボ継手3の下流側と配管保持部材4と横短管6を取り出すことで、さや管S1の内部が空洞となり、基礎貫通配管構造の管路内の点検・補修、又は配管の変更を行うことができるようになる。
以上のような本発明の排水管の取り外し方法は、さや管S1をコンクリート基礎Bに埋設したまま、簡単に管路内を点検・補修、又は配管の変更を行うことができるので、管路内を点検・補修、又は配管の変更を行うのにコンクリート基礎Bを壊す必要がなくなり、新たにコンクリートを打設するといった手間が省けるので、施工費用を抑えることもできる。
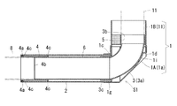
図13は本発明の更に他の実施形態に係る基礎貫通さや管の斜視図、図14は同さや管を構成する縦さや管部の平面図、図15は同さや管を用いた本発明の更に他の実施形態に係る基礎貫通配管構造を示すものであって、(a)は要部断面図、(b)は(a)の円で囲った部分の拡大図である。
図13に示す基礎貫通さや管S3も、前述した基礎貫通さや管S1と同様に、地面に対して略垂直に立設する縦さや管部10と、地面に対して略水平の横さや管部2からなるもので、前述した基礎貫通さや管S1の縦さや管部1が、縦さや管部本体1Aとアジャスター部1Bから構成されているのに対して、この縦さや管部10にはアジャスター部1Bがない形態を示しているが、基礎貫通さや管S3の縦さや管部10も、基礎貫通さや管S1と同様に縦さや管部本体1Aとアジャスター部1Bとで構成しても構わない。
尚、この縦さや管部10の底部1aも、前述した基礎貫通さや管S1と同様に、下流側から上流側にかけて30°〜75°の角度の範囲で斜め上方へ立ち上がるように形成されている。また、上流側の壁面1dも、内部に収容される90°エルボ継手30の形状に沿うように略半円形状に形成されて、下流側の壁面1cも平坦に形成されている。
上記縦さや管部10の側壁面1b,1bは、図14に示すように、上流側の壁面1dから下流側の壁面1cに向って徐々に幅が広くなるように形成されており、下流側では切断具を挿入するだけのスペースを有するように形成されている。この縦さや管部10は、基礎貫通さや管S3を可能な限りコンパクトに形成するために、上流側の幅W1は、後述する90°エルボ継手30を収容する際に不具合のない程度に狭く形成されている。また、下流側の幅W2は、90°エルボ継手30と縦さや管部10の側壁面1bの間に、切断具の先端が挿入できる程度の空間が形成されていればよいので、90°エルボ継手30と縦さや管部10の側壁面1bとの間に10〜50mm程度の空間が形成されるように設定されている。縦さや管部10の上流側の幅W1及び下流側の幅W2を上記のように設定することで、内部に納める90°エルボ継手30の収まりがよくなると共に、90°エルボ継手30を切断するための空間を確保できるようになるにも拘らず、基礎貫通さや管S3全体をコンパクトに形成することができる。また、90°エルボ継手30の切断作業が容易となることから、内部に収容される配管同士を接着剤によって結合することができるので、長期的に水密性の低下について心配する必要もない。
尚、上記切断具を挿入するための空間は、縦さや管部10の少なくとも片側に形成されていれば効果を奏するので、片側の側壁面1bのみを下流側に向って徐々に広げていき、もう一方の側壁面1bはまっすぐに形成してもよい。
図15の(a)に示すように、上記縦さや管部10の上流側の壁面1dから底部1aにかけて、90°エルボ継手30を保持する保持部10iが設けられている。本実施形態では、内部に収容される90°エルボ継手として、前述した90°エルボ継手3の代わりに、図15の(b)に示すように、湾曲部3aに、下方へ向って突出部3dが突設された90°エルボ継手30が用いられることから、保持部10iもその突出部3dと嵌合する凹部が形成されたものとなっている。
尚、90°エルボ継手30を保持する上記保持部10iは、本実施形態のように、1ヶ所のみに形成してもよいし、場合によっては2ヵ所に形成してもよく、それよりも多く複数箇所に設けてもよい。また、2ヵ所以上設ける場合は、同形状であってもよいし異なる形状であってもよい。
前述した基礎貫通さや管S1のように、90°エルボ継手3の湾曲部3aに沿うような形状をした保持部1iであれば、その保持部1iを設ける箇所や数を工夫することによって、様々な形状の90°エルボ継手(汎用性を有するもの)に対応することが可能となる。一方、本実施形態のように、90°エルボ継手30の突出部3dと嵌合する凹部が形成された保持部10iを有する基礎貫通さや管S3の場合は、専用(突出部3dが設けられたもの)の90°エルボ継手が必要となるが、突出部3dと保持部10iの凹部が嵌合することにより、確実に90°エルボ継手30が保持されるため、縦さや管部10の内部で90°エルボ継手30がズレる心配がなくなるという利点がある。従って、縦さや管部10の下流側の壁面1cと、90°エルボ継手30の上部接続口3bとの隙間に挿入される90°エルボ継手保持部材5を省略することも可能となる(本実施形態では挿入されている)。
この実施形態の基礎貫通さや管S3のその他の構成は、前述した図1〜図9に示す実施形態と同様であるから、同一部材に同一符号を附して説明を省略する。
次に、上記構成の基礎貫通さや管S3を用いた基礎貫通配管構造は、90°エルボ継手30の湾曲部3aに縦さや管部10の保持部10iを沿わせながら縦さや管部10を徐々に垂直に立設していき、90°エルボ継手30に設けられた突出部3dと保持部10iの凹部を嵌合させる作業が増えるだけで、その他の構造、施工手順は同様であるから、同一部材に同一符号を附して説明を省略する。
そして、上記基礎貫通配管構造の管路内を点検・補修、又は配管の変更を行うための、上流側の排水管7及び下流側の排水管8の取り外し方法は、縦さや管部10の幅の広い下流側の上方から、90°エルボ継手30と縦さや管部10の側壁面1bとの間に形成された空間を目標にして切断具を挿入する以外は、前述した図1〜図9に示す実施形態と同様であるから、説明を省略する。
以上の説明から明らかなように、縦さや管部10の下流側の幅W2が上流側の幅W1よりも広くなるように形成された上記さや管S3も、全長、全幅を極力コンパクトに形成することができるので、コンクリート基礎Bに配設された配筋9を切断する必要がなく、さや管S3内部に収容される部材同士を接続するときに接着剤を用いることができるので、経時と共に水密性が低下する心配がない。また、コンクリート基礎Bを壊すことなく、簡単に管路内を点検・補修、又は配管の変更を行うことができて、施工費用を抑えることもできる。
本発明の一実施形態に係る基礎貫通さや管の斜視図である。 同さや管を構成する縦さや管部本体の斜視図である。 同さや管を構成するアジャスター部の斜視図である。 同さや管を構成する縦さや管部の断面図である。 本発明の一実施形態に係る基礎貫通配管構造を示す概略図である。 同配管構造の要部断面図である。 同配管構造に用いる配管保持部材の斜視図である。 同配管保持部材の断面図である。 同配管構造に用いる90°エルボ継手保持部材の斜視図である。 本発明の他の実施形態に係る基礎貫通配管構造の要部断面図である。 本発明の更に他の実施形態に係る基礎貫通配管構造を示すものであって、(a)は要部断面図、(b)は(a)のA−A断面図である。 本発明の他の実施形態に係る基礎貫通さや管を構成する縦さや管部の断面図である。 本発明の更に他の実施形態に係る基礎貫通さや管の斜視図である。 同さや管を構成する縦さや管部の平面図である。 同さや管を用いた本発明の更に他の実施形態に係る基礎貫通配管構造を示すものであって、(a)は要部断面図、(b)は(a)の円で囲った部分の拡大図である。
符号の説明
S1,S2 基礎貫通さや管
1,10 縦さや管部
1A,10A 縦さや管部本体
1a 底部(立ち上がり面)
1b 側壁面
1c 下流側の壁面
1d 上流側の壁面
1e 膨出部(側壁面)
1f 膨出部(底部)
1g 接続口
1h 針金保持部
1i,10i 保持部
1B アジャスター部
1j 側板
1k 下流側の壁板
1l 上流側の壁板
1m カバー部
2 横さや管部
3,30 90°エルボ継手
3a 湾曲部
3b 上部接続口
3c 下部接続口
3d 突出部
4 配管保持部材(ソケット部材)
4a 環状のシールリング(止水部材)
4b 環状の凸部(内部)
4c 環状の凸部(外部)
5 90°エルボ継手保持部材
5a 切欠部
6 横短管
7 上流側の排水管
8 下流側の排水管
9 配筋
11 縦短管
12 屋外の排水桝
13 90°継手
14 短管
15 保持部材
B コンクリート基礎
C 土間コンクリート

Claims (15)

  1. 90°エルボ継手を収容できる縦さや管部と横さや管部からなる建物の基礎を貫通するように埋設されるさや管であって、
    上記縦さや管部の下流側の幅を上流側の幅よりも広くなるように形成したことを特徴とする基礎貫通さや管。
  2. 縦さや管部の少なくとも片側の側壁面に、該側壁面から側方に突出した膨出部を形成し、縦さや管部の下流側の幅を上流側の幅よりも広くなるように形成したことを特徴とする請求項1に記載の基礎貫通さや管。
  3. 縦さや管部の下流側の壁面が平坦であることを特徴とする請求項1又は請求項2に記載の基礎貫通さや管。
  4. 縦さや管部の側壁面に設けられた膨出部の下流側に位置する壁面が、縦さや管部の下流側の平坦な壁面と同一面上にあることを特徴とする請求項3に記載の基礎貫通さや管。
  5. 縦さや管部の底部に、横さや管部の底部よりも下方に突出した膨出部が形成されていると共に、該膨出部が側壁面に形成された膨出部と一続きに形成されていることを特徴とする請求項2ないし請求項4のいずれかに記載の基礎貫通さや管。
  6. 縦さや管部が、横さや管部と一体化される縦さや管部本体と、高さ調整のためのアジャスター部からなることを特徴とする請求項1ないし請求項5のいずれかに記載の基礎貫通さや管。
  7. 縦さや管部に、下流側から上流側にかけて30〜75°の角度で立ち上がる立上がり面を設けたことを特徴とする請求項1ないし請求項6のいずれかに記載の基礎貫通さや管。
  8. 縦さや管部の内部に、90°エルボ継手を保持する保持部を設けたことを特徴とする請求項1ないし請求項7のいずれかに記載の基礎貫通さや管。
  9. 縦さや管部と横さや管部が別体に形成されていることを特徴とする請求項1ないし請求項8のいずれかに記載の基礎貫通さや管。
  10. 請求項1ないし請求項9のいずれかに記載の基礎貫通さや管を建物の基礎に埋設すると共に、その内部に90°エルボ継手を収容し、90°エルボ継手の上流側接続口に上流側の排水管を接続すると共に、90°エルボ継手の下流側接続口に下流側の排水管を接続することを特徴とする基礎貫通配管構造。
  11. 基礎貫通さや管の内部に収容された90°エルボ継手が、90°エルボ継手の上流側接続口又はその近傍と、縦さや管部の内壁面との空間に挿入された90°エルボ継手を保持する90°エルボ継手保持部材によって保持されていることを特徴とする請求項10に記載の基礎貫通配管構造。
  12. 下流側の排水管が横さや管部内において、配管保持部材によって保持されていることを特徴とする請求項10又は請求項11に記載の基礎貫通配管構造。
  13. 横さや管部と下流側の排水管の隙間に、止水部材を設けたことを特徴とする請求項10ないし請求項12のいずれかに記載の基礎貫通配管構造。
  14. 横さや管部の下流側端部に、ソケット部材を設けたことを特徴とする請求項10ないし請求項13のいずれかに記載の基礎貫通配管構造。
  15. 請求項10ないし請求項14のいずれかに記載の基礎貫通配管構造において、縦さや管部の幅が広い下流側の上方から切断具を挿入し、その切断具で90°エルボ継手を切断して、上流側の排水管と下流側の排水管を基礎貫通さや管から取り出すことを特徴とする排水管の取り外し方法。
JP2008219900A 2008-08-28 2008-08-28 基礎貫通さや管並びにこれを用いた基礎貫通配管構造及び排水管の取り外し方法 Active JP5384881B2 (ja)

Priority Applications (1)

Application Number Priority Date Filing Date Title
JP2008219900A JP5384881B2 (ja) 2008-08-28 2008-08-28 基礎貫通さや管並びにこれを用いた基礎貫通配管構造及び排水管の取り外し方法

Applications Claiming Priority (1)

Application Number Priority Date Filing Date Title
JP2008219900A JP5384881B2 (ja) 2008-08-28 2008-08-28 基礎貫通さや管並びにこれを用いた基礎貫通配管構造及び排水管の取り外し方法

Related Child Applications (2)

Application Number Title Priority Date Filing Date
JP2012275321A Division JP5406360B2 (ja) 2012-12-18 2012-12-18 排水管の取り外し方法
JP2012275322A Division JP5574349B2 (ja) 2012-12-18 2012-12-18 基礎貫通さや管並びにこれを用いた基礎貫通配管構造とその施工方法

Publications (2)

Publication Number Publication Date
JP2010053599A true JP2010053599A (ja) 2010-03-11
JP5384881B2 JP5384881B2 (ja) 2014-01-08

Family

ID=42069794

Family Applications (1)

Application Number Title Priority Date Filing Date
JP2008219900A Active JP5384881B2 (ja) 2008-08-28 2008-08-28 基礎貫通さや管並びにこれを用いた基礎貫通配管構造及び排水管の取り外し方法

Country Status (1)

Country Link
JP (1) JP5384881B2 (ja)

Cited By (4)

* Cited by examiner, † Cited by third party
Publication number Priority date Publication date Assignee Title
JP2011226154A (ja) * 2010-04-20 2011-11-10 Aron Kasei Co Ltd 基礎埋設用排水管及び該基礎埋設用排水管の長さ調整方法
JP2014062413A (ja) * 2012-09-21 2014-04-10 Takiron Co Ltd 挿通管押え構造と挿通管押え部材
CN111561625A (zh) * 2020-06-09 2020-08-21 东风汽车股份有限公司 一种复合密封螺纹弯管接头及其装配工艺
JP2022018542A (ja) * 2020-07-15 2022-01-27 株式会社ブリヂストン 排水構造

Citations (5)

* Cited by examiner, † Cited by third party
Publication number Priority date Publication date Assignee Title
JPH0729064U (ja) * 1993-10-29 1995-06-02 株式会社西原衛生工業所 二層管用排水継手
JP2002227266A (ja) * 2001-01-31 2002-08-14 Takiron Co Ltd 建物の基礎における排水管路
JP2002322701A (ja) * 2001-04-26 2002-11-08 Inax Corp 配管施工構造及び配管施工方法
JP2003082726A (ja) * 2001-09-14 2003-03-19 Takiron Co Ltd 床下配管構造
JP2005314976A (ja) * 2004-04-30 2005-11-10 Maezawa Kasei Ind Co Ltd さや管装置

Patent Citations (5)

* Cited by examiner, † Cited by third party
Publication number Priority date Publication date Assignee Title
JPH0729064U (ja) * 1993-10-29 1995-06-02 株式会社西原衛生工業所 二層管用排水継手
JP2002227266A (ja) * 2001-01-31 2002-08-14 Takiron Co Ltd 建物の基礎における排水管路
JP2002322701A (ja) * 2001-04-26 2002-11-08 Inax Corp 配管施工構造及び配管施工方法
JP2003082726A (ja) * 2001-09-14 2003-03-19 Takiron Co Ltd 床下配管構造
JP2005314976A (ja) * 2004-04-30 2005-11-10 Maezawa Kasei Ind Co Ltd さや管装置

Cited By (4)

* Cited by examiner, † Cited by third party
Publication number Priority date Publication date Assignee Title
JP2011226154A (ja) * 2010-04-20 2011-11-10 Aron Kasei Co Ltd 基礎埋設用排水管及び該基礎埋設用排水管の長さ調整方法
JP2014062413A (ja) * 2012-09-21 2014-04-10 Takiron Co Ltd 挿通管押え構造と挿通管押え部材
CN111561625A (zh) * 2020-06-09 2020-08-21 东风汽车股份有限公司 一种复合密封螺纹弯管接头及其装配工艺
JP2022018542A (ja) * 2020-07-15 2022-01-27 株式会社ブリヂストン 排水構造

Also Published As

Publication number Publication date
JP5384881B2 (ja) 2014-01-08

Similar Documents

Publication Publication Date Title
JP5384881B2 (ja) 基礎貫通さや管並びにこれを用いた基礎貫通配管構造及び排水管の取り外し方法
CN110747909A (zh) 一种明挖隧道变形缝防水构造
JP5406360B2 (ja) 排水管の取り外し方法
JP2009114643A (ja) 地下構造物の連結構造
JP5574349B2 (ja) 基礎貫通さや管並びにこれを用いた基礎貫通配管構造とその施工方法
KR101566229B1 (ko) 접속관종 호환이 가능한 맨홀의 제조장치, 이의 제조방법 및 맨홀의 접속관 연결방법
JP5068569B2 (ja) 排水構造及び排水構造の施工方法
JP2009035982A (ja) コンクリート基礎における屈曲孔形成具及び屈曲孔形成方法
JP6159295B2 (ja) マンホール補修方法
JP2010047927A (ja) ダム堤体の仮締切装置及び仮締切工法
JP2001055732A (ja) 連続矢板壁の継手
KR101826619B1 (ko) 누수방지 기능을 가진 무부력 집수정의 설치구조
KR100520482B1 (ko) 공동주택 지하 공동구 방수막 커버를 이용한 이음부 연결공법
KR100985990B1 (ko) 콘크리트 원형 배수로관
JP4656966B2 (ja) 地下コンクリート構造物の継手構造とその施工方法
JP6505475B2 (ja) 基礎貫通用鞘管および管路施工方法
KR200433220Y1 (ko) 집수정 구조체
KR100635259B1 (ko) 터널용 소화전 함과 이를 이용한 터널 내 소화전 함 설치방법
JP6067425B2 (ja) 床版水抜き管及び該床版水抜き管を使用する橋面排水システム施工方法
KR102754146B1 (ko) 도막방수 부착 개선형 드레인
JP5317514B2 (ja) ます蓋の施工方法
KR20090131353A (ko) 밀폐형 맨홀 성형구
KR20090073805A (ko) 조립식 콘크리트 옹벽 구조체
KR101304987B1 (ko) 소켓 및 커넥터 일체형 조립식 pc맨홀
CN202188237U (zh) 一种新型止水节

Legal Events

Date Code Title Description
A621 Written request for application examination

Free format text: JAPANESE INTERMEDIATE CODE: A621

Effective date: 20110621

A977 Report on retrieval

Free format text: JAPANESE INTERMEDIATE CODE: A971007

Effective date: 20121017

A131 Notification of reasons for refusal

Free format text: JAPANESE INTERMEDIATE CODE: A131

Effective date: 20121024

A521 Request for written amendment filed

Free format text: JAPANESE INTERMEDIATE CODE: A523

Effective date: 20121218

TRDD Decision of grant or rejection written
A01 Written decision to grant a patent or to grant a registration (utility model)

Free format text: JAPANESE INTERMEDIATE CODE: A01

Effective date: 20130903

A61 First payment of annual fees (during grant procedure)

Free format text: JAPANESE INTERMEDIATE CODE: A61

Effective date: 20131003

R150 Certificate of patent or registration of utility model

Ref document number: 5384881

Country of ref document: JP

Free format text: JAPANESE INTERMEDIATE CODE: R150

Free format text: JAPANESE INTERMEDIATE CODE: R150

R250 Receipt of annual fees

Free format text: JAPANESE INTERMEDIATE CODE: R250

R250 Receipt of annual fees

Free format text: JAPANESE INTERMEDIATE CODE: R250

R250 Receipt of annual fees

Free format text: JAPANESE INTERMEDIATE CODE: R250

S533 Written request for registration of change of name

Free format text: JAPANESE INTERMEDIATE CODE: R313533

R350 Written notification of registration of transfer

Free format text: JAPANESE INTERMEDIATE CODE: R350

R250 Receipt of annual fees

Free format text: JAPANESE INTERMEDIATE CODE: R250

R250 Receipt of annual fees

Free format text: JAPANESE INTERMEDIATE CODE: R250

R250 Receipt of annual fees

Free format text: JAPANESE INTERMEDIATE CODE: R250

R250 Receipt of annual fees

Free format text: JAPANESE INTERMEDIATE CODE: R250

R250 Receipt of annual fees

Free format text: JAPANESE INTERMEDIATE CODE: R250

R250 Receipt of annual fees

Free format text: JAPANESE INTERMEDIATE CODE: R250

R250 Receipt of annual fees

Free format text: JAPANESE INTERMEDIATE CODE: R250