JP2010051917A - 可変バッフルトレイ - Google Patents

可変バッフルトレイ Download PDF

Info

Publication number
JP2010051917A
JP2010051917A JP2008221493A JP2008221493A JP2010051917A JP 2010051917 A JP2010051917 A JP 2010051917A JP 2008221493 A JP2008221493 A JP 2008221493A JP 2008221493 A JP2008221493 A JP 2008221493A JP 2010051917 A JP2010051917 A JP 2010051917A
Authority
JP
Japan
Prior art keywords
perforated plate
tower
plate
tray
baffle tray
Prior art date
Legal status (The legal status is an assumption and is not a legal conclusion. Google has not performed a legal analysis and makes no representation as to the accuracy of the status listed.)
Granted
Application number
JP2008221493A
Other languages
English (en)
Other versions
JP5189932B2 (ja
Inventor
Hideo Noda
秀夫 野田
Kanji Yamaji
寛司 山路
Akira Takaishi
晃 高石
Nobuyuki Kuratani
伸行 倉谷
Current Assignee (The listed assignees may be inaccurate. Google has not performed a legal analysis and makes no representation or warranty as to the accuracy of the list.)
Kansai Chemical Engineering Co Ltd
Original Assignee
Kansai Chemical Engineering Co Ltd
Priority date (The priority date is an assumption and is not a legal conclusion. Google has not performed a legal analysis and makes no representation as to the accuracy of the date listed.)
Filing date
Publication date
Application filed by Kansai Chemical Engineering Co Ltd filed Critical Kansai Chemical Engineering Co Ltd
Priority to JP2008221493A priority Critical patent/JP5189932B2/ja
Publication of JP2010051917A publication Critical patent/JP2010051917A/ja
Application granted granted Critical
Publication of JP5189932B2 publication Critical patent/JP5189932B2/ja
Expired - Fee Related legal-status Critical Current
Anticipated expiration legal-status Critical

Links

Images

Landscapes

  • Distillation Of Fermentation Liquor, Processing Of Alcohols, Vinegar And Beer (AREA)
  • Gas Separation By Absorption (AREA)
  • Vaporization, Distillation, Condensation, Sublimation, And Cold Traps (AREA)

Abstract

【課題】発酵残渣、繊維状の物質などの固形の夾雑物が混入しているスラリーを、蒸留などの精製処理に供する場合であっても、効率よく処理することができ、安定して装置を運転し得るバッフルトレイを提供すること。
【解決手段】本発明のバッフルトレイは、棚段塔の内部に配置された第1の無孔板および第2の無孔板でなり、該第1の無孔板および該第2の無孔板が、いずれも該棚段塔の内壁面に配置され、かつ交互に段構造を構成するように配置されているか、あるいは該第1の無孔板が該棚段塔の内壁面に配置され、該第2の無孔板が該棚段塔の中心部に配置されており、そして該第1の無孔板および該第2の無孔板の少なくとも一方が、該棚段塔の上下方向に昇降し得るように構成されている。
【選択図】図2

Description

本発明は、蒸留塔、モロミ塔、吸収塔などの棚段塔に用いられるバッフルトレイに関する。
蒸留塔、モロミ塔、吸収塔などの棚段塔の各段に備えられるトレイとして、シーブトレイ、リフトトレイ、バッフルトレイなどが挙げられる。
シーブトレイは、複数の孔が形成された多孔板からなり、形状がシンプルであるため、工業的に広く使われている。このシーブトレイは、様々な改良がなされている。
例えば、特許文献1には、シーブトレイに衝撃または振動を与えて蒸留効率を改良することが記載されている。特許文献2には、固定多孔板と外力によって移動し得る可動多孔板とから構成されるシーブトレイが記載されている。特許文献2のシーブトレイは、多孔板の孔の面積(開孔比)を調整して溶媒の蒸気および液体の還流量、圧力などを適宜調整することができ、高いエネルギー効率で蒸留が行われ、省エネが可能となる。
一方、リフトトレイは、各トレイが固定多孔板と可動多孔板との2枚の多孔板からなり、可動多孔板が、基本的に棚段塔内部の蒸気あるいは液体の流れに依存して、固定多孔板の上を浮遊するように構成されている。例えば、特許文献3に記載のリフトトレイは、蒸気あるいは液体の流れだけに依存して、可動多孔板が浮遊するのではなく、可動多孔板が外力によって可動し得るように構成されている。
特許文献2および3に記載されるように、可動式のトレイは、一般的にチェンジトレイと称され、開孔比を調整し得るので、高いエネルギー効率で蒸留が行われ、省エネが可能となる。
ところで、多孔板で構成されるシーブトレイおよびリフトトレイは、液体のみの原料を蒸留する場合には、上述のように高いエネルギー効率で蒸留が行われるなどの効果を発揮することができる。しかし、固形物、繊維状の物質などが混入しているスラリーなどを蒸留する場合、多孔板で構成されるシーブトレイおよびリフトトレイを用いた場合、以下のような問題を生じるおそれがある。
近年、トウモロコシ、稲わらなどを粉砕して発酵させた発酵物からエタノール(バイオエタノール)を回収する研究が進められている。このような発酵物には、原料の皮、未発酵のトウモロコシ、未発酵の稲わら、繊維状の物質などの発酵残渣、酵母などの固形の夾雑物が含まれている。このような発酵物を、多孔板で構成されるシーブトレイ、リフトトレイなどを備える蒸留塔を用いて、加熱してエタノールを回収する場合、夾雑物の飛散あるいは加熱による発酵物中の夾雑物の固形化などによりトレイに付着し、トレイに形成された孔を被覆するあるいは目詰まりを生じるおそれがある。一旦、孔への夾雑物もしくは固形物の付着または目詰まりが生じると、さらに夾雑物が付着して、付着物を成長させ、付着物がトレイ上に堆積、あるいは固定多孔板と可動多孔板との隙間を閉塞することになる(すなわち、蒸留塔内に詰まりが生じる)。
このように、蒸留塔内に詰まりが生じると蒸留塔が運転不能となり、運転を停止して洗浄しなければならない。したがって、固形物、繊維状の物質などの夾雑物が混入しているスラリーを蒸留する場合、多孔板で構成されるシーブトレイおよびリフトトレイを用いると、これらのトレイの効果を発揮するどころか、かえって効率が悪くなる。
そこで、蒸留塔などの棚段塔に詰まりを生じさせにくいトレイとして、バッフルトレイが挙げられる。バッフルトレイは、図1(a)に示すように、例えば、円筒状の棚段塔11の内壁面および棚段塔11の中心部に、無孔質の板(無孔板12aおよび12b)が交互に段状に構成されたトレイである。棚段塔11の中心部に配置される無孔板12bは、支柱13などによって固定されている。また、図1(b)に示すように、例えば、半円形の無孔板12aが、棚段塔11の内壁面に、交互に段状に構成されたバッフルトレイもある。
バッフルトレイは、シーブトレイなどのように多孔板が用いられているわけではなく、無孔板が用いられているため、例えば、固形物、繊維状の物質などの夾雑物が混入しているスラリーなどの蒸留に用いたとしても、蒸留塔に詰まりを生じさせにくい。しかし、バッフルトレイは、シーブトレイおよびリフトトレイと比べて蒸留あるいは分留効率が悪く、さらにトレイの段数もシーブトレイなどと比べて多段にする必要があり、棚段塔を非常に高くしなければならないという問題がある。
そこで、固形物、繊維状の物質などの固形の夾雑物が混入しているスラリーであっても、効率よく蒸留あるいは分留処理し得るトレイが望まれている。
特開平5−115701号公報 特開2005−131586号公報 特開平5−115702号公報
本発明は、固形物、繊維状の物質などの固形の夾雑物が混入しているスラリーを、蒸留に供する場合であっても、効率よく処理することができ、安定して装置を運転し得るバッフルトレイを提供することを目的とする。
本発明は、バッフルトレイを提供し、該バッフルトレイは、棚段塔の内部に配置された第1の無孔板および第2の無孔板でなり、該第1の無孔板および該第2の無孔板は、いずれも該棚段塔の内壁面に配置され、かつ交互に段構造を構成するように配置されているか、あるいは該第1の無孔板は該棚段塔の内壁面に配置され、該第2の無孔板が該棚段塔の中心部に配置されており、そして該第1の無孔板および該第2の無孔板の少なくとも一方は、該棚段塔の上下方向に昇降し得るように構成されている。すなわち、本発明のバッフルトレイは、可変バッフルトレイである。
1つの実施態様では、上記第1の無孔板または上記第2の無孔板は、該無孔板がそれぞれ独立して昇降し得るように構成されている。
1つの実施態様では、上記第1の無孔板は固定され、そして上記第2の無孔板は昇降し得るように構成されている。
さらに、本発明は、上記バッフルトレイを備える棚段塔を提供する。
1つの実施態様では、上記棚段塔は、蒸留塔、モロミ塔、または吸収塔である。
本発明によれば、固形物、繊維状の物質などの固形の夾雑物が混入しているスラリーを、蒸留などの精製処理に供する場合であっても、効率よく処理することができ、安定して装置を運転し得る。
本発明のバッフルトレイを、添付の図面を参照して説明する。
図2に、本発明のバッフルトレイの一実施態様を示す。図2に記載のバッフルトレイは、棚段塔21の内壁面に配置された第1の無孔板22aおよび棚段塔21の中心部に配置された第2の無孔板22bからなる。
第1の無孔板22aの形状は、設置される棚段塔の形状、大きさなどに合わせて適宜設定され得、第1の無孔板22aの中心部は、刳り貫かれた形状を有している。刳り貫かれた形状は、円形、多角形(例えば、三角形、四角形など)など特に限定されない。第2の無孔板22bの形状もまた、特に限定されず、第1の無孔板22aの中心部を刳り貫いた形状と同一でもよく、異なっていてもよく、好ましくは同一である。第1の無孔板22aと第2の無孔板22bとは嵌合するように、あるいは第2の無孔板22bが第1の無孔板22aの刳り貫かれた形状を覆うか、または刳り貫かれた形状より少し小さく隙間ができるように構成される。
図2(a)は、第2の無孔板22bを第1の無孔板22aと同一平面状に配置した状態を示す概略図であり、そして図2(b)は、第2の無孔板22bを上昇させた状態を示す概略図である。
第1の無孔板22aは、棚段塔21の内壁面に固定されている。一方、第2の無孔板22bは、棚段塔21の中心部で支柱23に連結している。支柱23の先端は、梃子棒24の一端と連結している。梃子棒24の他端は、棚段塔21の外部に突出している。この梃子棒24を操作することによって、第2の無孔板22bは、昇降され得る。
第1の無孔板22aと第2の無孔板22bとの段差(ΔH)の最大値は、棚段塔21の内径、棚段塔21の高さ、設置されているバッフルトレイの枚数、第2の無孔板22bの大きさなどによって適宜設定され得る。好ましくは、段差(ΔH)は、最大で棚間隔の半分であり得、より好ましくは最大で約20cmであり得る。
図2のバッフルトレイは、梃子棒24の操作によって第2の無孔板22bを昇降し得るが、第2の無孔板22bの昇降手段は、この手段に限定されない。例えば、アクチュエーターなどを搭載し、電気的制御によって昇降させ得る手段であってもよく、センサーなどを搭載し、棚段塔21内の圧力、温度などのデータを予めプログラミングしておき、自動的に昇降させ得る手段であってもよい。
上記のように、図2のバッフルトレイは、第1の無孔板22aが棚段塔21の内壁面に固定され、棚段塔21の中心部に配置された第2の無孔板22bを昇降し得る構造を有する。しかし、本発明のバッフルトレイは、第2の無孔板22bが固定され、棚段塔21の内壁面に配置された第1の無孔板22aが昇降し得る構造であってもよく、第1の無孔板22aおよび第2の無孔板22bの両方を昇降し得る構造であってもよい。
棚段塔21の内壁面に配置された第1の無孔板22aを昇降し得る構成とする場合、昇降機構が複雑になる。したがって、簡単な機構で昇降可能な点で、第1の無孔板22aを棚段塔21の内壁面に固定し、棚段塔21の中心部に配置された第2の無孔板22bを昇降し得る構造を有することが好ましい。
さらに、第2の無孔板の形状は平板ではなくてもよい。例えば、図3に示すバッフルトレイを構成する第2の無孔板32bのように、湾曲した無孔板でもよい。図3のバッフルトレイのように、湾曲した第2の無孔板32bを使用すると、平板の場合よりもバッフルトレイの強度が増す。したがって、大型の棚段塔であっても、安定した強度を確保し得る。
図4に、本発明のバッフルトレイの別の実施態様を示す。図4のバッフルトレイは、第1の無孔板42aおよび第2の無孔板42bが、いずれも棚段塔41の内壁面に配置され、かつ交互に段構造を構成するように配置されている。
第1の無孔板42aは、棚段塔41の内壁面に固定されている。一方、第2の無孔板42bは、棚段塔41の内壁面に固定されておらず支柱43に連結しており、棚段塔41の内壁面に沿って上下方向に沿って摺動可能に配置されている。支柱43の先端は、梃子棒44の一端と連結している。梃子棒44の他端は、棚段塔41の外部に突出している。この梃子棒44を操作することによって、第2の無孔板42bは、昇降され得る。
図5に、本発明のバッフルトレイのさらに別の実施態様を示す。図2のバッフルトレイは、1本の支柱23に全ての第2の無孔板22bを連結させた構造を有する実施態様であるのに対し、図5のバッフルトレイは、複数の支柱53を有し、各支柱53に1枚の第2の無孔板52bを連結させた構造を有する。すなわち、図5に示すバッフルトレイは、第2の無孔板52bがそれぞれ独立して(すなわち、1枚の第2の無孔板52bごとに)、昇降可能な構造を有している。
このような構造を有することによって、より緻密な圧力調整が可能となる。例えば、図5(a)に示すように、棚段塔51の最上部のバッフルトレイで仕切られた上下の空間において、圧力差ΔP1が異常に大きくなった場合、棚段塔51の最上部のバッフルトレイを構成する第2の無孔板52bのみを上昇させることによって、圧力差ΔP1が異常に大きくなった部分のみの蒸気または液体の流量を調整して圧力を調整し得る(図5(b))。そのため、棚段塔51の底部などその他の部分の蒸気または液体の流量は、ほとんど変化しないので、より効率よく蒸留、分留などの精製処理を行い得る。
図5に示すバッフルトレイは、それぞれの第2の無孔板52bが梃子棒54a〜54cの操作によって昇降され得る構造を有するが、上記のように、それぞれの第2の無孔板52bの昇降を、電気的制御で行ってもよく、プログラミング制御で自動的に行ってもよい。
さらに、第2の無孔板52bを固定し、棚段塔51の内壁面に配置された第1の無孔板52aを、各第1の無孔板52aが棚段塔51の内壁面に沿って昇降し得る構造を有していてもよく、あるいは各第1の無孔板52aおよび各第2の無孔板52bが昇降し得る構造を有していてもよい。
図5のバッフルトレイは、各第2の無孔板52bが、それぞれ独立して昇降可能な構造を有しているが、例えば、所望の枚数(例えば、2枚〜4枚)の第2の無孔板52bを、一緒に昇降し得る構造であってもよい。
次いで、本発明のバッフルトレイを内部熱交換型蒸留塔(HIDiC)に用いた場合の一実施態様を説明する。
図6に示す内部熱交換型蒸留塔61は、2重円筒型構造を有し、外筒66のトレイとして、本発明のバッフルトレイを使用している。すなわち、外筒66の内壁面に第1の無孔板62aが固定され、第2の無孔板62bは、支柱63に連結しており、外筒66の中心部(内筒67の外壁面)に、内筒67の外壁面に沿って上下方向に摺動可能に配置されている。支柱63の先端は、梃子棒64の一端と連結している。梃子棒64の他端は、棚段塔61の外部に突出している。この梃子棒64を操作することによって、第2の無孔板62bは、内筒67の外壁面に沿って昇降され得る。
図6に示すような内部熱交換型蒸留塔61に、本発明のバッフルトレイを用いると、第2の無孔板62bが、内筒67の外壁面を上下方向に摺動するため、内筒67の外壁面に付着している固形物などを除去することも可能であり、熱効率が低下することなく蒸留し得る。
このように、本発明のバッフルトレイは、可変型のバッフルトレイであり、第1の無孔板と第2の無孔板との段差(隙間)を調節することによって、蒸気または液体の流量を調整して圧力調整が可能となる。したがって、本発明のバッフルトレイは、バッフルトレイが本来有する詰まりを生じさせにくいという特徴を生かしながら、効率よく蒸留などの精製処理を行うことを可能とする。本発明の可変バッフルトレイは、蒸留塔、モロミ塔、吸収塔などの棚段塔に備えられる。
(実施例1)
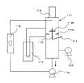
図7に示す圧力損失を測定し得る実験装置を用いて、本発明の可変バッフルトレイを用いた棚段塔の水−空気の系における運転状況を確認した。
まず、棚段塔111に、ガス送風機115、液循環ポンプ116、圧力損失測定マノメーター117、液流量計118、およびガス速度計119を、図7に示すように接続した。棚段塔111は、内径200mmの円筒形であり、内部に第1の無孔板112aおよび第2の無孔板112bでなる本発明のバッフルトレイを1段備えた。第2の無孔板112bは、直径100mmの円形であり(すなわち、第1の無孔板112aは、中心部が直径100mmの円形に刳り貫かれている)、支柱113に連結され梃子棒114で昇降し得るように構成されている。
次いで、棚段塔111にガス送風機115を用いて空気を送り込み、液循環ポンプ116を用いて、図7中の矢印の方向に水を循環させた。水は、200L/分/mの割合で循環させた。
第1の無孔板112aおよび第2の無孔板112bの間隔を4mm〜10mmの間で一定の間隔とした場合において、空気量(風速)を変化させたときの圧力損失を図8に示す。さらに、空気量を一定(0.7m/秒)にした場合の第1の無孔板112aおよび第2の無孔板112bの間隔を変化させたときの圧力損失を図9に示す。
図8および図9に示すように、棚段塔111は、バッフルトレイの間隔を数ミリ単位で制御して、圧力損失を棚段塔の外部から細かく制御し得る。したがって、詰まりなどにより棚段塔の内部の圧力が上昇しても、棚段塔の外部からバッフルトレイの間隔を調整する(トレイ間の間隔を広げる)ことで、一定の圧力損失を維持し得、蒸留などの精製処理を継続して行い得る。
本発明によれば、発酵残渣、繊維状の物質などの固形の夾雑物が混入しているスラリーを、蒸留などの精製処理に供する場合であっても、効率よく処理することができ、安定して装置を運転し得る。したがって、発酵残渣、繊維状の物質などの固形の夾雑物が混入しているスラリー、例えば、バイオエタノールの蒸留などに有用である。
一般的なバッフルトレイを示す概略図である。 本発明のバッフルトレイの一実施態様を示す概略図である。 本発明のバッフルトレイの他の実施態様を示す概略図である。 本発明のバッフルトレイの別の実施態様を示す概略図である。 本発明のバッフルトレイのさらに別の実施態様を示す概略図であり、図5(b)は、第2の無孔板を上昇させて最上部のバッフルトレイの第1の無孔板と第2の無孔板との段差(隙間)を広げた場合を示す概略図である。 本発明のバッフルトレイを内部熱交換型蒸留塔に用いた場合の一実施態様を示す概略図である。 実施例1で用いたバッフルトレイの構造を示す模式図である。 第1の無孔板および第2の無孔板の間隔を4mm〜10mmの間で一定の間隔とした場合において、空気量(風速)を変化させたときの圧力損失を示すグラフである。 空気量(風速)が一定の場合(0.7m/秒)における、第1の無孔板および第2の無孔板の間隔を変化させた場合の圧力損失を示すグラフである。
符号の説明
11、21、31、41、51 棚段塔
12a、12b 無孔板
13、23、33、43、53、63 支柱
22a、32a、42a、52a、62a 第1の無孔板
22b、32b、42b、52b、62b 第2の無孔板
24、34、44、54、64 梃子棒
61 内部熱交換型蒸留塔
65 内筒のトレイ
66 外筒
67 内筒
111 棚段塔
112a 第1の無孔板
112b 第2の無孔板
113 支柱
114 梃子棒
115 ガス送風機
116 液循環ポンプ
117 圧力損失測定マノメーター
118 液流量計
119 ガス速度計

Claims (5)

  1. バッフルトレイであって、
    棚段塔の内部に配置された第1の無孔板および第2の無孔板でなり、
    該第1の無孔板および該第2の無孔板が、いずれも該棚段塔の内壁面に配置され、かつ交互に段構造を構成するように配置されているか、あるいは該第1の無孔板が該棚段塔の内壁面に配置され、該第2の無孔板が該棚段塔の中心部に配置されており、そして
    該第1の無孔板および該第2の無孔板の少なくとも一方が、該棚段塔の上下方向に昇降し得るように構成されている、バッフルトレイ。
  2. 前記第1の無孔板または前記第2の無孔板が、該無孔板がそれぞれ独立して昇降し得るように構成されている、請求項1に記載のバッフルトレイ。
  3. 前記第1の無孔板が固定され、そして前記第2の無孔板が昇降し得るように構成されている、請求項1または2に記載のバッフルトレイ。
  4. 請求項1から3のいずれかの項に記載のバッフルトレイを備える、棚段塔。
  5. 蒸留塔、モロミ塔、または吸収塔である、請求項4に記載の棚段塔。
JP2008221493A 2008-08-29 2008-08-29 可変バッフルトレイ Expired - Fee Related JP5189932B2 (ja)

Priority Applications (1)

Application Number Priority Date Filing Date Title
JP2008221493A JP5189932B2 (ja) 2008-08-29 2008-08-29 可変バッフルトレイ

Applications Claiming Priority (1)

Application Number Priority Date Filing Date Title
JP2008221493A JP5189932B2 (ja) 2008-08-29 2008-08-29 可変バッフルトレイ

Publications (2)

Publication Number Publication Date
JP2010051917A true JP2010051917A (ja) 2010-03-11
JP5189932B2 JP5189932B2 (ja) 2013-04-24

Family

ID=42068408

Family Applications (1)

Application Number Title Priority Date Filing Date
JP2008221493A Expired - Fee Related JP5189932B2 (ja) 2008-08-29 2008-08-29 可変バッフルトレイ

Country Status (1)

Country Link
JP (1) JP5189932B2 (ja)

Cited By (3)

* Cited by examiner, † Cited by third party
Publication number Priority date Publication date Assignee Title
CN104784960A (zh) * 2015-04-27 2015-07-22 康进科 流线型立体喷射塔板
CN114984604A (zh) * 2022-06-30 2022-09-02 张闻龙 一种连续式双塔蒸馏系统
CN117442991A (zh) * 2023-12-22 2024-01-26 甘肃克胜阡耘生物科技有限公司 一种基于ccmp生产的水分分离精馏塔及其使用方法

Citations (2)

* Cited by examiner, † Cited by third party
Publication number Priority date Publication date Assignee Title
JPS52125471A (en) * 1976-05-20 1977-10-21 Takada Enjiniaringu Kk Exhaust gas absorption apparatus having movable separation plate
JPH05115702A (ja) * 1991-09-02 1993-05-14 Kansai Kagaku Kikai Seisaku Kk トレイ

Patent Citations (2)

* Cited by examiner, † Cited by third party
Publication number Priority date Publication date Assignee Title
JPS52125471A (en) * 1976-05-20 1977-10-21 Takada Enjiniaringu Kk Exhaust gas absorption apparatus having movable separation plate
JPH05115702A (ja) * 1991-09-02 1993-05-14 Kansai Kagaku Kikai Seisaku Kk トレイ

Cited By (5)

* Cited by examiner, † Cited by third party
Publication number Priority date Publication date Assignee Title
CN104784960A (zh) * 2015-04-27 2015-07-22 康进科 流线型立体喷射塔板
CN114984604A (zh) * 2022-06-30 2022-09-02 张闻龙 一种连续式双塔蒸馏系统
CN114984604B (zh) * 2022-06-30 2024-01-09 河南金大地化工有限责任公司 一种连续式双塔蒸馏系统
CN117442991A (zh) * 2023-12-22 2024-01-26 甘肃克胜阡耘生物科技有限公司 一种基于ccmp生产的水分分离精馏塔及其使用方法
CN117442991B (zh) * 2023-12-22 2024-03-01 甘肃克胜阡耘生物科技有限公司 一种基于ccmp生产的水分分离精馏塔及其使用方法

Also Published As

Publication number Publication date
JP5189932B2 (ja) 2013-04-24

Similar Documents

Publication Publication Date Title
JP5189932B2 (ja) 可変バッフルトレイ
US9486752B2 (en) Distributor plate for a gas-liquid mixture, provided with distribution elements having low sensitivity to a lack of horizontality
CN202054821U (zh) 一种蒸酒装置
JP4589929B2 (ja) 格子流下液膜脱揮塔
CN107073355B (zh) 用于热处理流体混合物的在两个基板之间具有支撑结构的塔
CN108434791B (zh) 一种高效脱挥塔内构件
CN206746016U (zh) 新型精馏脱水提纯装置
JPH0763352B2 (ja) ビール生産用の濾過槽のレーキギヤの作動方法
US20130126424A1 (en) Anaerobic purification of waste water in an upflow reactor, and method of implementing same
CN110027216B (zh) 一种提高工件成型质量的3d打印装置及方法
JP2017209615A (ja) 尿素水溶液の処理方法および装置
EP1150758A1 (en) High-capacity vapor/liquid contacting tray
CA3085352C (en) Scale collection device for downflow reactors
EP1769062B1 (de) Würzekochverfahren
CN202410623U (zh) 一种活性炭酸洗池
CN209735628U (zh) 一种pcr基座及pcr仪
DE102007026587B4 (de) Verfahren und Vorrichtung zur Würzekochung
JPH05115702A (ja) トレイ
US3799845A (en) Beer distillation
CN106745501A (zh) 一种可变介质层污水处理油水分离器
CN222677214U (zh) 一种抽提蒸馏塔
RU2250126C2 (ru) Ректификационная колонна
CN206687502U (zh) 一种升降家居床
CA3085932C (en) Scale collection device for downflow reactors
CN117343816A (zh) 一种酒精蒸馏设备及酒精加工工艺

Legal Events

Date Code Title Description
RD02 Notification of acceptance of power of attorney

Free format text: JAPANESE INTERMEDIATE CODE: A7422

Effective date: 20110114

A621 Written request for application examination

Free format text: JAPANESE INTERMEDIATE CODE: A621

Effective date: 20110805

A977 Report on retrieval

Free format text: JAPANESE INTERMEDIATE CODE: A971007

Effective date: 20120116

A131 Notification of reasons for refusal

Free format text: JAPANESE INTERMEDIATE CODE: A131

Effective date: 20120207

A521 Request for written amendment filed

Free format text: JAPANESE INTERMEDIATE CODE: A523

Effective date: 20120405

TRDD Decision of grant or rejection written
A01 Written decision to grant a patent or to grant a registration (utility model)

Free format text: JAPANESE INTERMEDIATE CODE: A01

Effective date: 20130122

A61 First payment of annual fees (during grant procedure)

Free format text: JAPANESE INTERMEDIATE CODE: A61

Effective date: 20130125

FPAY Renewal fee payment (event date is renewal date of database)

Free format text: PAYMENT UNTIL: 20160201

Year of fee payment: 3

R150 Certificate of patent or registration of utility model

Ref document number: 5189932

Country of ref document: JP

Free format text: JAPANESE INTERMEDIATE CODE: R150

Free format text: JAPANESE INTERMEDIATE CODE: R150

R250 Receipt of annual fees

Free format text: JAPANESE INTERMEDIATE CODE: R250

R250 Receipt of annual fees

Free format text: JAPANESE INTERMEDIATE CODE: R250

R250 Receipt of annual fees

Free format text: JAPANESE INTERMEDIATE CODE: R250

RD02 Notification of acceptance of power of attorney

Free format text: JAPANESE INTERMEDIATE CODE: R3D02

RD04 Notification of resignation of power of attorney

Free format text: JAPANESE INTERMEDIATE CODE: R3D04

R250 Receipt of annual fees

Free format text: JAPANESE INTERMEDIATE CODE: R250

R250 Receipt of annual fees

Free format text: JAPANESE INTERMEDIATE CODE: R250

R250 Receipt of annual fees

Free format text: JAPANESE INTERMEDIATE CODE: R250

R250 Receipt of annual fees

Free format text: JAPANESE INTERMEDIATE CODE: R250

R250 Receipt of annual fees

Free format text: JAPANESE INTERMEDIATE CODE: R250

R250 Receipt of annual fees

Free format text: JAPANESE INTERMEDIATE CODE: R250

LAPS Cancellation because of no payment of annual fees