JP2010033084A - オーディオデータ符号化及び復号化装置、並びにオーディオデータ符号化及び復号化方法 - Google Patents

オーディオデータ符号化及び復号化装置、並びにオーディオデータ符号化及び復号化方法 Download PDF

Info

Publication number
JP2010033084A
JP2010033084A JP2009258400A JP2009258400A JP2010033084A JP 2010033084 A JP2010033084 A JP 2010033084A JP 2009258400 A JP2009258400 A JP 2009258400A JP 2009258400 A JP2009258400 A JP 2009258400A JP 2010033084 A JP2010033084 A JP 2010033084A
Authority
JP
Japan
Prior art keywords
audio data
data
encoded
unit
encoding
Prior art date
Legal status (The legal status is an assumption and is not a legal conclusion. Google has not performed a legal analysis and makes no representation as to the accuracy of the status listed.)
Granted
Application number
JP2009258400A
Other languages
English (en)
Other versions
JP5254933B2 (ja
Inventor
Mi Young Kim
美 英 金
Shoko Kim
▲尚▼ ▲煌▼ 金
Dokyo Kin
度 亨 金
Shi-Hwa Lee
時 和 李
Jung-Hoe Kim
重 會 金
Current Assignee (The listed assignees may be inaccurate. Google has not performed a legal analysis and makes no representation or warranty as to the accuracy of the list.)
Samsung Electronics Co Ltd
Original Assignee
Samsung Electronics Co Ltd
Priority date (The priority date is an assumption and is not a legal conclusion. Google has not performed a legal analysis and makes no representation as to the accuracy of the date listed.)
Filing date
Publication date
Application filed by Samsung Electronics Co Ltd filed Critical Samsung Electronics Co Ltd
Publication of JP2010033084A publication Critical patent/JP2010033084A/ja
Application granted granted Critical
Publication of JP5254933B2 publication Critical patent/JP5254933B2/ja
Expired - Fee Related legal-status Critical Current
Anticipated expiration legal-status Critical

Links

Images

Classifications

    • GPHYSICS
    • G10MUSICAL INSTRUMENTS; ACOUSTICS
    • G10LSPEECH ANALYSIS TECHNIQUES OR SPEECH SYNTHESIS; SPEECH RECOGNITION; SPEECH OR VOICE PROCESSING TECHNIQUES; SPEECH OR AUDIO CODING OR DECODING
    • G10L21/00Speech or voice signal processing techniques to produce another audible or non-audible signal, e.g. visual or tactile, in order to modify its quality or its intelligibility
    • G10L21/02Speech enhancement, e.g. noise reduction or echo cancellation
    • G10L21/038Speech enhancement, e.g. noise reduction or echo cancellation using band spreading techniques
    • GPHYSICS
    • G10MUSICAL INSTRUMENTS; ACOUSTICS
    • G10LSPEECH ANALYSIS TECHNIQUES OR SPEECH SYNTHESIS; SPEECH RECOGNITION; SPEECH OR VOICE PROCESSING TECHNIQUES; SPEECH OR AUDIO CODING OR DECODING
    • G10L19/00Speech or audio signals analysis-synthesis techniques for redundancy reduction, e.g. in vocoders; Coding or decoding of speech or audio signals, using source filter models or psychoacoustic analysis
    • G10L19/02Speech or audio signals analysis-synthesis techniques for redundancy reduction, e.g. in vocoders; Coding or decoding of speech or audio signals, using source filter models or psychoacoustic analysis using spectral analysis, e.g. transform vocoders or subband vocoders
    • GPHYSICS
    • G10MUSICAL INSTRUMENTS; ACOUSTICS
    • G10LSPEECH ANALYSIS TECHNIQUES OR SPEECH SYNTHESIS; SPEECH RECOGNITION; SPEECH OR VOICE PROCESSING TECHNIQUES; SPEECH OR AUDIO CODING OR DECODING
    • G10L19/00Speech or audio signals analysis-synthesis techniques for redundancy reduction, e.g. in vocoders; Coding or decoding of speech or audio signals, using source filter models or psychoacoustic analysis
    • G10L19/0017Lossless audio signal coding; Perfect reconstruction of coded audio signal by transmission of coding error
    • GPHYSICS
    • G10MUSICAL INSTRUMENTS; ACOUSTICS
    • G10LSPEECH ANALYSIS TECHNIQUES OR SPEECH SYNTHESIS; SPEECH RECOGNITION; SPEECH OR VOICE PROCESSING TECHNIQUES; SPEECH OR AUDIO CODING OR DECODING
    • G10L19/00Speech or audio signals analysis-synthesis techniques for redundancy reduction, e.g. in vocoders; Coding or decoding of speech or audio signals, using source filter models or psychoacoustic analysis
    • G10L19/04Speech or audio signals analysis-synthesis techniques for redundancy reduction, e.g. in vocoders; Coding or decoding of speech or audio signals, using source filter models or psychoacoustic analysis using predictive techniques
    • G10L19/16Vocoder architecture
    • G10L19/18Vocoders using multiple modes
    • G10L19/24Variable rate codecs, e.g. for generating different qualities using a scalable representation such as hierarchical encoding or layered encoding
    • HELECTRICITY
    • H03ELECTRONIC CIRCUITRY
    • H03MCODING; DECODING; CODE CONVERSION IN GENERAL
    • H03M7/00Conversion of a code where information is represented by a given sequence or number of digits to a code where the same, similar or subset of information is represented by a different sequence or number of digits
    • H03M7/30Compression; Expansion; Suppression of unnecessary data, e.g. redundancy reduction

Landscapes

  • Engineering & Computer Science (AREA)
  • Physics & Mathematics (AREA)
  • Audiology, Speech & Language Pathology (AREA)
  • Computational Linguistics (AREA)
  • Signal Processing (AREA)
  • Health & Medical Sciences (AREA)
  • Human Computer Interaction (AREA)
  • Acoustics & Sound (AREA)
  • Multimedia (AREA)
  • Quality & Reliability (AREA)
  • Theoretical Computer Science (AREA)
  • Spectroscopy & Molecular Physics (AREA)
  • Compression, Expansion, Code Conversion, And Decoders (AREA)

Abstract

【課題】 オーディオデータ符号化装置を提供する。
【解決手段】 オーディオデータを分割して複数の階層を生成し、生成された階層ごとにオーディオデータを所定数のビットで表現し、下位階層を上位階層より先に符号化し、上位ビットを下位ビットより先に符号化することによってオーディオデータを符号化する階層的符号化部110と、所定周波数以上のオーディオデータに関する情報を持つスペクトル帯域複製データを生成し、生成されたスペクトル帯域複製データを符号化するスペクトル帯域複製符号化部120と、符号化されたスペクトル帯域複製データ及び所定ビット率に相応する符号化されたオーディオデータを利用してビットストリームを生成するビットストリーム生成部130とを備えるオーディオデータ符号化装置。
【選択図】 図1

Description

本発明は、オーディオデータの処理に係り、より詳細には、符号化されたオーディオデータのビット率の調節が可能であり、復号化しようとするビットストリームに含まれたオーディオデータが一部階層の符号化されたオーディオデータであっても、あらゆる階層のオーディオデータを復元するオーディオデータ符号化及び復号化装置、並びにオーディオデータ符号化及び復号化方法に関する。
本出願人が提案したBSAC(Bit Sliced Arithmetic Coding)は、AAC(Advanced Audio Coding)と異なり、FGS(Fine Grain Scalability)を提供可能な階層的符号化方法であり、MPEG(Moving Picture Experts Group)−4に、標準として採択されたオーディオ圧縮方法である。このBSACの詳細な説明は特許文献1に開示されている。
オーディオデータを、AACを利用して符号化する符号化器は、オーディオデータの符号化に当って、オーディオデータのうち一部周波数帯域のオーディオデータのみを符号化して復号化器に伝送できる。
この場合、AACを利用して一部周波数帯域のみ符号化されたオーディオデータから、全体周波数帯域のオーディオデータを復元するために、スペクトル帯域複製(SBR:Spectral Band Replication)が検討される。すなわち、その符号化器は、その一部周波数帯域以外の周波数帯域でのオーディオデータに関する情報を持つSBRデータを生成及び符号化し、その符号化されたSBRデータをその一部周波数帯域のみが符号化されたオーディオデータとともに復号化器に伝送する。これにより、復号化器はその一部周波数帯域以外の周波数帯域でのオーディオデータを推測して復元できる。このように、AACとSBRとは組み合わせることが可能である。
一方、オーディオデータを、BSACを利用して符号化する符号化器は、オーディオデータを、AACを利用して符号化する符号化器と異なり、オーディオデータの符号化に当って、そのオーディオデータを周波数帯域別に分割して基本階層及び1以上の拡張階層を生成し、あらゆる階層のオーディオデータを符号化し、その符号化された階層のうち基本階層を含む一部階層の符号化されたオーディオデータのみを復号化器に伝送できる。このとき、その一部階層は可変的であるため、BSACで符号化されたオーディオデータのビット率は調節可能である。
AACとSBRとは組み合わせることが容易であることに対し、BSACとSBRとは組み合わせることが困難である。これは、符号化されたオーディオデータのうち復号化器に伝送される一部階層が、そのたびごとに異なり、そのたびごとにSBRデータを別途用意する必要があるからである。
これにより、階層的構造を持つ符号化されたオーディオデータのうち復号化器に伝送される一部階層がいかなる階層であるかに関係なく、同じSBRデータを利用してあらゆる階層のオーディオデータを復元できる手法が要求されている。
韓国特許第261253号明細書
したがって、本発明が解決しようとする第1の技術的課題は、符号化されたSBRデータ及び複数の階層を持ってビット率調節が可能な符号化されたオーディオデータからなるビットストリームを生成するオーディオデータ符号化装置を提供するところにある。
また、本発明が解決しようとする第2の技術的課題は、復号化しようとするビットストリームに含まれたオーディオデータを復号化して、その含まれたオーディオデータの周波数帯域のオーディオデータを復元し、その含まれたオーディオデータがいかなる階層であるかに関係なく同一であり、そのビットストリームに含まれたSBRデータを利用して、その含まれたオーディオデータの最大周波数以上の周波数帯域のオーディオデータを推測して復元するオーディオデータ復号化装置を提供するところにある。
また、本発明が解決しようとする第3の技術的課題は、符号化されたSBRデータ及び複数の階層を持ってビット率調節が可能な符号化されたオーディオデータからなるビットストリームを生成するオーディオデータ符号化方法を提供するところにある。
また、本発明が解決しようとする第4の技術的課題は、復号化しようとするビットストリームに含まれたオーディオデータを復号化して、その含まれたオーディオデータの周波数帯域のオーディオデータを復元し、その含まれたオーディオデータがいかなる階層であるかに関係なく同一であり、そのビットストリームに含まれたSBRデータを利用して、その含まれたオーディオデータの最大周波数以上の周波数帯域のオーディオデータを推測して復元するオーディオデータ復号化方法を提供するところにある。
また、本発明が解決しようとする第5の技術的課題は、符号化されたSBRデータ及び複数の階層を持ってビット率調節が可能な符号化されたオーディオデータからなるビットストリームを生成するコンピュータプログラムを保存するコンピュータで読み取り可能な記録媒体を提供するところにある。
さらに、本発明が解決しようとする第6の技術的課題は、復号化しようとするビットストリームに含まれたオーディオデータを復号化して、その含まれたオーディオデータの周波数帯域のオーディオデータを復元し、その含まれたオーディオデータがいかなる階層であるかに関係なく同一であり、そのビットストリームに含まれたSBRデータを利用して、その含まれたオーディオデータの最大周波数以上の周波数帯域のオーディオデータを推測して復元するコンピュータプログラムを記録したコンピュータで読み取り可能な記録媒体を提供するところにある。
第1の技術的課題を解決するために、本発明によるオーディオデータ符号化装置は、オーディオデータを分割して複数の階層を生成し、生成された階層ごとにオーディオデータを所定数のビットで表し、下位階層を上位階層より先に符号化し、上位ビットを下位ビットより先に符号化することによってオーディオデータを符号化する階層的符号化部と、所定周波数以上のオーディオデータに関する情報を持つスペクトル帯域複製データを生成し、生成されたスペクトル帯域複製データを符号化するスペクトル帯域複製符号化部と、符号化されたスペクトル帯域複製データ及び所定ビット率に符号化されたオーディオデータを利用してビットストリームを生成するビットストリーム生成部とを備える。
第2の技術的課題を解決するために、本発明によるオーディオデータ復号化装置は、符号化されたスペクトル帯域複製データ及び1以上の階層を持ち、階層ごとに所定数のビットで表されて符号化されたオーディオデータを与えられたビットストリームから抽出するビットストリーム分析部と、符号化されたオーディオデータにおいて、下位階層を上位階層より先に復号化し、上位ビットを下位ビットより先に復号化することによって復号化する階層的復号化部と、符号化されたスペクトル帯域複製データを復号化し、復号化されたスペクトル帯域複製データ及び復号化されたオーディオデータを利用して、第1所定周波数以上かつ第2所定周波数以下のオーディオデータを推測するスペクトル帯域複製復号化部と、復号化されたオーディオデータ及び推測されたオーディオデータを利用して合成データを生成し、生成された合成データを第2所定周波数以下のオーディオデータとして出力するデータ合成部とを備え、第2所定周波数は1以上の階層の最大周波数以上であり、スペクトル帯域複製データは第1所定周波数以上かつ第2所定周波数以下のオーディオデータに関する情報を持っている。
第3の技術的課題を解決するために、本発明によるオーディオデータ符号化方法は、オーディオデータを分割して複数の階層を生成し、生成された階層ごとにオーディオデータを所定数のビットで表し、下位階層を上位階層より先に符号化し、上位ビットを下位ビットより先に符号化することによってオーディオデータを符号化する(a)ステップと、所定周波数以上のオーディオデータに関する情報を持つスペクトル帯域複製データを生成し、生成されたスペクトル帯域複製データを符号化する(b)ステップと、符号化されたスペクトル帯域複製データ及び所定ビット率に符号化されたオーディオデータを利用してビットストリームを生成する(c)ステップとを含む。
第4の技術的課題を解決するために、本発明によるオーディオデータ復号化方法は、符号化されたスペクトル帯域複製データ及び1以上の階層を持ち、階層ごとに所定数のビットで表現されて符号化されたオーディオデータを与えられたビットストリームから抽出する(a)ステップと、符号化されたオーディオデータを、下位階層を上位階層より先に復号化し、上位ビットを下位ビットより先に復号化することによって復号化する(b)ステップと、符号化されたスペクトル帯域複製データを復号化し、復号化されたスペクトル帯域複製データ及び復号化されたオーディオデータを利用して、第1所定周波数以上かつ第2所定周波数以下のオーディオデータを推測する(c)ステップと、復号化されたオーディオデータ及び推測されたオーディオデータを利用して合成データを生成し、生成された合成データを第2所定周波数以下のオーディオデータとして決定する(d)ステップとを含み、第2所定周波数は、1以上の階層の最大周波数以上であり、スペクトル帯域複製データは、第1所定周波数以上かつ第2所定周波数以下のオーディオデータに関する情報を持っている。
第5の技術的課題を解決するために、本発明によるコンピュータで読み取り可能な記録媒体に保存された1以上のコンピュータプログラムは、オーディオデータを分割して複数の階層を生成し、生成された階層ごとにオーディオデータを所定数のビットで表し、下位階層を上位階層より先に符号化し、上位ビットを下位ビットより先に符号化することによってオーディオデータを符号化する(a)ステップと、所定周波数以上のオーディオデータに関する情報を持つスペクトル帯域複製データを生成し、生成されたスペクトル帯域複製データを符号化する(b)ステップと、符号化されたスペクトル帯域複製データ及び所定ビット率に符号化されたオーディオデータを利用してビットストリームを生成する(c)ステップとを含む。
第6の技術的課題を解決するために、本発明によるコンピュータで読み取り可能な記録媒体に保存された1以上のコンピュータプログラムは、符号化されたスペクトル帯域複製データ及び1以上の階層を持ち、階層ごとに所定数のビットで表現されて符号化されたオーディオデータを与えられたビットストリームから抽出する(a)ステップと、符号化されたオーディオデータを、下位階層を上位階層より先に復号化し、上位ビットを下位ビットより先に復号化することによって復号化する(b)ステップと、符号化されたスペクトル帯域複製データを復号化し、復号化されたスペクトル帯域複製データ及び復号化されたオーディオデータを利用して、第1所定周波数以上かつ第2所定周波数以下のオーディオデータを推測する(c)ステップと、復号化されたオーディオデータ及び推測されたオーディオデータを利用して合成データを生成し、生成された合成データを第2所定周波数以下のオーディオデータとして決定する(d)ステップとを含む。
本発明によるオーディオデータ符号化装置、オーディオデータ復号化装置、オーディオデータ符号化方法及びオーディオデータ復号化方法は、復号化しようとするビットストリームに含まれたオーディオデータを復号化して、その含まれたオーディオデータの周波数帯域のオーディオデータを復元し、そのビットストリームに含まれたスペクトル帯域複製データを利用して、その含まれたオーディオデータの最大周波数以上の周波数帯域のオーディオデータを推測して復元するので、その含まれたオーディオデータが一部階層の符号化されたオーディオデータであるとしても、あらゆる階層のオーディオデータを復元できる。さらに、本発明によれば、その含まれたスペクトル帯域複製データが、その含まれたオーディオデータがいかなる階層であるかに関係なく同一であるので、BSACとSBRとを容易に組み合わせることができる。
オーディオデータ符号化装置を説明するためのブロック図である。 基本階層及び1以上の拡張階層を説明するための説明図である。 SBRデータの周波数帯域と、オーディオデータ復号化装置に伝送される一部階層の周波数帯域とを比較した説明図である。 オーディオデータ符号化装置により生成されたビットストリームの構造を示す図面である。 図1に示した階層的符号化部の一実施形態のブロック図である。 オーディオデータ符号化装置が符号化するデータのシンタックスを示す図面である。 オーディオデータ符号化装置により生成されたSBRデータのシンタックスを示す図面である。 オーディオデータ復号化装置を説明するためのブロック図である。 オーディオデータ復号化装置により合成データが生成される原理を説明するための説明図である。 オーディオデータ復号化装置により合成データが生成される原理を説明するための説明図である。 オーディオデータ復号化装置により合成データが生成される原理を説明するための説明図である。 オーディオデータ復号化装置により合成データが生成される原理を説明するための説明図である。 図8に示した階層的復号化部の一実施形態のブロック図である。 図8に示したSBR復号化部の一実施形態のブロック図である。 図8に示したデータ合成部の一実施形態のブロック図である。 オーディオデータ符号化方法を説明するためのフローチャートである。 オーディオデータ復号化方法を説明するためのフローチャートである。 図14に示した第1430ステップの一実施形態の詳細なフローチャートである。
以下、本発明に係るオーディオデータ符号化装置、オーディオデータ復号化装置、オーディオデータ符号化方法及びオーディオデータ復号化方法の好適な実施形態を、添付した図面を参照しつつ、詳細に説明する。
[オーディオデータ符号化装置]
図1は、本実施形態によるオーディオデータ符号化装置を説明するブロック図であって、階層的符号化部110、SBR符号化部120及びビットストリーム生成部130から構成される。以下、図1に示したオーディオデータ符号化装置の動作を、図2ないし図4を参照して説明する。
階層的符号化部110は、入力端子IN1を通じて入力されたオーディオデータを分割して複数の階層を生成し、生成された階層ごとにそのオーディオデータを所定数のビットで表し、下位階層を上位階層より先に符号化し、上位ビットを下位ビットより先に符号化することによってそのオーディオデータを符号化する。
具体的に、階層的符号化部110は、時間領域のオーディオデータを周波数領域のオーディオデータに変換する。例えば、階層的符号化部110は、変形離散余弦変換(MDCT:Modified Discrete Cosine Transform)を利用して、かかる変換を行うことができる。
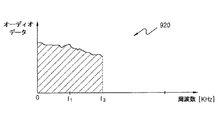
また、階層的符号化部110は、その変換されたオーディオデータを分割して複数の階層を生成する。ここで、複数の階層は、基本階層及び1以上の拡張階層を意味する。このような複数の階層は、周波数帯域によって区分される。図2は、基本階層(210−0)及び1以上の拡張階層(210−1、210−2、・・・、210−N−1)を説明するための説明図である。図2に示すように、複数の階層(210−0、210−1、210−2、・・・、210−N−1)は、N(ただし、Nは2以上の整数)個の階層であり、1以上の拡張階層(210−1、210−2、…、210−N−1)は、第1拡張階層(210−1)ないし第(N−1)拡張階層(210−N−1)であり、オーディオデータ200の周波数帯域は0[kHz]〜fN[kHz]であり、参照符号205は、オーディオデータ200が示す包絡線を意味する。つまり、その複数の階層で最下位階層は基本階層(210−0)であり、最上位階層は第(N−1)拡張階層(210−N−1)である。
そして、階層的符号化部110は、その分割されたオーディオデータを量子化する。例えば、階層的符号化部110は、図2の包絡線205上に点で示されたそれぞれのオーディオデータ200を量子化する。
次に、階層的符号化部110は、その量子化されたオーディオデータを所定数のビットで表す。このとき、その所定数は階層ごとに異なって設定される。
そして、階層的符号化部110は、その量子化されたオーディオデータを階層的に符号化する。例えば、階層的符号化部110は、その量子化されたオーディオデータを前記したBSACを利用して符号化できる。
その符号化されたあらゆる階層のオーディオデータのうち、本実施形態によるオーディオデータ復号化装置に伝送されるオーディオデータは、一部階層のオーディオデータであっても、すべての階層のオーディオデータであってもよい。このとき、一部階層とは、基本階層(210−0)を含む1以上の階層を意味する。本実施形態によるオーディオデータ復号化装置に伝送されるオーディオデータが、符号化されたすべての階層のオーディオデータのうち、一部階層のオーディオデータである場合、その一部階層のオーディオデータは、残りの階層のオーディオデータより先に符号化されることが望ましい。
このために、階層的符号化部110は、量子化されたオーディオデータの符号化に当って、下位階層を上位階層より先に符号化し、上位ビットを下位ビットより先に符号化する。これにより、階層的符号化部110は、その複数の階層(210−0、210−1、210−2、・・・、210−N−1)のうち、最下位階層(210−0)に属するオーディオデータを最初に符号化し、最上位階層(210−N−1)に属するオーディオデータを最後に符号化する。また、階層的符号化部110は、それぞれの階層(210−0、210−1、210−2、…、210−N−1のうち1つ)ごとにその階層に属するオーディオデータのうち1以上の最上位ビット(MSB:Most Significant Bit)を最初に符号化し、1以上の最下位ビット(LSB:Least Significant Bit)を最後に符号化する。このような符号化順序は、オーディオデータで重要な情報は、上位階層よりは下位階層に、下位ビットよりは上位ビットに多く分布することが一般的であるという事実に基づいて導出された順序である。
次に、SBR符号化部120は、SBRデータを生成し、生成されたSBRデータを符号化する。本実施形態によるSBRデータは、第1所定周波数以上かつ第2所定周波数以下のオーディオデータに関する情報を持つデータを意味する。このとき、第1所定周波数は、基本階層(210−0)の最大周波数f1以上であってもよいが、基本階層の最大周波数f1であることが望ましい。また、第2所定周波数は、その符号化されたあらゆる階層のうち、本実施形態によるオーディオデータ復号化装置に伝送される一部階層のうち最上位階層の最大周波数以上であることが望ましく、その符号化されたあらゆる階層の最大周波数fNであることがさらに望ましい。図3は、SBRデータの周波数帯域f1〜fNと、本実施形態による復号化装置に伝送される一部階層の周波数帯域0〜fkとを比較するための説明図である。図3に示すように、kは2以上N以下の整数であるが、本実施形態によるオーディオデータ復号化装置に伝送される一部階層が、基本階層(210−0)だけの場合は、kは1となる。
なお、オーディオデータに関する情報とは、そのオーディオデータのノイズに関する情報を意味することもあり、包絡線205(図2参照)に関する情報を意味することもある。例えば、SBRデータ120は、第1所定周波数以上かつ第2所定周波数以下に属するオーディオデータの包絡線205に関する情報を利用してSBRデータを生成し、その生成されたSBRデータを無損失符号化できる。このとき、無損失復号化は、エントロピー復号化でもよく、ハフマン復号化でもよい。
次に、ビットストリーム生成部130は、符号化されたSBRデータ及び所定ビット率に符号化されたオーディオデータを利用してビットストリームを生成し、生成されたビットストリームを、出力端子OUT1を通じて出力する。
ここで、図4は、本実施形態によるオーディオデータ符号化装置により生成されたビットストリームの構造を示す図面である。図4に示すように、ビットストリーム410は、ヘッダ420、基本階層(210−0)に属するそれぞれのオーディオデータを表すビットの数に関する情報(430−0)、基本階層に属する符号化されたオーディオデータ及び基本階層での量子化ステップサイズに関する情報440−0、第n拡張階層(210−n:ただし、nは1≦n≦N−1の整数)に属するそれぞれのオーディオデータを表すビットの数に関する情報(430−n)、第n拡張階層に属する符号化されたオーディオデータ及び第n拡張階層での量子化ステップサイズに関する情報(440−n)、及びSBRデータ450を含む。図4に示すように、符号化されたオーディオデータ(430−0、430−1、・・・、430−N−1)は、ビットストリーム410に1以上の階層(210−0、210−1、・・・、210−N−1)それぞれに設けられるが、符号化されたSBRデータ450は、ビットストリーム410に階層別に設けられていない。
なお、所定ビット率とは、符号化されたあらゆる階層のオーディオデータのうち、本実施形態によるオーディオデータ復号化装置に伝送しようとする一部階層のオーディオデータが持つビット率を意味する。すなわち、所定ビット率は、基本階層(210−0)のビット率以上の値を有する。
次に、図5は、図1に示したオーディオデータ符号化装置の階層的符号化部110を説明するための望ましい一実施形態である階層的符号化部110Aのブロック図であって、時間/周波数マッピング部510、心理音響部520、量子化部530、及びダウンサンプリング部540から構成される。
時間/周波数マッピング部510は、入力端子IN2に入力された時間領域のオーディオデータを周波数領域のオーディオデータに変換する。ここで、入力端子IN2は、前記した入力端子IN1と同一である。また、時間領域のオーディオデータの周波数は、所定のサンプリング周波数Fsを有する。加えて、オーディオデータは離散的であることが望ましい。
心理音響部520は、時間/周波数マッピング部510により変換されたオーディオデータを周波数帯域別にグループ化して複数の階層を生成する。
量子化部530は、そのそれぞれの階層ごとにオーディオデータを量子化し、あらゆる階層に属するあらゆる量子化されたオーディオデータを符号化するが、下位階層を上位階層より先に符号化し、上位ビットを下位ビットより先に符号化する。量子化部530は、その符号化された結果を出力端子OUT2を通じてビットストリーム生成部130に出力する。
さらに、本実施形態による階層的符号化部110Aには、ダウンサンプリング部540を設けることができる。ダウンサンプリング部540は、時間領域のオーディオデータを所定サンプリング周波数Fs未満のサンプリング周波数、例えば、Fs/2でサンプリングし、サンプリングされた結果を時間/周波数マッピング部510及び心理音響部520に出力する。
図6は、本実施形態によるオーディオデータ符号化装置が符号化するデータのシンタックスを示す図面である。図6に示したシンタックスにおいて、参照符号610は、BSACにより符号化されるオーディオデータを意味し、参照符号620は、BSACにより符号化されるオーディオデータ610と結合可能なデータを意味する。
マルチチャンネル拡張データ(EXT_BSAC_CHANNEL)650、SBRデータ(EXT_BSAC_SBR_DATA)660、及びエラー検出データ及びSBRデータ(EXT_BSAC_SBR_DATA_CRC)670は、かかる結合可能なデータの一例である。
ここで、マルチチャンネル拡張データ(EXT_BSAC_CHANNEL)650は、第3チャンネルないし第Mチャンネル(ただし、Mは3以上の整数)それぞれのオーディオデータを意味する。
本明細書上で、第3チャンネルないし第Mチャンネルは、本実施形態によるオーディオデータ符号化装置に与えられるオーディオデータが3以上のチャンネルを通じて与えられるオーディオデータである場合、モノ方式のチャンネル(第1チャンネル)及びステレオ方式のチャンネル(第1チャンネル及び第2チャンネル)を除外した残りのチャンネルを意味する。このように、オーディオデータが3以上のチャンネルを通じて与えられると、本実施形態による階層的符号化部110は、モノ/ステレオ符号化部(図示せず)及びマルチチャンネル拡張符号化部(図示せず)を備えることが望ましい。
ここで、モノ/ステレオ符号化部(図示せず)は、第1チャンネルまたは第2チャンネルのオーディオデータを符号化する。また、マルチチャンネル拡張符号化部(図示せず)は、第3チャンネルないし第Mチャンネルそれぞれのオーディオデータを符号化する。
また、エラー検出データは、SBRデータ(EXT_BSAC_SBR_DATA)660のエラー検出に使われるデータを意味し、(EXT_BSAC_SBR_DATA_CRC)670は、エラー検出データ及びSBRデータを意味する。
一方、本実施形態によるオーディオデータ符号化装置が符号化するデータには、BSACにより符号化されるオーディオデータ610、及びその結合可能なデータ620だけでなく、結合可能なデータ620の開始を知らせる開始コード630、640も含まれることが望ましい。ここで、開始コード630、640は、第1開始コード、第2開始コード、及び第3開始コードのうちの1つのコードであることが望ましい。
第1開始コードは、SBRデータ(EXT_BSAC_SBR_DATA)660の開始を示す開始コードを意味する。具体的に、第1開始コードは、32ビットの連続した0からなるゼロコード(zero_code)630及び‘1111 0000’からなる拡張コード(extension_type)640で構成される。本実施形態によるSBR符号化部120は、このような第1開始コードを符号化する第1開始コード符号化部(図示せず)を備えてもよい。
第2開始コードは、エラー検出データ及びSBRデータ(EXT_BSAC_SBR_DATA_CRC)670の開始を示す開始コードを意味する。具体的に、第2開始コードは、32ビットの0からなるゼロコード(zero_code)630及び‘1111 0001’からなる拡張コード(extension_type)640で構成される。本実施形態によるSBR符号化部120は、このような第2開始コードを符号化する第2開始コード符号化部(図示せず)を備えてもよい。
第3開始コードは、第3チャンネルないし第Mチャンネル(ただし、Mは3以上の整数)のオーディオデータの開始を示す開始コードを意味する。具体的に、第3開始コードは、32ビットの0からなるゼロコード(zero_code)630及び‘1111 1111’からなる拡張コード(extension_type)640で構成できる。本実施形態によるマルチチャンネル拡張符号化部(図示せず)は、このような第3開始コードを符号化する第3開始コード符号化部(図示せず)を備えてもよい。
図7は、本実施形態によるオーディオデータ符号化装置により生成されたSBRデータのシンタックスを示す図面である。本実施形態によるオーディオデータ符号化装置に与えられるオーディオデータは、第1チャンネルまたは第2チャンネルを通じて与えられ、図7のシンタックスに示すように、bsac_sbr_data(nch,bs_amp_res)710は、‘SBR符号化部120はチャンネル別にSBRデータを符号化する’ことを意味する。
[オーディオデータ復号化装置]
図8は、本実施形態によるオーディオデータ復号化装置を説明するブロック図であって、ビットストリーム分析部810、階層的復号化部820、SBR復号化部830、及びデータ合成部840から構成される。
ビットストリーム分析部810は、入力端子IN3を通じて入力されたビットストリームから、‘符号化されたSBRデータ’及び‘1以上の階層を持ち、各階層ごとに所定数のビットで表現されて符号化されたオーディオデータ’を抽出する。ここで、入力端子IN3を通じて入力されたビットストリームは、図1に示したオーディオデータ符号化装置の出力端子OUT1を通じて出力されたビットストリームであることが望ましい。すなわち、ビットストリーム分析部810は、入力端子IN3を通じて入力されたビットストリームから、‘SBR符号化部120により生成されたSBRデータ’及び‘階層的符号化部110により生成されたあらゆる階層の符号化されたオーディオデータのうち1以上の階層のオーディオデータ’を抽出する。
そして、階層的復号化部820は、ビットストリーム分析部810において抽出されたオーディオデータを、下位階層を上位階層より先に復号化し、上位ビットを下位ビットより先に復号化することによって復号化する。ただし、階層的復号化部820は、その抽出されたオーディオデータを、所定ビット率内に復号化できる。例えば、階層的符号化部110で符号化されたオーディオデータのうち、ビットストリーム生成部130によりビットストリームに含まれたオーディオデータは、基本階層(210−0)、第1拡張階層2(10−1)及び第2拡張階層(210−2)に属するオーディオデータのみである場合、階層的復号化部820は、基本階層(210−0)、第1拡張階層(210−1)及び第2拡張階層(210−2)に属するオーディオデータいずれも復号化してもよく、基本階層(210−0)、及び第1拡張階層(210−1)に属するオーディオデータいずれも復号化してもよく、基本階層(210−0)に属するオーディオデータのみを復号化してもよい。その所定ビット率は、基本階層(210−0)のビット率以上であることが望ましい。
また、符号化されたオーディオデータが、その入力されたビットストリームに第1チャンネルないし第Mチャンネルそれぞれに設けられる場合に備えて、階層的復号化部820は、モノ/ステレオ復号化部(図示せず)、マルチチャンネル拡張復号化部(図示せず)及び第3開始コード復号化部(図示せず)を備えることが望ましい。ここで、モノ/ステレオ復号化部(図示せず)は、第1チャンネルまたは第2チャンネルの符号化されたオーディオデータを復号化し、マルチチャンネル拡張復号化部(図示せず)は、第3チャンネルないし第Mチャンネルそれぞれの符号化されたオーディオデータを復号化し、第3開始コード復号化部(図示せず)は、符号化された第3開始コードを復号化する。
このように、階層的復号化部820にマルチチャンネル拡張復号化部(図示せず)が含まれると、ビットストリーム分析部810は、符号化された第3開始コードがその入力されたビットストリームでの存否を判定する。もし、符号化された第3開始コードがその入力されたビットストリームに存在すると判定されれば、ビットストリーム分析部810は、その符号化された第3開始コードをその入力されたビットストリームから抽出し、第3開始コード復号化部(図示せず)は、その抽出された第3開始コードを復号化してマルチチャンネル拡張復号化部(図示せず)の動作を指示する。
SBR復号化部830は、‘抽出されたSBRデータ’を復号化する。また、SBR復号化部830は、‘階層的復号化部820から入力されたオーディオデータ’及び‘復号化されたSBRデータ’を利用して、第1所定周波数以上かつ第2所定周波数以下のオーディオデータを推測する。
なお、本実施形態によるオーディオデータ復号化装置には、第1開始コード復号化部(図示せず)及び第2開始コード復号化部(図示せず)を設けることもできる。この場合、ビットストリーム分析部810は、符号化された第1開始コード及び符号化された第2開始コードがその入力されたビットストリームに存在するかどうかを判定する。もし、符号化された第1開始コード及び符号化された第2開始コードがその入力されたビットストリームに存在すると判定されれば、ビットストリーム分析部810は、その符号化された第1開始コード及びその符号化された第2開始コードをその入力されたビットストリームから抽出し、第1開始コード復号化部(図示せず)は、その符号化された第1開始コードを復号化し、第2開始コード復号化部(図示せず)は、その符号化された第2開始コードを復号化する。この後、第1開始コード復号化部(図示せず)及び第2開始コード復号化部(図示せず)は、SBR復号化部830の動作を指示する。
そして、データ合成部840は、‘階層的復号化部820から入力されたオーディオデータ’及び‘SBR復号化部830で推測されたオーディオデータ’を利用して、合成データを生成する。また、データ合成部840は、生成した合成データが周波数領域のデータであるため、その合成データを時間領域に変換し、変換された合成データを、出力端子OUT3を通じて‘0以上かつ第2所定周波数以下のオーディオデータ’として出力する。すなわち、本実施形態によるオーディオデータ符号化装置により符号化されたオーディオデータの最大周波数が第2所定周波数ならば、データ合成部840は、ビットストリームに含まれたオーディオデータがその符号化されたオーディオデータのうち一部階層のオーディオデータであったとしても、あらゆる階層のオーディオデータを復元することができる。
図9Aないし図9Dは、図8に示したオーディオデータ復号化装置のデータ合成部840の動作をさらに具体的に説明するための説明図である。具体的に、図9Aは、本実施形態において、図1に示したオーディオデータ符号化装置の階層的符号化部110に入力されたオーディオデータ910を示し、図9Bは、本実施形態において、図8に示したオーディオデータ復号化装置の階層的復号化部820により復号化されたオーディオデータ920を示し、図9Cは、オーディオデータ復号化装置のSBR復号化部830により推測されたオーディオデータ930を示し、図9Dは、オーディオデータ復号化装置のデータ合成部840により生成された合成データであるオーディオデータ940、すなわち、0以上かつ第2所定周波数以下の符号化されたオーディオデータを復元した結果であるオーディオデータ940を示す。
図9Aないし図9Dに示すように、オーディオデータ(910、920、930、940)は、連続的に存在するように示されているが、これは説明の便宜のためのものであり、実際のオーディオデータ(910、920、930、940)は離散的に存在する。
図9Aに示すように、階層的符号化部110に入力されたオーディオデータ910は、0〜f10[kHz]の周波数帯域に存在する。一方、図9Bに示すように、階層的復号化部820により復号化されたオーディオデータ920は、0〜f3[kHz]の周波数帯域に存在する。ビットストリームには、その符号化されたオーディオデータのうち、すべての階層のオーディオデータが含まれてもよく、一部階層のオーディオデータのみ含まれてもよく、図9Bに示すように、ビットストリームには一部階層0〜f3[kHz]のオーディオデータのみ含まれてもよい。一方、その一部階層に基本階層0〜f1[kHz]は常に含まれることが望ましい。
図9Cに示すように、SBR復号化部830により推測されたオーディオデータ930は、f1〜f10[kHz]の周波数帯域に存在する。一方、図9Dに示すように、データ合成部840により生成されたオーディオデータ940は、0〜f10[kHz]の周波数帯域に存在する。すなわち、図9Dに示したオーディオデータ940は、図9Aに示したオーディオデータ910を復元した結果である。両者はある程度異なってもよいが、同じであることが望ましい。
データ合成部840は‘階層的復号化部820により復号化されたオーディオデータ920が存在する周波数帯域(0〜f3[kHz])’の場合、その復号化されたオーディオデータ920を合成データとして出力する。
また、データ合成部840は、‘階層的復号化部820により復号化されたオーディオデータ920が存在しない周波数帯域f3〜f10[kHz]’の場合、推測されたオーディオデータ930を合成データとして出力する。
結局、‘復号化されたオーディオデータ920’と‘推測されたオーディオデータ930’とがいずれも存在する周波数帯域f1〜f3[kHz]の場合、データ合成部840は、その復号化されたオーディオデータ920が合成データであると決定する。
次に、図10は、図8に示したオーディオデータ復号化装置の階層的復号化部820を説明するための望ましい一実施形態である階層的復号化部820Aのブロック図であって、逆量子化部1010及び周波数/時間マッピング部1020を備える。
逆量子化部1010は、入力端子IN4を通じて入力された‘抽出されたオーディオデータ’を復号化し、復号化されたオーディオデータを逆量子化する。一方、周波数/時間マッピング部1020は、周波数領域のその逆量子化されたオーディオデータを時間領域のオーディオデータに変換し、変換されたオーディオデータを、出力端子OUT4を通じて出力する。
次に、図11は、図8に示したオーディオデータ復号化装置のSBR復号化部830を説明するための望ましい一実施形態であるSBR復号化部830Aのブロック図であって、無損失復号化部1110、高周波発生部1120、分析バンク(Analysis QMF Bank)1130、及び包絡線調整部1140から形成される。
無損失復号化部1110は、入力端子IN5を通じて入力された‘抽出されたSBRデータ’を無損失復号化する。このとき、無損失復号化は、エントロピー復号化でもよく、ハフマン復号化でもよい。これにより、無損失復号化部1110は、抽出されたSBRデータに含まれた‘第1所定周波数以上かつ第2所定周波数以下のオーディオデータに関する情報’を獲得する。例えば、無損失復号化部1110は、第1所定周波数以上かつ第2所定周波数以下のオーディオデータの包絡線に関する情報を取得する。
高周波発生部1120は、‘階層的復号化部820により復号化されたオーディオデータ920’を、‘階層的復号化部820により復号化されたオーディオデータ920’の最大周波数(図9Bで、f3)以上の周波数帯域(図9Bで、f3〜f6、f6〜f9、f9〜f10)に発生させる。ただし、その復号化されたオーディオデータは時間領域のオーディオデータであるため、その復号化されたオーディオデータを、その復号化されたオーディオデータの最大周波数以上の周波数帯域に発生させるためには、その復号化されたオーディオデータを周波数領域に変換することが望ましい。このために、本実施形態によるSBR復号化部830には分析バンク1130を設けることもできる。
分析バンク1130は、入力端子IN6を通じて入力された‘復号化されたオーディオデータ’を、周波数領域のオーディオデータに変換し、変換されたオーディオデータを出力端子OUT6を通じて出力する。
包絡線調整部1140は、高周波発生部1120で発生したオーディオデータの包絡線を、無損失復号化部1110が獲得した情報を利用して調整する。すなわち、包絡線調整部1140は、高周波発生部1120で発生したオーディオデータの包絡線が、本実施形態による階層的符号化部110により符号化されたオーディオデータの包絡線と一致するように、その発生したオーディオデータを調整する。その調整されたオーディオデータは出力端子OUT5を通じて出力され、階層的符号化部110に入力された第1所定周波数以上かつ第2所定周波数以下のオーディオデータは、その調整されたオーディオデータであると推測される。
次に、図12は、図8に示したオーディオデータ復号化装置のデータ合成部840を説明するための望ましい一実施形態であるデータ合成部840Aのブロック図であって、オーバーラッピング部1210及び合成バンク(Synthesis QMF Bank)1220から形成される。
オーバーラッピング部1210は、入力端子IN7を通じて入力された‘階層的復号化部820により復号化されたオーディオデータ920’、及び入力端子IN8を通じて入力された‘SBR復号化部830により推測されたオーディオデータ930’を利用して合成データを生成する。
具体的に、オーバーラッピング部1210は、‘復号化されたオーディオデータ920が存在する周波数帯域(図9Bで、0〜f3[kHz])’では、その復号化されたオーディオデータ920を合成データとして出力し、‘推測されたオーディオデータ930のみ存在する周波数帯域(図9Bで、f3〜f10)’では、その推測されたオーディオデータ930を合成データとして出力する。
一方、入力端子IN7を通じて入力された‘階層的復号化部820により復号化されたオーディオデータ920’及び入力端子IN8を通じて入力された‘SBR復号化部830により推測されたオーディオデータ930’いずれも、周波数領域のオーディオデータである。したがって、その復号化されたオーディオデータが時間領域のオーディオデータならば、その復号化されたオーディオデータは、分析バンク1130を経て入力端子IN7に入力されることが望ましい。
そして、合成バンク1220は、周波数領域の合成データを時間領域の合成データに変換し、変換された結果を、出力端子OUT7を通じて出力する。
[オーディオデータ符号化方法]
次に、図13は、前記したオーディオ符号化装置を用いたオーディオデータ符号化方法を説明するフローチャートであって、オーディオデータを、BSACを利用して符号化し、SBRデータを符号化し、その符号化されたオーディオデータ及び符号化されたSBRデータを利用してビットストリームを生成するステップ(第1310〜1330ステップ)からなる。
図1を参照してオーディオ符号化装置の階層的符号化部110は、オーディオデータを分割して複数の階層を生成し、生成された階層ごとにそのオーディオデータを所定数のビットで表し、すべての階層のオーディオデータを符号化する。このとき、下位階層を上位階層より先に符号化し、上位ビットを下位ビットより先に符号化する(第1310ステップ)。
そして、SBR符号化部120は、第1所定周波数以上かつ第2所定周波数以下のオーディオデータに関する情報を持つSBRデータを生成し、生成されたSBRデータを無損失符号化する(第1320ステップ)。
ここで、第1320ステップは、図13に示すように第1310ステップの後に行われてもよく、図13とは異なり、第1310ステップより先または、第1310ステップと同時に行われてもよい。
次に、第1310ステップ及び第1320ステップ後に、ビットストリーム生成部130は、第1310ステップで符号化されたオーディオデータ及び第1320ステップで符号化されたSBRデータを利用して、ビットストリームを生成する(第1330ステップ)。
[オーディオデータ復号化方法]
次に、図14は、前記したオーディオ復号化装置を用いたオーディオデータ復号化方法を説明するフローチャートであって、ビットストリームに含まれたオーディオデータを復号化して、そのオーディオデータの周波数帯域のオーディオデータを復元し、ビットストリームに含まれ、その含まれたオーディオデータがいかなる階層であるかに関係なく同一のSBRデータを利用して、その含まれたオーディオデータの最大周波数以上の周波数帯域のオーディオデータを推測して復元するステップ(第1410〜1440ステップ)からなる。
ビットストリーム分析部810は、与えられたビットストリームから第1310ステップ(図13参照)で符号化されたSBRデータ及び第1320ステップ(図13参照)で符号化されたオーディオデータを抽出する(第1410ステップ)。
そして、階層的復号化部820は、第1310ステップで符号化されたオーディオデータを、下位階層を上位階層より先に復号化し、上位ビットを下位ビットより先に復号化することによって復号化する(第1420ステップ)。
次に、SBR復号化部830は、第1320ステップで符号化されたSBRデータを復号化する。また、SBR復号化部830は、その復号化されたSBRデータ及び第1420ステップで復号化されたオーディオデータを利用して、第1所定周波数以上かつ第2所定周波数以下のオーディオデータを推測する(第1430ステップ)。
次に、データ合成部840は、第1420ステップで復号化されたオーディオデータ及び第1430ステップで推測されたオーディオデータを利用して合成データを生成し、生成された合成データを0以上かつ第2所定周波数以下のオーディオデータとして決定する(第1440ステップ)。
次に、図15は、図14に示にしたオーディオデータ復号化方法の第1430ステップの望ましい一実施形態である第1430Aステップの詳細なフローチャートであって、第1420ステップで復号化されたオーディオデータ及び第1320ステップで符号化されたSBRデータを利用して、第1所定周波数以上かつ第2所定周波数以下のオーディオデータを推測するステップ(第1510〜1530ステップ)からなる。
無損失復号化部1110は、復号化しようとするビットストリームに含まれた符号化されたSBRデータを無損失復号化して、第1所定周波数以上かつ第2所定周波数以下のオーディオデータが示す包絡線に関する情報を獲得する(第1510ステップ)。
そして、第1510ステップ後に、高周波発生部1120は、第1420ステップで復号化されたオーディオデータを、その第1420ステップで復号化されたオーディオデータが存在する最大周波数以上の周波数帯域に発生させる(第1520ステップ)。
そして、第1520ステップ後に、包絡線調整部1140は、第1520ステップで発生したオーディオデータの包絡線を第1510ステップで獲得された情報を利用して調整し、第1440ステップに進む(第1530ステップ)。
[記録媒体]
本実施形態に係るオーディオデータ符号化方法及びオーディオデータ復号化方法は、コンピュータで読み取り可能な記録媒体にコンピュータで読み取り可能なコードとして具現することが可能である。コンピュータで読み取り可能な記録媒体は、コンピュータシステムによって読み取られるデータが保存されるあらゆる種類の記録装置を含む。コンピュータで読み取り可能な記録媒体の例には、ROM(Read Only Memory)、RAM(Random Access Memory)、CD(Compact Disc)−ROM、磁気テープ、フレキシブルディスク、光データ記録装置などがあり、またキャリアウェーブ(例えば、インターネットを通じた伝送)の形態で具現されるものも含む。また、コンピュータで読み取り可能な記録媒体は、ネットワークに接続されたコンピュータシステムに分散されて、分散方式で、コンピュータが読み取り可能なコードが保存されて実行することもできる。
以上、図面及び明細書に基づいて本発明の好適な実施形態を開示した。この説明の中で特定の用語が使われたが、これは単に本発明を説明する目的で使われたものであり、意味限定や特許請求の範囲に記載された本発明の範囲を制限するために使われたものではない。したがって、当業者ならば、これより多様な変形及び均等な他の実施形態が可能であるという点を理解できるであろう。したがって、本発明の真の技術的保護範囲は、特許請求の範囲の技術的思想により定められる。
本発明は、オーディオデータ符号化及び復号化に関連する技術分野に好適に用いられる。
110 階層的符号化部
120 SBR符号化部
130 ビットストリーム生成部
510 時間/周波数マッピング部
520 心理音響部
530 量子化部
540 ダウンサンプリング部
810 ビットストリーム分析部
820 階層的復号化部
830 SBR復号化部
840 データ合成部
1010 逆量子化部
1020 周波数/時間マッピング部
1110 無損失復号化部
1120 高周波発生部
1130 分析バンク
1140 包絡線調整部
1210 オーバーラッピング部
1220 合成バンク

Claims (2)

  1. 階層的に符号化されたオーディオデータを復号化するステップと、
    前記オーディオデータのペイロードの終結を示すコードを検出するステップと、
    拡張データのペイロードの開始を示すコードを検出するステップと、
    拡張データのタイプを検出するステップと、
    前記検出されたタイプが帯域幅拡張データを示しているか否かを判断するステップと、
    前記判断するステップで帯域幅拡張データを示すと判断されれば、前記帯域幅拡張データを復号化するステップと、を含むことを特徴とするオーディオデータ復号化方法。
  2. 階層的に符号化されたオーディオデータを復号化するステップと、
    ‘zero_code’を検出するステップと、
    ‘extension_type’を検出するステップと、
    前記検出された‘extension_type’が帯域幅拡張データを示しているか否かを判断するステップと、
    前記判断ステップで、帯域幅拡張データを示すと判断されれば、前記帯域幅拡張データを復号化するステップと、を含むことを特徴とするオーディオデータ復号化方法。
JP2009258400A 2005-04-14 2009-11-11 オーディオデータ復号化方法 Expired - Fee Related JP5254933B2 (ja)

Applications Claiming Priority (8)

Application Number Priority Date Filing Date Title
US67111105P 2005-04-14 2005-04-14
US60/671,111 2005-04-14
US70644105P 2005-08-09 2005-08-09
US60/706,441 2005-08-09
US70754605P 2005-08-12 2005-08-12
US60/707,546 2005-08-12
KR20050135837 2005-12-30
KR10-2005-0135837 2005-12-30

Related Parent Applications (1)

Application Number Title Priority Date Filing Date
JP2006112402A Division JP4781153B2 (ja) 2005-04-14 2006-04-14 オーディオデータ符号化及び復号化装置、並びにオーディオデータ符号化及び復号化方法

Publications (2)

Publication Number Publication Date
JP2010033084A true JP2010033084A (ja) 2010-02-12
JP5254933B2 JP5254933B2 (ja) 2013-08-07

Family

ID=36754313

Family Applications (2)

Application Number Title Priority Date Filing Date
JP2006112402A Expired - Fee Related JP4781153B2 (ja) 2005-04-14 2006-04-14 オーディオデータ符号化及び復号化装置、並びにオーディオデータ符号化及び復号化方法
JP2009258400A Expired - Fee Related JP5254933B2 (ja) 2005-04-14 2009-11-11 オーディオデータ復号化方法

Family Applications Before (1)

Application Number Title Priority Date Filing Date
JP2006112402A Expired - Fee Related JP4781153B2 (ja) 2005-04-14 2006-04-14 オーディオデータ符号化及び復号化装置、並びにオーディオデータ符号化及び復号化方法

Country Status (7)

Country Link
US (2) US7813932B2 (ja)
EP (1) EP1713061B1 (ja)
JP (2) JP4781153B2 (ja)
KR (3) KR100818268B1 (ja)
CN (1) CN1878001B (ja)
AT (1) ATE407423T1 (ja)
DE (1) DE602006002538D1 (ja)

Families Citing this family (42)

* Cited by examiner, † Cited by third party
Publication number Priority date Publication date Assignee Title
US7835904B2 (en) * 2006-03-03 2010-11-16 Microsoft Corp. Perceptual, scalable audio compression
KR100923156B1 (ko) * 2006-05-02 2009-10-23 한국전자통신연구원 멀티채널 오디오 인코딩 및 디코딩 시스템 및 방법
EP1852848A1 (en) * 2006-05-05 2007-11-07 Deutsche Thomson-Brandt GmbH Method and apparatus for lossless encoding of a source signal using a lossy encoded data stream and a lossless extension data stream
US9159333B2 (en) * 2006-06-21 2015-10-13 Samsung Electronics Co., Ltd. Method and apparatus for adaptively encoding and decoding high frequency band
US20080004883A1 (en) * 2006-06-30 2008-01-03 Nokia Corporation Scalable audio coding
KR101438387B1 (ko) 2006-07-12 2014-09-05 삼성전자주식회사 서라운드 확장 데이터 부호화 및 복호화 방법 및 장치
US8571875B2 (en) * 2006-10-18 2013-10-29 Samsung Electronics Co., Ltd. Method, medium, and apparatus encoding and/or decoding multichannel audio signals
JP4918841B2 (ja) * 2006-10-23 2012-04-18 富士通株式会社 符号化システム
GB2443911A (en) * 2006-11-06 2008-05-21 Matsushita Electric Industrial Co Ltd Reducing power consumption in digital broadcast receivers
KR101434198B1 (ko) * 2006-11-17 2014-08-26 삼성전자주식회사 신호 복호화 방법
WO2008066071A1 (en) * 2006-11-29 2008-06-05 Panasonic Corporation Decoding apparatus and audio decoding method
JP5377974B2 (ja) * 2006-11-30 2013-12-25 パナソニック株式会社 信号処理装置
US8560328B2 (en) * 2006-12-15 2013-10-15 Panasonic Corporation Encoding device, decoding device, and method thereof
FR2911031B1 (fr) * 2006-12-28 2009-04-10 Actimagine Soc Par Actions Sim Procede et dispositif de codage audio
FR2911020B1 (fr) * 2006-12-28 2009-05-01 Actimagine Soc Par Actions Sim Procede et dispositif de codage audio
KR101379263B1 (ko) 2007-01-12 2014-03-28 삼성전자주식회사 대역폭 확장 복호화 방법 및 장치
ATE528747T1 (de) 2008-03-04 2011-10-15 Fraunhofer Ges Forschung Vorrichtung zum mischen mehrerer eingabedatenströme
WO2009144953A1 (ja) * 2008-05-30 2009-12-03 パナソニック株式会社 符号化装置、復号装置およびこれらの方法
KR20100136890A (ko) 2009-06-19 2010-12-29 삼성전자주식회사 컨텍스트 기반의 산술 부호화 장치 및 방법과 산술 복호화 장치 및 방법
US20110087494A1 (en) * 2009-10-09 2011-04-14 Samsung Electronics Co., Ltd. Apparatus and method of encoding audio signal by switching frequency domain transformation scheme and time domain transformation scheme
ES2805349T3 (es) 2009-10-21 2021-02-11 Dolby Int Ab Sobremuestreo en un banco de filtros de reemisor combinado
JP5298245B2 (ja) 2009-12-16 2013-09-25 ドルビー インターナショナル アーベー Sbrビットストリームパラメータダウンミックス
PL3154057T3 (pl) 2011-04-05 2019-04-30 Nippon Telegraph & Telephone Dekodowanie sygnału akustycznego
CN103548077B (zh) 2011-05-19 2016-02-10 杜比实验室特许公司 参数化音频编译码方案的取证检测
CN103650036B (zh) * 2012-07-06 2016-05-11 深圳广晟信源技术有限公司 对多声道数字音频编码的方法
CN104704825B (zh) 2012-08-21 2019-08-30 Emc 公司 分段图像数据的无损压缩
EP2830052A1 (en) * 2013-07-22 2015-01-28 Fraunhofer-Gesellschaft zur Förderung der angewandten Forschung e.V. Audio decoder, audio encoder, method for providing at least four audio channel signals on the basis of an encoded representation, method for providing an encoded representation on the basis of at least four audio channel signals and computer program using a bandwidth extension
EP2830053A1 (en) 2013-07-22 2015-01-28 Fraunhofer-Gesellschaft zur Förderung der angewandten Forschung e.V. Multi-channel audio decoder, multi-channel audio encoder, methods and computer program using a residual-signal-based adjustment of a contribution of a decorrelated signal
TWI758146B (zh) * 2015-03-13 2022-03-11 瑞典商杜比國際公司 解碼具有增強頻譜帶複製元資料在至少一填充元素中的音訊位元流
KR101968456B1 (ko) 2016-01-26 2019-04-11 돌비 레버러토리즈 라이쎈싱 코오포레이션 적응형 양자화
CA3018039C (en) * 2016-03-24 2023-08-29 Harman International Industries, Incorporated Signal quality-based enhancement and compensation of compressed audio signals
TWI752166B (zh) 2017-03-23 2022-01-11 瑞典商都比國際公司 用於音訊信號之高頻重建的諧波轉置器的回溯相容整合
US11322164B2 (en) * 2018-01-18 2022-05-03 Dolby Laboratories Licensing Corporation Methods and devices for coding soundfield representation signals
KR101921083B1 (ko) * 2018-02-20 2018-11-22 주식회사 인터엠 네트워크 기반의 선택적 품질의 음원 방송을 위한 기법
KR20250114443A (ko) 2018-11-13 2025-07-29 돌비 레버러토리즈 라이쎈싱 코오포레이션 오디오 신호 및 연관된 메타데이터에 의해 공간 오디오를 표현하는 것
KR102049348B1 (ko) * 2018-11-13 2019-11-27 주식회사 인터엠 VoIP를 활용한 네트워크 기반의 선택적 품질의 음원 방송을 위한 기법
CA3116181A1 (en) 2018-11-13 2020-05-22 Dolby Laboratories Licensing Corporation Audio processing in immersive audio services
CN113113032B (zh) * 2020-01-10 2024-08-09 华为技术有限公司 一种音频编解码方法和音频编解码设备
EP4091321A4 (en) * 2020-02-14 2023-04-12 Beijing Bytedance Network Technology Co., Ltd. INTERACTION BETWEEN LOOP FILTERING AND VIDEO TILES
CN111865952B (zh) * 2020-07-10 2023-04-18 腾讯音乐娱乐科技(深圳)有限公司 数据处理方法、装置、存储介质及电子设备
KR20240057038A (ko) * 2022-10-24 2024-05-02 한국전자통신연구원 오디오 신호를 인코딩 및 디코딩하는 장치 및 이의 동작 방법
US20250078845A1 (en) * 2023-08-29 2025-03-06 Samsung Electronics Co., Ltd. Lossless audio coding for multichannel hierarchical reconstruction

Citations (5)

* Cited by examiner, † Cited by third party
Publication number Priority date Publication date Assignee Title
JP2001034299A (ja) * 1999-07-21 2001-02-09 Yamaha Corp 音声合成装置
JP2001521648A (ja) * 1997-06-10 2001-11-06 コーディング テクノロジーズ スウェーデン アクチボラゲット スペクトル帯域複製を用いた原始コーディングの強化
JP2004272260A (ja) * 2003-03-07 2004-09-30 Samsung Electronics Co Ltd 帯域拡張技術を利用したデジタルデータの符号化方法、その装置、復号化方法およびその装置
JP2005024756A (ja) * 2003-06-30 2005-01-27 Toshiba Corp 復号処理回路および移動端末装置
JP2006106475A (ja) * 2004-10-07 2006-04-20 Kddi Corp 圧縮オーディオデータ処理方法

Family Cites Families (22)

* Cited by examiner, † Cited by third party
Publication number Priority date Publication date Assignee Title
CA2156889C (en) * 1994-09-30 1999-11-02 Edward L. Schwartz Method and apparatus for encoding and decoding data
JP3139602B2 (ja) * 1995-03-24 2001-03-05 日本電信電話株式会社 音響信号符号化方法及び復号化方法
US5812971A (en) * 1996-03-22 1998-09-22 Lucent Technologies Inc. Enhanced joint stereo coding method using temporal envelope shaping
KR100261253B1 (ko) 1997-04-02 2000-07-01 윤종용 비트율 조절이 가능한 오디오 부호화/복호화 방법및 장치
IL122714A (en) * 1997-04-02 2011-06-30 Samsung Electronics Co Ltd Digital data coding/decoding method and apparatus
JPH11136225A (ja) * 1997-10-30 1999-05-21 Matsushita Electric Ind Co Ltd ビットストリームにおけるスタートコードを検出する方法および装置
KR100335611B1 (ko) * 1997-11-20 2002-10-09 삼성전자 주식회사 비트율 조절이 가능한 스테레오 오디오 부호화/복호화 방법 및 장치
KR100335609B1 (ko) * 1997-11-20 2002-10-04 삼성전자 주식회사 비트율조절이가능한오디오부호화/복호화방법및장치
EP1049312A3 (en) * 1999-04-28 2004-05-19 Um, Sang-seop Multi-functional mobile communication terminal
US6504496B1 (en) * 2001-04-10 2003-01-07 Cirrus Logic, Inc. Systems and methods for decoding compressed data
EP1292036B1 (en) * 2001-08-23 2012-08-01 Nippon Telegraph And Telephone Corporation Digital signal decoding methods and apparatuses
JP3926726B2 (ja) * 2001-11-14 2007-06-06 松下電器産業株式会社 符号化装置および復号化装置
KR100433984B1 (ko) * 2002-03-05 2004-06-04 한국전자통신연구원 디지털 오디오 부호화/복호화 장치 및 방법
US7110941B2 (en) * 2002-03-28 2006-09-19 Microsoft Corporation System and method for embedded audio coding with implicit auditory masking
US7275036B2 (en) * 2002-04-18 2007-09-25 Fraunhofer-Gesellschaft Zur Foerderung Der Angewandten Forschung E.V. Apparatus and method for coding a time-discrete audio signal to obtain coded audio data and for decoding coded audio data
DE10236694A1 (de) * 2002-08-09 2004-02-26 Fraunhofer-Gesellschaft zur Förderung der angewandten Forschung e.V. Vorrichtung und Verfahren zum skalierbaren Codieren und Vorrichtung und Verfahren zum skalierbaren Decodieren
US7330812B2 (en) * 2002-10-04 2008-02-12 National Research Council Of Canada Method and apparatus for transmitting an audio stream having additional payload in a hidden sub-channel
US7532763B2 (en) * 2002-10-24 2009-05-12 Agency For Science, Technology And Research Method and a device for processing bit symbols generated by a data source; a computer readable medium; a computer program element
FR2852172A1 (fr) * 2003-03-04 2004-09-10 France Telecom Procede et dispositif de reconstruction spectrale d'un signal audio
KR100923301B1 (ko) * 2003-03-22 2009-10-23 삼성전자주식회사 대역 확장 기법을 이용한 오디오 데이터의 부호화 방법,그 장치, 복호화 방법 및 그 장치
WO2005081229A1 (ja) * 2004-02-25 2005-09-01 Matsushita Electric Industrial Co., Ltd. オーディオエンコーダ及びオーディオデコーダ
US7536302B2 (en) * 2004-07-13 2009-05-19 Industrial Technology Research Institute Method, process and device for coding audio signals

Patent Citations (5)

* Cited by examiner, † Cited by third party
Publication number Priority date Publication date Assignee Title
JP2001521648A (ja) * 1997-06-10 2001-11-06 コーディング テクノロジーズ スウェーデン アクチボラゲット スペクトル帯域複製を用いた原始コーディングの強化
JP2001034299A (ja) * 1999-07-21 2001-02-09 Yamaha Corp 音声合成装置
JP2004272260A (ja) * 2003-03-07 2004-09-30 Samsung Electronics Co Ltd 帯域拡張技術を利用したデジタルデータの符号化方法、その装置、復号化方法およびその装置
JP2005024756A (ja) * 2003-06-30 2005-01-27 Toshiba Corp 復号処理回路および移動端末装置
JP2006106475A (ja) * 2004-10-07 2006-04-20 Kddi Corp 圧縮オーディオデータ処理方法

Non-Patent Citations (1)

* Cited by examiner, † Cited by third party
Title
JPN7012002852; M. WOLTERS: 'A CLOSER LOOK INTO MPEG-4 HIGH EFFICIENCY AAC' PREPRINTS OF PAPERS PRESENTED AT THE AES CONVENTION vol. 115, 20031010 *

Also Published As

Publication number Publication date
EP1713061A3 (en) 2006-12-27
US20060235678A1 (en) 2006-10-19
JP4781153B2 (ja) 2011-09-28
CN1878001B (zh) 2012-07-18
US7813932B2 (en) 2010-10-12
EP1713061B1 (en) 2008-09-03
KR101162572B1 (ko) 2012-07-05
JP5254933B2 (ja) 2013-08-07
JP2006293375A (ja) 2006-10-26
KR101029076B1 (ko) 2011-04-18
ATE407423T1 (de) 2008-09-15
KR20070063493A (ko) 2007-06-19
US20100332239A1 (en) 2010-12-30
US8046235B2 (en) 2011-10-25
KR100818268B1 (ko) 2008-04-02
CN1878001A (zh) 2006-12-13
DE602006002538D1 (de) 2008-10-16
EP1713061A2 (en) 2006-10-18
KR20070070137A (ko) 2007-07-03
KR20060108520A (ko) 2006-10-18

Similar Documents

Publication Publication Date Title
JP5254933B2 (ja) オーディオデータ復号化方法
CN105702258B (zh) 用于对音频信号进行编码和解码的方法及设备
EP2479750B1 (en) Method for hierarchically filtering an input audio signal and method for hierarchically reconstructing time samples of an input audio signal
JP4950210B2 (ja) オーディオ圧縮
CN101223577B (zh) 对低比特率音频信号进行编码/解码的方法和设备
CN101903944B (zh) 用于处理音频信号的方法和装置
KR101238239B1 (ko) 인코더
CN101518083B (zh) 通过使用带宽扩展和立体声编码对音频信号编码和/或解码的方法和系统
US20100274555A1 (en) Audio Coding Apparatus and Method Thereof
US7333929B1 (en) Modular scalable compressed audio data stream
EP1441330B1 (en) Method of encoding and/or decoding digital audio using time-frequency correlation and apparatus performing the method
US20080234845A1 (en) Audio compression and decompression using integer-reversible modulated lapped transforms
US20130226598A1 (en) Audio encoder or decoder apparatus
JP2004094223A (ja) 多数のサブバンド及び重なり合うウィンドウ関数を用いて処理される音声信号を符号化及び復号化する方法及び装置
US7245234B2 (en) Method and apparatus for encoding and decoding digital signals
JP2004199075A (ja) ビット率調節可能なステレオオーディオ符号化・復号化方法及びその装置
US20080234846A1 (en) Transform domain transcoding and decoding of audio data using integer-reversible modulated lapped transforms

Legal Events

Date Code Title Description
A621 Written request for application examination

Free format text: JAPANESE INTERMEDIATE CODE: A621

Effective date: 20091201

A131 Notification of reasons for refusal

Free format text: JAPANESE INTERMEDIATE CODE: A131

Effective date: 20111206

A601 Written request for extension of time

Free format text: JAPANESE INTERMEDIATE CODE: A601

Effective date: 20120306

A602 Written permission of extension of time

Free format text: JAPANESE INTERMEDIATE CODE: A602

Effective date: 20120309

A521 Request for written amendment filed

Free format text: JAPANESE INTERMEDIATE CODE: A523

Effective date: 20120507

A131 Notification of reasons for refusal

Free format text: JAPANESE INTERMEDIATE CODE: A131

Effective date: 20120724

A601 Written request for extension of time

Free format text: JAPANESE INTERMEDIATE CODE: A601

Effective date: 20121024

A602 Written permission of extension of time

Free format text: JAPANESE INTERMEDIATE CODE: A602

Effective date: 20121029

A521 Request for written amendment filed

Free format text: JAPANESE INTERMEDIATE CODE: A523

Effective date: 20130124

TRDD Decision of grant or rejection written
A01 Written decision to grant a patent or to grant a registration (utility model)

Free format text: JAPANESE INTERMEDIATE CODE: A01

Effective date: 20130319

A61 First payment of annual fees (during grant procedure)

Free format text: JAPANESE INTERMEDIATE CODE: A61

Effective date: 20130418

R150 Certificate of patent or registration of utility model

Free format text: JAPANESE INTERMEDIATE CODE: R150

FPAY Renewal fee payment (event date is renewal date of database)

Free format text: PAYMENT UNTIL: 20160426

Year of fee payment: 3

R250 Receipt of annual fees

Free format text: JAPANESE INTERMEDIATE CODE: R250

LAPS Cancellation because of no payment of annual fees