JP2010023884A - carton - Google Patents

carton Download PDF

Info

Publication number
JP2010023884A
JP2010023884A JP2008187765A JP2008187765A JP2010023884A JP 2010023884 A JP2010023884 A JP 2010023884A JP 2008187765 A JP2008187765 A JP 2008187765A JP 2008187765 A JP2008187765 A JP 2008187765A JP 2010023884 A JP2010023884 A JP 2010023884A
Authority
JP
Japan
Prior art keywords
ruled line
folded
carton
side plate
surface flap
Prior art date
Legal status (The legal status is an assumption and is not a legal conclusion. Google has not performed a legal analysis and makes no representation as to the accuracy of the status listed.)
Pending
Application number
JP2008187765A
Other languages
Japanese (ja)
Inventor
Fumiaki Maeda
文秋 前田
Current Assignee (The listed assignees may be inaccurate. Google has not performed a legal analysis and makes no representation or warranty as to the accuracy of the list.)
Lion Corp
Original Assignee
Lion Corp
Priority date (The priority date is an assumption and is not a legal conclusion. Google has not performed a legal analysis and makes no representation as to the accuracy of the date listed.)
Filing date
Publication date
Application filed by Lion Corp filed Critical Lion Corp
Priority to JP2008187765A priority Critical patent/JP2010023884A/en
Publication of JP2010023884A publication Critical patent/JP2010023884A/en
Pending legal-status Critical Current

Links

Images

Landscapes

  • Cartons (AREA)

Abstract

<P>PROBLEM TO BE SOLVED: To provide a carton improved in the box-making property of a flat folded blank sheet. <P>SOLUTION: A vessel body 2 of the carton 1 is formed by bending upper flaps 41, 42, 43 and 44 of the blank sheet along a second crease to be pasted to inner surfaces of side plates 31, 32, 33 and 34, bending the side plates 31, 32, 33 and 34 along the first crease to paste a margin 35 to be pasted up to the side plate 34 and form a flat folded body 30a by making the flat folded body 30a into a square tube, and bending bottom surface flaps 51, 52, 53 and 54 along the third crease to seal an opening 30c of the bottom surface of the body 30a wherein embossed parts 45a, 45b, 45c and 45d for improving the box-making property of the blank sheet are formed at the upper flaps 41, 42, 43 and 44. <P>COPYRIGHT: (C)2010,JPO&INPIT

Description

本発明は、板紙に罫線を入れて裁断されたブランクシートを罫線に沿って折り曲げて接着剤で貼り合わせてなるカートンに関する。   The present invention relates to a carton in which a blank sheet cut by putting a ruled line on a paperboard is bent along the ruled line and bonded with an adhesive.

従来より、粉末洗剤などの粉体(内容物)を収容するための容器として、板紙に罫線を入れて裁断されたブランクシートを罫線に沿って折り曲げて接着剤で貼り合わせてなるカートンが採用されている。このようなカートンは、側板に設けられた振出し口から粉末洗剤を取り出すタイプもあるが、近年は容器のコンパクト化や使用性の向上のため、容器本体の上面開口部を覆う蓋体を開閉自在に取り付けて、計量スプーンにより内部の粉末洗剤を計量して取り出せるタイプが一般的となっている。   Conventionally, as a container for storing powder (contents) such as powder detergent, a carton is used, which is made by folding a blank sheet cut into a paperboard along a ruled line and bonding it with an adhesive. ing. Some of these cartons have a type in which the powder detergent is taken out from the spout provided on the side plate, but in recent years, the lid covering the top opening of the container body can be opened and closed to make the container more compact and improve usability. A type that can be attached to and can be taken out by measuring the powder detergent inside with a measuring spoon.

また、カートンの組み立てに際しては、通常は包装材料メーカで印刷などの表面処理や、罫線を入れる罫線加工などを行った板紙から打抜き加工によって所定の形状に型抜きされたブランクシートを作製する。このブランクシートは、4つの側板と1つの糊代とが罫線を挟んで順次連接された本体パネルを有している。   Also, when assembling a carton, a blank sheet that is die-cut into a predetermined shape is usually produced from a paperboard that has been subjected to surface treatment such as printing by a packaging material manufacturer or ruled line processing for placing a ruled line. This blank sheet has a main body panel in which four side plates and one glue margin are sequentially connected with a ruled line in between.

次に、このブランクシートの本体パネルを折曲げ加工により罫線に沿って折り曲げて折りグセを付けた後に、本体パネルの一端の側板に連接された糊代に他端の側板を接着剤で貼着して胴部を形成する(この工程のことをサック貼りという。)。ここで、サック貼り後のブランクシートは、胴部を扁平状に折り畳んだ状態のまま次工程へと送られる。   Next, after folding the main body panel of this blank sheet along the ruled line by bending, the other side plate is adhered to the glue margin connected to the one side plate of the main body panel with an adhesive. To form a body part (this process is called sack application). Here, the blank sheet after the sack is applied is sent to the next step with the body part folded in a flat shape.

次工程では、扁平状に折り畳まれた胴部を角筒状に起函した後に、この胴部の底面側に連接された封緘用の底面フラップを折り曲げて接着剤で貼着することにより、胴部の底面開口部を封緘する。これにより、容器本体が作製される。そして、この作製された容器本体に粉末洗剤を充填した後に、胴部に取り付けた蓋体で容器本体の上面開口部を封止することによって、粉末洗剤入りカートンとして仕上げられる。   In the next step, after the barrel part folded in a flat shape is opened in a rectangular tube shape, the bottom flap for sealing connected to the bottom side of the trunk part is folded and adhered with an adhesive, The bottom opening of the part is sealed. Thereby, a container main body is produced. And after filling this manufactured container main body with powder detergent, it is finished as a carton containing powder detergent by sealing the upper surface opening part of a container main body with the cover body attached to the trunk | drum.

ここで、上述した包装材料メーカから送られてくるブランクシートは、胴部を起函し、粉末洗剤を充填する工程までは、嵩張らないように折り畳んだ状態のまま輸送箱に詰めて搬送される(例えば、特許文献1を参照。)。   Here, the blank sheet sent from the packaging material manufacturer described above is packed and transported in a shipping box in a folded state so as not to be bulky until the body is opened and filled with powder detergent. (For example, see Patent Document 1).

また、扁平状に折り畳まれたブランクシートには、折り曲げた状態から元の状態に戻ろうとする復元力が働くため(スプリングバックという。)、このスプリングバックによって一部のブランクシートが輸送箱から飛び出したりしないように、扁平状に折り畳まれたブランクシートは、輸送箱内に整列した状態で密に(例えば100枚程度)詰め込まれている。   In addition, the blank sheet folded flat has a restoring force to return it from its folded state to its original state (called a spring back), so some of the blank sheet jumps out of the transport box. The blank sheets folded flat are packed tightly (for example, about 100 sheets) in a state of being aligned in the transport box.

ところで、扁平状に折り畳まれたブランクシートは、上述した充填工程に供給されるまでは輸送箱に詰め込まれた状態のまま、1〜3ヶ月程度は包装材料メーカや充填工場の倉庫などに保管される。しかしながら、このような状態で長時間保管されたブランクシートは、互いに折り重なった面同士が密着した状態となるため、充填工程においてブランクシートを起函しようとしたときに、扁平状に折り畳まれた胴部が角筒状に起函せずに、逆折れ状態を生じさせたりするなどの生産上のトラブルを発生させることがあった。
特開2007−176561号公報
By the way, the blank sheet folded into a flat shape is kept in a state of being packed in a transport box until it is supplied to the above-described filling process, and is stored in a packaging material manufacturer or a warehouse of a filling factory for about 1 to 3 months. The However, since the blank sheets stored for a long time in such a state are in a state where the folded surfaces are in close contact with each other, when the blank sheet is opened in the filling process, the cylinder is folded into a flat shape. There are cases in which production troubles such as a reverse folding state occur without causing the part to be opened into a rectangular tube shape.
JP 2007-176561 A

本発明は、このような従来の事情に鑑みて提案されたものであり、扁平状に折り畳まれたブランクシートの起函性を向上させたカートンを提供することを目的とする。   This invention is proposed in view of such a conventional situation, and it aims at providing the carton which improved the boxing property of the blank sheet folded in flat shape.

この目的を達成するために、請求項1に係る発明は、板紙に罫線を入れて裁断されたブランクシートを備え、ブランクシートが、第1罫線を挟んで順次隣り合う4つの側板と、第1罫線を挟んで一端の側板と隣り合う糊代とが第1罫線と直交する方向に順次連接された本体パネルと、本体パネルの第1罫線と直交する一辺に沿った第2罫線を挟んで側板と連接された4つの上面フラップと、本体パネルの第1罫線と直交する他辺に沿った第3罫線を挟んで側板と連接された4つの底面フラップとを有し、各上面フラップを第2罫線に沿って折り曲げて、各側板の内面に貼着し、本体パネルを第1罫線に沿って折り曲げて、糊代を他端の側板に貼着することによって、扁平状に折り畳まれた胴部とし、この扁平状に折り畳まれた胴部を角筒状に起函した後に、各底面フラップを第3罫線に沿って折り曲げて、胴部の底面開口部を封緘することによって容器本体が構成されるカートンであって、胴部を起函する前の折り畳み状態において互いに折り重なる少なくとも一方の上面フラップに、他方の上面フラップ側に向かって凸状を為すエンボス部が設けられていることを特徴とするカートンである。   In order to achieve this object, the invention according to claim 1 includes a blank sheet cut into a paperboard by putting a ruled line, and the blank sheet includes four side plates that are sequentially adjacent to each other across the first ruled line, A main panel in which a side plate at one end and a margin adjacent to the first ruled line are sequentially connected in a direction perpendicular to the first ruled line, and a second plate along one side perpendicular to the first ruled line of the main panel. And four bottom surface flaps connected to the side plate across the third ruled line along the other side perpendicular to the first ruled line of the main body panel, and each upper surface flap is a second one. The body part folded in a flat shape by bending along the ruled line and sticking to the inner surface of each side plate, bending the main body panel along the first ruled line, and sticking the glue margin to the other side plate The body part folded in a flat shape is shaped like a square tube. After packaging, the container body is configured by folding each bottom flap along the third ruled line and sealing the bottom opening of the trunk, and in the folded state before the trunk is opened The carton is characterized in that at least one upper surface flap that is folded on each other is provided with an embossed portion that is convex toward the other upper surface flap side.

また、請求項2に係る発明は、エンボス部が、各上面フラップにおける一端の側板とこれに隣接する側板との間の第1罫線及び他端の側板とこれに隣接する側板との間の第1罫線の近傍に位置して設けられていることを特徴とする請求項1に記載のカートンである。   Further, in the invention according to claim 2, the embossed portion includes a first ruled line between the side plate at one end of each upper surface flap and the side plate adjacent thereto, and a side plate between the side plate at the other end and the side plate adjacent thereto. 2. The carton according to claim 1, wherein the carton is provided in the vicinity of one ruled line.

また、請求項3に係る発明は、一方の上面フラップに設けられた線状のエンボス部と、他方の上面フラップに設けられた線状のエンボス部とが、胴部を起函する前の折り畳み状態において互いに交差する方向に延長して設けられていることを特徴とする請求項1又は2に記載のカートンである。   In the invention according to claim 3, the linear embossed portion provided on one upper surface flap and the linear embossed portion provided on the other upper surface flap are folded before the trunk portion is opened. The carton according to claim 1 or 2, wherein the carton is extended in a direction intersecting with each other in a state.

また、請求項4に係る発明は、上面フラップの側端部に、第1罫線との間で隙間を形成する切欠き部が設けられていることを特徴とする請求項1〜3の何れか一項に記載のカートンである。   The invention according to claim 4 is characterized in that a notch for forming a gap with the first ruled line is provided at a side edge of the upper surface flap. The carton according to one item.

また、請求項5に係る発明は、切欠き部が、上面フラップの基端部から先端部に向かって、隙間が漸次拡大する方向に斜めに形成された傾斜部と、この傾斜部から先端部に向かって、隙間が一定となるように第1罫線とは平行に形成された平行部とを有し、胴部を起函する前の折り畳み状態において互いに折り重なる一方の上面フラップと他方の上面フラップとは、その間の第1罫線との間に形成される隙間の幅が異なっており、なお且つ、一方の上面フラップに設けられた切欠き部が他方の上面フラップに設けられた切欠き部の内側又は外側に位置することを特徴とする請求項4に記載のカートンである。   Further, the invention according to claim 5 is an inclined portion in which the notch portion is formed obliquely in a direction in which the gap gradually expands from the proximal end portion of the upper surface flap toward the distal end portion, and from the inclined portion to the distal end portion. One upper surface flap and the other upper surface flap which have a parallel part formed in parallel with the first ruled line so that the gap is constant toward each other and which fold over each other in the folded state before the trunk part is opened Is different in the width of the gap formed between the first ruled line and the notch portion provided in one upper surface flap of the notch portion provided in the other upper surface flap. The carton according to claim 4, wherein the carton is located inside or outside.

また、請求項6に係る発明は、上面フラップの基端部において第1罫線との間に形成される隙間が、本体パネルを第1罫線に沿って折り曲げたときに当該第1罫線上に形成される突条部分に側端部が接触可能な幅で形成されていることを特徴とする請求項4又は5に記載のカートンである。   According to a sixth aspect of the present invention, a gap formed between the base end portion of the upper surface flap and the first ruled line is formed on the first ruled line when the main body panel is bent along the first ruled line. The carton according to claim 4 or 5, wherein a side end portion is formed in such a width that the protruding end portion can be contacted.

また、請求項7に係る発明は、容器本体の上面開口部を覆う蓋体を備えることを特徴とする請求項1〜6の何れか一項に記載のカートンである。   Moreover, the invention which concerns on Claim 7 is provided with the cover body which covers the upper surface opening part of a container main body, It is a carton as described in any one of Claims 1-6 characterized by the above-mentioned.

以上のように、本発明に係るカートンでは、胴部を起函する前の折り畳み状態において互いに折り重なる少なくとも一方の上面フラップに、他方の上面フラップ側に向かって凸状を為すエンボス部を設けることによって、扁平状に折り畳まれたブランクシートの起函性を向上させることが可能である。   As described above, in the carton according to the present invention, by providing the embossed portion that is convex toward the other upper surface flap side on at least one upper surface flap that overlaps each other in the folded state before the trunk portion is opened. It is possible to improve the retractability of the blank sheet folded into a flat shape.

また、本発明に係るカートンでは、上面フラップの側端部に、第1罫線との間で隙間を形成する切欠き部を設けることによって、扁平状に折り畳まれたブランクシートの起函性を向上させることが可能である。   Further, in the carton according to the present invention, by providing a notch portion that forms a gap with the first ruled line at the side end portion of the upper surface flap, the flatness of the blank sheet folded in a flat shape is improved. It is possible to make it.

したがって、本発明によれば、例えば折り畳んだ状態のまま長時間保管されたブランクシートであっても適切に起函させることが可能であり、このようなブランクシートから構成される容器本体に粉体などの内容物を充填する工程において、扁平状に折り畳まれた胴部が角筒状に起函しないなどの生産上のトラブルを、充填設備の改良等を行うことなく、未然に防ぐことが可能である。   Therefore, according to the present invention, for example, even a blank sheet stored in a folded state for a long time can be properly opened, and the container body composed of such a blank sheet can be powdered. In the process of filling the contents, etc., it is possible to prevent production troubles such as that the body part folded in a flat shape does not open up into a square tube without improving the filling equipment. It is.

以下、本発明を適用したカートンについて、図面を参照して詳細に説明する。
先ず、本発明の一実施形態として図1に示すカートン1について説明する。
このカートン1は、図1に示すように、内容物として粉末洗剤を収容する紙製の容器であり、粉末洗剤を収容する収容空間を形成する容器本体2と、この容器本体2の上面開口部を覆う蓋体3とを備え、計量スプーン(図示せず。)により内部の粉末洗剤を計量して取り出せるようになっている。
Hereinafter, a carton to which the present invention is applied will be described in detail with reference to the drawings.
First, a carton 1 shown in FIG. 1 will be described as an embodiment of the present invention.
As shown in FIG. 1, the carton 1 is a paper container that contains a powder detergent as a content, a container main body 2 that forms a storage space for containing the powder detergent, and an upper surface opening of the container main body 2. And a lid 3 for covering the inside, and a powder spoon (not shown) can be used to measure and take out the powder detergent inside.

容器本体2は、図2に示すように、板紙に罫線を入れて所定の形状に裁断されてなるブランクシート20を罫線に沿って折り曲げて接着剤で貼り合わせることにより組み立てられている。このブランクシート20は、例えば、紙を主体とし、積層した層構成の一部に樹脂を用いた厚さ0.6〜1.0mm程度の板紙からなる。また、このブランクシート20の表面には印刷などが施されている。   As shown in FIG. 2, the container body 2 is assembled by folding a blank sheet 20 formed by putting a ruled line on a paperboard and cutting it into a predetermined shape, and bonding it together with an adhesive. The blank sheet 20 is made of, for example, a paperboard having a thickness of about 0.6 to 1.0 mm using paper as a main component and using a resin in a part of the laminated layer structure. The blank sheet 20 is printed on the surface.

ブランクシート20は、第1罫線L1を挟んで順次隣り合う4つの側板31,32,33,34と、第1罫線を挟んで一端の側板31と隣り合う糊代35とが第1罫線L1と直交する方向に順次連接された本体パネル30と、本体パネル30の第1罫線L1と直交する一辺に沿った第2罫線L2を挟んで各側板31,32,33,34と連接された4つの上面フラップ41,42,43,44と、本体パネル30の第1罫線L1と直交する他辺に沿った第3罫線L3を挟んで各側板31,32,33,34と連接された4つの底面フラップ51,52,53,54とを有している。   The blank sheet 20 includes four side plates 31, 32, 33, and 34 that are sequentially adjacent to each other across the first ruled line L1, and a glue margin 35 that is adjacent to the one side plate 31 across the first ruled line and the first ruled line L1. The main body panel 30 sequentially connected in the orthogonal direction, and the four connected to the side plates 31, 32, 33, 34 across the second ruled line L2 along one side orthogonal to the first ruled line L1 of the main body panel 30. Four bottom surfaces connected to the side plates 31, 32, 33, and 34 with the top surface flaps 41, 42, 43, and 44 and the third ruled line L3 along the other side orthogonal to the first ruled line L1 of the main body panel 30 being sandwiched. And flaps 51, 52, 53, 54.

本体パネル30は、図1に示すように、側板31,32,33,34及び糊代35を第1罫線L1に沿って折り曲げて、糊代35に他端の側板34を接着剤で貼着し、容器本体2の背面と正面とを構成する一対の側板(メインパネルという。)31,33と、両側面を構成する一対の側板(サイドパネルという。)32,34とを各々対面させることによって角筒状の胴部30aを構成する。また、胴部30aは、長方形を為す一対のメインパネル31,33の幅が、同じく長方形を為す一対のサイドパネル32,34の幅よりも幅広とされると共に、その上面側に長方形を為す上面開口部30bと、その底面側に長方形を為す底面開口部30cとを有している。   As shown in FIG. 1, the main body panel 30 bends the side plates 31, 32, 33, 34 and the glue margin 35 along the first ruled line L 1, and attaches the other side plate 34 to the glue margin 35 with an adhesive. Then, a pair of side plates (referred to as main panels) 31 and 33 constituting the back surface and the front surface of the container body 2 and a pair of side plates (referred to as side panels) 32 and 34 constituting both side surfaces are made to face each other. To form a rectangular tube-shaped body 30a. In addition, the body 30a has a pair of main panels 31 and 33 forming a rectangle whose width is wider than that of a pair of side panels 32 and 34 which also form a rectangle, and an upper surface forming a rectangle on the upper surface side thereof. It has an opening 30b and a bottom opening 30c having a rectangular shape on the bottom side.

背面のメインパネル31には、図1及び図2に示すように、蓋体3を開閉自在に取り付けるためのヒンジ部36が設けられている。このヒンジ部36は、その輪郭に沿った切れ込みをメインパネル31に入れることによって形成されている。また、ヒンジ部36は、上向きに凸状を為しており、その下端部に形成されたミシン目状の罫線35aに沿って折り曲げ可能となっている。正面のメインパネル33には、後述する蓋体3のロック片62が差し込まれる差込み口37が設けられている。この差込み口37は、その輪郭に沿ってメインパネル33を打ち抜くことによって形成されている。   As shown in FIGS. 1 and 2, the rear main panel 31 is provided with a hinge portion 36 for attaching the lid 3 in an openable and closable manner. The hinge portion 36 is formed by making a cut along the contour in the main panel 31. Further, the hinge portion 36 has an upward convex shape, and can be bent along a perforated ruled line 35a formed at the lower end thereof. The front main panel 33 is provided with an insertion port 37 into which a lock piece 62 of the lid 3 to be described later is inserted. The insertion port 37 is formed by punching out the main panel 33 along the contour.

上面フラップ41,42,43,44は、胴部30aの上面開口部30b付近を補強するための補強用のフラップであり、各側板31,32,33,34の上端部から延長して設けられている。また、第2罫線L2は、ブランクシート20の表面側から板紙の半分程度の厚さまで切り込みを入れた半切り線からなっている。   The upper surface flaps 41, 42, 43, and 44 are reinforcing flaps for reinforcing the vicinity of the upper surface opening 30b of the trunk portion 30a, and are provided extending from the upper end portions of the side plates 31, 32, 33, and 34. ing. Moreover, the 2nd ruled line L2 consists of the half cut line cut | notched from the surface side of the blank sheet 20 to the thickness of about half of paperboard.

容器本体2は、図1及び図3に示すように、これら上面フラップ41,42,43,44を第2罫線L2に沿って胴部30aの内側に折り返し、側板31,32,33,34の内面に接着剤で貼着することによって、蓋体3が被せられる容器本体2(胴部30a)の上面開口部30b付近における強度、並びに容器本体2に対する蓋体3の取付付近における強度を高めることが可能となっている。なお、正面及び背面側の上面フラップ41,43は、第2罫線L2に沿って胴部30aの内側に折り返したとき、上述したヒンジ部36や差込み口37と折り重なっている。   As shown in FIGS. 1 and 3, the container body 2 folds the upper surface flaps 41, 42, 43, 44 along the second ruled line L <b> 2 to the inside of the trunk portion 30 a, so that the side plates 31, 32, 33, 34 By sticking to the inner surface with an adhesive, the strength in the vicinity of the upper surface opening 30b of the container body 2 (body portion 30a) on which the lid body 3 is covered and the strength in the vicinity of the attachment of the lid body 3 to the container body 2 are increased. Is possible. Note that the front and back upper surface flaps 41 and 43 are folded over the hinge portion 36 and the insertion port 37 described above when folded back inside the trunk portion 30a along the second ruled line L2.

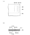
各上面フラップ41,42,43,44には、図1及び図2に示すように、後述する扁平状に折り畳まれたブランクシート20の起函性を向上させるためのエンボス部45a,45b,45c,45dが設けられている。これらエンボス部45a,45b,45c,45dは、胴部30aを角筒状に起函する前の折り畳み状態において、互いに折り重なる一方の上面フラップから他方の上面フラップ側に向かって凸状を為すものであり、その厚みは上面フラップ41,42,43,44の厚み程度である。また、これらエンボス部45a,45b,45c,45dは、平面視で略矩形状を為している。   As shown in FIGS. 1 and 2, the upper surface flaps 41, 42, 43, 44 have embossed portions 45 a, 45 b, 45 c for improving the flatness of the blank sheet 20 folded into a flat shape described later. , 45d. These embossed portions 45a, 45b, 45c, and 45d form a convex shape from one upper surface flap that is folded over to the other upper surface flap side in a folded state before the trunk portion 30a is raised into a rectangular tube shape. The thickness is about the thickness of the upper surface flaps 41, 42, 43, 44. Further, these embossed portions 45a, 45b, 45c, and 45d have a substantially rectangular shape in plan view.

また、エンボス部45a,45b,45c,45dは、各上面フラップ41,42,43,44における背面のメインパネル(一端の側板)31とこれに隣接する一方のサイドパネル32との間の第1罫線L1及び正面のメインパネル(他端の側板)34とこれに隣接する他方のサイドパネル33との間の第1罫線L1の近傍に位置して設けられている。さらに、これらエンボス部45a,45b,45c,45dは、一方の上面フラップ41,43と他方の上面フラップ42,44との両側にそれぞれ対向して設けられている。すなわち、背面のメインパネル31側のエンボス部45aと、一方のサイドパネル32側のエンボス部45bとは、ブランクシート20が扁平状に折り畳まれたとき、互いに重なる位置に設けられると共に、正面のメインパネル33側のエンボス部45cと、他方のサイドパネル34側のエンボス部45dとは、ブランクシート20が扁平状に折り畳まれたとき、互いに重なる位置に設けられている。   Further, the embossed portions 45a, 45b, 45c, and 45d are the first between the rear main panel (one side plate) 31 and the one side panel 32 adjacent thereto on the upper surface flaps 41, 42, 43, and 44, respectively. It is provided in the vicinity of the first ruled line L1 between the ruled line L1 and the front main panel (side plate on the other end) 34 and the other side panel 33 adjacent thereto. Further, these embossed portions 45a, 45b, 45c, and 45d are provided on both sides of one upper surface flaps 41 and 43 and the other upper surface flaps 42 and 44, respectively. That is, the embossed portion 45a on the main panel 31 side on the back and the embossed portion 45b on the side panel 32 side are provided at positions where they overlap each other when the blank sheet 20 is folded flat, The embossed portion 45c on the panel 33 side and the embossed portion 45d on the other side panel 34 side are provided at positions that overlap each other when the blank sheet 20 is folded flat.

各上面フラップ41,42,43,44の側端部には、それぞれ第1罫線L1との間で隙間Sを形成する切欠き部46A,46Bが設けられている。これら切欠き部46A,46Bは、図4に拡大して示すように、各上面フラップ41,42,43,44の基端部から先端部に向かって、隙間Sが漸次拡大する方向に斜めに形成された傾斜部46aと、この傾斜部から先端部に向かって、隙間Sが一定となるように第1罫線L1とは平行に形成された平行部46bとを有して形成されている。このような隙間Sは、平行部46bにおいてブランクシート20の厚み以上、5mm以下の範囲で設けることが好ましい。   Notch portions 46A and 46B that form gaps S with the first ruled lines L1 are provided at the side end portions of the upper surface flaps 41, 42, 43, and 44, respectively. As shown in an enlarged view in FIG. 4, these notches 46A and 46B are inclined in the direction in which the gap S gradually expands from the base end portion of each of the upper surface flaps 41, 42, 43 and 44 toward the tip end portion. The formed inclined part 46a and the parallel part 46b formed in parallel with the first ruled line L1 are formed so that the gap S is constant from the inclined part toward the tip part. Such a gap S is preferably provided in the range of the thickness of the blank sheet 20 to 5 mm or less in the parallel portion 46b.

また、胴部30aを起函する前の折り畳み状態において互いに折り重なる一方の上面フラップ41,43と他方の上面フラップ42,44とは、その間の第1罫線L1との間に形成される隙間Sの幅が異なっている。具体的には、一方の上面フラップ41,43に設けられた切欠き部46Aは、他方の上面フラップ42,44に設けられた切欠き部46Bよりも第1罫線L1との間に形成される隙間Sの幅が小さくなっている。これにより、一方の上面フラップ41,43に設けられた切欠き部46Aは、ブランクシート20が扁平状に折り畳まれたときに、他方の上面フラップ42,44に設けられた切欠き部46Bの内側に位置することになる。換言すると、他方の上面フラップ42,44に設けられた切欠き部46Bは、ブランクシート20が扁平状に折り畳まれたときに、一方の上面フラップ41,43に設けられた切欠き部46Aの外側に位置することになる。   In addition, the upper surface flaps 41 and 43 and the other upper surface flaps 42 and 44, which are folded on each other in the folded state before the trunk 30a is opened, have a gap S formed between the first ruled line L1 therebetween. The width is different. Specifically, the notch portion 46A provided in one upper surface flap 41, 43 is formed between the first ruled line L1 rather than the notch portion 46B provided in the other upper surface flaps 42, 44. The width of the gap S is reduced. Thereby, the notch part 46A provided in one upper surface flaps 41 and 43 is located inside the notch part 46B provided in the other upper surface flaps 42 and 44 when the blank sheet 20 is folded flat. Will be located. In other words, the notch portion 46B provided in the other upper surface flaps 42, 44 is outside the notch portion 46A provided in the one upper surface flaps 41, 43 when the blank sheet 20 is folded flat. Will be located.

さらに、各上面フラップ41,42,43,44の基端部において第1罫線L1との間に形成される隙間Sは、本体パネル30を第1罫線L1に沿って折り曲げたときに当該第1罫線L1上に形成される突条部分Tに側端部が接触可能な幅で形成されている。これにより、容器本体2では、図5に示すように、胴部30aを角筒状に起函した状態において、上面開口部30bの各角部における隙間Sを閉塞して、上面開口部30bを蓋体3で閉塞した際に、この部分から内部の粉末洗剤が漏れ出ることを防止することが可能となっている。   Further, the gap S formed between the upper end flaps 41, 42, 43, and 44 and the first ruled line L1 is the first gap when the main body panel 30 is bent along the first ruled line L1. It is formed with a width that allows the side end portion to contact the protrusion T formed on the ruled line L1. Thereby, in the container main body 2, as shown in FIG. 5, in the state where the trunk portion 30a is raised in a rectangular tube shape, the gap S at each corner portion of the upper surface opening portion 30b is closed, and the upper surface opening portion 30b is formed. When the lid 3 is closed, it is possible to prevent the internal powder detergent from leaking from this portion.

底面フラップ51,52,53,54は、図1、図2及び図3に示すように、胴部30aの底面開口部30cを封緘するための封緘用のフラップであり、具体的には、サイドパネル32,34の下端部から延長された一対のサイドフラップ52,54と、メインパネル31,33の下端部から延長された一対のメインフラップ51,53とから構成されている。   The bottom flaps 51, 52, 53, 54 are sealing flaps for sealing the bottom opening 30 c of the trunk portion 30 a as shown in FIGS. 1, 2 and 3. The pair of side flaps 52 and 54 extended from the lower ends of the panels 32 and 34 and the pair of main flaps 51 and 53 extended from the lower ends of the main panels 31 and 33 are configured.

一対のサイドフラップ52,54には、それぞれエンボス部55a,55bが形成されている。これらエンボス部55a,55bは、その輪郭を階段状とし、正面側のメインフラップ53が折り重なる領域を表面に向かって凸状を為している。したがって、これらエンボス部55a,55bが形成されていない領域、すなわち正面側のメインフラップ51が折り重なる領域は、これらエンボス部55a,55bの厚み分だけ相対的に低くなっている。また、エンボス部55a,55bの厚みは、メインフラップ51の厚みに対応している。正面側のメインフラップ51には、これらエンボス部55a,55bに対応した一対の切欠き部56a,56bが形成されている。一対の切欠き部56a,56は、上述したエンボス部55a,55bの輪郭に沿って階段状に切り欠かれている。   Embossed portions 55a and 55b are formed in the pair of side flaps 52 and 54, respectively. The embossed portions 55a and 55b have a stepped outline, and a region where the main flap 53 on the front side is folded is convex toward the surface. Accordingly, a region where the embossed portions 55a and 55b are not formed, that is, a region where the main flap 51 on the front side is folded is relatively low by the thickness of the embossed portions 55a and 55b. Further, the thickness of the embossed portions 55 a and 55 b corresponds to the thickness of the main flap 51. The main flap 51 on the front side is formed with a pair of notches 56a and 56b corresponding to the embossed portions 55a and 55b. The pair of notches 56a and 56 are notched in a step shape along the outline of the embossed portions 55a and 55b described above.

容器本体2は、図1に示すように、一対のサイドフラップ52,54を第3罫線L3に沿って折り曲げた後に、背面側のメインフラップ51を第3罫線L3に沿って折り曲げながら一対のサイドフラップ52,54に折り重ねて接着剤で貼着し、更に、正面側のメインフラップ53を第3罫線L3に沿って折り曲げながら一対のサイドフラップ52,54及び背面側のメインフラップ51に折り重ねて接着剤で貼着することによって、胴部30aの底部開口部30cを封緘することが可能となっている。   As shown in FIG. 1, the container body 2 is formed by bending a pair of side flaps 52 and 54 along the third ruled line L3 and then bending the back side main flap 51 along the third ruled line L3. Folded to the flaps 52 and 54 and adhered with an adhesive, and further folded to the pair of side flaps 52 and 54 and the main flap 51 on the back side while bending the main flap 53 on the front side along the third ruled line L3. By sticking with an adhesive, the bottom opening 30c of the body 30a can be sealed.

また、一対のサイドフラップ52,54に背面側のメインフラップ51が折り重ねられたとき、エンボス部55a,55bと背面側のメインフラップ51とが略一致した高さとなる。これにより、エンボス部8a,8bと背面側のメインフラップ51との間に亘って形成された平らな面に正面側のメインフラップ53を折り重ねて接着剤で貼着することができる。   Further, when the back side main flap 51 is folded on the pair of side flaps 52 and 54, the embossed portions 55a and 55b and the back side main flap 51 have substantially the same height. Thereby, the main flap 53 on the front side can be folded on a flat surface formed between the embossed portions 8a, 8b and the main flap 51 on the back side, and adhered with an adhesive.

蓋体3は、図1に示すように、板紙に罫線を入れて所定の形状に裁断されてなるブランクシート(図示を省略する。)を罫線に沿って折り曲げて接着剤で貼り合わせることにより組み立てられている。なお、蓋体3を構成するブランクシートは、上記ブランクシート20と同じ材質の板紙からなる。   As shown in FIG. 1, the lid 3 is assembled by folding a blank sheet (not shown) formed by cutting a paper sheet into a predetermined line and cutting it into a predetermined shape, and bonding it together with an adhesive. It has been. In addition, the blank sheet which comprises the cover body 3 consists of a paperboard of the same material as the said blank sheet 20. FIG.

蓋体3は、長方形を為す天板3aと、この天板3aの四辺に折り曲げ可能に連接された4つの側板3b,3c,3d,3eとを有し、その背面と正面とを構成する一対の側板3b,3dと、その両側面を構成する一対の側板3c,3eとを各々対面させて、側板3c,3eに折り曲げ可能に連接された一対の糊代3fをそれぞれ側板3c,3eの内面に接着剤で貼着することによって構成されている。そして、この蓋体3は、上記容器本体2の上面部に被せた状態で、側板3bの内面を上記ヒンジ部36に接着剤で貼着することによって、容器本体2に開閉自在に取り付けられる。   The lid 3 has a rectangular top plate 3a and four side plates 3b, 3c, 3d, 3e connected to the four sides of the top plate 3a so as to be foldable, and a pair constituting the back and front thereof. The side plates 3b, 3d and a pair of side plates 3c, 3e constituting both side surfaces thereof face each other, and a pair of adhesive margins 3f connected to the side plates 3c, 3e in a foldable manner are respectively provided on the inner surfaces of the side plates 3c, 3e. It is comprised by sticking with an adhesive agent. And this cover 3 is attached to the container main body 2 so that opening and closing is possible by sticking the inner surface of the side plate 3b to the said hinge part 36 with an adhesive agent in the state which covered the upper surface part of the said container main body 2. FIG.

蓋体3には、容器本体2に固定するためのロック機構60が設けられている。このロック機構60は、蓋体3を容器本体2に固定する際に操作される摘み片61と、この摘み片61を操作しながら上記差込み口37から側板33と上面フラップ43との間の隙間に差し込まれるロック片62とを有している。   The lid 3 is provided with a lock mechanism 60 for fixing to the container body 2. The lock mechanism 60 includes a knob 61 that is operated when the lid 3 is fixed to the container body 2, and a gap between the side plate 33 and the upper surface flap 43 from the insertion port 37 while operating the knob 61. And a lock piece 62 to be inserted into the.

具体的に、摘み片61は、側板3dの下端部中央から下方に向かって突出されると共に、ロック片62を挟んだ両側に位置する一対の罫線61aに沿って折り曲げ可能となっている。一方、ロック片62は、摘み片61の内側に位置して、一対の罫線61aを結ぶラインよりも上向きに凸状を為している。また、ロック片62は、その輪郭に沿った切れ込みを側板3dに入れることによって形成されている。   Specifically, the knob piece 61 protrudes downward from the center of the lower end portion of the side plate 3d and can be bent along a pair of ruled lines 61a located on both sides of the lock piece 62. On the other hand, the lock piece 62 is located inside the knob piece 61 and has a convex shape upward from a line connecting the pair of ruled lines 61a. The lock piece 62 is formed by making a cut along the contour of the side plate 3d.

このロック機構60では、摘み片61を持ち上げて、ロック片62を差込み口37から側板33と上面フラップ43との間の隙間に差し込みながら、摘み片61を下げる、いわゆるコハゼ掛けによって蓋体3を容器本体2に固定することが可能となっている。   In this locking mechanism 60, the knob 3 is lifted, and the lid 3 is lowered by a so-called squeeze hook that lowers the knob 61 while inserting the lock piece 62 into the gap between the side plate 33 and the upper surface flap 43 from the insertion port 37. It can be fixed to the container body 2.

次に、上記カートン1の製造工程について説明する。
上記カートン1を製造する際は、通常は包装材料メーカで印刷などの表面処理や、罫線を入れる罫線加工などを行った板紙から打抜き加工によって、上記形状に型抜きされたブランクシート20を作製する。
Next, the manufacturing process of the carton 1 will be described.
When the carton 1 is manufactured, a blank sheet 20 that is die-cut into the above shape is usually produced from a paperboard that has been subjected to surface treatment such as printing or ruled line processing for placing a ruled line by a packaging material manufacturer. .

次に、この型抜きされたブランクシート20の上面フラップ41,42,43,44を第2罫線L2に沿って胴部30aの内側に折り返し、各側板31,32,33,34の内面に接着剤で貼着する。次に、本体パネル30を構成する4つの側板31,32,33,34のうち、糊代35と背面のメインパネル31との間及び一方のサイドパネル32と正面のメインパネル33との間の第1罫線L1に沿って折り曲げて折りグセを付けた後に、背面のメインパネル31と一方のサイドパネル32との間及び正面のメインパネル33と他方のサイドパネル34との間の第1罫線L1に沿って折り曲げて、本体パネル30の糊代35に他方のサイドパネル34を接着剤で貼着し、筒状の胴部30aを形成する(サック貼りという。)。   Next, the upper surface flaps 41, 42, 43, and 44 of the blank sheet 20 thus punched out are folded back inside the trunk portion 30a along the second ruled line L2, and bonded to the inner surfaces of the side plates 31, 32, 33, and 34. Adhere with an agent. Next, of the four side plates 31, 32, 33, 34 constituting the main body panel 30, between the adhesive margin 35 and the back main panel 31 and between one side panel 32 and the front main panel 33. The first ruled line L1 between the main panel 31 on the back side and one side panel 32 and between the main panel 33 on the front side and the other side panel 34 after being bent along the first ruled line L1. And the other side panel 34 is adhered to the adhesive margin 35 of the main body panel 30 with an adhesive to form a cylindrical body portion 30a (referred to as sack pasting).

ここで、サック貼り後のブランクシート20は、図3に示すように、胴部30aを扁平状に折り畳んだ状態のまま、輸送箱(図示せず。)に詰め込まれて次工程へと送られる。次工程では、扁平状に折り畳まれた胴部30aを角筒状に起函した後に、一対のサイドフラップ52,54を第3罫線L3に沿って折り曲げた後に、背面側のメインフラップ51を第3罫線L3に沿って折り曲げながら一対のサイドフラップ52,54に折り重ねて接着剤で貼着し、更に、正面側のメインフラップ53を第3罫線L3に沿って折り曲げながら一対のサイドフラップ52,54及び背面側のメインフラップ51に折り重ねて接着剤で貼着する。これにより、胴部30aの底面開口部30cが封緘された容器本体2が作製される。   Here, as shown in FIG. 3, the blank sheet 20 after the sack pasting is packed in a transport box (not shown) with the trunk portion 30 a folded in a flat shape and sent to the next process. . In the next process, after the trunk portion 30a folded flat is raised into a rectangular tube shape, the pair of side flaps 52 and 54 are folded along the third ruled line L3, and then the main flap 51 on the back side is moved to the first side. While folding along the three ruled lines L3, the pair of side flaps 52, 54 is folded and pasted with an adhesive, and the front side main flap 53 is folded along the third ruled line L3 while being folded along the third ruled line L3. 54 and the main flap 51 on the back side are folded and adhered with an adhesive. Thereby, the container main body 2 in which the bottom opening 30c of the trunk portion 30a is sealed is produced.

そして、この作製された容器本体2に粉末洗剤を充填した後に、蓋体3をヒンジ部36に接着剤で貼着し、容器本体2(胴部30a)の上面開口部30bを蓋体3で封止する。これにより、粉末洗剤入りカートンとして仕上げられる。なお、上記ブランクシート20には、図2に示すように、空になった容器本体2を捨てる際に折り畳み易くするための罫線38が設けられている。   And after filling this manufactured container main body 2 with powder detergent, the cover body 3 is stuck to the hinge part 36 with an adhesive agent, and the upper surface opening part 30b of the container main body 2 (torso part 30a) is covered with the cover body 3. Seal. Thereby, it is finished as a carton containing powder detergent. The blank sheet 20 is provided with ruled lines 38 for facilitating folding when the empty container body 2 is discarded, as shown in FIG.

ところで、本発明を適用したカートン1では、各側板31,32,33,34の内面に貼着された上面フラップ41,42,43,44に、上述したエンボス部45a,45b,45c,45dが設けられている。これにより、扁平状に折り畳まれたブランクシート20の起函性を向上させることが可能である。   By the way, in the carton 1 to which the present invention is applied, the above-described embossed portions 45a, 45b, 45c, and 45d are provided on the upper surface flaps 41, 42, 43, and 44 attached to the inner surfaces of the side plates 31, 32, 33, and 34. Is provided. Thereby, it is possible to improve the retractability of the blank sheet 20 folded flat.

具体的に、図6(a),(b)に示すように、ブランクシート20が扁平状に折り畳まれたとき、互いに折り重なる一方の上面フラップ41,43と他方の上面フラップ42,44との両側にそれぞれ対向して設けられたエンボス部45a,45b,45c,45dが重なることによって、これら一方の上面フラップ41,43と他方の上面フラップ42,44との間にエンボス部45a,45b,45c,45dの厚みに応じた隙間を形成する。   Specifically, as shown in FIGS. 6 (a) and 6 (b), when the blank sheet 20 is folded flat, both sides of one upper surface flaps 41 and 43 and the other upper surface flaps 42 and 44 that fold over each other. The embossed portions 45a, 45b, 45c, 45d provided to face each other overlap each other, so that the embossed portions 45a, 45b, 45c, 45c are between the upper surface flaps 41, 43 and the other upper surface flaps 42, 44, respectively. A gap corresponding to the thickness of 45d is formed.

これにより、互いに折り重なった一方の上面フラップ41,43と他方の上面フラップ42,44との面同士が密着することを防止し、上述した充填工程においてブランクシート20を起函しようとしたときに、扁平状に折り畳まれた胴部30aの両端、すなわち背面のメインパネル31と一方のサイドパネル32との間の第1罫線L1に沿った部分と、正面のメインパネル34と他方のサイドパネル33との間の第1罫線L1に沿った部分とを互いに近接する方向に押圧するだけで、この扁平状に折り畳まれた胴部30aを角筒状に適切且つ容易に起函させることが可能である。   This prevents the surfaces of the one upper surface flaps 41 and 43 and the other upper surface flaps 42 and 44 from being in close contact with each other, and when trying to unfold the blank sheet 20 in the filling step described above, Both ends of the body portion 30a folded in a flat shape, that is, a portion along the first ruled line L1 between the main panel 31 on the back side and one side panel 32, the main panel 34 on the front side, and the other side panel 33 By simply pressing the portions along the first ruled line L1 between them in a direction approaching each other, it is possible to appropriately and easily raise the trunk portion 30a folded in a flat shape into a rectangular tube shape. .

また、本発明を適用したカートン1では、各上面フラップ41,42,43,44の側端部に、それぞれ第1罫線L1との間で隙間Sを形成する切欠き部46a,46b,46c,46dを設けることによって、扁平状に折り畳まれたブランクシート20の起函性を更に向上させることが可能である。   Further, in the carton 1 to which the present invention is applied, notches 46a, 46b, 46c, which form gaps S between the first ruled lines L1 at the side end portions of the upper surface flaps 41, 42, 43, 44, respectively. By providing 46d, it is possible to further improve the retractability of the blank sheet 20 folded into a flat shape.

具体的に、ブランクシート20が扁平状に折り畳まれたとき、互いに折り重なる一方の上面フラップ41,43の切欠き部46a,46cが設けられた側端部と、他方の上面フラップ42,44の切欠き部46b,46dが設けられた側端部との間に隙間Sを形成することによって、互いに折り重なった一方の上面フラップ41,43と他方の上面フラップ42,44との面同士が密着することを防止し、扁平状に折り畳まれたブランクシート20の起函性を向上させることができる。   Specifically, when the blank sheet 20 is folded into a flat shape, the side end portion provided with the notches 46a and 46c of one upper surface flaps 41 and 43 that overlap each other and the other upper surface flaps 42 and 44 are cut. By forming a gap S between the side end portions where the notched portions 46b and 46d are provided, the surfaces of the upper surface flaps 41 and 43 and the other upper surface flaps 42 and 44 that are folded on each other are in close contact with each other. The blanking property of the blank sheet 20 folded in a flat shape can be improved.

さらに、胴部30aを起函する前の折り畳み状態において互いに折り重なる一方の上面フラップ41,43と他方の上面フラップ42,44とは、その間の第1罫線L1との間に形成される隙間Sの幅が異なっており、なお且つ、一方の上面フラップ42,44に設けられた切欠き部46a,46cが他方の上面フラップ42,44に設けられた切欠き部46b,46dの内側又は外側に位置することで、扁平状に折り畳まれたブランクシート20の起函性を更に向上させることが可能である。   Furthermore, the upper surface flaps 41 and 43 and the other upper surface flaps 42 and 44 that are folded over in the folded state before the trunk portion 30a is opened are formed with a gap S formed between the first ruled line L1 therebetween. The notches 46a and 46c provided in one upper surface flaps 42 and 44 are positioned inside or outside the notches 46b and 46d provided in the other upper surface flaps 42 and 44, respectively. By doing so, it is possible to further improve the boxing property of the blank sheet 20 folded in a flat shape.

以上のように、本発明を適用したカートン1では、折り畳んだ状態のまま長時間保管されたブランクシート20であっても適切に起函させることが可能であり、このようなブランクシート20から構成される容器本体2に粉末洗剤を充填する工程において、扁平状に折り畳まれた胴部30aが角筒状に起函しないなどの生産上のトラブルを、充填設備の改良等を行うことなく、未然に防ぐことが可能である。   As described above, in the carton 1 to which the present invention is applied, even the blank sheet 20 stored for a long time in a folded state can be appropriately opened. In the process of filling the container body 2 with the powder detergent, the trouble of production such as the body portion 30a folded in a flat shape is not raised in a rectangular tube shape, without improving the filling equipment, etc. It is possible to prevent.

なお、本発明において、上記エンボス45a,45b,45c,45dや上記切欠き部46a,46b,46c,46dは、板紙に罫線を入れて裁断されたブランクシート20を作製する際に容易に形成することが可能である。また、上記エンボス45a,45b,45c,45dや上記切欠き部46a,46b,46c,46dは、容器本体2の内側に位置するため、外観の見映えに影響を与えることがない。   In the present invention, the embosses 45a, 45b, 45c, and 45d and the notches 46a, 46b, 46c, and 46d are easily formed when the blank sheet 20 that is cut with a ruled line is formed on the paperboard. It is possible. Further, the embosses 45a, 45b, 45c, 45d and the notches 46a, 46b, 46c, 46d are located inside the container body 2, and therefore do not affect the appearance of the appearance.

なお、本発明は、上記カートン1の構成に必ずしも限定されるものではなく、本発明の趣旨を逸脱しない範囲において種々の変更を加えることが可能である。
具体的に、上記実施形態において、エンボス部45a,45b,45c,45dは、平面視で略矩形状を為して面状に形成された構成となっているが、そのような形状に必ずしも限定されるものではなく、例えば図7に示すブランクシート70のように、線状のエンボス部47a,47b,47c,47dを設けることも可能である。
なお、以下の説明では、上記カートン1及びブランクシート20と同等の部位については、説明を省略すると共に、図面において同じ符号を付すものとする。
In addition, this invention is not necessarily limited to the structure of the said carton 1, In the range which does not deviate from the meaning of this invention, a various change can be added.
Specifically, in the above-described embodiment, the embossed portions 45a, 45b, 45c, and 45d are configured to have a substantially rectangular shape in plan view, but are not necessarily limited to such a shape. However, it is also possible to provide linear embossed portions 47a, 47b, 47c, and 47d as in the blank sheet 70 shown in FIG.
In addition, in the following description, about the site | part equivalent to the said carton 1 and the blank sheet | seat 20, while omitting description, the same code | symbol shall be attached | subjected in drawing.

線状のエンボス部47a,47b,47c,47dは、図7、図8及び図9に示すように、各上面フラップ41,42,43,44における背面のメインパネル(一端の側板)31とこれに隣接する一方のサイドパネル32との間の第1罫線L1及び正面のメインパネル(他端の側板)34とこれに隣接する他方のサイドパネル33との間の第1罫線L1の近傍に位置して設けられている。また、背面のメインパネル31側のエンボス部45aと、一方のサイドパネル32側のエンボス部45bとは、胴部30aを起函する前の折り畳み状態において互いに交差する方向に延長して設けられると共に、正面のメインパネル33側のエンボス部45cと、他方のサイドパネル34側のエンボス部45dとは、胴部30aを起函する前の折り畳み状態において互いに交差する方向に延長して設けられている。すなわち、一方の上面フラップ41,43に設けられた線状のエンボス部47a,47cと、他方の上面フラップ42,44に設けられた線状のエンボス部47b,47dとは、サック貼り前のブランクシート70においては互いに平行な方向に延長して設けられている。   The linear embossed portions 47a, 47b, 47c, and 47d are connected to the main panel (one side plate) 31 on the rear surface of each of the upper surface flaps 41, 42, 43, and 44, as shown in FIGS. The first ruled line L1 between one side panel 32 adjacent to the first ruled line L1 and the first ruled line L1 between the front main panel (side plate at the other end) 34 and the other side panel 33 adjacent to the first ruled line L1. Is provided. In addition, the embossed portion 45a on the main panel 31 side on the back and the embossed portion 45b on the side panel 32 side are provided so as to extend in directions intersecting with each other in the folded state before the trunk portion 30a is opened. The embossed portion 45c on the front main panel 33 side and the embossed portion 45d on the other side panel 34 side are provided so as to extend in directions intersecting with each other in the folded state before the trunk portion 30a is opened. . That is, the linear embossed portions 47a and 47c provided on one upper surface flap 41 and 43 and the linear embossed portions 47b and 47d provided on the other upper surface flaps 42 and 44 are blanks before the sack is applied. The sheet 70 is provided so as to extend in directions parallel to each other.

このブランクシート70では、図10に示すように、サック貼り後に胴部30aが扁平状に折り畳まれた状態において、互いに折り重なる一方の上面フラップ41,43と他方の上面フラップ42,44との両側にそれぞれ対向して設けられたエンボス部45a,45b,45c,45dが互いに交差した状態で重なることになる。   In this blank sheet 70, as shown in FIG. 10, in the state where the trunk portion 30a is folded flat after the sack is applied, it is provided on both sides of the upper surface flaps 41 and 43 and the other upper surface flaps 42 and 44 that are folded on each other. The embossed portions 45a, 45b, 45c, and 45d provided so as to face each other overlap each other in a state of crossing each other.

これにより、互いに折り重なった一方の上面フラップ41,43と他方の上面フラップ42,44との面同士が密着することを防止し、上述した充填工程においてブランクシート70を起函しようとしたときに、扁平状に折り畳まれた胴部30aの両端、すなわち背面のメインパネル31と一方のサイドパネル32との間の第1罫線L1に沿った部分と、正面のメインパネル34と他方のサイドパネル33との間の第1罫線L1に沿った部分とを互いに近接する方向に押圧するだけで、この扁平状に折り畳まれた胴部30aを角筒状に適切且つ容易に起函させることが可能である。   This prevents the surfaces of the one upper surface flaps 41, 43 and the other upper surface flaps 42, 44 from sticking to each other, and when trying to unfold the blank sheet 70 in the filling step described above, Both ends of the body portion 30a folded in a flat shape, that is, a portion along the first ruled line L1 between the main panel 31 on the back side and one side panel 32, the main panel 34 on the front side, and the other side panel 33 By simply pressing the portions along the first ruled line L1 between them in a direction approaching each other, it is possible to appropriately and easily raise the trunk portion 30a folded in a flat shape into a rectangular tube shape. .

したがって、この場合も、折り畳んだ状態のまま長時間保管されたブランクシート70であっても適切に起函させることが可能であり、このようなブランクシート70から構成される容器本体2に粉末洗剤を充填する工程において、扁平状に折り畳まれた胴部30aが角筒状に起函しないなどの生産上のトラブルを、充填設備の改良等を行うことなく、未然に防ぐことが可能である。   Therefore, even in this case, even the blank sheet 70 stored in a folded state for a long time can be properly opened, and the container body 2 composed of such a blank sheet 70 can be used as a powder detergent. In the process of filling the product, it is possible to prevent production troubles such as the trunk portion 30a folded flat into a rectangular tube shape without improving the filling equipment.

図1は、本発明を適用したカートンの一構成例を示す斜視図である。FIG. 1 is a perspective view showing a configuration example of a carton to which the present invention is applied. 図2は、図1に示すカートンを構成するブランクシートの平面図である。FIG. 2 is a plan view of a blank sheet constituting the carton shown in FIG. 図3は、図2に示すブランクシートのサック貼り後の折り畳み状態を示す平面図である。FIG. 3 is a plan view showing a folded state of the blank sheet shown in FIG. 図4は、エンボス部の構成を示す要部平面図である。FIG. 4 is a main part plan view showing the configuration of the embossed part. 図5は、エンボス部の構成を示す要部斜視図である。FIG. 5 is a main part perspective view showing the configuration of the embossed part. 図6は、ブランクシートが扁平状に折り畳まれた状態におけるエンボス部を説明するための図であり、(a)はその要部平面図、(b)はその要部断面図である。FIG. 6 is a view for explaining an embossed portion in a state in which the blank sheet is folded flat, (a) is a plan view of the main part, and (b) is a cross-sectional view of the main part. 図7は、本発明を適用したカートンの別のブランクシートの構成を示す平面図である。FIG. 7 is a plan view showing the configuration of another blank sheet of a carton to which the present invention is applied. 図8は、エンボス部の別の構成を示す要部平面図である。FIG. 8 is a main part plan view showing another configuration of the embossed part. 図9は、エンボス部の別の構成を示す要部斜視図である。FIG. 9 is a perspective view of a main part showing another configuration of the embossed part. 図10は、図7に示すブランクシートが扁平状に折り畳まれた状態におけるエンボス部を説明するための要部平面図である。FIG. 10 is a main part plan view for explaining an embossed part in a state where the blank sheet shown in FIG. 7 is folded flat.

符号の説明Explanation of symbols

1…カートン 2…容器本体 3…蓋体 30…本体パネル 31,32,33,34…側板 35…糊代 36…ヒンジ部 37…差込み口 41,42,43,44…上面フラップ 45a,45b,45c,45d…エンボス部 46A,46B…切欠き部 46a…傾斜部 46b…平行部 47a,47b,47c,47d…エンボス部 51,52,53,54…底面フラップ 60…ロック機構 61…摘み片 62…ロック片 70…ブランクシート   DESCRIPTION OF SYMBOLS 1 ... Carton 2 ... Container main body 3 ... Lid body 30 ... Main body panel 31,32,33,34 ... Side plate 35 ... Glue margin 36 ... Hinge part 37 ... Inlet 41,42,43,44 ... Upper surface flap 45a, 45b, 45c, 45d ... Embossed portion 46A, 46B ... Notch portion 46a ... Inclined portion 46b ... Parallel portion 47a, 47b, 47c, 47d ... Embossed portion 51, 52, 53, 54 ... Bottom flap 60 ... Lock mechanism 61 ... Pick piece 62 ... Lock piece 70 ... Blank sheet

Claims (7)

板紙に罫線を入れて裁断されたブランクシートを備え、前記ブランクシートは、第1罫線を挟んで順次隣り合う4つの側板と、第1罫線を挟んで一端の側板と隣り合う糊代とが前記第1罫線と直交する方向に順次連接された本体パネルと、前記本体パネルの前記第1罫線と直交する一辺に沿った第2罫線を挟んで前記側板と連接された4つの上面フラップと、前記本体パネルの前記第1罫線と直交する他辺に沿った第3罫線を挟んで前記側板と連接された4つの底面フラップとを有し、
前記各上面フラップを前記第2罫線に沿って折り曲げて、前記各側板の内面に貼着し、前記本体パネルを前記第1罫線に沿って折り曲げて、前記糊代を他端の側板に貼着することによって、扁平状に折り畳まれた胴部とし、この扁平状に折り畳まれた胴部を角筒状に起函した後に、前記各底面フラップを前記第3罫線に沿って折り曲げて、前記胴部の底面開口部を封緘することによって容器本体が構成されるカートンであって、
前記胴部を起函する前の折り畳み状態において互いに折り重なる少なくとも一方の上面フラップには、他方の上面フラップ側に向かって凸状を為すエンボス部が設けられていることを特徴とするカートン。
A blank sheet is formed by cutting a paper board with a ruled line, and the blank sheet has four side plates sequentially adjacent to each other with the first ruled line interposed therebetween, and an adhesive margin adjacent to the one side plate with the first ruled line interposed therebetween. A main body panel sequentially connected in a direction orthogonal to the first ruled line, four upper surface flaps connected to the side plate across a second ruled line along one side orthogonal to the first ruled line of the main body panel, Four bottom flaps connected to the side plate across a third ruled line along the other side perpendicular to the first ruled line of the main body panel;
Each upper surface flap is bent along the second ruled line and adhered to the inner surface of each side plate, the main body panel is folded along the first ruled line, and the adhesive margin is adhered to the other side plate. By forming the body part folded in a flat shape, the body part folded in the flat shape is raised in a rectangular tube shape, and then the bottom flaps are folded along the third ruled line to form the body part. A carton in which the container body is configured by sealing the bottom opening of the part,
A carton, wherein at least one upper surface flap that overlaps with each other in a folded state before raising the body portion is provided with an embossed portion that is convex toward the other upper surface flap side.
前記エンボス部は、前記各上面フラップにおける前記一端の側板とこれに隣接する側板との間の第1罫線及び前記他端の側板とこれに隣接する側板との間の第1罫線の近傍に位置して設けられていることを特徴とする請求項1に記載のカートン。   The embossed portion is positioned in the vicinity of the first ruled line between the side plate at the one end and the side plate adjacent thereto on each upper surface flap and the first ruled line between the side plate at the other end and the side plate adjacent thereto. The carton according to claim 1, wherein the carton is provided. 前記一方の上面フラップに設けられた線状のエンボス部と、前記他方の上面フラップに設けられた線状のエンボス部とが、前記胴部を起函する前の折り畳み状態において互いに交差する方向に延長して設けられていることを特徴とする請求項1又は2に記載のカートン。   In a direction in which the linear embossed portion provided on the one upper surface flap and the linear embossed portion provided on the other upper surface flap cross each other in the folded state before the trunk portion is opened. The carton according to claim 1 or 2, wherein the carton is extended. 前記上面フラップの側端部には、前記第1罫線との間で隙間を形成する切欠き部が設けられていることを特徴とする請求項1〜3の何れか一項に記載のカートン。   The carton according to any one of claims 1 to 3, wherein a notch portion that forms a gap with the first ruled line is provided at a side end portion of the upper surface flap. 前記切欠き部は、前記上面フラップの基端部から先端部に向かって、前記隙間が漸次拡大する方向に斜めに形成された傾斜部と、この傾斜部から先端部に向かって、前記隙間が一定となるように前記第1罫線とは平行に形成された平行部とを有し、
前記胴部を起函する前の折り畳み状態において互いに折り重なる一方の上面フラップと他方の上面フラップとは、その間の第1罫線との間に形成される隙間の幅が異なっており、なお且つ、前記一方の上面フラップに設けられた切欠き部が前記他方の上面フラップに設けられた切欠き部の内側又は外側に位置することを特徴とする請求項4に記載のカートン。
The notch includes an inclined portion formed obliquely in a direction in which the gap gradually expands from a proximal end portion of the upper surface flap toward the distal end portion, and the gap from the inclined portion toward the distal end portion. A parallel part formed in parallel with the first ruled line so as to be constant;
The width of the gap formed between one upper surface flap and the other upper surface flap that fold over each other in the folded state before the trunk portion is opened, and the first ruled line therebetween, and The carton according to claim 4, wherein a notch provided in one upper surface flap is located inside or outside a notch provided in the other upper surface flap.
前記上面フラップの基端部において前記第1罫線との間に形成される隙間が、前記本体パネルを前記第1罫線に沿って折り曲げたときに当該第1罫線上に形成される突条部分に当該上面フラップの側端部が接触可能な幅で形成されていることを特徴とする請求項4又は5に記載のカートン。   A gap formed between the base end portion of the upper surface flap and the first ruled line is a protrusion formed on the first ruled line when the main body panel is bent along the first ruled line. The carton according to claim 4 or 5, wherein a side end portion of the upper surface flap is formed with a width capable of contacting. 前記容器本体の上面開口部を覆う蓋体を備えることを特徴とする請求項1〜6の何れか一項に記載のカートン。   The carton according to any one of claims 1 to 6, further comprising a lid that covers an upper surface opening of the container body.
JP2008187765A 2008-07-18 2008-07-18 carton Pending JP2010023884A (en)

Priority Applications (1)

Application Number Priority Date Filing Date Title
JP2008187765A JP2010023884A (en) 2008-07-18 2008-07-18 carton

Applications Claiming Priority (1)

Application Number Priority Date Filing Date Title
JP2008187765A JP2010023884A (en) 2008-07-18 2008-07-18 carton

Publications (1)

Publication Number Publication Date
JP2010023884A true JP2010023884A (en) 2010-02-04

Family

ID=41730074

Family Applications (1)

Application Number Title Priority Date Filing Date
JP2008187765A Pending JP2010023884A (en) 2008-07-18 2008-07-18 carton

Country Status (1)

Country Link
JP (1) JP2010023884A (en)

Cited By (2)

* Cited by examiner, † Cited by third party
Publication number Priority date Publication date Assignee Title
JP2022072133A (en) * 2020-10-29 2022-05-17 レンゴー株式会社 Packaging box and blank
JP7652873B2 (en) 2022-12-19 2025-03-27 ザ プロクター アンド ギャンブル カンパニー Lid corners with inner layer cutouts

Cited By (2)

* Cited by examiner, † Cited by third party
Publication number Priority date Publication date Assignee Title
JP2022072133A (en) * 2020-10-29 2022-05-17 レンゴー株式会社 Packaging box and blank
JP7652873B2 (en) 2022-12-19 2025-03-27 ザ プロクター アンド ギャンブル カンパニー Lid corners with inner layer cutouts

Similar Documents

Publication Publication Date Title
JP5955077B2 (en) Packaging box
JP4882772B2 (en) Reclosable paper box
JP3185840U (en) Packaging box
JP2012140140A (en) Sheet connection structure of packaging case and the packaging case
JP7119306B2 (en) Method of filling contents into packaging container
JP2010023884A (en) carton
JP5507358B2 (en) Packaging container
JP5258081B2 (en) Paper carton
JP2004203472A (en) Packaging box
JP2007204059A (en) Liquid container with spout
JP4813316B2 (en) carton
EP2261128A1 (en) A blank and method suitable for sandwich packaging
JP2019043618A (en) Packaging box
JP3730602B2 (en) Packaging box
JP4612175B2 (en) Easy-open carton with display panel
JP2009202882A (en) Simple assembly type corrugated fiberboard box
JP2010100307A (en) Self-standable carton
JP3194136U (en) Resealable packaging box
JP4003481B2 (en) Retort pouch storage container
JP4334763B2 (en) Carton for granular material with additional cover
JP3217754U (en) Packaging box with information card
JP4676592B2 (en) Carton with display panel
JP3097545U (en) Packaging box
JP3110523U (en) Packaging box
JP4815929B2 (en) Makeup box