JP2010019073A - 多段組子接合軸組 - Google Patents

多段組子接合軸組 Download PDF

Info

Publication number
JP2010019073A
JP2010019073A JP2009132962A JP2009132962A JP2010019073A JP 2010019073 A JP2010019073 A JP 2010019073A JP 2009132962 A JP2009132962 A JP 2009132962A JP 2009132962 A JP2009132962 A JP 2009132962A JP 2010019073 A JP2010019073 A JP 2010019073A
Authority
JP
Japan
Prior art keywords
shaft assembly
assembly
frame
sides
fixed
Prior art date
Legal status (The legal status is an assumption and is not a legal conclusion. Google has not performed a legal analysis and makes no representation as to the accuracy of the status listed.)
Granted
Application number
JP2009132962A
Other languages
English (en)
Other versions
JP5650383B2 (ja
Inventor
Satoshi Ishihara
聡 石原
Current Assignee (The listed assignees may be inaccurate. Google has not performed a legal analysis and makes no representation or warranty as to the accuracy of the list.)
Individual
Original Assignee
Individual
Priority date (The priority date is an assumption and is not a legal conclusion. Google has not performed a legal analysis and makes no representation as to the accuracy of the date listed.)
Filing date
Publication date
Application filed by Individual filed Critical Individual
Priority to JP2009132962A priority Critical patent/JP5650383B2/ja
Publication of JP2010019073A publication Critical patent/JP2010019073A/ja
Application granted granted Critical
Publication of JP5650383B2 publication Critical patent/JP5650383B2/ja
Expired - Fee Related legal-status Critical Current
Anticipated expiration legal-status Critical

Links

Images

Landscapes

  • Joining Of Building Structures In Genera (AREA)

Abstract


【課題】木造建築物などの軸組構造物の構築方法を提供する。
【解決手段】フレーム材で軸組接合用金具を挟み固定した複合軸組材を用いて構築する軸組構造物は、該軸組構造物の4辺が交差する軸組を交差する辺の組立て方法と対向する辺の固定方法とを多段に重ねた多段組子接合の構築方法により構築し、該軸組の各辺を複合軸組材四角形ユニットに構成して構築する軸組構造物であり、該軸組構造物は、該複合軸組材四角形ユニットで構成する立方体ブロックを奇数行列と偶数行列に配置する層を重ねて構築する、軸組構造物の構築方法。
【選択図】 図1

Description

本発明は、木造建築等の軸組構造物の接合部に鋼材を用いて接合する構築方法に関するものである。
木造建築物を剛構造とするために様々な金具が考案され、筋交いや耐力壁を設けずに造る木造建築物が考案されている。
特開平11−093261号公報にあるような、木材と鋼材との接合方法が輪型ジベルに代表されるジベル接合と、ドリフトピンなどに代表されるボルト接合を組み合わせたものなどで、様々な形状の金物が考案されている。
また、特開平11−280149号公報にあるような、鋼板を木材で挟んだ軸組材の金物をボルトで接合する方法がある。ボルトで接合するため、ボルトと木材が接する部分の木材がめり込みやすい。地震などの強い応力が掛かり一度めり込んでしまうとがたつきとなり、回復するのは難しい。施工方法は、木材に金物を取り付けながら施工する方法であるため、現場作業が多いと考えられる。工場にて木材に金物を組付けて現場に持ち込むなどの提案があるとよい。
それに対して、特開平11−50532号公報に、軸組接合金物をフレーム材の端部に接着し、各辺の軸組接合金物は、ボルト接合する方法が提案されている。この方法は、金物が露出するため金物の位置が支点から離れるほど、木材の建物の下地としての機能が損なわれることが考えられる。
特開2005−146718号公報に、木材で金物を挟んで、ビス締めして金物を固定する方法が提案されているが、特開平11−280149号公報と同様に現場作業が多く、作業性を高める提案が必要となった。また金物が大きく、木材も重量が大きいため組み立て作業を人力で行うことが難しくなると現場作業が困難になると考えられる。また、金物が大きいため在庫保管が難しく、商品化するこが難しいと考えられる。そのため受注生産という手段はコストを安くすることには向かない。
特開2001−329655号公報に鋼板を複数の木材で挟んで構成する軸組材がある。
この考案に用いられる金物は、ドリフトピンである。
特開平11−093261号公報 特開平11−280149号公報 特開平11−50532号公報 特開2005−146718号公報 特開2001−329655号公報
本発明は、木造建築物などの木材などの柱と横架材とを鋼材を用いて接合する構築方法を提供せんとするものである。
特開2001−329655号公報などのドリフトピンやボルトによる接合方法は、ボルトを使用する本数が少ない。本数が少ないため施工は比較的容易にできる。しかしながら、長期静荷重や、木材の乾燥収縮などの変形、地震などの強い衝撃によって、木材に金具がめり込む量が大きいことがわかっている。
さらに木が割れてしまうという危惧もある。少ない本数のボルトについて木割れが生じることは大きな耐力低下となる。そのため集成材に限定されるのである。
特開2001−329655号公報など複数の木材で鋼板を挟む考案は、ボルトを用いて鋼板を挟んだだけで、鋼板と木材が一体化するものなのかという問いがある。
一般的に木材の性質は柔らかく加工しやすいものである。従来より、木造建築で主に用いられる金物は釘である。特に2x4工法は、釘打ち工法とも呼ばれ、大量の釘を打ち込み建物の構造を支えることを実現している。それに対して、ボルトなどの金具は、木材同士を複雑な仕口により重ね合わせて、その仕口がはずれないようにする補強金具として用いられる。つまり、一般的に釘やビスは木材と相性が良く、ボルトは木材とは相性の悪いのである。木造の仕口では強度を出しにくい引張補強材として用いられることに限定することが良いのである。
特開2001−329655号公報では、釘や小径のビスなどを多数打ち込むための方法については示されていない。また利用する木材は集成材に限定される。単純に多数の小径ビスを打ち込むためにはそれにかかる手間について考察する必要がある。多数の小径ビスを打ち込むための効率的な工具と施工方法を実現すれば鋼板と木材を一体化させる効果的な軸組材が提案可能なのである。特に電動のインパクトドライバーはコードレスで強力で小型軽量化され、建築現場で利用される機会は従来より非常に多くなっている。特にコードレス型は、バッテリーやモーターの性能の向上にともなって作業効率が高いものとなっている。またコードレスであるため作業性に優れ、コードの引っ掛けによる転倒や落下物による事故を少なくすることなどが期待できる。
つまり本提案は、今後ますます性能向上による使い勝手の向上が見込まれる電動インパクトドライバーを用いる施工方法を提案することであり、多数の小径ビスを芯材となる鋼板と鋼板を挟む集成材に限らない木材とを一体化させることを目標とするものなのである。
輪型ジベルとドリフトピンやボルトによる接合方法など、多くの金具接合の工法は接合に用いる金具と木材の接合位置が接合部の支点に近いため接合部にかかる荷重が大きいと言う特徴がある。
金具接合の接合部においても接合部に掛かる応力を低減する接合部の考案が必要と考えられる。
木造建築物などを支える柱は土地に定着する基礎に強固に固定することが望ましい。
構築物の強度を高めるためには、柱脚部分の強度を増すことで、より強固な構築物と成すことが可能である。そのため、近年ホールダウン金物と呼ばれる基礎と柱を直に固定するボルトを用いて柱の引抜き応力に対応している。
木造建築物の柱は、防蟻、防腐の観点より、基礎に接する部分は防腐処理された土台を用いることが必要となっている。そのため木材の柱は、基礎に接することが望ましくないため強固に固定できないのである。
また、柱脚部分に鋼材を加工した鉄骨柱脚を設けて、鉄骨柱脚を介して柱を固定する方法が考案されている。しかしながら、柱も柱脚も木造建築にあっては、外装材や床材などの下地の機能を必要とするため、鉄骨柱脚は釘などを打ち付けることが出来ないため、木造の利点を損ったものとなっていることが多く見受けられる。
接着剤を用いた方法に共通の課題として、施工の初期の段階で強度が得られないため、強度が得られる段階に進むまでの期間に支保工などが必要となる。支保工の費用や、養生のための設備などに於いて課題があるものとなっている。
木材は経年的に変化をともなう素材である。ボルト接合では、木痩せによってナットが緩んでしまうことが知られている。そのため木材の経年的な変化に対しても安定した強度を維持する接合方法が必要とされている。
木材には節や割れなどの断面欠損による耐力低下が不規則にある。それに対しては、集成材を使う解決方法が一般的であるが、少し高価であり、水濡れに弱い。安価な無垢の材で建築することは建物のコストを下げるうえで重要な要素である。安価な2x4住宅に対して、集成材に頼る金具接合工法はコストが高い。メリットは様々に提案されているが、コストを下げることはメリットを提案する以上に意義高いことである。特に日本国外にあっては、必要な価格競争力であり、将来の国内の木造建築の在り方を勘案すると、価格競争力を国際的な水準において高めることは重要な要件と考えられる。
また天然の素材をそのまま利用できることは化学物質を用いない建築材料の利用となり健康的で安全であり評価できる。
また将来取壊すときに、木材と鋼材を分別しやすくする必要性も指摘されている。木材の分別、再利用と言うことでは、無垢の木材は集成材よりも分別と再利用可能な範囲が広い。
木造建築物は、使用する木材を生産するために必要な電力などの消費エネルギーが他の構造の建築物に比べて極めて少ないという特徴があり、地球温暖化の抑制に効果的な素材といえる。そのため木造建築の活用範囲を拡大することは意義高いことである。
木材は加工の容易な素材であり、壁や床材などの下地としての性能に優れ、高い施工性が大きなメリットとなっており、建造コストの安い建築物とすることができる。そのため従来以上に木造建築物の活用範囲を広げることが求められている。
例えば筋交いなどを用いない木造軸組である。
建築基準法により規定された木造建築物は、筋交いなどにより水平力に抵抗するため、建物全体にバランスよく筋交いを設ける必要があり、建物の設計においては筋交いのレイアウトのバランスを考慮しながら設計する必要がある。そのため自由な間取りを求めることが難しいものとなっている。実際に住宅以外の用途の建物では木造建築は限られ、主に鉄骨や鉄筋コンクリートによる剛構造のラーメン軸組工法が主として用いられる。木造建物の主な用途の住宅にあっても、顧客の要望を良く満足しているとは言えない。
阪神淡路大震災、新潟中越地震などの巨大地震が頻発しており、東南海地震の発生が予見されているため、より安定した強度の木造軸組工法が求められている。
単純梁と連続梁の強度の違いは明白で連続梁とすることが望ましい。しかしながら木材を用いた従来の構築物では、いったん途切れた木材を強度を維持して連続させることは普及していない。木造建築物の柱や梁が直線に連続する連続梁を実現するためには、充分な強度の接合部が必要である。連続梁の実現は、木造建築物の強度を上げるためには必要不可欠なことといえる。
2x4工法は強固で、施工が簡単な工法として世界的に普及した木造建築物の構築工法である。
その特徴は、合板で組み立てられた耐力壁を均等にレイアウトすることと、プラットホームと呼ばれる合成床によって強度を確保することを特徴としている。
前記の特徴のため壁と床を構造上必要とする。壁や床は空間を区切るものでもあるため間取りの形成には支障となる。
また辺を繋ぐ部分も釘で繋ぐものであり、強い強度を必要とする交差部分を構築することは出来ないため、接合部は適量の壁を設けることで各辺の壁ごとに強度を維持している。
交差部分に壁が必要となることは2x4工法のプランニング上の規則となっており、構造上の制約となっている。
本発明は、前記実情に鑑み提案されたもので、木造建築物などの木材などの柱と横架材とを鋼材を用いて接合する、長期間に渡って安定した構築方法を提案することを目的としている。
請求項1に記載の軸組構造物とは、主要構造部を柱と横架材などによって構築する構造物である。
請求項1に記載のフレーム材とは、木造建築物などの軸組構造物を構成する木材などである。
請求項1と請求項10に記載の軸組接合用金具とは、各辺の軸組材を接合するための軸組接合用の金具で、該軸組接合用金具は接合部に限った大きさとし、各辺の軸組材の組立て方法や、固定方法に合わせた形状で、アンカーボルトや補強用鋼板の取付けなどの付加機能も合わせ持つ形状に鋼板を切り抜き、小径ビスなどの貫通孔などを穴開けした鋼板またはフランジ付き鋼板である。
フランジ付き鋼板は、小径ビスなどで鋼板とフレーム材を固定するが、接合部の強度を高めるため、鋼板の断面形状をT字型状やL字型状などに加工して、フレーム材の上下面に当接させるものである。T字型状の形にするためには、型鋼を用いるか鋼板を溶接または曲げ加工して作成すればよい。
軸組接合用金具は、接合部に限った大きさであるため、小型トラックで運搬可能で、人力で荷降ろしや移動が可能な重量とすることができる。このことはクレーンなどを使わずに組み立て作業を可能とするもので、使用する木材も人力で移動可能なため、クレーンなどを補助的な活用とすることが可能で、様々な設計条件に合わせた組み立てがしやすいものとなる。
請求項1に記載の軸組材とは、木造建築物などの軸組構造物の一辺を構成する部材である。
本提案の軸組材はフレーム材の端部に軸組接合用金具を取り付け、軸組接合用金具を複数のフレーム材で挟んだ構成で、フレーム材と軸組接合用金具とが、多数の小径ビスで隙間なく固定された、フレーム材と軸組接合用金具とが複合した構成の、複合軸組材である。
鋼材の利点は、木材と比較して強度が非常に高いため、接合支点に用いて曲げ応力と剪断応力が掛かっても弾性範囲内で設計が可能な素材である。そのため、高い強度の軸組を実現できる。これは木材では実現不可能な耐力である。
鋼材の欠点は、鋼板の状態では、幅厚比が大きいため、ひねって容易に破壊されてしまう。そのため型鋼を用いたり、補剛材を溶接したりすることで鋼板の座屈補強を必要とする。重量が重く、固いこと。軽量の工具では加工に手間がかかること。建築材料を取り付けるための下地材として不適であること。生産コストが高い。生産のためのエネルギー消費が大きい。などがある。
木材の利点としては、木材は断面の大きな密実な素材の状態で利用可能であるため、剛性が高い。軽量であること、加工が容易であること。建築材料を取り付けるための下地材として最適であること。生産コストが安い。生産のためのエネルギー消費が小さい。地産地消が可能なこと。などが上げられる。
木材の欠点としては、柔らかい素材であるため、強度が低いことである。特に軸組構造物の接合部に用いるためには強度が不足する。また自然素材であるため寸法安定性が悪い。節や虫食などの断面欠損がある。強度のばらつきが大きい。などのことが構造素材としての欠点となっている。
前記の特徴より、軸組接合金具を木材で挟んで小径ビスなどでの固定金具を固定した異種材料が複合した構成とすることで、軽量で十分な強度と剛性を持つ軸組材にできる。
請求項1に記載の多数の小径ビスとは、線径が3から5ミリ程度の木工用のビスで、電動ドライバーを用いて木材にねじ込んで固定するものである。多数とは、必要な本数が一般的に用いられるボルトと比較して10倍程度に増えるためである。
釘などと併用することも作業効率や引き抜き耐力などを検討しながら選定すればよい。
請求項1に記載の貫通孔とは、前記小径ビスが嵌合して貫通するための穴で、小径ビスの線径と同寸法か僅かに大きい円形の穴で、鋼板に多数開けるものである。該貫通孔に小径ビスなどを貫通させるため、小径ビスと鋼板には隙間が生じることがなく、接合部のガタツキを生じない。
木材と鋼材は強度と固さの違いが非常に大きいため、木材と小径ビスが接する部分を小さくし分散させる。応力を分散させることで、木材に鋼材がめり込むなどによって生じるガタツキなどの障害を最小限にできる。
つまり、多数の小径ビスによって木材と鋼材を接合することは、接合部に必要な面内方向の安定した耐力を得られることとなる。
前記の施工法を実現するためには、多数の小径ビスを効率よくねじ込み、鋼板を貫通させる作業方法が必要となる。その作業方法は、特開2004−19345号公報に示す方法によって実現可能である。
請求項2に記載の組子組みは、和風建築の障子などの桟木の組み合わせに使われる組子と呼ばれる格子の組み立て方法である。交差する各辺が交差する部分に部材の厚みと同じ巾の凹状の切欠きを設け、凹状の切欠きを向い合わせて、差し込み、重ね合わせて組み立てる組立て方法である。直交する辺の接合部では、面内の応力対して、相互の辺の切欠き部分の欠損を圧縮側は補うことが出来る。
本提案では、軸組が交差する部分の軸組接合金具に軸組接合金具の鋼板の厚みと同じ巾の凹状の切り欠きを設け、凹状の切欠きは軸組接合金具の高さの半分の深さとして、双方の軸組接合金具の凹状の切欠きを向い合わせて差し込み交差する軸組を作るものである。交差する角度が90度のときは、組み付けることで強度を発揮できる。交差する角度が90度でないときは、鋼材を溶接するなどによって強度を発揮する必要がある。
組子組みする軸組接合金具は厚みの薄い鋼板を用いるため、組子組みした部分の鋼板はひねって壊れやすい。本提案では、複合軸組材が軸組接合金具をフレーム材で覆う構成であり、接合する軸組材のフレーム材を当接させることで、ひねり防止措置とすることが出きる。
接合部の軸組接合金具を芯材とし、該軸組接合金具を組子組みし、フレーム材で該軸組接合金具の組子組みした部分がひねらないように覆い固定することで高い強度を持つ接合部とすることができる。
本提案では、 ひねり防止措置を木材と鋼板の複合素材とすることで解決しているが、鋼板を曲げ加工などすることでも様々なひねり防止措置が提案できる。
柱と横架材で構成する木造建築物などを構成する軸組の接合部は、交差する辺と、対向する辺の2種類の接合方法が必要となり、2種類の接合方法をひとつの支点において実現することで四辺が組み合わさる接合が可能となる。
交差する辺の軸組材の接合方法は、双方の辺の軸組材に組み付けられた軸組接合金具を組子組みによって組み合わせて接合する。鋼板による組子組みは、必要な強度に対して鋼板の厚みが小さいため鋼板が容易に座屈してしまう。本提案では、鋼板を木材などのフレーム材によって隙間なく覆うことで必要な剛性を得て座屈を防ぐ。
対向する辺の軸組材の接合方法は、軸組接合金具の高さをフレーム材の高さの半分とし、一方の辺はフレーム材の下半に挟み固定し、他方の辺はフレーム材の上半に挟み固定する。そうしたときに、一方の辺の軸組材には、他方の辺の軸組接合金具を差し込むためのスリットが形成されるため、該スリットに双方の軸組接合金具を差し込んで組み付け、小径ビスなどで固定することで、対向する辺の軸組材を固定する。
4辺が交差する接合部は、前記の交差する辺と対向する辺とが複合したものとなる。
4辺のうちの交差する2辺については軸組接合金具をフレーム材の下半に小径ビスなどで挟み固定し請求項2に記載の交差する辺の組み立て方法により組み立てる。該辺のうち軸組接合金具の凹状の切り欠きが上向きを1段目、該凹状の切り欠きが下向きを2段目とする。残る交差する2辺については軸組接合金具をフレーム材の上半に小径ビスなどで挟み固定し、該辺のうち凹状の切り欠きが上向きを3段目、凹状の切り欠きが下向きを4段目として請求項2に記載の交差する辺の組み立て方法の構成とする。1段目と3段目、2段目と4段目の辺は請求項3に記載の対向する辺の固定方法により固定する。
最下層の辺と最上層の辺で、中間の2辺を挟む構成としていることで、4辺を強固に固定できる。この凹状の切欠きの向きの組み合せについては、切欠きの断面欠損を補う設計により、強度の得やすい組み合わせにすればよい。
組子組みを2組み上下に重ねた4辺の構成は二重の組子組みとなる。
交差する2辺の組子組み接合によって自重で固定できるが、連続梁を形成する剛接合の場合は支点に浮き上り応力が掛かるため自重による固定とせず、二重の組子組みとすることに利点がある。
本提案の軸組構造物の構築方法は、2層の横架材と横架材両端の柱が四角形を形成した一体の複合軸組材四角形ユニットに形成し、構築するものである。
複合軸組材四角形ユニットは2層の横架材で、柱を挟む構成が特徴で、建物の長期静荷重を横架材より柱に無理なく伝えることとなる。柱に金物が取り付くための切欠きを設けることなく鉛直荷重を柱に伝達するため、柱勝ちの形式に見られる、梁のホゾの切削による柱の断面の減少による強度の低下を生じない。
複合軸組材四角形ユニットは各辺ごとに独立した部材で、各辺の独立した複合軸組材四角形ユニットを組みあわせ固定して軸組構造物を形成する。
複合軸組材四角形ユニットを連結させる形態では、柱は各辺ごとにあり各辺を組み合わせることで、柱は集合体となり束ね柱の形態となる。束ね柱の形態となることで柱の強度や剛性を効率良く高めることとなる。
各辺の柱単体は断面積が小さくても、各辺の柱を束ねることで柱の剛性を高め、細長比を大きくし座屈に強くできる。
軸組接合用金具は、大型のプレス機械を用いた生産拠点で製作し、複合軸組材四角形ユニットの組み立ては、施工現場に近い木工工場で行うという仕組みによって、全国的な普及が可能である。
請求項6に記載の立方体ブロックとは、複合軸組材四角形ユニットで構築する立方体の最小のものであり、各辺が直交する四辺で構成する6面体型が良い。他には三辺で形成する型やサッカーボール型など様々な立方体ブロックが検討できる。二重組子組み接合となる本提案においては、各辺が直交することで容易に強度を発揮できるため立方体ブロックは6面体型に利点がある。
各辺が直交しない形状においては、組子組み部分を溶接などで接合すればよい。三辺で形成する形などは平面形が安定するため平面剛性を高められる利点がある。
立方体ブロックによる構築方法は、図10に示すように、前記の複合軸組材四角形ユニットを請求項2に記載の交差する辺の接合方法によって立方体ブロックに形成する。該立方体ブロックを奇数行列に配した層41を形成する。奇数行列の間となる偶数行列の該立方体ブロックは、奇数行列を配した層の上段の層42に配する。該立方体ブロックをひとつおきに作るのである。偶数行列の立方体ブロックの底辺が奇数行列の立方体ブロックの上辺を、請求項3に記載の対向する辺の接合方法によって連結し固定することとなる。
奇数行列と偶数行列に分けて施工するブロック施工により軸組構造物を完成させる。
軸組構造物の接合部において、軸方向力以外の面外方向の応力に対する耐力を得る必要がある。
面外方向に生じる応力は、床板や水平ブレース、火打材などの木材を利用することで、必要な耐力を得ることは可能であり、その方が強度が得やすく合理的である。
しかしながら接合部においても面外方向の強度を高めることは、様々な要件に対応するために必要な要素である。
そのため接合部の面外方向の強度を高めるための補強として、いくつかの方法を提案する。
本提案の接合部の特徴の1つは、接合部の各辺のフレーム材双方の端部が当接する形状となっていることである。フレーム材端部を当接させることは、軸組接合金具の剛性の不足を補うためであるが、軸組の面外応力に対して、当接するフレーム材の当接面の圧縮耐力によって面外応力の耐力を得られることについても利点となっている。
しかしながら、フレーム材端部を当接させることは、組立ての精度を考慮すると充分に効果を得ることは難しいことも予想される。その対策として、双方のフレーム材の両外面を繋ぎ固定することでフレーム材が当接する接合面に面外応力に対して引張耐力を負担させることができる。フレーム材の両外面を繋ぎ固定するため平金物などを用いるとよい。 該平金物は、鋼板に木ビスなどを貫通させる孔を開けたもので、鋼板に木ビスを貫通させ、複数の木材などを繋ぎ、固定する部品のことである。平金物などを用いて、当接するフレーム材の両外面を繋ぎ固定することでフレーム材端部当接する面に引張耐力を得ることが出来、面外方向の応力に対して耐力を得ることができる。
柱と横架材が当接する部分の接合部は、1つの鋼板に複数のフレーム材が取付く形式である。該接合部の双方のフレーム材が当接する接合面の形状をクランク形などの噛合い状とすることで、接合部に生じる面外応力によって軸組接合金具に単純曲げが生じないようにする。接合面を噛合い状とすることで、面外応力に対して、軸組接合金具の剪断耐力を得られることとなる。
軸組の接合支点の中心の位置で、軸組接合用の鋼板の面と直交する面に設ける補強鋼板で、該補強鋼板は軸組接合金具の厚みと同寸法の凹型の切欠きを軸組の構成に合わせて設け、該切欠きに各辺の軸組接合金具を差し込むことで、各軸組の面外方向に生じる応力に対して耐力を得られる。また軸組が接合する角度の精度を施工の初期段階で得ることも出来る。
施工の初期の段階で接合角度の精度を得られる利点は、効率良い施工を実現できる。工事に際し、この鋼板を接合部にはめ込むだけで、接合部の角度がだせる。
精度と強度が施工の初期段階で出せることの利点は大きい。
本提案では、軸組構造物を土地に定着するコンクリート基礎などと固定するため、軸組構造物の柱脚部分は、軸組接合金具を柱脚用に加工した柱脚用軸組接合金具を用いて、上部軸組の接合と同様の接合方法で構築する、羽根留め柱脚とした。
請求項7に記載の羽根留め柱脚に用いる柱脚用軸組接合金具は、請求項1に記載の複合軸組材を形成する軸組接合金具で、土台と柱を接合し、アンカーボルトを固定するものである。
柱脚用軸組接合金具は土地に定着する基礎と直角に当接する形態となる。
柱脚用軸組接合金具は、フレーム材に挟み固定されているため、アンカーボルトを固定しても座屈などによる変形を起こさない。
柱脚用軸組接合金具にアンカーボルトを固定するために、接合支点より柱の外側にアンカーボルトを固定できるように該柱脚用軸組接合金具を接合支点より柱の外側にはみ出し、はみ出した部分に羽根金具19を用いてアンカーボルトを固定する。
アンカーボルトを固定するために羽根金具を用いずに、柱脚用軸組接合金具を羽根金具状に加工しても良い。
土地に定着するコンクリート基礎に軸組構造物の柱脚用軸組接合鋼板をアンカーボルトにより直接固定する。
アンカーボルトは各辺の柱の外側と接合支点の中心の位置に固定する事が可能である。 例えば建物の外周の柱については、建物の外に基礎やボルトを突き出させることなく、各方向に2本のアンカーボルトを固定できる。そのため各方向の面内の耐力が得られる。
柱脚を含む複合軸組材四角形ユニットは、複合軸組材四角形ユニットの底辺を請求項2に記載の交差する辺の接合方法で構築し、柱脚用軸組接合金具に取り付けた羽根金具にアンカーボルトを取り付け基礎と固定する。
柱脚を含む複合軸組材四角形ユニットの底辺は、底辺の軸組材がアンカーボルトで基礎に固定されるため、対向する辺の固定方法とする必要はない。
請求項11に記載の各辺の柱とは、軸組の辺を構成する柱で、軸組の各辺の両端に配するものである。
請求項11に記載の軸組の柱とは、軸組を構成する柱で、前記各辺の柱を各辺を固定する軸組接合金具で固定することで、各辺の柱を一体の構造体としたものである。この一体の構造体となった軸組の柱が軸組構造物の柱である。
各辺の柱を固定する軸組接合金具は横架材ごとにあり、各辺の柱は比較的小径のものを使用することがあるため、軸組の柱が座屈しやすいことがある。座屈防止のため合板や平金物などを用いて各辺の柱を固定することで、柱の剛性が高まり高い強度の柱を実現できる。
また、接合支点の中心は空洞となり、接合支点の中心から少し離れて各辺の柱を配することとなるため、接合支点の中心にボルトなどの金具を設けたりしやすい利点がある。
軸組の柱は、断面積を大きくすることが可能であり、大きな曲げモーメントに抵抗できる。
軸組材を複合軸組材四角形ユニットに形成してブロック施工する組み立て方法以外に、軸組接合金具で接合部を先に組み立てておき、フレーム材と接合部を小径ビスで固定して構築物を組み上げる方法がある。
請求項11に記載の複合軸組材で構成する各辺の柱が集合した一体の構造体にした軸組の柱を組み立てて施工する方法となる。
施工方法は、あらかじめ接合部の軸組接合金具を構造物の形状に合わせて組み立てておく、柱の脚部と頂部に軸組接合金具を組子組みした接合部を小径ビスで仮固定する。
軸組の柱が交差する接合支点にあって、各辺の柱が一体化された集合柱の形態で、基礎上の所定の位置に立てる。
横架材が取り付く部分の接合鋼板は剥き出しとなっており、柱が取り付く部分は完成した状態となる。
横架材となるフレーム材を、柱の頂部に載せ、フレーム材で軸組接合鋼板を挟み、小径ビスで仮付けを行う。柱の脚部に取り付く土台となる横架材も同様にして柱に組み付ける。
全ての横架材を同様の方法で軸組接合金具に固定し、仮付けを行い、柱を所定の位置にアンカーボルトで固定し、その後建て起し作業を行い、全てのビスを打ち込み本締めし、アンカーボルトを本締めし、組み立て終了となる。
軸組接合金具には、鋼板の厚みと同じ巾の凹状の切欠きと小径のビス穴を配設する、それらの加工は打抜きやプレスなどの工作機械によって加工を行うことが安価で良い。しかし小径の穴開けを行う際に、鋼板の厚みが大きいと加工機の刃物の消耗が大きいとか、加工が難しいという課題がある。例えば貫通孔が4ミリメートルの直径だとすると鋼板の厚みは、4ミリメートル以内とすることが良いということがある。しかし建築物の接合部の設計にあっては、鋼板の厚みが4ミリ程度では不足するということがある。そのため軸組接合金具を複数枚重ねて利用することで、強度の不足を補うことが可能となる。特に辺が交差する部分は組子接合とするため、組子の部分の断面積が半分になっているため、強度の不足を補うために組子接合の部分のみ板を複数枚重ねて溶接して用いることも効果的である。
この発明は前記した手段を用いることで、以下に説明するような効果を奏することができる。
木造建築物においては、接合部分を鋼板と木材の複合した構成とすることで、高い強度の接合部とすることが出来、柱と横架材だけで必要な強度を持つ構築物を実現できる。そのため、筋交などの補強壁が不要な木造ラーメン構造が実現可能である。
本提案の軸組接合金具は大きなサイズとなることが特徴で、接合部を支点の中心より離すことが可能なため接合部の耐力を高めやすい。また軸組接合金具と木材などのフレーム材とを、多数の小径ビスなどを用いて固定するため、接合部に掛かる様々な軸方向力を木材の広い面に分散させ、接合部のガタツキを最小限に抑えることが可能である。地震力の入力後や、木材の乾燥収縮変形後でも安定した強度を維持可能なものとなる。
木材は節などによる断面の欠損がある。本発明ではひとつの軸組材を複数のフレーム材で構成するため、ひとつのフレーム材の木材の断面が節などによる欠損を生じていても、断面の欠損が複数の部材のうちの一部に限られるため断面欠損による、部材の不具合を少なくすることが可能である。
小径ビスの特徴のひとつに、強い締め付け力がある。これは釘やドリフトピンにはない特徴で、木材と鋼板を強く締めつける効果がある。本発明の軸組接合金具は大きなサイズとなり、多数の小径ビスを用いて軸組接合金具を複数の木材で挟んで固定する施工方法であるため、小径ビスの剪断耐力に加えて、小径ビスの締めつけ力が強い摩擦力を生じ、軸組接合金具の接合面に広く分散され、強固で粘り強い接合部を実現できる。
各支点の横架材と柱が剛接合されることで、強固で粘り強い接合部を実現することは、筋交や耐力壁を設けずに柱と横架材だけで必要な強度を実現できるため、木造ラーメン構造物の実現を可能とするものとなり、木造建築物に於いてプランニングの制約を少なくできる。
対向する辺の接合方法により剛接合を実現することで、木材の柱や横架材が連続梁形式となる特徴を持つことができ、高い強度の軸組を構築できる。
在来工法では、柱は土台に差し込んで載せる方法が標準であるため、柱脚がピン構造となる。より強固な構築物とするため、柱脚を剛構造とする方法が求められている。
本発明の構築物の柱脚を、土地に定着するコンクリート基礎に直接に複数のアンカーボルトで固定することで、柱脚を剛構造とし、強固で安定した軸組とすることが出来る。
柱脚部分の各辺にアンカーボルトを固定することとなり、1ヶ所の柱の各方向に2本のアンカーボルトを固定することが可能で、柱脚の強度が高められ柱脚を剛構造にすることが可能である。
アンカーボルトを柱脚用軸組接合金具に直に固定し、該柱脚用軸組接合金具は基礎と直接接するために、アンカーボルトが木材にめり込んだり、木材が収縮するなどして、ボルトが緩むことがないため、柱脚部分の強度を安定化することができる。
柱脚部分を上部軸組と同じ接合方法とすることで、柱と柱脚用軸組接合金具と土台を剛接合することが可能である。
柱脚部分の組み立て方法を、上部軸組と同じ方法とすることで、軸組材が建築材料を取り付けるための下地材の機能を損なうことがない。
また柱脚を含めて上部軸組と同じ施工法であるため効率が良い。
土台となる軸組材の上に柱が固定されるため、柱は基礎に直接接することがないこととなり、柱には防腐処理が必要とはならない。土台となる軸組材に防腐材を用いることで軸組の防腐防蟻の性能を満たすことができる。
コードレスの充電式電動インパクトドライバーを用いる施工方法となるため、安全で作業性の高い施工が可能となる。
木材の接合部分は特別な加工が必要ないため、木材の加工費を安くすることが可能である。また木材加工のための専用の機械を必要としない。
設計変更などによる工事現場での臨時の対応も、小型の電動工具で可能であるため、スムーズな施工が可能となる。
軸組接合金具は、鋼板の切抜きと穴開け加工しただけのものとすることで、鋼材の加工にかかる費用が少ない。また積み重ね保管が可能で在庫維持のための保管スペースが少ないことで、量産に必要な在庫や運搬にかかる費用を少なく出来る。建築金物店での扱いも可能となる。そのため木造建築物などの接合部に鋼材を用いる構築方法にあって、従来の木造建築物の価格を維持できる。
高い強度を実現する木造建築の接合部に用いる鋼材の組み立てコストが高まることは、溶接工やクレーンなど専門の技能を持つ作業員が必要となったり、大型の作業機械が必要となるなどの理由で施工検討で敬遠されることが多く、鉄骨造が選択されることとなる。 そのため、木材をフレームとする提案では建設におけるコストが従来の木造建築物に近いものであることは重要な要件である。
ゆえに、木造住宅建設などでは、大工や既存の木材加工工場で作業可能な施工方法の提案が求められている。これは既存の設備を活用することであり、熟練した大工に施工を任せられるほうが市場に出やすいためである。
複合軸組材四角形ユニットは横架材の下に柱が取り付く形状により、静荷重をフレーム材が負担することで、接合金具に掛かる応力は、軸組の形態を維持することや水平耐力となり、長期荷重に対して安定した耐力を発揮し、長期間安定した強度を維持可能である。
本発明の軸組構造物の施工方法における特徴は、仮締めと本締めができる工法となっていることである。
本発明の軸組構造物の施工の初期の段階では、柱の上に横架材を積み重ねる構成のため小径ビスは全体の数割程度の本数を固定しておくだけで建方が可能である。小径ビスを多数締め込む施工法で、全体の数割程度の小径ビスで建方を完了した段階では、接合角度に若干の余裕がある。そのため、ジャッキなどを用いて柱を正確な位置に動かすことが可能となり、建て起しを行うことができる。
建て起しを各柱について行い必要な精度が得られた後、残りの小径ビスを全て打込み本締めとする。本締め終了後は角度精度が固定される。このようにビス締めのみで角度精度が固定できる。
建方、建て起し作業と、本締め作業の方法を確立できることは、規模の大きな建物に対応可能であることを意味する。
接着剤などを用いない施工法とすることで、施工の初期の段階より強度を得ることができるため、施工性に優れ、足場や支保工などを少なくできる。
一辺の軸組部材を複数の部材で構成することで、木材の節などによる部材の不具合を少なくすることが可能となる。
将来取り壊すときに小径ビス締め施工したものは、木材と鋼材を分別しやすく出来るという効果がある。しかしこの点については、フレーム材は建物の様々な部材の下地材としての役割が大きいため、壁や床などの取り付けに際し、接着剤が使われたり、釘が打ち込まれたりするため効果は限定的である。
複合軸組材四角形ユニットによる2段組子組み軸組の構築方法 図1の組み立て方法により構築する軸組接合部の完成図 複合軸組材四角形ユニットによる2段組子組み軸組の柱脚部分の構築方法 接合金物先組み立ての構築方法 2段組子組みによる軸組の完成図 面外方向の補強材の取り付け図 複合軸組材四角形ユニットの構築方法を表した図 複合軸組材四角形ユニットの構築方法により構築する軸組の完成図 複合軸組材四角形ユニットのブロック施工により構築する軸組を各層に分解した模式図 複合軸組材四角形ユニットによって構築した軸組構造物の斜視図 軸組接合金具の正面図 四辺が交差し接合する軸組の水平方向の面外補強板の正面図 T型断面の軸組接合金具をフレーム材ではさみ固定する複合軸組材の断面図 2枚の軸組接合金具を3本のフレーム材で挟み固定する複合軸組材の断面図 2枚の軸組接合金具を2本のフレーム材で挟み固定する複合軸組材の断面図
以下、一実施の形態を示す図面に基づいて本発明を詳細に説明する。
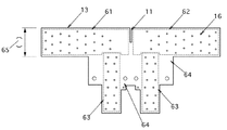
図1は、木造建築物などの軸組構造物の4辺が交差する軸組の接合部の組み立て方法を示した図である。
柱12及び横架材14のひとつの軸組材は、フレーム材を2本で一組の木材などとし、該フレーム材端部に軸組接合金具13を挟んで組み付け、小径ビス23で固定するものである。
各辺は、底辺と上辺を横架材14とし、左右の辺を柱12とした複合軸組材四角形ユニットに形成する。
横架材14とフレーム材端部の柱12との当接する面には、横架材14と柱12の当接する面が単一面にならないように横架材14の側に柱12を入れ込む切欠き17を設けて、横架材14と柱12の当接する面をクランク状とする。
軸組接合金具13は、辺1の軸組接合金具の組子組みの凹状の切欠き11を上方に向け、辺2の該切欠き11を下方に向け、辺3の該切欠き11を上方に向け、辺4の該切欠き11を下方に向けた状態でフレーム材に取り付ける。
凹状の切欠きの向きについては、軸組接合金具13の設計により最適な組み合わせとすればよい。
複合軸組材四角形ユニットの底辺の軸組材は、横架材14の上半に軸組接合金具13を取り付け、複合軸組材四角形ユニットの上辺は横架材14の下半に軸組接合金具13を取り付ける。
軸組の組み立て手順を以下に説明する。
軸組組立手順1は、辺1の複合軸組材四角形ユニット1を所定の位置に固定する。
軸組組立手順2は、辺1の複合軸組材四角形ユニット1に辺1に対向する辺4の柱12を小径ビス23で取り付ける。
軸組組立手順3は、辺1の複合軸組材四角形ユニット1に辺2の複合軸組材四角形ユニット2を請求項2の交差する辺の接合方法の組子組みの要領で、双方の切欠きを向い合わせて差し込んで組み立てる。
軸組組立手順4は、辺2の複合軸組材四角形ユニット3に辺2に対向する辺3の柱12を小径ビス23で取り付ける。
軸組組立手順5は、辺2の複合軸組材四角形ユニット3の上辺に辺3の複合軸組材四角形ユニット5の底辺を、請求項3の対向する辺の接合方法の要領で、軸組材端部のフレーム材間に形成されたスリットに他方の軸組接合金具13を差し込み、双方のフレーム材と軸組接合金具13とを小径ビス23で固定する。
軸組組立手順6は、辺3の複合軸組材四角形ユニット5に辺3に対向する辺2の柱12を小径ビス23で取り付ける。
軸組組立手順7は、辺3の複合軸組材四角形ユニット5に辺4の複合軸組材四角形ユニット7を請求項2の交差する軸組の接合方法の組子組みの要領で、双方の切欠きを向い合わせて差し込んで組み立てる。
辺1の上辺と辺4の底辺は、請求項3の対向する軸組の接合方法の要領で、軸組材端部のフレーム材間に形成されたスリットに他方の軸組接合金具13を差し込み、双方のフレーム材と軸組接合金具13とを小径ビス23で固定する。
軸組組立手順8は、辺4の複合軸組材四角形ユニット7に辺4に対向する辺1の柱12を小径ビス23で取り付ける。
こうして4辺が接合される。2辺や3辺の接合部も同様の組み立て方法となる。
各フレーム材を隙間なく当接させることで、面外の応力に対して、強度を得られるので、各フレーム材は当接することを特徴としている。
水平方向の面外応力用補強板15は軸組接合金具13の板厚と同じ巾の切り欠きを設けた鋼板で、軸組接合金具13に直交させ、該軸組接合金具13に差し込み固定するもので、交差する辺の角度を固定する事で施工性を向上させ、平面強度を高める。
図2は、図1の組み立て方法によって構築する軸組の接合部の完成図である。
図3は、木造建築物の4辺が交差する軸組の柱脚部分の組み立て方法を示した図である。
柱脚部分の組み立ては、図1と同様の方法となる。
柱12、横架材14、土台21の軸組材は、2本で一組の木材などのフレーム材で、柱12と土台21のフレーム材端部には柱脚用軸組接合金具18を挟んで組み付け、柱12と横架材14のフレーム材端部には軸組接合金具13を挟んで組み付け、小径ビス23で固定するものである。
柱脚組立手順51の辺1と柱脚組立手順52の辺2は土台21のみの構成とする。
柱脚組立手順53の辺3と柱脚組立手順55辺4は、底辺を土台21とし、左右の辺を柱12とし、上辺を横架材14とした複合軸組材四角形ユニットとする。軸組接合金具13により横架材14と柱12を固定し、柱脚用軸組接合金具18により土台21と柱12を固定して複合軸組材四角形ユニットを構築する。
軸組構造物とコンクリートなどの基礎との固定は、柱脚用軸組接合鋼板18に羽根金具19を取り付け、アンカーボルト20で固定する。羽根金具19は、柱脚用軸組接合鋼板を羽根金具状に加工しておいても良い。
アンカーボルトは、柱脚用軸組接合金具に直接に固定するため木材の変形、収縮、などによる不安定さを無くすこととなり、安定した耐力が得られる。
また各辺の土台21は一定間隔にアンカーボルトで基礎に固定する。
柱脚部分の組み立て手順を以下に説明する。
柱脚組立手順51の辺1と柱脚組立手順52の辺2の土台21を基礎に仮置きする。
柱脚組立手順53の辺3の複合軸組材四角形ユニットの柱脚用軸組接合金具18を柱脚組立手順52の辺2の土台21で挟み付け小径ビス23により固定する。
柱脚組立手順54の辺2の柱12を小径ビス23で柱脚組立手順53の辺3の複合軸組材四角形ユニットに取り付ける。
柱脚組立手順53の辺3の複合軸組材四角形ユニットに柱脚組立手順55の辺4の複合軸組材四角形ユニット5を請求項2の交差する軸組の接合方法の組子組みの要領で組付ける。底辺は柱脚用軸組接合鋼板18の双方の凹状の切欠き11を、上辺は軸組接合鋼板8の双方の凹状の切欠き11を、向い合わせて差し込み組み立てる。
次に、柱脚組立手順55の辺4の複合軸組材四角形ユニットの柱脚用軸組接合金具18を柱脚組立手順51の辺1の土台21で挟み付け小径ビス23により固定する。
柱脚組立手順56の辺1の柱12を柱脚組立手順55の辺4の複合軸組材四角形ユニットに小径ビス23で取り付ける。
次に、各辺の柱脚用軸組接合金具18に羽根金具19を取り付け、アンカーボルト20にて基礎に固定する。
次に、水平方向の面外応力用補強板15は柱脚用軸組接合金具18の板厚と同じ巾の切り欠きを設けた鋼板で、柱脚用軸組接合金具18に直交させ、該柱脚用軸組接合金具18に差し込み固定するもので、交差する辺の角度を固定する事で施工性を向上させ、平面強度を高める。
こうして柱脚部分の4辺を接合する。2辺や3辺の接合部も同様の組み立て方法となる。
2辺や3辺の接合では接合支点の中央にアンカーボルトを固定することで、基礎やボルトを壁の外に突出させることなく、各方向の辺に2本以上のボルトを設置できるため、柱脚の面内の各方向にかかる耐力を得られる。
図4は、前記の組み立て方法によって完成する、4辺と上下階を接合する、軸組の接合部を示した図である。
図5は、複合軸組材四角形ユニット13の組み立て方法ではなく金具とフレーム材を別々に組み立てる軸組の組み立て方法について示した図である。
先に軸組接合金具の組み立てを行い、フレーム材を接合させる金具部分を完成させる。柱12に金具を小径ビス23で固定する。所定の位置に金具を取付けた柱12を固定し、横架材13を小径ビス23で固定し、軸組構造物を組み立てる。
図6は、接合部の面外方向の応力に対して、フレーム材が当接する面の両外面に引張耐力を得るための平金物22の取り付け図である。
柱と横架材との接合部の面外耐力を得るため、横架材と上下階の柱とを平金物22を用いて、フレーム材の両外面にビスなどで固定する。
対向する横架材と横架材とは、双方の横架材の両外面に金物を取り付けるためには、軸組接合金具をボルトで貫通させるなどの方策が必要となるので、より単純にするため、双方の四角形フレームの柱12に平金物22を固定することでも、面外耐力を得られる。
図7は、前記の方法によって組み立てた複合軸組材四角形ユニットを用いた構築物の複合軸組材四角形ユニットの組み立て手順を示した図である。
1層目は、コンクリート基礎38に偶数行列40の土台32をアンカーボルトなどで固定する。偶数行列40の土台32は0層目の複合軸組材四角形ユニットの上辺である。
奇数行列39の複合軸組材四角形ユニット31を0層目の偶数行列40の土台32に小径ビスなどで固定し、コンクリート基礎38とアンカーボルトで固定する。
奇数行列39の複合軸組材四角形ユニット31は図に示す面の辺と直角に交差する面の辺があり、前記の複合軸組材四角形ユニット31を固定したあと、図と直角方向の交差する面の辺の複合軸組材四角形ユニット35を組子組みにより取り付ける。
偶数行列40の柱34を取り付ける。
2層目は、偶数行列40の複合軸組材四角形ユニット36を1層目の奇数行列39の複合軸組材四角形ユニット31の間の偶数行列40に落し込み小径ビスなどで固定する。
偶数行列40の複合軸組材四角形ユニット36は図に示す面の辺と直角に交差する面の辺があり、前記の複合軸組材四角形ユニット36を固定したあと、図と直角方向の交差する面の辺の複合軸組材四角形ユニット37を組子組みにより固定する。
奇数行列39の柱33を取り付ける。
建方時は、小径ビスを取り付ける本数は完成時の数割程度としておき、多少の余裕を持つようにしておく。この状態で構築物の鉛直方向、水平方向の精度を出す建て起し作業を行う。
建て起し作業完了後、残りの小径ビスを全てねじ込み、本締め完了とする。
本締め後は木材の交換、小径ビスの打ち直しなどは出来ないものとなる。
図8は図7の組み立て手順の完成した形態である。
図9は、複合軸組材四角形ユニットを立方体ブロックごとに構築する仕組みを説明した図である。
第1層目41は、複合軸組材四角形ユニットを2段組子接合の交差する辺の組立て方法により組み立てる立方体ブロックに形成し、奇数行列に固定する。
第2層目42は、複合軸組材四角形ユニットを2段組子接合の交差する辺の組立て方法により組み立てる立方体ブロックに形成し、偶数行列に固定する。第1層の複合軸組材四角形ユニットの上辺を対向する辺の固定方法により第2層の底辺で繋ぎあわせて構築する。
第2層目の屋根43は、複合軸組材四角形ユニットの底辺を2段組子接合の交差する辺の組立て方法により組み立てる立方体ブロックに形成し、奇数行列に固定する。第2層の複合軸組材四角形ユニットの上辺を第3層の底辺により繋ぎあわせて構築する。
図10は、本提案の施工方法により構築する軸組の完成図である。
図11は、軸組接合金具の正面図である。
図に示す形状は、四辺の軸組が接合する接合部の軸組接合金具の形状である。
対向する2辺を固定するために固定面イ61と固定面ロ62に、対向する各辺の横架材のフレーム材を当てて、複数の該フレーム材で挟み小径ビスで固定する。固定面ハ63には複合軸組材四角形ユニットを構成するための柱のフレーム材を当てて、複数の該フレーム材で挟み小径ビスで固定する。
軸組の各辺が接合する支点には、交差する2辺を組み立てるための組子組みの切欠き11を設ける。該切欠きは、切欠きの巾を鋼板の厚みと同じとし、深さを鋼板の高さの半分として交差する各辺を組み立てる。
横架材固定面の高さ65は、対向する2辺の固定方法のため、横架材成の半分とする。
また水平方向の面外応力用補強板15を取付けるため、柱の固定面ハ63の接合支点の内側に鋼板の突き出し部分64を設け、該突き出し部分64に前記水平方向の面外応力用補強板15の凹状の切欠き66を差し込み組付ける。
アンカーボルトを取付けるためには、突き出し部分64を設け、ボルト用の孔を開けるなどの加工をする。
小径ビス貫通孔16は、フレーム材と軸組接合金具とを固定するための小径ビスなどを貫通させるための孔である。小径ビスと線径と貫通孔の内径は同じとする。
柱の固定面ハ63は、横架材の固定面イとロに生じる面外応力に対して、クランク状に入込んだ噛合い状の形状とすることで、フレーム材の当接面に、軸組接合金具の剪断耐力を生じさせ、面外耐力を得ている。
2辺や3辺の軸組が接合する場合の対向する辺の無い辺の軸組接合金具については、固定面ロ62が無く固定面ハ63が一方だけの軸組接合金具となる。
図12は四辺が交差し接合する軸組の水平方向の面外補強板15の正面図である。
軸組が接合する形状に合わせて、鋼板を差し込む凹状切欠き66を設ける。水平方向の面外補強板15は軸組接合金具13の突き出し部分64に水平方向の面外補強板15の鋼板を差し込む凹状切欠き66を差し込み組み立てる。
軸組接合金具の組子組みだけでは接合角度の保持は難しく、フレーム材を当接させて接合角度を保持することでも施工精度が充分とはならないため、接合角度の保持を施工の初期段階で出すために有効な部材となる。
図13は、T字型のフランジ付き鋼板を用いた複合軸組材の断面図である。軸組接合金具13は上下に分れているが、フレーム材14により繋がれており、フランジはフレーム材の両外面に当接させることで、フレーム材14を挟むことで大きな耐力が得られる。
図14は、フレーム材14を3本とし、軸組接合金具13を2枚として強度を高めた複合軸組材の断面図である。弱軸方向の断面性能を高めるのに有効である。
図15は、軸組接合金具を複数枚重ねて用いたものである。またフランジ部分を形成させるため鋼板を曲げ加工する。軸組接合金具13には小径の貫通孔を多数開けるが、小径の貫通孔を打抜きやプレスの機械で開けるためには、板厚はそれ程厚くすることには無理がある。接合部の強度を高めるため、軸組接合金具13を重ねて用いることで強度を高められる。
多数の小径ビスを軸組接合金具の接合部周辺に集中して締め込んで固定して構築する構築物は、主に木造建築物においてさまざまな活用方法がある。
例えばコンビニエンスストアやファーストフード店などは小規模な建築物であるが、開口部が多く耐力壁も少ないことが求められる要件であり、償却年数も短く低コストが求められる。現状ではそのような要件を満足できるのは、鉄骨ラーメン構造に限られる。
この発明では、多数の小径ビスを軸組接合金具に集中して締込むことで剛構造とすることが可能なため耐力壁を必要としない。そのために開口部を多くすることが可能となる。
低価格の規格木材を最小限の加工で用いるため、コストを下げることが見込める。
主要構造部の木材は屋根や外壁を止め付ける下地材としての機能も合わせ持つことが可能である。鉄骨造では鉄製の構造部材は下地材の機能は限定的なため、構造部材の低価格化だけでなく、外壁や屋根の組み付けにメリットがあり低価格な設定が可能となると考えられる。
また構造用合板などをフレーム部材に釘で打ち付けることで、剛性を高めることが可能である。 このことは建物の剛性を高めることが容易かつ、低価格に実現できることとなる。そのため鉄骨造よりも剛性の高い建物とすることができ、気密性の確保もしやすいなど様々なメリットが創出できる。
一般の木造住宅においては、窓などの開口部のレイアウトや、様々なプランニングにおいて、構造上必要な壁の制限がなくなることより、様々な要望をかなえることが可能となる。
特に部屋の隅の柱廻りに耐力壁を必要としないため、プランニングの制限がなく、効果的なプランの提案ができる。
1 辺1の複合軸組材四角形ユニット
2 辺1に対向する辺4の柱
3 辺2の複合軸組材四角形ユニット
4 辺2に対向する辺3の柱
5 辺3の複合軸組材四角形ユニット
6 辺3に対向する辺2の柱
7 辺4の複合軸組材四角形ユニット
8 辺4に対向する辺1の柱
11 組子組みの切欠き
12 木材などの柱
13 軸組接合金具
14 横架材
15 水平方向の面外応力用補強板
16 小径ビス貫通孔
17 フレーム材接合面を単一面にしないための切欠き
18 柱脚用軸組接合金具
19 羽根金具
20 アンカーボルト
21 土台
22 平金物
23 小径ビス
31 奇数行列の複合軸組材四角形ユニット
32 偶数行列の複合軸組材四角形ユニットの底辺の土台
33 奇数行列の複合軸組材四角形ユニットの柱
34 偶数行列の複合軸組材四角形ユニットの柱
35 図が示す面と直交する面の奇数行列の複合軸組材四角形ユニット
36 偶数行列の複合軸組材四角形ユニットの横架材
37 図が示す面と直交する面の偶数行列の複合軸組材四角形ユニット
38 コンクリート基礎
39 奇数行列
40 偶数行列
41 軸組構造物の第1層目
42 軸組構造物の第2層目
43 軸組構造物の第2層目の屋根
44 軸組構造物の第2層目までの完成図
45 軸組構造物の完成図
51 辺1の土台
52 辺2の土台
53 辺3の複合軸組材四角形ユニット
54 辺3に対向する辺2の柱
55 辺4の複合軸組材四角形ユニット
56 辺4に対向する辺1の柱
61 固定面イ
62 固定面ロ
63 固定面ハ
64 鋼板の突き出し部分
65 横架材を固定する面の高さ
66 鋼板を差し込む凹状切欠き

Claims (11)

  1. 軸組構造物を構成する軸組材は、フレーム材の両端部に配した軸組接合用金具を複数の該フレーム材で挟み多数の小径ビスで固定する複合軸組材で、該軸組接合用金具と一方の該フレーム材には該小径ビスが嵌合する径の貫通孔が多数開けられており、前記フレーム材の一方と軸組接合用金具の該貫通孔の位置を合わせ、他方のフレーム材を該軸組接合用金具に重ね、多数の小径ビスを該貫通孔に通してねじ込み固定して組立てる、フレーム材で軸組接合用金具を挟み多数の小径ビスで固定した複合軸組材。
  2. フレーム材で軸組接合用金具を挟み固定した複合軸組材が交差する2辺の組立て方法は、交差する双方の辺の該複合軸組材の軸組接合用金具を組子組みにより組み合わせ、交差する双方の辺の該フレーム材を当接させることで該軸組接合用金具のひねりを防止する、交差する2辺の複合軸組材の組立て方法。
  3. フレーム材で軸組接合用金具を挟み固定した複合軸組材が対向する2辺の組立て方法は、一方の辺の該複合軸組材の軸組接合用金具を該複合軸組材のフレーム材の下半に固定し、他方の辺の該軸組接合用金具を該フレーム材の上半に固定し、双方の該複合軸組材のフレーム材間に形成されたスリットに双方の該軸組接合用金具を差し込んで組み合わせ、フレーム材と軸組接合用金具とを固定する、対向する2辺の複合軸組材の組立て方法。
  4. フレーム材で軸組接合用金具を挟み固定した複合軸組材で構築する軸組の、4辺が交差する接合部は、該接合部の4辺のうちの交差する2辺は該複合軸組材の軸組接合金具を該複合軸組材のフレーム材の下半に固定し、残る交差する2辺は該軸組接合金具を該フレーム材の上半に固定し、前記2組の交差する2辺を、請求項2に記載の交差する2辺の複合軸組材の組立て方法により組立て、前記4辺が交差する接合部を構成する2組の対向する2辺を、請求項3に記載の対向する2辺の複合軸組材の組立て方法により組立てることで4辺を固定する、4辺が交差する軸組の多段組子接合による組立て方法。
  5. 請求項4に記載の4辺が交差する軸組の多段組子接合による組立て方法で構築する軸組構造物の一辺は、2層の横架材軸組材が上辺と底辺で、該横架材軸組材端部に取付く柱軸組材が左右の辺となる四角形の構成で、該四角形を構成する各辺の軸組材をフレーム材で鋼板またはフランジ付き鋼板を挟み固定した複合軸組材に形成することで、該四角形の構成を該複合軸組材で構成する一体の構造体にした、フレーム材で鋼板またはフランジ付き鋼板を挟み固定した複合軸組材四角形ユニットに形成する軸組構造物の辺。
  6. 請求項5に記載の複合軸組材四角形ユニットに形成する軸組構造物の辺で構築する軸組構造物は、二重組子接合の交差する2辺の組立て方法により該複合軸組材四角形ユニットを立方体ブロックに組立て、該立方体ブロックを奇数行列に配置する層を構築し、該層の上段の層は該立方体ブロックを偶数行列に配置し、前記奇数行列の層の立方体ブロックの上辺と前記偶数行列の層の立方体ブロックの底辺とを多段組子接合の対向する2辺の固定方法により固定することで、奇数行列と偶数行列の層の立方体ブロックを連結して構築する軸組構造物の構築方法。
  7. 軸組接合用金具をフレーム材で挟み固定した複合軸組材で構成した軸組構造物の柱脚用の軸組接合用金具は、土地に定着する基礎に該軸組接合用金具の端面が当接し、該基礎に埋め込んだアンカーボルトを該軸組接合用金具の側面に羽根金具状に固定し該複合軸組材を該基礎に固定する、土地に定着する基礎と軸組構造物とを固定する羽根留め柱脚。
  8. 請求項2に記載の複合軸組材が交差する2辺の組立て方法の接合部の、接合支点の中心で軸組接合用金具と直交する面に設ける補強用鋼板で、該補強用鋼板は軸組接合用金具の厚みと同寸法の凹型の切欠きを設け、該切欠きは接合する辺の軸組形状と同じで、該切欠きに各辺の軸組接合用金具を差し込み組み付けることで、各軸組材の面外方向に生じる応力に対して耐力を得る補強用鋼板であり、組み立て時の軸組材が接合する角度精度を得るための鋼板。
  9. ひとつの軸組接合用金具に、フレーム材で軸組接合用金具を挟み固定した複数の複合軸組材が当接して取り付く軸組の当接面に生じる面外方向の応力に対して耐力を生じさせるため、双方の該複合軸組材のフレーム材が当接する接合面の形状を噛合い状にした、複合軸組材で構築する接合部のフレーム材が当接する接合面の噛合い状当接接合。
  10. 請求項6に記載のフレーム材で軸組接合用金具を挟み固定した複合軸組材で構築する軸組構造物を構成する軸組接合用金具は、接合支点の中心に交差する2辺を組子組みするための凹状の切欠きを設け、対向する2辺の横架材を固定する固定面と、横架材と柱とを固定する固定面を有し、前記固定面に多数の小径ビスで固定するための小径ビスが嵌合する径の貫通孔を設けた形状に、鋼板を切り抜いて形成した、軸組接合用の軸組接合用金具。
  11. 請求項6に記載のフレーム材で軸組接合用金具を挟み固定した複合軸組材で構築する軸組構造物の柱は、接合する各辺の端部に各辺の柱を配し、該各辺の柱を構成するフレーム材を軸組接合用金具で固定することで該軸組構造物の柱は該各辺の柱が集合した形状となり、複合軸組材で構成する該各辺の柱が集合した一体の構造体にした軸組の柱。
JP2009132962A 2008-06-10 2009-06-02 多段組子接合軸組 Expired - Fee Related JP5650383B2 (ja)

Priority Applications (1)

Application Number Priority Date Filing Date Title
JP2009132962A JP5650383B2 (ja) 2008-06-10 2009-06-02 多段組子接合軸組

Applications Claiming Priority (3)

Application Number Priority Date Filing Date Title
JP2008151555 2008-06-10
JP2008151555 2008-06-10
JP2009132962A JP5650383B2 (ja) 2008-06-10 2009-06-02 多段組子接合軸組

Publications (2)

Publication Number Publication Date
JP2010019073A true JP2010019073A (ja) 2010-01-28
JP5650383B2 JP5650383B2 (ja) 2015-01-07

Family

ID=41704238

Family Applications (1)

Application Number Title Priority Date Filing Date
JP2009132962A Expired - Fee Related JP5650383B2 (ja) 2008-06-10 2009-06-02 多段組子接合軸組

Country Status (1)

Country Link
JP (1) JP5650383B2 (ja)

Cited By (2)

* Cited by examiner, † Cited by third party
Publication number Priority date Publication date Assignee Title
WO2022065633A1 (ko) * 2020-09-28 2022-03-31 박상욱 목구조 건축물 자가 시공 방법
US12503845B2 (en) 2020-09-08 2025-12-23 Sangwook Park Self-building kit system

Families Citing this family (1)

* Cited by examiner, † Cited by third party
Publication number Priority date Publication date Assignee Title
JP3077889B2 (ja) 1995-11-27 2000-08-21 東芝ライテック株式会社 高圧金属蒸気放電灯

Citations (8)

* Cited by examiner, † Cited by third party
Publication number Priority date Publication date Assignee Title
JPH01235756A (ja) * 1988-03-14 1989-09-20 Misawa Homes Co Ltd 建築物の木造骨組構造
JPH03187438A (ja) * 1989-12-16 1991-08-15 Ikeguchi Kogyo Kk 構造材結合用金物と結合工法
JPH09144132A (ja) * 1995-11-17 1997-06-03 Ramutetsuku Kk 単板積層材を用いた柱と基礎の接合構造
JPH09287201A (ja) * 1996-04-23 1997-11-04 Inshiyou Ringyo Kk 木造建築の金具軸組工法、金具軸組構造、そのための連結金具及び連結金具ユニット
JPH10121577A (ja) * 1996-10-18 1998-05-12 Sumitomo Forestry Co Ltd 木造軸組部材用接合具及び座金
JPH10299083A (ja) * 1997-04-24 1998-11-10 Mugai:Kk 梁の結合部の補強構造
JP2000240154A (ja) * 1999-02-23 2000-09-05 Tooa Engineering:Kk 木造建物の軸組装置
JP2005146718A (ja) * 2003-11-18 2005-06-09 Satoshi Ishihara 挟み金物ビス締め接合木造軸組工法

Patent Citations (8)

* Cited by examiner, † Cited by third party
Publication number Priority date Publication date Assignee Title
JPH01235756A (ja) * 1988-03-14 1989-09-20 Misawa Homes Co Ltd 建築物の木造骨組構造
JPH03187438A (ja) * 1989-12-16 1991-08-15 Ikeguchi Kogyo Kk 構造材結合用金物と結合工法
JPH09144132A (ja) * 1995-11-17 1997-06-03 Ramutetsuku Kk 単板積層材を用いた柱と基礎の接合構造
JPH09287201A (ja) * 1996-04-23 1997-11-04 Inshiyou Ringyo Kk 木造建築の金具軸組工法、金具軸組構造、そのための連結金具及び連結金具ユニット
JPH10121577A (ja) * 1996-10-18 1998-05-12 Sumitomo Forestry Co Ltd 木造軸組部材用接合具及び座金
JPH10299083A (ja) * 1997-04-24 1998-11-10 Mugai:Kk 梁の結合部の補強構造
JP2000240154A (ja) * 1999-02-23 2000-09-05 Tooa Engineering:Kk 木造建物の軸組装置
JP2005146718A (ja) * 2003-11-18 2005-06-09 Satoshi Ishihara 挟み金物ビス締め接合木造軸組工法

Cited By (3)

* Cited by examiner, † Cited by third party
Publication number Priority date Publication date Assignee Title
US12503845B2 (en) 2020-09-08 2025-12-23 Sangwook Park Self-building kit system
WO2022065633A1 (ko) * 2020-09-28 2022-03-31 박상욱 목구조 건축물 자가 시공 방법
US12428833B2 (en) 2020-09-28 2025-09-30 Sangwook Park Wooden structure building self-constructing method

Also Published As

Publication number Publication date
JP5650383B2 (ja) 2015-01-07

Similar Documents

Publication Publication Date Title
JP3581426B2 (ja) 木造建築物の構造材と床構造及び屋根構造並びにそれらを用いた構築工法
JP2020159078A (ja) 座屈拘束ブレース
JP2012149464A (ja) 集成材の異形柱と梁の剛接合構造
JP2021055260A (ja) 座屈拘束ブレース
JP5650383B2 (ja) 多段組子接合軸組
US20200123763A1 (en) Building and construction method for same
JP2005030151A (ja) 建造物の躯体構造
JP2001303663A (ja) 狭幅壁パネル構造、門型ラーメン構造、木造建造物
JP7496574B2 (ja) 耐力壁構造
JP4799107B2 (ja) 木製構造材の仕口構造、横架材、柱脚構造および柱脚金具、並びにこれらを備えた木造建築物の軸組およびその組立て方法
JP5437644B2 (ja) 木造構造体及び建築物
JP6837826B2 (ja) 建物の補強構造及び補強方法
JP2002317498A (ja) 高層建物の軸組構造
JP2023058304A (ja) 木質架構および建物の骨組み
JP2836005B2 (ja) 建築物
JP2948716B2 (ja) 木造軸組パネル構造
WO2021245735A1 (ja) 集成材の接合構造
JP2004124698A (ja) 建築構造物、壁パネル
JP2977494B2 (ja) 門型フレームおよびその組立て方法
JP2000234407A (ja) 木造門型フレームを用いた耐震壁構造
JP2025093449A (ja) 木柱ユニットと鉄骨梁の接合構造
JP7054183B2 (ja) 木造建物の構造
JPH07259183A (ja) 建物の柱接合構造
JP5201286B1 (ja) 構造物構成ユニット、及び構造物構成ユニットにより構成される構造物、及び構造物構成ユニットにより構造物を構築する方法
JP2014040764A (ja) 構造物構成ユニット、及び構造物構成ユニットにより構成される構造物、及び構造物構成ユニットにより構造物を構築する方法

Legal Events

Date Code Title Description
A621 Written request for application examination

Free format text: JAPANESE INTERMEDIATE CODE: A621

Effective date: 20120526

A977 Report on retrieval

Free format text: JAPANESE INTERMEDIATE CODE: A971007

Effective date: 20130620

A131 Notification of reasons for refusal

Free format text: JAPANESE INTERMEDIATE CODE: A131

Effective date: 20130806

A521 Request for written amendment filed

Free format text: JAPANESE INTERMEDIATE CODE: A523

Effective date: 20131003

A131 Notification of reasons for refusal

Free format text: JAPANESE INTERMEDIATE CODE: A131

Effective date: 20140325

A521 Request for written amendment filed

Free format text: JAPANESE INTERMEDIATE CODE: A523

Effective date: 20140526

TRDD Decision of grant or rejection written
A01 Written decision to grant a patent or to grant a registration (utility model)

Free format text: JAPANESE INTERMEDIATE CODE: A01

Effective date: 20141007

R150 Certificate of patent or registration of utility model

Ref document number: 5650383

Country of ref document: JP

Free format text: JAPANESE INTERMEDIATE CODE: R150

R154 Certificate of patent or utility model (reissue)

Free format text: JAPANESE INTERMEDIATE CODE: R154

R150 Certificate of patent or registration of utility model

Ref document number: 5650383

Country of ref document: JP

Free format text: JAPANESE INTERMEDIATE CODE: R150

R250 Receipt of annual fees

Free format text: JAPANESE INTERMEDIATE CODE: R250

R250 Receipt of annual fees

Free format text: JAPANESE INTERMEDIATE CODE: R250

R250 Receipt of annual fees

Free format text: JAPANESE INTERMEDIATE CODE: R250

R250 Receipt of annual fees

Free format text: JAPANESE INTERMEDIATE CODE: R250

R250 Receipt of annual fees

Free format text: JAPANESE INTERMEDIATE CODE: R250

R250 Receipt of annual fees

Free format text: JAPANESE INTERMEDIATE CODE: R250

R250 Receipt of annual fees

Free format text: JAPANESE INTERMEDIATE CODE: R250

LAPS Cancellation because of no payment of annual fees