JP2010003124A - ドロップアウトカラー処理装置およびこれを用いたドロップアウトカラー処理方法 - Google Patents

ドロップアウトカラー処理装置およびこれを用いたドロップアウトカラー処理方法 Download PDF

Info

Publication number
JP2010003124A
JP2010003124A JP2008161540A JP2008161540A JP2010003124A JP 2010003124 A JP2010003124 A JP 2010003124A JP 2008161540 A JP2008161540 A JP 2008161540A JP 2008161540 A JP2008161540 A JP 2008161540A JP 2010003124 A JP2010003124 A JP 2010003124A
Authority
JP
Japan
Prior art keywords
color
extracted
histogram
color space
threshold
Prior art date
Legal status (The legal status is an assumption and is not a legal conclusion. Google has not performed a legal analysis and makes no representation as to the accuracy of the status listed.)
Granted
Application number
JP2008161540A
Other languages
English (en)
Other versions
JP4627787B2 (ja
Inventor
Keisuke Nakajima
啓介 中島
Shinichi Shinoda
伸一 篠田
Masahiro Oikawa
正弘 及川
Kazuki Nakajima
和樹 中島
Hiroshi Shojima
正嶋  博
Takahiro Uchida
恭広 内田
Current Assignee (The listed assignees may be inaccurate. Google has not performed a legal analysis and makes no representation or warranty as to the accuracy of the list.)
Hitachi Information and Telecommunication Engineering Ltd
Original Assignee
Hitachi Computer Peripherals Co Ltd
Priority date (The priority date is an assumption and is not a legal conclusion. Google has not performed a legal analysis and makes no representation as to the accuracy of the date listed.)
Filing date
Publication date
Application filed by Hitachi Computer Peripherals Co Ltd filed Critical Hitachi Computer Peripherals Co Ltd
Priority to JP2008161540A priority Critical patent/JP4627787B2/ja
Priority to US12/342,627 priority patent/US8326028B2/en
Priority to KR1020080132931A priority patent/KR101000421B1/ko
Publication of JP2010003124A publication Critical patent/JP2010003124A/ja
Application granted granted Critical
Publication of JP4627787B2 publication Critical patent/JP4627787B2/ja
Active legal-status Critical Current
Anticipated expiration legal-status Critical

Links

Images

Landscapes

  • Image Processing (AREA)
  • Facsimile Image Signal Circuits (AREA)
  • Color Image Communication Systems (AREA)
  • Character Input (AREA)

Abstract

【課題】多色画像データについて所定の色範囲を決定し設定色に変更するドロップアウトカラー処理装置において、複数の「抽出色を含む」色範囲と「抽出色を含まない」色範囲を自動的に決定し、新規の抽出帳票の追加が容易でメンテナンスコストを大幅に抑え操作性良く所定の色を抽出し除去するドロップアウトカラー処理装置を提供する。
【解決手段】「抽出色を含む」色範囲、および「抽出色を含まない」色範囲を設定する手段と、抽出色の境界を作成する際、複数の閾値決定方式を切り替える手段を設け、切り替えの判定は、対象となる色空間座標があらかじめ設定した色空間上の領域もしくは抽出色を含まないヒストグラムから抽出した色空間上の領域に含まれるか否かで判定する。
【選択図】図2

Description

本発明は、多色の画像データに対し色範囲を指定して抽出し、これに該当する色をあらかじめ設定した色に変更する抽出画像処理装置および処理方法に関するものであり、特に抽出させる色範囲を操作性よく指定する技術に関するものである。
近年、財務関係文書の電子保存(イメージファイル化)を法的に容認するe文書法の制定(2005年4月1日より施行)なども契機になり、OCR(光学的文字認識)、スキャナなどを用いたオフィスや役所、自治体の文書電子化が進んでいる。特にOCRは、大量の手書き情報を短時間で電子化できるため、業務の効率化に大きく貢献している。OCRに入力するOCR帳票は、人間が文字を記入する際に基準となる枠や罫線等をドロップアウト色で印刷し、人間が書いた文字のみを読み取ることで認識率を向上させている。従来の文字読み取りはOCRの読取りセンサに付けたフィルタで光学的に抽出していたため、OCR固有の機能であったが、現在では多色の読取り画像をコンピュータで画像処理することでデジタル的な抽出が可能となっている。しかし、各種OCR帳票は、会社または事業体単位で独自に作成、印刷、利用されているため、OCR導入時にドロップアウトすべき枠の色を環境に応じて指定し登録する必要がある。
しかし、企業の統合、自治体の合併など組織改編の際、機器導入後、合併前の他社や他自治体の幅広い帳票に迅速に対応するためには設定変更の効率化が求められている。また、1枚の帳票内に豊富な情報を表現するため複数のドロップアウト色(マルチドロップアウトカラー)が増え、カラーのカーボンコピーを含め文字色の多様性への対応が必須で、今後ますます文字色や抽出色の境界(閾値)の設定機能の向上が課題になることが予想される。
この問題を解決する方式として、従来特許文献1のように彩度に応じて二値化閾値を変化させる方式、特許文献2のように特定画像部位のヒストグラムから色分布の最大・最小値を求めドロップアウト色範囲を求める方式、特許文献3のように罫線を抽出しそのヒストグラムから分離精度を上げる方式、特許文献4のように色空間上の色分布から特定色領域を検出し色下地を除去する方式、特許文献5のように抽出すべき色分布と抽出したくない色分布を用いることで分離精度を向上させる方式が提案されている。
特開2001−118031号公報 特開2003−216894号公報 特開2005−258683号公報 特開平9−51443号公報 特開平7−98762号公報
これらの方式もしくはその組み合わせでは、ユーザーが抽出したい色を指定する操作が煩雑で閾値の調整に大きな工数がかかるという問題を解決できない。
例えば特許文献1のように彩度に応じて二値化閾値を変化させる方式では、有彩色と無彩色を区別する彩度の閾値の設定が必要で、彩度の低い罫線をドロップアウトするには閾値を低く設定する必要があり、そうすればボールペンのような彩度の高い手書き文字が記入された帳票では文字が読み取れないという基本的な問題が発生してしまう。また、特許文献2や特許文献3のように色分布の最大・最小値を求め色範囲とする方式では、色の抽出/ドロップアウト範囲が矩形となるために、文字のカスレを防止するために抽出領域を小さくすると罫線が出現し、抽出領域を拡げて罫線を抑えれば文字がカスレてしまうというジレンマがおこり閾値の調整は暗礁に乗り上げる。
また、特許文献4のように色空間上の色分布から特定色領域を検出し色下地を除去する方式では、色平面に対して各種の特定色抽出方式を適用する例が示されているが、色平面固有の抽出であるために、罫線と文字が交わっている部分の分離には対応できていない。また、特許文献5のように抽出すべき色分布と抽出したくない色分布を用いることで分離精度を向上させる方式では、抽出すべき色を画面上で指定する操作は、一つ一つの画素を指定し、もしくは中心に近い色を指定し許容幅を入力する必要があり、煩雑で、特に網点背景上の文字などを指定することはほとんど不可能に近い。
本発明は、ドロップアウトカラー処理装置においてユーザーが抽出したい色を指定する操作が煩雑で閾値の調整に大きな工数がかかるという問題を解決するために、帳票を多色の画像データとして入力する入力部と、上記画像データを所定の色空間に変換する色空間変換部と、上記色空間内のデータのヒストグラムを作成するヒストグラム作成部と、上記ヒストグラムに基づいてデータ分布の輪郭を作成する輪郭作成部と、上記作成した輪郭によって色空間上の抽出領域を作成する閾値生成部と、上記画像データの各画素の上記色空間変換結果が上記色空間上の抽出領域に属するか否かによって上記画像データの各画素をそれぞれ指定した色に変換する指定色変換部と、処理後の画像を出力する出力部とを有するドロップアウトカラー処理装置において、前記閾値生成部に色空間上の抽出領域を異なる方式で生成する複数の閾値生成部を設け、上記輪郭作成部で輪郭を作成する際、色空間上の座標があらかじめ設定した領域内か否かによって上記複数の閾値生成部を切り替えることを特徴とする。
また、前記複数の閾値生成部のうち少なくとも一つはヒストグラム分布の最小境界を選択して抽出領域を作成する閾値生成部であり、少なくとも一つはヒストグラム分布の谷部を選択して抽出領域を作成する閾値生成部であることを特徴とする。
また、色空間上にあらかじめ設定した前記領域の境界は、色空間に対して平行もしくは垂直であることを特徴とする。
また、色空間上にあらかじめ設定した前記領域の境界は、色空間に対して傾斜して設けたことを特徴とする。
また、帳票を多色の画像データとして入力する入力部と、上記画像データを所定の色空間に変換する色空間変換部と、上記色空間内のデータのヒストグラムを作成するヒストグラム作成部と、上記ヒストグラムに基づいてデータ分布の輪郭を作成する輪郭作成部と、上記作成した輪郭によって色空間上の抽出領域を作成する閾値生成部と、上記画像データの各画素の上記色空間変換結果が上記色空間上の抽出領域に属するか否かによって上記画像データの各画素を、それぞれ指定した色に変換する指定色変換部と、処理後の画像を表示もしくは出力する出力部と、を有するドロップアウトカラー処理装置において、
上記画像データに対し「抽出色を含む」画像領域を指定する第一の範囲指定部と、上記画像データに対し「抽出色を含まない」画像領域を指定する第二の範囲指定部と、上記「抽出色を含む」画像領域内および、「抽出色を含まない」画像領域内の一部もしくは全部の色空間分布を抽出するヒストグラム作成部と、上記ヒストグラム抽出結果に基づき閾値を生成する閾値生成部を備えることを特徴とする。
また、「抽出色」の閾値を生成する手段として、「抽出色を含む」画像領域を色抽出した色空間上の分布として「抽出色を含む」包絡面を生成する第1のスムージング手段と、「抽出色を含まない」画像領域を色抽出した色空間上の分布として「抽出色を含まない」包絡面を生成する第2のスムージング手段と、少なくとも「抽出色を含む」包絡面の内側にあって、「抽出色を含まない」包絡面の外側にあれば「抽出色」とする判定基準を持つ閾値生成部とを備えることを特徴とする。
また、前記閾値生成手段は、「抽出色を含む」包絡面の内側にあってかつ「抽出色を含まない」包絡面の内側にある競合領域においては、上記ヒストグラム抽出結果に基づき「抽出色を含む」輪郭を作成する際、「抽出色を含まない」領域外ではヒストグラム分布の最小境界を選択して閾値を生成し、「抽出色を含まない」領域内ではヒストグラムの谷部を選択して閾値を生成する閾値生成部を有することを特徴とする。
本発明によれば、多色画像データについて、所定の色範囲を決定し設定色に変更するドロップアウトカラー処理装置において、複数の「抽出色を含む」色範囲と「抽出色を含まない」色範囲を簡単に設定でき、抽出境界を自動的に決定することができるため、新規の抽出帳票の追加が容易で、メンテナンスコストを大幅に抑えることができ、安定して色を抽出し、除去することができる。
以下本発明の実施の形態について、その構成、画像表示例、および処理フローチャートを説明する。
〔第1の実施の形態〕
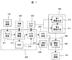
図1は、本発明の全体のブロック図である。RGB画像を入力する入力部100は、色空間変換・ヒストグラム作成部200におけるグレイ変換部211、浮動閾値二値化部212、二値化判定部214によって画像データのHSV色空間変換とヒストグラム処理を行う。その後ヒストグラム処理部213で二値化処理で黒画素となる画素のみのヒストグラムを採取しヒストグラムバッファ222に格納する。二値化のための一次バッファデータは浮動閾値二値化画像バッファ220に格納し、RGBからHSVに変換した画像はHSV画像バッファ230に格納し、二値化結果は二値化結果バッファ240におのおの格納する。
次に、輪郭作成・閾値生成部300は、内部に備える第1閾値生成部310と第2閾値生成部311で罫線部と文字部の閾値生成を行い、色空間上の抽出領域を設定する。この抽出領域に基づき指定色変換部400で対象画素の色が色空間上の抽出領域内かどうかの判定を閾値判定部410で行い、出力画像を出力部110からディスプレイ、プリンタ等の出力装置に出力する。
図2は、本発明の第1の実施の形態の概略フローチャートを示す。入力画像100aは、罫線104が印字され文字102が記入されている帳票画像を示す。色空間変換・ヒストグラム作成部200では、帳票を電子的に読み取りRGBなどの多色の画像データに変換し、例えば人間の目の特性に近いHSV色空間等に変換し、そのヒストグラム201を採取する。さらに、輪郭作成・閾値生成部300では、ヒストグラム201から頻度の分布の輪郭を作成し、作成した輪郭とあらかじめ設定した領域もしくは、作成した輪郭と他の輪郭との干渉の有無をチェックし、SV平面上で閾値301を生成する。指定色変換部400では閾値301に基づき入力画像データの画像を変換し、罫線104を白に置き換えて除去し、文字102のみを再現した出力画像110aを出力する。
次に、上記各処理の詳細について説明する。図3はHSV色空間の模式図であって、図3(a)はHSV色空間2000の回転方向は色相H、系方向は彩度S、高さ方向は輝度Vを示す。HSV色空間では、RGBなどの多色データに比べて、色相、彩度、輝度に分離されているため、より人間の認識に近い処理が可能となる。本実施の形態では、色相を30種に、彩度および輝度は32種に分類し、HSV色空間に変換した画像データの頻度を求める。図3(b)は、ヒストグラムから頻度の分布を求めた模式図を示す。黒インク等の文字部の頻度は、彩度が低い分布2002となり、色のついた罫線は彩度が高い分布
2003、2004のようになる。
図4は、HSV色空間上の画像データのヒストグラム収集データ構造を示す模式図である。各収集データ2100〜2104は色相(H)別に、彩度(S)、輝度(V)の頻度を求める。このようにヒストグラムは3次元的なデータとして記憶する。
図5は、閾値生成方式の模式図であり、図5(a)は、HSV色空間2000のヒストグラム、図5(b)は、その1色相を切り出したS−V平面を示す。図において横軸は彩度(S)、縦軸は輝度(V)を示し、2005は文字部の分布、2006は罫線部の分布を示す。図5(c)はその拡大図で、文字部の分布2005と罫線部の分布2006は、罫線上の文字が存在するため分布が重なっているケースが多く、その重なった分布における断面2007は、たとえば図5(d)に示すように、頻度分布に谷部を形成している場合が多い。図5(c)には谷線2008を示す。本発明では、文字と罫線の重なっている分布を分離するためにこの頻度の谷部を利用している。
図6は閾値生成処理の一例を示し、特定の色相HにおけるS−V平面において文字と罫線の分布を示す説明図である。図6(a)では、横軸Sに文字2010と罫線2011の仮分離閾値SMinを設け、SMinより大きな彩度のヒストグラムについて閾値近似直線2012を求める。次に、この近似直線と直線S=SMinの交点を求める。SMinより小さな彩度の部分については、上記の交点を基点に図5(d)で説明した文字部と罫線部の頻度の谷部を検索し谷線を求める。閾値の具体的算出に関しSMinより大きな彩度のヒストグラムには第1の閾値生成方式を用い、SMinより小さな彩度のヒストグラムには第2の閾値生成方式を用いており、このアルゴリズムの詳細については後述する。
色分離のための閾値は、上記演算で求めた閾値近似直線と谷線からなる折れ線に対して所定の補正係数をかけて閾値2013を生成する。縦軸VにおけるVMinは、ノイズの上限を示し、閾値の計算はVMin以上のみを対象としている。
文字の頻度分布が仮分離閾値SMinよりも小さい場合は、上述のように文字と罫線は正しく分離が可能である。一方、図6(b)のように文字分布2016が仮分離閾値SMinよりも大きな場合は、閾値近似直線と実際の分布の間に誤差が生じ閾値が低く設定されるため、文字にもかかわらず閾値の上に分布2017が生じ、読取文字がかすれる問題が発生する。
図7(a)は、上記に対応する別の仮分離閾値の設定方式を示す。仮分離閾値2020をS軸に対し平行でなく略45度傾斜した直線で設定する。これにより仮分離閾値と実際の分布のずれを小さくすることができ閾値生成のロバスト性を向上できる。また、仮分離閾値よりも大きな彩度の領域では、ヒストグラムを直線近似ではなく、頻度の最小境界
2021を求めている。これにより、閾値近似直線から閾値に変換する補正係数をなくし、パラメータ数を減らすことができる。図7(b)は、仮分離閾値2020よりも小さな領域の閾値決定方式を示し、これは、文字と罫線の頻度の谷部を求める方式を用いる。
図8に、本発明の閾値生成処理の全体フローチャートを示す。まず、変数やテーブルの初期化を行い(S11)、座標更新を行う(S12)。座標移動は、色相Hごとに、彩度Sを降順に、輝度Vをノイズの上限VMinから昇順に色頻度をスキャンしていく。図6、図7で述べたように、対象座標が、競合エリア外つまり仮分離閾値よりも対象の彩度が高い場合(S13)は、第一の閾値生成方式である最小値抽出(S14)より境界を求め、仮分離閾値よりも対象の彩度が低い場合(S13)は、第二の閾値生成方式である頻度の谷部検出(S21)により境界を求める。境界計算後、前のV位置を記憶するため前値の更新(S15)を行う。スキャンが終了すれば(S16)次に移るが、スキャンが残っていれば座標更新(S12)に戻る。彩度Sを降順に処理し、終了すれば(S16)今度は逆に彩度Sを昇順に座標更新(S17)を行い、スムージング処理(S18)を行い急激な変化をスムーズな動きに変換する。スキャンが終了すれば(S19)閾値の生成を完了
(S20)する。
次に、本発明の実施の形態で用いられる二つの閾値生成方式について詳細に説明する。図9は第一の閾値生成方式である最小値検出方式の詳細を説明する模式図である。図9(a)は色相HにおけるS−V平面での頻度を示している。H1からH7は、所定の閾値を超える頻度の輝度Vの最小値と最大値を線で結んだものである。頻度分布は、画像に依存するためすべての彩度Sで存在するとは限らず、ここではH2、H5は欠けている。図9(b)は、彩度Sを最大彩度から降順に、彩度Sに対応する輝度Vの最小値を求める。このフローチャートを図10に示す。前に求めた最小値(前V)より現在の最小値(現V)が小さい場合(S33)は、その値をそのまま採用する(S34)。しかし、前Vより現Vが大きな場合(S33)や頻度が存在しない場合は、前Vを1増加させる(S35)にとどめ急峻な変化をスムージングする(図9(c))。この処理が終了すれば彩度Sを0から昇順に増やし、今度は現Vが前Vより大きな場合、前Vを1増加させるにとどめることによって、両方へのスムージングが完了する(図9(d))。このようにスムージングを行い、ヒストグラムで得た頻度からユーザーが希望する抽出領域を切り出す。
図11は、第二の閾値生成方式である頻度の谷部検出方式を説明する模式図である。横方向は彩度S、縦方向は輝度Vを表す。P0、P1、P2は、彩度Sを降順に決定してきた経緯を示している。P2から次の閾値境界を求める際、P4,P5,P6のいずれに進むかを決定する。図12にそのフローチャートを示す。参照画素Aと参照画素Bの頻度を比較し(S43)、Aの頻度がBの頻度よりも小さければP4へ進み(S44)、Aの頻度がBの頻度と同等であればP5へ進み(S45)、Aの頻度がBの頻度よりも大きければP6へ(S46)進む。このようにすれば、頻度の谷部をたどり、閾値を決定することが可能となる。
〔第2の実施の形態〕
次に、本発明の第2の実施の形態を説明する。第1実施の形態では色付き罫線上に記述された黒色等の無彩色に近い文字を抽出するため、色空間内に仮の分離閾値を設定した。第2の実施の形態では、色ボールペン、マジック、カラーカーボンなどの有彩色で記入された文字を切出し抽出するため、抽出色を含まないエリアを仮の分離閾値として利用することで、第1の実施の形態と同様に閾値生成処理を実行することができる。
本実施の形態の概略フローチャートを図13で説明する。色文字を抽出する際は、どの色を抽出するのか参照画像を用いて定義する必要がある。参照画像101aには、抽出色の対象102の文字と抽出しない罫線が混在している。これを、「抽出色を含む」範囲
105を指定する第1範囲指定部と「抽出色を含まない」範囲103を指定する第2範囲指定部で指示し、本システムで自動的に抽出したい色を判別する。このため、従来例のように細かな抽出対象文字内の1ドットを指定する必要が無く、また抽出した中心色に対するマージン閾値を入力する必要もない。
「抽出色を含まない」範囲103、「抽出色を含む」範囲105のそれぞれにつきヒストグラム作成部251、252でヒストグラムを作成し、「抽出色を含まない」ヒストグラム261、「抽出色を含む」ヒストグラム262を得る。この複数のヒストグラムから輪郭形成・閾値生成部300aで文字抽出閾値301を作成する。輪郭形成・閾値生成部300aは、画像データが少なくとも「抽出色を含む」包絡面の内側にあってかつ「抽出色を含まない」包絡面の外側にあれば、「抽出色」と判定する判定基準をもつ。この閾値を元に、入力画像100の各画素のHSV値が、色空間上の抽出境界内か否かで抽出した色を指定した色に変換することでドロップアウト処理を実行する。
図14は、閾値生成の模式図を示す。抽出色を含むヒストグラム図14(a)と抽出色を含まないヒストグラム図14(b)の特定の色相Hで切り出した断面を図14(c)、(d)に示した。第1の実施の形態では、あらかじめ色空間内に仮の分離閾値を設定したが、第2の実施の形態では抽出色を含まないエリアを仮の分離閾値2021として利用することで、第1の実施の形態と同様の閾値生成処理を実行することができる。つまり、図14(e)における、仮の分離閾値2021外であれば、前述した第一の閾値生成方式である最小値検出で閾値を生成し、仮の分離閾値2021内であれば、第二の閾値生成方式である頻度の谷部検出で閾値を生成する。図14(f)には、図14(e)の断面2007における頻度の谷部を示す模式図を示す。
図15は、本実施の形態の閾値生成方式を具体的に示す模式図である。2011は罫線分布、2016は文字分布である。「抽出色を含む」包絡面生成する第1スムージング手段で処理を行う。すなわち、図15(a)は、抽出色を含まないエリア2045外での最小値2041検出の模式図を示す。彩度Sを降順にたどり抽出域の最小値をスムージングしながら検出する。次に、図15(b)は、同じく抽出色を含まないエリア2045外での最大値2042検出を行う。
さらに、図16では、「抽出色を含まない」包絡面を生成する第2スムージング手段で処理、すなわち抽出色を含まないエリア2045内での頻度の谷線2043検出を行う。これらの検出結果をつなぎ合わせると、図16(b)のように、ユーザーが所望した抽出領域2046を自動的に得ることができ、複雑な閾値を組み合わせることなく、簡単な指定で安定した色抽出を可能としている。
図17は、本発明の画面表示例を示す。画面3000中には、画面プレビュー3001とヒストグラム表示3002、編集ボタン3010の表示がある。色指定ボタン3003はONの場合は、従来用いられていたインターフェイスに沿った表示となる。プレビュー画面3001には読み取った参照画像が表示され、その中で抽出する画素であるか、抽出しない画素であるかは、抽出するラジオボタン3011、もしくは抽出しないラジオボタン3012の何れをONにするかで指示を行う。
プレビュー画面3001上で、抽出、もしくは抽出しない画素をクリックすると、ヒストグラム表示3002上の色空間に中心の色空間が表示され、その範囲はバウンディングボックス3022をマウスで調整することで定義ができる。抽出、非抽出エリアが確定したら、色範囲の登録3008、追加3006、削除3009、などのボタンで編集処理が可能である。
図18は、本発明の他の画像表示例を示す。包含指定ボタン3003aがONの場合は、画像プレビュー3001上で、抽出色を含む範囲105、抽出色を含まない範囲103の指定が可能である。このため、罫線と文字が小さなエリアで混在している場合や、網点背景上の文字を指定する場合に効果を発揮する。抽出色を含むか否かは、先に説明した方式と同様に抽出するラジオボタン3011、抽出しないラジオボタン3012のON/OFFで指示する。
図19に、本発明を実現するハードウエア構成例を示す。スキャナ14から色画像を入力し、パーソナルコンピュータ15で画像抽出処理後、認識装置17へ画像を転送する。151はCPU、152は画像制御部、153はUSB接続部、154はメモリ、155はLAN I/F、156はATA I/F、157はハードディスクである。閾値や色範囲の設定はパーソナルコンピュータ15に接続されたキーボード18やマウス19を用いて指示する。
本発明は、帳票読取り装置へ適用できるだけではなく、コンピュータ用画像処理ソフト、OCRソフト等へ容易に適用することができる。
本発明において可能なその他の実施形態を以下に記載する。
(付記1)帳票を多色の画像データとして入力する入力部と、上記画像データを所定の色空間に変換する色空間変換部と、上記色空間内のデータのヒストグラムを作成するヒストグラム作成部と、上記ヒストグラムに基づいてデータ分布の輪郭を作成する輪郭作成部と、上記作成した輪郭によって色空間上の抽出領域を作成する閾値生成部と、上記画像データの各画素の上記色空間変換結果が上記色空間上の抽出領域に属するか否かによって上記画像データの各画素を、それぞれ指定した色に変換する指定色変換部と、処理後の画像を表示もしくは出力する出力部とを有し、上記画像データに対し「抽出色を含む」画像領域を指定する第一の範囲指定部と、上記画像データに対し「抽出色を含まない」画像領域を指定する第二の範囲指定部と、上記「抽出色を含む」画像領域内および、「抽出色を含まない」画像領域内の一部もしくは全部の色空間分布を抽出するヒストグラム作成部と、上記ヒストグラム抽出結果に基づき閾値を生成する閾値生成部を備えることを特徴とするドロップアウトカラー処理装置ドロップアウトカラー処理装置において、「抽出色」の判定基準を生成する手段として、「抽出色を含む」包絡面の内側にあって、「抽出色を含まない」包絡面の内側にある競合領域においては、包絡面の境界面色の距離に応じて抽出させる程度を変化させる手段を有することを特徴とするドロップアウトカラー処理装置。
(付記2)付記1のドロップアウトカラー処理装置において、上記画像データに対し「抽出色を含む」画像領域を指定する手段もしくは、上記画像データに対し「抽出色を含まない」画像領域を指定する手段として、操作者に入力画像データもしくは入力画像を二値化したデータを提示する手段と、操作者が「抽出色を含む」もしくは「抽出色を含まない」のいずれの画像領域を指定するのかを明示する手段と、上記の指定を切り替える手段と、「抽出色を含む」もしくは「抽出色を含まない」の指定に応じてドラッグおよび指定後に表示する矩形の色を変更する手段と、指定後の画像領域の開始終了位置を記憶する手段を有することを特徴とするドロップアウトカラー処理装置。
(付記3)付記1のドロップアウトカラー処理装置において、「抽出色」の判定基準を2次元もしくは3次元の頻度分布画像上に表示する手段を備えたことを特徴とするドロップアウトカラー処理装置。
(付記4)付記3の記載のドロップアウトカラー処理装置において、「抽出色」の複数の判定基準で生成した出力画像を、色を変え重ねて表示する手段と、上記出力画像に対し、対象画像エリアと対象出力に対応する色を指定する手段と、抽出した箇所の正解を指示する手段と、正解データを表示する手段と、正解データを登録する手段を有することを特徴とするドロップアウトカラー処理装置。
(付記5)付記4のドロップアウトカラー処理装置において、すでに設定してある「抽出色」の判定基準に新しい「抽出色」を追加し、もしくは削除する編集を行う手段と、編集が行われた結果、編集前の判定基準での出力との差異を表示する手段を有することを特徴とするドロップアウトカラー処理装置。
(付記6)付記5のドロップアウトカラー処理装置において、「抽出色」の判定基準の編集前の出力画像、編集後の出力画像に加え、正解データとの差異を表示する手段を有することを特徴とするドロップアウトカラー処理装置。
(付記7)帳票を多色の画像データとして入力する入力部と、上記画像データを所定の色空間に変換する色空間変換部と、上記色空間内のデータのヒストグラムを作成するヒストグラム作成部と、上記ヒストグラムに基づいてデータ分布の輪郭を作成する輪郭作成部と、上記作成した輪郭によって色空間上の抽出領域を作成する閾値生成部と、上記画像データの各画素の上記色空間変換結果が上記色空間上の抽出領域に属するか否かによって上記画像データの各画素を、それぞれ指定した色に変換する指定色変換部と、処理後の画像を表示もしくは出力する出力部とを有し、上記画像データに対し「抽出色を含む」画像領域を指定する第一の範囲指定部と、上記画像データに対し「抽出色を含まない」画像領域を指定する第二の範囲指定部と、上記「抽出色を含む」画像領域内および、「抽出色を含まない」画像領域内の一部もしくは全部の色空間分布を抽出するヒストグラム作成部と、上記ヒストグラム抽出結果に基づき閾値を生成する閾値生成部を備えたドロップアウトカラー処理装置において、「抽出色」の閾値を生成する手段として、「抽出色を含む」画像領域を色抽出した色空間上の分布として「抽出色を含む」包絡面を生成する第1のスムージング手段と、「抽出色を含まない」画像領域を色抽出した色空間上の分布として「抽出色を含まない」包絡面を生成する第2のスムージング手段と、少なくとも「抽出色を含む」包絡面の内側にあって、「抽出色を含まない」包絡面の外側にあれば「抽出色」とする判定基準を持つ閾値生成部とを備え、包絡面を生成する手段として、色相毎に、また彩度ごとに輝度の最小値、最大値を検出し、彩度方向にスムージング処理し、さらに色相方向にスムージング処理する手段を有することを特徴とするドロップアウトカラー処理装置。
(付記8)帳票を多色の画像データとして入力する入力部と、上記画像データを所定の色空間に変換する色空間変換部と、上記色空間内のデータのヒストグラムを作成するヒストグラム作成部と、上記ヒストグラムに基づいてデータ分布の輪郭を作成する輪郭作成部と、上記作成した輪郭によって色空間上の抽出領域を作成する閾値生成部と、上記画像データの各画素の上記色空間変換結果が上記色空間上の抽出領域に属するか否かによって上記画像データの各画素を、それぞれ指定した色に変換する指定色変換部と、処理後の画像を表示もしくは出力する出力部とを有し、上記画像データに対し「抽出色を含む」画像領域を指定する第一の範囲指定部と、上記画像データに対し「抽出色を含まない」画像領域を指定する第二の範囲指定部と、上記「抽出色を含む」画像領域内および、「抽出色を含まない」画像領域内の一部もしくは全部の色空間分布を抽出するヒストグラム作成部と、上記ヒストグラム抽出結果に基づき閾値を生成する閾値生成部を備えたドロップアウトカラー処理装置において、「抽出色」の閾値を生成する手段として、「抽出色を含む」画像領域を色抽出した色空間上の分布として「抽出色を含む」包絡面を生成する第1のスムージング手段と、「抽出色を含まない」画像領域を色抽出した色空間上の分布として「抽出色を含まない」包絡面を生成する第2のスムージング手段と、少なくとも「抽出色を含む」包絡面の内側にあって、「抽出色を含まない」包絡面の外側にあれば「抽出色」とする判定基準を持つ閾値生成部とを備え、包絡面を生成する手段として、色相毎に、また輝度ごとに彩度の最小値、最大値を検出し、輝度方向にスムージング処理し、さらに色相方向にスムージング処理する手段を有することを特徴とするドロップアウトカラー処理装置。
本発明の第1の実施形態の全体ブロック図である。 本発明の第1の実施形態の概略フローチャートである。 本発明の第1の実施形態のヒストグラム作成例を示す模式図である。 本発明の第1の実施形態のヒストグラム格納データを示す模式図である。 本発明の第1の実施形態の閾値生成を示す模式図である。 本発明の第1の実施形態の閾値生成方式を示す詳細説明図である。 本発明の第1の実施形態の閾値生成方式の変形例を示す詳細説明図である。 本発明の第1の実施形態の閾値生成を示すフローチャートである。 本発明の第1の実施形態の第1の閾値生成方式を示す模式図である。 本発明の第1の実施形態の第1の閾値生成方式のフローチャートである。 本発明の第1の実施形態の第2の閾値生成方式を示す模式図である。 本発明の第1の実施形態の第2の閾値生成方式のフローチャートである。 本発明の第2の実施形態の概略フローチャートである。 本発明の第2の実施形態の閾値生成を示す模式図である。 本発明の第2の実施形態の閾値生成を示す説明図である。 本発明の第2の実施形態の閾値生成を示す説明図である。 本発明の実施形態における操作画面を示す模式図である。 本発明の実施形態における他の操作画面を示す模式図である。 本発明のハードウエア構成を示すブロック図である。
符号の説明
100:入力部
110:出力部
200:色空間変換・ヒストグラム作成部
300:輪郭作成・閾値生成部
300a:輪郭作成・閾値生成部
310:第1閾値生成部
311:第2閾値生成部
400:指定色変換部

Claims (12)

  1. 帳票を多色の画像データとして入力する入力部と、上記画像データを所定の色空間に変換する色空間変換部と、上記色空間内のデータのヒストグラムを作成するヒストグラム作成部と、上記ヒストグラムに基づいてデータ分布の輪郭を作成する輪郭作成部と、上記作成した輪郭によって閾値を生成し色空間上の抽出領域を作成する閾値生成部と、上記画像データの各画素の上記色空間変換結果が上記色空間上の抽出領域に属するか否かによって上記画像データの各画素をそれぞれ指定した色に変換する指定色変換部と、処理後の画像を出力する出力部とを有するドロップアウトカラー処理装置において、
    前記閾値生成部に色空間上の抽出領域を異なる方式で生成する複数の閾値生成部を設け、上記輪郭作成部で輪郭を作成する際、色空間上の座標があらかじめ設定した領域内か否かによって上記複数の閾値生成部を切り替えることを特徴とするドロップアウトカラー処理装置。
  2. 請求項1記載のドロップアウトカラー処理装置において、前記複数の閾値生成部のうち少なくとも一つはヒストグラム分布の最小境界を選択して閾値を生成して抽出領域を作成する第1閾値生成部であり、少なくとも一つはヒストグラム分布の谷部を選択して閾値を生成し抽出領域を作成する第2閾値生成部であることを特徴とするドロップアウトカラー処理装置。
  3. 請求項1記載のドロップアウトカラー処理装置において、前記あらかじめ設定した領域の境界は、色空間軸に対して平行もしくは垂直であることを特徴とするドロップアウトカラー処理装置。
  4. 請求項1記載のドロップアウトカラー処理装置において、前記あらかじめ設定した領域の境界は、色空間軸に対して傾斜して設けたことを特徴とするドロップアウトカラー処理装置。
  5. 帳票を多色の画像データとして入力する入力部と、上記画像データを所定の色空間に変換する色空間変換部と、上記色空間内のデータのヒストグラムを作成するヒストグラム作成部と、上記ヒストグラムに基づいてデータ分布の輪郭を作成する輪郭作成部と、上記作成した輪郭によって閾値を生成し色空間上の抽出領域を作成する閾値生成部と、上記画像データの各画素の上記色空間変換結果が上記色空間上の抽出領域に属するか否かによって上記画像データの各画素を、それぞれ指定した色に変換する指定色変換部と、処理後の画像を出力する出力部とを有するドロップアウトカラー処理装置において、
    上記画像データに対し「抽出色を含む」画像領域を指定する第1範囲指定部と、上記画像データに対し「抽出色を含まない」画像領域を指定する第2範囲指定部と、上記「抽出色を含む」画像領域内および、「抽出色を含まない」画像領域内の一部もしくは全部の色空間分布を抽出するヒストグラム作成部と、上記ヒストグラム抽出結果に基づき閾値を生成する閾値生成部を備えることを特徴とするドロップアウトカラー処理装置。
  6. 請求項5記載のドロップアウトカラー処理装置において、「抽出色」の閾値を生成する手段として、「抽出色を含む」画像領域を色抽出した色空間上の分布として「抽出色を含む」包絡面を生成する第1スムージング手段と、「抽出色を含まない」画像領域を色抽出した色空間上の分布として「抽出色を含まない」包絡面を生成する第2スムージング手段と、少なくとも「抽出色を含む」包絡面の内側にあって、「抽出色を含まない」包絡面の外側にあれば「抽出色」とする判定基準を持つ閾値生成部とを備えることを特徴とするドロップアウトカラー処理装置。
  7. 請求項5記載のドロップアウトカラー処理装置において、前記閾値生成手段は、「抽出色を含む」包絡面の内側にあってかつ「抽出色を含まない」包絡面の内側にある競合領域においては、上記ヒストグラム抽出結果に基づき「抽出色を含む」輪郭を作成する際、「抽出色を含まない」領域外ではヒストグラム分布の最小境界を選択して閾値を生成し、「抽出色を含まない」領域内ではヒストグラムの谷部を選択して閾値を生成する閾値生成部を有することを特徴とするドロップアウトカラー処理装置。
  8. 帳票を多色の画像データとして入力し、上記画像データを所定の色空間に変換し、上記色空間内のデータのヒストグラムを作成し、上記ヒストグラムに基づいてデータ分布の輪郭を作成し、上記作成した輪郭によって閾値を生成し色空間上の抽出領域を作成し、上記画像データの各画素の上記色空間変換結果が上記色空間上の抽出領域に属するか否かによって上記画像データの各画素をそれぞれ指定した色に変換し、処理後の画像を出力するドロップアウトカラー処理方法において、
    色空間上の抽出領域を異なる方式で生成する複数の閾値生成方法を有し、上記輪郭を作成する際、色空間上の座標があらかじめ設定した領域内か否かによって上記複数の閾値生成部を切り替えることを特徴とするドロップアウトカラー処理方法。
  9. 請求項8記載のドロップアウトカラー処理方法において、前記複数の閾値生成方法のうち少なくとも一つはヒストグラム分布の最小境界を選択して閾値を生成して抽出領域を作成する第1閾値生成方法であり、少なくとも一つはヒストグラム分布の谷部を選択して閾値を生成し抽出領域を作成する第2閾値生成方法であることを特徴とするドロップアウトカラー処理方法。
  10. 帳票を多色の画像データとして入力し、上記画像データを所定の色空間に変換し、上記色空間内のデータのヒストグラムを作成し、上記ヒストグラムに基づいてデータ分布の輪郭を作成し、上記作成した輪郭によって閾値を生成し色空間上の抽出領域を作成し、上記画像データの各画素の上記色空間変換結果が上記色空間上の抽出領域に属するか否かによって上記画像データの各画素をそれぞれ指定した色に変換し、処理後の画像を出力するドロップアウトカラー処理方法において、
    上記画像データに対し「抽出色を含む」画像領域と「抽出色を含まない」画像領域を指定し、上記「抽出色を含む」画像領域内および「抽出色を含まない」画像領域内の一部もしくは全部の色空間分布を抽出して各々のヒストグラムを作成し、上記ヒストグラム抽出結果に基づき閾値を生成することを特徴とするドロップアウトカラー処理方法。
  11. 請求項10記載のドロップアウトカラー処理方法において、「抽出色」の閾値を生成するため、「抽出色を含む」画像領域を色抽出した色空間上の分布として「抽出色を含む」包絡面を生成し、「抽出色を含まない」画像領域を色抽出した色空間上の分布として「抽出色を含まない」包絡面を生成し、少なくとも「抽出色を含む」包絡面の内側にあって「抽出色を含まない」包絡面の外側にあれば「抽出色」であると判定することを特徴とするドロップアウトカラー処理方法。
  12. 請求項10記載のドロップアウトカラー処理において、前記閾値生成手段は、「抽出色を含む」包絡面の内側にあってかつ「抽出色を含まない」包絡面の内側にある競合領域においては、上記ヒストグラム抽出結果に基づき「抽出色を含む」輪郭を作成する際、「抽出色を含まない」領域外ではヒストグラム分布の最小境界を選択して閾値を生成し、「抽出色を含まない」領域内ではヒストグラムの谷部を選択して閾値を生成することを特徴とするドロップアウトカラー処理方法。
JP2008161540A 2007-12-26 2008-06-20 ドロップアウトカラー処理装置およびこれを用いたドロップアウトカラー処理方法 Active JP4627787B2 (ja)

Priority Applications (3)

Application Number Priority Date Filing Date Title
JP2008161540A JP4627787B2 (ja) 2008-06-20 2008-06-20 ドロップアウトカラー処理装置およびこれを用いたドロップアウトカラー処理方法
US12/342,627 US8326028B2 (en) 2007-12-26 2008-12-23 Dropout color processing method and processing apparatus using same
KR1020080132931A KR101000421B1 (ko) 2007-12-26 2008-12-24 드롭 아웃 컬러 처리방법 및 그 장치

Applications Claiming Priority (1)

Application Number Priority Date Filing Date Title
JP2008161540A JP4627787B2 (ja) 2008-06-20 2008-06-20 ドロップアウトカラー処理装置およびこれを用いたドロップアウトカラー処理方法

Related Child Applications (1)

Application Number Title Priority Date Filing Date
JP2010207388A Division JP5023205B2 (ja) 2010-09-16 2010-09-16 ドロップアウトカラー処理装置およびこれを用いたドロップアウトカラー処理方法

Publications (2)

Publication Number Publication Date
JP2010003124A true JP2010003124A (ja) 2010-01-07
JP4627787B2 JP4627787B2 (ja) 2011-02-09

Family

ID=41584787

Family Applications (1)

Application Number Title Priority Date Filing Date
JP2008161540A Active JP4627787B2 (ja) 2007-12-26 2008-06-20 ドロップアウトカラー処理装置およびこれを用いたドロップアウトカラー処理方法

Country Status (1)

Country Link
JP (1) JP4627787B2 (ja)

Cited By (1)

* Cited by examiner, † Cited by third party
Publication number Priority date Publication date Assignee Title
CN110536043A (zh) * 2018-05-23 2019-12-03 富士施乐株式会社 信息处理装置、信息处理方法及存储介质

Citations (5)

* Cited by examiner, † Cited by third party
Publication number Priority date Publication date Assignee Title
JPH0798762A (ja) * 1993-07-27 1995-04-11 Citizen Watch Co Ltd 画像処理方法
JPH11272864A (ja) * 1998-03-20 1999-10-08 Hitachi Ltd 光学文字読取方法またはその装置
JP2001109842A (ja) * 1999-10-12 2001-04-20 Hitachi Ltd 光学文字読取装置
JP2003216894A (ja) * 2002-01-18 2003-07-31 Fujitsu Ltd ドロップアウト処理装置およびドロップアウト処理プログラム
JP2005071134A (ja) * 2003-08-26 2005-03-17 Toshiba Corp 光学的文字読取装置

Patent Citations (5)

* Cited by examiner, † Cited by third party
Publication number Priority date Publication date Assignee Title
JPH0798762A (ja) * 1993-07-27 1995-04-11 Citizen Watch Co Ltd 画像処理方法
JPH11272864A (ja) * 1998-03-20 1999-10-08 Hitachi Ltd 光学文字読取方法またはその装置
JP2001109842A (ja) * 1999-10-12 2001-04-20 Hitachi Ltd 光学文字読取装置
JP2003216894A (ja) * 2002-01-18 2003-07-31 Fujitsu Ltd ドロップアウト処理装置およびドロップアウト処理プログラム
JP2005071134A (ja) * 2003-08-26 2005-03-17 Toshiba Corp 光学的文字読取装置

Cited By (2)

* Cited by examiner, † Cited by third party
Publication number Priority date Publication date Assignee Title
CN110536043A (zh) * 2018-05-23 2019-12-03 富士施乐株式会社 信息处理装置、信息处理方法及存储介质
US11399119B2 (en) 2018-05-23 2022-07-26 Fujifilm Business Innovation Corp. Information processing apparatus and non-transitory computer readable medium storing program for color conversion

Also Published As

Publication number Publication date
JP4627787B2 (ja) 2011-02-09

Similar Documents

Publication Publication Date Title
CN101848303B (zh) 图像处理装置、图像形成装置以及图像处理方法
US8244035B2 (en) Image processing apparatus and control method thereof
US6865290B2 (en) Method and apparatus for recognizing document image by use of color information
US8320019B2 (en) Image processing apparatus, image processing method, and computer program thereof
KR101000421B1 (ko) 드롭 아웃 컬러 처리방법 및 그 장치
US8023147B2 (en) Image processing method and image processing apparatus
JP4960817B2 (ja) 画像処理装置、および画像処理方法
US20060056660A1 (en) Image processing apparatus and image processing method
US7551753B2 (en) Image processing apparatus and method therefor
US10477063B2 (en) Character detection and binarization
JP4655335B2 (ja) 画像認識装置、画像認識方法および画像認識プログラムを記録したコンピュータ読取可能な記録媒体
US7747108B2 (en) Image processing apparatus and its method
JP4582204B2 (ja) 画像処理装置、画像変換方法、およびコンピュータプログラム
JP5645612B2 (ja) 画像処理装置、画像処理方法、プログラム、及び記憶媒体
JP4217575B2 (ja) 画像処理装置、画像処理方法ならびにプログラム、記憶媒体
US8181108B2 (en) Device for editing metadata of divided object
US8274515B2 (en) Vector image generation method, image processing apparatus, and computer-readable storage medium for computer program
JP2010146218A (ja) 画像処理装置、画像処理方法、コンピュータプログラム
US8270722B2 (en) Image processing with preferential vectorization of character and graphic regions
JP5023205B2 (ja) ドロップアウトカラー処理装置およびこれを用いたドロップアウトカラー処理方法
JP4627787B2 (ja) ドロップアウトカラー処理装置およびこれを用いたドロップアウトカラー処理方法
US20090290797A1 (en) Image processing for storing objects separated from an image in a storage device
JP2003046746A (ja) 画像処理方法及び画像処理装置
JP2005151455A (ja) 画像処理装置、情報処理装置及びそれらの制御方法、プログラム
JP2001101341A (ja) 文字認識方法およびその装置ならびに文字認識処理用のプログラムが記録された記録媒体

Legal Events

Date Code Title Description
A621 Written request for application examination

Free format text: JAPANESE INTERMEDIATE CODE: A621

Effective date: 20100319

A977 Report on retrieval

Free format text: JAPANESE INTERMEDIATE CODE: A971007

Effective date: 20100708

A131 Notification of reasons for refusal

Free format text: JAPANESE INTERMEDIATE CODE: A131

Effective date: 20100727

A521 Request for written amendment filed

Free format text: JAPANESE INTERMEDIATE CODE: A523

Effective date: 20100916

TRDD Decision of grant or rejection written
A01 Written decision to grant a patent or to grant a registration (utility model)

Free format text: JAPANESE INTERMEDIATE CODE: A01

Effective date: 20101102

A01 Written decision to grant a patent or to grant a registration (utility model)

Free format text: JAPANESE INTERMEDIATE CODE: A01

A61 First payment of annual fees (during grant procedure)

Free format text: JAPANESE INTERMEDIATE CODE: A61

Effective date: 20101108

FPAY Renewal fee payment (event date is renewal date of database)

Free format text: PAYMENT UNTIL: 20131119

Year of fee payment: 3

R150 Certificate of patent or registration of utility model

Ref document number: 4627787

Country of ref document: JP

Free format text: JAPANESE INTERMEDIATE CODE: R150

Free format text: JAPANESE INTERMEDIATE CODE: R150

S111 Request for change of ownership or part of ownership

Free format text: JAPANESE INTERMEDIATE CODE: R313111

R350 Written notification of registration of transfer

Free format text: JAPANESE INTERMEDIATE CODE: R350

R250 Receipt of annual fees

Free format text: JAPANESE INTERMEDIATE CODE: R250

R250 Receipt of annual fees

Free format text: JAPANESE INTERMEDIATE CODE: R250

R250 Receipt of annual fees

Free format text: JAPANESE INTERMEDIATE CODE: R250

R250 Receipt of annual fees

Free format text: JAPANESE INTERMEDIATE CODE: R250

R250 Receipt of annual fees

Free format text: JAPANESE INTERMEDIATE CODE: R250

R250 Receipt of annual fees

Free format text: JAPANESE INTERMEDIATE CODE: R250

R250 Receipt of annual fees

Free format text: JAPANESE INTERMEDIATE CODE: R250

R250 Receipt of annual fees

Free format text: JAPANESE INTERMEDIATE CODE: R250

R250 Receipt of annual fees

Free format text: JAPANESE INTERMEDIATE CODE: R250

R250 Receipt of annual fees

Free format text: JAPANESE INTERMEDIATE CODE: R250

R250 Receipt of annual fees

Free format text: JAPANESE INTERMEDIATE CODE: R250

R250 Receipt of annual fees

Free format text: JAPANESE INTERMEDIATE CODE: R250

R250 Receipt of annual fees

Free format text: JAPANESE INTERMEDIATE CODE: R250