JP2009270429A - Coupling structure of steel pipe - Google Patents

Coupling structure of steel pipe Download PDF

Info

Publication number
JP2009270429A
JP2009270429A JP2009088756A JP2009088756A JP2009270429A JP 2009270429 A JP2009270429 A JP 2009270429A JP 2009088756 A JP2009088756 A JP 2009088756A JP 2009088756 A JP2009088756 A JP 2009088756A JP 2009270429 A JP2009270429 A JP 2009270429A
Authority
JP
Japan
Prior art keywords
steel pipe
joint structure
cross
steel
convex
Prior art date
Legal status (The legal status is an assumption and is not a legal conclusion. Google has not performed a legal analysis and makes no representation as to the accuracy of the status listed.)
Granted
Application number
JP2009088756A
Other languages
Japanese (ja)
Other versions
JP5310198B2 (en
Inventor
Masataka Takagi
優任 高木
Shunsuke Moriyasu
俊介 森安
Kenji Saikai
健二 西海
Koichi Iguchi
公一 井口
Current Assignee (The listed assignees may be inaccurate. Google has not performed a legal analysis and makes no representation or warranty as to the accuracy of the list.)
Nippon Steel Corp
Original Assignee
Nippon Steel Corp
Priority date (The priority date is an assumption and is not a legal conclusion. Google has not performed a legal analysis and makes no representation as to the accuracy of the date listed.)
Filing date
Publication date
Application filed by Nippon Steel Corp filed Critical Nippon Steel Corp
Priority to JP2009088756A priority Critical patent/JP5310198B2/en
Publication of JP2009270429A publication Critical patent/JP2009270429A/en
Application granted granted Critical
Publication of JP5310198B2 publication Critical patent/JP5310198B2/en
Active legal-status Critical Current
Anticipated expiration legal-status Critical

Links

Images

Landscapes

  • Piles And Underground Anchors (AREA)

Abstract

【課題】輸送効率のよい小型化された機械式継手を提供し、さらに、施工現場における鋼管の接続作業を効率よく迅速かつ低コストで実施できる機械式継手を提供する。
【解決手段】2つの鋼管を直列に接続する継手構造であって、2つの鋼管の端部にそれぞれ設けられた、鋼管の外周面よりも外側に突出する一対の突出部と、2つの鋼管の端部同士を突き合わせた状態において、前記一対の突出部の外側から装着され、内周面に前記一対の突出部を受容させる溝が形成された複数の接続部材と、前記一対の突出部に装着された前記複数の接続部材の外側に装着される筒状の固定部材を備えることを特徴とする、鋼管の継手構造を提供する。これにより、ネジ・ボルト等を用いずに、構造が簡単で、コスト削減を図ることが可能となる鋼管の継手構造が提供される。また、施工現場における鋼管の接続作業を効率よく迅速に低コストで実施することができる。
【選択図】図1
The present invention provides a miniaturized mechanical joint with good transport efficiency, and further provides a mechanical joint capable of efficiently and quickly performing a steel pipe connection operation at a construction site.
A joint structure in which two steel pipes are connected in series, each of which has a pair of projecting portions projecting outward from the outer peripheral surface of the steel pipes provided at end portions of the two steel pipes, and two steel pipes. A plurality of connecting members that are mounted from the outside of the pair of protrusions in a state in which the end portions are butted together and that receive the pair of protrusions on the inner peripheral surface, and are mounted on the pair of protrusions Provided is a steel pipe joint structure comprising a cylindrical fixing member mounted on the outside of the plurality of connecting members. As a result, there is provided a steel pipe joint structure that is simple in structure and can reduce costs without using screws, bolts, or the like. In addition, the steel pipe connection work at the construction site can be carried out efficiently and quickly at a low cost.
[Selection] Figure 1

Description

本発明は、杭などに使用する鋼管を直列に接続する機械式の継手構造に関する。   The present invention relates to a mechanical joint structure in which steel pipes used for piles and the like are connected in series.

一般に、鋼管杭は、建設現場等の施工現場において複数の鋼管を長手方向に直列に接続することにより製造される。この場合、鋼管同士の接続には溶接が利用されている。しかし、施工現場における鋼管の溶接には、火気の使用が制限される施工現場では作業が難しいことや、気象条件や溶接工等の技術者の技能に影響される部分が大きいこと、さらに、溶接作業や溶接後の溶接部分の検査等に多くの手間や時間がかかるという問題があった。   Generally, a steel pipe pile is manufactured by connecting a plurality of steel pipes in series in a longitudinal direction at a construction site such as a construction site. In this case, welding is used to connect the steel pipes. However, welding of steel pipes at construction sites is difficult at work sites where the use of fire is restricted, and there are large parts that are affected by the technical conditions of engineers such as weather conditions and welders. There is a problem that it takes a lot of labor and time for work and inspection of the welded part after welding.

そこで、近年、溶接作業を行うことなく、機械式継手を用いて複数の鋼管同士を接続する方法が実施されている。例えば、特許文献1にはあらかじめ鋼管の端部に取り付けられた継手鋼管と円弧状継手およびボルト等を用いて、機械的に鋼管同士を接続させる鋼管の継手構造が記載されている。また、非特許文献1には、端板、接続プレートおよび接続ボルトを用いたトリプルプレートジョイントが公開されている。さらに、非特許文献2には、油圧ジャッキ、内リングおよび外リングを用いたペアリングジョイント(無溶接継手)が公開されている。   Therefore, in recent years, a method of connecting a plurality of steel pipes using a mechanical joint without performing a welding operation has been implemented. For example, Patent Document 1 describes a joint structure of steel pipes that mechanically connect steel pipes using joint steel pipes, arc-shaped joints, bolts, and the like that are previously attached to the ends of the steel pipes. Non-Patent Document 1 discloses a triple plate joint using an end plate, a connection plate, and a connection bolt. Further, Non-Patent Document 2 discloses a pairing joint (non-welded joint) using a hydraulic jack, an inner ring, and an outer ring.

特開2006−291543号公報JP 2006-291543 A

トリプルプレートジョイント(日本ヒューム株式会社カタログ)Triple plate joint (Nippon Hume Co., Ltd. catalog) ペアリングジョイント(ジャパンパイル株式会社カタログ)Pairing joint (Japan Pile Corporation catalog)

上記特許文献1に記載された鋼管の継手構造を用いて鋼管を接続する場合、鋼管に取り付けられた継手にボルト用の穴を設け、ボルトを取り付けている。また、上記非特許文献1に記載されたトリプルプレートジョイントを用いて鋼管を接続する場合、接続のためのプレートを鋼管端部の端板に穴をあけて、ボルトによって取り付けている。しかし、これらの継ぎ手構造では、ボルトとボルト穴の位置あわせに手間がかかる。加えて、鋼管接続部に穴を開けることによる鋼管および鋼管接続部の強度の低下が懸念され、さらに、ボルト部分への応力集中による接続後の鋼管の強度の低下が懸念されるといった問題点がある。   When connecting a steel pipe using the joint structure of the steel pipe described in the said patent document 1, the hole for bolts is provided in the joint attached to the steel pipe, and the bolt is attached. Moreover, when connecting a steel pipe using the triple plate joint described in the said nonpatent literature 1, the plate for a connection is made in the end plate of the steel pipe end part, and is attached with the volt | bolt. However, in these joint structures, it takes time to align the bolt and the bolt hole. In addition, there is a concern that the strength of the steel pipe and the steel pipe connection portion may be reduced due to drilling holes in the steel pipe connection portion, and the strength of the steel pipe after connection may be reduced due to stress concentration on the bolt portion. is there.

また、上記非特許文献2に記載されたペアリングジョイントを用いて鋼管を接続する場合、くさびを油圧ジャッキを用いて押し込み、内リングおよび外リングを固定するため、油圧ジャッキが施工で必要になり、施工に手間がかかるという問題点がある。   When connecting a steel pipe using the pairing joint described in Non-Patent Document 2, the wedge is pushed in using a hydraulic jack and the inner ring and the outer ring are fixed. There is a problem that construction takes time.

さらに、建設現場等において鋼管を直列に接続する場合、継手部で折れ曲がったようになるいわゆる「角折れ」等の発生による鋼管の強度の低下を生じないように、接続後の鋼管にはある程度以上の直線性を保持させる必要がある。そのため、上記特許文献1、非特許文献1および非特許文献2に記載された鋼管の継手構造では、接続時、鋼管端部の接続用端板(突出部)の製作精度や取り付け精度に高い精度が要求されていた。しかし、接続用端板の製作精度や取り付け精度を上げることは、製作の効率化の妨げとなり、またコスト上昇の原因となるといった問題点がある。   In addition, when steel pipes are connected in series at construction sites, etc., the steel pipes after connection are more than a certain amount so as not to cause a decrease in the strength of the steel pipe due to the occurrence of so-called `` square bends '' that are bent at the joints. It is necessary to maintain the linearity. Therefore, in the joint structure of steel pipes described in Patent Document 1, Non-Patent Document 1 and Non-Patent Document 2, when connecting, the accuracy of manufacturing and mounting accuracy of the connecting end plate (projecting portion) at the end of the steel pipe is high. Was requested. However, increasing the manufacturing accuracy and mounting accuracy of the connection end plate hinders the efficiency of manufacturing and causes a problem of increasing costs.

そこで、上記問題点に鑑み、本発明の目的は、製作・輸送の効率がよく、ネジ・ボルト等を用いない小型化された機械式継手を提供し、さらに、施工現場における鋼管の接続作業を効率よく迅速に実施できる鋼管の継手構造を提供することにある。   Accordingly, in view of the above problems, the object of the present invention is to provide a mechanical joint that is efficient in production and transportation, does not use screws, bolts, etc., and further connects steel pipes at the construction site. It is an object of the present invention to provide a steel pipe joint structure that can be carried out efficiently and quickly.

本発明によれば、2つの鋼管を直列に接続する継手構造であって、2つの鋼管の端部にそれぞれ設けられた、鋼管の外周面よりも外側に突出する一対の突出部と、2つの鋼管の端部同士を突き合わせた状態において、前記一対の突出部の外側から装着され、内周面に前記一対の突出部を受容させる溝が形成された複数の接続部材と、前記一対の突出部に装着された前記複数の接続部材の外側に装着される筒状の固定部材を備えることを特徴とする、鋼管の継手構造が提供される。   According to this invention, it is a joint structure which connects two steel pipes in series, Comprising: A pair of protrusion part which protrudes outside the outer peripheral surface of a steel pipe provided in the edge part of two steel pipes, and two In a state where the ends of the steel pipes are butted together, a plurality of connecting members attached from the outside of the pair of protrusions and having grooves formed on the inner peripheral surface for receiving the pair of protrusions, and the pair of protrusions A steel pipe joint structure is provided, comprising a cylindrical fixing member attached to the outside of the plurality of connection members attached to the steel pipe.

前記突出部は、前記鋼管の端部に取り付けられた円盤状部材、リング状部材あるいは円弧状部材により構成されることとしてもよい。   The protruding portion may be configured by a disk-shaped member, a ring-shaped member, or an arc-shaped member attached to an end portion of the steel pipe.

前記複数の接続部材は円弧形状を有しており、各接続部材を組み合わせることにより、鋼管の外周面を囲む円環形状が構成されることとしてもよい。   The plurality of connection members may have an arc shape, and an annular shape surrounding the outer peripheral surface of the steel pipe may be configured by combining the connection members.

前記固定部材の上端には、前記突出部に装着された接続部材の上面に当接可能な係止部が設けられていることとしてもよい。   At the upper end of the fixing member, a locking portion capable of coming into contact with the upper surface of the connecting member attached to the protruding portion may be provided.

前記一対の突出部の一方の対向面には凸部が設けられ、他方の対向面には前記凸部を受容可能な凹部が設けられていることとしてもよい。   A convex portion may be provided on one opposing surface of the pair of projecting portions, and a concave portion capable of receiving the convex portion may be provided on the other opposing surface.

前記固定部材の下端には、前記突出部に装着された接続部材の下面に架け留める突起部が設けられていることとしてもよい。   The lower end of the fixing member may be provided with a protrusion that is attached to the lower surface of the connection member attached to the protrusion.

また、前記一対の突出部の対向面は互いに適合する形状であり、一方の対向面は凹球面形状、他方の対向面は凸球面形状であってもよい。 The opposing surfaces of the pair of projecting portions may have shapes that match each other, one opposing surface may have a concave spherical shape, and the other opposing surface may have a convex spherical shape.

また、一方の前記突出部の対向面には鋼管の中心に向かって深くなる勾配を有する十字型形状溝が形成され、他方の前記突出部の対向面には前記十字型形状溝に適合する形状であり、鋼管の中心に向かって高くなる勾配を有する十字型凸部が形成されていてもよい。 In addition, a cross-shaped groove having a slope that becomes deeper toward the center of the steel pipe is formed on the facing surface of one of the protruding portions, and a shape that fits the cross-shaped groove is formed on the facing surface of the other protruding portion. The cross-shaped convex part which has the gradient which becomes high toward the center of a steel pipe may be formed.

また、一方の前記突出部の対向面には鋼管の中心に向かって浅くなる勾配を有する十字型形状溝が形成され、他方の前記突出部の対向面には前記十字型形状溝に適合する形状であり、鋼管の中心に向かって低くなる勾配を有する十字型凸部が形成されていてもよい。   Further, a cross-shaped groove having a slope that becomes shallower toward the center of the steel pipe is formed on the facing surface of one of the protruding portions, and a shape that fits the cross-shaped groove is formed on the facing surface of the other protruding portion. The cross-shaped convex part which has the gradient which becomes low toward the center of a steel pipe may be formed.

本発明によれば、ネジ・ボルト等を用いずに、構造が簡単で、かつ直線性の調整が容易にでき、コスト削減を図ることが可能となる鋼管の継手構造が提供される。本発明によれば、施工現場における鋼管の接続作業を効率よく迅速に低コストで実施することができる。   ADVANTAGE OF THE INVENTION According to this invention, the structure of a steel pipe joint which can simplify a structure, can adjust linearity easily, and can aim at cost reduction without using a screw | bolt etc. is provided. ADVANTAGE OF THE INVENTION According to this invention, the connection operation of the steel pipe in a construction site can be implemented efficiently and rapidly at low cost.

本発明の第1の実施の形態にかかる継手構造1を斜め上方から見た斜視図である。It is the perspective view which looked at the joint structure 1 concerning the 1st Embodiment of this invention from diagonally upward. 鋼管10の中央部分における、継手構造1の縦断面図である。1 is a longitudinal sectional view of a joint structure 1 in a central portion of a steel pipe 10. FIG. 上に配置された鋼管10の下端と下に配置された鋼管10の上端を突き合わせた状態を示す説明図である。It is explanatory drawing which shows the state which faced | matched the lower end of the steel pipe 10 arrange | positioned above, and the upper end of the steel pipe 10 arrange | positioned below. 上下の突出部11の外側から接続部材15を装着した状態を示す説明図である。It is explanatory drawing which shows the state which mounted | wore the connection member 15 from the outer side of the up-and-down protrusion part 11. FIG. 接続部材15の外側に筒状の固定部材20を装着した状態を示す説明図である。FIG. 6 is an explanatory view showing a state in which a cylindrical fixing member 20 is mounted on the outside of the connection member 15. 突出部11として上下の各鋼管10にあらかじめ設ける部材の例を示す説明図である。It is explanatory drawing which shows the example of the member previously provided in each upper and lower steel pipe 10 as the protrusion part 11. FIG. 突出部11として上下の各鋼管10にあらかじめ設ける部材の例を示す説明図である。It is explanatory drawing which shows the example of the member previously provided in each upper and lower steel pipe 10 as the protrusion part 11. FIG. 第2の実施の形態にかかる鋼管10の機械式継手1’の継手構造を斜め上方から見た斜視図である。It is the perspective view which looked at the joint structure of mechanical joint 1 'of the steel pipe 10 concerning 2nd Embodiment from diagonally upward. 鋼管10の中央部分における、継手構造1’の縦断面図である。1 is a longitudinal sectional view of a joint structure 1 ′ in a central portion of a steel pipe 10. 第3の実施の形態にかかる鋼管10の継手構造1’’を斜め上方から見た斜視図である。It is the perspective view which looked at the joint structure 1 '' of the steel pipe 10 concerning 3rd Embodiment from diagonally upward. 図10に示した固定部材20’のA−A断面図である。It is AA sectional drawing of fixing member 20 'shown in FIG. 図10に示した鋼管10に取り付けられた接続部材15’のB−B断面図である。It is BB sectional drawing of the connection member 15 'attached to the steel pipe 10 shown in FIG. 図10に示した鋼管10の中央部分における、継手構造1’’の縦断面図である。FIG. 11 is a longitudinal sectional view of a joint structure 1 ″ at a central portion of the steel pipe 10 shown in FIG. 10. 第4の実施の形態にかかる継手構造50の説明図である。It is explanatory drawing of the joint structure 50 concerning 4th Embodiment. 第5の実施の形態にかかる継手構造60の説明図である。It is explanatory drawing of the joint structure 60 concerning 5th Embodiment. 第6の実施の形態にかかる継手構造70の説明図である。It is explanatory drawing of the joint structure 70 concerning 6th Embodiment. 第7の実施の形態にかかる継手構造80の説明図である。It is explanatory drawing of the joint structure 80 concerning 7th Embodiment. 第8の実施の形態にかかる継手構造90の説明図である。It is explanatory drawing of the joint structure 90 concerning 8th Embodiment. 第9の実施の形態にかかる継手構造100の説明図である。It is explanatory drawing of the joint structure 100 concerning 9th Embodiment.

以下、本発明の実施の形態について図面を参照して説明する。なお、本明細書および図面において、実質的に同一の機能構成を有する構成要素については、同一の符号を付することにより重複説明を省略する。   Hereinafter, embodiments of the present invention will be described with reference to the drawings. In the present specification and drawings, components having substantially the same functional configuration are denoted by the same reference numerals, and redundant description is omitted.

(第1の実施の形態)
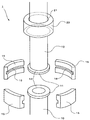
図1は、本発明の第1の実施の形態にかかる継手構造1を斜め上方から見た斜視図である。この継手構造1により、上下に直列に配置された2つの円筒形状の鋼管10の端部同士(上に配置された鋼管10の下端と下に配置された鋼管10の上端)が接続され、図1は、継手構造1を分解した状態を示している。図2は、鋼管10の中央部分における、継手構造1の縦断面図である。図3〜5は、継手構造1によって2つの鋼管10を接続する工程の説明図であり、図3は、上に配置された鋼管10の下端と下に配置された鋼管10の上端を突き合わせた状態を示し、図4は、上下の突出部11の外側から接続部材15を装着した状態を示し、図5は、接続部材15の外側に筒状の固定部材20を装着した状態を示している。
(First embodiment)
FIG. 1 is a perspective view of a joint structure 1 according to a first embodiment of the present invention viewed obliquely from above. By this joint structure 1, the ends of two cylindrical steel pipes 10 arranged in series vertically (the lower end of the steel pipe 10 arranged above and the upper end of the steel pipe 10 arranged below) are connected. 1 shows a state in which the joint structure 1 is disassembled. FIG. 2 is a longitudinal sectional view of the joint structure 1 in the central portion of the steel pipe 10. 3-5 is explanatory drawing of the process of connecting the two steel pipes 10 by the joint structure 1, and FIG. 3 matched the upper end of the steel pipe 10 arrange | positioned below with the lower end of the steel pipe 10 arrange | positioned up. FIG. 4 shows a state where the connection member 15 is mounted from the outside of the upper and lower protrusions 11, and FIG. 5 shows a state where the cylindrical fixing member 20 is mounted on the outside of the connection member 15. .

上に配置された鋼管10の下端と下に配置された鋼管10の上端には、各鋼管10の外周面よりも外側に突出する突出部11が対をなして設けられている。この実施の形態では、外径が鋼管10の外径よりも大きく、内径が鋼管10の内径よりも小さいリング状部材12が、上に配置された鋼管10の下端と下に配置された鋼管10の上端にそれぞれ取り付けてあり、これらリング状部材12の外側部分が、上下の鋼管10の外周面よりも外側に突出する突出部11となっている。   The lower end of the steel pipe 10 disposed on the upper side and the upper end of the steel pipe 10 disposed on the lower side are provided with a pair of projecting portions 11 projecting outward from the outer peripheral surface of each steel pipe 10. In this embodiment, the ring-shaped member 12 whose outer diameter is larger than the outer diameter of the steel pipe 10 and whose inner diameter is smaller than the inner diameter of the steel pipe 10 is the lower end of the steel pipe 10 disposed above and the steel pipe 10 disposed below. These ring-shaped members 12 are attached to the upper end of each of them, and the outer portions of the ring-shaped members 12 serve as protruding portions 11 that protrude outward from the outer peripheral surfaces of the upper and lower steel pipes 10.

これら突出部11の周りには、4つの接続部材15が配置される。各接続部材15は円弧形状を有しており、これら各接続部材15を組み合わせることにより、鋼管10の外周面を囲む円環形状を構成することができる。これら各接続部材15の内周面には、上下一対の突出部11を重ね合わせた状態で、それら一対の突出部11を一体的に受容させる溝16がそれぞれ設けられている。各接続部材15を組み合わせて鋼管10の外周面を囲む円環形状を構成した際には、各接続部材15の内周面に設けられた各溝16が、一つの環状の溝を形成することとなる。   Four connection members 15 are arranged around the protrusions 11. Each connection member 15 has an arc shape, and by combining these connection members 15, an annular shape surrounding the outer peripheral surface of the steel pipe 10 can be formed. Grooves 16 for integrally receiving the pair of protrusions 11 are provided on the inner peripheral surface of each connection member 15 in a state where the pair of upper and lower protrusions 11 are overlapped. When each connecting member 15 is combined to form an annular shape surrounding the outer peripheral surface of the steel pipe 10, each groove 16 provided on the inner peripheral surface of each connecting member 15 forms one annular groove. It becomes.

上に配置された鋼管10には、円筒状の固定部材20が、上下動自在に取り付けてある。この固定部材20の内径は、先に説明した各接続部材15を組み合わせることにより構成される円環形状の外側に固定部材20を装着できる大きさを有しており、各接続部材15により構成された円環形状を、固定部材20の内部に保持できるようになっている。   A cylindrical fixing member 20 is attached to the steel pipe 10 disposed above so as to be movable up and down. The inner diameter of the fixing member 20 has such a size that the fixing member 20 can be mounted on the outer side of the annular shape configured by combining the connecting members 15 described above. An annular shape can be held inside the fixing member 20.

固定部材20の上端には、固定部材20の内面から内方へ突出する係止部21が設けられている。この係止部21の先端は、先に説明した各接続部材15を組み合わせることにより構成される円環形状の上面に当接可能な位置まで内側に突出している。   A locking portion 21 that protrudes inward from the inner surface of the fixing member 20 is provided at the upper end of the fixing member 20. The distal end of the locking portion 21 protrudes inward to a position where it can abut on an annular upper surface constituted by combining the connecting members 15 described above.

以上のように説明してきた構成要素によって構成される本発明の第1の実施の形態にかかる鋼管10の継手構造1において、先ず、図3に示されるように、上下の鋼管10の端部同士を突き合わせる。すると、上下の鋼管10の端部に設けられた突出部11(リング状部材12)が一体化させられることとなる。 In the joint structure 1 of the steel pipe 10 according to the first embodiment of the present invention constituted by the components described above, first, as shown in FIG. Match. Then, the protrusion part 11 (ring-shaped member 12) provided in the edge part of the upper and lower steel pipe 10 will be integrated.

次に、図4に示されるように、突出部11の周りに配置された4つの円弧状接続部材15に設けられた溝16に、上記一体化させられた突出部11を受容させるように突出部11に接続部材15をかぶせる。すると、一体化させられた突出部11が溝16に受容されることによって、鋼管10長手方向に関して接合されることとなる。 Next, as shown in FIG. 4, the groove 16 provided in the four arcuate connection members 15 arranged around the protrusion 11 protrudes so as to receive the integrated protrusion 11. The connecting member 15 is placed on the part 11. Then, the integrated projecting portion 11 is received in the groove 16, so that the steel pipe 10 is joined in the longitudinal direction.

次に、図5に示されるように、上の鋼管10に上下動自在に取り付けられた筒状の固定部材20を、突出部11を一体化させた後の接続部材15を外側から覆うように装着する。すると、固定部材20によって、接続部材15は鋼管10に固定させられることとなる。このとき、固定部材20には、上端に固定部材20の内面から内方へ突出する係止部21が設けられているため、係止部21が接続部材15の上端に当接し、固定部材20が接続部材15から落下してしまうことはない。 Next, as shown in FIG. 5, the cylindrical fixing member 20 attached to the upper steel pipe 10 so as to be movable up and down is covered from the outside so as to cover the connection member 15 after the projecting portion 11 is integrated. Installing. Then, the connecting member 15 is fixed to the steel pipe 10 by the fixing member 20. At this time, since the fixing member 20 is provided with a locking portion 21 protruding inward from the inner surface of the fixing member 20 at the upper end, the locking portion 21 abuts on the upper end of the connection member 15, Does not fall from the connecting member 15.

上述した作業の結果、接続部材15および固定部材20によって、溶接あるいはネジ等を利用することなく、簡単な構成で上下の鋼管10の接続が効率的にできる継手構造1が構成されることとなる。
また、鋼管10の長手方向端部にリング状部材12が取り付けられた状態で鋼管10同士が接続部材15によって接続されるため、鋼管10端部の潰れが防止され、かつ鋼管長手方向にかかる圧縮力を効率よく伝達することが可能となる。
一方、上下の鋼管10同士はリング状部材12が接続部材15によって一体化され、さらに接続部材15が固定部材20により鋼管10に固定されるため、鋼管長手方向に引張荷重がかかった場合であってもその引張荷重が各鋼管10に伝達されることとなる。
As a result of the above-described operation, the connecting member 15 and the fixing member 20 constitute a joint structure 1 that can efficiently connect the upper and lower steel pipes 10 with a simple configuration without using welding or screws. .
Further, since the steel pipes 10 are connected to each other by the connecting member 15 in a state where the ring-shaped member 12 is attached to the longitudinal end portion of the steel pipe 10, the end portions of the steel pipe 10 are prevented from being crushed and compressed in the longitudinal direction of the steel pipe. Power can be transmitted efficiently.
On the other hand, since the upper and lower steel pipes 10 are integrated with the ring-shaped member 12 by the connecting member 15 and the connecting member 15 is fixed to the steel pipe 10 by the fixing member 20, a tensile load is applied in the longitudinal direction of the steel pipe. However, the tensile load is transmitted to each steel pipe 10.

つまり、実際に施工現場において鋼管10を用いて作業を行う場合に、本実施の形態にかかる鋼管10の継手構造1を用いて上下の鋼管10同士を接続すると、鋼管長手方向にかかる圧縮力および引張荷重を十分に伝達するような鋼管10の接続がなされ、接続された鋼管10を杭等として用いることができる。その際、鋼管長手方向にかかる圧縮力および引張荷重を十分に伝達するため、利用する鋼管10の部材数を削減することができる。さらに、本実施の形態にかかる鋼管10の継手構造1を用いることで、溶接等と比べ特殊技術を必要とせず、低コストでコンパクトな継手構造により、簡単かつ迅速に鋼管10同士を接続することができる。 That is, when the work is actually performed using the steel pipe 10 at the construction site, when the upper and lower steel pipes 10 are connected using the joint structure 1 of the steel pipe 10 according to the present embodiment, the compressive force applied in the longitudinal direction of the steel pipe and The steel pipe 10 is connected so as to sufficiently transmit the tensile load, and the connected steel pipe 10 can be used as a pile or the like. At that time, since the compressive force and the tensile load applied in the longitudinal direction of the steel pipe are sufficiently transmitted, the number of members of the steel pipe 10 to be used can be reduced. Furthermore, by using the joint structure 1 of the steel pipe 10 according to the present embodiment, it is possible to easily and quickly connect the steel pipes 10 with a low-cost and compact joint structure without requiring a special technique as compared with welding or the like. Can do.

なお、本実施の形態においては、突出部11として上下の各鋼管10にあらかじめ設ける部材をリング状であるリング状部材12として説明してきたが、本発明はこれに限られるものではない。
そこで、図6および図7において、突出部11として上下の各鋼管10に設ける部材の例を示す。例えば、突出部11として上下の各鋼管10に取り付けられる部材は、図6に示されるような円盤状部材17や、図7に示されるような円弧状部材18であってもよい。
また、本実施の形態おいて、接続部材15の形状として円弧状であるとし、その数は4つであるとして説明してきたが、接続部材15は上下それぞれの鋼管10端部の突出部11を一体化させるような溝16を有するものであれば良く、その形状は円弧状に限られず、またその数は4つに限定されるものではない。
In addition, in this Embodiment, although the member previously provided in each upper and lower steel pipe 10 as the protrusion part 11 was demonstrated as the ring-shaped member 12 which is a ring shape, this invention is not limited to this.
6 and 7 show examples of members provided on the upper and lower steel pipes 10 as the protrusions 11. For example, the member attached to each of the upper and lower steel pipes 10 as the protruding portion 11 may be a disk-like member 17 as shown in FIG. 6 or an arc-like member 18 as shown in FIG.
Further, in the present embodiment, it has been described that the shape of the connection member 15 is an arc shape, and the number thereof is four. However, the connection member 15 has the protrusions 11 at the ends of the upper and lower steel pipes 10. What is necessary is just to have the groove | channel 16 which makes it integrate, the shape is not restricted to circular arc shape, and the number is not limited to four.

(第2の実施の形態)
図8は本発明の第2の実施の形態にかかる鋼管10の機械式継手1’の継手構造を斜め上方から見た斜視図である。この継手構造1’により、上下に直列に配置された2つの鋼管10の端部同士(上に配置された鋼管10の下端と下に配置された鋼管10の上端)が接続され、図8は、継手構造1を分解した状態を示している。図9は、鋼管10の中央部分における、継手構造1’の縦断面図である。
なお、本実施の形態においては、上記第1の実施の形態での鋼管10の端部に突出部11を有する部材として取り付けられたリング状部材12に相当する部分にのみ上記第1の実施の形態との相違点があり、他の部分の部材等は同様であるためそれらの説明については省略する。
(Second Embodiment)
FIG. 8 is a perspective view of the joint structure of the mechanical joint 1 ′ of the steel pipe 10 according to the second embodiment of the present invention as viewed obliquely from above. By this joint structure 1 ′, the ends of the two steel pipes 10 arranged in series vertically (the lower end of the steel pipe 10 arranged on the upper side and the upper end of the steel pipe 10 arranged on the lower side) are connected. The state which decomposed | disassembled the joint structure 1 is shown. FIG. 9 is a longitudinal sectional view of the joint structure 1 ′ in the central portion of the steel pipe 10.
In the present embodiment, only the portion corresponding to the ring-shaped member 12 attached as a member having the protruding portion 11 to the end of the steel pipe 10 in the first embodiment is the first embodiment. Since there is a difference from the form, and other parts and the like are the same, description thereof will be omitted.

接続対象である2つの鋼管10のうち上の鋼管10には、凹部25’を備えた凹付リング状部材25があらかじめ取り付けられている。また、もう一方の下の鋼管10には、凸部26’を備えた凸付リング状部材26があらかじめ取り付けられている。ここで、凹部25’は凸部26’を挿入できる大きさを有している。なお、各リング状部材25および26の径方向端部は、上記第1の実施の形態と同様に鋼管10の外周面よりも外側に突出する突出部11を有している。   A concave ring-shaped member 25 having a concave portion 25 ′ is attached in advance to the upper steel pipe 10 of the two steel pipes 10 to be connected. A convex ring-shaped member 26 having a convex portion 26 ′ is attached in advance to the other lower steel pipe 10. Here, the concave portion 25 ′ has a size capable of inserting the convex portion 26 ′. In addition, the radial direction edge part of each ring-shaped member 25 and 26 has the protrusion part 11 which protrudes outside the outer peripheral surface of the steel pipe 10 similarly to the said 1st Embodiment.

以上のように説明してきた構成要素によって構成される本発明の第2の実施の形態にかかる鋼管10の継手構造1’において、接続対象である2本の鋼管10の端部にあらかじめ取り付けられた凹付リング状部材25と凸付リング状部材26が重なり合うように2本の鋼管10の端部を突き合わせる。その際に、凹部25’に凸部26’が受容されるように凹付リング状板25と凸付リング状部材26を重ねる。   In the joint structure 1 ′ of the steel pipe 10 according to the second embodiment of the present invention configured by the components described above, it is attached in advance to the ends of the two steel pipes 10 to be connected. The end portions of the two steel pipes 10 are butted so that the concave ring-shaped member 25 and the convex ring-shaped member 26 overlap each other. At this time, the concave ring plate 25 and the convex ring member 26 are overlapped so that the convex portion 26 ′ is received in the concave portion 25 ′.

その後、接続部材15に設けられた溝16に凹付リング状部材25および凸付リング状部材26の各鋼管10の外周面からの突出部11をはめ込み、上下それぞれの鋼管10に設けられている突出部11を一体化させる。そして、その後、固定部材20を接続部材15の外周を覆うように取り付ける。このとき、固定部材20には上記第1の実施の形態同様、上端に固定部材20の内面から内方へ突出する係止部21が設けられているため、固定部材20の上端の係止部21が接続部材15の上端に当接し、固定部材20が接続部材15から離隔してしまうことはない。さらに、凹部25’と凸部26’が一体的に重なり、かみ合っているため、上の鋼管10が回転した場合に、下の鋼管10も回転することとなる。 Thereafter, the protrusions 11 from the outer peripheral surfaces of the steel pipes 10 of the concave ring-shaped member 25 and the convex ring-shaped member 26 are fitted into the grooves 16 provided in the connecting member 15, and are provided in the upper and lower steel pipes 10. The protrusion 11 is integrated. Thereafter, the fixing member 20 is attached so as to cover the outer periphery of the connection member 15. At this time, since the fixing member 20 is provided with a locking portion 21 protruding inward from the inner surface of the fixing member 20 at the upper end, as in the first embodiment, the locking portion at the upper end of the fixing member 20 is provided. 21 does not contact the upper end of the connection member 15, and the fixing member 20 is not separated from the connection member 15. Further, since the concave portion 25 ′ and the convex portion 26 ′ are integrally overlapped and meshed with each other, when the upper steel pipe 10 is rotated, the lower steel pipe 10 is also rotated.

上述してきた第2の実施の形態にかかる鋼管の継手構造1’を利用し複数の鋼管10を接続し、施工現場において、杭等としてその接続した複数の鋼管10を地盤に回転させながら打ち込んでいく場合がある。このとき、接続した複数の鋼管10のうちの1本を回転させた場合に、その回転が杭全体(接続された全ての鋼管10)に伝わることとなり、効率よく杭等を地盤に打ち込むことが可能となる。   A plurality of steel pipes 10 are connected using the steel pipe joint structure 1 'according to the second embodiment described above, and driven at the construction site while rotating the connected steel pipes 10 as piles or the like on the ground. There is a case to go. At this time, when one of the connected steel pipes 10 is rotated, the rotation is transmitted to the entire pile (all connected steel pipes 10), and the piles and the like can be driven into the ground efficiently. It becomes possible.

(第3の実施の形態)
図10は、本発明の第3の実施の形態にかかる鋼管10の継手構造1’’を斜め上方から見た斜視図である。この継手構造1’’により、上下に直列に配置された2つの円筒形状の鋼管10の端部同士(上に配置された鋼管10の下端と下に配置された鋼管10の上端)が接続され、図10は、継手構造1’’を分解した状態を示している。
(Third embodiment)
FIG. 10 is a perspective view of the joint structure 1 ″ of the steel pipe 10 according to the third embodiment of the present invention as seen obliquely from above. By this joint structure 1 '', the ends of two cylindrical steel pipes 10 arranged in series vertically (the lower end of the steel pipe 10 arranged above and the upper end of the steel pipe 10 arranged below) are connected. FIG. 10 shows a state where the joint structure 1 ″ is disassembled.

図11は、図10に示した固定部材20’のA−A断面図である。固定部材20’の外周下端部に突起部41が4箇所設けられ、その突起部41同士の間隔は均等となっている。
また、図12は、図10に示した鋼管10に取り付けられた接続部材15’のB−B断面図である。図12に示すように、4つの接続部材15’は鋼管10にスリット42を設けた状態でリング状部材12を固定している。このときスリット42は、図11に示すように、突起部41に対応するように、鋼管10外周部に4箇所、各スリット42間が均等となるように設けられている。
また、図13は、鋼管10の中央部分における、継手構造1’’の縦断面図である。
FIG. 11 is an AA cross-sectional view of the fixing member 20 ′ shown in FIG. Four protrusions 41 are provided at the lower end of the outer periphery of the fixing member 20 ′, and the intervals between the protrusions 41 are equal.
FIG. 12 is a cross-sectional view of the connecting member 15 ′ attached to the steel pipe 10 shown in FIG. As shown in FIG. 12, the four connecting members 15 ′ fix the ring-shaped member 12 with the slits 42 provided in the steel pipe 10. At this time, as shown in FIG. 11, the slits 42 are provided at four locations on the outer periphery of the steel pipe 10 so as to correspond to the protrusions 41 so that the gaps between the slits 42 are even.
FIG. 13 is a longitudinal sectional view of the joint structure 1 ″ in the central portion of the steel pipe 10.

なお、本実施の形態においては、上述した第1および第2の実施の形態と異なる部分についてのみ説明し、共通する各構成等については省略する。ここでは、第3の実施の形態における接続部材15’および固定部材20’について説明する。   In the present embodiment, only the parts different from the first and second embodiments described above will be described, and common components and the like will be omitted. Here, the connection member 15 'and the fixing member 20' in the third embodiment will be described.

2本の鋼管10があらかじめ結合部材として取り付けられたリング状部材12を重ねた状態になっており、上記第1および第2の実施の形態同様、4つの円弧状である接続部材15’が、2枚のリング状部材12を固定する状態となっている。ただし、第3の実施の形態において接続部材15’は、鋼管10に取り付けた際に、図10に示すように、各接続部材15’同士の間にスリット42が設けられるような大きさおよび形状となっている。また、上に配置された鋼管10には、あらかじめ円筒状の固定部材20’が用意されており、固定部材20’外周部には、鋼管長手方向および鋼管の径中心方向に突出した突起部41が設けられている。ここでスリット42の幅は、突起部41の幅よりも広くなっている。   Two steel pipes 10 are in a state of overlapping a ring-shaped member 12 attached in advance as a coupling member, and like the first and second embodiments, four arcuate connection members 15 ' The two ring-shaped members 12 are fixed. However, in the third embodiment, when the connecting member 15 ′ is attached to the steel pipe 10, as shown in FIG. 10, the size and shape are such that a slit 42 is provided between the connecting members 15 ′. It has become. In addition, a cylindrical fixing member 20 ′ is prepared in advance on the steel pipe 10 disposed above, and a protruding portion 41 protruding in the longitudinal direction of the steel pipe and in the radial center direction of the steel pipe is provided on the outer periphery of the fixing member 20 ′. Is provided. Here, the width of the slit 42 is wider than the width of the protrusion 41.

上記のように構成された本発明の第3の実施の形態にかかる鋼管の機械式継手1’’の継手構造において、4つの接続部材15’によって2本の鋼管10のリング状部材12が一体的に固定される。そして、固定部材20’が接続部材15’を覆うことによって、接続部材15’が鋼管10に固定され、鋼管10同士が接続されることとなる。この固定部材20’が接続部材15’を覆う際に、固定部材20’に設けられた突起部41をスリット42に通過させることによって固定部材20’を接続部材15’にかぶせることが可能となる。さらに、固定部材20’を接続部材15’にかぶせた後に、固定部材20’を回転させて突起部41の位置をスリット42の位置とずらす。これにより、突起部41が接続部材15’の下面に架け留めて、接続部材15’は鋼管10に固定されることとなる。   In the joint structure of the steel pipe mechanical joint 1 ″ according to the third embodiment of the present invention configured as described above, the ring-shaped members 12 of the two steel pipes 10 are integrated by the four connection members 15 ′. Fixed. The fixing member 20 ′ covers the connecting member 15 ′, so that the connecting member 15 ′ is fixed to the steel pipe 10 and the steel pipes 10 are connected to each other. When the fixing member 20 ′ covers the connecting member 15 ′, the fixing member 20 ′ can be placed on the connecting member 15 ′ by passing the projection 41 provided on the fixing member 20 ′ through the slit 42. . Further, after the fixing member 20 ′ is placed on the connection member 15 ′, the fixing member 20 ′ is rotated to shift the position of the protrusion 41 from the position of the slit 42. Thereby, the protrusion 41 is fixed to the lower surface of the connection member 15 ′, and the connection member 15 ′ is fixed to the steel pipe 10.

その結果、図13に示されるように、リング状板20を有する2本の鋼管10は、接続部材15’および固定部材20’を介して接続され、さらに鞘状の固定部材20’に設けられた係止部21および突起部41によって、接続部材15’が上下から抑えられることにより、鋼管10接続部に固定され、より外れにくくなる。   As a result, as shown in FIG. 13, the two steel pipes 10 having the ring-shaped plate 20 are connected via the connection member 15 ′ and the fixing member 20 ′, and further provided on the sheath-like fixing member 20 ′. When the connecting member 15 ′ is restrained from above and below by the locking portion 21 and the protruding portion 41, the connecting member 15 ′ is fixed to the connecting portion of the steel pipe 10 and is less likely to come off.

(第4の実施の形態)
図14は、本発明の第4の実施の形態にかかる継手構造50の説明図である。図14(a)は継手構造50を斜め上方から見た斜視図である。継手構造50により、上下に直列に配置された2つの円筒形状の鋼管10の端部同士(上に配置された鋼管10の下端と下に配置した鋼管10の上端)が接続される。図14(a)は、継手構造50を分解した状態を示している。また、図14(b)は鋼管10の接続時の継手構造50の鋼管水平方向断面図であり、図14(c)は鋼管10接続時の継手構造50の鋼管長手方向断面拡大図である。即ち、図14(b)は図14(c)におけるA−A断面を示している。なお、本実施の形態においては、上記第1の実施の形態での鋼管10の端部に突出部11を有する部材として取り付けられたリング状部材12に相当する部分にのみ上記第1の実施の形態との相違点があるため、他の部材等についての説明は省略する。
(Fourth embodiment)
FIG. 14 is an explanatory diagram of a joint structure 50 according to the fourth embodiment of the present invention. FIG. 14A is a perspective view of the joint structure 50 as viewed obliquely from above. The joint structure 50 connects the ends of the two cylindrical steel pipes 10 arranged in series vertically (the lower end of the steel pipe 10 arranged above and the upper end of the steel pipe 10 arranged below). FIG. 14A shows a state where the joint structure 50 is disassembled. 14B is a horizontal cross-sectional view of the joint structure 50 when the steel pipe 10 is connected, and FIG. 14C is an enlarged cross-sectional view of the joint structure 50 when the steel pipe 10 is connected. That is, FIG. 14B shows the AA cross section in FIG. In the present embodiment, only the portion corresponding to the ring-shaped member 12 attached as a member having the protruding portion 11 to the end of the steel pipe 10 in the first embodiment is the first embodiment. Since there is a difference from the form, description of other members and the like is omitted.

上に配置された鋼管10の下端と下に配置された鋼管10の上端には、各鋼管10の外周面よりも外側に突出する突出部11が対を成して設けられている。第4の実施の形態では、外径が鋼管10の外径よりも大きく、接合対象面が球面形状である凸球面円盤51と凹球面円盤52が鋼管10の端部に取り付けられている。なお、上に配置された鋼管10の下端には凸球面円盤51が下に凸となるように取り付けられ、下に配置された鋼管10の上端には凹球面円盤52が上に凹となるように取り付けられる。ここで、凸球面円盤51と凹球面円盤52の形状は、これらを重ね合わせて接合した場合に適合するような形状となっている。即ち、凸球面円盤51と凹球面円盤52の接合対象面の曲率は等しい。なお、凸球面円盤51と凹球面円盤52の外側部分が、上下の鋼管10の外周面よりも外側に突出する突出部11となっている。また、凸球面円盤51と凹球面円盤52の曲率は、継手構造50を構成する鋼管10の材質や断面積等によって好適なものを適宜定めればよい。   The lower end of the steel pipe 10 disposed on the upper side and the upper end of the steel pipe 10 disposed on the lower side are provided with a pair of protruding portions 11 protruding outward from the outer peripheral surface of each steel pipe 10. In the fourth embodiment, a convex spherical disk 51 and a concave spherical disk 52 whose outer diameter is larger than the outer diameter of the steel pipe 10 and whose surfaces to be joined are spherical are attached to the ends of the steel pipe 10. A convex spherical disk 51 is attached to the lower end of the steel pipe 10 disposed above so as to be convex downward, and a concave spherical disk 52 is concave upward to the upper end of the steel pipe 10 disposed below. Attached to. Here, the convex spherical disk 51 and the concave spherical disk 52 are shaped so as to be suitable when they are overlapped and joined. That is, the curvatures of the surfaces to be joined of the convex spherical disk 51 and the concave spherical disk 52 are equal. Note that the outer portions of the convex spherical disk 51 and the concave spherical disk 52 are protruding portions 11 that protrude outward from the outer peripheral surfaces of the upper and lower steel pipes 10. The curvature of the convex spherical disk 51 and the concave spherical disk 52 may be appropriately determined according to the material, cross-sectional area, etc. of the steel pipe 10 constituting the joint structure 50.

以上のように説明した構成要素によって構成される本発明の第4の実施の形態にかかる継手構造50において、接続対象である2本の鋼管10の端部にあらかじめ取り付けられた凸球面円盤51と凹球面円盤52が重なり合うように上下2本の鋼管10の端部(上に配置された鋼管10の下端と下に配置した鋼管10の上端)を突き合わせる。   In the joint structure 50 according to the fourth embodiment of the present invention configured by the components described above, a convex spherical disk 51 attached in advance to the ends of the two steel pipes 10 to be connected; The end portions of the upper and lower steel pipes 10 (the lower end of the steel pipe 10 arranged above and the upper end of the steel pipe 10 arranged below) are butted so that the concave spherical disks 52 overlap each other.

その後、接続部材15に設けられた溝16に凸球面円盤51と凹球面円盤52の各鋼管10の外周面からの突出部11をはめ込み、上下それぞれの鋼管10に設けられている突出部11を一体化させる。そして、固定部材20を接続部材15の外周を覆うように取り付ける。このとき、固定部材20には上記第1の実施の形態同様、上端に固定部材20の内面から内方へ突出する係止部21が設けられているため、固定部材20の上端の係止部21が接続部材15の上端に当接し、固定部材20が接続部材15から離隔してしまうことはない。   Thereafter, the protrusions 11 from the outer peripheral surfaces of the steel pipes 10 of the convex spherical disk 51 and the concave spherical disk 52 are fitted into the grooves 16 provided in the connecting member 15, and the protrusions 11 provided on the upper and lower steel pipes 10 are fitted. Integrate. And the fixing member 20 is attached so that the outer periphery of the connection member 15 may be covered. At this time, since the fixing member 20 is provided with a locking portion 21 protruding inward from the inner surface of the fixing member 20 at the upper end, as in the first embodiment, the locking portion at the upper end of the fixing member 20 is provided. 21 does not contact the upper end of the connection member 15, and the fixing member 20 is not separated from the connection member 15.

また、上述したように接続された継手構造50においては、凸球面円盤51と凹球面円盤52を重ね合わせて2本の鋼管10を接続しているため、接続後の鋼管10の継手部において上下鋼管の角折れが発生した場合にも、上側の鋼管10を凹球面円盤52に沿って滑らせるように動かし、直線性を保持するように簡単に矯正することが可能となる。なお、本実施の形態では、上に配置された鋼管10の下端に凸球面円盤51が下に凸となるように取り付けられ、下に配置された鋼管10の上端には凹球面円盤52が取り付けられる事としたが、本発明はこれに限られず、上に配置された鋼管10の下端に凹球面円盤52が取り付けられ、下に配置された鋼管10の上端に凸球面円盤51が取り付けられてもよい。但し、上下鋼管の角折れが発生した際の矯正作業の容易性から、上に配置された鋼管10の下端に凸球面円盤51が下に凸となるように取り付けられ、下に配置された鋼管10の上端には凹球面円盤52が取り付けられることが好ましい。   Further, in the joint structure 50 connected as described above, since the two steel pipes 10 are connected by overlapping the convex spherical disk 51 and the concave spherical disk 52, the joints of the steel pipe 10 after the connection are vertically moved. Even when the steel pipe is bent, the upper steel pipe 10 is moved so as to slide along the concave spherical disk 52 and can be easily corrected so as to maintain linearity. In the present embodiment, the convex spherical disk 51 is attached to the lower end of the steel pipe 10 disposed above so as to protrude downward, and the concave spherical disk 52 is attached to the upper end of the steel pipe 10 disposed below. However, the present invention is not limited to this, and a concave spherical disk 52 is attached to the lower end of the steel pipe 10 disposed above, and a convex spherical disk 51 is attached to the upper end of the steel pipe 10 disposed below. Also good. However, from the easiness of the straightening work when the upper and lower steel pipes are bent, the convex spherical disk 51 is attached to the lower end of the steel pipe 10 arranged so as to protrude downward, and the steel pipe arranged below. A concave spherical disk 52 is preferably attached to the upper end of 10.

(第5の実施の形態)
図15は、本発明の第5の実施の形態にかかる継手構造60の説明図である。図15(a)は継手構造60を斜め上方から見た斜視図である。継手構造60により、上下に直列に配置された2つの円筒形状の鋼管10の端部同士(上に配置された鋼管10の下端と下に配置した鋼管10の上端)が接続される。図15(a)は、継手構造60を分解した状態を示している。また、図15(b)は鋼管10の接続時の継手構造60の鋼管水平方向断面図であり、図15(c)は鋼管10接続時の継手構造60の鋼管長手方向断面拡大図である。即ち、図15(b)は図15(c)におけるB−B断面を示し、図15(c)は図15(b)におけるB’−B’断面を示している。なお、本実施の形態においては、上記第1の実施の形態での鋼管10の端部に突出部11を有する部材として取り付けられたリング状部材12に相当する部分にのみ上記第1の実施の形態との相違点があるため、他の部材等についての説明は省略する。
(Fifth embodiment)
FIG. 15 is an explanatory diagram of a joint structure 60 according to the fifth embodiment of the present invention. FIG. 15A is a perspective view of the joint structure 60 as viewed obliquely from above. The joint structure 60 connects the ends of the two cylindrical steel pipes 10 arranged in series vertically (the lower end of the steel pipe 10 arranged above and the upper end of the steel pipe 10 arranged below). FIG. 15A shows a state where the joint structure 60 is disassembled. 15B is a horizontal cross-sectional view of the joint structure 60 when the steel pipe 10 is connected, and FIG. 15C is an enlarged cross-sectional view of the joint structure 60 when the steel pipe 10 is connected. That is, FIG. 15B shows a BB cross section in FIG. 15C, and FIG. 15C shows a B′-B ′ cross section in FIG. In the present embodiment, only the portion corresponding to the ring-shaped member 12 attached as a member having the protruding portion 11 to the end of the steel pipe 10 in the first embodiment is the first embodiment. Since there is a difference from the form, description of other members and the like is omitted.

第5の実施の形態では、外径が鋼管10の外径よりも大きく、内径が鋼管10の内径よりも小さく、鋼管接続時に突き合わせる面(接合対象面)が球面形状である凸球面リング61と凹球面リング62が鋼管10の端部に取り付けられている。上に配置された鋼管10の下端には凸球面リング61が下に凸となるように取り付けられ、下に配置された鋼管10の上端には凹球面リング62が上に凹となるように取り付けられる。ここで、凸球面リング61と凹球面リング62の形状は、これらを重ね合わせて接合した場合に適合するような形状となっている。なお、凸球面リング61と凹球面リング62の外側部分が、上下の鋼管10の外周面よりも外側に突出する突出部11となっている。また、凸球面リング61と凹球面リング62の曲率は、継手構造60を構成する鋼管10の材質や断面積等によって好適なものを適宜定めればよい。 In the fifth embodiment, a convex spherical ring 61 in which the outer diameter is larger than the outer diameter of the steel pipe 10, the inner diameter is smaller than the inner diameter of the steel pipe 10, and the surface (surface to be joined) to be abutted when the steel pipe is connected is a spherical shape. A concave spherical ring 62 is attached to the end of the steel pipe 10. A convex spherical ring 61 is attached to the lower end of the steel pipe 10 arranged above so as to be convex downward, and a concave spherical ring 62 is attached to the upper end of the steel pipe 10 arranged below so as to be concave upward. It is done. Here, the shape of the convex spherical ring 61 and the concave spherical ring 62 is a shape that fits when they are overlapped and joined. In addition, the outer part of the convex spherical ring 61 and the concave spherical ring 62 is a protruding portion 11 that protrudes outward from the outer peripheral surfaces of the upper and lower steel pipes 10. Further, the curvature of the convex spherical ring 61 and the concave spherical ring 62 may be appropriately determined depending on the material, cross-sectional area, etc. of the steel pipe 10 constituting the joint structure 60.

以上のように説明した構成要素によって構成される本発明の第5の実施の形態にかかる継手構造60において、接続対象である2本の鋼管10の端部にあらかじめ取り付けられた凸球面リング61と凹球面リング62が重なり合うように上下2本の鋼管10の端部(上に配置された鋼管10の下端と下に配置した鋼管10の上端)を突き合わせる。その後の鋼管10同士の接続過程については上記第4の実施の形態と同様なので説明は省略する。 In the joint structure 60 according to the fifth embodiment of the present invention configured by the components described above, a convex spherical ring 61 attached in advance to the ends of the two steel pipes 10 to be connected; The ends of the upper and lower steel pipes 10 (the lower end of the steel pipe 10 disposed above and the upper end of the steel pipe 10 disposed below) are butted so that the concave spherical ring 62 overlaps. The subsequent connection process between the steel pipes 10 is the same as that in the fourth embodiment, and a description thereof will be omitted.

上述したように接続された継手構造60においては、凸球面リング61と凹球面リング62を重ね合わせて2本の鋼管10を接続しているため、接続後の鋼管10の継手部において上下鋼管の角折れが発生した場合にも、上側の鋼管10を凹球面リング62に沿って滑らせるように動かし、直線性を保持するように簡単に矯正することが可能となる。 In the joint structure 60 connected as described above, since the two steel pipes 10 are connected by overlapping the convex spherical ring 61 and the concave spherical ring 62, the upper and lower steel pipes are connected at the joint portion of the steel pipe 10 after the connection. Even when the corner breakage occurs, the upper steel pipe 10 can be moved so as to slide along the concave spherical ring 62 and can be easily corrected so as to maintain linearity.

(第6の実施の形態)
図16は、本発明の第6の実施の形態にかかる継手構造70の説明図である。図16(a)は継手構造70を斜め上方から見た斜視図である。継手構造70により、上下に直列に配置された2つの円筒形状の鋼管10の端部同士(上に配置された鋼管10の下端と下に配置した鋼管10の上端)が接続される。図16(a)は、継手構造70を分解した状態を示している。また、図16(b)は鋼管10の接続時の継手構造70の鋼管水平方向断面図であり、図16(c)は鋼管10接続時の継手構造70の鋼管長手方向断面拡大図である。即ち、図16(b)は図16(c)におけるC−C断面を示し、図16(c)は図16(b)におけるC’−C’断面を示している。なお、本実施の形態においては、上記第1の実施の形態での鋼管10の端部に突出部11を有する部材として取り付けられたリング状部材12に相当する部分にのみ上記第1の実施の形態との相違点があるため、他の部材等についての説明は省略する。
(Sixth embodiment)
FIG. 16 is an explanatory diagram of a joint structure 70 according to the sixth embodiment of the present invention. FIG. 16A is a perspective view of the joint structure 70 as viewed obliquely from above. The joint structure 70 connects the ends of the two cylindrical steel pipes 10 arranged in series vertically (the lower end of the steel pipe 10 arranged above and the upper end of the steel pipe 10 arranged below). FIG. 16A shows a state where the joint structure 70 is disassembled. 16B is a horizontal cross-sectional view of the joint structure 70 when the steel pipe 10 is connected, and FIG. 16C is an enlarged cross-sectional view of the joint structure 70 when the steel pipe 10 is connected. That is, FIG. 16B shows a CC cross section in FIG. 16C, and FIG. 16C shows a C′-C ′ cross section in FIG. In the present embodiment, only the portion corresponding to the ring-shaped member 12 attached as a member having the protruding portion 11 to the end of the steel pipe 10 in the first embodiment is the first embodiment. Since there is a difference from the form, description of other members and the like is omitted.

第6の実施の形態では、外径が鋼管10の外径よりも大きく、十字形状の十字形突起71が形成され、接合対象面が平面である凸十字突起付円盤72と、十字形状の十字溝73が形成された平面形状である凹十字溝付円盤74が鋼管10の端部に取り付けられている。なお、上に配置された鋼管10の下端には凸十字突起付円盤72が、十字形突起71が下に凸となるように取り付けられ、下に配置された鋼管10の上端には凹十字溝付円盤74が、十字溝73が上に凹となるように取り付けられる。ここで、凸十字突起付円盤72と凹十字溝付円盤74の形状は、これらを重ね合わせて接合した場合に適合するような形状となっている。また、凸十字突起付円盤72と凹十字溝付円盤74の外側部分が、上下の鋼管10の外周面よりも外側に突出する突出部11となっている。ここで、十字形突起71・十字溝73の形状は、継手構造70を構成する鋼管10の材質や断面積等によって好適なものを適宜定めればよい。本実施の形態では十字形突起71の形状は鋼管10の中心に向かって高くなる勾配が形成される形状とし、十字溝73の形状は鋼管10の中心に向かって深くなる勾配が形成される形状としている。 In the sixth embodiment, the outer diameter is larger than the outer diameter of the steel pipe 10, a cross-shaped cruciform protrusion 71 is formed, the disk 72 with a convex cruciform protrusion whose surface to be joined is a plane, and the cross-shaped cross A concave cross grooved disk 74 having a planar shape in which a groove 73 is formed is attached to the end of the steel pipe 10. A disc 72 with a convex cross projection is attached to the lower end of the steel pipe 10 arranged above, and a concave cross groove is attached to the upper end of the steel pipe 10 arranged below so that the cross projection 71 is convex downward. The attached disk 74 is attached so that the cross groove 73 is concave upward. Here, the shape of the disc 72 with a convex cross projection and the disc 74 with a concave cross groove is a shape that fits when they are overlapped and joined. Further, the outer portions of the convex cross projection-equipped disc 72 and the concave cross-grooved disc 74 are projections 11 that project outward from the outer peripheral surfaces of the upper and lower steel pipes 10. Here, the shape of the cross-shaped projection 71 and the cross-shaped groove 73 may be appropriately determined depending on the material, cross-sectional area, etc. of the steel pipe 10 constituting the joint structure 70. In the present embodiment, the shape of the cruciform protrusion 71 is a shape that forms a gradient that increases toward the center of the steel pipe 10, and the shape of the cross groove 73 is a shape that forms a gradient that deepens toward the center of the steel pipe 10. It is said.

以上のように説明した構成要素によって構成される本発明の第6の実施の形態にかかる継手構造70において、接続対象である2本の鋼管10の端部にあらかじめ取り付けられた凸十字突起付円盤72と凹十字溝付円盤74を、十字形突起71と十字溝73が重なり合うように突き合わせる。即ち、図16(a)に示すように、上下2本の鋼管10の端部(上に配置された鋼管10の下端と下に配置した鋼管10の上端)を突き合わせる。このとき、十字形突起71は十字溝73にはめ込まれるように凸十字突起付円盤72と凹十字溝付円盤74は重ね合わされる。なお、その後の鋼管10同士の接続過程については上記第4の実施の形態と同様なので説明は省略する。 In the joint structure 70 according to the sixth embodiment of the present invention constituted by the components described above, a disk with convex cross projections attached in advance to the ends of the two steel pipes 10 to be connected 72 and the concave cross grooved disk 74 are abutted so that the cruciform protrusion 71 and the cross groove 73 overlap. That is, as shown to Fig.16 (a), the edge part (The lower end of the steel pipe 10 arrange | positioned above and the upper end of the steel pipe 10 arrange | positioned below) of two upper and lower steel pipes 10 is faced | matched. At this time, the disc 72 with a convex cross projection and the disc 74 with a concave cross groove are overlapped so that the cross projection 71 is fitted in the cross groove 73. Since the subsequent connection process between the steel pipes 10 is the same as that of the fourth embodiment, description thereof is omitted.

上述したように接続された継手構造70においては、接続後の鋼管10の継手部において上下鋼管10の設置ずれが発生した場合でも、十字形突起71および十字溝73の方向に沿って滑らせるように動かすことにより、上下互いの鋼管10が正しい位置に修正されやすくなる。また、十字形突起71と十字溝73が重なり合うように鋼管10同士が接続されているため、一方の鋼管10に加わった回転力が他方の鋼管10に効率的に伝達されることとなる。そのため、第2の実施の形態と同様、接続した複数の鋼管10を地盤に回転させながら打ち込んでいく場合に、効率的に杭等(接続された鋼管10)を打ち込むことができる。 In the joint structure 70 connected as described above, even when a displacement of the upper and lower steel pipes 10 occurs in the joint part of the steel pipe 10 after connection, the joint structure 70 is slid along the direction of the cruciform protrusion 71 and the cross groove 73. By moving the steel pipe 10 upward and downward, the steel pipes 10 are easily corrected to the correct positions. Further, since the steel pipes 10 are connected so that the cruciform protrusion 71 and the cross groove 73 overlap each other, the rotational force applied to one steel pipe 10 is efficiently transmitted to the other steel pipe 10. Therefore, as in the second embodiment, when driving a plurality of connected steel pipes 10 while rotating them on the ground, a pile or the like (connected steel pipes 10) can be driven efficiently.

(第7の実施の形態)
図17は、本発明の第7の実施の形態にかかる継手構造80の説明図である。図17(a)は継手構造80を斜め上方から見た斜視図である。継手構造80により、上下に直列に配置された2つの円筒形状の鋼管10の端部同士(上に配置された鋼管10の下端と下に配置した鋼管10の上端)が接続される。図17(a)は、継手構造80を分解した状態を示している。また、図17(b)は鋼管10の接続時の継手構造80の鋼管水平方向断面図であり、図17(c)は鋼管10接続時の継手構造80の鋼管長手方向断面拡大図である。即ち、図17(b)は図17(c)におけるD−D断面を示し、図17(c)は図17(b)におけるD’−D’断面を示している。なお、本実施の形態においては、上記第1の実施の形態での鋼管10の端部に突出部11を有する部材として取り付けられたリング状部材12に相当する部分にのみ上記第1の実施の形態との相違点があるため、他の部材等についての説明は省略する。
(Seventh embodiment)
FIG. 17 is an explanatory diagram of a joint structure 80 according to the seventh embodiment of the present invention. FIG. 17A is a perspective view of the joint structure 80 as viewed obliquely from above. The joint structure 80 connects the ends of the two cylindrical steel pipes 10 arranged in series vertically (the lower end of the steel pipe 10 arranged above and the upper end of the steel pipe 10 arranged below). FIG. 17A shows a state where the joint structure 80 is disassembled. FIG. 17B is a horizontal cross-sectional view of the joint structure 80 when the steel pipe 10 is connected, and FIG. 17C is an enlarged cross-sectional view of the joint structure 80 when the steel pipe 10 is connected. That is, FIG. 17B shows a DD cross section in FIG. 17C, and FIG. 17C shows a D′-D ′ cross section in FIG. In the present embodiment, only the portion corresponding to the ring-shaped member 12 attached as a member having the protruding portion 11 to the end of the steel pipe 10 in the first embodiment is the first embodiment. Since there is a difference from the form, description of other members and the like is omitted.

第7の実施の形態では、外径が鋼管10の外径よりも大きく、内径が鋼管10の内径よりも小さい、接合対象面が平面である凸突起付リング81と凹溝付リング82が鋼管10の端部に取り付けられている。凸突起付リング81には、接合対象面上の円周方向に90°間隔で4ヶ所に突起83が形成され、凹溝付リング82には、接合対象面上の円周方向に90°間隔で4ヶ所に溝84が形成されている。上に配置された鋼管10の下端には凸突起付リング81の突起83が下に凸となるように取り付けられ、下に配置された鋼管10の上端には凹溝付リング82の溝84が上に凹となるように取り付けられる。ここで、凸突起付リング81と凹溝付球面リング82の形状は、これらを重ね合わせて接合した場合に適合するような形状となっている。なお、凸突起付リング81と凹溝付リング82の外側部分が、上下の鋼管10の外周面よりも外側に突出する突出部11となっている。また、凸突起付リング81と凹溝付リング82の形状・大きさ等は、継手構造80を構成する鋼管10の材質や断面積等によって好適なものを適宜定めればよい。本実施の形態では突起83の形状は鋼管10の中心に向かって高くなる勾配が形成される形状とし、溝84の形状は鋼管10の中心に向かって深くなる勾配が形成される形状としている。 In the seventh embodiment, a ring 81 with convex protrusions and a ring 82 with concave grooves whose outer diameter is larger than the outer diameter of the steel pipe 10 and whose inner diameter is smaller than the inner diameter of the steel pipe 10 and whose surfaces to be joined are flat are the steel pipe. 10 is attached to the end. The protrusion-provided ring 81 is formed with four protrusions 83 at 90 ° intervals in the circumferential direction on the surface to be joined. The concave grooved ring 82 has 90 ° intervals in the circumferential direction on the surface to be joined. Thus, grooves 84 are formed at four locations. The projection 83 of the ring with convex projection 81 is attached to the lower end of the steel pipe 10 arranged above so that the projection 83 protrudes downward, and the groove 84 of the ring 82 with concave groove is attached to the upper end of the steel pipe 10 arranged below. It is attached so as to be concave on the top. Here, the shape of the ring with convex projection 81 and the spherical ring with concave groove 82 is a shape that fits when they are overlapped and joined. In addition, the outer part of the ring 81 with a convex protrusion and the ring 82 with a groove is the protrusion part 11 which protrudes outside rather than the outer peripheral surface of the upper and lower steel pipes 10. FIG. Moreover, what is necessary is just to determine suitably a suitable thing by the material, cross-sectional area, etc. of the steel pipe 10 which comprises the joint structure 80 about the shape, the magnitude | size, etc. of the ring 81 with a convex protrusion, and the ring 82 with a groove. In the present embodiment, the shape of the protrusion 83 is a shape that forms a gradient that increases toward the center of the steel pipe 10, and the shape of the groove 84 is a shape that forms a gradient that deepens toward the center of the steel pipe 10.

以上のように説明した構成要素によって構成される本発明の第7の実施の形態にかかる継手構造80において、接続対象である2本の鋼管10の端部にあらかじめ取り付けられた凸突起付リング81と凹溝付リング82を付き合わせる。即ち、突起83と溝84が重なり合うように上下2本の鋼管10の端部(上に配置された鋼管10の下端と下に配置した鋼管10の上端)を突き合わせる。このとき、突起83は溝84にはめ込まれるように凸突起付リング81と凹溝付リング82は重ね合わされる。なお、その後の鋼管10同士の接続過程については上記第4の実施の形態と同様なので説明は省略する。 In the joint structure 80 according to the seventh embodiment of the present invention configured by the components described above, a ring 81 with a convex protrusion that is attached in advance to the ends of the two steel pipes 10 to be connected. And a grooved ring 82. That is, the end portions of the upper and lower two steel pipes 10 (the lower end of the steel pipe 10 disposed above and the upper end of the steel pipe 10 disposed below) are butted so that the protrusion 83 and the groove 84 overlap each other. At this time, the ring with convex projection 81 and the ring with concave groove 82 are overlapped so that the projection 83 is fitted in the groove 84. The subsequent connection process between the steel pipes 10 is the same as that in the fourth embodiment, and a description thereof will be omitted.

上述したように接続された継手構造80においては、接続後の鋼管10の継手部において上下鋼管10の設置ずれが発生した場合でも、突起83と溝84の方向に沿って滑らせるように動かすことにより、上下互いの鋼管10が正しい位置に修正されやすくなる。また、突起83と溝84が重なり合うように鋼管10同士が接続されているため、一方の鋼管10に加わった回転力が他方の鋼管10に効率的に伝達されることとなる。そのため、第2の実施の形態と同様、接続した複数の鋼管10を地盤に回転させながら打ち込んでいく場合に、効率的に杭等(接続された鋼管10)を打ち込むことができる。 In the joint structure 80 connected as described above, even if a displacement of the upper and lower steel pipes 10 occurs in the joint part of the steel pipe 10 after connection, the steel pipe 10 is moved so as to slide along the direction of the protrusion 83 and the groove 84. This makes it easier for the upper and lower steel pipes 10 to be corrected to the correct positions. Further, since the steel pipes 10 are connected so that the protrusion 83 and the groove 84 overlap each other, the rotational force applied to one steel pipe 10 is efficiently transmitted to the other steel pipe 10. Therefore, as in the second embodiment, when driving a plurality of connected steel pipes 10 while rotating them on the ground, a pile or the like (connected steel pipes 10) can be driven efficiently.

(第8の実施の形態)
図18は、本発明の第8の実施の形態にかかる継手構造90の説明図である。図18(a)は継手構造90を斜め上方から見た斜視図である。継手構造90により、上下に直列に配置された2つの円筒形状の鋼管10の端部同士(上に配置された鋼管10の下端と下に配置した鋼管10の上端)が接続される。図18(a)は、継手構造90を分解した状態を示している。また、図18(b)は鋼管10の接続時の継手構造90の鋼管水平方向断面図であり、図18(c)は鋼管10接続時の継手構造90の鋼管長手方向断面拡大図である。即ち、図18(b)は図18(c)におけるE−E断面を示し、図18(c)は図18(b)におけるE’−E’断面を示している。なお、本実施の形態においては、上記第1の実施の形態での鋼管10の端部に突出部11を有する部材として取り付けられたリング状部材12に相当する部分にのみ上記第1の実施の形態との相違点があるため、他の部材等についての説明は省略する。
(Eighth embodiment)
FIG. 18 is an explanatory view of a joint structure 90 according to the eighth embodiment of the present invention. FIG. 18A is a perspective view of the joint structure 90 as viewed obliquely from above. The joint structure 90 connects the ends of the two cylindrical steel pipes 10 arranged in series vertically (the lower end of the steel pipe 10 arranged above and the upper end of the steel pipe 10 arranged below). FIG. 18A shows a state where the joint structure 90 is disassembled. 18B is a horizontal cross-sectional view of the joint structure 90 when the steel pipe 10 is connected, and FIG. 18C is an enlarged cross-sectional view of the joint structure 90 when the steel pipe 10 is connected. That is, FIG. 18B shows an EE cross section in FIG. 18C, and FIG. 18C shows an E′-E ′ cross section in FIG. In the present embodiment, only the portion corresponding to the ring-shaped member 12 attached as a member having the protruding portion 11 to the end of the steel pipe 10 in the first embodiment is the first embodiment. Since there is a difference from the form, description of other members and the like is omitted.

第8の実施の形態では、外径が鋼管10の外径よりも大きく、十字形状の十字形突起91が形成され、接合対象面が球面形状である凸十字突起付球面円盤92と、十字形状の十字溝93が形成された球面形状である凹十字溝付球面円盤94が鋼管10の端部に取り付けられている。ここで、図18(c)に示すように、十字形突起91は鋼管10の中心に近づくほど高さの上昇する曲線状の勾配を有しており、十字溝93は鋼管10の中心に近づくほど高さが低くなるような曲線状の勾配を有している。なお、上に配置された鋼管10の下端には凸十字突起付球面円盤92が下に凸となるように取り付けられ、下に配置された鋼管10の上端には凹十字溝付球面円盤94が上に凹となるように取り付けられる。ここで、凸十字突起付球面円盤92と凹十字溝付球面円盤94の形状は、これらを重ね合わせて接合した場合に適合するような形状となっている。なお、凸十字突起付球面円盤92と凹十字溝付球面円盤94の外側部分が、上下の鋼管10の外周面よりも外側に突出する突出部11となっている。また、凸十字突起付球面円盤92・凹十字溝付球面円盤94の曲率や、十字形突起91・十字溝93の形状は、継手構造90を構成する鋼管10の材質や断面積等によって好適なものを適宜定めればよい。本実施の形態では十字形突起91の形状は鋼管10の中心に向かって高くなる勾配が形成される形状とし、十字溝93の形状は鋼管10の中心に向かって深くなる勾配が形成される形状としている。 In the eighth embodiment, a spherical disk 92 with a convex cross projection having an outer diameter larger than the outer diameter of the steel pipe 10 and having a cruciform projection 91 formed on the surface to be joined, and a cruciform shape. A spherical disk 94 with a concave cross groove having a spherical shape in which a cross groove 93 is formed is attached to the end of the steel pipe 10. Here, as shown in FIG. 18 (c), the cruciform protrusion 91 has a curved slope whose height increases as it approaches the center of the steel pipe 10, and the cross groove 93 approaches the center of the steel pipe 10. It has a curvilinear gradient such that the height decreases. A spherical disk 92 with a convex cross projection is attached to the lower end of the steel pipe 10 disposed above so as to protrude downward, and a spherical disk 94 with a concave cross groove is disposed at the upper end of the steel pipe 10 disposed below. It is attached so as to be concave on the top. Here, the spherical disc 92 with convex cross projections and the spherical disc 94 with concave cross grooves are shaped to fit when they are overlapped and joined. The outer portions of the spherical disk 92 with convex cross projections and the spherical disk 94 with concave cross grooves are projecting portions 11 that protrude outward from the outer peripheral surfaces of the upper and lower steel pipes 10. Further, the curvature of the spherical disk 92 with convex cross projections and the spherical disk 94 with concave cross grooves and the shape of the cross-shaped projections 91 and cross grooves 93 are suitable depending on the material and cross-sectional area of the steel pipe 10 constituting the joint structure 90. What is necessary is just to determine suitably. In the present embodiment, the shape of the cruciform protrusion 91 is a shape that forms a gradient that increases toward the center of the steel pipe 10, and the shape of the cross groove 93 is a shape that forms a gradient that deepens toward the center of the steel pipe 10. It is said.

以上のように説明した構成要素によって構成される本発明の第8の実施の形態にかかる継手構造90において、接続対象である2本の鋼管10の端部にあらかじめ取り付けられた凸十字突起付球面円盤92と凹十字溝付球面円盤94を、十字形突起91と十字溝93が重なり合うように突き合わせる。即ち、図18(a)に示すように、上下2本の鋼管10の端部(上に配置された鋼管10の下端と下に配置した鋼管10の上端)を突き合わせる。このとき、十字形突起91は十字溝93にはめ込まれるように凸十字突起付球面円盤92と凹十字溝付球面円盤94は重ね合わされる。なお、その後の鋼管10同士の接続過程については上記第4の実施の形態と同様なので説明は省略する。 In the joint structure 90 according to the eighth embodiment of the present invention configured by the components described above, the spherical surface with convex cross projections attached in advance to the ends of the two steel pipes 10 to be connected. The disc 92 and the concave cross grooved spherical disc 94 are abutted so that the cross-shaped projection 91 and the cross-shaped groove 93 overlap. That is, as shown to Fig.18 (a), the edge part (The lower end of the steel pipe 10 arrange | positioned above and the upper end of the steel pipe 10 arrange | positioned below) of the two upper and lower steel pipes 10 is faced | matched. At this time, the spherical disk 92 with a convex cross projection and the spherical disk 94 with a concave cross groove are overlapped so that the cross-shaped protrusion 91 is fitted in the cross groove 93. Since the subsequent connection process between the steel pipes 10 is the same as that of the fourth embodiment, description thereof is omitted.

上述したように接続された継手構造90においては、上記第4および第5の実施の形態と同様、接続後の鋼管10の継手部において上下鋼管の角折れが発生した場合にも、上側の鋼管10を凹十字溝付球面円盤94に沿って滑らせるように動かし、直線性を保持するように簡単に矯正することが可能となる。また、接続後の鋼管10の継手部において上下鋼管10の設置ずれが発生した場合でも、十字形突起91と十字溝93の方向に沿って滑らせるように動かすことにより、上下互いの鋼管10が正しい位置に修正されやすくなる。さらに、十字形突起91と十字溝93が重なり合うように鋼管10同士が接続されているため、一方の鋼管10に加わった回転力が他方の鋼管10に効率的に伝達されることとなる。 In the joint structure 90 connected as described above, similarly to the fourth and fifth embodiments, even when the upper and lower steel pipes are bent at the joint portion of the steel pipe 10 after the connection, the upper steel pipe 10 can be moved so as to slide along the concave cross grooved spherical disk 94 and can be easily corrected so as to maintain linearity. Moreover, even when the installation deviation of the upper and lower steel pipes 10 occurs in the joint portion of the steel pipe 10 after the connection, the upper and lower steel pipes 10 are moved by sliding them along the direction of the cruciform protrusion 91 and the cross groove 93. It becomes easy to be corrected to the correct position. Furthermore, since the steel pipes 10 are connected so that the cruciform protrusion 91 and the cross groove 93 overlap each other, the rotational force applied to one steel pipe 10 is efficiently transmitted to the other steel pipe 10.

(第9の実施の形態)
図19は、本発明の第9の実施の形態にかかる継手構造100の説明図である。図19(a)は継手構造100を斜め上方から見た斜視図である。継手構造100により、上下に直列に配置された2つの円筒形状の鋼管10の端部同士(上に配置された鋼管10の下端と下に配置した鋼管10の上端)が接続される。図19(a)は、継手構造100を分解した状態を示している。また、図19(b)は鋼管10の接続時の継手構造100の鋼管水平方向断面図であり、図19(c)は鋼管10接続時の継手構造100の鋼管長手方向断面拡大図である。即ち、図19(b)は図19(c)におけるF−F断面を示し、図19(c)は図19(b)におけるF’−F’断面を示している。なお、本実施の形態においては、上記第1の実施の形態での鋼管10の端部に突出部11を有する部材として取り付けられたリング状部材12に相当する部分にのみ上記第1の実施の形態との相違点があるため、他の部材等についての説明は省略する。
(Ninth embodiment)
FIG. 19 is an explanatory diagram of the joint structure 100 according to the ninth embodiment of the present invention. FIG. 19A is a perspective view of the joint structure 100 as viewed obliquely from above. The joint structure 100 connects the ends of the two cylindrical steel pipes 10 arranged in series vertically (the lower end of the steel pipe 10 arranged above and the upper end of the steel pipe 10 arranged below). FIG. 19A shows a state where the joint structure 100 is disassembled. FIG. 19B is a horizontal cross-sectional view of the joint structure 100 when the steel pipe 10 is connected, and FIG. 19C is an enlarged cross-sectional view of the joint structure 100 when the steel pipe 10 is connected. That is, FIG. 19B shows the FF section in FIG. 19C, and FIG. 19C shows the FF′-F ′ section in FIG. 19B. In the present embodiment, only the portion corresponding to the ring-shaped member 12 attached as a member having the protruding portion 11 to the end of the steel pipe 10 in the first embodiment is the first embodiment. Since there is a difference from the form, description of other members and the like is omitted.

第9の実施の形態では、外径が鋼管10の外径よりも大きく、内径が鋼管10の内径よりも小さく、鋼管接続時に突き合わせる面(接合体正面)が球面形状である凸突起付球面リング101と凹溝付球面リング102が鋼管10の端部に取り付けられている。凸突起付球面リング101には、接合対象面上の円周方向に90°間隔で4ヶ所に球面突起103が形成され、凹溝付球面リング102には、接合対象面上の円周方向に90°間隔で4ヶ所に球面溝104が形成されている。上に配置された鋼管10の下端には凸突起付球面リング101が下に凸となるように取り付けられ、下に配置された鋼管10の上端には凹溝付球面リング102が上に凹となるように取り付けられる。ここで、凸突起付球面リング101と凹溝付球面リング102の形状は、これらを重ね合わせて接合した場合に適合するような形状となっている。また、図19(c)に示すように、球面突起103は鋼管10の中心に近づくほど高さの上昇する曲線状の勾配を有しており、球面溝104は鋼管10の中心に近づくほど高さが低くなるような曲線状の勾配を有している。なお、凸突起付球面リング101と凹溝付球面リング102の外側部分が、上下の鋼管10の外周面よりも外側に突出する突出部11となっている。また、凸突起付球面リング101と凹溝付球面リング102の曲率は、継手構造100を構成する鋼管10の材質や断面積等によって好適なものを適宜定めればよい。ここで、本実施の形態では球面突起103の形状は鋼管10の中心に向かって高くなる勾配が形成される球面形状とし、球面溝104の形状は鋼管10の中心に向かって深くなる勾配が形成される球面形状としている。 In the ninth embodiment, a spherical surface with convex protrusions whose outer diameter is larger than the outer diameter of the steel pipe 10, whose inner diameter is smaller than the inner diameter of the steel pipe 10, and whose surface to be abutted when the steel pipe is connected (the joined body front surface) is a spherical shape. A ring 101 and a concave grooved spherical ring 102 are attached to the end of the steel pipe 10. Spherical protrusions 103 are formed at four locations at 90 ° intervals in the circumferential direction on the surface to be welded on the spherical ring 101 with convex protrusions, and the spherical ring 102 with concave grooves is formed in the circumferential direction on the surface to be welded. Spherical grooves 104 are formed at four positions at intervals of 90 °. A spherical ring 101 with convex protrusions is attached to the lower end of the steel pipe 10 disposed above so as to protrude downward, and a spherical ring 102 with a concave groove is recessed upward at the upper end of the steel pipe 10 disposed below. It is attached to become. Here, the shape of the spherical ring with convex protrusion 101 and the spherical ring with concave groove 102 is a shape that fits when they are overlapped and joined. Further, as shown in FIG. 19C, the spherical protrusion 103 has a curved gradient whose height increases as it approaches the center of the steel pipe 10, and the spherical groove 104 increases as it approaches the center of the steel pipe 10. It has a curvilinear gradient that reduces the height. The outer portions of the spherical ring with convex protrusion 101 and the spherical ring with concave groove 102 are protruding portions 11 that protrude outward from the outer peripheral surfaces of the upper and lower steel pipes 10. Moreover, what is necessary is just to determine suitably a curvature of the spherical ring 101 with a convex protrusion, and the spherical ring 102 with a concave groove suitably by the material, cross-sectional area, etc. of the steel pipe 10 which comprises the joint structure 100. FIG. Here, in the present embodiment, the spherical protrusion 103 has a spherical shape in which a gradient that increases toward the center of the steel pipe 10 is formed, and the spherical groove 104 has a gradient that increases in depth toward the center of the steel pipe 10. It has a spherical shape.

以上のように説明した構成要素によって構成される本発明の第9の実施の形態にかかる継手構造100において、接続対象である2本の鋼管10の端部にあらかじめ取り付けられた凸突起付球面リング101と凹溝付球面リング102を付き合わせる。即ち、球面突起103と球面溝104が重なり合うように上下2本の鋼管10の端部(上に配置された鋼管10の下端と下に配置した鋼管10の上端)を突き合わせる。このとき、球面突起103は球面溝104にはめ込まれるように凸突起付球面リング101と凹溝付球面リング102は重ね合わされる。なお、その後の鋼管10同士の接続過程については上記第4の実施の形態と同様なので説明は省略する。 In the joint structure 100 according to the ninth embodiment of the present invention configured by the components described above, a spherical ring with convex protrusions attached in advance to the ends of the two steel pipes 10 to be connected 101 and spherical groove 102 with a groove are attached. That is, the end portions of the upper and lower steel pipes 10 (the lower end of the steel pipe 10 disposed above and the upper end of the steel pipe 10 disposed below) are butted so that the spherical protrusion 103 and the spherical groove 104 overlap. At this time, the spherical ring with convex protrusion 101 and the spherical ring with concave groove 102 are overlapped so that the spherical protrusion 103 is fitted into the spherical groove 104. Since the subsequent connection process between the steel pipes 10 is the same as that of the fourth embodiment, description thereof is omitted.

上述したように接続された継手構造100においては、上記実施の形態と同様、接続後の鋼管10の継手部において上下鋼管の角折れが発生した場合にも、上側の鋼管10を凹溝付球面リング102に沿って滑らせるように動かし、直線性を保持するように簡単に矯正することが可能となる。また、球面突起103と球面溝104が重なり合うように鋼管10同士が接続されているため、一方の鋼管10に加わった回転力が他方の鋼管10に効率的に伝達されることとなる。そのため、第2の実施の形態と同様、接続した複数の鋼管10を地盤に回転させながら打ち込んでいく場合に、効率的に杭等(接続された鋼管10)を打ち込むことができる。 In the joint structure 100 connected as described above, similarly to the above-described embodiment, even when the upper and lower steel pipes are bent at the joint portion of the steel pipe 10 after the connection, the upper steel pipe 10 is formed into a concave grooved spherical surface. It can be easily rectified to move along the ring 102 and maintain linearity. Further, since the steel pipes 10 are connected so that the spherical protrusion 103 and the spherical groove 104 overlap, the rotational force applied to one steel pipe 10 is efficiently transmitted to the other steel pipe 10. Therefore, as in the second embodiment, when driving a plurality of connected steel pipes 10 while rotating them on the ground, a pile or the like (connected steel pipes 10) can be driven efficiently.

以上、本発明の実施の形態の一例を説明したが、本発明は図示の形態に限定されない。当業者であれば、特許請求の範囲に記載された思想の範疇内において、各種の変更例または修正例に想到し得ることは明らかであり、それらについても当然に本発明の技術的範囲に属するものと了解される。   As mentioned above, although an example of embodiment of this invention was demonstrated, this invention is not limited to the form of illustration. It is obvious for those skilled in the art that various modifications or modifications can be conceived within the scope of the idea described in the claims, and these naturally belong to the technical scope of the present invention. It is understood.

例えば、上記第1〜第9の実施の形態において、接続部材15の形状を円弧状、固定部材20の形状を鞘状円筒形としたが、それぞれ鋼管10の外周形状等により適宜変更可能である。また、上記第6の実施の形態〜第9の実施の形態において、一方の突出部に設けられる突起の形状は鋼管の中心に向かって高くなる勾配を有する形状とし、他方の突出部に設けられる溝の形状は鋼管の中心に向かって深くなる勾配を有する形状としたが、本発明はこれに限られるものではなく、例えば、一方の突出部に設けられる突起の形状は鋼管の中心に向かって低くなる勾配を有する形状とし、他方の突出部に設けられる溝の形状は鋼管の中心に向かって浅くなる勾配を有する形状としてもよい。
また、上記第2の実施の形態においては、一方の凹付リング状部材25に凹部25’および凸付リング状板26に凸部26’が設けられることとしているが、凹部25’および凸部26’の数は1つに限定されることはなく、複数でもよい。また、その大きさ・形状についても、適宜、好適な大きさ・形状とすればよい。
第3の実施の形態においては、接続部材15’同士の隙間の4箇所をスリット42とし、それにあわせて固定部材20’の下端部に4つの突起部41を設けることとしたが、この突起部41およびスリット42の数は適宜変更可能である。
さらに、第1〜第9の実施の形態を上述してきたが、これらを組み合わせて用いることも当然考えられる。
For example, in the first to ninth embodiments, the shape of the connecting member 15 is an arc shape, and the shape of the fixing member 20 is a sheath-like cylindrical shape, but can be appropriately changed depending on the outer peripheral shape of the steel pipe 10 or the like. . Moreover, in the said 6th Embodiment-9th Embodiment, the shape of the protrusion provided in one protrusion part is made into the shape which has a gradient which becomes high toward the center of a steel pipe, and is provided in the other protrusion part. The shape of the groove is a shape having a slope that becomes deeper toward the center of the steel pipe, but the present invention is not limited to this, and for example, the shape of the protrusion provided on one of the protrusions is directed toward the center of the steel pipe. It is good also as a shape which has the shape which has a gradient which becomes low, and the shape of the groove | channel provided in the other protrusion part becomes a shape which becomes shallow toward the center of a steel pipe.
In the second embodiment, the concave portion 25 ′ is provided in one concave ring-shaped member 25 and the convex portion 26 ′ is provided in the convex ring-shaped plate 26. However, the concave portion 25 ′ and the convex portion are provided. The number of 26 'is not limited to one and may be plural. Also, the size and shape may be suitably set to a suitable size and shape.
In the third embodiment, four portions of the gap between the connecting members 15 ′ are the slits 42, and the four protrusions 41 are provided at the lower end of the fixing member 20 ′ accordingly. The number of 41 and slits 42 can be changed as appropriate.
Furthermore, although the first to ninth embodiments have been described above, it is naturally conceivable to use them in combination.

本発明は、杭などに使用する鋼管の継手構造に適用できる。   The present invention can be applied to a steel pipe joint structure used for piles and the like.

1、1’、1’’、50、60、70、80、90、100…継手構造
10…鋼管
11…突出部
12…リング状部材
15、15’…接続部材
16…溝
20、20’…固定部材
25…凹付リング状部材
25’…凹部
26…凸付リング状部材
26’…凸部
41…突起部
42…スリット
51…凸球面円盤
52…凹球面円盤
61…凸球面リング
62…凹球面リング
71…十字形突起
72…凸十字突起付円盤
73…十字溝
74…凹十字溝付円盤
81…凸突起付リング
82…凹溝付リング
83…突起
84…溝
91…十字形突起
92…凸十字突起付球面円盤
93…十字溝
94…凹十字溝付球面円盤
101…凸突起付球面リング
102…凹溝付球面リング
103…球面突起
104…球面溝
DESCRIPTION OF SYMBOLS 1, 1 ', 1'', 50, 60, 70, 80, 90, 100 ... Joint structure 10 ... Steel pipe 11 ... Projection part 12 ... Ring-shaped member 15, 15' ... Connection member 16 ... Groove 20, 20 '... Fixing member 25 ... Concave ring-shaped member 25 '... Concave part 26 ... Convex ring-shaped member 26' ... Convex part 41 ... Protruding part 42 ... Slit 51 ... Convex spherical disk 52 ... Concave spherical disk 61 ... Convex spherical ring 62 ... Concave Spherical ring 71 ... Cross protrusion 72 ... Disc with convex cross protrusion 73 ... Cross groove 74 ... Disc cross grooved disk 81 ... Convex protrusion ring 82 ... Concave groove ring 83 ... Protrusion 84 ... Groove 91 ... Cross protrusion 92 ... Spherical disk with convex cross protrusions 93 ... Cross groove 94 ... Spherical disk with concave cross groove 101 ... Spherical ring with convex protrusion 102 ... Spherical ring with concave groove 103 ... Spherical protrusion 104 ... Spherical groove

Claims (9)

2つの鋼管を直列に接続する継手構造であって、
2つの鋼管の端部にそれぞれ設けられた、鋼管の外周面よりも外側に突出する一対の突出部と、
2つの鋼管の端部同士を突き合わせた状態において、前記一対の突出部の外側から装着され、内周面に前記一対の突出部を受容させる溝が形成された複数の接続部材と、
前記一対の突出部に装着された前記複数の接続部材の外側に装着される筒状の固定部材を備えることを特徴とする、鋼管の継手構造。
A joint structure connecting two steel pipes in series,
A pair of projecting portions provided on the ends of the two steel pipes and projecting outward from the outer peripheral surface of the steel pipe;
In a state in which the ends of the two steel pipes are butted together, a plurality of connecting members mounted from the outside of the pair of protrusions and formed with grooves for receiving the pair of protrusions on the inner peripheral surface;
A steel pipe joint structure comprising a cylindrical fixing member attached to the outside of the plurality of connection members attached to the pair of protrusions.
前記突出部は、前記鋼管の端部に取り付けられた円盤状部材、リング状部材あるいは円弧状部材により構成されることを特徴とする、請求項1に記載の鋼管の継手構造。 The steel pipe joint structure according to claim 1, wherein the projecting portion is constituted by a disk-shaped member, a ring-shaped member, or an arc-shaped member attached to an end of the steel pipe. 前記複数の接続部材は円弧形状を有しており、各接続部材を組み合わせることにより、鋼管の外周面を囲む円環形状が構成されることを特徴とする、請求項1または2に記載の鋼管の継手構造。 The steel pipe according to claim 1, wherein the plurality of connecting members have an arc shape, and an annular shape surrounding the outer peripheral surface of the steel pipe is configured by combining the connecting members. Joint structure. 前記固定部材の上端には、前記突出部に装着された接続部材の上面に当接可能な係止部が設けられていることを特徴とする、請求項1〜3のいずれかに記載の鋼管の継手構造。 The steel pipe according to any one of claims 1 to 3, wherein a locking portion capable of abutting on an upper surface of a connection member attached to the protruding portion is provided at an upper end of the fixing member. Joint structure. 前記一対の突出部の一方の対向面には凸部が設けられ、他方の対向面には前記凸部を受容可能な凹部が設けられていることを特徴とする、請求項1〜4のいずれかに記載の鋼管の継手構造。 The convex part is provided in one opposing surface of the pair of projecting parts, and the concave part capable of receiving the convex part is provided in the other opposing surface. A steel pipe joint structure according to any one of the above. 前記固定部材の下端には、前記突出部に装着された接続部材の下面に架け留める突起部が設けられていることを特徴とする、請求項1〜5のいずれかに記載の鋼管の継手構造。 The steel pipe joint structure according to any one of claims 1 to 5, wherein a protrusion is provided at a lower end of the fixing member so as to be fastened to a lower surface of a connection member attached to the protrusion. . 前記一対の突出部の対向面は互いに適合する形状であり、一方の対向面は凹球面形状、他方の対向面は凸球面形状であることを特徴とする、請求項1〜6に記載の鋼管の継手構造。 7. The steel pipe according to claim 1, wherein opposing surfaces of the pair of projecting portions have shapes that match each other, one opposing surface has a concave spherical shape, and the other opposing surface has a convex spherical shape. Joint structure. 一方の前記突出部の対向面には鋼管の中心に向かって深くなる勾配を有する十字型形状溝が形成され、他方の前記突出部の対向面には前記十字型形状溝に適合する形状であり、鋼管の中心に向かって高くなる勾配を有する十字型凸部が形成されることを特徴とする、請求項1〜7のいずれかに記載の鋼管の継手構造。 A cross-shaped groove having a gradient deeper toward the center of the steel pipe is formed on the opposing surface of one of the protruding portions, and the opposing surface of the other protruding portion has a shape that fits the cross-shaped groove. The joint structure for a steel pipe according to any one of claims 1 to 7, wherein a cross-shaped convex portion having a gradient that increases toward the center of the steel pipe is formed. 一方の前記突出部の対向面には鋼管の中心に向かって浅くなる勾配を有する十字型形状溝が形成され、他方の前記突出部の対向面には前記十字型形状溝に適合する形状であり、鋼管の中心に向かって低くなる勾配を有する十字型凸部が形成されることを特徴とする、請求項1〜7のいずれかに記載の鋼管の継手構造。 A cross-shaped groove having a slope that becomes shallower toward the center of the steel pipe is formed on the opposing surface of one of the protruding portions, and the opposing surface of the other protruding portion is shaped to fit the cross-shaped groove. The joint structure for a steel pipe according to any one of claims 1 to 7, wherein a cross-shaped convex portion having a slope that decreases toward the center of the steel pipe is formed.
JP2009088756A 2008-04-08 2009-04-01 Steel pipe joint structure Active JP5310198B2 (en)

Priority Applications (1)

Application Number Priority Date Filing Date Title
JP2009088756A JP5310198B2 (en) 2008-04-08 2009-04-01 Steel pipe joint structure

Applications Claiming Priority (3)

Application Number Priority Date Filing Date Title
JP2008100100 2008-04-08
JP2008100100 2008-04-08
JP2009088756A JP5310198B2 (en) 2008-04-08 2009-04-01 Steel pipe joint structure

Publications (2)

Publication Number Publication Date
JP2009270429A true JP2009270429A (en) 2009-11-19
JP5310198B2 JP5310198B2 (en) 2013-10-09

Family

ID=41437222

Family Applications (1)

Application Number Title Priority Date Filing Date
JP2009088756A Active JP5310198B2 (en) 2008-04-08 2009-04-01 Steel pipe joint structure

Country Status (1)

Country Link
JP (1) JP5310198B2 (en)

Cited By (7)

* Cited by examiner, † Cited by third party
Publication number Priority date Publication date Assignee Title
JP2013040536A (en) * 2011-08-19 2013-02-28 Asahi Kasei Construction Materials Co Ltd Steel pipe pile connection structure
JP2013040537A (en) * 2011-08-19 2013-02-28 Asahi Kasei Construction Materials Co Ltd Steel pipe pile connection structure
KR101588619B1 (en) * 2014-12-12 2016-02-12 (주)에스앤제이케이 Phc pile with longitudinal confine effect and the construction method therefor
KR101735069B1 (en) 2016-09-20 2017-05-12 주식회사 강물 Socket type steel pipe without expanding end
WO2019111882A1 (en) * 2017-12-04 2019-06-13 日鐵住金建材株式会社 Screw pile joint structure
JP2021059838A (en) * 2019-10-02 2021-04-15 旭化成建材株式会社 Steel pipe pile with spiral blade, soil cement combination pile, and creation method thereof
CN114351860A (en) * 2022-02-11 2022-04-15 徐州工程学院 Assembled building steel structure connecting component

Citations (2)

* Cited by examiner, † Cited by third party
Publication number Priority date Publication date Assignee Title
JPH1193158A (en) * 1997-07-22 1999-04-06 Tenox Corp Joint structure and joint method for cylindrical existing pile member
JP2006291551A (en) * 2005-04-11 2006-10-26 Takaaki Miyasaka Joint structure of pile

Patent Citations (2)

* Cited by examiner, † Cited by third party
Publication number Priority date Publication date Assignee Title
JPH1193158A (en) * 1997-07-22 1999-04-06 Tenox Corp Joint structure and joint method for cylindrical existing pile member
JP2006291551A (en) * 2005-04-11 2006-10-26 Takaaki Miyasaka Joint structure of pile

Cited By (11)

* Cited by examiner, † Cited by third party
Publication number Priority date Publication date Assignee Title
JP2013040536A (en) * 2011-08-19 2013-02-28 Asahi Kasei Construction Materials Co Ltd Steel pipe pile connection structure
JP2013040537A (en) * 2011-08-19 2013-02-28 Asahi Kasei Construction Materials Co Ltd Steel pipe pile connection structure
KR101588619B1 (en) * 2014-12-12 2016-02-12 (주)에스앤제이케이 Phc pile with longitudinal confine effect and the construction method therefor
KR101735069B1 (en) 2016-09-20 2017-05-12 주식회사 강물 Socket type steel pipe without expanding end
WO2019111882A1 (en) * 2017-12-04 2019-06-13 日鐵住金建材株式会社 Screw pile joint structure
JPWO2019111882A1 (en) * 2017-12-04 2020-12-03 日鉄建材株式会社 Rotating pile joint structure
JP2022090007A (en) * 2017-12-04 2022-06-16 日鉄建材株式会社 Rotary pile joint structure
JP7101193B2 (en) 2017-12-04 2022-07-14 日鉄建材株式会社 Rotating pile joint structure
JP7212995B2 (en) 2017-12-04 2023-01-26 日鉄建材株式会社 Rotating pile joint structure
JP2021059838A (en) * 2019-10-02 2021-04-15 旭化成建材株式会社 Steel pipe pile with spiral blade, soil cement combination pile, and creation method thereof
CN114351860A (en) * 2022-02-11 2022-04-15 徐州工程学院 Assembled building steel structure connecting component

Also Published As

Publication number Publication date
JP5310198B2 (en) 2013-10-09

Similar Documents

Publication Publication Date Title
JP5310198B2 (en) Steel pipe joint structure
JP2011089302A (en) Weldless joint for pile
TWI589753B (en) No welded joints pile
KR101207092B1 (en) A joint apparatus of concrete pile for foundation work
KR20100052847A (en) Apparatus for connecting both piles
JP4474430B2 (en) Pile joint structure
JP5885110B2 (en) Pile joint structure
JP6214258B2 (en) Prefabricated concrete pillar
JP2013072264A (en) Beam retaining rotary piece
KR200480962Y1 (en) Non-welding type connector for connecting piles
JP5991622B2 (en) Pile-free welded joint
KR101207138B1 (en) A joint apparatus of concrete pile for foundation work
JP4461153B2 (en) Pile joint structure
KR20190077687A (en) Apparatus for connecting steel pipe
KR20120083604A (en) A joint apparatus of concrete pile for foundation work
JP6007863B2 (en) Joint structure of steel pipes constituting rotating piles
JP5866733B2 (en) Pile-free welded joint
JP2016089354A (en) Pile joint structure
JP2008038367A (en) Decomposable column / beam joint
JP2015096685A (en) Seismic isolation device joint structure
JP2007308967A (en) Steel column connection structure and steel column connection method
JP5093179B2 (en) Steel pipe connection structure and steel pipe structure
KR102065504B1 (en) Connecting device for PHC pile with improve workability and assembling method of PHC pile using it
JP6492886B2 (en) Pile joint device
JP2008115543A (en) Pile head connecting structure

Legal Events

Date Code Title Description
A621 Written request for application examination

Free format text: JAPANESE INTERMEDIATE CODE: A621

Effective date: 20110816

A977 Report on retrieval

Free format text: JAPANESE INTERMEDIATE CODE: A971007

Effective date: 20120831

A131 Notification of reasons for refusal

Free format text: JAPANESE INTERMEDIATE CODE: A131

Effective date: 20130312

A521 Written amendment

Free format text: JAPANESE INTERMEDIATE CODE: A523

Effective date: 20130430

TRDD Decision of grant or rejection written
A01 Written decision to grant a patent or to grant a registration (utility model)

Free format text: JAPANESE INTERMEDIATE CODE: A01

Effective date: 20130604

A61 First payment of annual fees (during grant procedure)

Free format text: JAPANESE INTERMEDIATE CODE: A61

Effective date: 20130617

R151 Written notification of patent or utility model registration

Ref document number: 5310198

Country of ref document: JP

Free format text: JAPANESE INTERMEDIATE CODE: R151

S533 Written request for registration of change of name

Free format text: JAPANESE INTERMEDIATE CODE: R313533

R350 Written notification of registration of transfer

Free format text: JAPANESE INTERMEDIATE CODE: R350