JP2009243052A - 水洗大便器 - Google Patents
水洗大便器 Download PDFInfo
- Publication number
- JP2009243052A JP2009243052A JP2008087693A JP2008087693A JP2009243052A JP 2009243052 A JP2009243052 A JP 2009243052A JP 2008087693 A JP2008087693 A JP 2008087693A JP 2008087693 A JP2008087693 A JP 2008087693A JP 2009243052 A JP2009243052 A JP 2009243052A
- Authority
- JP
- Japan
- Prior art keywords
- water
- rim
- conduit
- flush toilet
- bowl portion
- Prior art date
- Legal status (The legal status is an assumption and is not a legal conclusion. Google has not performed a legal analysis and makes no representation as to the accuracy of the status listed.)
- Pending
Links
- XLYOFNOQVPJJNP-UHFFFAOYSA-N water Substances O XLYOFNOQVPJJNP-UHFFFAOYSA-N 0.000 title claims abstract description 157
- 238000011144 upstream manufacturing Methods 0.000 claims abstract description 10
- 238000005406 washing Methods 0.000 claims description 24
- 238000004140 cleaning Methods 0.000 claims description 21
- 238000011010 flushing procedure Methods 0.000 abstract description 8
- 230000009172 bursting Effects 0.000 abstract 1
- 230000014759 maintenance of location Effects 0.000 abstract 1
- 230000000717 retained effect Effects 0.000 description 4
- 230000002093 peripheral effect Effects 0.000 description 3
- 230000001174 ascending effect Effects 0.000 description 2
- 230000006835 compression Effects 0.000 description 2
- 238000007906 compression Methods 0.000 description 2
- 229910052571 earthenware Inorganic materials 0.000 description 2
- 238000007599 discharging Methods 0.000 description 1
- 238000001035 drying Methods 0.000 description 1
- 238000004519 manufacturing process Methods 0.000 description 1
- 239000002689 soil Substances 0.000 description 1
- 239000002699 waste material Substances 0.000 description 1
Images
Landscapes
- Sanitary Device For Flush Toilet (AREA)
Abstract
【課題】リム吐水口から洗浄水を吐水する際、空気の破裂音や水の飛散を防止することができる水洗大便器を提供する。
【解決手段】本発明は、貯水タンク16から給水される洗浄水により便器本体2のボウル部6を洗浄し、このボウル部内の溜水をトラップ排水路10から排出する水洗大便器1であって、貯水タンクから供給される洗浄水をボウル部に導くように形成されたリム導水路20,22と、このリム導水路の下流側に設けられリム導水路からの洗浄水をボウル部にほぼ水平方向に吐水するリム吐水口24,26と、リム導水路のリム吐水口より上流側に設けられ洗浄水の一部を滞留させる洗浄水滞留部30,32,34と、を有する。
【選択図】図3
【解決手段】本発明は、貯水タンク16から給水される洗浄水により便器本体2のボウル部6を洗浄し、このボウル部内の溜水をトラップ排水路10から排出する水洗大便器1であって、貯水タンクから供給される洗浄水をボウル部に導くように形成されたリム導水路20,22と、このリム導水路の下流側に設けられリム導水路からの洗浄水をボウル部にほぼ水平方向に吐水するリム吐水口24,26と、リム導水路のリム吐水口より上流側に設けられ洗浄水の一部を滞留させる洗浄水滞留部30,32,34と、を有する。
【選択図】図3
Description
本発明は、水洗大便器に係り、特に、給水源から給水される洗浄水により便器本体のボウル部を洗浄し、このボウル部内の溜水をトラップ排水路から排出する水洗大便器に関する。
最近、便器の清掃性を向上させるため、従来から使用されているボックスリム形式やオープンリム形式ではなく、例えば、特許文献1に示すように、便器本体のボウル部の上縁にあるリムを内側にオーバーハングさせて、このリムの内周面を導水路として利用するタイプの水洗大便器が使用されている。
このタイプの水洗大便器においては、特許文献1に示されているように、貯水タンク又はフラッシュバルブから供給される洗浄水を便器本体内の導水路を経てリム内周面に開口するリム吐水口から洗浄水をほぼ水平に吐出させるようになっている。
しかしながら、上述したタイプの水洗大便器では、洗浄待機状態において、上述した便器本体内の導水路は大気(空気)で満たされており、この導水路は次の洗浄動作により洗浄水で満たされることになる。この洗浄動作の初期段階において、供給される洗浄水と導水路内の空気が混在しながら、勢い良く流れ、リム吐水口から吐水される。このとき、混在した空気が洗浄水により圧縮されるので、リム吐水口からは破裂音が噴出し、さらに、水が飛び散るという問題があった。
これらの問題を解決するために、導水路内に流路拡大部を設けることにより導水路内で空気を微粒化したり(特許文献2参照)、導水路内に整流板を設けることにより空気を水と分離して(特許文献3及び特許文献4参照)、圧縮された空気をリム吐水口から吐水させないようにしたものが提案されている。
しかしながら、これらの提案は、リム吐水口から噴出する破裂音や水の飛散をある程度は低減できるが、十分なものではなく、更なる改良が要望されている。
しかしながら、これらの提案は、リム吐水口から噴出する破裂音や水の飛散をある程度は低減できるが、十分なものではなく、更なる改良が要望されている。
そこで、本発明は、従来からの要請を満たすためになされたものであり、リム吐水口から洗浄水を吐水する際、空気の破裂音や水の飛散を防止することができる水洗大便器を提供することを目的としている。
上述した目的を達成するために、本発明は、給水源から給水される洗浄水により便器本体のボウル部を洗浄し、このボウル部内の溜水をトラップ排水路から排出する水洗大便器であって、給水源から供給される洗浄水をボウル部に導くように形成されたリム導水路と、このリム導水路の下流側に設けられリム導水路からの洗浄水をボウル部にほぼ水平方向に吐水するリム吐水口と、リム導水路のリム吐水口より上流側に設けられ洗浄水の一部を滞留させる洗浄水滞留部と、を有することを特徴としている。
このように構成された本発明の水洗大便器においては、先ず、リム導水路に洗浄水滞留部が設けられているので、滞留する空気の容積分だけ残存する空気量が少なくなる。次に、洗浄開始時においては、給水源から供給された流速の早い洗浄水が洗浄水滞留部にある洗浄水に突入し、これにより、この滞留していた洗浄水は、リム吐水口に押し出されるが、このとき、滞留していた洗浄水の流速は遅く、そのため、洗浄水滞留部付近にある空気をほとんど圧縮混在させずに押し出される。さらに、流速の早い洗浄水がリム導水路内に流入しリム吐水口に向けて流れるが、このとき、リム導水路に残存していた空気は既にほとんど排出されているので、空気を圧縮混在することはない。この結果、本発明によれば、リム吐水口から洗浄水を吐水する際、空気を圧縮混在させることがないので、空気の破裂音や水の飛散を防止することができる。
このように構成された本発明の水洗大便器においては、先ず、リム導水路に洗浄水滞留部が設けられているので、滞留する空気の容積分だけ残存する空気量が少なくなる。次に、洗浄開始時においては、給水源から供給された流速の早い洗浄水が洗浄水滞留部にある洗浄水に突入し、これにより、この滞留していた洗浄水は、リム吐水口に押し出されるが、このとき、滞留していた洗浄水の流速は遅く、そのため、洗浄水滞留部付近にある空気をほとんど圧縮混在させずに押し出される。さらに、流速の早い洗浄水がリム導水路内に流入しリム吐水口に向けて流れるが、このとき、リム導水路に残存していた空気は既にほとんど排出されているので、空気を圧縮混在することはない。この結果、本発明によれば、リム吐水口から洗浄水を吐水する際、空気を圧縮混在させることがないので、空気の破裂音や水の飛散を防止することができる。
本発明において、好ましくは、洗浄水滞留部は、リム導水路をリム吐水口から上流側に向けて下方に傾斜して形成された傾斜導水路である。
このように構成された本発明においては、傾斜導水路という比較的簡易な構造により洗浄水滞留部を形成することができるので、設計及び製造等が容易となる。
このように構成された本発明においては、傾斜導水路という比較的簡易な構造により洗浄水滞留部を形成することができるので、設計及び製造等が容易となる。
本発明において、好ましくは、リム導水路は、便器本体とは別体で形成されたディストリビュータである。
このように構成された本発明においては、リム導水路を便器本体と別体としているので、リム導水路の設計が容易となる。
このように構成された本発明においては、リム導水路を便器本体と別体としているので、リム導水路の設計が容易となる。
本発明の水洗大便器によれば、リム吐水口から洗浄水を吐水する際、空気の破裂音や水の飛散を防止することができる。
以下、本発明の実施形態を添付図面を参照して説明する。先ず、本発明の第1実施形態を図1乃至図5により説明する。図1は本発明の第1実施形態による水洗大便器を示す縦断面図であり、図2は図1に示す水洗大便器の平面図であり、図3は本発明の水洗大便器の第1実施形態による水洗大便器のリム導水路を示す斜視図であり、図4は図3のリム導水路を示す平面図であり、図5は図3のリム導水路を展開して示した正面展開図である。
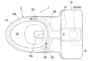
図1及び図2に示すように、第1実施形態による水洗大便器1は、便器本体2を有し、この便器本体2は陶器製であり、下部にスカート部4が形成され、上半部のうち前方にボウル部6が形成され、後方上部に導水路8、後方下部にトラップ排水路10がそれぞれ形成されている。
ボウル部6は椀状をなす汚物受け面12と上縁部を構成するリム14を有し、汚物受け面12の乾燥面12aと、棚部14bと、リム14の内側面14aはスムーズな曲面で連続している。そして、上から見て死角になる箇所がないように、また、清掃の際には使い捨ての紙等を使用して簡単に内側面14aを拭き取ることができ、しかも洗浄水が外に飛び出すことがないように、リム14の内側面14aは内方に向かってある程度オーバーハングした形状になっている。
ボウル部6は椀状をなす汚物受け面12と上縁部を構成するリム14を有し、汚物受け面12の乾燥面12aと、棚部14bと、リム14の内側面14aはスムーズな曲面で連続している。そして、上から見て死角になる箇所がないように、また、清掃の際には使い捨ての紙等を使用して簡単に内側面14aを拭き取ることができ、しかも洗浄水が外に飛び出すことがないように、リム14の内側面14aは内方に向かってある程度オーバーハングした形状になっている。
汚物受け面12の中央で溜水の水面下となる箇所にはトラップ排水路10の入口10aが開口し、この排水路10の入口10aから上昇路10bが後方に伸び、この上昇路10bには下降路10c(縦管)が連続し、下降路10cの下端は、ジョイント(図示せず)を介して排出管Dに接続されている。
導水路8の上方には、洗浄水を貯水する給水源である貯水タンク16が便器本体2と一体的に形成されている。この貯水タンク16の下方には開口16aが形成されている。なお、本実施形態は、給水源としてフラッシュバルブを設けたタイプの水洗大便器にも適用可能である。
上述した導水路8は、側壁18によりその幅が狭められており、また、後部天井面には貯水タンク16の開口16aと兼ねた開口8aが形成され、貯水タンク16内の洗浄水が導水路8に導かれるようになっている。
上述した導水路8は、側壁18によりその幅が狭められており、また、後部天井面には貯水タンク16の開口16aと兼ねた開口8aが形成され、貯水タンク16内の洗浄水が導水路8に導かれるようになっている。
導水路8の前部には、左右に分岐する第1リム導水路20及び第2リム導水路22が形成され、導水路8の前部と連通している。第1リム導水路20は、ボウル部6の前方側から見て右側に位置し、第1リム導水路20に入った洗浄水は水洗大便器の平面視で左回りに進み、一方、第2リム導水路22は、左側に位置し、第2リム導水路22に入った水は右回りに進む。なお、第2リム導水路22は先端部でUターンし、洗浄水が左回りに進むようになっている。
さらに、第1リム導水路20の上流端には、洗浄水をほぼ水平方向に吐水する第1リム吐水口24が形成され、一方、第2リム導水路22の上流端には、洗浄水をほぼ水平方向に吐水する第2リム吐水口26が形成されている。
これらの第1リム吐水口24及び第2リム吐水口26は、上述したリム14の内周面14aと棚部14bの近傍に開口し、ボウル部6に平面視で反時計回りの洗浄水による1つの旋回流が形成されるようになっている。
これらの第1リム吐水口24及び第2リム吐水口26は、上述したリム14の内周面14aと棚部14bの近傍に開口し、ボウル部6に平面視で反時計回りの洗浄水による1つの旋回流が形成されるようになっている。
次に、図3乃至図5により、上述した第1リム導水路20及び第2リム導水路22の構造について詳細に説明する。
先ず、第1リム導水路20は、第1リム吐水口24から上流側に向けて下方に傾斜して形成された第1傾斜導水路30となり、これにより、この第1傾斜導水路30に洗浄水が滞留する洗浄水滞留部32が形成される。ここで、第1傾斜導水路30の上壁と下壁はほぼ平行である。
先ず、第1リム導水路20は、第1リム吐水口24から上流側に向けて下方に傾斜して形成された第1傾斜導水路30となり、これにより、この第1傾斜導水路30に洗浄水が滞留する洗浄水滞留部32が形成される。ここで、第1傾斜導水路30の上壁と下壁はほぼ平行である。
同様に、第2リム導水路22も、第2リム吐水口26から上流側に向けて下方に傾斜して形成された第2傾斜導水路34となり、これにより、この第2傾斜導水路34にも洗浄水が滞留する洗浄水滞留部32が形成される。ここで、第2傾斜導水路34も上壁と下壁はほぼ平行である。
次に、本発明の実施形態による水洗大便器の動作(作用)を説明する。先ず、水洗大便器の基本動作を説明する。便器洗浄のための操作レバー(図示せず)をオンにすると、貯水タンク16の開口16aに設けられた開閉弁(図示せず)が開き、貯水タンク16内の洗浄水が、導水路8を経て、第1リム導水路20及び第2リム導水路22内に流入して、第1リム吐水口24及び第2リム吐水口26からほぼ水平方向に洗浄水がボウル部6に吐水され、旋回流を形成して、ボウル部6の汚物受け面12を洗浄する。
第1リム吐水口24及び第2リム吐水口26からボウル部6に吐水された洗浄水により、ボウル部6の溜水の水位が上昇し、これによりサイホン作用が発生し、汚物を含む溜水がトラップ排水路10から外部に排出される。
次に、図5及び図6により、第1リム吐水口24及び第2リム吐水口26から洗浄水が吐水されるときの状態を詳細に説明する。図6は本実施形態による水洗大便器の洗浄開始時の第1リム導水路及び第2リム導水路の洗浄水の状態を示す図である。
先ず、図5に示すように、洗浄開始前においては、第1リム導水路20及び第2リム導水路22は、上流側に向けて下方に傾斜した傾斜導水路30,34となり、洗浄水滞留部32が形成されているので、洗浄水滞留部32の滞留している洗浄水の容積分だけ、従来のものより残存する空気量が少なくなっている。
次に、図6に示すように、洗浄開始時においては、導水路8から供給された流速の早い洗浄水が洗浄水滞留部32にある洗浄水に突入し、これにより、この滞留していた洗浄水は、第1リム吐水口24及び第2リム吐水口26にそれぞれ押し出される。このとき、滞留していた洗浄水の流速は遅く、そのため、洗浄水滞留部32付近にある空気をほとんど圧縮混在させずに押し出される。
次に、流速の早い洗浄水が第1リム導水路20及び第2リム導水路22内に流入し第1リム吐水口24及び第2リム吐水口26に向けて流れるが、このとき、第1リム導水路20及び第2リム導水路22に残存していた空気は既にほとんど排出されているので、空気を圧縮混在することはない。
このように、本実施形態においては、第1リム吐水口24及び第2リム吐水口26から洗浄水を吐水する際、空気を圧縮混在させることがないので、空気の破裂音や水の飛散を防止することができる。
次に、図7により、本発明の第2実施形態による水洗大便器を説明する。図7は本発明の水洗大便器の第2実施形態による水洗大便器のリム導水路を示す斜視図である。この第2実施形態の基本構成は第1実施形態と同じであるので、ここでは、異なる部分のみ説明する。
第2実施形態においては、陶器製である便器本体2の所定空間S内に、導水路、第1リム導水路及び第2リム導水路の機能を持つ樹脂製のディストリビュータ40が設けられている。このディストリビュータ40は、導水路40a、第1リム導水路40b及び第2リム導水路40cを備えている。このディストリビュータ40の第1リム導水路40b及び第2リム導水路40cに第1実施形態と同様な洗浄水滞留部32が形成されている。
第2実施形態においては、陶器製である便器本体2の所定空間S内に、導水路、第1リム導水路及び第2リム導水路の機能を持つ樹脂製のディストリビュータ40が設けられている。このディストリビュータ40は、導水路40a、第1リム導水路40b及び第2リム導水路40cを備えている。このディストリビュータ40の第1リム導水路40b及び第2リム導水路40cに第1実施形態と同様な洗浄水滞留部32が形成されている。
この第2実施形態においても、第1実施形態と同様に、第1リム吐水口24及び第2リム吐水口26から洗浄水を吐水する際、空気を圧縮混在させることがないので、空気の破裂音や水の飛散を防止することができる。
次に、第1リム導水路40b及び第2リム導水路40cが、便器本体2と別体であるディストリビュータ40により形成されているので、便器本体1における導水路40a、第1リム導水路40b及び第2リム導水路40cの寸法がラフでも良くなり、これらの設計が容易となる。
次に、第1リム導水路40b及び第2リム導水路40cが、便器本体2と別体であるディストリビュータ40により形成されているので、便器本体1における導水路40a、第1リム導水路40b及び第2リム導水路40cの寸法がラフでも良くなり、これらの設計が容易となる。
本発明は、上述したリム吐水口から洗浄水を吐水するタイプの水洗大便器以外にも、リム吐水口から吐水すると共に、導水路と連通するゼット導水路を設け、このゼット導水路のゼット吐水口からトラップ排水路の排水路入口に向けて洗浄水を吐水するタイプの水洗大便器にも適用可能である。
1 水洗大便器
2 便器本体
6 ボウル部
8 導水路
10 トラップ排水路
12 汚物受け面
14 リム
16 貯水タンク
20 第1リム導水路
22 第2リム導水路
24 第1リム杜水口
26 第2リム吐水口
30 第1傾斜導水路
32 洗浄水滞留部
34 第2傾斜導水路
40 ディストリビュータ
2 便器本体
6 ボウル部
8 導水路
10 トラップ排水路
12 汚物受け面
14 リム
16 貯水タンク
20 第1リム導水路
22 第2リム導水路
24 第1リム杜水口
26 第2リム吐水口
30 第1傾斜導水路
32 洗浄水滞留部
34 第2傾斜導水路
40 ディストリビュータ
Claims (3)
- 給水源から給水される洗浄水により便器本体のボウル部を洗浄し、このボウル部内の溜水をトラップ排水路から排出する水洗大便器であって、
上記給水源から供給される洗浄水を上記ボウル部に導くように形成されたリム導水路と、
このリム導水路の下流側に設けられリム導水路からの洗浄水を上記ボウル部にほぼ水平方向に吐水するリム吐水口と、
上記リム導水路のリム吐水口より上流側に設けられ洗浄水の一部を滞留させる洗浄水滞留部と、
を有することを特徴とする水洗大便器。 - 上記洗浄水滞留部は、上記リム導水路をリム吐水口から上流側に向けて下方に傾斜して形成された傾斜導水路である請求項1記載の水洗大便器。
- 上記リム導水路は、上記便器本体とは別体で形成されたディストリビュータである請求項1又は請求項2に記載の水洗大便器。
Priority Applications (1)
| Application Number | Priority Date | Filing Date | Title |
|---|---|---|---|
| JP2008087693A JP2009243052A (ja) | 2008-03-28 | 2008-03-28 | 水洗大便器 |
Applications Claiming Priority (1)
| Application Number | Priority Date | Filing Date | Title |
|---|---|---|---|
| JP2008087693A JP2009243052A (ja) | 2008-03-28 | 2008-03-28 | 水洗大便器 |
Publications (1)
| Publication Number | Publication Date |
|---|---|
| JP2009243052A true JP2009243052A (ja) | 2009-10-22 |
Family
ID=41305263
Family Applications (1)
| Application Number | Title | Priority Date | Filing Date |
|---|---|---|---|
| JP2008087693A Pending JP2009243052A (ja) | 2008-03-28 | 2008-03-28 | 水洗大便器 |
Country Status (1)
| Country | Link |
|---|---|
| JP (1) | JP2009243052A (ja) |
Cited By (9)
| Publication number | Priority date | Publication date | Assignee | Title |
|---|---|---|---|---|
| JP2012237125A (ja) * | 2011-05-11 | 2012-12-06 | Toto Ltd | 水洗大便器 |
| CN102864831A (zh) * | 2012-10-09 | 2013-01-09 | 孙燕平 | 高压节水蹲便器 |
| JP2014062390A (ja) * | 2012-09-21 | 2014-04-10 | Toto Ltd | 水洗大便器 |
| US9062444B2 (en) | 2011-05-11 | 2015-06-23 | Toto Ltd. | Flush toilet |
| JP2015134993A (ja) * | 2014-01-17 | 2015-07-27 | Toto株式会社 | 水洗大便器 |
| JP2015168994A (ja) * | 2014-03-07 | 2015-09-28 | Toto株式会社 | 水洗大便器 |
| WO2017026202A1 (ja) * | 2015-08-11 | 2017-02-16 | 株式会社Lixil | 水洗大便器 |
| JP2017036615A (ja) * | 2015-08-11 | 2017-02-16 | 株式会社Lixil | 水洗大便器 |
| JP2017066797A (ja) * | 2015-09-30 | 2017-04-06 | 株式会社Lixil | 水洗式便器 |
-
2008
- 2008-03-28 JP JP2008087693A patent/JP2009243052A/ja active Pending
Cited By (10)
| Publication number | Priority date | Publication date | Assignee | Title |
|---|---|---|---|---|
| JP2012237125A (ja) * | 2011-05-11 | 2012-12-06 | Toto Ltd | 水洗大便器 |
| US9062444B2 (en) | 2011-05-11 | 2015-06-23 | Toto Ltd. | Flush toilet |
| JP2014062390A (ja) * | 2012-09-21 | 2014-04-10 | Toto Ltd | 水洗大便器 |
| CN102864831A (zh) * | 2012-10-09 | 2013-01-09 | 孙燕平 | 高压节水蹲便器 |
| JP2015134993A (ja) * | 2014-01-17 | 2015-07-27 | Toto株式会社 | 水洗大便器 |
| JP2015168994A (ja) * | 2014-03-07 | 2015-09-28 | Toto株式会社 | 水洗大便器 |
| WO2017026202A1 (ja) * | 2015-08-11 | 2017-02-16 | 株式会社Lixil | 水洗大便器 |
| JP2017036615A (ja) * | 2015-08-11 | 2017-02-16 | 株式会社Lixil | 水洗大便器 |
| CN107849841A (zh) * | 2015-08-11 | 2018-03-27 | 骊住株式会社 | 抽水马桶 |
| JP2017066797A (ja) * | 2015-09-30 | 2017-04-06 | 株式会社Lixil | 水洗式便器 |
Similar Documents
| Publication | Publication Date | Title |
|---|---|---|
| JP5093627B1 (ja) | 水洗大便器 | |
| JP5971612B2 (ja) | 水洗大便器 | |
| JP6246453B2 (ja) | 水洗大便器 | |
| JP5930509B2 (ja) | 水洗大便器 | |
| JP4941796B1 (ja) | 水洗大便器 | |
| JP5935970B2 (ja) | 水洗大便器 | |
| JP5740788B2 (ja) | 水洗大便器 | |
| JP2009243052A (ja) | 水洗大便器 | |
| JP5585944B2 (ja) | 水洗大便器 | |
| JP5959055B2 (ja) | 便器本体及びこれを備えたサイホン式水洗便器 | |
| JPWO2004022862A1 (ja) | 水洗便器 | |
| CN107849841B (zh) | 抽水马桶 | |
| JP6068417B2 (ja) | 水洗式便器 | |
| JP6908870B2 (ja) | 水洗大便器 | |
| JP5930508B2 (ja) | 水洗大便器 | |
| JP5935971B2 (ja) | 水洗大便器 | |
| JP2020007908A (ja) | 水洗大便器 | |
| JP2014062431A (ja) | 水洗大便器 | |
| JP5510881B2 (ja) | 水洗大便器 | |
| JP6066043B2 (ja) | 水洗大便器 | |
| JP2008045276A (ja) | 水洗便器 | |
| JP6908871B2 (ja) | 水洗大便器 | |
| JP5835549B2 (ja) | 洗い落し式汚物排出装置 | |
| JP2020026699A (ja) | 水洗大便器 | |
| JP6627319B2 (ja) | 水洗大便器 |