JP2009009643A - シャッタ、ディスクカートリッジ、成形金型およびシャッタ成形方法 - Google Patents
シャッタ、ディスクカートリッジ、成形金型およびシャッタ成形方法 Download PDFInfo
- Publication number
- JP2009009643A JP2009009643A JP2007169883A JP2007169883A JP2009009643A JP 2009009643 A JP2009009643 A JP 2009009643A JP 2007169883 A JP2007169883 A JP 2007169883A JP 2007169883 A JP2007169883 A JP 2007169883A JP 2009009643 A JP2009009643 A JP 2009009643A
- Authority
- JP
- Japan
- Prior art keywords
- shutter
- insertion hole
- molding
- gate
- molding die
- Prior art date
- Legal status (The legal status is an assumption and is not a legal conclusion. Google has not performed a legal analysis and makes no representation as to the accuracy of the status listed.)
- Pending
Links
- 238000000465 moulding Methods 0.000 title claims abstract description 144
- 238000000034 method Methods 0.000 title claims description 30
- 239000002184 metal Substances 0.000 title description 4
- 229910052751 metal Inorganic materials 0.000 title description 4
- 238000001746 injection moulding Methods 0.000 claims abstract description 24
- 239000011347 resin Substances 0.000 claims description 63
- 229920005989 resin Polymers 0.000 claims description 63
- 238000003780 insertion Methods 0.000 claims description 61
- 230000037431 insertion Effects 0.000 claims description 61
- 238000002347 injection Methods 0.000 claims description 7
- 239000007924 injection Substances 0.000 claims description 7
- 238000007493 shaping process Methods 0.000 claims 1
- 230000002093 peripheral effect Effects 0.000 abstract description 12
- 239000000243 solution Substances 0.000 abstract 1
- 238000003466 welding Methods 0.000 abstract 1
- 230000003287 optical effect Effects 0.000 description 12
- 230000007423 decrease Effects 0.000 description 8
- 238000005192 partition Methods 0.000 description 4
- 238000010586 diagram Methods 0.000 description 2
- 239000012530 fluid Substances 0.000 description 2
- 230000004927 fusion Effects 0.000 description 2
- 125000006850 spacer group Chemical group 0.000 description 2
- 230000015572 biosynthetic process Effects 0.000 description 1
- 238000001816 cooling Methods 0.000 description 1
- PCHJSUWPFVWCPO-UHFFFAOYSA-N gold Chemical compound [Au] PCHJSUWPFVWCPO-UHFFFAOYSA-N 0.000 description 1
- 239000010931 gold Substances 0.000 description 1
- 229910052737 gold Inorganic materials 0.000 description 1
- 238000000926 separation method Methods 0.000 description 1
- 238000007711 solidification Methods 0.000 description 1
- 230000008023 solidification Effects 0.000 description 1
Images
Landscapes
- Moulds For Moulding Plastics Or The Like (AREA)
Abstract
【課題】耐久性を向上し得るシャッタを提供する。
【解決手段】シャッタ本体5aとシャッタ本体5aの1つの隅部に一体に設けられた枠体5bとを備えて構成されると共に、枠体5bで形成された挿通孔52に挿通される支持軸を中心として回動可能にディスク状媒体収容用のケース本体に配設されて媒体アクセス用の窓部を開閉可能に構成され、射出成形時におけるゲート痕72が枠体5bの側面71aに形成されている。この場合、ゲート痕72が側面71aに形成されるようにシャッタ5を成形することで、枠体5bの外周縁部と挿通孔52を構成する口縁部との間の距離が短い狭小部分におけるウェルドおよび焼けの発生が低く抑えられて、狭小部分の強度が十分に向上されるため、シャッタの耐久性が向上される。
【選択図】図8
【解決手段】シャッタ本体5aとシャッタ本体5aの1つの隅部に一体に設けられた枠体5bとを備えて構成されると共に、枠体5bで形成された挿通孔52に挿通される支持軸を中心として回動可能にディスク状媒体収容用のケース本体に配設されて媒体アクセス用の窓部を開閉可能に構成され、射出成形時におけるゲート痕72が枠体5bの側面71aに形成されている。この場合、ゲート痕72が側面71aに形成されるようにシャッタ5を成形することで、枠体5bの外周縁部と挿通孔52を構成する口縁部との間の距離が短い狭小部分におけるウェルドおよび焼けの発生が低く抑えられて、狭小部分の強度が十分に向上されるため、シャッタの耐久性が向上される。
【選択図】図8
Description
本発明は、ディスク状媒体収容用のケース本体に配設されて媒体アクセス用窓部を開閉するシャッタ、そのシャッタを備えたディスクカートリッジ、並びにそのシャッタを成形する成形金型およびシャッタ成形方法に関するものである。
この種のディスクカートリッジとして、特開2003−123426号公報に開示されたディスクカートリッジが知られている。このディスクカートリッジは、上シェルおよび下シェルを有するカートリッジ筐体と、カートリッジ筐体内に収容されるディスク状の情報記録媒体と、インナーシェルと、一対の薄板状のシャッタ部材で構成されたシャッタとを備えて構成されている。この場合、両シャッタ部材は、インナーシェルに形成された一対の支持軸が一端部に設けられた軸組付部の軸受孔にそれぞれ挿入されることにより、インナーシェルの支持軸によって回動可能に支持されている。また、両シャッタ部材は、インナーシェルの回転に伴って回動して、カートリッジ筐体に設けられた開口部を開閉する。また、このディスクカートリッジでは、両シャッタ部材における各々の接合部同士が接合した状態において、下シェルに形成された凸部における背高部の内側に軸組付部が位置する(軸組付部の端面が背高部によって押圧される)ことで、各接合部間における隙間の発生防止が図られている。
特開2003−123426号公報(第3−10頁、第1−28図)
ところが、上記のディスクカートリッジには、以下の問題点がある。すなわち、このディスクカートリッジでは、シャッタ部材の一端部にそれぞれ設けられた軸組付部に軸受孔が形成され、その軸受孔に挿入されたインナーシェルの支持軸によってシャッタ部材が支持されている。この場合、この種のシャッタ部材(例えば、図16に示すシャッタ部材500)は、同図に示すように、ディスクカートリッジの構造上の理由から、一端部(同図における左端部)の外周縁部501と軸受孔502を構成する口縁部との間の距離が短く(狭く)形成されている(以下、この部分を「狭小部分503」ともいう)。このため、このシャッタ部材500を成形する際には、ウェルドや焼け(ガス焼け)の発生に起因する狭小部分503の強度低下を少なく抑える必要がある。一方、シャッタ部材500の成形に用いられる成形金型は、一般的に、成形用のキャビティを構成する各キャビティ面のうちの、シャッタ部材500の表面(または裏面)を形成するキャビティ面の中央部(例えば同図に示す位置G1に対応する部位)にキャビティの厚み方向に向けて樹脂を射出するピンゲート(センターゲートまたはピンポイントゲート)が設けられて構成されている。しかしながら、この成形金型を用いて成形を行ったときには、ピンゲートから軸受孔が成形されるキャビティの一端部までの距離が長いため、ピンゲートから射出された樹脂の温度がキャビティの一端部においてやや低下する。このため、軸受孔を形成(成形)するためのピンによって分流して再び合流した樹脂がその部位で完全に融合せずに、上記した狭小部分503においてウェルドが発生し、このウェルドによってその部分の強度が低下してシャッタ部材500の耐久性が低下するおそれがある。
この問題を解決するために、発明者らは、上記した狭小部分503(図16参照)の表面(または裏面)を形成するキャビティ面(例えば同図に示す位置G2に対応する部位)にピンゲートを設けた成形金型(以下、この成形金型を「第1の成形金型」ともいう)を既に開発している。この第1の成形金型を用いた射出成形においては、狭小部分503の表面を形成するキャビティ面にピンゲートが設けられているため、キャビティの一端部において樹脂の温度が十分に高い状態に維持されるため、分流した後に合流した樹脂が確実に融合する結果、狭小部分503におけるウェルドの発生を抑えることが可能となっている。しかしながら、この第1の成形金型を用いた射出成形においては、樹脂の射出速度が速すぎるときには、狭小部分503に極めて大きな樹脂圧が加えられて、狭小部分503において焼け(ガス焼け)が発生して外観不良や強度低下等の支障を来すことがある。したがって、この第1の成形金型を用いた射出成形においては、焼けの生じない安定した成形を行うための適正な成形条件を特定するのがやや困難であり、この点の改善が求められている。
また、発明者らは、外周縁部501と軸受孔502を構成する口縁部との間の距離が比較的長い部分(以下、この部分を「広幅部分504」ともいう:図16参照)の表面(または裏面)を形成するキャビティ面(例えば同図に示す位置G3に対応する部位)にピンゲートを設けた成形金型(以下、この成形金型を「第2の成形金型」ともいう)を既に開発している。この第2の成形金型を用いた射出成形においても、キャビティの一端部において樹脂の温度が十分に高い状態に維持されるため、狭小部分503におけるウェルドの発生を抑えることが可能となっている。また、この第2の成形金型を用いた射出成形においては、上記の第1の成形金型を用いた射出成形と比較して、外周縁部501と軸受孔502を構成する口縁部との間の距離が長い分、狭小部分503に加えられる樹脂圧が低いため、狭小部分503における焼けの発生を低く抑えることが可能となっている。しかしながら、この第2の成形金型を用いた射出成形においては、シャッタ部材500の表面を成形するキャビティ面に設けたピンゲートからキャビティの厚み方向に向けて樹脂を射出するため、対向するキャビティ面に樹脂が衝突して樹脂の流動速度が低下する。このため、樹脂の流動速度の低下に起因して、キャビティの他端部(ピンゲートが設けられている部位から離間する部位)においてショートが発生し易く、ショートが発生しない安定した成形を行うための適正な成形条件を特定するのがやや困難であり、この点の改善が求められている。
本発明は、かかる問題点および課題に鑑みてなされたものであり、耐久性を向上し得るシャッタおよびディスクカートリッジ、並びに耐久性の向上が可能なシャッタを成形し得る成形金型およびシャッタ成形方法を提供することを主目的とする。
上記目的を達成すべく本発明に係るシャッタは、シャッタ本体と当該シャッタ本体の1つの隅部に一体に設けられた挿通孔形成用枠体とを備えて構成されると共に、前記挿通孔形成用枠体で形成された挿通孔に挿通される軸を中心として回動可能にディスク状媒体収容用のケース本体に配設されて媒体アクセス用窓部を開閉するシャッタであって、当該シャッタの射出成形時におけるゲート痕が前記挿通孔形成用枠体の側面に形成されている。
この場合、前記媒体アクセス用窓部が一対の当該シャッタによって閉塞された状態において前記ケース本体に当接して当該両シャッタの間に隙間が生じる向きへの当該シャッタの移動を規制する移動規制部を前記挿通孔形成用枠体に形成し、前記ゲート痕を前記移動規制部の側面に形成することができる。
また、本発明に係るディスクカートリッジは、ディスク状媒体収容用のケース本体と、シャッタ本体の1つの隅部に挿通孔形成用枠体が一体に設けられて当該挿通孔形成用枠体で形成された挿通孔に挿通される軸を中心として回動可能に前記ケース本体に配設されて媒体アクセス用窓部を開閉するシャッタと、前記ケース本体に収容されたディスク状媒体とを備えたディスクカートリッジであって、当該シャッタの射出成形時におけるゲート痕が前記挿通孔形成用枠体の側面に形成されている。
この場合、前記媒体アクセス用窓部が一対の当該シャッタによって閉塞された状態において前記ケース本体に当接して当該両シャッタの間に隙間が生じる向きへの当該シャッタの移動を規制する移動規制部を前記挿通孔形成用枠体に形成し、前記ゲート痕を前記移動規制部の側面に形成することができる。
また、本発明に係る成形金型は、シャッタ本体の1つの隅部に挿通孔形成用枠体が一体に設けられて当該挿通孔形成用枠体で形成された挿通孔に挿通される軸を中心として回動して媒体アクセス用窓部を開閉するシャッタを成形するための成形金型であって、前記挿通孔形成用枠体における一部の箇所の側面を成形するキャビティ面と前記挿通孔を形成するためのピンの中心との間に向けて開口する樹脂射出用のゲートが当該挿通孔形成用枠体における他の一部の箇所の側面を成形するキャビティ面に設けられている。
この場合、前記媒体アクセス用窓部が一対の前記シャッタによって閉塞された状態においてディスク状媒体収容用のケース本体に当接して当該両シャッタの間に隙間が生じる向きへの当該シャッタの移動を規制する移動規制部が形成されている前記挿通孔形成用枠体における当該移動規制部の側面を成形するキャビティ面に前記ゲートを設けることができる。
また、前記シャッタの表面を成形するキャビティ面および当該シャッタの裏面を成形するキャビティ面の少なくとも一方を、並設された直方体状で同形状の複数の入れ子における各々の一面で構成される金型面に前記シャッタの形状に対応する凹凸部を設けることによって形成する構成を採用することができる。この場合、この発明および後述する発明において、「同形状の入れ子」とは、同じ形状の入れ子やほぼ同じ形状の入れ子を含む概念である。
さらに、前記直方体状の各入れ子を前記ゲートが形成された入れ子に連接して並設する構成を採用することができる。
また、本発明に係るシャッタ成形方法は、シャッタ本体の1つの隅部に挿通孔形成用枠体が一体に設けられて当該挿通孔形成用枠体で形成された挿通孔に挿通される軸を中心として回動して媒体アクセス用窓部を開閉するシャッタを成形するシャッタ成形方法であって、前記挿通孔形成用枠体における一部の箇所の側面を成形するキャビティ面と前記挿通孔を形成するためのピンの中心との間に向けて開口する樹脂射出用のゲートが当該挿通孔形成用枠体における他の一部の箇所の側面を成形するキャビティ面に設けられている成形金型を用いて、前記一部の箇所の側面を成形する前記キャビティ面と前記ピンの中心との間に向けて当該ゲートから樹脂を射出して前記シャッタを成形する。
この場合、前記媒体アクセス用窓部が一対の前記シャッタによって閉塞された状態においてディスク状媒体収容用のケース本体に当接して当該両シャッタの間に隙間が生じる向きへの当該シャッタの移動を規制する移動規制部が形成されている前記挿通孔形成用枠体における当該移動規制部の側面を成形するキャビティ面に前記ゲートが設けられている前記成形金型を用いて、当該ゲートから樹脂を射出して前記シャッタを成形することができる。
また、前記シャッタの表面を成形するキャビティ面および当該シャッタの裏面を成形するキャビティ面の少なくとも一方が、並設された直方体状で同形状の複数の入れ子における各々の一面で構成される金型面に前記シャッタの形状に対応する凹凸部を設けることによって形成されている前記成形金型を用いて、前記ゲートから樹脂を射出して前記シャッタを成形することができる。
また、前記直方体状の各入れ子が前記ゲートが形成された入れ子に連接して並設されている前記成形金型を用いて、当該ゲートから樹脂を射出して前記シャッタを成形することができる。
本発明に係るシャッタ、ディスクカートリッジ、成形金型およびシャッタ成形方法によれば、挿通孔形成用枠体における一部の箇所の側面を成形するキャビティ面と挿通孔を形成するためのピンの中心との間に向けて開口する樹脂射出用のゲートを挿通孔形成用枠体における他の一部の箇所の側面を成形するキャビティ面に設けられ、そのゲートから樹脂を射出することでゲート痕が挿通孔形成用枠体の側面に形成されたシャッタを成形することにより、挿通孔形成用枠体の外周縁部と挿通孔を構成する口縁部との間の距離が短い狭小部分におけるウェルドおよび焼けの発生を十分に低く抑えることができる。したがって、このシャッタ、ディスクカートリッジ、成形金型およびシャッタ成形方法によれば、シャッタにおける狭小部分の強度を十分に向上させることができる結果、シャッタおよびディスクカートリッジの耐久性を十分に向上させることができる。
この場合、キャビティの厚み方向に対して傾斜または直交する向きにゲートを開口することで、シャッタの表面を成形するキャビティ面に設けたピンゲートからキャビティの厚み方向に向けて樹脂を射出する従来の金型と比較して、樹脂の流動速度の低下を低く抑えることができる。このため、樹脂の流動速度の低下に起因するキャビティの他の隅部におけるショートの発生を十分に軽減することができる。したがって、この成形金型およびシャッタ成形方法によれば、ウェルド、焼けおよびショート等が発生しない安定した成形を行うための適正な成形条件を容易に特定することができる。
また、本発明に係るシャッタ、ディスクカートリッジ、成形金型およびシャッタ成形方法によれば、移動規制部の側面を成形するキャビティ面にゲートが設けられ、そのゲートから樹脂を射出してシャッタを成形することにより、例えば、狭小部分を成形するキャビティ面にゲートを設ける構成と比較して、ゲートとピンとの間の距離を長くすることができるため、シャッタの狭小部分における焼けの発生をさらに低く抑えることができる。したがって、このシャッタ、ディスクカートリッジ、成形金型およびシャッタ成形方法によれば、シャッタおよびディスクカートリッジの耐久性を一層向上させることができる。
また、本発明に係る成形金型およびシャッタ成形方法によれば、シャッタの表面を成形するキャビティ面およびシャッタの裏面を成形するキャビティ面の少なくとも一方を、並設された直方体状で同形状の複数の入れ子における各々の一面で構成される金型面にシャッタの形状に対応する凹凸部を形成することによって構成したことにより、隣接する直方体状の入れ子の側面によって僅かな隙間が形成されるため、この隙間をガス抜き(エア抜き)として機能させることができる。したがって、この僅かな隙間を通ってキャビティ内のエアやガスを成形金型の外部に確実に排出することができるため、キャビティの隅々まで樹脂を確実に充填させることができる。
また、本発明に係る成形金型およびシャッタ成形方法によれば、直方体状の各入れ子を、ゲートが形成された入れ子に連接して並設したことにより、ゲートから射出された樹脂の流動に伴ってキャビティ内のエアやガスを成形金型の外部に効率的に排出することができる。
以下、本発明に係るシャッタ、ディスクカートリッジ、成形金型およびシャッタ成形方法の最良の形態について、添付図面を参照して説明する。
最初に、ディスクカートリッジ1の構成について、図面を参照して説明する。
図1,2に示すディスクカートリッジ1は、各種記録データの記録および再生が可能に構成されたカートリッジ式の情報媒体であって、カートリッジケース2および光ディスク100を備えて構成されている。なお、図2では、本発明についての理解を容易とするために、その厚み方向のサイズを誇張して厚く図示している。光ディスク100は、本発明におけるディスク状媒体に相当し、一例として、書き換え型の光ディスクであって、カートリッジケース2の内部に回転可能に収容されている。
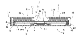
カートリッジケース2は、図1,2に示すように、ケース本体3、インナーロータ4および一対のシャッタ5,5を備えて構成されている。ケース本体3は、本発明におけるディスク状媒体収容用のケース本体であって、両図に示すように、互いに嵌合可能な下シェル11および上シェル12を備えて構成されている。なお、両図では、発明の理解を容易とするために、下シェル11を上向きにした状態で図示している。下シェル11は、図3に示すように、一対の下シェル本体21a,21bを備えて構成されている。下シェル本体21a,21bは、ケース本体3の底面を構成する底板22と、底板22の外縁部に立設されてケース本体3の側面を構成する側壁23とをそれぞれ備えている。また、下シェル本体21a,21bは、図1に示すように、上シェル12に嵌合させた状態(上シェル12と一体化させた状態)において開口部3aが形成されるように構成されている。この場合、開口部3aは、光ディスク100に対するアクセス(ドライブ装置からのレーザービームの照射等)を行うための窓部(本発明における媒体アクセス用窓部)2a(図2参照)を後述するインナーロータ4の開口部4aと共に構成する。また、図3に示すように、下シェル本体21a,21bの各底板22には、シャッタ5のスリット53(図6参照)に挿入されて、インナーロータ4の回転に伴ってシャッタ5を回動(移動)可能に支持するための凸部24がそれぞれ形成されている。
上シェル12は、図4に示すように、ケース本体3の天面を構成する天板31と、天板31の外縁部に立設されて下シェル11の側壁23と共にケース本体3の側面部分を構成する側壁32と、天板31の中央部に立設されて光ディスク100を回転可能に収容するための平面視円形の収容部をケース本体3内に構成する平面視円形状の隔壁33とを備えている。この場合、隔壁33に代えて、同一円周上に立設した平面視円弧状の隔壁を複数備えた構成を採用することもできる。また、図2,4に示すように、上シェル12における天板31の中央部には、リング状の取付け部材6によってチャッキングプレート7が取り付けられている。この場合、チャッキングプレート7は、上シェル12に対して回転可能で、天板31に対する接離方向で僅かに移動可能に取り付けられている。
インナーロータ4は、図5に示すように、開口部4aが形成された円板状の底板41と、底板41の外周縁部に立設された側壁42とを備えて光ディスク100を載置可能な浅皿状に構成されている。この場合、底板41の下面(同図における紙面の奥側の面)には、シャッタ5を軸支するための支持軸(本発明における軸)43,43が立設されている。また、側壁42には、ドライブ装置におけるシャッタ開閉手段(図示せず)が噛合可能な噛合用歯部44(各歯の図示を省略する)が形成されている。また、インナーロータ4は、図2に示すように、側壁42が上シェル12における隔壁33の外側に嵌め合わされた状態でケース本体3内に回転(回動)可能に収容(配設)されている。さらに、インナーロータ4は、ディスクカートリッジ1がドライブ装置に装填されていない状態、つまりディスクカートリッジ1の非使用状態においては、ロック部材8(図1参照)によってケース本体3に対する回動が規制されている。
シャッタ5,5は、図6,7に示すように、シャッタ本体5aおよび枠体(本発明における挿通孔形成用枠体)5bを備えてそれぞれ構成されている。また、シャッタ5,5は、図2に示すように、ケース本体3における下シェル11の底板22およびインナーロータ4の底板41の間に挟み込まれるようにして、後述する挿通孔52に挿通されたインナーロータ4の支持軸43を中心としてそれぞれ回動可能にケース本体3内に配設されている。シャッタ本体5aは、図7に示すように、全体として略半円形の薄板状に形成されている。また、シャッタ本体5aには、下シェル11の凸部24を挿通させるスリット53が表面5cから裏面5dまで貫通するようにして形成されている。また、シャッタ本体5aには、係合部54が形成され、この係合部54は、他方のシャッタ5におけるシャッタ本体5aの係合部54と互いに係合可能に構成されている。
枠体5bは、図7,8に示すように、シャッタ本体5aの1つの隅部(例えば、図7における左隅部)においてシャッタ本体5aと一体に設けられて、インナーロータ4の支持軸43を挿通させる挿通孔52を形成する。また、枠体5bは、図8に示すように、外周縁部61a,61bと挿通孔52を構成する口縁部との間の距離がそれぞれ1mm程度の短い距離となるように構成されている(以下、外周縁部61a,61bと挿通孔52を構成する口縁部との間の部分をそれぞれ「狭小部分63a,63b」ともいう)。また、枠体5bには、図7,8に示すように、挿通孔52を挟んで外周縁部61bから離間する向き(図8における右下向き)に突出するようにして、移動規制部51が形成されている。このため、移動規制部51が形成されている部分における枠体5bの外周縁部(つまり移動規制部51の縁部)と挿通孔52を構成する口縁部との間の距離が上記した狭小部分63a,63bよりも長く(広く)形成されている。また、移動規制部51の側面(本発明における挿通孔形成用枠体の側面にも相当する)71a,71bの一方(この例では側面71a:本発明における他の一部の箇所の側面)には、シャッタ5を射出成形する際に生じたゲート痕72が形成されている。なお、図8では、発明の理解を容易とするため移動規制部51の概略形状を破線で示しているが、移動規制部51の形状はこれに限定されず、任意に規定することができる。
また、図9に示すように、シャッタ5における係合部54の裏面5dには、複数の筋状の凸部(同図において破線で示す凸部)が形成されている。この場合、これらの凸部は、後述する移動側金型221の本体部223に配設された複数の入れ子223aの側面同士の間に僅かな隙間が形成されていることに起因するものであって、その隙間の入り口部分の形状(筋状の凹部)が射出成形の際に転写されることによって生じている。
この一対のシャッタ5,5は、ディスクカートリッジ1がドライブ装置に装填されてインナーロータ4が回動(回転)させられたときに、その回動に伴ってインナーロータ4の支持軸43を中心としてそれぞれ回動させられることにより、各々のシャッタ本体5aの係合部54が互いに係合して(図6参照)、上記した窓部2aを開閉する。また、この一対のシャッタ5,5では、窓部2aを閉塞した状態において、ケース本体3の下シェル11における開口部3aを構成する口縁部に形成された凸部25(図1,3参照)に移動規制部51が当接することにより、各々のシャッタ本体5aの係合部54の間に隙間が生じる向き(例えば図1に示す矢印Cの向き)への移動が規制される。
次に、成形金型201の構成について、図面を参照して説明する。
成形金型201(図12参照)は、本発明に係るシャッタ成形方法に従ってシャッタ5を射出成形によって成形するための成形金型であって、固定側金型(上金型)211、および移動側金型(下金型)221を備えて構成されている。
固定側金型211は、図10に示すように、ベース部212および本体部213を備えて構成されている。ベース部212は、板状に形成されて、図外の射出成形機の固定側取付部に取り付け可能に構成されている。本体部213は、各種形状の入れ子(図示せず)が配設されて構成されると共に、ベース部212に固定されている。また、本体部213は、図12に示すように、移動側金型221の本体部223と接合させられた状態において、シャッタ5を成形するキャビティ201aを本体部223と共に形成する。なお、同図では、固定側金型211と移動側金型221とを接合させた状態の成形金型201におけるゲート201c近傍部分の断面を、図10,11における矢印Aの向きで見た状態を図示している。
この場合、図12に示すように、キャビティ201aを形成する各キャビティ面のうちの、移動規制部51の側面71a(図8参照)を成形するキャビティ面202cには、スプルー201b(図10参照)を通って射出成形機から圧送される流動状態の樹脂をキャビティ201a内に射出するためのゲート(一例として、サブマリンゲート)201cが設けられている。ここで、ゲート201cは、図12,13に示すように、枠体5bの側面62a(本発明における一部の箇所の側面:図8参照)を成形するキャビティ面202aと挿通孔52を形成するためのピン231の中心軸(本発明における中心)232との間を向く(臨む)向きであって、かつキャビティ201aの厚み方向に対して傾斜または直交する向きに開口されている。つまり、ゲート201cは、この向きに樹脂を射出可能に構成されている。この場合、ゲート201cの開口の向きとしては、キャビティ面202aとピン231の中心軸232との間である限り、任意に規定することができる。具体的には、ピン231の中心軸232とピン231の外周面との間に向けてもよいし、キャビティ面202aとピン231の外周面との間の空間に向けてもよい。なお、図13では、固定側金型211と移動側金型221とを接合させた状態の成形金型201におけるゲート201c近傍部分の断面を、図10,11における矢印Bの向きで見た状態を図示している。
移動側金型221は、図11に示すように、ベース部222、本体部223、スペーサブロック224およびイジェクトプレート225を備えて構成されている。ベース部222は、板状に形成されて、図外の射出成形機における移動側取付部に取り付け可能に構成されている。
本体部223は、各種形状の入れ子が配設されて構成されると共に、スペーサブロック224を介してベース部222に固定されて、固定側金型211の本体部213と共にキャビティ201aを形成する。この場合、図14に示すように(同図では本体部213の一部のみを図示している)、キャビティ201aを形成する各キャビティ面のうちの、シャッタ5の裏面5d(図9参照)を成形するキャビティ面202eの一部(一例として、係合部54の裏面を成形する部分であって、図14における右側部分(以下、この部分を「キャビティ面202f」ともいう))は、本体部223に配設された複数の入れ子223aに形成されている。具体的には、各入れ子223aは、同図に示すように、直方体状で同形状(等しい形状またはほぼ等しい形状)にそれぞれ形成されて、各々の側面同士を当接させた状態で、ゲート201cが形成された入れ子223cに連接して並設されている。また、各入れ子223aにおける各々の一面223b(同図における紙面手前側の面)によって構成される金型面にシャッタ5の裏面5dの形状に対応する凹凸部を設けることで、キャビティ面202fが形成されている。このため、この移動側金型221では、隣接する入れ子223aの側面同士の間に僅かな隙間が形成されている結果、この隙間をガス抜き(エア抜き)として機能させることが可能となっている。また、本体部223には、シャッタ5における挿通孔52を形成するためのピン231(図12,13参照)が配設されている。
イジェクトプレート225は、ベース部222と本体部223との間に配設されて、射出成形機によってベース部222と本体部223との間を移動させられることにより、図外のイジェクトピンを本体部223の前方に突き出させる。
次に、成形金型201を用いて本発明に係るシャッタ成形方法に従ってシャッタ5を成形する工程について、図面を参照して説明する。
まず、図外の射出成形機における固定側取付部および移動側取付部に成形金型201の固定側金型211および移動側金型221をそれぞれ取り付ける。次いで、射出成形機を作動させる。この際に、射出成形機の型締め機構が移動側取付部を固定側取付部に向けて移動させることにより、図12,13に示すように、固定側金型211と移動側金型221とが互いに接合させられる。続いて、射出成形機の射出機構が、流動状態の樹脂を圧送する。この際に、射出成形機から圧送された樹脂がスプルー201b(図10参照)を通ってゲート201cからキャビティ201a内に射出される。
この場合、この成形金型201では、図12,13に示すように、シャッタ5における移動規制部51の側面71aを成形するキャビティ面202aにゲート201cが設けられ、そのゲート201cが、キャビティ面202aとピン231の中心軸232との間に向けて開口されている。このため、図15に示すように、ゲート201cから射出された樹脂の一部がキャビティ面202a,202bとピン231との間の狭い空間(以下、キャビティ面202aとピン231との間の空間を「狭小部分203a」ともいい、キャビティ面202bとピン231との間の空間を「狭小部分203b」ともいう)を通ってキャビティ201aの中央部側(同図における右側)に向けて流動する。なお、同図では、発明の理解を容易とするため、キャビティ201aを構成する各キャビティ面およびピン231等を図示し、成形金型201における他の構成部品の図示を省略している。
また、図15に示すように、ピン231によって分流された樹脂の他の一部が、例えば狭小部分203bにおいて合流する。この場合、ゲート201cからこの狭小部分203bまでの距離が比較的に短いため、狭小部分203bにおける樹脂の温度が十分に高い状態に維持されている。このため、合流した樹脂が確実に融合する結果、狭小部分203bにおけるウェルドの発生が抑えられている。また、ピン231とキャビティ面202cとの間の比較的広い空間に樹脂が射出されるため、狭小部分203bに樹脂を射出する従来の成形金型(上記した第1の成形金型)を用いた成形と比較して、狭小部分203a,203bにおける樹脂圧をやや低い状態とすることができる結果、狭小部分203a,203bにおける焼けの発生が十分に低く抑えられている。
次いで、樹脂がさらに射出されることにより、キャビティ201a内に樹脂が充填される。ここで、この成形金型201では、複数の直方体状の入れ子223aにおける各々の一面223bによって構成される金型面にシャッタ5の裏面5dの形状に対応する凹凸部を形成することで、裏面5dを成形するキャビティ面202e(キャビティ面202f)が構成されている。このため、キャビティ201a内に存在していたエアや、射出された樹脂から発生したガス(樹脂ガス)が、隣接する入れ子223aの側面同士の間の僅かな隙間を通って移動側金型221の外部に排出される。この結果、キャビティ201aの隅々まで樹脂が確実に充填される。
また、この成形金型201では、キャビティ201aの厚み方向に対して傾斜または直交する向きにゲート201cが開口されているため、シャッタ5の表面を成形するキャビティ面に設けたピンゲートからキャビティの厚み方向に向けて樹脂を射出する従来の金型(上記した第1および第2の成形金型)と比較して、樹脂の流動速度の低下が低く抑えられている。このため、樹脂の流動速度の低下に起因するキャビティ201aの他端部(ゲート201cが設けられた部位から離間している部位)におけるショートの発生が十分に軽減されている。
続いて、所定の冷却時間が経過した後に、射出成形機の型締め機構が固定側取付部から離反する向きに移動側取付部を移動させることにより、固定側金型211と移動側金型221との接合が解除されて、移動側金型221が固定側金型211から離反させられる。この際に、樹脂が固化することによって成形された成形品、つまりシャッタ5が移動側金型221と共に固定側金型211から引き離される。次いで、射出成形機のイジェクト機構が移動側金型221のイジェクトプレート225を本体部223側に移動させることにより、図外のイジェクトピンが本体部223の前方に突き出されて、シャッタ5が移動側金型221から取り出される。これにより、シャッタ5の成形が完了する。
この場合、この成形金型201およびシャッタ成形方法では、上記したように、キャビティ201aの狭小部分203a,203bにおけるウェルドおよび焼けの発生が十分低く抑えられている。つまり、成形金型201を用いて上記のシャッタ成形方法に従って成形したシャッタ5は、狭小部分63a,63bにおけるウェルドおよび焼けの発生が十分低く抑えられている。このため、シャッタ5は、狭小部分63a,63bにおける十分な強度を有している。したがって、シャッタ5、およびこのシャッタ5を備えたディスクカートリッジ1では、耐久性を十分に向上させることが可能となっている。
このように、このシャッタ5、ディスクカートリッジ1、成形金型201およびシャッタ成形方法によれば、枠体5bにおける一部の箇所の側面(例えば側面62a)を成形するキャビティ面202aと挿通孔52を形成するためのピン231の中心軸232との間に向けて開口するゲート201cが枠体5bにおける他の一部の箇所の側面(例えば側面71a)を成形するキャビティ面202cに設けられ、そのゲート201cから樹脂を射出することでゲート痕72が枠体5bの側面(例えば側面71a)に形成されたシャッタ5を成形することにより、キャビティ201aの狭小部分203a,203b(つまり、シャッタ5の狭小部分63a,63b)におけるウェルドおよび焼けの発生を十分に低く抑えることができる。したがって、このシャッタ5、ディスクカートリッジ1、成形金型201およびシャッタ成形方法によれば、シャッタ5における狭小部分63a,63bの強度を十分に向上させることができる結果、シャッタ5およびディスクカートリッジ1の耐久性を十分に向上させることができる。
この場合、キャビティ201aの厚み方向に対して傾斜または直交する向きにゲート201cを開口したことにより、シャッタ5の表面を成形するキャビティ面に設けたピンゲートからキャビティの厚み方向に向けて樹脂を射出する従来の金型と比較して、樹脂の流動速度の低下を低く抑えることができる。このため、樹脂の流動速度の低下に起因するキャビティ201aの他の隅部におけるショートの発生を十分に軽減することができる。したがって、この成形金型201およびシャッタ成形方法によれば、ウェルド、焼けおよびショート等が発生しない安定した成形を行うための適正な成形条件を容易に特定することができる。
また、このシャッタ5、ディスクカートリッジ1、成形金型201およびシャッタ成形方法によれば、移動規制部51の側面71aを成形するキャビティ面202cにゲート201cが設けられ、そのゲート201cから樹脂を射出してシャッタ5を成形することにより、例えば、キャビティ面202aやキャビティ面202bにゲート201cを設ける構成と比較して、ゲート201cとピン231との間の距離を長くすることができるため、キャビティ201aの狭小部分203a,203b、つまり、シャッタ5の狭小部分63a,63bにおける焼けの発生をさらに低く抑えることができる。したがって、このシャッタ5、ディスクカートリッジ1、成形金型201およびシャッタ成形方法によれば、シャッタ5およびディスクカートリッジ1の耐久性を一層向上させることができる。
また、このシャッタ5、ディスクカートリッジ1、成形金型201およびシャッタ成形方法によれば、並設された直方体状で同形状の複数の入れ子223aの一面223bで構成される金型面にシャッタ5の裏面5dの形状に対応する凹凸部を形成することによって裏面5dを成形するキャビティ面202eの一部(キャビティ面202f)を構成したことにより、隣接する入れ子223aの側面同士の間に僅かな隙間が形成されるため、この隙間をガス抜き(エア抜き)として機能させることができる。したがって、この僅かな隙間を通ってキャビティ201a内のエアやガスを移動側金型221の外部に確実に排出することができるため、キャビティ201aの隅々まで樹脂を確実に充填させることができる。
また、このシャッタ5、ディスクカートリッジ1、成形金型201およびシャッタ成形方法によれば、ゲート201cが形成された入れ子223cに連接して各入れ子223aを並設したことにより、ゲート201cから射出された樹脂の流動に伴ってキャビティ201a内のエアやガスを移動側金型221の外部に効率的に排出することができる結果、キャビティ201aの隅々まで樹脂を一層確実に充填させることができる。
なお、本発明は、上記した構成に限定されない。例えば、シャッタ5における移動規制部51の側面71aを成形するキャビティ面202cにゲート201cを設けた例について上記したが、移動規制部51の他の側面71b(図8参照)を成形するキャビティ面202d(図15参照)や、枠体5bの側面62a,62b(図8参照)を成形するキャビティ面202a,202bにゲート201cを設ける構成を採用することもできる。また、ゲート201cとしてサブマリンゲートを採用した例について上記したが、これに限定されず、サイドゲート等の他の種類のゲートを採用することもできる。また、ホットランナー方式で樹脂を射出する構成を採用することもできる。
また、複数の入れ子223aの一面223bに凹凸部を設けることによって形成したキャビティ面202fでシャッタ5における裏面5dの一部を成形する成形金型201(移動側金型221)を例に挙げて説明したが、同様にして形成したキャビティ面で裏面5dの全域を成形する構成を採用することもできる。また、複数の直方体状の入れ子の一面に凹凸部を設けることによって形成したキャビティ面でシャッタ5の表面5cを成形する構成を採用することもできる。さらに、同様にして形成したキャビティ面でシャッタ5の表面5cおよび裏面5dの双方を成形する構成を採用することもできる。また、ゲート201cが形成された入れ子223cに連接して入れ子223aを並設した構成例について上記したが、入れ子223cから離間した部位に入れ子223aを並設する構成を採用することもできる。
また、本発明におけるディスク状媒体としては、上記した書き換え型の光ディスク100に限定されず、再生専用タイプの光ディスクや、追記型の光ディスクなどの各種の光ディスクが含まれるばかりでなく、光磁気ディスクや磁気ディスクも含まれる。
1 ディスクカートリッジ
2a 窓部
3 ケース本体
5 シャッタ
5a シャッタ本体
5b 枠体
5c 表面
5c 裏面
43 支持軸
51 移動規制部
52 挿通孔
62a,62b,71a,71b 側面
72 ゲート痕
100 光ディスク
201 成形金型
201a キャビティ
201c ゲート
202a〜202e キャビティ面
223a,223c 入れ子
223b 一面
231 ピン
232 中心軸
2a 窓部
3 ケース本体
5 シャッタ
5a シャッタ本体
5b 枠体
5c 表面
5c 裏面
43 支持軸
51 移動規制部
52 挿通孔
62a,62b,71a,71b 側面
72 ゲート痕
100 光ディスク
201 成形金型
201a キャビティ
201c ゲート
202a〜202e キャビティ面
223a,223c 入れ子
223b 一面
231 ピン
232 中心軸
Claims (12)
- シャッタ本体と当該シャッタ本体の1つの隅部に一体に設けられた挿通孔形成用枠体とを備えて構成されると共に、前記挿通孔形成用枠体で形成された挿通孔に挿通される軸を中心として回動可能にディスク状媒体収容用のケース本体に配設されて媒体アクセス用窓部を開閉するシャッタであって、
当該シャッタの射出成形時におけるゲート痕が前記挿通孔形成用枠体の側面に形成されているシャッタ。 - 前記挿通孔形成用枠体には、前記媒体アクセス用窓部が一対の当該シャッタによって閉塞された状態において前記ケース本体に当接して当該両シャッタの間に隙間が生じる向きへの当該シャッタの移動を規制する移動規制部が形成され、
前記ゲート痕は、前記移動規制部の側面に形成されている請求項1記載のシャッタ。 - ディスク状媒体収容用のケース本体と、シャッタ本体の1つの隅部に挿通孔形成用枠体が一体に設けられて当該挿通孔形成用枠体で形成された挿通孔に挿通される軸を中心として回動可能に前記ケース本体に配設されて媒体アクセス用窓部を開閉するシャッタと、前記ケース本体に収容されたディスク状媒体とを備えたディスクカートリッジであって、
当該シャッタの射出成形時におけるゲート痕が前記挿通孔形成用枠体の側面に形成されているディスクカートリッジ。 - 前記挿通孔形成用枠体には、前記媒体アクセス用窓部が一対の当該シャッタによって閉塞された状態において前記ケース本体に当接して当該両シャッタの間に隙間が生じる向きへの当該シャッタの移動を規制する移動規制部が形成され、
前記ゲート痕は、前記移動規制部の側面に形成されている請求項3記載のディスクカートリッジ。 - シャッタ本体の1つの隅部に挿通孔形成用枠体が一体に設けられて当該挿通孔形成用枠体で形成された挿通孔に挿通される軸を中心として回動して媒体アクセス用窓部を開閉するシャッタを成形するための成形金型であって、
前記挿通孔形成用枠体における一部の箇所の側面を成形するキャビティ面と前記挿通孔を形成するためのピンの中心との間に向けて開口する樹脂射出用のゲートが当該挿通孔形成用枠体における他の一部の箇所の側面を成形するキャビティ面に設けられている成形金型。 - 前記ゲートは、前記媒体アクセス用窓部が一対の前記シャッタによって閉塞された状態においてディスク状媒体収容用のケース本体に当接して当該両シャッタの間に隙間が生じる向きへの当該シャッタの移動を規制する移動規制部が形成されている前記挿通孔形成用枠体における当該移動規制部の側面を成形するキャビティ面に設けられている請求項5記載の成形金型。
- 前記シャッタの表面を成形するキャビティ面および当該シャッタの裏面を成形するキャビティ面の少なくとも一方は、並設された直方体状で同形状の複数の入れ子における各々の一面で構成される金型面に前記シャッタの形状に対応する凹凸部を設けることによって形成されている請求項5または6記載の成形金型。
- 前記直方体状の各入れ子は、前記ゲートが形成された入れ子に連接して並設されている請求項7記載の成形金型。
- シャッタ本体の1つの隅部に挿通孔形成用枠体が一体に設けられて当該挿通孔形成用枠体で形成された挿通孔に挿通される軸を中心として回動して媒体アクセス用窓部を開閉するシャッタを成形するシャッタ成形方法であって、
前記挿通孔形成用枠体における一部の箇所の側面を成形するキャビティ面と前記挿通孔を形成するためのピンの中心との間に向けて開口する樹脂射出用のゲートが当該挿通孔形成用枠体における他の一部の箇所の側面を成形するキャビティ面に設けられている成形金型を用いて、前記一部の箇所の側面を成形する前記キャビティ面と前記ピンの中心との間に向けて当該ゲートから樹脂を射出して前記シャッタを成形するシャッタ成形方法。 - 前記媒体アクセス用窓部が一対の前記シャッタによって閉塞された状態においてディスク状媒体収容用のケース本体に当接して当該両シャッタの間に隙間が生じる向きへの当該シャッタの移動を規制する移動規制部が形成されている前記挿通孔形成用枠体における当該移動規制部の側面を成形するキャビティ面に前記ゲートが設けられている前記成形金型を用いて、当該ゲートから樹脂を射出して前記シャッタを成形する請求項9記載のシャッタ成形方法。
- 前記シャッタの表面を成形するキャビティ面および当該シャッタの裏面を成形するキャビティ面の少なくとも一方が、並設された直方体状で同形状の複数の入れ子における各々の一面で構成される金型面に前記シャッタの形状に対応する凹凸部を設けることによって形成されている前記成形金型を用いて、前記ゲートから樹脂を射出して前記シャッタを成形する請求項9または10記載のシャッタ成形方法。
- 前記ゲートが形成された入れ子に連接して前記直方体状の各入れ子が並設されている前記成形金型を用いて、当該ゲートから樹脂を射出して前記シャッタを成形する請求項11記載のシャッタ成形方法。
Priority Applications (1)
| Application Number | Priority Date | Filing Date | Title |
|---|---|---|---|
| JP2007169883A JP2009009643A (ja) | 2007-06-28 | 2007-06-28 | シャッタ、ディスクカートリッジ、成形金型およびシャッタ成形方法 |
Applications Claiming Priority (1)
| Application Number | Priority Date | Filing Date | Title |
|---|---|---|---|
| JP2007169883A JP2009009643A (ja) | 2007-06-28 | 2007-06-28 | シャッタ、ディスクカートリッジ、成形金型およびシャッタ成形方法 |
Publications (1)
| Publication Number | Publication Date |
|---|---|
| JP2009009643A true JP2009009643A (ja) | 2009-01-15 |
Family
ID=40324570
Family Applications (1)
| Application Number | Title | Priority Date | Filing Date |
|---|---|---|---|
| JP2007169883A Pending JP2009009643A (ja) | 2007-06-28 | 2007-06-28 | シャッタ、ディスクカートリッジ、成形金型およびシャッタ成形方法 |
Country Status (1)
| Country | Link |
|---|---|
| JP (1) | JP2009009643A (ja) |
Cited By (1)
| Publication number | Priority date | Publication date | Assignee | Title |
|---|---|---|---|---|
| CN107297441A (zh) * | 2017-07-04 | 2017-10-27 | 西安飞机工业(集团)有限责任公司 | 一种封闭盒形钣金件的成形模具及成形方法 |
Citations (4)
| Publication number | Priority date | Publication date | Assignee | Title |
|---|---|---|---|---|
| JPS59187425A (ja) * | 1983-04-08 | 1984-10-24 | ユニ・カルダン・アクチエンゲゼルシヤフト | 頚軸の製造方法 |
| JPS63291283A (ja) * | 1987-05-22 | 1988-11-29 | Sony Corp | 記録媒体収納用カ−トリッジの製造方法 |
| JP2006344304A (ja) * | 2005-06-09 | 2006-12-21 | Tdk Corp | ディスクカートリッジ |
| JP2007062316A (ja) * | 2005-09-02 | 2007-03-15 | Teijin Chem Ltd | 厚肉光透過性樹脂板の製造方法 |
-
2007
- 2007-06-28 JP JP2007169883A patent/JP2009009643A/ja active Pending
Patent Citations (4)
| Publication number | Priority date | Publication date | Assignee | Title |
|---|---|---|---|---|
| JPS59187425A (ja) * | 1983-04-08 | 1984-10-24 | ユニ・カルダン・アクチエンゲゼルシヤフト | 頚軸の製造方法 |
| JPS63291283A (ja) * | 1987-05-22 | 1988-11-29 | Sony Corp | 記録媒体収納用カ−トリッジの製造方法 |
| JP2006344304A (ja) * | 2005-06-09 | 2006-12-21 | Tdk Corp | ディスクカートリッジ |
| JP2007062316A (ja) * | 2005-09-02 | 2007-03-15 | Teijin Chem Ltd | 厚肉光透過性樹脂板の製造方法 |
Cited By (2)
| Publication number | Priority date | Publication date | Assignee | Title |
|---|---|---|---|---|
| CN107297441A (zh) * | 2017-07-04 | 2017-10-27 | 西安飞机工业(集团)有限责任公司 | 一种封闭盒形钣金件的成形模具及成形方法 |
| CN107297441B (zh) * | 2017-07-04 | 2023-04-14 | 西安飞机工业(集团)有限责任公司 | 一种封闭盒形钣金件的成形模具及成形方法 |
Similar Documents
| Publication | Publication Date | Title |
|---|---|---|
| US8179619B2 (en) | Resin lens and method of molding resin lens | |
| JP2009009643A (ja) | シャッタ、ディスクカートリッジ、成形金型およびシャッタ成形方法 | |
| JP2614590B2 (ja) | ディスク・カートリッジおよびその製造方法 | |
| JP4202965B2 (ja) | ディスクカートリッジ | |
| US6964059B2 (en) | Disc cartridge having annular shaped mating projections | |
| JP3908254B2 (ja) | ディスクカートリッジ | |
| JP2006344267A (ja) | カートリッジケースおよび情報記録媒体 | |
| JP4767926B2 (ja) | リール | |
| JP4800103B2 (ja) | リール | |
| JP4534867B2 (ja) | ディスクカートリッジ | |
| JP2009054200A (ja) | 非接触レンズクリーナ付き光ディスク | |
| JP2008049617A (ja) | テープリール製造方法、中間体および射出成形用金型 | |
| JP2007018626A (ja) | カートリッジケースおよびディスクカートリッジ | |
| TW200903483A (en) | Optical disk and molding die apparatus | |
| JP2007035137A (ja) | カートリッジケースおよびディスクカートリッジ | |
| JPH0939043A (ja) | 射出成形用金型 | |
| JP4795192B2 (ja) | リール | |
| JP4424227B2 (ja) | カートリッジ | |
| JP2006323970A (ja) | ディスクカートリッジ | |
| JP2006323972A (ja) | ディスクカートリッジ | |
| JPH07192427A (ja) | 面状記憶媒体収納用シェル | |
| JP2001180778A (ja) | ディスク類収納ケースおよびその製造方法 | |
| JP2007048357A (ja) | チャッキングプレート押さえ、カートリッジケースおよびディスクカートリッジ | |
| JP2007265501A (ja) | ディスクカートリッジ | |
| JP2005209257A (ja) | ディスクカートリッジ及びカートリッジシェルの射出成形方法 |
Legal Events
| Date | Code | Title | Description |
|---|---|---|---|
| A621 | Written request for application examination |
Effective date: 20100422 Free format text: JAPANESE INTERMEDIATE CODE: A621 |
|
| A977 | Report on retrieval |
Free format text: JAPANESE INTERMEDIATE CODE: A971007 Effective date: 20110530 |
|
| A131 | Notification of reasons for refusal |
Free format text: JAPANESE INTERMEDIATE CODE: A131 Effective date: 20110628 |
|
| A02 | Decision of refusal |
Free format text: JAPANESE INTERMEDIATE CODE: A02 Effective date: 20111025 |