JP2009006809A - Section insulator - Google Patents

Section insulator Download PDF

Info

Publication number
JP2009006809A
JP2009006809A JP2007169124A JP2007169124A JP2009006809A JP 2009006809 A JP2009006809 A JP 2009006809A JP 2007169124 A JP2007169124 A JP 2007169124A JP 2007169124 A JP2007169124 A JP 2007169124A JP 2009006809 A JP2009006809 A JP 2009006809A
Authority
JP
Japan
Prior art keywords
support arm
slider
long slider
insulator
trolley
Prior art date
Legal status (The legal status is an assumption and is not a legal conclusion. Google has not performed a legal analysis and makes no representation as to the accuracy of the status listed.)
Granted
Application number
JP2007169124A
Other languages
Japanese (ja)
Other versions
JP4861259B2 (en
Inventor
Atsushi Sugawara
淳 菅原
Current Assignee (The listed assignees may be inaccurate. Google has not performed a legal analysis and makes no representation or warranty as to the accuracy of the list.)
Railway Technical Research Institute
Original Assignee
Railway Technical Research Institute
Priority date (The priority date is an assumption and is not a legal conclusion. Google has not performed a legal analysis and makes no representation as to the accuracy of the date listed.)
Filing date
Publication date
Application filed by Railway Technical Research Institute filed Critical Railway Technical Research Institute
Priority to JP2007169124A priority Critical patent/JP4861259B2/en
Publication of JP2009006809A publication Critical patent/JP2009006809A/en
Application granted granted Critical
Publication of JP4861259B2 publication Critical patent/JP4861259B2/en
Expired - Fee Related legal-status Critical Current
Anticipated expiration legal-status Critical

Links

Images

Landscapes

  • Insulators (AREA)

Abstract

【課題】 架設時に一度スライダの高さ調整を行えば、その後はほとんど調整が不要となるセクションインシュレータを提供する。
【解決手段】セクションインシュレータ1は、一対のヨーク2,3と、トロリ線T1,T2に沿う長スライダ8,17と、ヨーク2,3から延出する支持アーム16,24と、支持アーム16,24に長スライダ17,8を吊支する支持碍子15,23とを具備する。ヨーク2,3は、碍子4,5を介して構造物に吊支され、これに吊架線M1,M2とトロリ線T1,T2の端部が係止される。スライダ8,17は、トロリ線T1,T2の端部に結合され、先端側がトロリ線T1,T2の右又は左側方へ水平に屈曲してトロリ線T2,T1の先端を所定距離過ぎる位置まで延出する。支持アーム16,24は、ヨーク2,3から右又は左側方へ延出してスライダ17,8の上方に至り、支持碍子15,23を介してスライダ17,8を吊支する。
【選択図】図1
PROBLEM TO BE SOLVED: To provide a section insulator in which once the height of a slider is adjusted at the time of erection, the adjustment is almost unnecessary thereafter.
A section insulator (1) includes a pair of yokes (2), (3), long sliders (8, 17) along trolley wires (T1, T2), support arms (16, 24) extending from the yokes (2, 3), 24 includes support levers 15 and 23 for supporting the long sliders 17 and 8. The yokes 2 and 3 are suspended from the structure via the insulators 4 and 5, and the ends of the suspension lines M1 and M2 and the trolley lines T1 and T2 are locked thereto. The sliders 8 and 17 are coupled to the ends of the trolley wires T1 and T2, and the tip side is bent horizontally toward the right or left side of the trolley wires T1 and T2 to extend the tips of the trolley wires T2 and T1 to a position that exceeds a predetermined distance. Put out. The support arms 16 and 24 extend to the right or left side from the yokes 2 and 3 and reach the upper side of the sliders 17 and 8, and support the sliders 17 and 8 via the support levers 15 and 23.
[Selection] Figure 1

Description

この発明は、交流電化区間の電車線において、電源位相が同じでありながら互いに電気的に絶縁される2つの区間を接続する同相セクションインシュレータに関する。   The present invention relates to a common-phase section insulator that connects two sections that are electrically insulated from each other while having the same power supply phase in a train line in an AC electrification section.

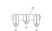
従来の同相セクションインシュレータの一例を図7ないし図9に示す(特許文献1参照)。図7は側面図、図8は平面図、図9は一部の正面図である。交流電化区間の電車線において、必要に応じて部分的に停電させたい区間Aと、他の区間Bとの境界に、両区間を絶縁して接続するためのセクションインシュレータ31が設置される。このセクションインシュレータ31は、絶縁する両区間A,Bの電源位相が同相であることから、同相セクションインシュレータと称される。図示の同相セクションインシュレータ31は、方向性があり、電車は図7,8において右から左(右側を入口側、左側を出口側という。)へと進行する。
平行2個のヨーク33が碍子34を介して図示しない構造物に垂直に吊られ、水平2個の碍子35で連結される。両ヨークの上端は吊架線M1,M2に接続され、下端には、それぞれ入口側、出口側のトロリ線T1,T2の先端が巻き込んで係止される。セクションインシュレータ31には、パンタグラフを円滑に摺動させ、かつパンタグラフへの給電を途切れさせないために、入口側、出口側の双方に、それぞれトロリ線T1,T2に沿うように金属製のスライダ36,37が取り付けられる。スライダ36,37は、それぞれの端部が上方に弓形に反っている。トロリ線T1に沿う入口側スライダ36は、図8に示すように、一対が電車線の延線直交方向である左右にV字状にほぼ水平に広がった形状であり、基端側は、セパレータ38で両者間の中央にある入口側トロリ線T1と間隔を置いて一体に結合され、先端側はスライダ支持アーム39でトロリ線T1の先端部に支持される。スライダ支持アーム39は、一端がトロリ線T1に接続され、左右両側方へ水平に拡開し、他端がスライダ36に接続される。一方、トロリ線T2に沿う出口側スライダ37は、トロリ線T2の左右両側に小間隔を置いて、トロリ線T2の摺動面より若干その摺動面が低くなるよう配置され(図9)、スライダ結合イヤ32でトロリ線T2と結合される。入口側スライダ36は、パンタグラフの通過時に若干押し上げられるので、パンタグラフが出口側スライダ37の先端部分に衝突しないように、出口側スライダ37に対して若干低く(高低差20mm〜40mm)配置されるよう高さ調整される。
特開2004−284434号公報
An example of a conventional in-phase section insulator is shown in FIGS. 7 to 9 (see Patent Document 1). 7 is a side view, FIG. 8 is a plan view, and FIG. 9 is a partial front view. In the train line of the AC electrified section, a section insulator 31 for insulating and connecting the two sections is installed at the boundary between the section A and the other section B which are to be partially interrupted as necessary. This section insulator 31 is called an in-phase section insulator because the power supply phases of both sections A and B to be insulated are in phase. The illustrated in-phase section insulator 31 has directionality, and the train travels from right to left (the right side is referred to as the entrance side and the left side as the exit side) in FIGS.
Two parallel yokes 33 are vertically suspended from a structure (not shown) via a lever 34 and connected by two horizontal levers 35. The upper ends of both yokes are connected to the suspension lines M1 and M2, and the ends of the trolley wires T1 and T2 on the inlet side and the outlet side are respectively wound and locked on the lower ends. In the section insulator 31, in order to smoothly slide the pantograph and not interrupt the power supply to the pantograph, the metal sliders 36, 36 are provided along the trolley lines T1 and T2 on both the inlet side and the outlet side. 37 is attached. The end portions of the sliders 36 and 37 are bowed upward. As shown in FIG. 8, the entrance-side slider 36 along the trolley line T <b> 1 has a shape in which a pair extends substantially horizontally in a V shape to the left and right in the direction orthogonal to the extension of the train line. 38 is integrally connected to the inlet-side trolley wire T1 at the center between the two at a distance, and the tip end side is supported by the slider support arm 39 on the tip portion of the trolley wire T1. One end of the slider support arm 39 is connected to the trolley wire T <b> 1, horizontally expands to the left and right sides, and the other end is connected to the slider 36. On the other hand, the outlet side slider 37 along the trolley line T2 is arranged so that the sliding surface thereof is slightly lower than the sliding surface of the trolley line T2 with a small interval between the left and right sides of the trolley line T2 (FIG. 9). The slider coupling ear 32 couples with the trolley line T2. Since the entrance side slider 36 is slightly pushed up when the pantograph passes, the entrance side slider 36 is disposed slightly lower (with a height difference of 20 mm to 40 mm) with respect to the exit side slider 37 so that the pantograph does not collide with the tip end portion of the exit side slider 37. Height adjusted.
JP 2004-284434 A

上記従来のセクションインシュレータにおいては、スライダ36,37の高低差が適正に調整されていないと、パンタグラフの通過時に衝撃が発生し、構成部材やトロリ線に大応力が生じて疲労破損を引き起こすことがある。季節の推移に伴う架線の熱伸縮等により、セクションの架設状態が変化するので、スライダ36,37の摺動面の高低差にも変化が生じる。このため、定期的にスライダ36,37の高さ調整を行う必要がある。この調整作業は大きな手間をかけて慎重に行わなければならない。
したがって、この出願に係る発明は、架設時に一度スライダの高さ調整を行えば、その後はほとんど調整が不要となるセクションインシュレータを提供することを課題としている。
In the conventional section insulator, if the height difference between the sliders 36 and 37 is not properly adjusted, an impact occurs when the pantograph passes, and a large stress is generated in the constituent members and the trolley wire, causing fatigue damage. is there. Since the installation state of the section changes due to the thermal expansion and contraction of the overhead wire accompanying the seasonal change, the height difference of the sliding surfaces of the sliders 36 and 37 also changes. For this reason, it is necessary to periodically adjust the heights of the sliders 36 and 37. This adjustment work must be done carefully with great effort.
Therefore, an object of the invention according to this application is to provide a section insulator in which once the height of the slider is adjusted at the time of erection, the adjustment is almost unnecessary thereafter.

上記課題を解決するため、この出願に係る発明においては、第1および第2の一対のヨーク2,3と、第1のトロリ線T1に沿う第1の長スライダ8と、第2のトロリ線T2に沿う第2の長スライダ17と、第1のヨーク2から延出する第1の支持アーム16と、第2のヨーク3から延出する第2の支持アーム24と、第1の支持アーム16に第2の長スライダ17を吊支する支持碍子15と、第2の支持アーム24に第1の長スライダ8を吊支する支持碍子23とを具備するセクションインシュレータ1を提供する。第1および第2のヨーク2,3は、上部においてそれぞれ碍子4,5を介して構造物に吊支されると共に、それぞれ第1又は第2の電車線区間A,Bの吊架線M1,M2の端部が係止され、相互に前後に間隔を置いて平行に垂直に配置され、下端には第1又は第2のトロリ線T1,T2の端部がそれぞれ係止される。第1の長スライダ8は、第1のトロリ線T1の端部に所定距離沿うようにトロリ線T1に結合され、先端側がトロリ線T1の右又は左側方へ水平に屈曲して第2のトロリ線T2の先端を所定距離過ぎる位置まで延出する。第2の長スライダ17は、第2のトロリ線T2の端部に所定距離沿うようにトロリ線T2に結合され、先端側が第1の長スライダ8と反対の側方へ水平に屈曲して第1のトロリ線T1の先端を所定距離過ぎる位置まで延出する。第1の支持アーム16は、第1のヨーク2から右又は左側方へ延出して第2の長スライダ17の上方に至り、支持碍子15を介して第2の長スライダ17を吊支する。第2の支持アーム24は、第2のヨーク3から第1の支持アーム16と反対の側方へ延出して第1の長スライダ8の上方に至り、支持碍子24を介して第1の長スライダ8を吊支する。
なお、上記セクションインシュレータ1には、第1のヨーク2の下部から第1の支持アーム16と反対の側方へ延出して第1の長スライダ8の上方に至り、吊り金具13を介して第1の長スライダ8を吊支する第1の下部支持アーム14と、第2のヨーク3の下部から第2の支持アーム24と反対の側方へ延出して第2の長スライダ17の上方に至り、吊り金具21を介して第2の長スライダ17を吊支する第2の下部支持アーム22とをさらに具備させることができる。
また、上記セクションインシュレータ1には、第1のヨーク2と第2のヨーク3とを結合する上下2つの水平に延びる碍子6,7をさらに具備させることができる。
また、上記セクションインシュレータ1の支持碍子15,23は、磁器製碍子より軽量の合成樹脂製の碍子で構成することができる。
以上、添付図面の符号を参照して説明したが、本発明はこれに限定されるものではない。
In order to solve the above-mentioned problem, in the invention according to this application, the first and second pair of yokes 2 and 3, the first long slider 8 along the first trolley line T1, and the second trolley line The second long slider 17 along T2, the first support arm 16 extending from the first yoke 2, the second support arm 24 extending from the second yoke 3, and the first support arm A section insulator 1 is provided that includes a support lever 15 that supports a second long slider 17 on 16 and a support lever 23 that supports a first long slider 8 on a second support arm 24. The first and second yokes 2 and 3 are suspended from the structure via insulators 4 and 5 at the top, and the suspension lines M1 and M2 of the first and second train line sections A and B, respectively. The end portions of the first and second trolley wires T1 and T2 are respectively locked at the lower ends. The first long slider 8 is coupled to the trolley line T1 along a predetermined distance along the end of the first trolley line T1, and the tip side is bent horizontally toward the right or left side of the trolley line T1 to form a second trolley. The tip of the line T2 is extended to a position that exceeds a predetermined distance. The second long slider 17 is coupled to the trolley line T2 along a predetermined distance along the end of the second trolley line T2. The second long slider 17 is bent horizontally toward the side opposite to the first long slider 8 and is The tip of one trolley wire T1 is extended to a position that exceeds a predetermined distance. The first support arm 16 extends rightward or leftward from the first yoke 2 and reaches the upper side of the second long slider 17, and suspends the second long slider 17 via the support lever 15. The second support arm 24 extends from the second yoke 3 to the side opposite to the first support arm 16, reaches the upper side of the first long slider 8, and passes through the support lever 24 to the first length. The slider 8 is suspended.
The section insulator 1 extends from the lower portion of the first yoke 2 to the side opposite to the first support arm 16, reaches the upper side of the first long slider 8, and passes through the suspension fitting 13. A first lower support arm 14 that suspends one long slider 8, and extends from a lower portion of the second yoke 3 to the side opposite to the second support arm 24 and above the second long slider 17. Finally, a second lower support arm 22 for supporting the second long slider 17 via the suspension fitting 21 can be further provided.
The section insulator 1 may further include two horizontally extending insulators 6 and 7 that connect the first yoke 2 and the second yoke 3.
The support insulators 15 and 23 of the section insulator 1 can be made of a synthetic resin insulator that is lighter than a porcelain insulator.
While the present invention has been described above with reference to the accompanying drawings, the present invention is not limited to this.

この出願に係る発明のセクションインシュレータによれば、両方向からの比較的高速でのパンタグラフの円滑な通過を可能とする。また、一方の電車線区間の長スライダの先端部が、別電車線区間の長スライダの先端部と同一のヨークにより支持されることになるため、設置後に両長スライダ間に高低差が生じることがなく、設置後の高さ調整はほとんど不要となる。長スライダが、支持アームと支持碍子を介してヨークに支持されるので、従来、長スライダを同一電車線区間のトロリ線にスライダ支持アームを介して支持する方式を廃し、スライダ支持アームの大重量がトロリ線にかかってトロリ線を疲労破損させるのを防止できる。
上記セクションインシュレータに第1、第2の下部支持アームをさらに具備させれば、これに吊り金具を介して第1、第2の長スライダを吊支する構成を採用すれば、第1、第2の長スライダを、設置後に高低差を生じさせることなく、より確実に支持することができる。
上記セクションインシュレータに、第1のヨークと第2のヨークとを結合する上下2つの水平に延びる碍子をさらに具備させる構成を採用すれば、トロリ線と吊架線が相対的に延線方向に移動して架設状態が崩れた場合でも、ヨークと水平方向の碍子とが全体として平行四辺形に動いて、スライダの摺動面の高さ構成を崩れにくくすることができる。
上記セクションインシュレータの支持碍子として、磁器製碍子より軽量の合成樹脂製の碍子を採用すれば、トロリ線にかかる負担を軽減し、トロリ線に硬点を生じさせるのを防止できる。
According to the section insulator of the invention according to this application, the pantograph can be smoothly passed from both directions at a relatively high speed. In addition, since the tip of the long slider in one train line section is supported by the same yoke as the tip of the long slider in another train line section, there is a difference in height between the two sliders after installation. There is no need to adjust the height after installation. Since the long slider is supported by the yoke via the support arm and the support insulator, the conventional method of supporting the long slider on the trolley line of the same train line section via the slider support arm is abolished, and the heavy weight of the slider support arm Can prevent the trolley wire from being fatigued and damaged by the trolley wire.
If the section insulator is further provided with the first and second lower support arms, the first and second long sliders are supported by the first and second long sliders. The long slider can be supported more reliably without causing a height difference after installation.
If the section insulator is further provided with two horizontally extending insulators for connecting the first yoke and the second yoke, the trolley wire and the suspension wire move relatively in the extending direction. Even when the installation state collapses, the yoke and the horizontal insulator as a whole move in a parallelogram, and the height configuration of the sliding surface of the slider can be made difficult to collapse.
If a synthetic resin insulator that is lighter than a porcelain insulator is employed as a support insulator for the section insulator, it is possible to reduce the burden on the trolley wire and prevent the trolley wire from causing a hard spot.

図面を参照してこの発明の実施の形態を説明する。図1はセクションインシュレータの概略的斜視図、図2はセクションインシュレータの側面図、図3はセクションインシュレータの平面図、図4は図2における矢線IV方向から見たヨークによるスライダの支持部の正面図、図5は図2における矢線V方向から見たヨークによるスライダの支持部の正面図、図6は図2における矢線VI方向から見た電車線の平面図である。   Embodiments of the present invention will be described with reference to the drawings. 1 is a schematic perspective view of a section insulator, FIG. 2 is a side view of the section insulator, FIG. 3 is a plan view of the section insulator, and FIG. 4 is a front view of a support portion of the slider by the yoke viewed from the direction of arrow IV in FIG. 5 is a front view of a slider support portion by a yoke viewed from the direction of arrow V in FIG. 2, and FIG. 6 is a plan view of the train line viewed from the direction of arrow VI in FIG.

セクションインシュレータ1は、電源位相が同相の第1および第2の2つの電車線区間A,Bを電気的に絶縁しつつ、電車がスムーズに通過できるように接続する。電車は矢印に示す両方向にセクションインシュレータ1を通過する。   The section insulator 1 is connected so that the train can pass smoothly while electrically insulating the first and second train line sections A and B having the same power supply phase. The train passes through the section insulator 1 in both directions indicated by the arrows.

第1および第2の一対のヨーク2,3が上部においてそれぞれ碍子4,5を介して図示しない構造物に垂直に吊支され、相互にトロリ線T1,T2の延線方向である前後方向に間隔を置いて平行に配置される。第1のヨーク2と第2のヨーク3との間は、相互間隔を置いて水平に延びる上下一対の碍子6,7によって結合される。第1のヨーク2の上端部には、第1の電車線区間Aの吊架線M1の端部が係止され、下端部には、第1の電車線区間の第1のトロリ線T1の端部が係止される。同様に、第2のヨーク3の上端部には、第2の電車線区間Bの吊架線M2の端部が係止され、下端部には、第2の電車線区間の第2のトロリ線T2の端部が係止される。   A pair of first and second yokes 2 and 3 are vertically suspended from a structure (not shown) via insulators 4 and 5 at the top, respectively, and extend in the front-rear direction, which is the direction in which the trolley wires T1 and T2 extend. They are arranged in parallel at intervals. The first yoke 2 and the second yoke 3 are coupled to each other by a pair of upper and lower insulators 6 and 7 extending horizontally at a distance from each other. The upper end of the first yoke 2 is engaged with the end of the suspension line M1 of the first train line section A, and the lower end is the end of the first trolley line T1 of the first train line section. The part is locked. Similarly, the end of the suspension line M2 of the second train line section B is locked to the upper end of the second yoke 3, and the second trolley line of the second train line section is locked to the lower end. The end of T2 is locked.

第1の長スライダ8は、短スライダ9,10と共に、第1のトロリ線T1の端部の左右両側に所定距離にわたって沿うように、当該トロリ線T1に結合される。すなわち、長スライダ8は、短スライダ9と共に、基端側においてスライダ結合イヤ11でトロリ線T1と一体に結合され、先端側に向かってトロリ線T1から徐々に側方へ離れるように水平に屈曲し、途上においてセパレータ12でトロリ線T1から離れて結合される。長スライダ8の先端側は、第2のトロリ線T2の先端を所定距離過ぎる位置まで延び(図6)、上方へ弓なりに反り上がって終結する。長スライダ8は、途上において吊り金具13と下部支持アーム14を介して第1のヨーク2に支持され(図4)、また先端部近くにおいて支持碍子23と支持アーム24を介して第2のヨーク3に支持される(図5)。   The first long slider 8, together with the short sliders 9 and 10, is coupled to the trolley line T <b> 1 so as to extend along a predetermined distance along both the left and right sides of the end portion of the first trolley line T <b> 1. That is, the long slider 8 together with the short slider 9 is integrally coupled to the trolley wire T1 by the slider coupling ear 11 on the proximal end side, and is bent horizontally so as to gradually move away from the trolley wire T1 toward the distal end side. On the way, the separator 12 is coupled away from the trolley line T1. The distal end side of the long slider 8 extends to the position beyond a predetermined distance from the distal end of the second trolley wire T2 (FIG. 6), and ends upwardly as a bow. The long slider 8 is supported by the first yoke 2 via the hanging metal fitting 13 and the lower support arm 14 in the middle (FIG. 4), and near the distal end by the second yoke via the support lever 23 and the support arm 24. 3 (FIG. 5).

第2の長スライダ17は、短スライダ18,19と共に、第2のトロリ線T2の端部の左右両側に所定距離にわたって沿うように、当該トロリ線T2に結合される。すなわち、長スライダ17は、短スライダ18と共に、基端側においてスライダ結合イヤ25でトロリ線T2と一体に結合され、先端側に向かってトロリ線T2から徐々に長スライダ8とは反対の側方へ離れるように水平に屈曲し、途上においてセパレータ20でトロリ線T1から離れて結合される。長スライダ17の先端側は、第1のトロリ線T1の先端を所定距離過ぎる位置まで延び(図6)、上方へ弓なりに反り上がって終結する。長スライダ17は、途上において吊り金具21と下部支持アーム22を介して第2のヨーク3に支持され(図5)、また先端部近くにおいて支持碍子15と支持アーム16を介して第1のヨーク2に支持される(図4)。   The second long slider 17, together with the short sliders 18 and 19, is coupled to the trolley line T <b> 2 so as to extend along a predetermined distance along the left and right sides of the end of the second trolley line T <b> 2. That is, the long slider 17 and the short slider 18 are integrally coupled to the trolley wire T2 at the proximal end side by the slider coupling ear 25, and gradually approach the distal side from the trolley wire T2 to the side opposite to the long slider 8. It is bent horizontally so as to be separated from each other, and is separated from the trolley line T1 by the separator 20 in the middle. The distal end side of the long slider 17 extends to a position that exceeds a predetermined distance from the distal end of the first trolley wire T1 (FIG. 6), and warps upward in a bow shape and ends. The long slider 17 is supported by the second yoke 3 through the suspension fitting 21 and the lower support arm 22 in the middle (FIG. 5), and the first yoke through the support lever 15 and the support arm 16 near the tip. 2 (FIG. 4).

短スライダ10は、長スライダ8がトロリ線T1から離れる位置において、短スライダ9と共にスライダ結合イヤ11でトロリ線T1と一体に結合される。短スライダ9,10の先端は、トロリ線T1の先端付近で上方へ弓なりに反り上がって終結する。   The short slider 10 is integrally coupled to the trolley line T1 by the slider coupling ear 11 together with the short slider 9 at a position where the long slider 8 is separated from the trolley line T1. The tips of the short sliders 9 and 10 end upwardly in the form of a bow in the vicinity of the tip of the trolley wire T1.

短スライダ19は、長スライダ17がトロリ線T2から離れる位置において、短スライダ18と共にスライダ結合イヤ25でトロリ線T2と一体に結合される。短スライダ18,19の先端は、トロリ線T2の先端付近で上方へ弓なりに反り上がって終結する。   The short slider 19 is integrally coupled to the trolley line T2 by the slider coupling ear 25 together with the short slider 18 at a position where the long slider 17 is separated from the trolley line T2. The tips of the short sliders 18 and 19 end in a bowed upward direction near the tip of the trolley wire T2.

図4に示すように、下部支持アーム14は、ヨーク2の下部の左側面から直角に左側方へ長スライダ8の上方位置まで延出する。吊り金具13は、上端部において下部支持アーム14の先端部に支持され、垂直下方へ延びて下端の把持部で長スライダ8を把持する。支持アーム16は、ヨーク2の上部の右側面から右上がり斜めに側方へ長スライダ17の上方位置まで延出する。支持碍子15は、上端部において支持アーム16の先端部に支持され、垂直下方へ延びて下端の把持部で長スライダ17を把持する。   As shown in FIG. 4, the lower support arm 14 extends from the lower left side surface of the yoke 2 to the upper side of the long slider 8 in the left direction at a right angle. The suspension fitting 13 is supported at the tip of the lower support arm 14 at the upper end, extends vertically downward, and grips the long slider 8 with the grip at the lower end. The support arm 16 extends from the right side surface of the upper portion of the yoke 2 to the upper side of the long slider 17 obliquely upward and laterally. The support lever 15 is supported at the top end portion of the support arm 16 at the upper end portion, extends vertically downward, and holds the long slider 17 at the holding portion at the lower end.

図5に示すように、下部支持アーム22は、ヨーク3の下部の右側面から直角に側方へ長スライダ17上方位置まで延出する。吊り金具21は、上端部において下部支持アーム22の先端部に支持され、垂直下方へ延びて下端の把持部で長スライダ17を把持する。支持アーム24は、ヨーク3の上部の左側面から左上がり斜めに側方へ長スライダ8の上方位置まで延出する。支持碍子23は、上端部において支持アーム24の先端部に支持され、垂直下方へ延びて下端の把持部で長スライダ8を把持する。   As shown in FIG. 5, the lower support arm 22 extends from the right side surface of the lower portion of the yoke 3 at a right angle to the upper position of the long slider 17. The suspension fitting 21 is supported at the tip of the lower support arm 22 at the upper end, extends vertically downward, and grips the long slider 17 with the grip at the lower end. The support arm 24 extends from the left side surface of the upper part of the yoke 3 to the upper position of the long slider 8 obliquely upward and to the left. The support insulator 23 is supported at the top end of the support arm 24 at the upper end, extends vertically downward, and grips the long slider 8 at the grip at the lower end.

支持碍子15,23としては、磁器製碍子より軽量の合成樹脂製の碍子を用いることが望ましい。それにより、支持部材を小型軽量化でき、また電車線に対する負荷を最小限にとどめることができる。   As the support insulators 15 and 23, it is desirable to use insulators made of synthetic resin that are lighter than porcelain insulators. As a result, the support member can be reduced in size and weight, and the load on the train line can be minimized.

この実施形態のセクションインシュレータ1によれば、電車線区間A(B)の長スライダ8(17)の先端部が、別の電車線区間B(A)の長スライダ17(8)の先端部と同一のヨーク3(2)により支持されることになるため、設置後に両長スライダ8,17間に高低差が生じることがなく、設置後の高さ調整はほとんど不要となる。長スライダ8,17が、支持アーム16,24と支持碍子15,23を介してヨーク2,3に支持されるので、従来のスライダ支持アームの大重量がトロリ線にかかってトロリ線を疲労破損させるのを防止できる。ヨーク2,3間を結合する上下2つの水平の碍子6,7により、トロリ線T1,T2と吊架線M1,M2が相対的に延線方向に移動して架設状態が崩れた場合でも、ヨーク2,3と水平方向の碍子6,7とが全体として平行四辺形に動いて、スライダ8,17の摺動面の高さ構成を崩れにくくすることができる   According to the section insulator 1 of this embodiment, the tip of the long slider 8 (17) in the train line section A (B) is connected to the tip of the long slider 17 (8) in another train line section B (A). Since it is supported by the same yoke 3 (2), there is no difference in height between the long sliders 8 and 17 after installation, and almost no height adjustment after installation is required. Since the long sliders 8 and 17 are supported by the yokes 2 and 3 via the support arms 16 and 24 and the support insulators 15 and 23, the heavy weight of the conventional slider support arm is applied to the trolley wire, and the trolley wire is damaged due to fatigue. Can be prevented. Even when the trolley wires T1 and T2 and the suspension wires M1 and M2 move relatively in the extending direction due to the two upper and lower horizontal insulators 6 and 7 connecting the yokes 2 and 3, the yoke is not damaged. 2 and 3 and the horizontal insulators 6 and 7 can move in a parallelogram as a whole, and the height configuration of the sliding surfaces of the sliders 8 and 17 can be made difficult to break.

本発明に係るセクションインシュレータの概略的斜視図であるIt is a schematic perspective view of the section insulator concerning the present invention. 本発明に係るセクションインシュレータの側面図である。It is a side view of a section insulator concerning the present invention. 図2のセクションインシュレータの平面図である。It is a top view of the section insulator of FIG. 図2における矢線IV方向から見たヨークによるスライダの支持部の正面図である。It is a front view of the support part of the slider by the yoke seen from the arrow line IV direction in FIG. 図2における矢線V方向から見たヨークによるスライダの支持部の正面図である。It is a front view of the support part of the slider by the yoke seen from the arrow V direction in FIG. 図2における矢線VI方向から見た電車線の平面図である。It is a top view of the train line seen from the arrow line VI direction in FIG. 従来のセクションインシュレータの一例を示す側面図である。It is a side view which shows an example of the conventional section insulator. 図7のセクションインシュレータの平面図である。It is a top view of the section insulator of FIG. 図7のセクションインシュレータの一部の正面図である。FIG. 8 is a front view of a part of the section insulator of FIG. 7.

符号の説明Explanation of symbols

1 セクションインシュレータ
2 第1のヨーク
3 第2のヨーク
4 碍子
5 碍子
6 碍子
7 碍子
8 第1の長スライダ
9 短スライダ
10 短スライダ
11 スライダ結合イヤ
12 セパレータ
13 吊り金具
14 下部支持アーム
15 支持碍子
16 支持アーム
17 第2の長スライダ
18 短スライダ
19 短スライダ
20 セパレータ
21 吊り金具
22 下部支持アーム
23 支持碍子
24 支持アーム
25 スライダ結合イヤ
A 第1の電車線区間
B 第2の電車線区間
M1 第1の吊架線
M2 第2の吊架線
T1 第1のトロリ線
T2 第2のトロリ線
DESCRIPTION OF SYMBOLS 1 Section insulator 2 1st yoke 3 2nd yoke 4 Insulator 5 Insulator 6 Insulator 7 Insulator 8 First long slider 9 Short slider 10 Short slider 11 Slider coupling ear 12 Separator 13 Hanging bracket 14 Lower support arm 15 Support insulator 16 Support arm 17 Second long slider 18 Short slider 19 Short slider 20 Separator 21 Hanging bracket 22 Lower support arm 23 Support insulator 24 Support arm 25 Slider coupling ear A First train line section B Second train line section M1 First Suspension line M2 Second suspension line T1 First trolley line T2 Second trolley line

Claims (4)

電源位相が同相の第1および第2の2つの電車線区間を電気的に絶縁して接続するセクションインシュレータであって、
上部においてそれぞれ碍子を介して構造物に吊支されると共に、それぞれ前記第1又は第2の電車線区間の吊架線の端部が係止され、相互にトロリ線の延線方向である前後に間隔を置いて平行に垂直に配置され、下端には第1又は第2の電車線区間のトロリ線の端部がそれぞれ係止された第1および第2の一対のヨークと、
前記第1の電車線区間の第1のトロリ線の端部に所定距離沿うように当該トロリ線に結合され、先端側がトロリ線の延線直交方向である右又は左側方へ水平に屈曲して前記第2の電車線区間の第2のトロリ線の先端を所定距離過ぎる位置まで延出する第1の長スライダと、
前記第2の電車線区間の第2のトロリ線の端部に所定距離沿うように当該トロリ線に結合され、先端側が前記第1の長スライダと反対の側方へ水平に屈曲して前記第1のトロリ線の先端を所定距離過ぎる位置まで延出する第2の長スライダと、
前記第1のヨークから右又は左側方へ延出して前記第2の長スライダの上方に至る第1の支持アームと、
この第1の支持アームと前記第2の長スライダとの間に介設され、第1の支持アームに第2の長スライダを吊支する支持碍子と、
前記第2のヨークから前記第1の支持アームと反対の側方へ延出して前記第1の長スライダの上方に至る第2の支持アームと、
この第2の支持アームと前記第1の長スライダとの間に介設され、第2の支持アームに第1の長スライダを吊支する支持碍子と、を具備することを特徴とするセクションインシュレータ。
A section insulator for electrically insulating and connecting two first and second train line sections having the same power phase.
Before and after being suspended in the structure via insulators at the upper part, the ends of the suspension lines of the first or second train line sections are respectively locked, and are mutually extending in the direction of the trolley line A pair of first and second yokes arranged in parallel and vertically at intervals, with the ends of the trolley wires of the first or second train line section being respectively locked at the lower ends;
The first trolley line of the first train line section is coupled to the trolley line so as to follow a predetermined distance, and the tip side is bent horizontally toward the right or left side which is the direction perpendicular to the extension of the trolley line. A first long slider that extends a tip of a second trolley line of the second train line section to a position that is a predetermined distance;
The second trolley line of the second train line section is coupled to the trolley line so as to follow a predetermined distance, and the tip side is bent horizontally to the side opposite to the first long slider, and A second long slider that extends the tip of one trolley wire to a position that exceeds a predetermined distance;
A first support arm extending from the first yoke to the right or left and extending above the second long slider;
A support insulator interposed between the first support arm and the second long slider, and supporting the second long slider on the first support arm;
A second support arm extending from the second yoke to a side opposite to the first support arm and extending above the first long slider;
A section insulator provided between the second support arm and the first long slider, and a support insulator for supporting the first long slider on the second support arm. .
前記第1のヨークの下部から前記第1の支持アームと反対の側方へ延出して前記第1の長スライダの上方に至る第1の下部支持アームと、
この第1の下部支持アームと前記第1の長スライダとの間に介設され、第1の下部支持アームに第1の長スライダを吊支する吊り金具と、
前記第2のヨークの下部から前記第2の支持アームと反対の側方へ延出して前記第2の長スライダの上方に至る第2の下部支持アームと、
この第2の下部支持アームと前記第2の長スライダとの間に介設され、第2の下部支持アームに第2の長スライダを吊支する吊り金具と、をさらに具備することを特徴とする請求項1に記載のセクションインシュレータ。
A first lower support arm extending from a lower portion of the first yoke to a side opposite to the first support arm and extending above the first long slider;
A suspension fitting interposed between the first lower support arm and the first long slider, and hanging the first long slider on the first lower support arm;
A second lower support arm extending from a lower portion of the second yoke to a side opposite to the second support arm and extending above the second long slider;
A suspension fitting that is interposed between the second lower support arm and the second long slider and suspends the second long slider on the second lower support arm. The section insulator according to claim 1.
前記第1のヨークと第2のヨークとが、上下2つの水平に延びる碍子で結合されることを特徴とする請求項1又は2に記載のセクションインシュレータ。   3. The section insulator according to claim 1, wherein the first yoke and the second yoke are connected by two horizontally extending insulators. 前記支持碍子が、磁器製碍子より軽量の合成樹脂製の碍子であることを特徴とする請求項1ないし3のいずれかに記載のセクションインシュレータ。   The section insulator according to any one of claims 1 to 3, wherein the supporting insulator is an insulator made of a synthetic resin that is lighter than a porcelain insulator.
JP2007169124A 2007-06-27 2007-06-27 Section insulator Expired - Fee Related JP4861259B2 (en)

Priority Applications (1)

Application Number Priority Date Filing Date Title
JP2007169124A JP4861259B2 (en) 2007-06-27 2007-06-27 Section insulator

Applications Claiming Priority (1)

Application Number Priority Date Filing Date Title
JP2007169124A JP4861259B2 (en) 2007-06-27 2007-06-27 Section insulator

Publications (2)

Publication Number Publication Date
JP2009006809A true JP2009006809A (en) 2009-01-15
JP4861259B2 JP4861259B2 (en) 2012-01-25

Family

ID=40322359

Family Applications (1)

Application Number Title Priority Date Filing Date
JP2007169124A Expired - Fee Related JP4861259B2 (en) 2007-06-27 2007-06-27 Section insulator

Country Status (1)

Country Link
JP (1) JP4861259B2 (en)

Cited By (4)

* Cited by examiner, † Cited by third party
Publication number Priority date Publication date Assignee Title
JP2013023134A (en) * 2011-07-25 2013-02-04 Sumitomo Electric Ind Ltd Electric car track section part
CN103386896A (en) * 2013-08-06 2013-11-13 南车株洲电力机车有限公司 Power supplying track system and current receiving system
KR101415134B1 (en) 2013-02-04 2014-07-04 서울메트로 Section insulator for dc same phase
CN106945571A (en) * 2017-04-28 2017-07-14 西安铁路局科学技术研究所 A kind of insulator cross Main Insulation Structure of Electric

Citations (3)

* Cited by examiner, † Cited by third party
Publication number Priority date Publication date Assignee Title
JPH0542845A (en) * 1991-08-12 1993-02-23 East Japan Railway Co Insulator type sorting device for catenary overhead line
JPH10230761A (en) * 1997-02-21 1998-09-02 East Japan Railway Co Section insulator
JP2004314914A (en) * 2003-04-21 2004-11-11 Central Japan Railway Co Section insulator

Patent Citations (3)

* Cited by examiner, † Cited by third party
Publication number Priority date Publication date Assignee Title
JPH0542845A (en) * 1991-08-12 1993-02-23 East Japan Railway Co Insulator type sorting device for catenary overhead line
JPH10230761A (en) * 1997-02-21 1998-09-02 East Japan Railway Co Section insulator
JP2004314914A (en) * 2003-04-21 2004-11-11 Central Japan Railway Co Section insulator

Cited By (5)

* Cited by examiner, † Cited by third party
Publication number Priority date Publication date Assignee Title
JP2013023134A (en) * 2011-07-25 2013-02-04 Sumitomo Electric Ind Ltd Electric car track section part
KR101415134B1 (en) 2013-02-04 2014-07-04 서울메트로 Section insulator for dc same phase
CN103386896A (en) * 2013-08-06 2013-11-13 南车株洲电力机车有限公司 Power supplying track system and current receiving system
CN106945571A (en) * 2017-04-28 2017-07-14 西安铁路局科学技术研究所 A kind of insulator cross Main Insulation Structure of Electric
CN106945571B (en) * 2017-04-28 2024-04-16 西安铁路局科学技术研究所 Cross-shaped main insulation structure for insulator

Also Published As

Publication number Publication date
JP4861259B2 (en) 2012-01-25

Similar Documents

Publication Publication Date Title
JP6358455B2 (en) Cantilevers for supporting the live lines of railway tracks, trolley tracks and subway tracks
JP4861259B2 (en) Section insulator
JP5833949B2 (en) Trolley wire overlap structure
KR20200095553A (en) Electrical insulator in overhead conductor rail
JP3769266B2 (en) Section insulator
JP4514345B2 (en) Section insulator
JP3640298B2 (en) Train line support device
JP5379429B2 (en) Heat radiation train line device
JP2009173145A (en) Heat radiation train line device
JP4798716B2 (en) Trolley wire drawing device
KR20160092200A (en) Arm suppot fitting and pull-off fitting for tunnel bracket
KR100503025B1 (en) Jumper cable clamp apparatus for tower of overhead transmission line
JP6372037B2 (en) Trolley wire support structure
JP3657728B2 (en) Section insulator
KR100733976B1 (en) Tunnel wire bracket and tunnel wire system using same
EP3766729A1 (en) Cantilever for multi-pantograph high-speed overhead contact line
JP2549021B2 (en) A method of suspending a train line under a low overhead facility structure.
JP3878947B2 (en) Cross wire device
JP4067458B2 (en) Rigid train line device for tunnel
US816467A (en) System of trolley-wire suspension.
JP4052533B2 (en) Hunger ear device for narrow space
US393317A (en) Arched suspender for overhead electric conductors
JP6901287B2 (en) Train line curve drawing device
US768606A (en) Suspension of trolley-wires.
RU2706129C1 (en) Sectional insulator with connecting terminals on ends thereof and method for installation thereof on contact network

Legal Events

Date Code Title Description
A621 Written request for application examination

Free format text: JAPANESE INTERMEDIATE CODE: A621

Effective date: 20090818

A131 Notification of reasons for refusal

Free format text: JAPANESE INTERMEDIATE CODE: A131

Effective date: 20110601

A521 Written amendment

Free format text: JAPANESE INTERMEDIATE CODE: A523

Effective date: 20110721

TRDD Decision of grant or rejection written
A01 Written decision to grant a patent or to grant a registration (utility model)

Free format text: JAPANESE INTERMEDIATE CODE: A01

Effective date: 20111007

A01 Written decision to grant a patent or to grant a registration (utility model)

Free format text: JAPANESE INTERMEDIATE CODE: A01

A61 First payment of annual fees (during grant procedure)

Free format text: JAPANESE INTERMEDIATE CODE: A61

Effective date: 20111104

R150 Certificate of patent (=grant) or registration of utility model

Free format text: JAPANESE INTERMEDIATE CODE: R150

FPAY Renewal fee payment (prs date is renewal date of database)

Free format text: PAYMENT UNTIL: 20141111

Year of fee payment: 3

LAPS Cancellation because of no payment of annual fees