JP2009001138A - インストルメントパネル - Google Patents

インストルメントパネル Download PDF

Info

Publication number
JP2009001138A
JP2009001138A JP2007163553A JP2007163553A JP2009001138A JP 2009001138 A JP2009001138 A JP 2009001138A JP 2007163553 A JP2007163553 A JP 2007163553A JP 2007163553 A JP2007163553 A JP 2007163553A JP 2009001138 A JP2009001138 A JP 2009001138A
Authority
JP
Japan
Prior art keywords
tray
instrument panel
light source
light
opening
Prior art date
Legal status (The legal status is an assumption and is not a legal conclusion. Google has not performed a legal analysis and makes no representation as to the accuracy of the status listed.)
Granted
Application number
JP2007163553A
Other languages
English (en)
Other versions
JP4962858B2 (ja
Inventor
Mitsuru Sudo
充 須藤
Keiichi Shoda
圭一 正田
Toshiyuki Yamada
利幸 山田
Current Assignee (The listed assignees may be inaccurate. Google has not performed a legal analysis and makes no representation or warranty as to the accuracy of the list.)
Suzuki Motor Corp
Original Assignee
Suzuki Motor Corp
Priority date (The priority date is an assumption and is not a legal conclusion. Google has not performed a legal analysis and makes no representation as to the accuracy of the date listed.)
Filing date
Publication date
Application filed by Suzuki Motor Corp filed Critical Suzuki Motor Corp
Priority to JP2007163553A priority Critical patent/JP4962858B2/ja
Priority to DE102008001462A priority patent/DE102008001462B4/de
Priority to US12/139,019 priority patent/US20090146446A1/en
Priority to US12/139,052 priority patent/US7597377B2/en
Publication of JP2009001138A publication Critical patent/JP2009001138A/ja
Application granted granted Critical
Publication of JP4962858B2 publication Critical patent/JP4962858B2/ja
Expired - Fee Related legal-status Critical Current
Anticipated expiration legal-status Critical

Links

Images

Classifications

    • BPERFORMING OPERATIONS; TRANSPORTING
    • B60VEHICLES IN GENERAL
    • B60QARRANGEMENT OF SIGNALLING OR LIGHTING DEVICES, THE MOUNTING OR SUPPORTING THEREOF OR CIRCUITS THEREFOR, FOR VEHICLES IN GENERAL
    • B60Q3/00Arrangement of lighting devices for vehicle interiors; Lighting devices specially adapted for vehicle interiors
    • B60Q3/10Arrangement of lighting devices for vehicle interiors; Lighting devices specially adapted for vehicle interiors for dashboards
    • B60Q3/12Arrangement of lighting devices for vehicle interiors; Lighting devices specially adapted for vehicle interiors for dashboards lighting onto the surface to be illuminated
    • BPERFORMING OPERATIONS; TRANSPORTING
    • B60VEHICLES IN GENERAL
    • B60QARRANGEMENT OF SIGNALLING OR LIGHTING DEVICES, THE MOUNTING OR SUPPORTING THEREOF OR CIRCUITS THEREFOR, FOR VEHICLES IN GENERAL
    • B60Q3/00Arrangement of lighting devices for vehicle interiors; Lighting devices specially adapted for vehicle interiors
    • B60Q3/20Arrangement of lighting devices for vehicle interiors; Lighting devices specially adapted for vehicle interiors for lighting specific fittings of passenger or driving compartments; mounted on specific fittings of passenger or driving compartments
    • B60Q3/225Small compartments, e.g. glove compartments

Landscapes

  • Engineering & Computer Science (AREA)
  • Mechanical Engineering (AREA)
  • Instrument Panels (AREA)
  • Vehicle Step Arrangements And Article Storage (AREA)

Abstract

【課題】光源を特別に設けることなく、収納部の内部を均一に明るくすることが可能なインストルメントパネルを提供する。
【解決手段】車両を制御するための操作パネル3を有する操作部2を備え、操作部2に操作パネル3を光で照らすための光源6を備え、操作部2に隣接して配置された収納部4を備えているインストルメントパネルにおいて、操作部2と収納部4との間に開口部7を設け、開口部7と収納部4との間に壁面としてトレー8を設け、開口部7を介して透過される光源6の光を透過可能にする材料でトレー8を形成していることを特徴とするインストルメントパネル。
【選択図】 図2

Description

本発明は、操作部に隣接した収納部を備えるインストルメントパネルに関し、更に詳しくは、特別に光源を設けることなく、前記収納部内を光で照らすことが可能なインストルメントパネルに関する。
車両のインストルメントパネルには、車両の機器を制御可能にする各種操作部が設置され、多くの場合、乗員が操作部に設けられた操作パネルに触れて車両の機器を制御することとなる。このような操作部を有する機器としては、空調ユニット、オーディオ装置などが挙げられる。また、インストルメントパネルに、小物などを収納するための収納部が設置されているものがある。操作部および収納部にはそれぞれ光源が設けられており、夜間など暗がりで乗員が視認し易いように、それぞれの光源により操作パネルおよび収納部の内部を照らす機能を有している。
特に収納部に関しては、乗員が収納部の内部に入れた小物などを確実に確認できるように、収納部の内部を均一に光で照らすることが求められる。このような要求に対応したインストルメントパネルは特許文献1に開示されている。特許文献1のインストルメントパネルでは、収納部に開閉可能な蓋として構成されたパネル部が設けられ、パネル部の開閉に連動して移動する光源が設けられている。従って、パネル部の閉状態でパネル部自体が光源により照らされ、かつパネル部の開状態で収納部の内部が光源により照らされることとなる。
また、操作部および収納部を共に効率良く照明するために、同一の光源により操作部および収納部を照明することが行われており、このようなインストルメントパネルは特許文献2に開示されている。特許文献2のインストルメントパネルでは、オーディオ装置が装備され、このオーディオ装置のパネルがフィニッシャにより覆われており、このフィニッシャは、単一の光源より発せられた光を、オーディオの操作パネルの採光部を経由させ、収納部に配置された採光部まで伝達させるように構成されている。従って、操作パネルおよび収納部の両方が、それぞれの採光部から発せられる光により照らされることとなる。
特開2005−297765号公報 実公平1−22758号公報
しかしながら、特許文献1のインストルメントパネルでは、光源が収納部専用として設けられており、操作パネルを照明するためには、別途光源が必要である。そのため、部品点数が増加し、部品組立の工数が増加し、部品管理が難しくなり、これに伴いコストが増加することとなる。また、複数の光源を設けるためにはさらにスペースが必要となり、光源の配置スペースが増えることに伴って収納部の収納スペースが減少することとなる。
また、特許文献2のインストルメントパネルでは、単一の光源を伝達するためのフィニッシャが複雑な形状となっている。そのため、フィニッシャの作製が難易化し、フィニッシャを作製するためのコストが増加することとなる。また、収納部の内部は採光部の光により照らされるが、採光部の周縁部分は採光部の光によって照らされ難く、収納部の内部が均一な明るさになり難くなっている。
そこで、本発明の課題は、特別な光源を設けることなく、収納部の内部を均一に明るくすることが可能なインストルメントパネルを提供することにある。
課題を解決するために本発明のインストルメントパネルは以下の特徴を有する。車両を制御するための操作パネルを有する操作部を備え、該操作部に前記操作パネルを光で照らすための光源を備え、前記操作部に隣接して配置された収納部を備えているインストルメントパネルにおいて、前記操作部と前記収納部との間に開口部を設け、該開口部と前記収納部との間に壁面としてトレーを設け、前記開口部を介して透過される前記光源の光を透過可能にする材料で前記トレーを形成している。
また、本発明のインストルメントパネルでは、前記トレーの板厚が部分的に変化して形成されていてもよい。
さらに、本発明のインストルメントパネルでは、前記収納部が車両後方側に開口端部を有する空間として形成され、前記光源および前記開口部が前記収納部の下方に配置され、前記トレーが前記空間の下側に配置され、前記開口端部の上側部分が前記トレーの形成する前記開口端部の下側部分より車両後方側に延出して形成されていてもよい。
さらに、本発明のインストルメントパネルでは、前記トレーが前記インストルメントパネルの本体と別部品として構成されていてもよい。
本発明によれば、以下の効果を得ることができる。本発明のインストルメントパネルは、車両を制御するための操作パネルを有する操作部を備え、該操作部に前記操作パネルを光で照らすための光源を備え、前記操作部に隣接して配置された収納部を備えているインストルメントパネルにおいて、前記操作部と前記収納部との間に開口部を設け、該開口部と前記収納部との間に壁面としてトレーを設け、前記開口部を介して透過される前記光源の光を透過可能にする材料で前記トレーを形成していることを特徴としている。そのため、複雑な構造の部品を用いずに、前記操作部および前記収納部の両方を同一の前記光源の光により照らすことが可能となる。その結果、部品の作製が容易になり、部品点数が減少し、部品組立の工数が減少し、部品管理が容易になり、これに伴いコストダウンが可能となる。
本発明のインストルメントパネルでは、前記トレーの板厚が部分的に変化して形成されていてもよく、板厚の変化に対応して前記光源の光の透過量を変化させることが可能となる。従って、必要に応じて前記収納部の部分ごとの明るさを調整することが可能である。
本発明のインストルメントパネルでは、前記収納部が車両後方側に開口端部を有する空間として形成され、前記光源および前記開口部が前記収納部の下方に配置され、前記トレーが前記空間の下側に配置され、前記開口端部の上側部分が前記トレーの形成する前記開口端部の下側部分より車両後方側に延出して形成されていてもよく、前記収納部が前記操作部の上側に配置されることによって、下方から上方に向かう前記光源の光がインストルメントパネルの上側に配置されるフロントガラスに映し出される弊害を防止しながら、上述した効果を得ることが可能となる。
本発明のインストルメントパネルでは、前記トレーが前記インストルメントパネルの本体と別部品として構成されていてもよく、前記トレーを透過性の材料で作製し、かつインストルメントパネルの本体を別の材料で作製することが可能となる。
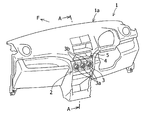
図1は、本発明の第一実施形態におけるインストルメントパネル1の全体を示しており、車両前側方向をFとする。本発明の第一実施形態では、図1より、インストルメントパネル1は本体1aを備え、インストルメントパネル1の車幅方向の中央部には、空調を制御するための空調ユニットの操作部2が設けられている。操作部2の車両後方側には、操作パネル3が配置されている。この操作パネル3は、一般にヒーターコントロールパネルと呼ばれるものであり、インストルメントパネル1の表面の一部として構成され、操作パネル3にはダイヤル3aなどの操作用部材が設けられている。ダイヤル3aの周囲を囲むように、光を透過可能な材料で作製された表示部3bが設けられている。
また、インストルメントパネル1の操作部2の上側に隣接して、収納部4が設けられている。収納部4は略直方体の空間を有するように形成され、収納部4の車両後方側には開口端部5が設けられている。
図2は図1のA−A断面図であり、車両前側方向をFとする。図2より、操作部2の内部には光源6が配設されており、より具体的には、光源6は、操作パネル3から車両前後方向に間隔を空けて、かつ操作部2の上側部2a寄りの位置に配設されている。操作部2の上側部2aは光源6の上方に位置することとなり、上側部2aには開口部7が穿設されている。操作部2の上側部2aおよび開口部7の上方にはトレー8が配置されている。トレー8は、光を透過可能な半透明のポリプロピレン材により作製され、収納部4の下側壁面として、収納部4と一体になって構成されている。
このような構成により、光源6の光が、表示部3bを透過して操作パネル3を照らし、かつ開口部7を介してトレー8を透過して収納部4を照らすことが可能となる。従って、複雑な構造の部品を用いずに、操作パネル3および収納部4の両方を同一の光源6の光により照らすことが可能となる。その結果、部品の作製が容易になり、部品点数が減少し、部品組立の工数が減少し、部品管理が容易になり、これに伴いコストダウンが可能となる。
また、トレー8の車両前後方向の後端部は、開口端部5の下側部分5aとして構成され、収納部4を構成する上側壁面4aの車両前後方向の後端部は、開口端部5の上側部分5bとして構成されており、上側部分5bは下側部分5aより車両後方側に延出して形成されている。
従って、下方から上方に向かう光源6の光がインストルメントパネル1の上側に配置されるフロントガラス(図示せず)に映し出される弊害を防止することが可能となる。
さらに図3より、トレー8は照明中心部8aを備え、照明中心部8aは、開口部7の上方に位置し、詳細にはトレー8の車幅方向中央でかつ車両後方側に寄って位置している。トレー8の板厚は照明中心部8aから平面方向に離れるに連れて薄くなるように形成されており、トレー8の平面全体を考慮して説明すると、トレー8は照明中心部8aから離れるに連れて平面方向に広がる放射状に薄くなって変化している。
そのため、トレー8の板厚の薄い部分では光源6の光の透過量が多く明るさが強くなり、トレー8の板厚の厚い部分では光源6の光の透過量が少なく明るさが弱まることとなる。一方で、開口部7から離れた箇所では光源6の光の強さは弱まっており、開口部7近傍の箇所では光源6の光の強さが強くなっている。従って、弱い光源6の光がトレー8の板厚の薄い部分を通過することにより、弱い光源6の光の透過量は減少せず、強い光源6の光がトレー8の板厚の厚い部分を通過することにより、強い光源6の光の透過量が減少して、収納部4に透過される光源6の光の透過量が均一に調節されることとなる。よって、収納部4を均一な明るさとすることが可能となる。
次に、本発明の第二実施形態について説明する。図4は、本発明の第二実施形態における図2の収納部4を拡大した図であり、図5はトレー8全体の概略を示している。図4および図5より、トレー8の車両前後方向の前端部には前側爪部8bが設けられ、トレー8の車両前後方向の後端部には後側爪部8cが設けられている。図4より、収納部4を構成する車両前後方向の前側壁面4bの下端部にはトレー前側取付部4cが設けられ、トレー前側取付部4cはトレー8の前側爪部8bと嵌合可能に形成されている。さらに、操作パネル3の上端部にはトレー後側取付部3cが設けられ、トレー後側取付部3cはトレー8の後側爪部8cと嵌合可能に形成されている。このような構成により、前側爪部8bとトレー前側取付部4cとが嵌合し、後側爪部8cとトレー後側取付部3cとが嵌合して、トレー8がインストルメントパネル1の本体1aに取付けられることとなる。トレー8の板厚は照明中心部8aから離れるに連れて平面方向に広がる放射状に薄くなるように変化している。
従って、トレー8とインストルメントパネル1の本体1aとが別部品で構成されることとなり、トレー8を透過性の材料で作製し、かつインストルメントパネルの本体1aを別の材料で作製することが可能となる。
なお、第二実施形態は、トレー8とインストルメントパネル1の本体1aとが別部品として構成されている以外、第一実施形態と同様の形態である。
本発明の別の実施形態では、収納部4を操作部2の下側、車幅方向の左側または右側のいずれかに隣接して配置する構成としてもよく、インストルメントパネル1のデザインに合わせて配置位置を変更することにより、設計の自由度を高めることが可能となる。
本発明の別の実施形態では、収納部4の形状を略直方体以外にしてもよく、インストルメントパネル1のデザインに合わせて収納部4の形状を変更することにより、設計の自由度を高めることが可能となる。
本発明の別の実施形態では、トレー8の板厚の変化を収納部4の使用形態に合わせて適宜変更してもよく、収納部4の形状および配置位置の変化によって、収納部4の部分ごとで明るさが変化した場合に、光源6の光の透過量を調節することにより収納部4の内部の明るさを均一にすることが可能である。また、照明デザインなどの要求に応じて光源6の光の透過量を調節することも可能である。
本発明の第一実施形態におけるインストルメントパネル全体の概略を表した斜視図である。 図1のA−A断面図である。 図2の収納部を拡大した図である。 本発明の第二実施形態における図2の収納部を拡大した図である。 本発明の第二実施形態におけるトレー全体の概略を表した斜視図である。
符号の説明
1 インストルメントパネル
1a 本体
2 操作部
2a 上側部
3 操作パネル
3a ダイヤル
3b 表示部
3c トレー後側取付部
4 収納部
4a 上側壁面
4b 前側壁面
4c トレー前側取付部
5 開口端部
5a 下側部分
5b 上側部分
6 光源
7 開口部
8 トレー
8a 照明中心部
8b 前側爪部
8c 後側爪部
F 車両前側方向

Claims (4)

  1. 車両を制御するための操作パネルを有する操作部を備え、該操作部に前記操作パネルを光で照らすための光源を備え、前記操作部に隣接して配置された収納部を備えているインストルメントパネルにおいて、
    前記操作部と前記収納部との間に開口部を設け、該開口部と前記収納部との間に壁面としてトレーを設け、前記開口部を介して透過される前記光源の光を透過可能にする材料で前記トレーを形成していることを特徴とするインストルメントパネル。
  2. 前記トレーの板厚が部分的に変化して形成されていることを特徴とする請求項1に記載のインストルメントパネル。
  3. 前記収納部が車両後方側に開口端部を有する空間として形成され、前記光源および前記開口部が前記収納部の下方に配置され、前記トレーが前記空間の下側に配置され、前記開口端部の上側部分が前記トレーの形成する前記開口端部の下側部分より車両後方側に延出して形成されていることを特徴とする請求項1または2に記載のインストルメントパネル。
  4. 前記トレーが前記インストルメントパネルの本体と別部品として構成されていることを特徴とする請求項1〜3に記載のインストルメントパネル。
JP2007163553A 2007-06-21 2007-06-21 インストルメントパネル Expired - Fee Related JP4962858B2 (ja)

Priority Applications (4)

Application Number Priority Date Filing Date Title
JP2007163553A JP4962858B2 (ja) 2007-06-21 2007-06-21 インストルメントパネル
DE102008001462A DE102008001462B4 (de) 2007-06-21 2008-04-29 Armaturenbrett
US12/139,019 US20090146446A1 (en) 2007-06-21 2008-06-13 Instrument Panel
US12/139,052 US7597377B2 (en) 2007-06-21 2008-06-13 Instrument panel

Applications Claiming Priority (1)

Application Number Priority Date Filing Date Title
JP2007163553A JP4962858B2 (ja) 2007-06-21 2007-06-21 インストルメントパネル

Publications (2)

Publication Number Publication Date
JP2009001138A true JP2009001138A (ja) 2009-01-08
JP4962858B2 JP4962858B2 (ja) 2012-06-27

Family

ID=40030911

Family Applications (1)

Application Number Title Priority Date Filing Date
JP2007163553A Expired - Fee Related JP4962858B2 (ja) 2007-06-21 2007-06-21 インストルメントパネル

Country Status (3)

Country Link
US (2) US7597377B2 (ja)
JP (1) JP4962858B2 (ja)
DE (1) DE102008001462B4 (ja)

Cited By (2)

* Cited by examiner, † Cited by third party
Publication number Priority date Publication date Assignee Title
KR100978412B1 (ko) * 2009-01-30 2010-08-26 지엠대우오토앤테크놀로지주식회사 차량 내 포켓박스의 조명구조
JP2015085793A (ja) * 2013-10-30 2015-05-07 ダイハツ工業株式会社 収納部構造

Families Citing this family (8)

* Cited by examiner, † Cited by third party
Publication number Priority date Publication date Assignee Title
WO2003075908A1 (en) * 2002-03-12 2003-09-18 Galderma Research & Development, S.N.C. Use of adapalene for the treatment of dermatological disorders
USD626902S1 (en) * 2008-07-09 2010-11-09 Vehicules Electriques Pininfarina-Bollore Automobile instrument panel
DE102009001412B4 (de) * 2009-03-09 2018-10-11 Volkswagen Ag Kapazitives Anzeige- und Bedienelement
USD642505S1 (en) * 2010-08-26 2011-08-02 Toyota Jidosha Kabuhiki Kaisha Instrument panel for an automobile
US8474214B2 (en) * 2011-01-26 2013-07-02 Nissan North America, Inc. Connecting structure for automotive trim panels
US8419103B2 (en) * 2011-01-27 2013-04-16 Nissan North America, Inc. Panel assembly for a motor vehicle
USD837118S1 (en) * 2016-11-14 2019-01-01 Honda Motor Co., Ltd. Instrument panel
JP6824308B2 (ja) * 2019-02-21 2021-02-03 本田技研工業株式会社 インストルメントパネルの部材取付構造

Citations (5)

* Cited by examiner, † Cited by third party
Publication number Priority date Publication date Assignee Title
JPS5648600Y2 (ja) * 1977-10-07 1981-11-13
JPS58116435U (ja) * 1982-02-04 1983-08-09 三菱自動車工業株式会社 グロ−ブボツクスの照明装置
JPS60163140U (ja) * 1984-04-10 1985-10-30 日産自動車株式会社 フイニツシヤ
JPS62203744U (ja) * 1986-06-17 1987-12-25
JPH0876123A (ja) * 1994-09-02 1996-03-22 Casio Comput Co Ltd 照明装置

Family Cites Families (18)

* Cited by examiner, † Cited by third party
Publication number Priority date Publication date Assignee Title
JPS6422758A (en) * 1987-07-16 1989-01-25 Meinan Machinery Works Distributed transport device for board
US5273597A (en) * 1988-11-26 1993-12-28 Honda Giken Kogyo Kabushiki Kaisha Trim member for motor vehicle and method of and system for manufacturing the same
SE466628B (sv) * 1988-12-30 1992-03-09 Saab Scania Ab Kommunikationsenhet foer montering i ett fordon
US5364159A (en) * 1993-06-15 1994-11-15 Davidson Textron Inc. Structural instrument panel carrier assembly
US5775796A (en) * 1996-04-12 1998-07-07 Freightliner Corporation Truck with overhead storage compartment lighting system
FR2763301B1 (fr) * 1997-05-14 1999-07-16 Reydel Sa Tableau de bord pour vehicule, notamment vehicule automobile
WO1999035021A1 (en) * 1998-01-02 1999-07-15 Prince Technology Corporation Integrated modular instrument panel assembly
JP3867833B2 (ja) * 2000-03-23 2007-01-17 本田技研工業株式会社 車両用表示装置
JP2001328460A (ja) * 2000-05-23 2001-11-27 Denso Corp 車両用コクピットモジュール組付体およびその組付方法
US6428072B1 (en) * 2000-09-08 2002-08-06 Auto Additions, Inc. Vehicle equipment console
US6371551B1 (en) * 2000-10-24 2002-04-16 Ford Global Technologies, Inc. Integrated steering column, instrument panel, and cowl body structure
EP1338494B1 (en) * 2002-02-21 2008-04-16 Calsonic Kansei Corporation Vehicle instrument panel
US7036865B2 (en) * 2004-04-08 2006-05-02 Honda Motor Co., Ltd. Automobile instrument panel structure
JP4243212B2 (ja) * 2004-04-12 2009-03-25 矢崎総業株式会社 収納ボックス及びそれが埋設されたインストルメントパネル
US7201420B2 (en) * 2004-11-23 2007-04-10 General Motors Corporation Vehicle display screen
US7425891B2 (en) * 2006-05-09 2008-09-16 Lockheed Martin Corporation Tactical truck system dashboard
US7507008B2 (en) * 2007-01-29 2009-03-24 Chrysler Llc Accessory light
JP2009018612A (ja) * 2007-07-10 2009-01-29 Toyoda Gosei Co Ltd 車両用センタクラスタパネル

Patent Citations (5)

* Cited by examiner, † Cited by third party
Publication number Priority date Publication date Assignee Title
JPS5648600Y2 (ja) * 1977-10-07 1981-11-13
JPS58116435U (ja) * 1982-02-04 1983-08-09 三菱自動車工業株式会社 グロ−ブボツクスの照明装置
JPS60163140U (ja) * 1984-04-10 1985-10-30 日産自動車株式会社 フイニツシヤ
JPS62203744U (ja) * 1986-06-17 1987-12-25
JPH0876123A (ja) * 1994-09-02 1996-03-22 Casio Comput Co Ltd 照明装置

Cited By (2)

* Cited by examiner, † Cited by third party
Publication number Priority date Publication date Assignee Title
KR100978412B1 (ko) * 2009-01-30 2010-08-26 지엠대우오토앤테크놀로지주식회사 차량 내 포켓박스의 조명구조
JP2015085793A (ja) * 2013-10-30 2015-05-07 ダイハツ工業株式会社 収納部構造

Also Published As

Publication number Publication date
US20080315610A1 (en) 2008-12-25
JP4962858B2 (ja) 2012-06-27
US7597377B2 (en) 2009-10-06
DE102008001462A1 (de) 2008-12-24
US20090146446A1 (en) 2009-06-11
DE102008001462B4 (de) 2012-12-27

Similar Documents

Publication Publication Date Title
JP4962858B2 (ja) インストルメントパネル
US20100080010A1 (en) Vehicle interior lighting device
US20120002442A1 (en) Display device for a vehicle and method for producing the display device
EP1914116A2 (en) Ligthing fixture for vehicle
JP2008174132A (ja) 車両用室内照明装置
US8562058B1 (en) Light module for upper and lower glove box bin
JP5227607B2 (ja) 車両用収容ボックス
JP5492931B2 (ja) 車両用収納装置
JP2007196919A (ja) 車両用の照明装置
JP2016131151A (ja) 自動車用のアプリケーション構成
JP2017109710A (ja) 照明装置
WO2015141276A1 (ja) 装飾用照明構造
JP4656043B2 (ja) ドアポケットの照明構造
JP2016047693A (ja) 車両室内用照明装置
JP2010023539A (ja) シフトレバー装置の照明構造
JP4265441B2 (ja) 車室内用照明装置
JP7333021B2 (ja) 車両の収納ボックスの照明構造
JP7480666B2 (ja) 乗物用内装材の照明構造
JP5469702B2 (ja) 車両のシフトノブ
JP3595460B2 (ja) クラスタの下部構造
JP2025039111A (ja) 乗物用内装材に対する照明装置の取付構造
JP2025039112A (ja) 乗物用内装材に対する照明装置の取付構造
JP5703708B2 (ja) スピーカグリル組立体及びそれを備えるスピーカ装置
JP2013068497A (ja) 車両用メータ
JP4853438B2 (ja) 車両用室内照明装置

Legal Events

Date Code Title Description
A621 Written request for application examination

Free format text: JAPANESE INTERMEDIATE CODE: A621

Effective date: 20100325

A977 Report on retrieval

Free format text: JAPANESE INTERMEDIATE CODE: A971007

Effective date: 20110928

A131 Notification of reasons for refusal

Free format text: JAPANESE INTERMEDIATE CODE: A131

Effective date: 20111104

A521 Request for written amendment filed

Free format text: JAPANESE INTERMEDIATE CODE: A523

Effective date: 20111221

A131 Notification of reasons for refusal

Free format text: JAPANESE INTERMEDIATE CODE: A131

Effective date: 20120117

A521 Request for written amendment filed

Free format text: JAPANESE INTERMEDIATE CODE: A523

Effective date: 20120216

TRDD Decision of grant or rejection written
A01 Written decision to grant a patent or to grant a registration (utility model)

Free format text: JAPANESE INTERMEDIATE CODE: A01

Effective date: 20120302

A01 Written decision to grant a patent or to grant a registration (utility model)

Free format text: JAPANESE INTERMEDIATE CODE: A01

A61 First payment of annual fees (during grant procedure)

Free format text: JAPANESE INTERMEDIATE CODE: A61

Effective date: 20120315

FPAY Renewal fee payment (event date is renewal date of database)

Free format text: PAYMENT UNTIL: 20150406

Year of fee payment: 3

LAPS Cancellation because of no payment of annual fees