JP2008303552A - 換気装置 - Google Patents

換気装置 Download PDF

Info

Publication number
JP2008303552A
JP2008303552A JP2007149634A JP2007149634A JP2008303552A JP 2008303552 A JP2008303552 A JP 2008303552A JP 2007149634 A JP2007149634 A JP 2007149634A JP 2007149634 A JP2007149634 A JP 2007149634A JP 2008303552 A JP2008303552 A JP 2008303552A
Authority
JP
Japan
Prior art keywords
ventilation
space
horizontal
extension part
vertical
Prior art date
Legal status (The legal status is an assumption and is not a legal conclusion. Google has not performed a legal analysis and makes no representation as to the accuracy of the status listed.)
Pending
Application number
JP2007149634A
Other languages
English (en)
Inventor
Ryoichi Suzuki
良一 鈴木
Hirotoshi Onodera
広敏 小野寺
Current Assignee (The listed assignees may be inaccurate. Google has not performed a legal analysis and makes no representation or warranty as to the accuracy of the list.)
Sekisui Chemical Co Ltd
Japan Energy Saving Housing Co Ltd
Original Assignee
Sekisui Chemical Co Ltd
Japan Energy Saving Housing Co Ltd
Priority date (The priority date is an assumption and is not a legal conclusion. Google has not performed a legal analysis and makes no representation as to the accuracy of the date listed.)
Filing date
Publication date
Application filed by Sekisui Chemical Co Ltd, Japan Energy Saving Housing Co Ltd filed Critical Sekisui Chemical Co Ltd
Priority to JP2007149634A priority Critical patent/JP2008303552A/ja
Publication of JP2008303552A publication Critical patent/JP2008303552A/ja
Pending legal-status Critical Current

Links

Images

Landscapes

  • Building Environments (AREA)
  • Ventilation (AREA)

Abstract

【課題】通気性能を損なうことなく防水性能を向上させることができ、構造が簡単であり軽量で施工が容易な換気装置を提供する。
【解決手段】建物を構成する部材同士、例えば外装材18と透湿防水シート17との間に形成される空間20の換気を行う換気装置10は、鉛直方向に延出する鉛直延出部5と水平方向に延出する水平延出部6とを備え断面がL型に形成され、鉛直延出部5及び水平延出部6を貫通する多数の貫通孔2a,2a…が形成された通気ガラリ1を備え、この通気ガラリ1の鉛直延出部5又は水平延出部6を空間20に挿入し、多数の貫通孔を通して、外気を空間20に流通させる。鉛直延出部5及び水平延出部6の厚さtは、空間20の厚さと同等に形成される。
【選択図】 図3

Description

本発明は、建物等に用いられ換気用の外気が流通し、換気や湿気の排出を行う換気装置に係り、特に、建物を構成する部材同士の間に形成される空間を換気するための換気装置に関する。
従来、この種の換気装置として、例えば、特許文献1に記載の換気装置は、狭間隙部分に設置される換気装置であって、室内側に配置される吸排気部材は、一端から他端に抜ける通気路が縦横に多数並設されたものであって、通気路が上下方向に向くように設置されている。
特許第3792553号公報
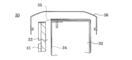
また、従来のこの種の換気装置として、図7に示される換気装置30では、外装材31と外壁スタッド32との間に通気路33が形成され、外壁スタッド32の通気路面側には透湿防水シート34が敷設されている。そして、通気路33の上部開口は透湿防水シート35で覆われているおり、上部に笠木36が装着されている。そして、図8に示される換気装置30Aでは、通気路33への浸水防止策として笠木じゃま板37が、笠木36の外側に装着されて雨水等の浸入を防止している。さらに、図9に示される換気装置30Bでは、通気路33への浸水防止策として笠木じゃま板38が、笠木36の内側に装着されて雨水等の浸入を防止している。
ところで、前記特許文献1に記載の換気装置は、板形状で通気方向を垂直とし防水性を重視し、外装材外側の化粧材等で挟んで納めているため、固定方法の工夫が必要であることと、意匠がある程度限定され、設計の自由度が制限される問題点があった。そして、この種の換気装置では、通気性能を向上させると防水性能は低下するという相反する課題があった。
また、図7に示される換気装置30では、通気路33内への直接浸水をほぼ完全に防止できるが、圧力差による透湿のみで物理的通気はできず、湿気排出効率が悪いという問題点がある。さらに、図8に示される換気装置30Aでは、透湿防水シートそのものの防水性に依存し、外装材外側にじゃま板等の抵抗を設け、直接浸水を極力避ける構成であり、多少の浸水を許容するが、直接外気に通ずることで物理的通気が行えるという長所がある。そして、図9に示される換気装置30Bでは、図8とは反対に外壁スタッド内側にじゃま板等の抵抗を設けている。この換気装置は、強風圧時に内圧抵抗のみで浸水防止を図るが、それなりの量の浸水は不可避である。また、図8、図9の換気装置では、じゃま板37,38の構成が煩雑であり、施工にも手間取るという問題点がある。
本発明は、このような問題に鑑みてなされたものであって、その目的とするところは、通気性能を損なうことなく防水性能を向上させることができると共に、構造が簡単であり軽量で施工が容易な換気装置を提供することにある。
前記目的を達成すべく、請求項1に記載の発明による換気装置は、建物を構成する部材同士の間に形成される空間の換気を行う換気装置であって、鉛直方向に延出する鉛直延出部と水平方向に延出する水平延出部とを備え断面がL型に形成され、鉛直延出部及び水平延出部を貫通する多数の貫通孔が形成された通気ガラリを備え、該通気ガラリの鉛直延出部又は水平延出部を前記空間に挿入し、前記多数の貫通孔を通して、外気を前記空間に流通させることを特徴としている。前記の空間は鉛直方向に延在するものや、水平方向に延在するものがある。
前記のごとく構成された換気装置は、通気ガラリが鉛直延出部と水平延出部とにより断面形状がL型に形成されており、通気ガラリを通過する気体が排出される排出口は上方を向かないため、通気性能が確保された状態で雨水の浸入が防止されて防水性能が向上する。また、構成が簡単であり、軽量であるため施工が容易となる。
請求項2に記載の発明による換気装置は、前記鉛直延出部及び水平延出部は、各々鉛直方向及び水平方向に、かつ断面と直交する方向に延在する平行な対向する平坦面により前記空間の厚さと同等に形成されており、前記鉛直延出部又は水平延出部は、前記空間に挿入されることで該空間の間隔を保持することを特徴としている。このように構成された換気装置では、外気が流通する空間が通気路として形成され、この通気路が鉛直延出部又は水平延出部により保持されるため、換気性能を安定させることができると共に、通気ガラリの空間への装着を容易にすることができる。
請求項3に記載の発明による換気装置では、前記鉛直延出部及び水平延出部は、多数の貫通孔が両端面に開口するように1列に配列された通気ボードを積層して前記空間の厚さと同等に形成された板状体で構成されていることを特徴としている。このように構成された換気装置では、通気ボードを積層して構成した板状体は、1列に配列された多数の貫通孔を多層に配列して通気量を確保することができ、簡単な構成で雨水の浸入を防止して多量の通気量を得ることができる。
請求項4に記載の発明による換気装置は、前記板状体の両端面に平行に中央部にVカット部を形成し、該Vカット部で板状体を直角方向に折り曲げて、前記鉛直延出部及び水平延出部を形成し、前記鉛直延出部の貫通孔と前記水平延出部の貫通孔とを連通させた構成されることを特徴としている。このように構成された換気装置は、通気ボードを積層した板状体のVカット部で折り曲げ、鉛直延出部の貫通孔と水平延出部の貫通孔とを連通させることで、通気量が大きく防水性に優れた通気ガラリを容易に作成することができ、換気装置の構成を簡略化できる。
本発明の換気装置は、通気路を流通する空気等の気体は通気ガラリの鉛直延出部と水平延出部とを通過して多数の貫通孔から排出されるため、通気効率がよく、雨水等の浸入を防止することができる。このため、通気性能を確保して防水性を向上させることができ、通気性能と防水性を両立させることができる。また、通気ガラリは構成が簡単で軽量であるため施工が容易となる。しかも、通気ガラリの鉛直延出部を通気路に挿入して施工できるため、通気路の空間のスペーサとしても機能し、施工を簡略化できる。
以下、本発明に係る換気装置の一実施形態を図面に基づき詳細に説明する。図1は、本実施形態に係る換気装置に使用する通気ガラリの要部斜視図、図2aは、図1の通気ガラリを構成する通気ボードの要部斜視図、図2bは、図2aの通気ボードを積層しVカット加工した板状体の要部斜視図、図3は、図1の通気ガラリを用いた換気装置の実施形態の断面を示す模式図、図4は、その要部断面図である。
図1,2において、本実施形態の換気装置で使用する通気ガラリ1は、建物等に用いられ換気用の外気を流通させる機能を有し、所定の空間内の空気等の気体を対流等によって流通させ、空間外へ排出して換気する機能を有するものである。通気ガラリ1は、ポリプロピレン樹脂製の通気ボード2,2…を積層した板状体3で構成されている。板状体3は、複数の通気ボード2を重ねて所定の厚さtに形成されている。通気ボード2は多数の通気用の貫通孔2a,2a…が1列に配列されており、これらの貫通孔は通気ボードの両端面に開口している。
板状体3を構成する通気ボード2は、板厚が3mm〜4mm程度であり、1.5mm〜3mm程度の四角形状の貫通孔が1列に配列されている。3mm以上の四角形では、小虫等が進入して好ましくない。そして、板状体3は通気ボード2を複数枚積層し粘着剤あるいは接着剤等により一体化して構成され、全体として15mm〜20mm程度の厚さに設定されている。通気ボード2の貫通孔は図示のような角孔に限られるものでなく、円形、楕円形、ハニカム状等、適宜の形状のものを用いることができる。また、通気ボード2はプラスチックダンボール状のもので、2枚の薄板の中間に波板を挟んだ形状のものでもよい。
このようにして形成された板状体3は、対向する両端面に多数の貫通孔2a,2a…が多段に開口している。そして、板状体3には、両端面2b,2cに平行に、板状体の中央部にVカット加工によりVカット部4が形成されている。このVカット部4は、V形状を形成する開口角度が90度に設定されており、カット深さは板状体3を切断する深さより小さく設定され、通気ボード2を構成する一方の(図では下側の)薄板が残る程度の深さに加工されている。したがって、このVカットを施したあとでも板状体3はVカット部4を挟んで連結された状態となっており、Vカット部4を中心として折り曲げ可能となっている。
このようにして、Vカット部4で2つの板状部3a,3bが薄板で連結された状態の板状体3は、長手方向(x方向)に形成されたVカット部4で直角方向に曲げられてL型に形成され、Vカット部の2つの傾斜面は密着するため、この密着部を接着する。Vカット部4の接着により板状体3は断面形状がL型に形成され、鉛直(z方向)に延びた鉛直延出部5と、水平(y方向)に延びた水平延出部6が形成される。そして、鉛直延出部5の板状体3を構成する通気ボード2の多数の貫通孔2a,2a…と、水平延出部6の板状体3を構成する通気ボード2の貫通孔2a,2a…とは接着剤により接着され、各々連通する。なお、接着する代わりに溶剤等を用いて、2つの傾斜面を溶着し、各々の貫通孔同士を連通状態に溶着してもよい。
そして、断面がL型に形成された通気ガラリ1は、鉛直延出部5は鉛直方向に、かつ断面と直交する方向に、すなわちx−z方向に延在する平行な対向する平坦面5a、5bにより所定の厚さtに形成されている。また、水平延出部6は水平方向に、かつ断面と直交する方向に、すなわちx−y方向に延在する平行な対向する平坦面6a、6bにより所定の厚さtに形成されている。鉛直延出部5と水平延出部6の厚さtは、後述する建物の空間の厚さと同等に設定されている。
このように構成された通気ガラリ1は、対流等により所定空間内の空気が多数の貫通孔2a,2a…を通して排出されるとき、鉛直延出部5と水平延出部6とから構成される直角な空気の流通路が形成される。この構成により、直角な空気の流れが発生し、空気等の気体が外部に排出される。このため、空気が排出される通気ガラリ1の貫通孔2a,2a…の水平方向の開口部から、雨水等の浸入が防止される。また、この通気ガラリ1は、構成が簡単で製造が容易であり、軽量であるため施工が容易となる。
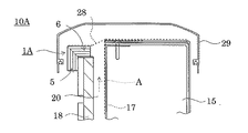
つぎに、前記のように構成された通気ガラリ1を用いた本発明の換気装置10について、図3,4を参照して説明する。図3,4において、通気ガラリ1は、例えば建物の外壁を構成する外装材と、その内側の部材、例えば内装材のような2枚の板材間に構成される通気路等の狭い空間の換気を行う目的で装着され、換気装置10を構成する。先ず、図3の模式図を参照して、本実施形態の換気装置を取付ける建物について説明する。
建物10は、基礎スラブ11上に鉄骨柱(図示せず)を立設し、鉄骨柱の上部にH型鋼からなる梁12が連結されて鉄骨構造体を構成している。この鉄骨構造体は1階建てでも、2階以上の複数階建てでも可能であることは勿論である。梁12の周囲には梁外断熱材12a、梁上断熱材12b、梁下断熱材12cが配設され、梁12の結露を防止している。また、鉄骨柱と平行に設けた鋼製の外壁スタッド13の内側には壁断熱材13aが配設されている。さらに、基礎スラブ11の外側にはポリスチレン等の基礎断熱材11a,11bが配設されている。また、梁12の室内側には、H鋼のリブに載置するように天井断熱材14が配置されている。
梁12の上部には、パラペット鋼板等からなる枠組15が連結され、枠組15、梁外断熱材12a、梁上断熱材12b、梁下断熱材12c、外壁スタッド13の外側面は1つの平坦面16として形成されている。そして、この1つの平坦面16の外側から枠組15の上面に亘って透湿防水シート17が敷設されている。この透湿防水シート17はタイベックとも呼ばれ、ポリエチレン製で極細長繊維を高熱結合させた不織布からなっている。タイベックとしては、住宅外壁下地用の透湿防水シートJISA6111適合品が好ましい。前記の断熱材12a,12b,12c,13aはグラスウールが好適である。
そして、鉄骨構造体の外方には、鋼製の外壁スタッド13を介して、前記1つの平坦面16に沿って敷設された透湿防水シート17と、15mm〜20mm程度の間隔をあけて外装材18が固定されている。本実施形態では、建物を構成する部材は、梁12、梁外断熱材12a、梁上断熱材12b、梁下断熱材12cの他に、外壁スタッド13、壁断熱材13a、枠組15等があり、これらの部材と外装材18との間に、換気を行う空間として通気路20が形成される。このように、本実施形態の換気装置は、外装材18と透湿防水シート17との間に形成される空間の換気を行うものである。
外装材18の下端は基礎断熱材11a,11bを覆うモルタル製の犬走り19と間隔をあけて固定され、通気路20の吸入口20aが形成されている。通気路20の上端は開放されており、この間隔に前記した通気ガラリ1の鉛直延出部5が挿入され、外装材18の上端に水平延出部6が載置され、防水性のブチルテープ等で固定される。この結果、犬走り19と外装材18との間の吸入口20aから吸入された外気が通気路20を通して上昇し、通気ガラリ1から排出されるように構成され、壁内結露防止対策としての外壁通気層工法が構成される。そして、通気ガラリ1は排出口である水平延出部6が水平状態に装着され、上方を向かないように設置されている。
壁断熱材13aの内側には、基礎スラブ11から床下空間を空けて床材21が施工され、天井断熱材14から所定の間隔を空けて石膏ボード等の天井材22が施工され、壁断熱材13aから所定の間隔を空けて内壁材23が配置され、室内空間24が形成される。また、梁12の上面には軽量気泡コンクリート等からなる屋根材25が載置施工され、屋根材25の上面にはポリスチレン等の傾斜断熱材26が載置され、傾斜断熱材26の上面に塩ビ系シートからなる防水シート27が敷設されている。防水シート27上を流れる雨水等は図示していない排水口から排出される。この防水シート27は枠組15に沿って立ち上げられ、枠組15の上面まで敷設されている。そして、通気ガラリ1の上部と、枠組15の上部を覆うように、透湿防水シート28が貼着されている。枠組15の上部には外装材18、通気ガラリ1、枠組15、立ち上がり防水シート27を覆う笠木29が装着されている。
前記の如く構成された通気ガラリ1を用いた本実施形態の換気装置10の動作について以下に説明する。室内空間24から発生する湿気は、湿気を含む空気Wとして、壁断熱材13a、外壁スタッド13を通して通気路20内へ進入する。通気路20内では、下方の吸入口20aから入り込む空気Aにより上昇気流が発生しているため、湿気を含む空気Wは上昇気流と共に上昇し、通気ガラリ1の鉛直延出部5へ進入する。そして、水平延出部6へ直角に曲がって進入し、水平方向に排出される。これにより、室内空間24内の湿気が排出され、室内空間24を快適に保つことができる。
このようにして構成された換気装置10では、従来の外壁通気層工法の排出のための開口が上方を向いているものと比較して、雨水等の浸入を防止することができる。また、笠木にじゃま板等の施工を施すことなく、防水性能を向上させることができる。さらに、施工時に、通気路20に通気ガラリ1の鉛直延出部5を差し込んで施工することができるため、通気路の確保と、容易な施工を可能とする。
すなわち、この実施形態の換気装置10は、通気ガラリ1がL型に形成されており、最終防水は透湿防水シート17が担うことから高度な防水性は不要のため通気方向を水平とし、L型の鉛直延出部5を外装材18により形成された通気路20内に差込み、外装材18と共にビス等で固定することで、通気路間隔の確保と強固な固定ができる。また、前記構成のままで防水が完了するため、笠木29等の意匠が自由に選択できる。
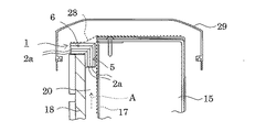
本発明の換気装置の他の実施形態を図5に基づき詳細に説明する。図5は本発明に係る換気装置の他の実施形態の要部断面図である。なお、この実施形態は前記した実施形態に対し、通気ガラリ1の取付け位置が異なることを特徴とする。そして、他の実質的に同等の構成については同じ符号を付して詳細な説明は省略する。
図5において、この実施形態の換気装置10Aは、前記実施形態の通気ガラリ1を図4の状態から、90度左回転させた状態で通気ガラリ1Aとして取付けている。通気ガラリ1Aの取付けは、外装材18の上端へのブチルテープ止めと脳天ビス止めが好ましい。これにより、外装材18の上端に通気ガラリ1Aの水平延出部6が乗り、鉛直延出部5が外装材18の外表面に接した状態で下方に開口している。そして、通気路20の上端を覆うように、透湿防水シート28が通気ガラリ1Aの上面と枠組15の上面を連結して貼着され防水を達成している。
この実施形態においては、通気ガラリ1の鉛直延出部5を、外装材18と建物を構成する部材の平坦面との間のスペーサとして用いることはできないが、鉛直延出部5が外装材18の外表面に沿って下向きとなるため、通気路を上昇してきた空気は水平延出部6の多数の貫通孔から進入し、垂直延出部5の多数の貫通孔を通して下方に排出される。この換気装置10Aでは、外部への開口は下向きであるため、換気された空気が排出される開口部(貫通孔)からの雨水等の浸入は皆無となる。
つぎに、本発明の換気装置で使用する通気ガラリの変形例を図6に基づいて説明する。図6aに示される通気ガラリ1Bは、前記の実施形態の通気ガラリ1と比較して、鉛直延出部5と水平延出部6とが滑らかな円弧状の通路で連結されていることを特徴としている。この実施形態の通気ガラリ1Bは、通気ボード2を積層した板状体3にVカット部を形成せず、例えば加熱して軟化させて湾曲させることで、貫通孔2a,2a…が連通して鉛直延出部5及び水平延出部6に開口する状態で形成することができる。この通気ガラリ1Bでは、建物等に用いられたとき、通気路20を上昇する空気流Aが通気ガラリ1Bに進入すると、緩やかに流れが曲げられて水平方向に排出されるため、流通抵抗を少なくすることができる。
また、図6bに示される通気ガラリ1Cは、鉛直延出部5と水平延出部6とが45度の傾斜した通路で連結されていることを特徴としている。図6bの実施形態の通気ガラリ1Cは通気ボード2を積層した板状体3に45度の角度のVカット部を間隙を空けて2つ形成し、2つのVカット部で45度ずつ折り曲げて形成している。この通気ガラリ1Cでは流通する気体流は直角に曲げられることなく、45度の方向に2回曲げられるため、直角に折り曲げたものと比較して流通抵抗を低減することができる。
以上、本発明の実施形態について詳述したが、本発明は、前記の実施形態に限定されるものではなく、特許請求の範囲に記載された本発明の精神を逸脱しない範囲で、種々の設計変更を行うことができるものである。例えば、通気ガラリを構成する通気ボードは4枚を積層した実施形態を示したが、さらに多くの枚数で構成してもよい。また、自然換気する装置に限らず、ファン等を用いて強制換気する装置にも適用できる。
前記の実施形態では、外装材と、建物を構成する部材との間で形成された通気路の上部に通気ガラリを配置した例を示したが、上部と共に下部にも通気ガラリを配置して換気装置を構成してもよい。また、前記の実施形態では、通気ガラリを構成する板状体にVカット部を形成するとき、鉛直延出部と水平延出部とを薄板で連結させて折り曲げるようにしたが、鉛直延出部と水平延出部とを、各々45度の傾斜面で分離し、2つに分離された板状体の傾斜面同士を接合してL型としてもよい。
また、通気ボードを積層して構成した板状体の中央部に形成したVカットは正確な中央でなく一方に偏った位置に形成してもよい。さらに、空間を形成する部材としては、前記の実施形態に限られるものでなく、板材としては外壁に用いる外装材や、建物を構成する部材としては複数の部材の集合体であってもよい。また、複数の部材の集合体を覆う板材であってもよい。
本発明の活用例として、この通気ガラリを用いて住宅の他に工場や倉庫等の建物に用いることができ、この通気ガラリを車両等の車体に使用し、走行風によって自然換気する換気装置の用途にも適用できる。
本発明に係る換気装置で使用する通気ガラリの要部斜視図。 (a)は図1の通気ガラリを構成する通気ボードの要部斜視図。(b)は(a)の通気ボードを積層してVカット部を形成した板状体の要部斜視図。 図1の通気ガラリを用いた本発明の換気装置の一実施形態の縦断面を示す模式図。 図3の要部断面図。 本発明に係る換気装置の他の実施形態の要部断面図。 本発明に係る換気装置で使用する通気ガラリの変形例を示す断面図。 従来の換気装置であり、透湿防水シートを用いた要部断面図。 従来の換気装置であり、外装材の外側に笠木じゃま板を用いた要部断面図。 従来の換気装置であり、外装材の内側に笠木じゃま板を用いた要部断面図。
符号の説明
1,1A,1B,1C:通気ガラリ、2:通気ボード、2a:貫通孔、3:板状体、4:Vカット部、5:鉛直延出部、5a,5b:平坦面、6:水平延出部、6a,6b:平坦面、10,10A:換気装置、12:梁(部材)、12a:梁外断熱材(部材)、12b:梁上断熱材(部材)、12c:梁下断熱材(部材)、13:外壁スタッド(部材)、13a:壁断熱材(部材)、15:枠組(部材)、17:透湿防水シート(部材)、18:外装材(板材)、20:通気路(空間)、24:室内空間、28:透湿防水シート、29:笠木、t:鉛直延出部の厚さと水平延出部の厚さ、A:空気(外気)、W:湿気を含む空気

Claims (4)

  1. 建物を構成する部材同士の間に形成される空間の換気を行う換気装置であって、
    鉛直方向に延出する鉛直延出部と水平方向に延出する水平延出部とを備え断面がL型に形成され、前記鉛直延出部及び水平延出部を貫通する多数の貫通孔が形成された通気ガラリを備え、
    該通気ガラリの鉛直延出部又は水平延出部を前記空間に挿入し、
    前記多数の貫通孔を通して、外気を前記空間に流通させることを特徴とする換気装置。
  2. 前記鉛直延出部及び水平延出部は、各々鉛直方向及び水平方向に、かつ断面と直交する方向に延在する平行な対向する平坦面により前記空間の厚さと同等に形成されており、
    前記鉛直延出部又は水平延出部は、前記空間に挿入されることで該空間の間隔を保持することを特徴とする請求項1に記載の換気装置。
  3. 前記鉛直延出部及び水平延出部は、貫通孔が両端面に開口するように1列に配列された通気ボードを積層して前記空間の厚さと同等に形成された板状体で構成されていることを特徴とする請求項1又は2に記載の換気装置。
  4. 前記板状体の両端面に平行に中央部にVカット部を形成し、該Vカット部で前記板状体を直角方向に折り曲げて、前記鉛直延出部及び水平延出部を形成し、
    前記鉛直延出部の貫通孔と前記水平延出部の貫通孔とを連通させたことを特徴とする請求項3に記載の換気装置。
JP2007149634A 2007-06-05 2007-06-05 換気装置 Pending JP2008303552A (ja)

Priority Applications (1)

Application Number Priority Date Filing Date Title
JP2007149634A JP2008303552A (ja) 2007-06-05 2007-06-05 換気装置

Applications Claiming Priority (1)

Application Number Priority Date Filing Date Title
JP2007149634A JP2008303552A (ja) 2007-06-05 2007-06-05 換気装置

Related Child Applications (1)

Application Number Title Priority Date Filing Date
JP2012133781A Division JP5373154B2 (ja) 2012-06-13 2012-06-13 換気装置

Publications (1)

Publication Number Publication Date
JP2008303552A true JP2008303552A (ja) 2008-12-18

Family

ID=40232518

Family Applications (1)

Application Number Title Priority Date Filing Date
JP2007149634A Pending JP2008303552A (ja) 2007-06-05 2007-06-05 換気装置

Country Status (1)

Country Link
JP (1) JP2008303552A (ja)

Cited By (10)

* Cited by examiner, † Cited by third party
Publication number Priority date Publication date Assignee Title
JP2012007433A (ja) * 2010-06-28 2012-01-12 Nippon Jukankyo Kk 住宅の壁体構造部における換気構造
JP2012102486A (ja) * 2010-11-08 2012-05-31 Tookoo:Kk パラペット換気構造
JP2012117208A (ja) * 2010-11-29 2012-06-21 Nippon Jukankyo Kk 住宅の壁体構造部における換気構造
JP2012149468A (ja) * 2011-01-21 2012-08-09 Sekisui Chem Co Ltd 軒先構造および軒先施工方法
JP5259000B1 (ja) * 2012-06-27 2013-08-07 株式会社ハウゼサンエイ 笠木下換気構造体
JP5269263B1 (ja) * 2013-01-10 2013-08-21 株式会社ハウゼサンエイ 笠木下換気構造体
JP5269264B1 (ja) * 2013-01-21 2013-08-21 株式会社ハウゼサンエイ 笠木下換気構造体
JP2014005628A (ja) * 2012-06-22 2014-01-16 Nippon Jukankyo Kk 住宅の壁体構造部における換気構造
JP2016053257A (ja) * 2014-09-03 2016-04-14 日本住環境株式会社 換気用通気部材
JP2016089577A (ja) * 2014-11-11 2016-05-23 株式会社トーコー パラペット用換気装置

Citations (2)

* Cited by examiner, † Cited by third party
Publication number Priority date Publication date Assignee Title
JPH0355335A (ja) * 1989-07-20 1991-03-11 Ube Ind Ltd 軒下吸排気部材とそれを設けてなる建屋構造
JP2001040795A (ja) * 1999-08-02 2001-02-13 Tomomichi Yasuzawa 通気性断熱建材及びそれを用いた屋根・壁構造並びに屋根・壁構造の施工方法

Patent Citations (2)

* Cited by examiner, † Cited by third party
Publication number Priority date Publication date Assignee Title
JPH0355335A (ja) * 1989-07-20 1991-03-11 Ube Ind Ltd 軒下吸排気部材とそれを設けてなる建屋構造
JP2001040795A (ja) * 1999-08-02 2001-02-13 Tomomichi Yasuzawa 通気性断熱建材及びそれを用いた屋根・壁構造並びに屋根・壁構造の施工方法

Cited By (10)

* Cited by examiner, † Cited by third party
Publication number Priority date Publication date Assignee Title
JP2012007433A (ja) * 2010-06-28 2012-01-12 Nippon Jukankyo Kk 住宅の壁体構造部における換気構造
JP2012102486A (ja) * 2010-11-08 2012-05-31 Tookoo:Kk パラペット換気構造
JP2012117208A (ja) * 2010-11-29 2012-06-21 Nippon Jukankyo Kk 住宅の壁体構造部における換気構造
JP2012149468A (ja) * 2011-01-21 2012-08-09 Sekisui Chem Co Ltd 軒先構造および軒先施工方法
JP2014005628A (ja) * 2012-06-22 2014-01-16 Nippon Jukankyo Kk 住宅の壁体構造部における換気構造
JP5259000B1 (ja) * 2012-06-27 2013-08-07 株式会社ハウゼサンエイ 笠木下換気構造体
JP5269263B1 (ja) * 2013-01-10 2013-08-21 株式会社ハウゼサンエイ 笠木下換気構造体
JP5269264B1 (ja) * 2013-01-21 2013-08-21 株式会社ハウゼサンエイ 笠木下換気構造体
JP2016053257A (ja) * 2014-09-03 2016-04-14 日本住環境株式会社 換気用通気部材
JP2016089577A (ja) * 2014-11-11 2016-05-23 株式会社トーコー パラペット用換気装置

Similar Documents

Publication Publication Date Title
JP2008303552A (ja) 換気装置
JP5373154B2 (ja) 換気装置
JP2023105144A (ja) 建造物
JP2003184196A (ja) 外壁構造、建物ユニット及びユニット建物
JP5950714B2 (ja) 住宅の壁体構造部における換気構造
JP2559149B2 (ja) 高通気性住宅
JPH10205015A (ja) 通気層を備えた建物
JPH09151568A (ja) 建築構造用部材
JP3897716B2 (ja) 建物の多重断熱通気装置
JP7521439B2 (ja) 壁体およびこれを備える建築物
JPH1068181A (ja) 構造用パネル及び建物の防湿構造
JP4869639B2 (ja) 水切部材及び建物通気構造
JPH1068175A (ja) 構造用パネル及び建物の防湿構造
JP2559147B2 (ja) 高通気性住宅
KR101397608B1 (ko) 건축 조립용 2중 단열패널
JP2024050337A (ja) 外壁の構造
JP2013133585A (ja) ドーム状構造物
JP3276467B2 (ja) 枠組工法による建物の断熱通気構造
JP2022115290A (ja) 建築物
JP2613717B2 (ja) 建物の階上張出し部の断熱構造
JP3225253B2 (ja) 木造住宅用の通気壁
JP2002047747A (ja) 外壁の構造
JPH0526170Y2 (ja)
JPS6146095Y2 (ja)
JP2009035953A (ja) 断熱構造

Legal Events

Date Code Title Description
A621 Written request for application examination

Free format text: JAPANESE INTERMEDIATE CODE: A621

Effective date: 20100512

A977 Report on retrieval

Free format text: JAPANESE INTERMEDIATE CODE: A971007

Effective date: 20111102

A131 Notification of reasons for refusal

Free format text: JAPANESE INTERMEDIATE CODE: A131

Effective date: 20111206

A521 Written amendment

Free format text: JAPANESE INTERMEDIATE CODE: A523

Effective date: 20120203

A02 Decision of refusal

Free format text: JAPANESE INTERMEDIATE CODE: A02

Effective date: 20120321