JP2008267536A - コルゲイト管用継手装置 - Google Patents
コルゲイト管用継手装置 Download PDFInfo
- Publication number
- JP2008267536A JP2008267536A JP2007113602A JP2007113602A JP2008267536A JP 2008267536 A JP2008267536 A JP 2008267536A JP 2007113602 A JP2007113602 A JP 2007113602A JP 2007113602 A JP2007113602 A JP 2007113602A JP 2008267536 A JP2008267536 A JP 2008267536A
- Authority
- JP
- Japan
- Prior art keywords
- joint body
- corrugate
- pipe
- corrugated pipe
- tip
- Prior art date
- Legal status (The legal status is an assumption and is not a legal conclusion. Google has not performed a legal analysis and makes no representation as to the accuracy of the status listed.)
- Pending
Links
- 238000007789 sealing Methods 0.000 claims abstract description 10
- 239000003566 sealing material Substances 0.000 claims description 22
- 239000000463 material Substances 0.000 claims description 13
- 239000012530 fluid Substances 0.000 claims description 5
- 238000003825 pressing Methods 0.000 abstract description 5
- 239000000565 sealant Substances 0.000 abstract 5
- 230000002093 peripheral effect Effects 0.000 description 5
- 239000002184 metal Substances 0.000 description 3
- 230000004308 accommodation Effects 0.000 description 2
- 230000009471 action Effects 0.000 description 2
- 230000015572 biosynthetic process Effects 0.000 description 2
- 238000000034 method Methods 0.000 description 2
- 230000004048 modification Effects 0.000 description 2
- 238000012986 modification Methods 0.000 description 2
- 230000008569 process Effects 0.000 description 2
- 230000008878 coupling Effects 0.000 description 1
- 238000010168 coupling process Methods 0.000 description 1
- 238000005859 coupling reaction Methods 0.000 description 1
- 238000002788 crimping Methods 0.000 description 1
- 238000007689 inspection Methods 0.000 description 1
- 230000004044 response Effects 0.000 description 1
- 229910001220 stainless steel Inorganic materials 0.000 description 1
- 239000010935 stainless steel Substances 0.000 description 1
Images
Landscapes
- Joints That Cut Off Fluids, And Hose Joints (AREA)
Abstract
【課題】コルゲイト管用継手装置において、コルゲイト管を確実にかしめ処理して十分なシール性能を確保できるようにする。
【解決手段】筒状の継手本体11の内部に環状のシール材27が配置されている。継手本体11の内部にコルゲイト管18が挿入されている。継手本体11の内部に挿入された押輪23と継手本体11の内部に設けられた段部16との間でコルゲイト管18の先端部が管軸方向に潰されるようにかしめられることで、コルゲイト管18の先端にシール部26が形成されている。シール部26は、押輪23により押されることでシール材27に圧接される。シール材27に、押輪23によりかしめられる前のコルゲイト管18の先端部がシール材27に接触したときにシール材27とコルゲイト管18の先端部との間がシールされないようにする溝部31が形成されている。
【選択図】図1
【解決手段】筒状の継手本体11の内部に環状のシール材27が配置されている。継手本体11の内部にコルゲイト管18が挿入されている。継手本体11の内部に挿入された押輪23と継手本体11の内部に設けられた段部16との間でコルゲイト管18の先端部が管軸方向に潰されるようにかしめられることで、コルゲイト管18の先端にシール部26が形成されている。シール部26は、押輪23により押されることでシール材27に圧接される。シール材27に、押輪23によりかしめられる前のコルゲイト管18の先端部がシール材27に接触したときにシール材27とコルゲイト管18の先端部との間がシールされないようにする溝部31が形成されている。
【選択図】図1
Description
本発明はコルゲイト管用継手装置に関する。
ガス配管などにおいて、薄肉の金属製のコルゲイト管が多用されている。このコルゲイト管をガス機器や他の配管と接続するために、コルゲイト管用継手装置が用いられている(特許文献1)。
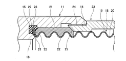
図8は、このようなコルゲイト管用継手装置の一例を示す。ここで、11は金属製の筒状の継手本体であり、その先端に設けられた外ねじ部12によってガス配管などの他部材13に接合されている。継手本体11における、外ねじ部12が形成された部分とは反対側の部分の開口端の内周には、内ねじ部14が形成されている。そして、内ねじ部14よりも奥側における継手本体11の内周には、シール材収容溝15と、このシール材収容溝15よりも径方向の内側の位置に形成された段部16とが形成されている。17は段部16の端面で、径方向に形成されている。
継手本体11の内部には、コルゲイト管18の端部が挿入されている。このコルゲイト管18は、薄肉ステンレスなどによって蛇腹状に形成されており、管軸方向に沿って複数の山部19と谷部20とが交互に設けられた構成となっている。
継手本体11の内部において、コルゲイト管18には金属製の環状のリテーナ21が外ばめされている。このリテーナ21は、周方向に沿って複数に分割された構成であるとともに、その内周には、コルゲイト管18の山部19と谷部20とに沿った形状の凹凸部22が形成されている。
継手本体11の内ねじ部14には、金属製の筒状の押輪23の先端に形成された外ねじ部24がねじ合わされている。押輪23は、コルゲイト管18に外ばめされた状態で配置されるとともに、外ねじ部24が形成された先端部25が、継手本体11の内部に入り込んで、リテーナ21を継手本体11の奥側に向けて押圧している。
リテーナ21は、コルゲイト管18の先端の一つの山部19が継手本体11の奥側に突出する状態でこのコルゲイト管18に外ばめされ、押輪23の外ねじ部24が継手本体11の内ねじ部14にねじ合わされることで先端部25が継手本体11の内部に挿入されたときに、この先端部25に押されて、図示のように継手本体11の段部16の端面17との間に先端の山部19を挟み込んで管軸方向に潰すようにかしめることが可能である。
このようにかしめられることで、コルゲイト管18の先端には平滑なシール部26が形成される。継手本体11の収容部15にはOリングなどを利用したゴム製の環状のシール材27が収容されており、リテーナ21によってシール部26がシール材27に圧接されることで、継手本体11とコルゲイト管18との間がシールされている。また、コルゲイト管18がリテーナ21によって保持され、かつリテーナ21が押輪23によって押圧されることで、コルゲイト管18が継手本体11に固定されている。
このような継手装置を構成するときには、図7に示すように、継手本体11の収容部15にシール材27を収容したうえで、谷部20においてカットされたコルゲイト管18の先端の一つの山部19を突出させた状態でこのコルゲイト管18にリテーナ21を外ばめし、その状態のリテーナ21とコルゲイト管18とをともに継手本体11の内部に挿入する。次に、あらかじめコルゲイト管18に外ばめしておいた押輪23を継手本体11に接近させ、その外ねじ部24を継手本体11の内ねじ部14にねじ合わせる。すると、図示のように押輪23の先端部25がリテーナ21を継手本体11の奥側に押し込み、それにつれてコルゲイト管18も継手本体11の奥側に押し込まれて、その先端の谷部20が継手本体11の段部16の端面17に当たる。このとき、リテーナ21から突出したコルゲイト管18の先端の山部19は、シール材27に軽く接する。図7は、このときの状態を示す。
この状態からさらに押輪23の外ねじ部24を継手本体11の内ねじ部14にねじ込むと、図8に示すように段部16とリテーナ21との間でコルゲイト管18の先端の山部19が管軸方向に潰されるようにかしめられ、これによってシール部26が形成される。かつ、それとともにリテーナ21がシール部26をシール材27に向けて押圧し、それによってコルゲイト管18と継手本体11との間がシールされる。かつ、上述のようにコルゲイト管18がリテーナ21によって保持され、またリテーナ21が押輪23によって押圧されることで、コルゲイト管18が継手本体11に固定される。
特開平6−241367号公報
押輪23のねじ込み操作によって図7に示すようにコルゲイト管18の先端の谷部20が継手本体11の段部16の端面17に当たると、作業者はそれによる手応えを感じる。また、このときに先端の山部19がシール材27に軽く接するため、漏れ確認を行うと漏れが生じないことが多い。このため、このようなコルゲイト管18の先端の谷部20が継手本体11の段部16に当たっただけのいわば仮締めの状態でも、作業者によって図8に示す本締めが完了したと誤って判断されてしまうことが起り得る。
すると、図7に示されるのはあくまで仮締めの状態であるため、そのまま放置すると漏れが発生しやすいという課題がある。
そこで本発明はこのような課題を解決して、コルゲイト管用継手装置においてコルゲイト管を確実にかしめ処理して十分なシール性能を確保できるようにすることを目的とする。
そこで本発明はこのような課題を解決して、コルゲイト管用継手装置においてコルゲイト管を確実にかしめ処理して十分なシール性能を確保できるようにすることを目的とする。
この目的を達成するため本発明は、筒状の継手本体の内部に環状のシール材が配置され、前記継手本体の内部にコルゲイト管が挿入され、前記継手本体の内部に挿入された押輪と継手本体の内部に設けられた段部との間でコルゲイト管の先端部が管軸方向に潰されるようにかしめられることで、コルゲイト管の先端に、押輪により押されることでシール材に圧接されるシール部が形成され、前記シール材に、押輪によりかしめられる前のコルゲイト管の先端部がこのシール材に接触したときにこのシール材とコルゲイト管の先端部との間がシールされないようにする流体通路が形成されているようにしたものである。
このような構成であると、コルゲイト管の先端がシール材に当たっただけで、かしめ処理によるシール部の形成とシール材へのシール部の押圧とがなされていない作業未完了の場合には、流体通路によって漏れが発生するため、その未完了であることが確実に検知される。このため、その後にかしめ処理がされなくなるような事態の発生を防止できて、十分なシール性能を確保することができる。
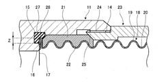
図1および図2に示すように、Oリングを用いたシール材27における内周側の部分に、流体通路としての、シール材27の軸心方向の溝部31が形成されている。図1に示すようにコルゲイト管18の先端の谷部20が継手本体11の段部16に当たり、かつリテーナ21から突出したコルゲイト管18の先端の山部19がシール材27に軽く接した仮締めの状態において、溝部31は、コルゲイト管18におけるシール材27に接している部分の内外を連通させる。この溝部31は、シール材27の周方向に沿った1箇所以上に形成することができる。
このようなものであると、図1に示す仮締めの状態では、継手本体11の段部16の端面17とコルゲイト管18の端面とは単に接触しているだけであるのでシール状態ではなく、また流体通路としての溝部31が存在することによってコルゲイト管18とシール材27との間もシール状態とはなっていない。
このため、漏れ試験を行うと必ず漏れが発生し、それによって継手本体11へのコルゲイト管18の接合作業が未完了であることが検知される。
このとき、図1に示すように、シール材27の内周縁から、コルゲイト管18の山部19とシール材27との接触部における最大径の位置までの距離をXとし、また図2に示すように、シール材27の内周縁から、シール材27におけるコルゲイト管18が接している部分での溝部31の形成端部までの径方向距離をYとすると、漏れを発生させるためには、
X < Y
であることが必要である。
X < Y
であることが必要である。
溝部31の横断面形状は、図2および図3に示すように、矩形状すなわち角張った形状とすることができる。あるいは、図4に示すように、角のない滑らかな横断面形状とすることもできる。
図1に示す状態から、押輪23のねじ込みによってコルゲイト管18の先端の山部19を潰すようにかしめてシール部26を形成すると、図5に示す状態となる。このとき、シール部26は、かしめにより径方向の外向きに広がるように変形を受け、それによって、シール部26の外径はコルゲイト管18の山部19の外径よりも大きくなる。その結果、リテーナ21によってシール部26をシール材27に押し付けたときには、このシール部26によって溝部31を塞ぐことができ、したがって所期の確実なシールを達成することができる。
詳細には、図5に示すように、シール部26をシール材27に押し付けたときにおけるシール材27の内周縁からシール部26の外周縁までの径方向距離をZとすると、溝部31の横断面形状が図2や図3に示すように矩形状である場合には、
X < Y < Z
であることにより、漏れの検査と、その後の確実なシール機能の発揮とを行うことができる。
X < Y < Z
であることにより、漏れの検査と、その後の確実なシール機能の発揮とを行うことができる。
ただし、溝部31の横断面形状が図4に示すように角がなく滑らかである場合には、シール部26をシール材27に押し付けたときに、その力によって溝部31が埋められてしまうため、
X < Z < Y
であっても、漏れを検査した後に確実にシール機能を発揮させることができる場合もある。
X < Z < Y
であっても、漏れを検査した後に確実にシール機能を発揮させることができる場合もある。
継手本体11における段部16は、上述のような径方向の端面17を有したものである代わりに、図6に示すように構成されていてもよい。すなわち、図6においては、段部16におけるコルゲイト管18の先端が当たる部分に、このコルゲイト管18の先端が径方向外向きに乗り上げ可能なテーパ面32が形成されている。これに対応して、リテーナ21には、段部16のテーパ面32に向かい合うテーパ面33が形成されている。
このような構成であると、リテーナ21によってコルゲイト管18の先端の山部19を段部16に押し付けて管軸方向に潰すようにかしめると、テーパ面32の作用によってシール部26が径方向の外向きに広がりやすい。このため、シール部26を大きな外径で形成することができ、溝部31を確実に塞ぐことが可能となる。また、リテーナ21に、段部16のテーパ面32に向かい合うテーパ面33が形成されているため、これらテーパ面32、33どうしの間への挟み込み作用によってシール部26を容易かつ確実に形成することができる。
11 継手本体
15 シール材収容部
16 段部
18 コルゲイト管
19 山部
21 リテーナ
23 押輪
26 シール部
27 シール材
31 溝部
15 シール材収容部
16 段部
18 コルゲイト管
19 山部
21 リテーナ
23 押輪
26 シール部
27 シール材
31 溝部
Claims (1)
- 筒状の継手本体の内部に環状のシール材が配置され、前記継手本体の内部にコルゲイト管が挿入され、前記継手本体の内部に挿入された押輪と継手本体の内部に設けられた段部との間でコルゲイト管の先端部が管軸方向に潰されるようにかしめられることで、コルゲイト管の先端に、押輪により押されることでシール材に圧接されるシール部が形成され、前記シール材に、押輪によりかしめられる前のコルゲイト管の先端部がこのシール材に接触したときにこのシール材とコルゲイト管の先端部との間がシールされないようにする流体通路が形成されていることを特徴とするコルゲイト管用継手装置。
Priority Applications (1)
| Application Number | Priority Date | Filing Date | Title |
|---|---|---|---|
| JP2007113602A JP2008267536A (ja) | 2007-04-24 | 2007-04-24 | コルゲイト管用継手装置 |
Applications Claiming Priority (1)
| Application Number | Priority Date | Filing Date | Title |
|---|---|---|---|
| JP2007113602A JP2008267536A (ja) | 2007-04-24 | 2007-04-24 | コルゲイト管用継手装置 |
Publications (1)
| Publication Number | Publication Date |
|---|---|
| JP2008267536A true JP2008267536A (ja) | 2008-11-06 |
Family
ID=40047291
Family Applications (1)
| Application Number | Title | Priority Date | Filing Date |
|---|---|---|---|
| JP2007113602A Pending JP2008267536A (ja) | 2007-04-24 | 2007-04-24 | コルゲイト管用継手装置 |
Country Status (1)
| Country | Link |
|---|---|
| JP (1) | JP2008267536A (ja) |
Cited By (2)
| Publication number | Priority date | Publication date | Assignee | Title |
|---|---|---|---|---|
| JP2018066477A (ja) * | 2017-12-22 | 2018-04-26 | 株式会社サンコー | フレキ管継手 |
| JP2019203532A (ja) * | 2018-05-22 | 2019-11-28 | 光陽産業株式会社 | フレキシブル管用継手 |
Citations (2)
| Publication number | Priority date | Publication date | Assignee | Title |
|---|---|---|---|---|
| JP2001208260A (ja) * | 1999-11-18 | 2001-08-03 | Osaka Gas Co Ltd | フレキシブルチューブ用ワンタッチ継手 |
| JP2005325933A (ja) * | 2004-05-14 | 2005-11-24 | Nakano Seisakusho:Kk | フレキシブルメタルホースの端末構造 |
-
2007
- 2007-04-24 JP JP2007113602A patent/JP2008267536A/ja active Pending
Patent Citations (2)
| Publication number | Priority date | Publication date | Assignee | Title |
|---|---|---|---|---|
| JP2001208260A (ja) * | 1999-11-18 | 2001-08-03 | Osaka Gas Co Ltd | フレキシブルチューブ用ワンタッチ継手 |
| JP2005325933A (ja) * | 2004-05-14 | 2005-11-24 | Nakano Seisakusho:Kk | フレキシブルメタルホースの端末構造 |
Cited By (2)
| Publication number | Priority date | Publication date | Assignee | Title |
|---|---|---|---|---|
| JP2018066477A (ja) * | 2017-12-22 | 2018-04-26 | 株式会社サンコー | フレキ管継手 |
| JP2019203532A (ja) * | 2018-05-22 | 2019-11-28 | 光陽産業株式会社 | フレキシブル管用継手 |
Similar Documents
| Publication | Publication Date | Title |
|---|---|---|
| RU2659946C2 (ru) | Фитинг для монтажа на резьбовом присоединении трубы и способ монтажа фитинга на резьбовом присоединении трубы | |
| JP3619779B2 (ja) | 樹脂製管継手 | |
| JP5873833B2 (ja) | 管接続装置 | |
| JP4929005B2 (ja) | フレキシブル管用継手のシール方法およびシール構造 | |
| EP3249276B1 (en) | Resin pipe joint structure | |
| WO2014181589A1 (ja) | インナーリング | |
| KR20160024847A (ko) | 관 접속 장치 | |
| JP7045684B2 (ja) | 管継手 | |
| JP5269178B2 (ja) | 管継手の組立て方法 | |
| JP2006266326A (ja) | 管継手 | |
| JP2010223347A (ja) | 樹脂管継手 | |
| JP4178413B2 (ja) | 差込式管継手 | |
| JP2008267536A (ja) | コルゲイト管用継手装置 | |
| JP2006266345A (ja) | 差込式管継手 | |
| US20070013189A1 (en) | Sealing fitting for stainless steel tubing | |
| JP5105947B2 (ja) | コルゲイト管用継手装置 | |
| JP4564427B2 (ja) | 金属管と管継手との接続構造 | |
| JP7096894B2 (ja) | 蛇腹管連結装置、及びその結合方法 | |
| JP4324565B2 (ja) | 二重管継手 | |
| JPH0262498A (ja) | 管継手 | |
| JP4436489B2 (ja) | フレキシブルチューブ用継手 | |
| KR102256443B1 (ko) | 주름관 연결 장치 및 그 결합 방법 | |
| JP2002276874A (ja) | フレキシブルチューブ用継手 | |
| KR20210058793A (ko) | 주름관 연결 장치 및 그 결합 방법 | |
| JP2007092830A (ja) | 管継手 |
Legal Events
| Date | Code | Title | Description |
|---|---|---|---|
| A621 | Written request for application examination |
Effective date: 20100421 Free format text: JAPANESE INTERMEDIATE CODE: A621 |
|
| A977 | Report on retrieval |
Effective date: 20120119 Free format text: JAPANESE INTERMEDIATE CODE: A971007 |
|
| A131 | Notification of reasons for refusal |
Free format text: JAPANESE INTERMEDIATE CODE: A131 Effective date: 20120124 |
|
| A02 | Decision of refusal |
Free format text: JAPANESE INTERMEDIATE CODE: A02 Effective date: 20120529 |