JP2008255603A - Pile method for excavated pile under low head limit - Google Patents

Pile method for excavated pile under low head limit Download PDF

Info

Publication number
JP2008255603A
JP2008255603A JP2007097128A JP2007097128A JP2008255603A JP 2008255603 A JP2008255603 A JP 2008255603A JP 2007097128 A JP2007097128 A JP 2007097128A JP 2007097128 A JP2007097128 A JP 2007097128A JP 2008255603 A JP2008255603 A JP 2008255603A
Authority
JP
Japan
Prior art keywords
pile
pile body
auger
machine
screw
Prior art date
Legal status (The legal status is an assumption and is not a legal conclusion. Google has not performed a legal analysis and makes no representation as to the accuracy of the status listed.)
Pending
Application number
JP2007097128A
Other languages
Japanese (ja)
Inventor
Masanobu Toda
正信 戸田
Takushi Kimura
拓史 木村
Naoyuki Iwanaga
直幸 岩永
Koji Tomita
廣司 冨田
Current Assignee (The listed assignees may be inaccurate. Google has not performed a legal analysis and makes no representation or warranty as to the accuracy of the list.)
OOBU INDUSTRY CORP
Kowa Co Ltd
Toda Corp
Kouwa Co Ltd
Original Assignee
OOBU INDUSTRY CORP
Kowa Co Ltd
Toda Corp
Kouwa Co Ltd
Priority date (The priority date is an assumption and is not a legal conclusion. Google has not performed a legal analysis and makes no representation as to the accuracy of the date listed.)
Filing date
Publication date
Application filed by OOBU INDUSTRY CORP, Kowa Co Ltd, Toda Corp, Kouwa Co Ltd filed Critical OOBU INDUSTRY CORP
Priority to JP2007097128A priority Critical patent/JP2008255603A/en
Publication of JP2008255603A publication Critical patent/JP2008255603A/en
Pending legal-status Critical Current

Links

Images

Landscapes

  • Placing Or Removing Of Piles Or Sheet Piles, Or Accessories Thereof (AREA)
  • Earth Drilling (AREA)

Abstract

【課題】低空頭制限のある施工条件下で、中掘杭を効率的に施工でき、かつ一時的な退避等が適時要求される条件でも施工が可能な中掘杭の打設方法を提供する。
【解決手段】ガイドセル12に、杭体の外周を把持し前記杭体を軸芯回りに回転させる全周式回転装置13を昇降自在に設けたクローラ式回転圧入式杭打ち機1と、可動式アーム先端にオーガー回転駆動装置22を保持させると共に、このオーガー回転駆動装置22に対してオーガースクリュー23が接続されたオーガー削孔機2と、自走式クレーン重機3と、所定長さ毎に分割された杭体4,4…と、前記オーガースクリュー23に接続可能とされる複数の継足し用スクリューロッド5,5…とを施工現場に持ち込み、前記クローラ式回転圧入式杭打ち機1と前記オーガー削孔機2とを連携させながら中掘杭の施工を行う。
【選択図】図4
An object of the present invention is to provide a method for placing an underground excavation pile that can efficiently construct an excavation pile under construction conditions with a low head limit and that can be executed even under conditions that require temporary evacuation. .
A crawler-type rotary press-fitting pile driving machine 1 is provided with a guide cell 12 that is provided with an all-around rotating device 13 that grips the outer periphery of the pile body and rotates the pile body around an axis, and is movable. An auger drilling machine 2 having an auger screw 23 connected to the auger rotation driving device 22, a self-propelled crane heavy machine 3, and a predetermined length. The divided pile bodies 4, 4... And a plurality of extension screw rods 5, 5... That can be connected to the auger screw 23 are brought to the construction site, and the crawler type rotary press-fitting pile driving machine 1. While linking the auger drilling machine 2 with the auger drilling machine 2, construction of the excavated pile is performed.
[Selection] Figure 4

Description

本発明は、低空頭制限のある施工条件及び一時的な退避等が適時要求される条件下でも、中掘杭を効率的に施工可能とした杭の打設方法に関する。   The present invention relates to a pile driving method capable of efficiently constructing an underground excavation pile even under a construction condition with a low head restriction and a condition where temporary evacuation is required in a timely manner.

建築構造物や土木構造物の基礎施工に当たっては、上空に構造物が存在するため、施工空間の狭い場所で杭の打設工事が余儀無くされることがある。このような低空頭制限のある施工条件で、杭の打設工事を可能とした杭打設方法が種々提案されている。   In the foundation construction of a building structure or a civil engineering structure, since there is a structure in the sky, a pile driving work may be forced in a narrow construction space. Various pile placing methods that enable pile construction under such construction conditions with low head restrictions have been proposed.

例えば、下記特許文献1では、回転して土を掘削するオーガーを、杭体の下端に着脱自在に装着し、前記杭体の外周を掴んで回転圧入を行う回転圧入機により、前記杭体を回転させると共に、前記オーガーを一体的に随転させることにより、土を掘削して前記杭体を土中に圧入し、前記杭体の圧入完了後、前記オーガーを前記杭体内から回収するようにした基礎の築造方法が提案されている。   For example, in the following Patent Document 1, an auger that rotates and excavates soil is detachably attached to the lower end of a pile body, and the pile body is removed by a rotary press machine that grips the outer periphery of the pile body and performs rotary press-fitting. Rotating and integrally rotating the auger to excavate soil and press-fit the pile body into the soil, and after the press-fit of the pile body is completed, the auger is recovered from the pile body Proposed methods for building foundations have been proposed.

また、下記特許文献2では、プラットホームに開口を形成し、地盤面にスタンドパイプを設置し、駆動装置を設置する。そして、傾倒式リーダを有するリバースサーキュレーション掘削機を設置し、天井を有する囲いを設置し、リバースサーキュレーションホースを連結して掘削を開始し、予めホームの下に準備しておいた短尺ロッドを継ぎ足して所要の深度まで掘削し、所定の深度に達したところで、前記駆動装置を引き上げてロッドの連結を解除して回収する低空頭空間における穴の掘削方法が提案されている。   Moreover, in the following Patent Document 2, an opening is formed in the platform, a stand pipe is installed on the ground surface, and a driving device is installed. Then, install a reverse circulation excavator with a tilt-type leader, install an enclosure with a ceiling, connect a reverse circulation hose and start excavation. A drilling method for a hole in a low head space has been proposed in which a drilling is carried out to a required depth and a predetermined depth is reached.

更に、下記特許文献3では、 クローラ形式の重機に短尺なリーダマストを起伏自在に設け、左右にシリンダーによる昇降脚を設けた駆動装置に筒状回転軸を下方が少し下側に出るようにして上下に貫通するように立上げ、この駆動装置を前記リーダマストのリーダに昇降自在に係合させ、オーガ軸等の掘削軸に形成した把持ドラムを前記筒状回転軸内周に係止可能とした掘削機が提案されている。この掘削機は、前記短尺なリーダーマストを昇降する駆動装置で、筒状回転軸が上下に往復運動することに伴い、尺取り虫式に掘削軸を地盤に送り込み、または引き上げるものである。
特開平2−58626号公報 特開2007−39921号公報 特許第2645976号公報
Further, in Patent Document 3 below, a short leader mast is provided in a crawler type heavy machine so that it can be raised and lowered, and a cylindrical rotating shaft is protruded downward slightly to a drive device provided with lifting legs by cylinders on the left and right. The drive device is raised so as to penetrate vertically, and this drive device is engaged with the leader of the leader mast so as to be movable up and down, and a grip drum formed on an excavating shaft such as an auger shaft can be locked to the inner periphery of the cylindrical rotating shaft. Excavators have been proposed. This excavator is a drive device that moves up and down the short leader mast, and feeds or lifts the excavating shaft to the ground in a scaled insect type as the cylindrical rotary shaft reciprocates up and down.
Japanese Patent Laid-Open No. 2-58626 JP 2007-39921 A Japanese Patent No. 2645976

しかしながら、上記特許文献1、2記載の杭の打設方法は、回転圧入機又はリバースサーキュレーション掘削機が定置式であるため、基礎コンクリートの設置やH鋼架台の設置などが必要になるとともに、一時的な退避等が適時要求される施工条件の場合は、施工機器類の移動(退避)のために施工効率が著しく低下するなどの問題がある。さらに、杭内部の土砂はすべて泥水状となり、産業廃棄物扱いとなるため泥水処理設備が必要で、産廃処理費が嵩むなどの問題がある。   However, the pile placing method described in Patent Documents 1 and 2 above requires the installation of foundation concrete or the installation of an H steel frame because the rotary press-fitting machine or the reverse circulation excavator is stationary. In the case of construction conditions where temporary evacuation or the like is required in a timely manner, there is a problem that construction efficiency is remarkably lowered due to movement (evacuation) of construction equipment. Furthermore, all the soil inside the pile is in the form of muddy water, which is treated as industrial waste, so there is a problem that a muddy water treatment facility is required and industrial waste treatment costs increase.

これらに対して、上記特許文献3記載の掘削機は、クローラ形式の掘削機を使用するため、一時的な退避等が容易に行える利点を有する。しかし、掘削機が特殊な構造であるため、特注製作しなければならず、汎用性が乏しい。また、掘削土砂が産業廃棄物扱いとなるため泥水処理設備が必要で、産廃処理費が嵩むなどの問題がある。   On the other hand, since the excavator described in Patent Document 3 uses a crawler excavator, there is an advantage that temporary retreat can be easily performed. However, since the excavator has a special structure, it has to be custom-made, and its versatility is poor. Further, since the excavated earth and sand are handled as industrial waste, a muddy water treatment facility is required, and there is a problem that industrial waste treatment costs increase.

一方、杭形式にも種々のものが存在するが、杭形式の中で、中掘工法と呼ばれる杭形式が存在する。この工法は、杭の内部にオーガスクリューを挿入した杭を建込み、オーガで掘削・排土を行いながら、杭を支持地盤まで挿入した後、杭先端にビットノズルからセメントミルクを噴射して拡大球根を築造するものである。同工法によれば、騒音、振動などの問題が解消されるとともに、掘削時に安定液を使用しないため、排土が産業廃棄物とならず、産廃処理費が低減できるなどの利点を有する。   On the other hand, there are various types of piles, but among the pile types, there is a pile type called the medium excavation method. In this method, a pile with an auger screw inserted is built inside the pile, and after excavating and discharging with the auger, the pile is inserted to the support ground, and then cement milk is injected from the bit nozzle to the pile tip to expand. Build a bulb. According to the construction method, problems such as noise and vibration are solved, and since no stabilizing liquid is used during excavation, there is an advantage that the waste soil does not become industrial waste and the industrial waste treatment cost can be reduced.

そこで本発明の主たる課題は、低空頭制限のある施工条件下で、中掘杭を効率的に施工でき、かつ一時的な退避等が適時要求される条件でも施工が可能な中掘杭の打設方法を提供することにある。   Therefore, the main problem of the present invention is that it is possible to efficiently construct an excavation pile under construction conditions with a low head limit, and to perform an excavation of an excavation pile that can be constructed even under conditions where temporary evacuation is required in a timely manner. It is to provide an installation method.

前記課題を解決するために請求項1に係る本発明として、可動式アームを備えるクローラ式自走重機をベースマシンとして、前記可動式アームにガイドセルを保持させると共に、このガイドセルに、杭体の外周を把持し前記杭体を軸芯回りに回転させる全周式回転装置を昇降自在に設けた回転圧入式杭打ち機と、可動式アームを備えるクローラ式自走重機をベースマシンとして、前記可動式アーム先端にオーガー回転駆動装置を保持させると共に、このオーガー回転駆動装置に対してオーガースクリューが接続されたオーガー削孔機と、自走式クレーン重機と、所定長さ毎に分割された杭体と、前記オーガースクリューに接続可能とされる複数の継足し用スクリューロッドとを施工現場に持ち込み、
前記回転圧入式杭打ち機を杭打設位置に位置決めしたならば、前記自走式クレーン重機により杭体を吊り込んで全周式回転装置に装着し、杭体に回転力を与えながら地盤に圧入する第1ステップと、
前記オーガー削孔機によりオーガースクリューを前記杭体内に回転貫入させて杭の中掘りを行う第2ステップと、
前記オーガースクリューを切り離し、中間に継足し用スクリューロッドを接続した後、前記杭体内に回転貫入させて杭の中掘りを行う第3ステップと、
前記自走式クレーン重機により次段の杭体を吊り込み、地盤に圧入済みの杭体上部に接続した後、全周式回転装置により杭体に回転力を与えながら地盤に圧入する第4ステップと、
前記オーガースクリューを切り離し、中間に継足し用スクリューロッドを接続した後、前記杭体内に回転貫入させて杭の中掘りを行う第5ステップと、
その後は、上記第4ステップ〜第5ステップを繰り返すことにより杭体とオーガースクリューとを地盤深さ方向に順次延長していくことを特徴とする低空頭制限下における中掘杭の打設方法が提供される。
In order to solve the above-mentioned problem, as the present invention according to claim 1, a crawler type self-propelled heavy machine having a movable arm is used as a base machine, the guide arm is held by the movable arm, and a pile body is provided on the guide cell. As a base machine, a rotary press-fit type pile driving machine provided with an all-round rotating device that can move up and down to rotate the pile body around an axis and a crawler type self-propelled heavy machine equipped with a movable arm as a base machine, An auger drilling machine with an auger screw connected to the auger rotation drive unit, a self-propelled crane heavy machine, and a pile divided into predetermined lengths. Bring the body and a plurality of extension screw rods that can be connected to the auger screw to the construction site,
When the rotary press-fitting pile driver is positioned at the pile driving position, the pile body is suspended by the self-propelled crane heavy machine and attached to the all-around rotating device, and the ground is applied to the ground while applying rotational force to the pile body. A first step of press fitting;
A second step in which the auger screw is rotated and penetrated into the pile body by the auger drilling machine, and the pile is dug;
A third step of cutting the auger screw, connecting the screw rod for extension in the middle, and then rotating and penetrating into the pile body to dig in the pile;
The fourth step of suspending the next-stage pile body with the self-propelled crane heavy machine, connecting it to the upper part of the pile body already press-fitted into the ground, and then press-fitting into the ground while applying rotational force to the pile body with an all-around rotating device When,
The fifth step of cutting the auger screw, connecting the screw rod for extension in the middle, and performing the digging in the pile by rotating and penetrating into the pile body;
After that, by repeating the above fourth step to the fifth step, the pile body and the auger screw are sequentially extended in the ground depth direction. Provided.

上記請求項1記載の発明では、主として、可動式アームを備えるクローラ式自走重機をベースマシンとした前記回転圧入式杭打ち機と、可動式アームを備えるクローラ式自走重機をベースマシンとした前記オーガー削孔機との連携によって、中掘杭の施工を行うようにしたものである。   In the first aspect of the invention, the rotary press-fitting pile driving machine using a crawler type self-propelled heavy machine having a movable arm as a base machine and the crawler type self-propelled heavy machine having a movable arm as a base machine are mainly used. By linking with the auger drilling machine, the construction of the digging pile is performed.

先ず、前記回転圧入式杭打ち機を構成する、可動式アームを備えるクローラ式自走重機はバックホーなどのベースマシンをそのまま使用することができ、かつ前記全周式回転装置は既製のものをそのまま使用することができるため、比較的簡易に製作することが可能である。また、前記オーガー削孔機は、可動式アームを備えるクローラ式自走重機は油圧ショベルなどのベースマシンをそのまま使用することができ、オーガー回転駆動装置は既製のものをそのまま使用することができるため、比較的簡易に製作することが可能である。前記回転圧入式杭打ち機、オーガー削孔機、補助重機として使用する自走式クレーン重機はすべて自走式であるため、機動性に優れ、一時的な退避等が適時要求される条件でも効率的に施工が可能である。   First, a crawler type self-propelled heavy machine with a movable arm that constitutes the rotary press-fitting pile driver can use a base machine such as a backhoe as it is, and the all-round rotating device is an off-the-shelf one. Since it can be used, it can be manufactured relatively easily. Further, the auger drilling machine can use a base machine such as a hydraulic excavator as it is for a crawler type self-propelled heavy machine having a movable arm, and an auger rotation drive device can be used as it is. It can be manufactured relatively easily. The self-propelled crane heavy machinery used as the rotary press-fitting pile driver, auger drilling machine, and auxiliary heavy machinery are all self-propelled, so they have excellent maneuverability and are efficient even under conditions where temporary evacuation is timely required. Construction is possible.

中掘杭の施工に当たって、所定長さ毎に分割された杭体の回転圧入作業は、前記回転圧入式杭打ち機が分担し、杭体内部の中掘り作業は前記オーガー削孔機により分担しながら、杭体を順次延長させながらの回転圧入作業と、継足し用スクリューロッドを順次継ぎ足しながらの中掘り作業とを交互に繰り返しながら中掘杭を所定の深さまで延長させていくため、低空頭制限のある施工条件下でも、中掘杭を効率的に施工することができる。   In the construction of medium piles, the rotary press-fitting work of piles divided into predetermined lengths is shared by the rotary press-fitting pile driver, and the internal excavation work inside the piles is shared by the auger drilling machine. However, the rotary press-fitting operation while sequentially extending the pile body and the intermediate digging operation while alternately adding the screw rod for extension are repeated alternately to extend the intermediate stake pile to a predetermined depth. Even under limited construction conditions, it is possible to construct the digging pile efficiently.

請求項2に係る本発明として、可動式アームを備えるクローラ式自走重機をベースマシンとして、前記可動式アームにガイドセルを保持させると共に、このガイドセルに、杭体の外周を把持し前記杭体を軸芯回りに回転させる全周式回転装置を昇降自在に設けた回転圧入式杭打ち機と、前記全周式回転装置によって把持可能とされるチャック用ドラムを上部側に備えるオーガースクリューと、自走式クレーン重機と、所定長さ毎に分割された杭体と、前記オーガースクリューの中間に接続可能とされる複数の継足し用スクリューロッドとを施工現場に持ち込み、
前記回転圧入式杭打ち機を杭打設位置に位置決めしたならば、前記自走式クレーン重機により杭体を吊り込んで全周式回転装置に装着し、杭体に回転力を与えながら地盤に圧入する第1ステップと、
前記自走式クレーン重機により前記オーガースクリューを吊り込み、前記全周式回転装置に対しチャック用ドラムを把持させるようにしながら装着し、前記杭体内に回転貫入させて杭の中掘りを行う第2ステップと、
前記オーガースクリューを切り離し、中間に継足し用スクリューロッドを接続した後、前記杭体内に回転貫入させて杭の中掘りを行う第3ステップと、
前記自走式クレーン重機により次段の杭体を吊り込み、貫入済みの杭体上部に接続した後、全周式回転装置により杭体に回転力を与えながら地盤に圧入する第4ステップと、
前記オーガースクリューを切り離し、中間に継足し用スクリューロッドを接続した後、前記杭体内に回転貫入させて杭の中掘りを行う第5ステップと、
その後は、上記第4ステップ〜第5ステップを繰り返すことにより杭体とオーガースクリューとを地盤深さ方向に順次延長していくことを特徴とする低空頭制限下における中掘杭の打設方法が提供される。
As a second aspect of the present invention, a crawler type self-propelled heavy machine including a movable arm is used as a base machine, and the movable arm holds a guide cell, and the guide cell holds an outer periphery of a pile body and the pile. A rotary press-fitting pile driving machine provided with an all-around rotating device for rotating the body around the axis thereof, and an auger screw having a chuck drum on the upper side that can be gripped by the all-around rotating device; In addition, a self-propelled crane heavy machine, a pile body divided into predetermined lengths, and a plurality of extension screw rods that can be connected between the auger screws are brought to the construction site,
When the rotary press-fitting pile driver is positioned at the pile driving position, the pile body is suspended by the self-propelled crane heavy machine and attached to the all-around rotating device, and the ground is applied to the ground while applying rotational force to the pile body. A first step of press fitting;
The auger screw is suspended by the self-propelled crane heavy machine, and is mounted while gripping the chuck drum with respect to the all-round rotating device, and is rotated and penetrated into the pile body to dig a pile. Steps,
A third step of cutting the auger screw, connecting the screw rod for extension in the middle, and then rotating and penetrating into the pile body to dig in the pile;
A fourth step of suspending the next-stage pile body by the self-propelled crane heavy machine, connecting it to the top of the pile body that has been penetrated, and press-fitting into the ground while applying rotational force to the pile body by an all-around rotation device;
The fifth step of cutting the auger screw, connecting the screw rod for extension in the middle, and performing the digging in the pile by rotating and penetrating into the pile body;
After that, by repeating the above fourth step to the fifth step, the pile body and the auger screw are sequentially extended in the ground depth direction. Provided.

上記請求項2記載の発明では、主として、可動式アームを備えるクローラ式自走重機をベースマシンとした前記回転圧入式杭打ち機によって、中掘杭の施工を行うようにしたものである。   According to the second aspect of the present invention, the construction of the digging pile is mainly performed by the rotary press-fitting pile driving machine using a crawler type self-propelled heavy machine having a movable arm as a base machine.

前記回転圧入式杭打ち機を構成する、可動式アームを備えるクローラ式自走重機はバックホーなどをそのまま使用することができ、前記全周式回転装置は既製のものをそのまま使用することができるため、比較的簡易に製作することが可能である。また、オーガースクリューについては、前記全周式回転装置によって把持可能とされるチャック用ドラムを上部側に備えるように改良を加えている。前記回転圧入式杭打ち機と、施工補助として使用する自走式クレーン重機とはすべて自走式であるため、機動性に優れ、一時的な退避等が適時要求される条件でも効率的に施工が可能である。   The crawler type self-propelled heavy machine having a movable arm constituting the rotary press-fitting pile driver can use a backhoe as it is, and the all-around rotary device can be used as it is. It can be manufactured relatively easily. Further, the auger screw is improved so as to be provided with a chuck drum on the upper side that can be gripped by the all-around rotating device. Since the rotary press-fitting pile driver and the self-propelled crane heavy machinery used as construction aids are all self-propelled, they are excellent in maneuverability and can be constructed efficiently even under conditions that require temporary evacuation etc. Is possible.

中掘杭の施工に当たっては、所定長さ毎に分割された杭体の回転圧入作業は、前記回転圧入式杭打ち機に行うと共に、杭体内部の中掘り作業は、前記回転圧入式杭打ち機に対してオーガースクリューをチャック用ドラムを把持させるようにしながら装着し、前記杭体内に回転貫入させて杭の中掘りを行うようにする。従って、前記回転圧入式杭打ち機によって、杭体を順次延長させながらの回転圧入作業と、継足し用スクリューロッドを順次継ぎ足しながらの中掘り作業とを交互に繰り返しながら、中掘り杭を所定の深さまで延長させていくため、低空頭制限のある施工条件下でも、中掘杭を効率的に施工することができる。   In the construction of the pile, the rotary press-in operation of the pile body divided into predetermined lengths is performed by the rotary press-in type pile driving machine, and the internal digging work inside the pile body is performed by the rotary press-in type pile driving. The auger screw is attached to the machine while gripping the chuck drum, and the pile is pierced into the pile body so as to dig the pile. Accordingly, the rotary press-fitting pile driving machine alternately repeats the rotary press-fitting operation while sequentially extending the pile body and the intermediate digging operation while sequentially adding the screw rods for extension. Because it is extended to the depth, it is possible to construct the excavated pile efficiently even under construction conditions with low head restrictions.

請求項3に係る本発明として、所定の深さ位置まで、前記杭体とオーガースクリューとを順次延長し終えたならば、所定の深さ位置まで、前記杭体とオーガースクリューとを延長し終えたならば、前記オーガースクリューの先端から固結体を噴射させて地盤と撹拌することにより根固め球根を築造した後、オーガースクリューを引き上げて回収する請求項1、2いずれかに記載の低空頭制限下における中掘杭の打設方法が提供される。   As the present invention according to claim 3, if the pile body and the auger screw are sequentially extended to the predetermined depth position, the extension of the pile body and the auger screw is completed to the predetermined depth position. The low sky head according to any one of claims 1 and 2, wherein after the auger screw is lifted up and collected after the solidified bulb is jetted from the tip of the auger screw and agitated with the ground, There is provided a method for placing the digging pile under restriction.

以上詳説のとおり本発明によれば、低空頭制限のある施工条件下で、中掘杭を効率的に施工できるとともに、施工機械の機動性に優れるため、一時的な退避等が適時要求される条件でも迅速に施工が可能となる。   As described above in detail, according to the present invention, it is possible to efficiently construct an excavated pile under construction conditions with a low head limit, and because it is excellent in the mobility of the construction machine, a temporary evacuation is required in a timely manner. Even under conditions, construction can be done quickly.

以下、本発明の実施の形態について図面を参照しながら詳述する。   Hereinafter, embodiments of the present invention will be described in detail with reference to the drawings.

〔第1形態例〕
本第1形態例では、可動式アームを備えるクローラ式自走重機をベースマシンとして、前記可動式アームにガイドセルを保持させると共に、このガイドセルに、杭体の外周を把持し前記杭体を軸芯回りに回転させる全周式回転装置を昇降自在に設けた回転圧入式杭打ち機1と、可動式アームを備えるクローラ式自走重機をベースマシンとして、前記可動式アーム先端にオーガー回転駆動装置を保持させると共に、このオーガー回転駆動装置に対してオーガースクリューが接続されたオーガー削孔機2と、自走式クレーン重機3と、所定長さ毎に分割された杭体4,4…と、前記オーガースクリューの中間に接続可能とされる複数の継足し用スクリューロッド5,5…とを用いて、中掘杭の施工を行うものである。
[First embodiment]
In the first embodiment, a crawler type self-propelled heavy machine having a movable arm is used as a base machine, and the movable arm holds a guide cell, and the guide cell holds an outer periphery of the pile body to hold the pile body. A rotary press-fitting pile driver 1 provided with an all-round rotating device that rotates around an axis of the shaft and a crawler self-propelled heavy machine having a movable arm as a base machine, and an auger rotating drive at the tip of the movable arm An auger drilling machine 2 in which an auger screw is connected to the auger rotation driving device, a self-propelled crane heavy machine 3, and pile bodies 4, 4. A plurality of extension screw rods 5, 5... That can be connected to the middle of the auger screw are used to construct the excavated pile.

前記回転圧入式杭打ち機1は、図1に示されるように、バックホーなどの可動式アーム11を備えるクローラ式自走重機10部分をベースマシンとして活用する。前記可動式アーム11には、ガイドセル12を保持させる。ガイドセル12は、脚部分12aが伸長式となっている。前記ガイドセル12を支持体として、杭体の外周を把持し前記杭体4を軸芯回りに回転させる全周式回転装置13を、図2に示されるように、油圧ジャッキ等(図示せず)によりガイドセル12に沿って昇降自在に設ける。そして、杭体4を地盤に対して、回転させながら圧入する場合は、図2に示されるように、前記全周式回転装置13により杭体4の外周を把持し、軸芯回りに回転させながら、全周式回転装置13を油圧ジャッキ等によりガイドセル12に沿って下降させる。下部まで達したならば、杭体4の把持を解放し、全周式回転装置13を上方まで移動させたならば、再度、杭体4の外周を把持して軸芯回りに回転させながら、全周式回転装置13を油圧ジャッキ等によりガイドセル12に沿って下降させる作業を繰り返すことにより行う。   As shown in FIG. 1, the rotary press-fitting pile driving machine 1 uses a crawler type self-propelled heavy machine 10 including a movable arm 11 such as a backhoe as a base machine. The movable arm 11 holds a guide cell 12. The guide cell 12 has a leg portion 12a that is extended. As shown in FIG. 2, an all-round rotating device 13 that holds the outer periphery of the pile body and rotates the pile body 4 around the axis center using the guide cell 12 as a support body, as shown in FIG. ) To be moved up and down along the guide cell 12. When the pile body 4 is pressed into the ground while being rotated, as shown in FIG. 2, the outer periphery of the pile body 4 is gripped by the all-around rotating device 13 and rotated around the axis. However, the all-around rotating device 13 is lowered along the guide cell 12 by a hydraulic jack or the like. If it reaches the lower part, the gripping of the pile body 4 is released, and if the all-around rotating device 13 is moved upward, the outer periphery of the pile body 4 is again gripped and rotated around the axis, This is performed by repeating the operation of lowering the all-around rotating device 13 along the guide cell 12 with a hydraulic jack or the like.

一方、前記オーガー削孔機2は、図3に示されるように、油圧ショベルなどの可動式アーム21を備えるクローラ式自走重機20部分をベースマシンとして活用し、可動式アーム21の先端に、オーガー回転駆動装置22を保持させ、このオーガー回転駆動装置22に対してオーガースクリュー23を接続したものである。オーガースクリュー23の先端には掘削ヘッド24が設けられている。この掘削ヘッド24は逆回転させることにより、拡幅ビットが突出する拡翼式のものを使用するのが望ましい。   On the other hand, as shown in FIG. 3, the auger drilling machine 2 uses a crawler type self-propelled heavy machine 20 portion having a movable arm 21 such as a hydraulic excavator as a base machine, and at the tip of the movable arm 21, The auger rotation drive device 22 is held and an auger screw 23 is connected to the auger rotation drive device 22. An excavation head 24 is provided at the tip of the auger screw 23. It is desirable to use a wing expansion type in which the widening bit protrudes by rotating the excavation head 24 in the reverse direction.

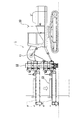
中掘杭の施工に当たっては、図4に示されるように、所定長さ毎に分割された杭体4,4…の回転圧入作業は、前記回転圧入式杭打ち機1が分担し、杭体内部の中掘り作業は前記オーガー削孔機2により分担する。そして、杭体4,4…を順次延長させながらの回転圧入作業と、継足し用スクリューロッド5,5…を順次継ぎ足しながらの中掘り作業とを交互に繰り返しながら中掘り杭を所定の深さまで延長させていく。   As shown in FIG. 4, the rotary press-fitting pile driving machine 1 shares the rotary press-fitting work of the pile bodies 4, 4... Divided into predetermined lengths, as shown in FIG. The internal digging work is shared by the auger drilling machine 2. Then, the rotary excavation work while sequentially extending the pile bodies 4, 4... And the intermediate excavation work while sequentially adding the screw rods 5, 5. I will extend it.

以下、図5〜図7に示される手順図に従って施工要領を説明する。
(ステップ1)
図5(A)に示されるように、前記回転圧入式杭打ち機1を杭打設位置に位置決めしたならば、前記自走式クレーン重機3により杭体4を吊り込んで全周式回転装置13に装着した後、図5(B)に示されるように、杭体4に回転力を与えながら地盤に圧入する。
Hereinafter, the construction procedure will be described with reference to the procedure diagrams shown in FIGS.
(Step 1)
As shown in FIG. 5 (A), when the rotary press-fitting pile driving machine 1 is positioned at the pile driving position, the self-propelled crane heavy machine 3 hangs the pile body 4 and turns it all around. After being attached to 13, as shown in FIG. 5 (B), the pile body 4 is pressed into the ground while applying a rotational force.

(ステップ2)
図5(C)に示されるように、前記オーガー削孔機2によりオーガースクリュー23を前記杭体4内に回転貫入させて杭の中掘りを行う。
(Step 2)
As shown in FIG. 5C, the auger drilling machine 2 rotates the auger screw 23 into the pile body 4 to dig up the pile.

(ステップ3)
図5(D)に示されるように、前記オーガースクリュー23のロッドを切り離し、中間に継足し用スクリューロッド5を接続した後、前記杭体内に回転貫入させて杭の中掘りを行う。
(Step 3)
As shown in FIG. 5D, after the rod of the auger screw 23 is cut off and the extension screw rod 5 is connected to the middle, the rod is rotated into the pile body and the pile is dug.

(ステップ4)
図5(E)に示されるように、前記自走式クレーン重機3により次段の杭体4を吊り込み、圧入済みの杭体4の上部に溶接等によって堅固に接続したならば、図5(F)に示されるように、全周式回転装置13により杭体4に回転力を与えながら地盤に圧入する。
(Step 4)
As shown in FIG. 5 (E), if the next-stage pile body 4 is suspended by the self-propelled crane heavy machine 3 and is firmly connected to the upper portion of the press-fitted pile body 4 by welding or the like, FIG. As shown in (F), the entire circumference rotating device 13 is pressed into the ground while applying a rotational force to the pile body 4.

(ステップ5)
図6(G)に示されるように、前記オーガースクリュー23のロッドを切り離し、中間に継足し用スクリューロッド5を接続した後、前記杭体4内に回転貫入させて杭の中掘りを行う。
(Step 5)
As shown in FIG. 6 (G), after the rod of the auger screw 23 is cut off and the extension screw rod 5 is connected to the middle, the rod is rotated into the pile body 4 and the pile is dug.

その後は、上記第4ステップ〜第5ステップを繰り返すことにより杭体4、4…とオーガースクリュー23、5…とを所定の深さ位置まで順次延長していく。そして、所定の深さ位置まで、前記杭体4,4…と、オーガースクリュー23,5…とを延長し終えたならば、杭端処理及び回収処理を下記ステップ6〜ステップ10の要領により行う。   After that, the pile bodies 4, 4... And the auger screws 23, 5. And if the said pile bodies 4,4 ... and the auger screw 23,5 ... have been extended to the predetermined depth position, a pile end process and collection | recovery process will be performed by the procedure of following step 6-step 10. .

(ステップ6)
図6(H)に示されるように、杭体4,4…の上端にヤットコ6を接続するとともに、ヤットコ6を前記全周式回転装置13で把持し、杭体4,4…を更に地盤に回転圧入する。
(Step 6)
As shown in FIG. 6 (H), the yatco 6 is connected to the upper ends of the pile bodies 4, 4,..., And the yatco 6 is gripped by the all-around rotating device 13, so that the pile bodies 4, 4,. Press-fit into.

(ステップ7)
次いで、図6(I)に示されるように、継足し用スクリューロッド5を継ぎ足し、逆回転させることにより、拡大ビットを拡翼させながら、所定の深さまで杭体4よりも大径の根固め部の拡大掘削を行う。
(Step 7)
Next, as shown in FIG. 6 (I), a screw rod 5 for extension is added and reversely rotated, so that the expansion bit is expanded and the diameter is larger than the pile body 4 to a predetermined depth. Enlarging the part.

(ステップ8)
図7(J)に示されるように、掘削ビット24からセメントミルクを噴射し、周辺地盤と撹拌することにより、根固め球根7を築造した後、オーガースクリュー23,5…を順次引上げながら回収する。
(Step 8)
As shown in FIG. 7 (J), cement milk is sprayed from the excavation bit 24 and stirred with the surrounding ground to build the root-solidifying bulb 7, and then the auger screws 23, 5. .

(ステップ9)
図7(K)に示されるように、先端支持力を確保するために、ヤットコ6を再度接続して、再圧入(0.7m程度)を行う。
(Step 9)
As shown in FIG. 7 (K), in order to secure the tip support force, the Yatco 6 is connected again and re-pressed (about 0.7 m).

(ステップ10)
図7(L)に示されるように、ヤットコ6を分離し次の杭打設位置まで移動する。
(Step 10)
As shown in FIG. 7 (L), the Yatco 6 is separated and moved to the next pile driving position.

〔第2形態例〕
次いで、図8〜図11に示す第2形態例は、前記オーガー削孔機2を用いずに、回転圧入式杭打ち機1によって杭の打設を行うようにしたものである。すなわち、オーガースクリュー8は、図8に示されるように、前記全周式回転装置13に把持可能とされるチャック用ドラム81を上部側に備えたものを使用し、前記全周式回転装置13に前記チャック用ドラム81を把持させるようにしながら装着し、オーガースクリュー8を杭体内に回転貫入することで、前記オーガー削孔機2を使用せずに中掘作業を施工可能としたものである。なお、前記チャック用ドラム81は杭体4とほぼ同径とするのが望ましく、該チャック用ドラム81を含むスクリューロッド部分は切り離し可能となっている。また、符合80はスイベルであり、先端には掘削ヘッド83が設けられている。
[Second embodiment]
Next, in the second embodiment shown in FIGS. 8 to 11, piles are driven by the rotary press-fitting pile driving machine 1 without using the auger drilling machine 2. That is, as shown in FIG. 8, the auger screw 8 uses a chuck drum 81 that can be gripped by the all-round rotating device 13 on the upper side, and the all-around rotating device 13. The chuck drum 81 is mounted while being gripped, and the auger screw 8 is rotated and penetrated into the pile body, so that the excavation work can be performed without using the auger drilling machine 2. . The chuck drum 81 preferably has substantially the same diameter as the pile body 4, and the screw rod portion including the chuck drum 81 can be separated. Reference numeral 80 denotes a swivel, and an excavation head 83 is provided at the tip.

以下、図9〜図11に示される手順図に従って施工要領を説明する。
(ステップ1)
図9(A)に示されるように、前記回転圧入式杭打ち機1を杭打設位置に位置決めしたならば、前記自走式クレーン重機3により杭体4を吊り込んで全周式回転装置13に装着した後、図9(B)に示されるように、杭体4に回転力を与えながら地盤に圧入する。
Hereinafter, the construction procedure will be described with reference to the procedure diagrams shown in FIGS.
(Step 1)
As shown in FIG. 9 (A), when the rotary press-fitting pile driving machine 1 is positioned at the pile driving position, the pile body 4 is suspended by the self-propelled crane heavy machine 3 and the all-round rotating device. After being attached to 13, as shown in FIG. 9B, the pile body 4 is press-fitted into the ground while applying a rotational force.

(ステップ2)
図9(C)に示されるように、オーガースクリュー8を前記全周式回転装置13に前記チャック用ドラム81を把持させるようにしながら装着し、オーガースクリュー8を前記杭体4内に回転貫入させて杭の中掘りを行う。
(Step 2)
As shown in FIG. 9 (C), the auger screw 8 is mounted while the chucking drum 81 is gripped by the all-around rotating device 13, and the auger screw 8 is rotated and penetrated into the pile body 4. Digging piles.

(ステップ3)
図9(D)に示されるように、前記オーガースクリュー8のロッドを切り離し、中間に継足し用スクリューロッド5を接続した後、前記杭体4内に回転貫入させて杭の中掘りを行う。
(Step 3)
As shown in FIG. 9 (D), after the rod of the auger screw 8 is cut off and the extension screw rod 5 is connected to the middle, it is rotated into the pile body 4 and the pile is dug.

(ステップ4)
オーガースクリュー8、5…のチャック用ドラム81を含むスクリューロッド部分を切り離した後、図9(E)に示されるように、前記自走式クレーン重機3により次段の杭体4を吊り込み、圧入済みの杭体4の上部に溶接等によって堅固に接続したならば、図9(F)に示されるように、全周式回転装置13により杭体4に回転力を与えながら地盤に圧入する。
(Step 4)
After the screw rod portion including the chuck drum 81 of the auger screws 8, 5... Is cut, the next-stage pile body 4 is suspended by the self-propelled crane heavy machine 3 as shown in FIG. If it is firmly connected to the upper part of the press-fitted pile body 4 by welding or the like, as shown in FIG. 9 (F), it is press-fitted into the ground while applying a rotational force to the pile body 4 by the all-around rotating device 13. .

(ステップ5)
図10(G)に示されるように、継足し用スクリューロッド5を接続するとともに、チャック用ドラム81を含むスクリューロッド部分を接続した後、全周式回転装置13により前記杭体4内に回転貫入させて杭の中掘りを行う。
(Step 5)
As shown in FIG. 10 (G), after connecting the extension screw rod 5 and connecting the screw rod portion including the chuck drum 81, it is rotated into the pile body 4 by the all-around rotating device 13. Penetration and digging in the pile.

その後は、上記第4ステップ〜第5ステップを繰り返すことにより杭体4、4…と、オーガースクリュー8、5…とを所定の深さ位置まで順次延長していく。そして、所定の深さ位置まで、前記杭体4,4…とオーガースクリュー8、5…とを延長し終えたならば、杭端処理及び回収処理を下記ステップ6〜ステップ10の要領により行う。   After that, by repeating the fourth to fifth steps, the pile bodies 4, 4,... And the auger screws 8, 5,. When the pile bodies 4, 4,... And the auger screws 8, 5,... Have been extended to a predetermined depth position, pile end processing and recovery processing are performed according to the following steps 6 to 10.

(ステップ6)
図10(H)に示されるように、杭体4,4…の上端にヤットコ6を接続するとともに、ヤットコ6を前記全周式回転装置13で把持し、杭体4,4…を更に地盤に回転圧入する。
(Step 6)
As shown in FIG. 10 (H), the yatco 6 is connected to the upper ends of the pile bodies 4, 4,..., And the yatco 6 is gripped by the all-around rotating device 13, so that the pile bodies 4, 4,. Press-fit into.

(ステップ7)
次いで、図10(I)に示されるように、継足し用スクリューロッド5を接続するとともに、チャック用ドラム81を含むスクリューロッド部分を接続した後、全周式回転装置13により把持し、逆回転させることにより、拡大ビットを拡翼させながら、所定の深さまで杭体4よりも大径の根固め部の拡大掘削を行う。
(Step 7)
Next, as shown in FIG. 10 (I), the extension screw rod 5 is connected and the screw rod portion including the chuck drum 81 is connected, and then gripped by the all-around rotating device 13 and rotated in the reverse direction. By doing so, the expanded excavation of the root-solidified portion having a diameter larger than that of the pile body 4 is performed to a predetermined depth while expanding the expansion bit.

(ステップ8)
図11(J)に示されるように、掘削ヘッド83からセメントミルクを噴射し、周辺地盤と撹拌することにより、根固め球根7を築造した後、オーガースクリュー8,5…を順次引上げながら回収する。
(Step 8)
As shown in FIG. 11 (J), cement milk is sprayed from the excavation head 83 and agitated with the surrounding ground to build the root-fixing bulb 7, and then the auger screws 8, 5,. .

(ステップ9)
図11(K)に示されるように、先端支持力を確保するために、ヤットコ6を再度接続して、再圧入(0.7m程度)を行う。
(Step 9)
As shown in FIG. 11 (K), in order to secure the tip support force, the Yatco 6 is connected again and re-pressed (about 0.7 m).

(ステップ10)
図11(L)に示されるように、ヤットコ6を分離し、次の杭打設位置まで移動する。
(Step 10)
As shown in FIG. 11 (L), the Yatco 6 is separated and moved to the next pile driving position.

〔他の形態例〕
(1)本発明に係る中掘杭の打設方法は、低空頭制限のある施工条件及び一時的な退避等が適時要求される条件下で最も好適な方法とされるが、このような条件がない場合でも適用が可能である。
[Other examples]
(1) The method for placing an underground stake according to the present invention is the most suitable method under conditions where construction conditions with low head restrictions and temporary evacuation are required in a timely manner. Even if there is no, it is possible to apply.

第1形態例及び第2形態例で使用する回転圧入式杭打ち機1の側面図である。It is a side view of the rotary press-fitting type pile driving machine 1 used in the first embodiment and the second embodiment. 回転圧入式杭打ち機1による全周式回転装置13の昇降状態図である。It is a raising / lowering state figure of the perimeter rotation apparatus 13 by the rotation press-fit type pile driving machine 1. FIG. 第1形態例で使用するオーガー削孔機2の側面図である。It is a side view of the auger drilling machine 2 used by the 1st form example. 回転圧入式杭打ち機1とオーガー削孔機2との連携による中掘杭の施工概念図である。It is a construction conceptual diagram of the underground excavation pile by cooperation with the rotary press-fitting type pile driving machine 1 and the auger drilling machine 2. 第1形態例における作業手順図(その1)である。It is a work procedure figure in the 1st form example (the 1). 第1形態例における作業手順図(その2)である。It is a work procedure figure in the 1st form example (the 2). 第1形態例における作業手順図(その3)である。It is a work procedure figure in the 1st form example (the 3). 第2形態例で使用するオーガースクリュー8の側面図である。It is a side view of the auger screw 8 used by the 2nd form example. 第2形態例における作業手順図(その1)である。It is a work procedure figure in the 2nd form example (the 1). 第2形態例における作業手順図(その2)である。It is a work procedure figure in the 2nd form example (the 2). 第2形態例における作業手順図(その3)である。It is a work procedure figure in the 2nd form example (the 3).

符号の説明Explanation of symbols

1…回転圧入式杭打ち機、2…オーガー削孔機、3…自走式クレーン重機、4…杭体、5…継足し用スクリューロッド、6…ヤットコ、7…根固め球根、8…オーガースクリュー、12…ガイドセル、13…全周式回転装置   DESCRIPTION OF SYMBOLS 1 ... Rotary press-fitting type pile driving machine, 2 ... Auger drilling machine, 3 ... Self-propelled crane heavy machine, 4 ... Pile body, 5 ... Extension screw rod, 6 ... Yatko, 7 ... Root-fixing bulb, 8 ... Auger Screw, 12 ... Guide cell, 13 ... All-around rotating device

Claims (3)

可動式アームを備えるクローラ式自走重機をベースマシンとして、前記可動式アームにガイドセルを保持させると共に、このガイドセルに、杭体の外周を把持し前記杭体を軸芯回りに回転させる全周式回転装置を昇降自在に設けた回転圧入式杭打ち機と、可動式アームを備えるクローラ式自走重機をベースマシンとして、前記可動式アーム先端にオーガー回転駆動装置を保持させると共に、このオーガー回転駆動装置に対してオーガースクリューが接続されたオーガー削孔機と、自走式クレーン重機と、所定長さ毎に分割された杭体と、前記オーガースクリューに接続可能とされる複数の継足し用スクリューロッドとを施工現場に持ち込み、
前記回転圧入式杭打ち機を杭打設位置に位置決めしたならば、前記自走式クレーン重機により杭体を吊り込んで全周式回転装置に装着し、杭体に回転力を与えながら地盤に圧入する第1ステップと、
前記オーガー削孔機によりオーガースクリューを前記杭体内に回転貫入させて杭の中掘りを行う第2ステップと、
前記オーガースクリューを切り離し、中間に継足し用スクリューロッドを接続した後、前記杭体内に回転貫入させて杭の中掘りを行う第3ステップと、
前記自走式クレーン重機により次段の杭体を吊り込み、地盤に圧入済みの杭体上部に接続した後、全周式回転装置により杭体に回転力を与えながら地盤に圧入する第4ステップと、
前記オーガースクリューを切り離し、中間に継足し用スクリューロッドを接続した後、前記杭体内に回転貫入させて杭の中掘りを行う第5ステップと、
その後は、上記第4ステップ〜第5ステップを繰り返すことにより杭体とオーガースクリューとを地盤深さ方向に順次延長していくことを特徴とする低空頭制限下における中掘杭の打設方法。
A crawler type self-propelled heavy machine having a movable arm is used as a base machine, and the movable arm holds the guide cell, and the guide cell holds the outer periphery of the pile body and rotates the pile body around the axis. Using a rotary press-fitting pile driver with a circumferential rotary device that can be moved up and down and a crawler self-propelled heavy machine with a movable arm as a base machine, an auger rotation drive device is held at the tip of the movable arm, and this auger An auger drilling machine to which an auger screw is connected to a rotary drive device, a self-propelled crane heavy machine, a pile body divided into predetermined lengths, and a plurality of extension units that can be connected to the auger screw. Bring the screw rod to the construction site,
When the rotary press-fitting pile driver is positioned at the pile driving position, the pile body is suspended by the self-propelled crane heavy machine and attached to the all-around rotating device, and the ground is applied to the ground while applying rotational force to the pile body. A first step of press fitting;
A second step in which the auger screw is rotated and penetrated into the pile body by the auger drilling machine, and the pile is dug;
A third step of cutting the auger screw, connecting the screw rod for extension in the middle, and then rotating and penetrating into the pile body to dig in the pile;
The fourth step of suspending the next-stage pile body with the self-propelled crane heavy machine, connecting it to the upper part of the pile body already press-fitted into the ground, and then press-fitting into the ground while applying rotational force to the pile body with an all-around rotating device When,
The fifth step of cutting the auger screw, connecting the screw rod for extension in the middle, and performing the digging in the pile by rotating and penetrating into the pile body;
Thereafter, by repeating the fourth step to the fifth step, the pile body and the auger screw are sequentially extended in the ground depth direction, and the method for placing the medium excavation pile under the low head restriction is characterized.
可動式アームを備えるクローラ式自走重機をベースマシンとして、前記可動式アームにガイドセルを保持させると共に、このガイドセルに、杭体の外周を把持し前記杭体を軸芯回りに回転させる全周式回転装置を昇降自在に設けた回転圧入式杭打ち機と、前記全周式回転装置によって把持可能とされるチャック用ドラムを上部側に備えるオーガースクリューと、自走式クレーン重機と、所定長さ毎に分割された杭体と、前記オーガースクリューの中間に接続可能とされる複数の継足し用スクリューロッドとを施工現場に持ち込み、
前記回転圧入式杭打ち機を杭打設位置に位置決めしたならば、前記自走式クレーン重機により杭体を吊り込んで全周式回転装置に装着し、杭体に回転力を与えながら地盤に圧入する第1ステップと、
前記自走式クレーン重機により前記オーガースクリューを吊り込み、前記全周式回転装置に対しチャック用ドラムを把持させるようにしながら装着し、前記杭体内に回転貫入させて杭の中掘りを行う第2ステップと、
前記オーガースクリューを切り離し、中間に継足し用スクリューロッドを接続した後、前記杭体内に回転貫入させて杭の中掘りを行う第3ステップと、
前記自走式クレーン重機により次段の杭体を吊り込み、貫入済みの杭体上部に接続した後、全周式回転装置により杭体に回転力を与えながら地盤に圧入する第4ステップと、
前記オーガースクリューを切り離し、中間に継足し用スクリューロッドを接続した後、前記杭体内に回転貫入させて杭の中掘りを行う第5ステップと、
その後は、上記第4ステップ〜第5ステップを繰り返すことにより杭体とオーガースクリューとを地盤深さ方向に順次延長していくことを特徴とする低空頭制限下における中掘杭の打設方法。
A crawler type self-propelled heavy machine having a movable arm is used as a base machine, and the movable arm holds the guide cell, and the guide cell holds the outer periphery of the pile body and rotates the pile body around the axis. A rotary press-fitting pile driving machine provided with a circumferential rotating device that can be raised and lowered, an auger screw having a chuck drum that can be gripped by the all-round rotating device on the upper side, a self-propelled crane heavy machine, a predetermined Bring to the construction site a pile body divided for each length and a plurality of extension screw rods that can be connected between the auger screws,
When the rotary press-fitting pile driver is positioned at the pile driving position, the pile body is suspended by the self-propelled crane heavy machine and attached to the all-around rotating device, and the ground is applied to the ground while applying rotational force to the pile body. A first step of press fitting;
The auger screw is suspended by the self-propelled crane heavy machine, and is mounted while gripping the chuck drum with respect to the all-round rotating device, and is rotated and penetrated into the pile body to dig a pile. Steps,
A third step of cutting the auger screw, connecting the screw rod for extension in the middle, and then rotating and penetrating into the pile body to dig in the pile;
A fourth step of suspending the next-stage pile body by the self-propelled crane heavy machine, connecting it to the top of the pile body that has been penetrated, and press-fitting into the ground while applying rotational force to the pile body by an all-around rotation device;
The fifth step of cutting the auger screw, connecting the screw rod for extension in the middle, and performing the digging in the pile by rotating and penetrating into the pile body;
Thereafter, by repeating the fourth step to the fifth step, the pile body and the auger screw are sequentially extended in the ground depth direction, and the method for placing the medium excavation pile under the low head restriction is characterized.
所定の深さ位置まで、前記杭体とオーガースクリューとを延長し終えたならば、前記オーガースクリューの先端から固結体を噴射させて地盤と撹拌することにより根固め球根を築造した後、オーガースクリューを引き上げて回収する請求項1、2いずれかに記載の低空頭制限下における中掘杭の打設方法。   After the pile body and the auger screw have been extended to a predetermined depth position, a solidified bulb is built from the tip of the auger screw and stirred with the ground. The method for placing an excavated pile under low head restriction according to claim 1, wherein the screw is pulled up and collected.
JP2007097128A 2007-04-03 2007-04-03 Pile method for excavated pile under low head limit Pending JP2008255603A (en)

Priority Applications (1)

Application Number Priority Date Filing Date Title
JP2007097128A JP2008255603A (en) 2007-04-03 2007-04-03 Pile method for excavated pile under low head limit

Applications Claiming Priority (1)

Application Number Priority Date Filing Date Title
JP2007097128A JP2008255603A (en) 2007-04-03 2007-04-03 Pile method for excavated pile under low head limit

Publications (1)

Publication Number Publication Date
JP2008255603A true JP2008255603A (en) 2008-10-23

Family

ID=39979458

Family Applications (1)

Application Number Title Priority Date Filing Date
JP2007097128A Pending JP2008255603A (en) 2007-04-03 2007-04-03 Pile method for excavated pile under low head limit

Country Status (1)

Country Link
JP (1) JP2008255603A (en)

Cited By (8)

* Cited by examiner, † Cited by third party
Publication number Priority date Publication date Assignee Title
CN101915060A (en) * 2010-09-03 2010-12-15 李新桥 Light-duty rotary drilling rig
JP2011140765A (en) * 2010-01-05 2011-07-21 Takenaka Komuten Co Ltd Method of driving pile
CN102242602A (en) * 2011-04-22 2011-11-16 山河智能装备股份有限公司 Spiral pile drilling machine
JP2013087582A (en) * 2011-10-21 2013-05-13 Takenaka Komuten Co Ltd Excavation rod and excavation method
CN103967024A (en) * 2013-01-25 2014-08-06 深圳市勘察测绘院有限公司 United construction method for forming holes and grooves in deep sandy gravel stratum
JP2017519922A (en) * 2014-07-09 2017-07-20 ソレタンシュ フレシネSoletanche Freyssinet Ground excavation method using robot arm
JP2018159191A (en) * 2017-03-22 2018-10-11 日本ベース株式会社 Embedment method of tubular body
CN116180733A (en) * 2021-12-22 2023-05-30 中交水利水电建设有限公司 A construction method of H-shaped revetment piles

Citations (6)

* Cited by examiner, † Cited by third party
Publication number Priority date Publication date Assignee Title
JPH0238623A (en) * 1988-07-28 1990-02-08 Fujiigumi:Kk Steel pipe pile driving method
JPH0258626A (en) * 1988-08-22 1990-02-27 Matsumuragumi:Kk Constructing method for foundation
JPH07238767A (en) * 1994-02-28 1995-09-12 Matsuzawa Kiko:Kk Excavator
JPH11100841A (en) * 1997-09-25 1999-04-13 Sumitomo Metal Ind Ltd Steel pipe pile
JPH11310921A (en) * 1998-04-30 1999-11-09 Shimizu Corp Steel pipe pile driving device and steel pipe pile driving method
JP2000104474A (en) * 1998-09-28 2000-04-11 Chuo Jidosha Kogyo Kk Auxiliary arm, auger output device and earth auger

Patent Citations (6)

* Cited by examiner, † Cited by third party
Publication number Priority date Publication date Assignee Title
JPH0238623A (en) * 1988-07-28 1990-02-08 Fujiigumi:Kk Steel pipe pile driving method
JPH0258626A (en) * 1988-08-22 1990-02-27 Matsumuragumi:Kk Constructing method for foundation
JPH07238767A (en) * 1994-02-28 1995-09-12 Matsuzawa Kiko:Kk Excavator
JPH11100841A (en) * 1997-09-25 1999-04-13 Sumitomo Metal Ind Ltd Steel pipe pile
JPH11310921A (en) * 1998-04-30 1999-11-09 Shimizu Corp Steel pipe pile driving device and steel pipe pile driving method
JP2000104474A (en) * 1998-09-28 2000-04-11 Chuo Jidosha Kogyo Kk Auxiliary arm, auger output device and earth auger

Cited By (8)

* Cited by examiner, † Cited by third party
Publication number Priority date Publication date Assignee Title
JP2011140765A (en) * 2010-01-05 2011-07-21 Takenaka Komuten Co Ltd Method of driving pile
CN101915060A (en) * 2010-09-03 2010-12-15 李新桥 Light-duty rotary drilling rig
CN102242602A (en) * 2011-04-22 2011-11-16 山河智能装备股份有限公司 Spiral pile drilling machine
JP2013087582A (en) * 2011-10-21 2013-05-13 Takenaka Komuten Co Ltd Excavation rod and excavation method
CN103967024A (en) * 2013-01-25 2014-08-06 深圳市勘察测绘院有限公司 United construction method for forming holes and grooves in deep sandy gravel stratum
JP2017519922A (en) * 2014-07-09 2017-07-20 ソレタンシュ フレシネSoletanche Freyssinet Ground excavation method using robot arm
JP2018159191A (en) * 2017-03-22 2018-10-11 日本ベース株式会社 Embedment method of tubular body
CN116180733A (en) * 2021-12-22 2023-05-30 中交水利水电建设有限公司 A construction method of H-shaped revetment piles

Similar Documents

Publication Publication Date Title
CN102803616B (en) Method and apparatus for manufacturing underwater foundations of buildings
US6540443B2 (en) Apparatus for and a method of boring the ground
JP2008255603A (en) Pile method for excavated pile under low head limit
KR100970772B1 (en) Auger and pile vibration hammer and piling method using it
JP6081100B2 (en) Existing pile pulling device
JP2014237939A (en) Center drilling excavator
JP2021165468A (en) Construction method of steel pipe pile
JPS6319328A (en) Method and apparatus for constructing turning-penetrating type large-diameter steel tube
JP2015113683A (en) Obstruction ground pile driving device and method for driving steel pipe pile into obstruction ground
JP2995430B2 (en) Drilling equipment for steel pipe pile with excavator for steel pipe pile and construction method of steel pipe pile
JP4074198B2 (en) How to remove existing piles
JP3219554U (en) Pile driving device
JP4522227B2 (en) Caisson cutting edge penetration assist device and caisson method using the penetration assist device
JP2003082663A (en) Pile driving device
JPH05171641A (en) Pipe digging equipment
JP3239951B2 (en) Pile injection system and pile injection method
JP2010031523A (en) Vertical shaft excavator
JP6715663B2 (en) Steel pipe pile construction method
JP4504752B2 (en) Construction method and apparatus for tubular precast concrete member
JP4635725B2 (en) Pile construction system
JP4101282B1 (en) Foundation pile construction method
JP6945329B2 (en) Underground obstacle removal method
KR20150124728A (en) Sheet Pile Construction Apparatus For Perforating and Pile Driver Work
KR100479514B1 (en) Apparatus for and a method of boring the ground
JPH11229740A (en) Subsoil excavation method and device

Legal Events

Date Code Title Description
A621 Written request for application examination

Free format text: JAPANESE INTERMEDIATE CODE: A621

Effective date: 20090806

A977 Report on retrieval

Free format text: JAPANESE INTERMEDIATE CODE: A971007

Effective date: 20100728

A131 Notification of reasons for refusal

Free format text: JAPANESE INTERMEDIATE CODE: A131

Effective date: 20100730

A02 Decision of refusal

Free format text: JAPANESE INTERMEDIATE CODE: A02

Effective date: 20101202