JP2008251412A - lighting equipment - Google Patents

lighting equipment Download PDF

Info

Publication number
JP2008251412A
JP2008251412A JP2007093049A JP2007093049A JP2008251412A JP 2008251412 A JP2008251412 A JP 2008251412A JP 2007093049 A JP2007093049 A JP 2007093049A JP 2007093049 A JP2007093049 A JP 2007093049A JP 2008251412 A JP2008251412 A JP 2008251412A
Authority
JP
Japan
Prior art keywords
mounting
lamp
support
attached
plate portion
Prior art date
Legal status (The legal status is an assumption and is not a legal conclusion. Google has not performed a legal analysis and makes no representation as to the accuracy of the status listed.)
Granted
Application number
JP2007093049A
Other languages
Japanese (ja)
Other versions
JP4643604B2 (en
Inventor
Yasuhiro Sano
康博 佐野
Current Assignee (The listed assignees may be inaccurate. Google has not performed a legal analysis and makes no representation or warranty as to the accuracy of the list.)
Toshiba Lighting and Technology Corp
Wako Denki Co Ltd
Original Assignee
Toshiba Home Lighting Co Ltd
Wako Denki Co Ltd
Priority date (The priority date is an assumption and is not a legal conclusion. Google has not performed a legal analysis and makes no representation as to the accuracy of the date listed.)
Filing date
Publication date
Application filed by Toshiba Home Lighting Co Ltd, Wako Denki Co Ltd filed Critical Toshiba Home Lighting Co Ltd
Priority to JP2007093049A priority Critical patent/JP4643604B2/en
Publication of JP2008251412A publication Critical patent/JP2008251412A/en
Application granted granted Critical
Publication of JP4643604B2 publication Critical patent/JP4643604B2/en
Expired - Fee Related legal-status Critical Current
Anticipated expiration legal-status Critical

Links

Images

Landscapes

  • Non-Portable Lighting Devices Or Systems Thereof (AREA)

Abstract

【課題】壁面取付形の上下配光の照明器具を薄形化する。照明器具の設置作業を容易にする。上方への配光を確保する。
【解決手段】照明器具10は、本体ユニット21と、カバー体22とを備える。本体ユニット21は、器具本体12と支持体14とを備える。器具本体12は、壁面に取り付ける。支持体14は、器具本体12に係合しねじ止めして取り付ける。支持体14の支持板部51の下面側に、環状のランプLを支持する。ランプLの内側に位置して、支持体14の支持板部51の下面に、点灯装置15を取り付ける。照明器具10を梁に取り付ける場合は、取付金具を用いる。
【選択図】図1
An object of the present invention is to reduce the thickness of a wall-mounted lighting fixture with vertical light distribution. Facilitates installation of lighting fixtures. Ensure upward light distribution.
A lighting apparatus includes a main unit and a cover body. The main unit 21 includes an instrument main body 12 and a support 14. The instrument body 12 is attached to the wall surface. The support 14 is attached to the instrument body 12 by being engaged and screwed thereto. An annular lamp L is supported on the lower surface side of the support plate portion 51 of the support 14. The lighting device 15 is attached to the lower surface of the support plate portion 51 of the support 14 located inside the lamp L. When attaching the luminaire 10 to the beam, a mounting bracket is used.
[Selection] Figure 1

Description

本発明は、例えば、壁面に取り付けられる照明器具に関する。   The present invention relates to a lighting fixture attached to a wall surface, for example.

従来、壁面に取り付けられる照明器具として、壁面に取り付けたプラグ本体に対し、天井に取り付けられる器具本体を嵌合して取り付ける構成が知られている(例えば、特許文献1参照。)。この構成では、器具本体の円盤状のシャーシの正面側に点灯装置を取り付け、さらに、この点灯装置の正面側に重ねて、円環状の蛍光ランプを配置している。   Conventionally, as a lighting fixture attached to a wall surface, a configuration is known in which a fixture main body attached to a ceiling is fitted and attached to a plug main body attached to the wall surface (see, for example, Patent Document 1). In this configuration, a lighting device is attached to the front side of the disk-shaped chassis of the instrument body, and an annular fluorescent lamp is disposed on the front side of the lighting device.

しかしながら、この構成では、照明器具を壁面に取り付けた状態で、蛍光ランプが垂直状に配置されるため、上下方向への配光の効果が小さいとともに、蛍光ランプと点灯装置とを重ねて配置するため、照明器具の厚さ寸法が大きくなる問題を有している。   However, in this configuration, since the fluorescent lamp is arranged vertically with the lighting fixture attached to the wall surface, the effect of light distribution in the vertical direction is small, and the fluorescent lamp and the lighting device are arranged in an overlapping manner. For this reason, there is a problem that the thickness dimension of the lighting fixture is increased.

この点、ランプが壁面から水平に突出するように支持する構成が知られている(例えば、非特許文献1参照。)。この構成では、照明器具は、本体と、この本体を壁面などに取り付ける取付金具と、本体を覆うカバーとを備えている。そして、本体は、垂直状の板部と、この垂直状の板部に固定された水平状の板部とを備え、垂直状の板部が取付金具を介して壁面などに取り付けられる。また、水平状の板部の上側には、点灯装置が取り付けられ、水平状の板部の下側には、円環状の蛍光ランプが取り付けられている。   In this regard, a configuration is known in which the lamp is supported so as to protrude horizontally from the wall surface (see, for example, Non-Patent Document 1). In this configuration, the lighting fixture includes a main body, a mounting bracket for attaching the main body to a wall surface, and a cover that covers the main body. The main body includes a vertical plate portion and a horizontal plate portion fixed to the vertical plate portion, and the vertical plate portion is attached to a wall surface or the like via a mounting bracket. A lighting device is attached to the upper side of the horizontal plate portion, and an annular fluorescent lamp is attached to the lower side of the horizontal plate portion.

しかしながら、この構成では、点灯装置と蛍光ランプとが上下に重ねて配置されるため、上下方向の厚さ寸法が大きくなる問題を有している。また、本体は、壁面用の取付金具及び梁用の取付金具を介して壁面あるいは梁に取り付けられ、いずれの場合も取付金具が必要であるため、部品点数が増加し、取付作業の作業性が悪い問題を有している。さらに、取付金具と本体との接続作業については、本体の水平状の板部に沿った狭い空間でねじ止めなどの作業をする必要があり、作業性が悪い問題を有している。
特開2006−164927号公報 松下電工株式会社、“照明器具カタログ HFW4003”、[online]、平成19年、松下電工株式会社、[平成19年3月22日検索]、インターネット< URL :http://biz.national.jp/Ebox/lighting_catalog/HFW4003.html>
However, in this configuration, since the lighting device and the fluorescent lamp are arranged one above the other, there is a problem that the thickness dimension in the vertical direction becomes large. In addition, the main body is attached to the wall surface or the beam via the wall mounting bracket and the beam mounting bracket. In both cases, the mounting bracket is necessary, so the number of parts increases and the workability of the mounting work is improved. Have a bad problem. Further, the connection work between the mounting bracket and the main body requires a work such as screwing in a narrow space along the horizontal plate portion of the main body, which has a problem of poor workability.
JP 2006-164927 A Matsushita Electric Works, Ltd., “Lighting Equipment Catalog HFW4003”, [online], 2007, Matsushita Electric Works, Ltd., [March 22, 2007 search], Internet <URL: http://biz.national.jp/ Ebox / lighting_catalog / HFW4003.html>

上記のように、従来の構成では、照明器具の厚さ寸法が大きくなり、外観の向上が容易でないとともに、取付作業の作業性の向上が容易でない問題を有している。   As described above, the conventional configuration has a problem that the thickness dimension of the lighting fixture is increased, the appearance is not easily improved, and the workability of the mounting work is not easily improved.

本発明は、このような点に鑑みなされたもので、容易に外観を向上でき、作業性を容易に向上できる照明器具を提供することを目的とする。   This invention is made | formed in view of such a point, and it aims at providing the lighting fixture which can improve an external appearance easily and can improve workability | operativity easily.

請求項1記載の照明器具は、垂直状の被取付面に沿って取り付けられる器具本体と;器具本体に取り付けられ水平状の支持板部を有する支持体と;環状の発光部を有し、この発光部が水平状になるように支持板部に支持されるランプと;ランプの内側に位置しかつランプと同じ側で支持板部に支持される点灯装置と;を具備するものである。   The lighting fixture according to claim 1 has a fixture main body attached along a vertical attached surface; a support attached to the fixture main body and having a horizontal support plate portion; and an annular light emitting portion. A lamp that is supported by the support plate so that the light emitting portion is horizontal; and a lighting device that is positioned inside the lamp and supported by the support plate on the same side as the lamp.

例えば、垂直状の被取付面は、壁面あるいは梁である。ランプは例えば蛍光ランプである。点灯装置は例えば箱状のケースにインバータ回路を収納したインバータ装置である。   For example, the vertical mounting surface is a wall surface or a beam. The lamp is, for example, a fluorescent lamp. The lighting device is, for example, an inverter device in which an inverter circuit is housed in a box-like case.

そして、この構成では、垂直状の被取付面に沿って取り付けられる器具本体を備える構成について、環状の発光部が水平状とになるようにランプを支持板部で支持したため、上下方向に有効に配光される。環状のランプの内側に位置し、かつ支持板部のランプと同じ側に点灯装置を配置したため、照明器具が薄型化される。   And in this structure, since it supported the lamp | ramp with the support plate part so that a cyclic | annular light emission part might become horizontal about the structure provided with the fixture main body attached along a perpendicular | vertical to-be-attached surface, it is effective in the up-down direction. Light distribution. Since the lighting device is disposed inside the annular lamp and on the same side as the lamp of the support plate portion, the lighting fixture is thinned.

請求項2記載の照明器具は、請求項1記載の照明器具において、器具本体を覆い、ランプの下側に位置して透光性を有する下側透光部及びランプの上側に位置して透光性を有する上側透光部を備えたカバー体を具備し、ランプは、発光部が支持板部の下方に位置し、かつ、支持板部の上方から見て、発光部の面積の半分以上が支持板部から露出するものである。   The lighting fixture according to claim 2 is the lighting fixture according to claim 1, wherein the lighting fixture covers the fixture main body, is located below the lamp and has translucency, and is located above the lamp. The lamp is provided with a cover body having a light-transmitting upper light-transmitting portion, and the lamp has a light emitting portion located below the support plate portion and more than half of the area of the light emitting portion when viewed from above the support plate portion. Is exposed from the support plate.

そして、この構成では、ランプの発光部から照射された光を、上側透光部により上方に配光し下側透光部により下方に配光する照明効果が実現される。ランプは、支持板部の上方から見て、発光部の面積の半分以上が支持板部から露出するため、下方のみならず上方にも配光が確保される。   And in this structure, the illumination effect which distributes the light irradiated from the light emission part of the lamp | ramp to the upper part by the upper side translucent part, and the lower part by the lower side translucent part is implement | achieved. When viewed from above the support plate portion, the lamp has more than half of the area of the light emitting portion exposed from the support plate portion, so light distribution is ensured not only below but also above.

請求項3記載の照明器具は、請求項1または2記載の照明器具において、支持板部は、ランプに対向して反射面部を備え、ランプは、反射面部に対向して口金部を備えたものである。   The lighting fixture according to claim 3 is the lighting fixture according to claim 1 or 2, wherein the support plate portion includes a reflecting surface portion facing the lamp, and the lamp includes a base portion facing the reflecting surface portion. It is.

そして、この構成では、発光しない口金部を反射面部に対向して配置したため、口金部の部分が暗く見えることを抑制し、照明効果が向上する。   And in this structure, since the nozzle | cap | die part which does not light-emit is arrange | positioned facing the reflective surface part, it suppresses that the part of a nozzle | cap | die part looks dark, and the illumination effect improves.

請求項4記載の照明器具は、請求項1ないし3いずれか一記載の照明器具において、垂直状の被取付面に沿って配置されるとともに器具本体に取り付けられる器具本体取付部と、水平状の被取付面に固定される水平取付部と、器具本体取付部から水平取付部に連続する電線配置空間とを備えた取付金具を具備し、器具本体は、板材を屈曲して構成した取付板部を備え、この取付板部には、垂直状の被取付面から離間する方向に凹設され、器具本体取付部が取り付けられる取付凹部と、この取付凹部の両側方に位置して垂直状の被取付面に締め付け固定される締付固定部とを備えたものである。   The lighting fixture according to claim 4 is the lighting fixture according to any one of claims 1 to 3, wherein the lighting fixture is mounted along the vertical mounting surface and is attached to the fixture main body, and the horizontal fixture. A mounting plate portion comprising a mounting bracket having a horizontal mounting portion fixed to the mounted surface and an electric wire arrangement space continuous from the device main body mounting portion to the horizontal mounting portion, and the device body is formed by bending a plate material. The mounting plate portion is recessed in a direction away from the vertical mounting surface, the mounting concave portion to which the instrument body mounting portion is mounted, and the vertical mounting portion located on both sides of the mounting concave portion. And a fastening portion that is fastened and fixed to the mounting surface.

例えば、垂直状の被取付面とともに水平状の被取付面を有する被取付部は、梁である。   For example, a mounted portion having a horizontal mounted surface together with a vertical mounted surface is a beam.

そして、この構成では、照明器具を垂直状の被取付面に取り付ける場合には、器具本体の取付板部の締付固定部を被取付面に締め付け固定して直付けされる。締付固定部の間に位置する取付凹部が補強部となり、器具本体の変形が抑制される。照明器具を垂直状の被取付面に取り付ける場合には、取付金具を不要として、構成が簡略化され、製造コストが削減される。一方、照明器具を垂直状の被取付面に沿って水平状の被取付面に取り付ける場合には、取付金具の水平取付部を水平状の被取付面に固定するとともに、取付金具の器具本体取付部を取付凹部に取り付けて、照明器具を設置する。取付金具は、器具本体取付部から水平取付部に連続する電線配置空間を備えるため、電線を保護しつつ、器具本体の取付板部を垂直状の被取付面に密着して配置することが可能になる。   And in this structure, when attaching a lighting fixture to a vertical to-be-attached surface, the fastening fixing | fixed part of the attachment board part of an fixture main body is clamped and fixed to a to-be-attached surface, and is attached directly. The mounting recess located between the tightening and fixing portions serves as a reinforcing portion, and deformation of the instrument body is suppressed. When the lighting fixture is attached to the vertical mounting surface, the mounting bracket is not required, the configuration is simplified, and the manufacturing cost is reduced. On the other hand, when attaching a lighting fixture to a horizontal mounting surface along a vertical mounting surface, fix the horizontal mounting portion of the mounting bracket to the horizontal mounting surface and attach the mounting bracket to the fixture body. Install the lighting fixture with the part attached to the mounting recess. Since the mounting bracket has a wire arrangement space that continues from the fixture body mounting portion to the horizontal mounting portion, the fixture plate can be placed in close contact with the vertical mounting surface while protecting the wires. become.

請求項5記載の照明器具は、請求項1ないし4いずれか一記載の照明器具において、器具本体は、係合受部と、水平状の係止受部とを有した取付板部を備え、支持体は、係合受部に上側から挿入して係合される係合部と、係止受部の上側に重ねられる係止部とを備え、係止受部と係止部とを固定する固定具を備えたものである。   The lighting fixture according to claim 5 is the lighting fixture according to any one of claims 1 to 4, wherein the fixture main body includes an attachment plate portion having an engagement receiving portion and a horizontal locking receiving portion, The support body includes an engaging portion that is inserted into and engaged with the engaging receiving portion from above, and a locking portion that is superimposed on the locking receiving portion, and fixes the locking receiving portion and the locking portion. It is equipped with a fixing tool.

そして、この構成では、器具本体と支持体との着脱が可能になる。そこで、器具本体から支持体を取り外し、作業空間を確保した状態で、器具本体が被取付面に作業性良く取り付けられる。また、支持体は、器具本体に上側から組み合わせることにより、係合及び係止されるとともに、上側を作業空間として、固定具により係止受部と係止部とを固定する作業を行うことが可能になり、支持体が器具本体に作業性良く強固に取り付けられる。   And in this structure, attachment and detachment with an instrument main body and a support body is attained. Therefore, the instrument body is attached to the attachment surface with good workability in a state where the support is removed from the instrument body and the work space is secured. Further, the support body can be engaged and locked by being combined with the instrument main body from the upper side, and the upper side can be used as a work space to fix the locking receiving portion and the locking portion with a fixture. It becomes possible, and the support is firmly attached to the instrument body with good workability.

請求項1記載の照明器具によれば、垂直状の被取付面に沿って取り付けられる器具本体を備える構成について、環状の発光部が水平状とになるようにランプを支持板部で支持したため、上下方向に有効に配光できる。環状のランプの内側に位置し、かつ支持板部のランプと同じ側に点灯装置を配置したため、照明器具を薄型化できる。   According to the luminaire of claim 1, since the lamp is supported by the support plate portion so that the annular light emitting portion is horizontal with respect to the configuration including the fixture main body attached along the vertical attached surface, Effective light distribution in the vertical direction. Since the lighting device is disposed inside the annular lamp and on the same side as the lamp of the support plate portion, the lighting fixture can be thinned.

請求項2記載の照明器具によれば、請求項1記載の効果に加え、ランプの発光部から照射された光を、上側透光部により上方に配光し下側透光部により下方に配光する照明効果を実現できる。ランプは、支持板部の上方から見て、発光部の面積の半分以上が支持板部から露出するため、下方のみならず上方にも配光を確保できる。   According to the lighting apparatus of claim 2, in addition to the effect of claim 1, the light emitted from the light emitting part of the lamp is distributed upward by the upper light transmitting part and distributed downward by the lower light transmitting part. A light effect can be realized. When viewed from above the support plate portion, the lamp exposes more than half of the area of the light emitting portion from the support plate portion, so that light distribution can be secured not only below but also above.

請求項3記載の照明器具によれば、請求項1または2記載の記載の効果に加え、発光しない口金部を反射面部に対向して配置したため、口金部の部分が暗く見えることを抑制し、照明効果を向上できる。   According to the lighting fixture of Claim 3, in addition to the effect of Claim 1 or 2, since the base part which does not emit light is arranged facing the reflective surface part, it is suppressed that the part of the base part looks dark, The lighting effect can be improved.

請求項4記載の照明器具によれば、請求項1ないし3いずれか一記載の記載の効果に加え、照明器具を垂直状の被取付面に取り付ける場合には、器具本体の取付板部の締付固定部を被取付面に締め付け固定して直付けできる。締付固定部の間に位置する取付凹部が補強部となり、器具本体の変形を抑制できる。照明器具を垂直状の被取付面に取り付ける場合には、取付金具を不要として、構成を簡略化し、製造コストを削減できる。一方、照明器具を垂直状の被取付面に沿って水平状の被取付面に取り付ける場合には、取付金具の水平取付部を水平状の被取付面に固定するとともに、取付金具の器具本体取付部を取付凹部に取り付けて、照明器具を設置できる。取付金具は、器具本体取付部から水平取付部に連続する電線配置空間を備えるため、電線を保護しつつ、器具本体の取付板部を垂直状の被取付面に密着して配置できる。   According to the luminaire of claim 4, in addition to the effect described in any one of claims 1 to 3, when the luminaire is mounted on a vertical mounting surface, the mounting plate portion of the fixture body is tightened. The fixed part can be fixed directly on the surface to be mounted. The mounting recess located between the tightening and fixing portions serves as a reinforcing portion, and deformation of the instrument body can be suppressed. When the lighting fixture is attached to the vertical mounting surface, the mounting bracket is not required, the configuration can be simplified, and the manufacturing cost can be reduced. On the other hand, when attaching a lighting fixture to a horizontal mounting surface along a vertical mounting surface, fix the horizontal mounting portion of the mounting bracket to the horizontal mounting surface and attach the mounting bracket to the fixture body. A lighting fixture can be installed by attaching the part to the mounting recess. Since the mounting bracket has a wire arrangement space that continues from the device body mounting portion to the horizontal mounting portion, the mounting plate portion of the device body can be placed in close contact with the vertical mounting surface while protecting the wires.

請求項5記載の照明器具によれば、請求項1ないし4いずれか一記載の効果に加え、器具本体と支持体とを着脱できる。そこで、器具本体から支持体を取り外し、作業空間を確保した状態で、器具本体を被取付面に作業性良く取り付けできる。また、支持体は、器具本体に上側から組み合わせることにより、係合及び係止されるとともに、上側を作業空間として、固定具により係止受部と係止部とを固定する作業を行うことでき、支持体を器具本体に作業性良く強固に取り付けできる。   According to the lighting fixture of Claim 5, in addition to the effect of any one of Claims 1 thru | or 4, a fixture main body and a support body can be attached or detached. Therefore, the instrument body can be attached to the attachment surface with good workability in a state where the support is removed from the instrument body and the work space is secured. Further, the support body can be engaged and locked by being combined with the instrument main body from the upper side, and the upper side can be used as a work space to fix the locking receiving portion and the locking portion with a fixture. The support can be firmly attached to the instrument body with good workability.

以下、本発明の照明器具の一実施の形態を図面を参照して説明する。   Hereinafter, an embodiment of a lighting fixture of the present invention will be described with reference to the drawings.

図1は本発明の照明器具の一実施の形態を示す下側から見た分解状態の斜視図である。図2は同上照明器具の上方から見た分解状態の斜視図である。図3は同上照明器具の本体ユニットを上方から見た説明図である。図4は同上照明器具の本体ユニットの側面図である。図5は同上照明器具の本体ユニットの後面図である。図6は同上照明器具の本体ユニットの一部の斜視図である。図7は同上照明器具の取付金具を用いた状態の斜視図である。図8は同上照明器具の取付金具を用いた状態の一部の分解状態の斜視図である。   FIG. 1 is a perspective view of a disassembled state seen from below showing an embodiment of a lighting fixture of the present invention. FIG. 2 is a perspective view of the disassembled state seen from above of the lighting apparatus. FIG. 3 is an explanatory view of the main unit of the same lighting fixture as viewed from above. FIG. 4 is a side view of the main unit of the same lighting fixture. FIG. 5 is a rear view of the main unit of the same lighting fixture. FIG. 6 is a perspective view of a part of the main unit of the same lighting fixture. FIG. 7 is a perspective view showing a state where the mounting fixture of the lighting fixture is used. FIG. 8 is a perspective view of a partly disassembled state in which the mounting fixture of the lighting fixture is used.

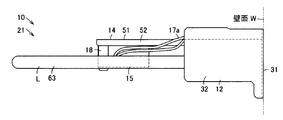
図1ないし図8において、10は照明器具で、この照明器具10は、いわゆる壁面取付形の上下配光の照明器具10で、垂直状の被取付面としての壁面Wあるいは梁Bに、選択的に取り付けられるようになっている。そして、この照明器具10は、器具本体12と、この器具本体12に取り付けられる支持体14と、この支持体14に取り付けられる点灯装置15と、この点灯装置に接続されたランプソケット16及び端子台17と、支持体14にランプホルダ18を介して取り付けられたランプLと、器具本体12に支持体14を取り付けるねじである固定具20となどを備え、これら部材により、本体ユニット21が形成されている。また、この照明器具10は、壁面W側を除いて本体ユニット21を覆うカバー体22と、これら本体ユニット21とカバー体22とを固定する固定具である化粧ねじ24とを備えている。さらに、この照明器具10は、照明器具10を梁Bに取り付ける際に用いる取付金具26を備えている。なお、壁面Wとは、垂直状の平面を有する部材である。また、梁Bとは、例えば水平に配設された角柱であり、垂直状の被取付面と、この垂直状の被取付面の上端部から後側に伸びる水平状の被取付面を有する部材である。また、以下、上下方向などの方向は、照明器具10を壁面Wに取り付けた状態を基準とし、壁面Wに沿った水平方向を両側方向とし、壁面W側を後側、壁面Wから離れる方向を前側として説明する。   1 to 8, reference numeral 10 denotes a lighting fixture. This lighting fixture 10 is a so-called wall-mounting type upper and lower light distribution lighting fixture 10, which is selectively applied to a wall surface W or a beam B as a vertical mounting surface. Can be attached to. The lighting fixture 10 includes a fixture body 12, a support body 14 attached to the fixture body 12, a lighting device 15 attached to the support body 14, a lamp socket 16 and a terminal block connected to the lighting device. 17, a lamp L attached to the support 14 via a lamp holder 18, a fixture 20 that is a screw for attaching the support 14 to the instrument body 12, and the like, and the body unit 21 is formed by these members. ing. The lighting fixture 10 includes a cover body 22 that covers the main body unit 21 except for the wall surface W side, and a decorative screw 24 that is a fixture for fixing the main body unit 21 and the cover body 22. Further, the lighting fixture 10 includes a mounting bracket 26 used when the lighting fixture 10 is attached to the beam B. The wall surface W is a member having a vertical plane. The beam B is, for example, a horizontally disposed prism, and a member having a vertical mounting surface and a horizontal mounting surface extending from the upper end of the vertical mounting surface to the rear side. It is. In addition, hereinafter, the direction such as the vertical direction is based on the state in which the lighting fixture 10 is attached to the wall surface W, the horizontal direction along the wall surface W is the both-side direction, the wall surface W side is the rear side, and the direction away from the wall surface W is This will be described as the front side.

器具本体12は、壁面Wに沿って着脱可能に取り付けられるもので、例えば金属製の板材である鉄板をプレス形成して、垂直状の取付板部31と、この取付板部31の両側部から前側に伸びる器具本体側板部32とが形成されている。そして、取付板部31の両側方向の中間位置には、平面コの字状をなして壁面Wの反対側である前側に凹設された取付凹部33が形成されている。すなわち、この取付凹部33は、壁面Wと平行すなわち取付板部31の他の部分と平行な取付凹部基板部34と、この取付凹部基板部34の両側縁から後側に向かう取付凹部側板部35とを備えている。そして、この取付凹部基板部34には、略中央部に位置して、円孔状の電線挿通部36が形成されているとともに、両側の上下に位置し、合計4カ所に、だるま孔状の取付金具取付部37が形成されている。そして、電線挿通部36の縁部には、電線保護用の樹脂製の保護リング38が嵌着されている。また、取付金具取付部37は、下部が円孔状の挿入部37aであるとともに、この挿入部37aから上側に向かい、挿入部37aの直径寸法より小さい幅寸法で溝部37bが延設されている。   The instrument body 12 is detachably attached along the wall surface W. For example, an iron plate, which is a metal plate material, is press-formed, and a vertical attachment plate portion 31 and both sides of the attachment plate portion 31 are formed. An instrument main body side plate portion 32 extending to the front side is formed. An attachment recess 33 is formed at an intermediate position in the both side directions of the attachment plate portion 31 and is formed in a U-shape and is recessed on the front side opposite to the wall surface W. That is, the mounting recess 33 includes an mounting recess substrate portion 34 that is parallel to the wall surface W, that is, parallel to the other portions of the mounting plate portion 31, and an mounting recess side plate portion 35 that extends rearward from both side edges of the mounting recess substrate portion 34. And. The mounting recess substrate portion 34 is formed with a circular hole-shaped electric wire insertion portion 36 located substantially at the center portion, and positioned on both sides of the upper and lower sides. A mounting bracket mounting portion 37 is formed. A resin protective ring 38 for protecting the electric wire is fitted to the edge of the electric wire insertion portion 36. Further, the mounting bracket mounting portion 37 has a circular hole-shaped insertion portion 37a at the lower portion, and has a groove portion 37b extending upward from the insertion portion 37a and having a width smaller than the diameter of the insertion portion 37a. .

また、図5に示すように、器具本体12の取付板部31には、取付凹部33の両側に近接し、上下方向の中央部に位置して、締付固定部41,42が形成されている。そして、後側から見て、左側の締付固定部41は、両側方向を長手方向とする長孔として形成され、後側から見て、右側の締付固定部42は、上下方向を長手方向とする一対の長孔として形成されている。さらに、器具本体12の取付板部31には、取付凹部33の両側に近接し、上下方向の上側部に位置して、両側一対の係合受部44が形成されている。各係合受部44は、両側方向を長手方向とする上下一対の溝部44aを有し、これら溝部44a同士の間の部分が、前側に打ち出されて形成されている。さらに、器具本体12の取付板部31には、取付凹部33の両側に離間し、すなわち、各係合受部44の外側に位置して、両側一対の係止受部46が形成されている。各係止受部46は、取付板部31を四角状に切り起こし、前方に水平に突出する四角板状に形成されている。また、この係止受部46は、係合受部44の上縁部とほぼ同じ高さ位置に形成されている。そして、各係止受部46には、固定受部として、上下に貫通するねじ孔47が形成され、このねじ孔47にねじである固定具20が螺合されるようになっている。   Further, as shown in FIG. 5, the mounting plate portion 31 of the instrument body 12 is formed with fastening fixing portions 41 and 42 that are close to both sides of the mounting recess 33 and are positioned at the center in the vertical direction. Yes. When viewed from the rear side, the left tightening fixing portion 41 is formed as a long hole whose longitudinal direction is on both sides, and when viewed from the rear side, the right tightening fixing portion 42 is the longitudinal direction in the longitudinal direction. It is formed as a pair of long holes. Furthermore, a pair of engagement receiving portions 44 on both sides are formed on the mounting plate portion 31 of the instrument body 12 so as to be close to both sides of the mounting recess 33 and positioned on the upper side in the vertical direction. Each engagement receiving portion 44 has a pair of upper and lower groove portions 44a whose longitudinal direction is on both sides, and a portion between these groove portions 44a is formed by being pushed out to the front side. Further, the mounting plate portion 31 of the instrument main body 12 is formed with a pair of locking receiving portions 46 that are spaced apart on both sides of the mounting recessed portion 33, that is, positioned outside the respective engagement receiving portions 44. . Each latch receiving portion 46 is formed in a square plate shape that cuts and raises the mounting plate portion 31 in a square shape and projects horizontally forward. Further, the latch receiving portion 46 is formed at substantially the same height as the upper edge portion of the engagement receiving portion 44. Each locking receiving portion 46 is formed with a screw hole 47 penetrating vertically as a fixed receiving portion, and the fixing tool 20 that is a screw is screwed into the screw hole 47.

また、器具本体12には、図2及び図3に示すように、取付凹部33の両側に位置し、取付板部31の上縁部から一体に前側に向かい、両側一対のケース体取付部49が形成されている。各ケース体取付部49は、前方に水平に突出する四角板状に形成されている。そして、各ケース体取付部49には、取付受部として、上下に貫通するねじ孔50が形成されている。   Further, as shown in FIGS. 2 and 3, the instrument body 12 is located on both sides of the mounting recess 33, and integrally moves forward from the upper edge portion of the mounting plate portion 31 to a pair of case body mounting portions 49 on both sides. Is formed. Each case body mounting portion 49 is formed in a square plate shape that projects horizontally forward. Each case body attaching portion 49 is formed with a screw hole 50 penetrating vertically as an attachment receiving portion.

また、器具本体側板部32は、取付板部31とほぼ同じ高さ寸法を有し、取付板部31に連続する後側部は下側部が切り欠かれ、前端側は若干上側に突設されている。   The instrument body side plate portion 32 has substantially the same height as the mounting plate portion 31, the rear side continuous to the mounting plate portion 31 is cut off at the lower side, and the front end side protrudes slightly upward. Has been.

一方、支持体14は、図1ないし図4に示すように、器具本体12に着脱可能に取り付けられるもので、例えば両面が白色に塗装された金属製の板材である鉄板をプレス形成して、水平状の支持板部51が形成されているとともに、両側の縁部が下側に折曲され、両側一対のフランジ部52が形成されている。そして、支持板部51は、下面が白色の平面状の反射面部53となるとともに、点灯装置15やランプホルダ18などを取り付ける取付受け部である複数のねじ孔が形成されている。   On the other hand, as shown in FIGS. 1 to 4, the support 14 is detachably attached to the instrument body 12. For example, the support 14 is formed by pressing an iron plate that is a metal plate coated with white on both sides, A horizontal support plate portion 51 is formed, and both edge portions are bent downward to form a pair of flange portions 52 on both sides. The support plate portion 51 has a flat reflecting surface portion 53 with a white lower surface, and a plurality of screw holes that are attachment receiving portions to which the lighting device 15, the lamp holder 18, and the like are attached.

また、支持板部51の後端部の、両側方向の中央部は、器具本体12の取付凹部33を避けるように下方に切り起こされ、垂直状の補助反射板部55が形成されている。そして、この支持板部51の後端の縁部には、補助反射板部55の両側に位置し、両側一対の係合部57が形成されている。各係合部57は、支持板部51の後端の縁部を屈曲し、下方に垂直に突出する四角板状に形成されている。また、支持板部51の後端部の、両側方向の端部近傍は、両側一対の係止部58とされている。そして、各係止部58には、円孔状の固定孔59が形成されている。   Further, the center part of the rear end part of the support plate part 51 in both side directions is cut and raised downward so as to avoid the mounting recess 33 of the instrument main body 12, and a vertical auxiliary reflection plate part 55 is formed. A pair of engaging portions 57 on both sides of the auxiliary reflecting plate portion 55 are formed on the edge of the rear end of the support plate portion 51. Each engaging portion 57 is formed in a square plate shape that bends the edge of the rear end of the support plate portion 51 and projects vertically downward. Further, the vicinity of the end portion in the both-side direction of the rear end portion of the support plate portion 51 is a pair of locking portions 58 on both sides. Each locking portion 58 is formed with a circular fixing hole 59.

また、支持体14の両側のフランジ部52は、前後方向全長に沿って下方に折曲され、支持板部51を補強している。さらに、両側のフランジ部52の後端部は、下方に突設され、当接支持部60が形成されている。   Further, the flange portions 52 on both sides of the support body 14 are bent downward along the entire length in the front-rear direction to reinforce the support plate portion 51. Further, the rear end portions of the flange portions 52 on both sides protrude downward and a contact support portion 60 is formed.

また、点灯装置15は、いわゆるインバータであり、図1及び図2に示すように、箱状の白色のケースの内側にインバータ点灯回路を収納し、ランプソケット16及び端子台17に配線16a,17aを介して電気的及び機械的に接続されている。そして、点灯装置15は、ねじなどを用いて、支持体14の下面の先端部近傍に両側方向を長手方向として取り付けられている。なお、端子台17は、支持体14の上面側に固定されている。   The lighting device 15 is a so-called inverter. As shown in FIGS. 1 and 2, an inverter lighting circuit is housed inside a box-shaped white case, and wirings 16a and 17a are connected to the lamp socket 16 and the terminal block 17, respectively. Are electrically and mechanically connected. The lighting device 15 is attached to the vicinity of the front end portion of the lower surface of the support 14 with both sides as the longitudinal direction using screws or the like. The terminal block 17 is fixed to the upper surface side of the support 14.

また、ランプホルダ18は、弾性変形可能な金属製の板材で形成され、点灯装置15を囲むように、点灯装置15の後方に2個、点灯装置15の側方に2個、合計4個が配置され、ねじなどを用いて、支持体14の下面に取り付けられている。   The lamp holder 18 is made of an elastically deformable metal plate, and surrounds the lighting device 15, two behind the lighting device 15 and two on the side of the lighting device 15, for a total of four. And is attached to the lower surface of the support 14 using screws or the like.

そして、ランプLは、高周波点灯形の環状の蛍光ランプであり、本実施の形態では、略四角環状の細径の発光管である発光部63を有しているともとに、一辺の中央部に、非発光部である口金部64を備えている。そして、このランプLは、ランプホルダ18に装着され、発光部63のなす仮想面が反射面部53と平行すなわち水平状となるように支持板部51に支持されるとともに、口金部64にランプソケット16が接続される。そこで、端子台17に電源線を接続して商用交流電源を供給すると、点灯装置15が例えば60kHz程度の高周波を生成し、ランプLが点灯される。   The lamp L is a high-frequency lighting-type annular fluorescent lamp. In the present embodiment, the lamp L has a light emitting portion 63 that is a substantially square annular thin-diameter arc tube, and a central portion on one side. In addition, a base portion 64 which is a non-light emitting portion is provided. The lamp L is mounted on the lamp holder 18 and supported by the support plate 51 so that the imaginary surface formed by the light emitting unit 63 is parallel to the reflecting surface 53, that is, horizontal, and the lamp socket is mounted on the base 64. 16 is connected. Therefore, when a commercial AC power is supplied by connecting a power line to the terminal block 17, the lighting device 15 generates a high frequency of about 60 kHz, for example, and the lamp L is lit.

また、ランプLをランプホルダ18を介して支持体14の支持板部51で支持した状態で、ランプLの下方から見ると、図1に示すように、点灯装置15はランプLの内側に位置し、側方から見ると、図4に示すように、ランプLと点灯装置15とは少なくとも一部が重なる。さらに、支持板部51の上方から見ると、図3に示すように、口金部64及び発光部63の一部は支持板部51により隠れるが、発光部63の面積の半分以上は上方に露出するようになっている。   When the lamp L is supported by the support plate portion 51 of the support 14 via the lamp holder 18 when viewed from below the lamp L, the lighting device 15 is positioned inside the lamp L as shown in FIG. When viewed from the side, the lamp L and the lighting device 15 at least partially overlap as shown in FIG. Further, when viewed from above the support plate portion 51, as shown in FIG. 3, a part of the base portion 64 and the light emitting portion 63 are hidden by the support plate portion 51, but more than half of the area of the light emitting portion 63 is exposed upward. It is supposed to be.

また、カバー体22は、図1及び図2に示すように、器具本体12及び支持体14などを組み合わせた本体ユニット21を収納可能な略箱状で、枠体70と、この枠体70の下面に設けられた透光性を有する下側透光部71と、枠体70の上面に設けられた透光性を有する上側透光部72とを備えている。そして、枠体70は、例えば非透光性の木材で形成され、後側に、本体ユニット21を挿入可能で取付板部31により閉塞される開口部74が形成されている。そして、各透光部71,72は、例えば樹脂にて乳白色の拡散透光性を有する平板状の透過板として形成されている。また、下側透光部71は、カバー体22の下面のほぼ全面を占めて形成されているが、上側透光部72は、カバー体22の上面の後端部に沿った部分には形成されず、この部分は、枠体70に一体的に形成された枠体側支持部76となっている。そして、この枠体側支持部76には、両側に位置して円孔状の取付部77が形成されているとともに、中央部に位置して、取付凹部33の位置及び形状に沿った凹設部78が形成されている。   As shown in FIGS. 1 and 2, the cover body 22 has a substantially box shape that can accommodate a main body unit 21 in which the instrument main body 12 and the support body 14 are combined. A light-transmitting lower light-transmitting portion 71 provided on the lower surface and a light-transmitting upper light-transmitting portion 72 provided on the upper surface of the frame body 70 are provided. The frame 70 is made of, for example, non-translucent wood, and an opening 74 that can be inserted with the main unit 21 and is closed by the mounting plate 31 is formed on the rear side. Each of the light transmitting portions 71 and 72 is formed as a flat plate-shaped transmission plate having a milky white diffuse light transmission property, for example, with a resin. Further, the lower light transmitting portion 71 is formed so as to occupy almost the entire lower surface of the cover body 22, but the upper light transmitting portion 72 is formed in a portion along the rear end portion of the upper surface of the cover body 22. Instead, this portion is a frame body side support portion 76 formed integrally with the frame body 70. The frame-side support portion 76 is formed with circular attachment portions 77 located on both sides, and is located in the center portion, and is a recessed portion along the position and shape of the attachment recess 33. 78 is formed.

さらに、取付金具26は、図7及び図8に示すように、例えば黒色に塗装された金属板をプレス成形などして、全体としては側面視で略L字状に形成されている。すなわち、この取付金具26は、器具本体取付部81と、この器具本体取付部81の上端部に連続する水平取付部82とを備えている。そして、器具本体取付部81は、垂直な平板状の金具側取付板部84を備え、この金具側取付板部84の両側部は後側に折曲されて垂直補強フランジ85が形成されている。また、金具側取付板部84には、長手方向すなわち上下方向に沿って、下側に連通する配線用切欠部86が形成されているとともに、この配線用切欠部86の両側に位置し、すなわち配線用切欠部86と垂直補強フランジ85との間に位置して、取付受部であるねじ孔87が形成されている。そして、このねじ孔87には、前側から、すなわち頭部を前側に向けて、取付ねじ88が締め付け可能に螺合されている。一方、水平取付部82は、金具側取付板部84に連続する金具天板部91を備え、この金具天板部91の両側部は下側に折曲されて水平補強フランジ92が形成されている。さらに、各水平補強フランジ92の先端部である下側部は、それぞれ外側に折曲され、固定板部94が形成されている。そして、各固定板部94には、長手方向に沿って、すなわち前後方向に沿った長孔である固定孔95が形成されており、取付固定具であるビスを挿入可能となっている。そして、この取付金具26には、器具本体取付部81から水平取付部82に連続し、金具側取付板部84、垂直補強フランジ85、金具天板部91、及び水平補強フランジ92に囲まれた電線配置空間97が形成されている。   Further, as shown in FIGS. 7 and 8, the mounting bracket 26 is formed in a substantially L shape in a side view as a whole, for example, by press molding a metal plate painted in black. That is, the mounting bracket 26 includes a tool body mounting portion 81 and a horizontal mounting portion 82 that is continuous with the upper end portion of the tool body mounting portion 81. The instrument body mounting portion 81 includes a vertical flat metal fitting side mounting plate portion 84, and both side portions of the metal fitting side mounting plate portion 84 are bent rearward to form vertical reinforcing flanges 85. . The metal mounting plate 84 is formed with a wiring cutout 86 communicating with the lower side along the longitudinal direction, that is, the vertical direction, and is located on both sides of the wiring cutout 86, that is, A screw hole 87 serving as an attachment receiving portion is formed between the wiring cutout portion 86 and the vertical reinforcing flange 85. An attachment screw 88 is screwed into the screw hole 87 so as to be tightened from the front side, that is, with the head facing the front side. On the other hand, the horizontal mounting portion 82 includes a metal top plate 91 that is continuous with the metal mounting plate 84, and both side portions of the metal top 91 are bent downward to form horizontal reinforcing flanges 92. Yes. Further, the lower side portion, which is the tip portion of each horizontal reinforcing flange 92, is bent outward to form a fixed plate portion 94. Each fixing plate portion 94 is formed with a fixing hole 95 that is a long hole along the longitudinal direction, that is, along the front-rear direction, so that a screw that is a mounting fixture can be inserted. The mounting bracket 26 is continuous from the instrument body mounting portion 81 to the horizontal mounting portion 82, and is surrounded by the bracket-side mounting plate portion 84, the vertical reinforcing flange 85, the bracket top plate portion 91, and the horizontal reinforcing flange 92. An electric wire arrangement space 97 is formed.

次に、この照明器具10を設置する動作を説明する。   Next, an operation for installing the lighting fixture 10 will be described.

まず、照明器具10を壁面Wに設置する際は、壁面Wの内側から引き出された電源線を器具本体12の電線挿通部36に挿入して前側に引き出し、この電源線の位置に合わせて、支持体14を取り外した器具本体12の取付板部31を壁面Wに沿わせる。そして、取付板部31の両側の締付固定部41,42にそれぞれ締付固定具である図示しないビスを挿入し、これらビスを壁面Wにセルフタッピングさせてねじ込み、器具本体12を壁面Wに締め付け固定する。支持体14を取り外しているため、取付板部31の前方に作業に干渉する部材は存在せず、ビスのねじ込み作業は広い空間で容易に行われる。なお、照明器具10を壁面Wに設置する際は、取付金具26は用いない。   First, when installing the lighting fixture 10 on the wall surface W, the power line drawn from the inside of the wall surface W is inserted into the wire insertion portion 36 of the fixture body 12 and pulled out to the front side, and according to the position of this power line, The mounting plate 31 of the instrument body 12 from which the support 14 has been removed is placed along the wall surface W. Then, screws (not shown) that are fastening fixtures are inserted into the fastening fixing portions 41 and 42 on both sides of the mounting plate portion 31, respectively, and these screws are self-tapped onto the wall surface W and screwed, and the instrument body 12 is attached to the wall surface W. Tighten and fix. Since the support body 14 is removed, there is no member interfering with the operation in front of the mounting plate portion 31, and the screw screwing operation is easily performed in a wide space. Note that the mounting bracket 26 is not used when the lighting fixture 10 is installed on the wall surface W.

次いで、予め点灯装置15を取り付けた支持体14を、器具本体12に係合しねじ止めして取り付ける。この作業は、支持体14の当接支持部60を器具本体12の取付板部31に当接した状態から、支持体14を下方にスライドさせ、図6に示すように、係合部57を係合受部44に挿入するとともに、係止部58を係止受部46の上側に載置する。この状態で、係合部57と係合受部44との係合により支持体14が器具本体12に位置決めして仮止めされ、さらに、当接支持部60が長い寸法で取付板部31に当接して支持体14が器具本体12に安定して仮止めされる。   Next, the support body 14 to which the lighting device 15 is previously attached is engaged with the instrument main body 12 and fixed with screws. In this operation, the support 14 is slid downward from the state in which the contact support 60 of the support 14 is in contact with the mounting plate 31 of the instrument body 12, and the engagement portion 57 is moved as shown in FIG. While being inserted into the engagement receiving portion 44, the locking portion 58 is placed on the upper side of the locking receiving portion 46. In this state, the support 14 is positioned and temporarily fixed to the instrument body 12 by the engagement between the engagement portion 57 and the engagement receiving portion 44, and the contact support portion 60 has a long dimension to the mounting plate portion 31. By abutting, the support 14 is temporarily fixed to the instrument body 12 stably.

そして、上側から、係止部58の固定孔59にねじである固定具48を挿入し、係止受部46のねじ孔47に螺合して締め付けることにより、支持体14が器具本体12に強固に固定される。器具本体12の上方には、作業に干渉する部材は存在せず、固定具48のねじ込み作業は広い空間で容易に行われる。   Then, from above, a fixing tool 48, which is a screw, is inserted into the fixing hole 59 of the locking portion 58, and screwed into the screw hole 47 of the locking receiving portion 46 and tightened, whereby the support 14 is attached to the instrument body 12. It is firmly fixed. There is no member interfering with the work above the instrument body 12, and the screwing work of the fixture 48 is easily performed in a wide space.

次いで、電源線を端子台に接続するとともに、ランプホルダ18にランプLを装着し、口金部64にランプソケット16を接続することにより、本体ユニット21が完成する。   Next, the power supply line is connected to the terminal block, the lamp L is mounted on the lamp holder 18, and the lamp socket 16 is connected to the base 64, thereby completing the main unit 21.

そして、この本体ユニット21の前側から、カバー体22を被せ、このカバー体22の開口部74を取付板部31に嵌合した状態で、カバー体22の取付部77に化粧ねじ24を挿入し、この化粧ねじ24を、本体ユニット21を構成する器具本体12のケース体取付部49のねじ孔50に螺合して締め付けることにより、カバー体22が本体ユニット21に取り付けられ、照明器具10が完成する。   Then, the cover body 22 is covered from the front side of the main body unit 21, and the decorative screw 24 is inserted into the attachment portion 77 of the cover body 22 in a state where the opening 74 of the cover body 22 is fitted to the attachment plate portion 31. The cover body 22 is attached to the main body unit 21 by screwing the decorative screw 24 into the screw hole 50 of the case body mounting portion 49 of the instrument main body 12 constituting the main body unit 21. Complete.

また、上記の工程と逆の工程を採ることにより、保守作業などが行われる。   Moreover, maintenance work etc. are performed by taking the reverse process to said process.

一方、照明器具10を梁Bに設置する際は、まず、梁Bに取付金具26を取り付ける。この取付作業は、電源線を取付金具26で覆うようにして、電線配置空間97に電源線を配置しつつ、梁Bの前面に器具本体取付部81の垂直補強フランジ85を沿わせ、梁Bの上面に水平取付部82の固定板部94を沿わせて当接する。そして、上側から固定板部94の固定孔95に上側から取付固定具であるビスを挿入し、梁Bにセルフタッピングさせてねじ込み、梁Bの上面に水平取付部82を固定して、取付金具26を梁Bに締め付け固定する。   On the other hand, when installing the luminaire 10 on the beam B, first, the mounting bracket 26 is attached to the beam B. In this mounting operation, the power supply line is covered with the mounting bracket 26 so that the power supply line is disposed in the electric wire arrangement space 97, and the vertical reinforcing flange 85 of the instrument body mounting portion 81 is placed along the front surface of the beam B. The fixing plate portion 94 of the horizontal mounting portion 82 is in contact with the top surface of the horizontal mounting portion 82. Then, a screw, which is a mounting fixture, is inserted from above into the fixing hole 95 of the fixing plate portion 94 from above, is screwed by self-tapping onto the beam B, and the horizontal mounting portion 82 is fixed to the upper surface of the beam B, and the mounting bracket Tighten 26 to beam B and fix.

次いで、取付金具26の配線用切欠部86を介して、電源線を器具本体12の電線挿通部36に挿入して前側に引き出すとともに、取付金具26を器具本体12の取付凹部33に嵌め込む。そして、取付金具26に予め緩やかに螺合して取り付けた取付ねじ88を、器具本体12の取付金具取付部37の挿入部37aに挿入した状態で、器具本体12を下方にスライドさせることにより、取付ねじ88が取付金具取付部37の溝部44aに係止され、取付金具26に器具本体12が位置決めして仮止めされる。そして、各取付ねじ88を締め付けることにより、取付金具26の器具本体取付部81が取付凹部33に取り付けられ、取付金具26に器具本体12が強固に固定される。   Next, the power supply line is inserted into the wire insertion part 36 of the instrument body 12 through the wiring notch 86 of the attachment bracket 26 and pulled out to the front side, and the attachment bracket 26 is fitted into the attachment recess 33 of the instrument body 12. Then, by sliding the instrument body 12 downward in a state where the mounting screw 88 that is gently screwed into the mounting bracket 26 in advance is inserted into the insertion part 37a of the mounting bracket attachment part 37 of the instrument body 12, The mounting screw 88 is locked in the groove 44a of the mounting bracket mounting portion 37, and the instrument body 12 is positioned and temporarily fixed to the mounting bracket 26. Then, by tightening each mounting screw 88, the instrument body mounting portion 81 of the mounting bracket 26 is mounted in the mounting recess 33, and the instrument body 12 is firmly fixed to the mounting bracket 26.

続いて、器具本体12に支持体14を取り付ける作業以下は、上記の壁面Wに取り付ける作業と同一である。   Subsequently, the operation for attaching the support 14 to the instrument main body 12 is the same as the operation for attaching to the wall surface W described above.

そして、このように設置された照明器具10について、電源線から電力を供給し、ランプLを点灯させると、ランプLの発光部63から照射された光について、一部は反射面部53で反射させ、カバー体22の下側透光部71から下方に拡散しつつ配光が行われるとともに、カバー体22の上側透光部72から上方に拡散しつつ配光が行われる。   And about the lighting fixture 10 installed in this way, when electric power is supplied from a power supply line and the lamp L is turned on, part of the light emitted from the light emitting portion 63 of the lamp L is reflected by the reflecting surface portion 53. Light distribution is performed while diffusing downward from the lower light transmitting portion 71 of the cover body 22, and light distribution is performed while diffusing upward from the upper light transmitting portion 72 of the cover body 22.

このように、本実施の形態の照明器具10によれば、壁面W及び梁Bに取り付けできる壁面W取付形の照明器具12について、垂直状の被取付面である壁面Wに沿って取り付けられる器具本体12を備える構成であって、環状の発光部63が水平状とになるようにランプLを支持板部51で支持したため、上下方向の配光を有効にできる。   Thus, according to the luminaire 10 of the present embodiment, the luminaire 12 attached to the wall surface W and the beam B can be attached along the wall surface W which is a vertical attached surface. Since the lamp L is supported by the support plate 51 so that the annular light emitting portion 63 is horizontal, the light distribution in the vertical direction can be made effective.

そして、環状のランプLの内側に位置しかつランプLと同じ側である支持板部51の下面に点灯装置15を支持したため、ランプLと点灯装置15とを上下に重ねる構成に比べ、照明器具10を薄型化できるとともに、点灯装置15により光が妨げられず、上下に有効に配光できる。   Further, since the lighting device 15 is supported on the lower surface of the support plate 51 located on the inner side of the annular lamp L and on the same side as the lamp L, the luminaire is compared with a configuration in which the lamp L and the lighting device 15 are vertically stacked. 10 can be reduced in thickness, and the lighting device 15 does not block light and can effectively distribute light up and down.

また、ランプLは、発光部63が支持板部51の下方に位置し、かつ、この支持板部51の上方から見て、発光部63の面積の半分以上が支持板部51から露出するようにしたため、下方のみならず、上方にも効率良く配光が確保され、照明効果を向上できる。   In the lamp L, the light emitting portion 63 is positioned below the support plate portion 51, and when viewed from above the support plate portion 51, more than half of the area of the light emitting portion 63 is exposed from the support plate portion 51. Therefore, the light distribution is efficiently ensured not only below but also above, and the illumination effect can be improved.

また、支持板部51は、ランプLに対向して反射面部53を備えるとともに、この反射面部53に対向するようにランプLの口金部64を配置したため、反射面部53による反射と、下側透光部71の拡散により、発光しない口金部64の部分が暗く見えることを抑制し、照明効果を向上できる。   Further, since the support plate portion 51 includes the reflection surface portion 53 facing the lamp L, and the base portion 64 of the lamp L is disposed so as to face the reflection surface portion 53, the reflection by the reflection surface portion 53 and the lower transparent portion are arranged. Due to the diffusion of the light portion 71, the portion of the base portion 64 that does not emit light can be suppressed from appearing dark, and the illumination effect can be improved.

また、支持体14は、係合受部44に上側から挿入して係合される係合部57と、係止受部46の上側に重ねられる係止部58とを備え、固定具48により係止受部46と係止部58とを固定する構成としたため、器具本体12と支持体14とを容易に着脱できる。そこで、器具本体12から支持体14を取り外し、作業空間を確保した状態で、前方からの作業で器具本体12を壁面Wに作業性良く取り付けできるとともに、メンテナンス作業も容易にできる。また、支持体14は、器具本体12に上側から組み合わせることにより、係合及び係止されるとともに、上側を作業空間として、固定具48により係止受部46と係止部58とを固定する作業を行うことができ、支持体14を器具本体12に作業性良く強固に取り付けできる。   Further, the support body 14 includes an engagement portion 57 that is inserted into and engaged with the engagement receiving portion 44 from above, and a locking portion 58 that is superimposed on the upper side of the locking receiving portion 46. Since the locking receiving portion 46 and the locking portion 58 are fixed, the instrument body 12 and the support body 14 can be easily attached and detached. Thus, the support body 14 can be removed from the instrument body 12 to secure the work space, so that the instrument body 12 can be attached to the wall surface W with good workability from the front and maintenance work can be facilitated. Further, the support body 14 is engaged and locked by being combined with the instrument main body 12 from above, and the locking receiving portion 46 and the locking portion 58 are fixed by the fixture 48 with the upper side as a work space. Work can be performed, and the support 14 can be firmly attached to the instrument body 12 with good workability.

また、照明器具10を垂直状の被取付面である壁面Wに取り付ける場合には、器具本体12の取付板部31の締付固定部41,42を壁面Wに締め付け固定して直付けできる。この状態では、締付固定部41,42の間に位置して屈曲された取付板部31の取付凹部33が補強部となり、器具本体12の変形を抑制して、確実に施工できるとともに良好な外観を維持できる。このように、照明器具10を壁面Wに取り付ける場合には、取付金具26を用いる必要がなく、部品点数を削減し、構成を簡略化して、製造コストを低減できる。   Further, when the lighting fixture 10 is attached to the wall surface W which is a vertical attached surface, the fastening fixing portions 41 and 42 of the attachment plate portion 31 of the fixture main body 12 can be fixed directly to the wall surface W. In this state, the mounting concave portion 33 of the mounting plate portion 31 that is bent between the fastening and fixing portions 41 and 42 serves as a reinforcing portion, and the deformation of the instrument main body 12 is suppressed and the construction can be reliably performed and good. Appearance can be maintained. Thus, when attaching the lighting fixture 10 to the wall surface W, it is not necessary to use the mounting bracket 26, the number of parts can be reduced, the configuration can be simplified, and the manufacturing cost can be reduced.

一方、照明器具12を梁Bに取り付ける場合には、取付金具26の水平取付部82を梁Bの上面に固定するとともに、この取付金具26の器具本体取付部81を取付凹部33に取り付けることにより、照明器具10を容易に強固に設置できる。この場合には、取付金具26に、器具本体取付部81から水平取付部82に連続する電線配置空間97を設けて配線スペースを確保したため、電線である電源線を保護しつつ、器具本体12の取付板部31を梁Bの垂直面に密着して配置できる。   On the other hand, when attaching the lighting fixture 12 to the beam B, the horizontal mounting portion 82 of the mounting bracket 26 is fixed to the upper surface of the beam B, and the fixture body mounting portion 81 of the mounting bracket 26 is attached to the mounting recess 33. The lighting apparatus 10 can be easily and firmly installed. In this case, the mounting bracket 26 is provided with the electric wire arrangement space 97 continuous from the instrument main body mounting portion 81 to the horizontal mounting portion 82 to secure the wiring space. The mounting plate portion 31 can be disposed in close contact with the vertical surface of the beam B.

なお、上記の実施の形態では、ランプLは、略四角環状の蛍光ランプを用いたが、円環状の蛍光ランプを用いることもでき、複数のランプLを同心状に配置することもできる。   In the above embodiment, the lamp L is a substantially square-shaped fluorescent lamp, but an annular fluorescent lamp can also be used, and a plurality of lamps L can be arranged concentrically.

本発明は、住宅や店舗などに設置される壁面取付形の照明器具として利用される。   INDUSTRIAL APPLICABILITY The present invention is used as a wall-mounted lighting fixture that is installed in a house or a store.

本発明の照明器具の一実施の形態を示す下側から見た分解状態の斜視図である。It is the perspective view of the decomposition | disassembly state seen from the lower side which shows one Embodiment of the lighting fixture of this invention. 同上照明器具の上方から見た分解状態の斜視図である。It is a perspective view of the decomposition | disassembly state seen from the upper direction of the lighting fixture same as the above. 同上照明器具の本体ユニットを上方から見た説明図である。It is explanatory drawing which looked at the main body unit of the lighting fixture same as the above. 同上照明器具の本体ユニットの側面図である。It is a side view of the main body unit of a lighting fixture same as the above. 同上照明器具の本体ユニットの後面図である。It is a rear view of the main body unit of a lighting fixture same as the above. 同上照明器具の本体ユニットの一部の斜視図である。It is a one part perspective view of the main body unit of a lighting fixture same as the above. 同上照明器具の取付金具を用いた状態の斜視図である。It is a perspective view of the state using the mounting fixture of the lighting fixture same as the above. 同上照明器具の取付金具を用いた状態の一部の分解状態の斜視図である。It is a perspective view of the one part decomposition | disassembly state of the state using the attachment fixture of the lighting fixture same as the above.

符号の説明Explanation of symbols

10 照明器具
12 器具本体
14 支持体
15 点灯装置
20 固定具
22 カバー体
26 取付金具
31 取付板部
33 取付凹部
41,42 締付固定部
44 係合受部
46 係止受部
51 支持板部
53 反射面部
57 係合部
58 係止部
63 発光部
64 口金部
71 下側透光部
72 上側透光部
81 器具本体取付部
82 水平取付部
97 電線配置空間
B 被取付面としての梁
L ランプ
W 被取付面としての壁面
10 Lighting equipment
12 Instrument body
14 Support
15 Lighting device
20 Fixture
22 Cover body
26 Mounting bracket
31 Mounting plate
33 Mounting recess
41, 42 Tightening fixing part
44 Engagement receiver
46 Locking receiving part
51 Support plate
53 Reflective surface
57 Engagement part
58 Locking part
63 Light emitter
64 base
71 Lower translucent part
72 Upper translucent part
81 Instrument body attachment
82 Horizontal mounting part
97 Wire placement space B Beam as mounting surface L Lamp W Wall surface as mounting surface

Claims (5)

垂直状の被取付面に沿って取り付けられる器具本体と;
器具本体に取り付けられ水平状の支持板部を有する支持体と;
環状の発光部を有し、この発光部が水平状になるように支持板部に支持されるランプと;
ランプの内側に位置しかつランプと同じ側で支持板部に支持される点灯装置と;
を具備することを特徴とする照明器具。
An instrument body mounted along a vertical mounting surface;
A support attached to the instrument body and having a horizontal support plate;
A lamp having an annular light emitting portion and supported by the support plate portion so that the light emitting portion is horizontal;
A lighting device located inside the lamp and supported by the support plate on the same side as the lamp;
The lighting fixture characterized by comprising.
器具本体を覆い、ランプの下側に位置して透光性を有する下側透光部及びランプの上側に位置して透光性を有する上側透光部を備えたカバー体を具備し、
ランプは、発光部が支持板部の下方に位置し、かつ、支持板部の上方から見て、発光部の面積の半分以上が支持板部から露出する
ことを特徴とする請求項1記載の照明器具。
Covering the instrument body, comprising a cover body comprising a lower light-transmitting part located on the lower side of the lamp and having a light-transmitting property and an upper light-transmitting part located on the upper side of the lamp and having a light-transmitting property;
2. The lamp according to claim 1, wherein the light emitting portion is located below the support plate portion, and more than half of the area of the light emitting portion is exposed from the support plate portion when viewed from above the support plate portion. lighting equipment.
支持板部は、ランプに対向して反射面部を備え、
ランプは、反射面部に対向して口金部を備えた
ことを特徴とする請求項1または2記載の照明器具。
The support plate portion includes a reflection surface portion facing the lamp,
The lamp according to claim 1 or 2, wherein the lamp includes a base portion facing the reflecting surface portion.
垂直状の被取付面に沿って配置されるとともに器具本体に取り付けられる器具本体取付部と、水平状の被取付面に固定される水平取付部と、器具本体取付部から水平取付部に連続する電線配置空間とを備えた取付金具を具備し、
器具本体は、板材を屈曲して構成した取付板部を備え、この取付板部には、垂直状の被取付面から離間する方向に凹設され、器具本体取付部が取り付けられる取付凹部と、この取付凹部の両側方に位置して垂直状の被取付面に締め付け固定される締付固定部とを備えた
ことを特徴とする請求項1ないし3いずれか一記載の照明器具。
An instrument body mounting portion that is disposed along the vertical mounting surface and is attached to the tool body, a horizontal mounting portion that is fixed to the horizontal mounting surface, and a continuous from the instrument body mounting portion to the horizontal mounting portion. A mounting bracket having a wire arrangement space;
The instrument body includes a mounting plate portion formed by bending a plate material, and the mounting plate portion is recessed in a direction away from the vertical mounting surface, and the mounting recess to which the instrument body mounting portion is attached, The lighting fixture according to any one of claims 1 to 3, further comprising: a fastening fixing portion positioned on both sides of the mounting recess and fastened and fixed to a vertical mounting surface.
器具本体は、係合受部と、水平状の係止受部とを有した取付板部を備え、
支持体は、係合受部に上側から挿入して係合される係合部と、係止受部の上側に重ねられる係止部とを備え、
係止受部と係止部とを固定する固定具を備えた
ことを特徴とする請求項1ないし4いずれか一記載の照明器具。
The instrument body includes an attachment plate portion having an engagement receiving portion and a horizontal locking receiving portion,
The support body includes an engaging portion that is inserted into and engaged with the engaging receiving portion from above, and a locking portion that is overlaid on the locking receiving portion,
The lighting fixture according to any one of claims 1 to 4, further comprising a fixture that fixes the latch receiving portion and the latch portion.
JP2007093049A 2007-03-30 2007-03-30 lighting equipment Expired - Fee Related JP4643604B2 (en)

Priority Applications (1)

Application Number Priority Date Filing Date Title
JP2007093049A JP4643604B2 (en) 2007-03-30 2007-03-30 lighting equipment

Applications Claiming Priority (1)

Application Number Priority Date Filing Date Title
JP2007093049A JP4643604B2 (en) 2007-03-30 2007-03-30 lighting equipment

Publications (2)

Publication Number Publication Date
JP2008251412A true JP2008251412A (en) 2008-10-16
JP4643604B2 JP4643604B2 (en) 2011-03-02

Family

ID=39976109

Family Applications (1)

Application Number Title Priority Date Filing Date
JP2007093049A Expired - Fee Related JP4643604B2 (en) 2007-03-30 2007-03-30 lighting equipment

Country Status (1)

Country Link
JP (1) JP4643604B2 (en)

Citations (12)

* Cited by examiner, † Cited by third party
Publication number Priority date Publication date Assignee Title
JPS4622393Y1 (en) * 1968-02-13 1971-08-03
JPS62285893A (en) * 1986-06-04 1987-12-11 三菱電機株式会社 passenger conveyor lighting system
JPH01146412U (en) * 1988-03-31 1989-10-09
JPH0340257U (en) * 1989-08-31 1991-04-18
JPH0381065U (en) * 1989-12-08 1991-08-20
JPH0631014U (en) * 1992-09-24 1994-04-22 松下電工株式会社 lighting equipment
JPH1040720A (en) * 1996-07-25 1998-02-13 Matsushita Electric Works Ltd Wall bracket luminaire
JP2006012483A (en) * 2004-06-23 2006-01-12 Nec Lighting Ltd Illumination apparatus and inverter device
JP2006012603A (en) * 2004-06-25 2006-01-12 Matsushita Electric Works Ltd Discharge lamp lighting device and luminaire
JP2006164927A (en) * 2004-12-08 2006-06-22 Mitsuboshi Denki Seisakusho:Kk Fitting of wall surface direct-mount luminaire
JP2006221939A (en) * 2005-02-09 2006-08-24 Toshiba Home Lighting Kk lighting equipment
JP2008235261A (en) * 2007-02-19 2008-10-02 Matsushita Electric Works Ltd Lighting apparatus

Patent Citations (12)

* Cited by examiner, † Cited by third party
Publication number Priority date Publication date Assignee Title
JPS4622393Y1 (en) * 1968-02-13 1971-08-03
JPS62285893A (en) * 1986-06-04 1987-12-11 三菱電機株式会社 passenger conveyor lighting system
JPH01146412U (en) * 1988-03-31 1989-10-09
JPH0340257U (en) * 1989-08-31 1991-04-18
JPH0381065U (en) * 1989-12-08 1991-08-20
JPH0631014U (en) * 1992-09-24 1994-04-22 松下電工株式会社 lighting equipment
JPH1040720A (en) * 1996-07-25 1998-02-13 Matsushita Electric Works Ltd Wall bracket luminaire
JP2006012483A (en) * 2004-06-23 2006-01-12 Nec Lighting Ltd Illumination apparatus and inverter device
JP2006012603A (en) * 2004-06-25 2006-01-12 Matsushita Electric Works Ltd Discharge lamp lighting device and luminaire
JP2006164927A (en) * 2004-12-08 2006-06-22 Mitsuboshi Denki Seisakusho:Kk Fitting of wall surface direct-mount luminaire
JP2006221939A (en) * 2005-02-09 2006-08-24 Toshiba Home Lighting Kk lighting equipment
JP2008235261A (en) * 2007-02-19 2008-10-02 Matsushita Electric Works Ltd Lighting apparatus

Also Published As

Publication number Publication date
JP4643604B2 (en) 2011-03-02

Similar Documents

Publication Publication Date Title
WO2014057679A1 (en) Light source unit and illumination fixture
JP6677797B2 (en) Light emitting unit and lighting device
JP5971591B2 (en) lighting equipment
JP4643604B2 (en) lighting equipment
JP2011040229A (en) Lighting system
JP5866527B2 (en) Light source unit and lighting apparatus
JP6372779B2 (en) lighting equipment
JP5819497B1 (en) LIGHT EMITTING UNIT FOR LIGHTING DEVICE AND LIGHTING DEVICE
JP2014137933A (en) Lighting fixture
JP4699865B2 (en) Fixtures and lighting devices
JP2020140925A (en) Lighting device
JP2020140815A (en) Lighting device
JP7538386B2 (en) Pole Structure
JP6449662B2 (en) LIGHTING DEVICE AND LIGHTING DEVICE EQUIPMENT BODY
JP2015032569A (en) lighting equipment
JP2015095453A (en) Mounting method for led lighting device
JP2019083093A (en) Lighting fixture
JP5893693B1 (en) LIGHT EMITTING UNIT FOR LIGHTING DEVICE AND LIGHTING DEVICE
JP2013254719A (en) Lighting fixture
JP2012243483A (en) Led unit and lighting fixture
JP2020087793A (en) Luminaire and coupling tool for luminaire
JP6089270B2 (en) lighting equipment
JP6653440B2 (en) lighting equipment
JP2018129178A (en) Light source unit and lighting fixture
JP5819496B1 (en) LIGHT EMITTING UNIT FOR LIGHTING DEVICE AND LIGHTING DEVICE

Legal Events

Date Code Title Description
A711 Notification of change in applicant

Free format text: JAPANESE INTERMEDIATE CODE: A712

Effective date: 20090217

A621 Written request for application examination

Free format text: JAPANESE INTERMEDIATE CODE: A621

Effective date: 20090910

A977 Report on retrieval

Free format text: JAPANESE INTERMEDIATE CODE: A971007

Effective date: 20101029

TRDD Decision of grant or rejection written
A01 Written decision to grant a patent or to grant a registration (utility model)

Free format text: JAPANESE INTERMEDIATE CODE: A01

Effective date: 20101110

A01 Written decision to grant a patent or to grant a registration (utility model)

Free format text: JAPANESE INTERMEDIATE CODE: A01

A61 First payment of annual fees (during grant procedure)

Free format text: JAPANESE INTERMEDIATE CODE: A61

Effective date: 20101202

R150 Certificate of patent (=grant) or registration of utility model

Free format text: JAPANESE INTERMEDIATE CODE: R150

FPAY Renewal fee payment (prs date is renewal date of database)

Free format text: PAYMENT UNTIL: 20131210

Year of fee payment: 3

LAPS Cancellation because of no payment of annual fees