JP2008206445A - Structure for live rock and porous cement hardened body - Google Patents
Structure for live rock and porous cement hardened body Download PDFInfo
- Publication number
- JP2008206445A JP2008206445A JP2007046302A JP2007046302A JP2008206445A JP 2008206445 A JP2008206445 A JP 2008206445A JP 2007046302 A JP2007046302 A JP 2007046302A JP 2007046302 A JP2007046302 A JP 2007046302A JP 2008206445 A JP2008206445 A JP 2008206445A
- Authority
- JP
- Japan
- Prior art keywords
- cement
- live
- live block
- water
- hardened
- Prior art date
- Legal status (The legal status is an assumption and is not a legal conclusion. Google has not performed a legal analysis and makes no representation as to the accuracy of the status listed.)
- Granted
Links
- 239000004568 cement Substances 0.000 title claims abstract description 162
- 239000011435 rock Substances 0.000 title abstract description 20
- XLYOFNOQVPJJNP-UHFFFAOYSA-N water Substances O XLYOFNOQVPJJNP-UHFFFAOYSA-N 0.000 claims abstract description 75
- 239000000203 mixture Substances 0.000 claims abstract description 42
- 239000004088 foaming agent Substances 0.000 claims description 31
- 239000003795 chemical substances by application Substances 0.000 claims description 28
- 230000035699 permeability Effects 0.000 claims description 21
- UFHFLCQGNIYNRP-UHFFFAOYSA-N Hydrogen Chemical compound [H][H] UFHFLCQGNIYNRP-UHFFFAOYSA-N 0.000 claims description 8
- 229910052782 aluminium Inorganic materials 0.000 claims description 8
- XAGFODPZIPBFFR-UHFFFAOYSA-N aluminium Chemical group [Al] XAGFODPZIPBFFR-UHFFFAOYSA-N 0.000 claims description 8
- AXCZMVOFGPJBDE-UHFFFAOYSA-L calcium dihydroxide Chemical compound [OH-].[OH-].[Ca+2] AXCZMVOFGPJBDE-UHFFFAOYSA-L 0.000 claims description 8
- 239000001257 hydrogen Substances 0.000 claims description 8
- 229910052739 hydrogen Inorganic materials 0.000 claims description 8
- 229910001861 calcium hydroxide Inorganic materials 0.000 claims description 7
- 239000000920 calcium hydroxide Substances 0.000 claims description 7
- 239000007789 gas Substances 0.000 claims description 5
- 230000000887 hydrating effect Effects 0.000 claims description 4
- 239000000126 substance Substances 0.000 claims description 4
- 239000004576 sand Substances 0.000 abstract description 12
- 239000011369 resultant mixture Substances 0.000 abstract 1
- 235000014653 Carica parviflora Nutrition 0.000 description 65
- 241000243321 Cnidaria Species 0.000 description 44
- 238000004519 manufacturing process Methods 0.000 description 37
- 239000010410 layer Substances 0.000 description 25
- 238000007667 floating Methods 0.000 description 24
- 241000242757 Anthozoa Species 0.000 description 21
- 241000894006 Bacteria Species 0.000 description 19
- 241000195493 Cryptophyta Species 0.000 description 16
- 239000004567 concrete Substances 0.000 description 15
- 239000013535 sea water Substances 0.000 description 12
- 229910017464 nitrogen compound Inorganic materials 0.000 description 10
- 150000002830 nitrogen compounds Chemical class 0.000 description 10
- 230000000052 comparative effect Effects 0.000 description 9
- 230000004048 modification Effects 0.000 description 9
- 238000012986 modification Methods 0.000 description 9
- 239000011800 void material Substances 0.000 description 9
- 239000003638 chemical reducing agent Substances 0.000 description 8
- 238000009434 installation Methods 0.000 description 8
- 238000000034 method Methods 0.000 description 8
- 235000008733 Citrus aurantifolia Nutrition 0.000 description 7
- 235000011941 Tilia x europaea Nutrition 0.000 description 7
- 238000009360 aquaculture Methods 0.000 description 7
- 244000144974 aquaculture Species 0.000 description 7
- 239000004571 lime Substances 0.000 description 7
- 238000000465 moulding Methods 0.000 description 7
- 230000002349 favourable effect Effects 0.000 description 6
- 239000000463 material Substances 0.000 description 6
- 238000000746 purification Methods 0.000 description 6
- 210000004185 liver Anatomy 0.000 description 5
- XEEYBQQBJWHFJM-UHFFFAOYSA-N Iron Chemical compound [Fe] XEEYBQQBJWHFJM-UHFFFAOYSA-N 0.000 description 4
- 238000004891 communication Methods 0.000 description 4
- 238000010586 diagram Methods 0.000 description 4
- 238000004898 kneading Methods 0.000 description 4
- 244000005700 microbiome Species 0.000 description 4
- 230000003014 reinforcing effect Effects 0.000 description 4
- 230000015572 biosynthetic process Effects 0.000 description 3
- 230000007246 mechanism Effects 0.000 description 3
- 238000002156 mixing Methods 0.000 description 3
- 239000004570 mortar (masonry) Substances 0.000 description 3
- 238000011084 recovery Methods 0.000 description 3
- 235000015170 shellfish Nutrition 0.000 description 3
- 229920002430 Fibre-reinforced plastic Polymers 0.000 description 2
- 229910000831 Steel Inorganic materials 0.000 description 2
- 230000009471 action Effects 0.000 description 2
- 238000012258 culturing Methods 0.000 description 2
- 230000000694 effects Effects 0.000 description 2
- 239000011151 fibre-reinforced plastic Substances 0.000 description 2
- 238000009472 formulation Methods 0.000 description 2
- 230000005764 inhibitory process Effects 0.000 description 2
- 229910052742 iron Inorganic materials 0.000 description 2
- 230000029553 photosynthesis Effects 0.000 description 2
- 238000010672 photosynthesis Methods 0.000 description 2
- 230000009467 reduction Effects 0.000 description 2
- 239000010959 steel Substances 0.000 description 2
- 239000004575 stone Substances 0.000 description 2
- 238000005303 weighing Methods 0.000 description 2
- 241000251468 Actinopterygii Species 0.000 description 1
- 241001474374 Blennius Species 0.000 description 1
- -1 and for example Substances 0.000 description 1
- QVGXLLKOCUKJST-UHFFFAOYSA-N atomic oxygen Chemical compound [O] QVGXLLKOCUKJST-UHFFFAOYSA-N 0.000 description 1
- 230000008901 benefit Effects 0.000 description 1
- 238000009395 breeding Methods 0.000 description 1
- 230000001488 breeding effect Effects 0.000 description 1
- 239000000919 ceramic Substances 0.000 description 1
- 230000008859 change Effects 0.000 description 1
- 238000006243 chemical reaction Methods 0.000 description 1
- 239000011247 coating layer Substances 0.000 description 1
- 238000007906 compression Methods 0.000 description 1
- 230000006835 compression Effects 0.000 description 1
- 239000000470 constituent Substances 0.000 description 1
- 230000007797 corrosion Effects 0.000 description 1
- 238000005260 corrosion Methods 0.000 description 1
- 230000007613 environmental effect Effects 0.000 description 1
- 239000006260 foam Substances 0.000 description 1
- 230000005484 gravity Effects 0.000 description 1
- 150000002431 hydrogen Chemical class 0.000 description 1
- 230000010354 integration Effects 0.000 description 1
- 229910052751 metal Inorganic materials 0.000 description 1
- 239000002184 metal Substances 0.000 description 1
- 239000001301 oxygen Substances 0.000 description 1
- 229910052760 oxygen Inorganic materials 0.000 description 1
- 239000002245 particle Substances 0.000 description 1
- 230000002093 peripheral effect Effects 0.000 description 1
- 239000000843 powder Substances 0.000 description 1
- 230000008569 process Effects 0.000 description 1
- 230000000644 propagated effect Effects 0.000 description 1
- 239000002994 raw material Substances 0.000 description 1
- 238000007493 shaping process Methods 0.000 description 1
- 238000004904 shortening Methods 0.000 description 1
- 239000002893 slag Substances 0.000 description 1
- 238000002054 transplantation Methods 0.000 description 1
- 238000003466 welding Methods 0.000 description 1
Images
Classifications
-
- Y—GENERAL TAGGING OF NEW TECHNOLOGICAL DEVELOPMENTS; GENERAL TAGGING OF CROSS-SECTIONAL TECHNOLOGIES SPANNING OVER SEVERAL SECTIONS OF THE IPC; TECHNICAL SUBJECTS COVERED BY FORMER USPC CROSS-REFERENCE ART COLLECTIONS [XRACs] AND DIGESTS
- Y02—TECHNOLOGIES OR APPLICATIONS FOR MITIGATION OR ADAPTATION AGAINST CLIMATE CHANGE
- Y02A—TECHNOLOGIES FOR ADAPTATION TO CLIMATE CHANGE
- Y02A40/00—Adaptation technologies in agriculture, forestry, livestock or agroalimentary production
- Y02A40/80—Adaptation technologies in agriculture, forestry, livestock or agroalimentary production in fisheries management
- Y02A40/81—Aquaculture, e.g. of fish
Landscapes
- Artificial Fish Reefs (AREA)
- Farming Of Fish And Shellfish (AREA)
Abstract
Description
本発明は、多孔質のセメント、モルタルあるいはコンクリートに関し、さらに詳しくは、人工的にライブロックを生産することに適した多孔質のセメント、モルタルあるいはコンクリートに関する。 The present invention relates to a porous cement, mortar, or concrete, and more particularly, to a porous cement, mortar, or concrete suitable for artificially producing live rock.
ライブロックとは、サンゴ礁の海から引き揚げられた自然の岩のことであり、窒素化合物等を分解するバクテリアが定着している。このため、海水魚の飼育等において、理想的な濾材として用いられている。特許文献1には、槽内に少なくとも1つのライブロックを設置し、ライブロック上に水生生物、草木及び藻類を繁殖させ、水生生物、草木及び藻類の浄化作用で水槽水の浄化を促進させる海水等利用水槽が開示されている。 Live rocks are natural rocks drawn from the coral reef sea, and bacteria that decompose nitrogen compounds and the like are established. For this reason, it is used as an ideal filter medium in the breeding of saltwater fish. In Patent Document 1, at least one live block is installed in a tank, aquatic organisms, vegetation and algae are propagated on the live block, and the purification of aquarium water is promoted by the purification action of aquatic organisms, vegetation and algae. An equal water tank is disclosed.
しかし、ライブロックは自然の岩であるため、自然保護の観点から採取が制限される傾向にある。このため、近年においては、人工的にライブロックを生産し、濾材として提供する試みが行われている。人工的にライブロックを生産する場合、例えば、ライブロック用の構造体を海中に所定期間浸漬して、生物を付着させてライブロックとする手法が考えられる。このような手法で人工的にライブロックを生産する場合、生物が定着してライブロックが完成するまでの期間をできる限り短くしたいという要請がある。 However, live rocks are natural rocks and tend to be limited in terms of nature conservation. For this reason, in recent years, attempts have been made to artificially produce live blocks and provide them as filter media. In the case of producing a live block artificially, for example, a method of making a live block by immersing a structure for live block in the sea for a predetermined period and attaching a living thing to it can be considered. When artificially producing live rock by such a method, there is a demand for shortening the period from the establishment of living organisms to the completion of live rock as much as possible.
また、人工的に生産したライブロックに子サンゴを移植してサンゴの養殖をしたり、サンゴ礁が失われた海域に人工的に生産したライブロックを配置してサンゴ礁を回復させたりする試みも提案され、実行されつつある。このためには多くのライブロックが必要となるので、効率的に、かつ窒素化合物等を分解するバクテリア等の生物の生育に適したライブロックを人工的に生産できることが望まれる。 Proposals are also made for transplanting coral reefs to artificially produced live rocks to cultivate corals, or to place artificially produced live rocks in areas where coral reefs have been lost and restore coral reefs. Is being implemented. For this purpose, since many live blocks are required, it is desirable to be able to artificially produce live blocks suitable for the growth of organisms such as bacteria that decompose nitrogen compounds and the like efficiently.
そこで、この発明は、上記に鑑みてなされたものであって、生物の成育に適したライブロックを効率的に生産することができるライブロック用構造体及び多孔質セメント硬化体を提供することを目的とする。 Accordingly, the present invention has been made in view of the above, and provides a structure for livelock and a hardened porous cement body that can efficiently produce a livelock suitable for the growth of organisms. Objective.
上述した課題を解決し、目的を達成するために、本発明に係るライブロック用構造体は、セメントと水とを含むセメント混合物を水和硬化させてなるセメントの硬化体であり、セメントと、前記セメント混合物中に微細な気泡を混入させる空気連行剤と、前記セメント混合物中に発生する物質と反応して気体を発生させる起泡剤と、を含み、少なくとも、前記硬化体の内部に形成される空隙に生物を定着させることを特徴とする。 In order to solve the above-mentioned problems and achieve the object, the structure for livelock according to the present invention is a hardened body of cement obtained by hydrating and hardening a cement mixture containing cement and water. An air entraining agent that mixes fine bubbles in the cement mixture, and a foaming agent that reacts with a substance generated in the cement mixture to generate gas, and is formed at least inside the hardened body. It is characterized in that organisms are fixed in the voids.
このライブロック用構造体は、バクテリア類や藻類、あるいはサンゴ等の生物が定着したライブロックの生産に用いられるものである。そして、このライブロック用構造体は、少なくとも、セメントと空気連行剤と起泡剤と水とを混練した混合物を成型して製造される。これによって、このライブロック用構造体の内部には、直径数μm〜数百μmの連続した空隙が多数形成されるので、窒素化合物等を分解するバクテリア等の生物の生育に好ましい環境を作り出しやすくなる。このようなライブロック用構造体を海中に浸漬すれば、比較的短期間で窒素化合物等を分解するバクテリア等の生物の生育に好ましい環境が形成されるので、生物の成育に適したライブロックを効率的に生産することができる。また、このライブロック用構造体は、材料を計量し、混合した後に成形するのみで製造することができるので、品質のばらつきが少ないものを効率よく大量に製造することができる。 This live block structure is used for the production of live blocks in which organisms such as bacteria, algae, and corals are established. The live block structure is manufactured by molding a mixture of at least cement, an air entraining agent, a foaming agent, and water. As a result, a large number of continuous voids with a diameter of several μm to several hundreds of μm are formed inside the live block structure, so that it is easy to create a favorable environment for the growth of organisms such as bacteria that decompose nitrogen compounds. Become. If such a structure for live rock is immersed in the sea, a favorable environment for the growth of organisms such as bacteria that decompose nitrogen compounds in a relatively short period of time is formed. It can be produced efficiently. In addition, since this live block structure can be manufactured simply by weighing and mixing the materials and then molding, it is possible to efficiently manufacture a large number of products with little variation in quality.
次の本発明に係るライブロック用構造体のように、前記ライブロック用構造体において、前記硬化体の透水係数は5.0×10-2cm/秒以上5.0×10-1cm/秒以下とすることが好ましい。このようにすれば、窒素化合物等を分解するバクテリア等の生物の生育により好ましい環境とすることができるので、ライブロック用構造体への生物の定着を促進して、より効率的にライブロックを生産できる。 Like the live block structure according to the present invention, in the live block structure, the water permeability of the cured body is 5.0 × 10 −2 cm / second or more and 5.0 × 10 −1 cm / second. It is preferable to set it to 2 seconds or less. In this way, it is possible to provide a more favorable environment for the growth of organisms such as bacteria that decompose nitrogen compounds and the like, so that the establishment of organisms on the structure for livelock is promoted, and Can be produced.
次の本発明に係るライブロック用構造体のように、前記ライブロック用構造体において、前記起泡剤には、アルミニウム系の起泡剤を用い、前記セメント混合物中に発生する水酸化カルシウムと反応して水素を発生させることが好ましい。このようにすれば、混合物中の水酸化カルシウムと反応して、空気連行剤によってセメントと水とを含むセメント混合物中に混入される気泡よりも小さい水素の気泡が発生し、この気泡が空気連行剤によって混入される気泡の間を動くことにより、効率よく連続した空隙をライブロック用構造体内に形成することができる。 As in the live block structure according to the present invention, in the live block structure, an aluminum foaming agent is used as the foaming agent, and calcium hydroxide generated in the cement mixture and It is preferable to react to generate hydrogen. In this case, hydrogen bubbles smaller than bubbles mixed in the cement mixture containing cement and water are generated by the air entraining agent by reacting with calcium hydroxide in the mixture, and the bubbles are entrained in the air. By moving between the bubbles mixed by the agent, it is possible to efficiently form continuous voids in the live block structure.
次の本発明に係るライブロック用構造体のように、前記ライブロック用構造体において、前記水と前記セメントとの質量比は、30%以上40%以下とすることが好ましい。このようにすれば、ライブロック用構造体に適した透水係数を確保するとともに、ライブロック用構造体としての強度を確保することができる。 Like the live block structure according to the present invention, in the live block structure, the mass ratio of the water to the cement is preferably 30% to 40%. If it does in this way, while ensuring the water permeability suitable for the structure for live blocks, the intensity | strength as a structure for live blocks can be ensured.
次の本発明に係るライブロック用構造体のように、前記ライブロック用構造体において、前記セメントの質量に対する前記空気連行剤の質量の比は、0.1%以上0.3%以下であり、前記セメントの質量に対する前記起泡剤の質量の比は、0.5%以上1.5%以下であることが好ましい。このようにすれば、ライブロック用構造体に適した透水係数を確保するとともに、ライブロック用構造体としての強度を確保することができる。 Like the live block structure according to the present invention, in the live block structure, the ratio of the mass of the air entraining agent to the mass of the cement is 0.1% or more and 0.3% or less. The ratio of the mass of the foaming agent to the mass of the cement is preferably 0.5% or more and 1.5% or less. If it does in this way, while ensuring the water permeability suitable for the structure for live blocks, the intensity | strength as a structure for live blocks can be ensured.
次の本発明に係る多孔質セメント硬化体は、セメントと水とを含むセメント混合物を水和硬化させてなるセメントの硬化体であり、セメントと、前記セメント混合物中に気泡を混入させる空気連行剤と、前記セメント混合物中に発生する物質と反応して気体を発生させる起泡剤と、を含むことを特徴とする。 A hardened porous cement according to the present invention is a hardened cement obtained by hydrating and hardening a cement mixture containing cement and water, and an air entraining agent that mixes air bubbles in the cement mixture. And a foaming agent that reacts with a substance generated in the cement mixture to generate a gas.
この多孔質セメント硬化体は、人工的にライブロックを生産する用途や、透水性が要求される構造物等に適用されるものであり、少なくとも、セメントと空気連行剤と起泡剤と水とを混練した混合物を成型して製造される。この多孔質セメント硬化体を、人工的にライブロックを生産する用途に用いると、この多孔質セメント硬化体の内部には、直径数μm〜数百μmの連続した空隙が多数形成されるので、窒素化合物等を分解するバクテリア等の生物の生育に好ましい環境を作り出しやすくなる。このような多孔質セメント硬化体を海中に浸漬すれば、比較的短期間で窒素化合物等を分解するバクテリア等の生物の生育に好ましい環境が形成されるので、生物の成育に適したライブロックを効率的に生産することができる。また、この多孔質セメント構造体は、材料を計量し、混合した後に成形することで製造することができるので、品質のばらつきが少ないものを効率よく製造することができる。 This porous cement hardened body is applied to the purpose of artificially producing live blocks and structures that require water permeability, and includes at least cement, an air entraining agent, a foaming agent, and water. It is manufactured by molding a mixture obtained by kneading. When this porous cement hardened body is used for the purpose of artificially producing live block, many continuous voids with a diameter of several μm to several hundred μm are formed inside the porous cement hardened body. It becomes easy to create a favorable environment for the growth of organisms such as bacteria that decompose nitrogen compounds. If such a hardened porous cement is immersed in the sea, a favorable environment for the growth of organisms such as bacteria that decompose nitrogen compounds in a relatively short period of time is formed. It can be produced efficiently. In addition, since this porous cement structure can be manufactured by measuring and mixing the materials and then molding, it is possible to efficiently manufacture a material with little variation in quality.
次の本発明に係る多孔質セメント硬化体のように、前記多孔質セメント硬化体において、前記硬化体の透水係数は5.0×10-2cm/秒以上5.0×10-1cm/秒以下とすることが好ましい。このようにすれば、窒素化合物等を分解するバクテリア等の生物の生育により好ましい環境とすることができるので、ライブロック用構造体への生物の定着を促進して、より効率的にライブロックを生産できる。 Like the porous cement hardened body according to the present invention, in the porous cement hardened body, the water permeability of the hardened body is 5.0 × 10 −2 cm / second or more and 5.0 × 10 −1 cm / second. It is preferable to set it to 2 seconds or less. In this way, it is possible to provide a more favorable environment for the growth of organisms such as bacteria that decompose nitrogen compounds and the like, so that the establishment of organisms on the structure for livelock is promoted, and Can be produced.
次の本発明に係る多孔質セメント硬化体のように、前記多孔質セメント硬化体において、前記起泡剤には、アルミニウム系の起泡剤を用い、前記セメント混合物中に発生する水酸化カルシウムと反応して水素を発生させることが好ましい。このようにすれば、混合物中の水酸化カルシウムと反応して、空気連行剤によってセメントと水とを含むセメント混合物中に混入される気泡よりも小さい水素の気泡が発生し、この気泡が空気連行剤によって混入される気泡の間を動くことにより、効率よく連続した空隙を形成することができる。 As in the porous cement hardened body according to the present invention, in the porous cement hardened body, an aluminum-based foaming agent is used as the foaming agent, and calcium hydroxide generated in the cement mixture and It is preferable to react to generate hydrogen. In this case, hydrogen bubbles smaller than bubbles mixed in the cement mixture containing cement and water are generated by the air entraining agent by reacting with calcium hydroxide in the mixture, and the bubbles are entrained in the air. By moving between the bubbles mixed by the agent, it is possible to efficiently form continuous voids.
次の本発明に係る多孔質セメント硬化体のように、前記多孔質セメント硬化体において、前記水と前記セメントとの質量比は、30%以上40%以下とすることが好ましい。このようにすれば、強度を確保しつつ、高い透水係数を確保することができる。 As in the porous cement cured body according to the present invention, the mass ratio of the water to the cement is preferably 30% to 40% in the porous cement cured body. If it does in this way, a high water permeability can be secured, ensuring intensity.
次の本発明に係る多孔質セメント硬化体のように、多孔質セメント硬化体において、前記セメントの質量に対する前記空気連行剤の質量の比は、0.1%以上0.3%以下であり、前記セメントの質量に対する前記起泡剤の質量の比は、0.5%以上1.5%以下であることが好ましい。このようにすれば、強度を確保しつつ、高い透水係数を確保することができる。 Like the porous cement cured body according to the present invention, in the porous cement cured body, the ratio of the mass of the air entraining agent to the mass of the cement is 0.1% or more and 0.3% or less, The ratio of the mass of the foaming agent to the mass of the cement is preferably 0.5% or more and 1.5% or less. If it does in this way, a high water permeability can be secured, ensuring intensity.
この発明に係るライブロック用構造体及び多孔質セメント構造体は、ライブロックを人工的に生産するにあたり、生物の成育に適したライブロックを効率的に生産することができる。 The live block structure and porous cement structure according to the present invention can efficiently produce a live block suitable for the growth of a living organism when the live block is artificially produced.
以下、この発明につき図面を参照しつつ詳細に説明する。なお、この発明を実施するための最良の形態(以下実施形態という)によりこの発明が限定されるものではない。また、下記実施形態における構成要素には、当業者が容易に想定できるもの、実質的に同一のもの、いわゆる均等の範囲のものが含まれる。 Hereinafter, the present invention will be described in detail with reference to the drawings. The present invention is not limited by the best mode for carrying out the invention (hereinafter referred to as an embodiment). In addition, constituent elements in the following embodiments include those that can be easily assumed by those skilled in the art, those that are substantially the same, and those in a so-called equivalent range.
なお、以下の実施形態において、「セメント混合物」、「セメント硬化体」とは、砂や石等の骨材の有無、骨材の大小、骨材の種類、減水剤やAE剤等の混和剤の有無、混和剤の種類等に関わらず、セメントを含む硬化前におけるセメントの混合物、硬化後におけるセメントの硬化体を総称する用語として使用する。また、本発明は、例えば、水質浄化用等に用いるライブロックや環境回復に用いられるライブロック、あるいは、サンゴを養殖するために用いるライブロックに好適であるが、本発明の適用対象はこれに限られるものではない。例えば、フィルタや透水性の舗装のように、透水性が求められる構造物等に対しても適用できる。 In the following embodiments, “cement mixture” and “hardened cement” means the presence or absence of aggregates such as sand and stone, the size of aggregates, the type of aggregates, admixtures such as water reducing agents and AE agents. Regardless of the presence or absence of admixture, the type of admixture, etc., they are used as a generic term for a cement mixture before hardening including cement and a hardened body of cement after hardening. In addition, the present invention is suitable for, for example, a live block used for water purification, a live block used for environmental recovery, or a live block used for culturing corals. It is not limited. For example, the present invention can be applied to structures that require water permeability, such as filters and water-permeable pavements.
(実施形態1)
本実施形態は、少なくとも、セメントと空気連行剤と起泡剤と水とを混練した混合物を成型して、連続した空隙が形成される多孔質セメント硬化体やライブロック用構造体を製造する方法に関する。次においては、多孔質セメント硬化体を、人工的にライブロックを生産するために用いるライブロック用構造体として用いる例を説明する。
(Embodiment 1)
This embodiment is a method for producing a porous cement cured body or live block structure in which a continuous void is formed by molding a mixture obtained by kneading at least a cement, an air entraining agent, a foaming agent, and water. About. Next, an example in which the hardened porous cement is used as a structure for a live block used for artificially producing a live block will be described.
図1−1は、実施形態1に係る多孔質セメント硬化体を示す全体図である。図1−2は、実施形態1に係る多孔質セメント硬化体の内部構造を示す模式図である。本実施形態に係る多孔質セメント硬化体1は、内部に連続した空隙2(図1−2、以下必要に応じて連続空隙2という)を含んでいる。連続した空隙とは、多孔質セメント硬化体1の異なる部分(本実施形態では、第1表面1Aと第2表面1Bであり、異なる表面)同士を連通する空隙をいう(図1−2参照)。これによって、本実施形態に係る多孔質セメント硬化体1は、連続空隙2が連通する異なる二つの部分間で、透水性が向上する。
1-1 is a general view showing a cured porous cement according to Embodiment 1. FIG. FIG. 1-2 is a schematic diagram illustrating an internal structure of a hardened porous cement according to the first embodiment. The hardened porous cement 1 according to the present embodiment includes a continuous void 2 (FIG. 1-2, hereinafter referred to as a
本実施形態に係る多孔質セメント硬化体1を、例えば、ライブロックとして使用したり、サンゴの養殖に使用したりする場合には、連続空隙2の開口部から連続空隙2内へ酸素が供給されるので、連続空隙2内に生物や微生物が生息し、生態系が形成される。これによって、本実施形態に係る多孔質セメント硬化体1は、ライブロックとして、あるいはサンゴの養殖用途として、好ましい環境を形成する。
For example, when the porous cement cured body 1 according to the present embodiment is used as a live block or used for coral cultivation, oxygen is supplied into the
また、連続空隙2内に生物や微生物が生息させるためには、本実施形態に係る多孔質セメント硬化体1の透水係数を5.0×10-2cm/秒以上5.0×10-1cm/秒以下の範囲とすることが好ましい。ここで、透水係数は、日本コンクリート工業協会「ポーラスコンクリートの透水試験方法」に規定する方法で測定したものである。多孔質セメント硬化体1を、このような範囲とすれば、連続空隙2内に生物や微生物を生息させて、効果的に生態系を形成することができる。次に、本実施形態に係る多孔質セメント硬化体1の製造方法を説明する。
In addition, in order for organisms and microorganisms to inhabit the
図2は、本実施形態に係る多孔質セメント硬化体の製造方法の手順を示すフローチャートである。図3は、本実施形態に係る多孔質セメント硬化体をライブロック用の構造体として成形した例を示す説明図である。本実施形態に係る多孔質セメント硬化体を製造するにあたって、まず、所定量に計量した骨材(本実施形態では砂)とセメントとを用意して、これらを混練器に投入する(ステップS101)。なお、骨材は増量を目的として用いるものであり、必要に応じて用いればよい。また、骨材は砂に限定されるものではなく、例えば、石やスラグを用いてもよい。なお、ライブロック用構造体として用いる場合には、海砂を用いることもできる。 FIG. 2 is a flowchart showing the procedure of the method for producing a hardened porous cement according to the present embodiment. FIG. 3 is an explanatory view showing an example in which the hardened porous cement according to the present embodiment is molded as a structure for a live block. When manufacturing the hardened porous cement according to the present embodiment, first, aggregate (sand in the present embodiment) and cement weighed to a predetermined amount are prepared and put into a kneader (step S101). . The aggregate is used for the purpose of increasing the amount, and may be used as necessary. The aggregate is not limited to sand, and for example, stone or slag may be used. When used as a live block structure, sea sand can also be used.
次に、所定量に計量した水及び混和剤を前記セメントと砂との混合物へ投入し(ステップS102)、セメント混合物を生成する。本実施形態においては、混和剤として、少なくとも空気連行剤と起泡剤とを用いる。ここで、起泡剤としては、例えば、アルミニウム系の起泡剤を用いる。なお、本実施形態において、起泡剤とは、セメント混合物中へ気泡を発生させることができる混和剤であり、化学反応により気体を発生させることによりセメント混合物中へ気泡を発生させる機構や、物理的にセメント混合物中へ気泡を発生させる機構等、気泡を発生させる機構は問わない。また、混和剤の投入においては、空気連行剤と起泡剤の他に減水剤を添加してもよい。減水剤としては、例えば、AE(Air Entraining Agent)減水剤(空気連行性を持ちセメント粒子を分散させるもの)や、高性能AE減水剤を用いることができる。 Next, water and an admixture weighed to a predetermined amount are added to the cement / sand mixture (step S102) to produce a cement mixture. In this embodiment, at least an air entraining agent and a foaming agent are used as the admixture. Here, as the foaming agent, for example, an aluminum-based foaming agent is used. In the present embodiment, the foaming agent is an admixture that can generate bubbles in the cement mixture, and a mechanism for generating bubbles in the cement mixture by generating gas by a chemical reaction or physical Any mechanism that generates bubbles, such as a mechanism that generates bubbles in the cement mixture, may be used. In addition, when the admixture is added, a water reducing agent may be added in addition to the air entraining agent and the foaming agent. As the water reducing agent, for example, an AE (Air Entraining Agent) water reducing agent (air entraining agent that disperses cement particles) or a high-performance AE water reducing agent can be used.
空気連行剤により、前記セメント混合物中に直径20μm〜30μm程度の微細な独立気泡が発生する。ここで、独立気泡とは、連続空隙に対する概念で、多孔質セメント硬化体1の内部で閉じた空間を形成するものであり、多孔質セメント硬化体1の異なる部分同士を連通しない空間をいう。 Due to the air entraining agent, fine closed cells having a diameter of about 20 μm to 30 μm are generated in the cement mixture. Here, the closed cell is a concept for continuous voids, which forms a closed space inside the hardened cementitious cement body 1 and refers to a space where different portions of the hardened cementitious cement body 1 do not communicate with each other.
セメントと水とが反応すると、セメントと水との混合物(セメント混合物)中には水酸化カルシウム(Ca(OH)2)が発生するが、この水酸化カルシウムと起泡剤中のアルミニウムとが反応して水素(H2)を発生する。水素は軽いため、セメント中に発生した前記独立気泡の間を上方(重力の作用方向とは反対方向)へ動き、その過程で、空気連行剤によって発生した前記独立気泡同士をつなげて連続空隙2(図1−2参照)を形成すると考えられる。このため、この実施形態に係るライブロック用構造体や多孔質セメント硬化体では、セメント、水及び混和剤のみの状態(骨材を含まない状態)でも、連続空隙2を形成することができる。
When cement and water react, calcium hydroxide (Ca (OH) 2 ) is generated in the mixture of cement and water (cement mixture), and this calcium hydroxide reacts with aluminum in the foaming agent. Thus, hydrogen (H 2 ) is generated. Since hydrogen is light, it moves upward (in the direction opposite to the direction of action of gravity) between the closed cells generated in the cement, and in the process, the closed cells generated by the air entraining agent are connected to each other to form a
水及び混和剤を前記セメントと砂との混合物へ投入したら、砂、セメント、水及び混和剤の混合物を練り混ぜる(ステップS103)。前記混合物が十分に練り混ざったら、所望の形状(ライブロックの形状)に成形し(ステップS104)、成型物を水中で養生させる(ステップS105)。なお、本実施形態に係る多孔質セメント硬化体をライブロック用途やサンゴの養殖用途に用いる場合には、前記成形対を海水中で養生させてもよい。所定期間の水中での養生が終了したら、成形体のアク抜きをして(ステップS106)、例えば、図3に示すような、本実施形態に係る多孔質セメント硬化体で構成したライブロック用の構造体(ライブロック用構造体)5が完成する(ステップS107)。このライブロック用構造体5は、多数の微細な連続空隙が内部に形成されており、ライブロックやサンゴの養殖に好適である。
When water and an admixture are added to the mixture of cement and sand, the mixture of sand, cement, water and admixture is kneaded (step S103). When the mixture is sufficiently kneaded and mixed, it is molded into a desired shape (live block shape) (step S104), and the molded product is cured in water (step S105). In addition, when using the porous cement hardening body which concerns on this embodiment for a live block use or a coral culture use, you may cure the said shaping | molding pair in seawater. When the curing in water for a predetermined period is completed, the molded body is removed (step S106), and for example, for a live block made of a hardened porous cement according to this embodiment as shown in FIG. The structure (live block structure) 5 is completed (step S107). The
本実施形態に係る多孔質セメント硬化体は、ライブロックやサンゴ等の養殖の他、水や海水の浄化、フィルタや透水性の舗装等にも好適に用いることができる。本実施形態に係る多孔質セメント硬化体をサンゴの養殖に用いる場合、直径が数μm〜数百μm程度の微細な孔が表面に開口しているので、表面へ藻類が根を張りにくくなると考えられる。その結果、藻類が構造体の表面へ生い茂ることによるサンゴの光合成阻害を抑制することができるという効果も期待できる。さらに、材料を計量し、混合した後に成形するのみで製造できるので、品質のばらつきが少ないライブロック用構造体や多孔質セメント構造体を効率よく製造することができる。 The hardened porous cement according to the present embodiment can be suitably used for water and seawater purification, filters, water-permeable paving, and the like in addition to aquaculture such as live rock and coral. When the hardened porous cement according to the present embodiment is used for coral cultivation, it is thought that algae are less likely to root on the surface because fine holes with a diameter of several μm to several hundred μm are opened on the surface. It is done. As a result, the effect that the inhibition of coral photosynthesis caused by algae growing on the surface of the structure can be expected. Furthermore, since it can be produced simply by weighing and mixing the materials and then molding, it is possible to efficiently produce a live block structure or a porous cement structure with little variation in quality.
以上、本実施形態では、少なくとも、セメントと空気連行剤と起泡剤と水とを混練した混合物を成型して、ライブロック用構造体や多孔質セメント硬化体を得る。このようにして得られたライブロック用構造体や多孔質セメント硬化体は、直径が数十μmの連続した空隙が内部に形成される。このような連続した空隙は、生物や微生物の生息に好適なので、本実施形態に係るライブロック用構造体を用いれば、生物の成育に適したライブロックを効率よく生産できる。また、本実施形態に係る多孔質セメント硬化体やライブロック用構造体は、子サンゴを移植したり、海中でサンゴの幼生を活着させたりして、サンゴを養殖することにも好適に用いることができる。なお、本実施形態の構成は、以下の実施形態においても適宜適用することができる。 As described above, in this embodiment, at least a mixture obtained by kneading cement, an air entraining agent, a foaming agent, and water is molded to obtain a structure for livelock and a hardened porous cement. In the live block structure and the porous cement cured body obtained in this manner, continuous voids having a diameter of several tens of μm are formed inside. Since such continuous voids are suitable for living organisms and microorganisms, a live block suitable for the growth of living organisms can be efficiently produced by using the live block structure according to this embodiment. In addition, the hardened porous cement and the live block structure according to the present embodiment are also preferably used to cultivate corals by transplanting coral reefs or engrafting coral larvae in the sea. Can do. Note that the configuration of the present embodiment can also be applied as appropriate in the following embodiments.
(実施形態2)
実施形態2は、実施形態1に係る、連続空隙を有する多孔質セメント硬化体をライブロックに適用した例である。ライブロックは、水槽内の浄化に用いる比較的小さいものがよく知られているが、例えば、海中環境を回復させるような用途に用いられるライブロックは、寸法、質量ともに大きくなる。実施形態2は、このような海中環境の回復に用いられる、寸法、質量ともに大きいライブロックに関するものである。
(Embodiment 2)
The second embodiment is an example in which the hardened porous cement having continuous voids according to the first embodiment is applied to a live block. Live block is well known as a relatively small one used for purification in a water tank. For example, a live block used for the purpose of restoring an underwater environment has a large size and mass. The second embodiment relates to a live block that is used for recovery of such an underwater environment and has a large size and mass.
実施形態2は、例えば、海中環境の回復に用いられる、寸法、質量ともに大きいライブロックの取り扱いを容易にするためのものであり、次の点に特徴がある。すなわち、実施形態1に係る多孔質セメント硬化体で構成される生物定着層の内部に中空部を形成し、この中空部に浮力発生手段を備える。そして、養殖海域において所定期間養生させて、生物定着層の多孔質で構成される部分に生物を付着させる。その後、設置場所へ移動させて、設置時には、浮力発生手段の浮力を減少させる。 The second embodiment is for facilitating handling of a live block having a large size and mass, which is used, for example, for recovery of an underwater environment, and is characterized by the following points. That is, a hollow part is formed inside the biofix layer composed of the hardened porous cement according to Embodiment 1, and buoyancy generating means is provided in the hollow part. And it is made to age for a predetermined period in an aquaculture area, and a living thing is made to adhere to the part constituted by the porous of a living fixation layer. Thereafter, the buoyancy of the buoyancy generating means is reduced during the installation by moving to the installation location.
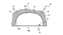
図4は、実施形態2に係るライブロック用構造体の構成を示す断面図である。図5は、実施形態2に係るライブロック用構造体を用いて生産したライブロックを海底に設置した状態を示す説明図である。なお、図4、図5において、ライブロックは断面図で示してある。本実施形態に係るライブロック用構造体10は、実施形態1に係る、連続空隙を有する多孔質セメント硬化体で構成される生物定着層12と、その内部に設けられる浮力発生手段である中空容器13とを含んで構成される。
FIG. 4 is a cross-sectional view illustrating a configuration of a live block structure according to the second embodiment. FIG. 5 is an explanatory diagram illustrating a state where a live block produced using the live block structure according to the second embodiment is installed on the seabed. In FIGS. 4 and 5, the live block is shown in a sectional view. The
ライブロック用構造体10を構成する生物定着層12は、窒素化合物等を分解するバクテリア類、石灰藻やサンゴ等が定着する部分である。本実施形態に係るライブロック用構造体10は、上記実施形態1で説明した、連続空隙2を有する多孔質セメント硬化体1(図1−1、図1−2等参照)で構成する。これによって、生物定着層12の透水性が向上してバクテリア類や石灰藻等の定着を促進する。また、多孔質セメント硬化体により、表面積を大きくすることができるので、バクテリア類や石灰藻等の定着量が増加する。これによって、バクテリア類や石灰藻等が豊富なライブロックを、比較的短期間で生産することができる。
The
ライブロック用構造体10には、自己を識別できる個体識別手段として、IC(Integrated Circuit)タグ17が取り付けられる。ICタグ17は、防水ケース内に封入したり、防水シールをしたりして、防水対策が施されてから、ライブロック用構造体10に取り付けられる。ライブロック用構造体10を養殖海域で養生させ、図5に示すように、バクテリア類、石灰藻やサンゴC等が定着すると、自然の岩礁と見分けがつかなくなるおそれがある。そこで、ICタグ17により、バクテリア類、石灰藻やサンゴC等が定着することにより完成したライブロック10Lを、人工の構造物として識別する。また、ICタグ17にライブロック用構造体10の属性(定着させるサンゴCの種類や、養生開始時期、養生海域の情報等)を記憶させておくことができる。これによって、多数のライブロック用構造体10の管理が容易になる。また、水槽撤去等で不要になったライブロックのリサイクルにも活用できる。
An IC (Integrated Circuit) tag 17 is attached to the
生物定着層12の内部は、中空部12Rが形成されている。中空部12Rには、浮力発生手段である中空容器13が取り付けられている。中空容器13は、生物定着層12と結合されて一体化されている。ここでいう「一体化」とは、生物定着層12を破壊することなしには生物定着層12と中空容器13とを分離できないことをいう。
A
中空容器13は、連通孔14、15に栓16を取り付けることで密閉構造となり、水中で浮力を発生する。中空容器13は、例えば、鉄やFRP(Fiber Reinforced Plastic:繊維強化型プラスチック)で構成される。本実施形態において、中空容器13は、ライブロック用構造体10の底部10Bに相当する部分に連通孔15が設けられており、後述するライブロック10Lの設置時において、海水が中空容器13の内部13Rに流入しやすくしてある。このライブロック用構造体10は、生物定着層12の内部に中空容器13を備えるため、この中空容器13によって生物定着層12を補強できるという利点がある。
The
ライブロック用構造体10を設置場所に設置する前は、連通孔14、15に栓16を取り付けて中空容器13を密封構造とし、水中において浮力を発生させる。この場合、浮力調整のため、所定量の水を中空容器13内に注入しておいてもよい。ライブロック用構造体10がライブロック10L(図5)として完成した後、設置場所に設置する場合には、中空容器13に浮力を発生させたまま設置場所まで曳航する。そして、設置時に栓16を取り外すことで、連通孔14、15から海水Wが中空容器13内に流入して、中空容器13が海水Wで満たされる。これによって、中空容器13の浮力が失われ、中空容器13を内部に備えるライブロック10Lは、設置場所の海底Lへ沈降して設置される。
Before installing the
このライブロック用構造体10は、内部に浮力発生手段である中空容器13を備え、養殖海域への曳航中や養生中、あるいは設置場所までの曳航中には、中空容器13に浮力を発生させる。これによって、海水によってライブロック用構造体10や、これにバクテリアやサンゴC等が定着したライブロック10Lの重量の一部を海水が負担する。その結果、ライブロック用構造体10やこれにバクテリア等が定着したライブロック10Lを曳航するときの負荷を低減できる。また、養殖海域でライブロック用構造体10を養生させる場合、ライブロック用構造体10を支持するための力も低減できるので、ライブロックを養生させる施設において、ライブロック用構造体10の支持構造を簡略化したり、当該施設の耐久性低下を抑制したりすることができる。本実施形態に係る構成は、ライブロック用構造体10やライブロック10Lの寸法や質量が大きくなるほど好ましい。
The
以上、本実施形態及びその変形例に係るライブロック用構造体は、連続空隙を有する多孔質セメント硬化体で生物を定着させる生物定着層を構成するとともに、前記生物定着層の内部に浮力発生手段を設け、これを用いてライブロックを生産する。これによって、浮力発生手段の浮力を利用することができるので、ライブロックを設置する場所まで移動させる際の取り扱いが容易になる。また、ライブロックを設置する際には、浮力発生手段の浮力を減少させればよいので、ライブロックの設置作業が容易になる。 As described above, the live block structure according to the present embodiment and the modification thereof constitutes a biofixation layer for fixing a living organism with a porous cement cured body having continuous voids, and buoyancy generating means inside the biofixation layer. A live rock is produced using this. This makes it possible to use the buoyancy of the buoyancy generating means, so that it is easy to handle when moving to the place where the live block is installed. Further, when installing the lylock, the buoyancy of the buoyancy generating means only has to be reduced, so that the layblock is easily installed.
(実施形態3)
実施形態3では、実施形態1で説明したライブロック用構造体5(図3参照)や、実施形態2に係るライブロック用構造体10(図4、図5参照)を用いてライブロックを生産するためのライブロック生産設備及びライブロックの生産方法を説明する。ここで、ライブロックは、ライブロック用構造体に生物が定着したものをいう。
(Embodiment 3)
In the third embodiment, a live block is produced using the live block structure 5 (see FIG. 3) described in the first embodiment and the live block structure 10 (see FIGS. 4 and 5) according to the second embodiment. A live block production facility and a live block production method will be described. Here, the live block refers to a living organism fixed on the live block structure.
図6は、実施形態3に係るライブロック生産設備を示す平面図である。図7、図8は、実施形態3に係るライブロック生産設備を示す側面図である。このライブロック生産設備30は、実施形態1で説明したライブロック用構造体5(図3等参照)が取り付けられた浮体構造物20を、ライブロックの養生に適した海域(養生海域)Sに浮かべる。これにより、ライブロック用構造体5に、バクテリアや石灰藻やサンゴ等を定着させ、ライブロックを生産する。
FIG. 6 is a plan view showing a live block production facility according to the third embodiment. 7 and 8 are side views showing the live block production facility according to the third embodiment. In this live
なお、浮体構造物20に、実施形態2に係る、生物を定着させる生物定着層の内部に浮力発生手段を設けたライブロック用構造体10(図4、図5参照)を取り付けてもよい。このようなライブロック用構造体10を用いれば、ライブロック用構造体10の浮力発生手段が発生する浮力を利用することができるので、ライブロック用構造体10を浮体構造物20に取り付ける作業や、生物の定着状態を確認するためにライブロック用構造体10を引き上げる場合の負担が軽減できる。また、ライブロック用構造体10の浮力発生手段が浮力を発生するため、浮体構造物20が負担する荷重も低減できる。その結果、より多くのライブロックを養生、生産することが可能となる。
In addition, you may attach to the floating body structure 20 (refer FIG. 4, FIG. 5) which provided the buoyancy generation | occurrence | production means in the inside of the biofixation layer which fixes a living body based on
本実施形態に係るライブロック生産設備30は、複数の浮力体を組み合わせて浮体構造物20が構成されるが、浮体構造物20を構成する方式や浮体構造物20の形状は、図6〜8に開示したものに限定されるものではない。浮体構造物20を構成する浮力体は、例えば、複数の金属板を溶接等で接合した、中空構造物を用いることができる。浮体構造物20は、アンカーにより所定の海域に係留してもよいし、陸地に係留してもよい。
In the live
ライブロック用構造体5は、ライブロック取付手段によって浮体構造物20に取り付けられて、所定の海域に浸漬される。説明の便宜上、本実施形態に係るライブロック生産設備30は、2種類のライブロック取付手段を備えるが、実際上は2種類のライブロック取付手段のうちいずれか一方を用いることになる。
The
ライブロック取付手段としては、例えば、図7に示すような係留索24を用いて、浮体構造物20にライブロック用構造体10を繋留することができる。係留索24は、例えば、ロープや耐食性の高いワイヤ等を用いる。また、ライブロック取付手段として、例えば図8に示すようなライブロック支持具21を用いてもよい。ライブロック支持具21は、板状のライブロック取付部23と、ライブロック取付部23と浮体構造物20とを連結する軸22とで構成される。
As the live block attachment means, for example, the
(変形例)
実施形態3の変形例は、実施形態1で説明した多孔質セメント硬化体1(図1−1、図1−2参照)を外周部に備えたサンゴ等を育成するための構造物(以下サンゴ等育成用構造物)に関するものである。実施形態3の変形例に係るサンゴ等育成用構造物は、浮き桟橋のようなコンクリート製の浮体構造物であり、外周部分かつ少なくとも水(海水)に接する部分を実施形態1で説明した多孔質セメント硬化体1で被覆して、表面部分に生態系を構成することにより、サンゴ等の生育に適した環境を作り出したりする。
(Modification)
A modification of the third embodiment is a structure (hereinafter referred to as a coral) for growing coral and the like provided with the hardened porous cement 1 described in the first embodiment (see FIGS. 1-1 and 1-2) on the outer periphery. Is a structure for equal growth). The structure for growing corals and the like according to the modification of the third embodiment is a concrete floating structure such as a floating jetty, and the porous portion described in the first embodiment is the outer peripheral portion and at least the portion in contact with water (seawater). An environment suitable for the growth of corals and the like is created by covering with a hardened cement body 1 and forming an ecosystem on the surface portion.
図9は、実施形態3の変形例に係るサンゴ等育成用構造物の構造を示す断面図である。図10は、実施形態3の変形例に係るサンゴ等育成用構造物に設けたサンゴの養殖部を示す説明図である。コンクリートで構成された浮桟橋や防波堤等の沿岸構造物の表面には、サンゴや海草、貝類等が付着して繁殖することが知られている。特にサンゴの成育にとっては、水深が比較的浅く、太陽光がよく差し込む海域が適していることが分かっている。そこで、本実施形態においては、コンクリートが海水と接する部分に打設された浮力体にサンゴを養殖する部分を設けて、サンゴを養殖する。 FIG. 9 is a cross-sectional view illustrating a structure of a structure for growing corals and the like according to a modification of the third embodiment. FIG. 10 is an explanatory diagram showing a coral culture unit provided in a coral-cultivating structure according to a modification of the third embodiment. It is known that corals, seaweeds, shellfish, etc. adhere to the surface of coastal structures such as floating piers and breakwaters made of concrete. In particular, it is known that the sea area where the water depth is comparatively shallow and sunlight is well inserted is suitable for coral growth. Therefore, in the present embodiment, the coral is cultivated by providing a part for culturing the coral on a buoyant body placed on the part where the concrete contacts seawater.
このサンゴ等育成用構造物40は、浮力を発生して海上に浮かぶ浮力体である。なお、サンゴ等育成用構造物40は、浮力体に限られるものではない。サンゴ等育成用構造物40は、鋼板40SPをリブ40SRで補強して基本骨格を構成し、その外面に複数のジベル40SE、鉄筋40SCを配置した後、コンクリートを打設してコンクリート層42を形成して、浮力体として構成される。また、コンクリート層42の表面には、少なくとも海水に接する部分に、実施形態1で説明した多孔質セメント硬化体1(図1−1等参照)が打設されて、生物定着層43が形成される。ここで、サンゴ等育成用構造物40は、サンゴの養殖用に用意して岸壁や海底に係留してもよいが、例えば、サンゴ等育成用構造物40を浮桟橋等として用いてもよい。あるいは、浮桟橋等を利用して、海水と接する側面にサンゴを養殖する部分を設けてもよい。
This
ここで、サンゴ等育成用構造物40を移動可能な浮力体として構成すると、海水温度が異常に上昇した場合には、浮体構造物ごと成育中の子サンゴを適正な水温の海域に移動させることができる。また、台風等による暴風時には、浮体構造物ごと生育中の子サンゴを港内に移動できるので、生育中における子サンゴの破損等を最小限に抑えることができる。
Here, if the
図10に示すように、サンゴ等育成用構造物40に設けられる生物定着層43には、移植孔43fが所定の間隔で開口している。これによって、サンゴを成育させる部分(サンゴ育成部)48を形成する。この移植孔43fに、子サンゴCを、支持棒44を介して移植する。そして、養殖に適した海域の海中で、前記子サンゴCを所定の期間成育させる。
As shown in FIG. 10, transplantation holes 43 f are opened at predetermined intervals in the
生物定着層43には、サンゴも付着しやすいが、藻類や貝類も付着しやすい。実施形態1で説明したように、生物定着層43を構成する多孔質セメント硬化体は、藻類の根が張りにくいと予測されるため、藻類が構造体の表面へ生い茂ることによるサンゴの光合成阻害を抑制することができるという効果も期待できる。また、サンゴ育成部48の少なくとも移植孔43fの周辺に、例えば、フッ素樹脂のような、硬質かつ表面が滑らかな被覆層を設ける。これによって、子サンゴCの周囲に藻類や貝類が付着することを抑制して、子サンゴCの成育が妨げられるおそれを低減してもよい。
Corals are also easily attached to the
以上、本実施形態及びその変形例では、浮体構造物を用いることにより、海水温度が異常に上昇した場合には、浮体構造物ごと養生中のライブロック用構造体を適正な水温の海域に移動させることができる。また、台風等による暴風時には、浮体構造物ごと養生中のライブロック用構造体を港内に移動できるので、養生中のライブロック用構造体の破損等を最小限に抑えることができる。そして、ライブロック用構造体の浮力発生手段が浮力を発生するため、浮体構造物ごとライブロック用構造体を移動させるときの負荷を低減できる。 As mentioned above, in this embodiment and its modification, when seawater temperature rises abnormally by using a floating structure, the structure for live block under curing is moved to the sea area of appropriate water temperature together with the floating structure. Can be made. In addition, during a storm due to a typhoon or the like, the live block structure being cured can be moved into the port together with the floating structure, so that damage to the live block structure being cured can be minimized. Since the buoyancy generating means of the live block structure generates buoyancy, the load when moving the live block structure together with the floating structure can be reduced.
(実施形態4)
実施形態4は、実施形態1で説明した多孔質セメント硬化体で構成したライブロック用構造体5(図3参照)を海中に保持して、サンゴ等を育成し、サンゴ礁等を造礁するための構造物(以下造礁用構造物)に関するものである。
(Embodiment 4)
In the fourth embodiment, the live block structure 5 (see FIG. 3) composed of the hardened porous cement described in the first embodiment is held in the sea to cultivate coral and the like, and to reef the coral reef and the like. Of the structure (hereinafter referred to as a reef-building structure).
図11は、実施形態4に係る造礁用構造物の構成を示す正面図である。図12は、実施形態4に係る造礁用構造物の構成を示す平面図である。この造礁用構造物50は、一対の支持体52を補強部材51及び底側連結部材53で連結した構造であり、コンクリート等で構成された一対の支持体52の間に、保持手段である載置網54を設けてある。そして、海底Lに設置されて、例えば、サンゴ礁の造礁に用いられる。
FIG. 11 is a front view illustrating a configuration of a reef building structure according to the fourth embodiment. FIG. 12 is a plan view showing the configuration of the reef building structure according to the fourth embodiment. The reef-
この載置網54上に、多孔質セメント硬化体で構成したライブロック用構造体5(図3参照)を載置する。また、一対の支持体52と載置網54と底側連結部材53とで囲まれる空間内には、前記ライブロック用構造体5が配置されて、造礁用構造物50の錘として利用される。ライブロック用構造体5には、海中でサンゴの幼生を着床させてもよいし、あるいは予めに子サンゴを移植したライブロック用構造体5を載置網54によって海中に保持してサンゴを養殖してもよい。
On the
支持体52は、多孔質コンクリートを鉄筋等で強化してもよいし、鉄板にセラミック粉末や多孔質コンクリートを塗布して構成してもよい。また、底側連結部材53は、例えば鉄骨をトラス状に組み合わせて構成してもよいし、また、支持体52と一体で構成してもよい。なお、支持体52の表面には、実施形態1で説明した多孔質セメント硬化体の生物定着層52Sを形成してもよい。このようにすれば、支持体52の表面でもサンゴを成育させることができる。
The
実施形態1に係る多孔質セメント硬化体の製造方法により、実施形態1に係る多孔質セメント硬化体を2種類試作した(製造例1、製造例2)。また、比較例として、空気連行剤及び起泡剤を加えていないもの(比較例1)、空気連行剤及び起泡剤を加え、かつ水と砂利(骨材)とセメントとで形成したもの(比較例2)、水と骨材(砂利)とセメントとで形成したもの(比較例3)を試作した。比較例3は、いわゆる骨材同士に空間が形成されるように骨材同士をセメントで接合した、これまでのポーラスコンクリートである。表1に、本実施例に係る多孔質セメント硬化体の製造に使用した材料を示す。 Two types of porous cement hardened bodies according to Embodiment 1 were prototyped by the method for manufacturing a hardened porous cement according to Embodiment 1 (Production Example 1 and Production Example 2). Moreover, as a comparative example, an air-entraining agent and a foaming agent are not added (Comparative Example 1), an air-entraining agent and a foaming agent are added, and water, gravel (aggregate) and cement are formed ( A comparative example 2), which was formed of water, aggregate (gravel), and cement (Comparative Example 3) was made as a prototype. Comparative Example 3 is conventional porous concrete in which aggregates are joined with cement so that spaces are formed between so-called aggregates. Table 1 shows materials used for manufacturing the hardened porous cement according to this example.
セメントは普通セメントを用い、減水剤はレオビルドSP8SBs(商品名、ポゾリス物産扱い)を用い、空気連行剤はファインフォーム707(商品名、ポゾリス物産扱い)を用い、起泡剤はポゾリスGF−630(商品名、ポゾリス物産扱い)を用いた。これらの配合を表2に示す。表2に示す配合は、多孔質セメント硬化体1m3を製造する場合の量であり、1m3中の質量(kg/m3)で示してある。セメントは記号CEで、砂は記号SAで、減水剤は記号SPで、空気連行剤は記号FFで、起泡剤は記号GFで示す。 The cement is ordinary cement, the water reducing agent is Leobuild SP8SBs (trade name, treated as Pozzolith product), the air entraining agent is Fine Foam 707 (trade name, treated as Pozoris product), and the foaming agent is Pozzolith GF-630 (trade name). (Trade name, Pozoris product handling). These formulations are shown in Table 2. Formulations shown in Table 2 is the amount in the case of producing a porous cured cement 1 m 3, are shown by mass in 1m 3 (kg / m 3) . Cement is indicated by the symbol CE, sand is indicated by the symbol SA, the water reducing agent is indicated by the symbol SP, the air entraining agent is indicated by the symbol FF, and the foaming agent is indicated by the symbol GF.
本発明は、1m3中における水の質量を200kg〜300kgとし、1m3中における砂の質量を750kg〜850kgとした場合、水対セメントの質量比が30%未満では、練り上がりの状態が固くなってしまい、気泡、すなわちアルミニウムにより発生した水素ガスの動きが悪くなり、連続空隙の形成が困難になってしまう。また、水対セメントの質量比が40%を超えると、ライブロックの素材としての強度(圧縮強度)が弱くなってしまい、ライブロック自体の成形が困難になってしまう。したがって、水対セメントの質量比は、30%以上40%以下が好ましい。この場合、セメントに対する空気連行剤の質量比は、0.1%以上0.3%以下、セメントに対する起泡剤(アルミニウム系)の質量比は0.5%以上〜1.5%以下とすることが好ましい。 The present invention is directed to 200kg~300kg mass of water in 1 m 3, when the 750kg~850kg the mass of sand in the 1 m 3, the weight ratio of water to cement is less than 30%, hard state of kneading up As a result, the movement of hydrogen gas generated by bubbles, that is, aluminum, becomes worse, and it becomes difficult to form continuous voids. On the other hand, if the mass ratio of water to cement exceeds 40%, the strength (compression strength) of the lyblock as a raw material becomes weak, and it becomes difficult to mold the lyblock itself. Therefore, the mass ratio of water to cement is preferably 30% or more and 40% or less. In this case, the mass ratio of the air entraining agent to the cement is 0.1% to 0.3%, and the mass ratio of the foaming agent (aluminum-based) to the cement is 0.5% to 1.5%. It is preferable.
ここで、通常、水対セメントの質量比が55%程度である。本発明では、水対セメントの質量比は、30%以上40%以下とすることにより、後述するように、ライブロック用構造体に適した高い透水係数を確保するとともに、ライブロック用構造体の素材としての強度を確保することができる。 Here, the mass ratio of water to cement is usually about 55%. In the present invention, by setting the mass ratio of water to cement to 30% or more and 40% or less, as will be described later, while ensuring a high water permeability suitable for the structure for live block, The strength as a material can be secured.
製造例1及び製造例2に係る多孔質セメント硬化体の断面を観察した結果、異なる二つの表面を連通する多数の連続空隙が形成されていることが確認された。また、表2の結果から、製造例1では、透水係数が0.24cm/秒、圧縮強度が1.80MPaの多孔質セメント硬化体が得られた。製造例2では、透水係数が0.11cm/秒、圧縮強度が1.90MPaの多孔質セメント硬化体が得られた。本発明に係る製造例1及び製造例2は、比較例1(従来建築用途に用いられるモルタル)、比較例2に対して大きな圧縮強度の低下は見られない。 As a result of observing the cross section of the cured porous cement according to Production Example 1 and Production Example 2, it was confirmed that a large number of continuous voids communicating two different surfaces were formed. Moreover, from the results of Table 2, in Production Example 1, a cured porous cement having a water permeability coefficient of 0.24 cm / second and a compressive strength of 1.80 MPa was obtained. In Production Example 2, a hardened porous cement having a water permeability of 0.11 cm / second and a compressive strength of 1.90 MPa was obtained. In Production Example 1 and Production Example 2 according to the present invention, no significant reduction in compressive strength is observed with respect to Comparative Example 1 (mortar used for conventional building applications) and Comparative Example 2.
また、製造例1及び製造例2の透水係数は、比較例1の透水係数の1/2程度である。この結果から、比較例1と比べて、製造例1及び製造例2では、窒素化合物等を分解するバクテリア等の生物の生育に好ましい連続空隙が形成されていると判断できる。このように、本発明によれば、ライブロックの生産やサンゴの養殖、あるいは水質浄化等の用途に適し、かつ強度低下の小さい多孔質セメント硬化体が得られることがわかる。なお、減水剤SPの有無によっては、透水係数、連続空隙の平均直径、圧縮強度は大きく変化しなかった。 Further, the water permeability coefficient of Production Example 1 and Production Example 2 is about ½ of the water permeability coefficient of Comparative Example 1. From this result, it can be judged that, in comparison with Comparative Example 1, in Production Example 1 and Production Example 2, continuous voids preferable for the growth of organisms such as bacteria that decompose nitrogen compounds and the like are formed. As described above, according to the present invention, it is understood that a hardened porous cement can be obtained that is suitable for uses such as production of live rocks, aquaculture of coral, or water purification, and has a small strength reduction. In addition, depending on the presence or absence of the water reducing agent SP, the water permeability, the average diameter of the continuous voids, and the compressive strength did not change greatly.
以上のように、本発明に係るライブロック用構造体及び多孔質セメント硬化体は、人工的にライブロックを生産することに有用であり、特に、品質の揃ったライブロック用の構造体を効率的に製造することに適している。 As described above, the live block structure and the porous cement cured body according to the present invention are useful for artificially producing live blocks, and in particular, the structure for live blocks with uniform quality is efficiently used. It is suitable for manufacturing.
1 多孔質セメント硬化体
2 連続空隙(連続した空隙)
5 ライブロック用構造体
10 ライブロック用構造体
10L ライブロック
12 生物定着層
20 浮体構造物
21 ライブロック支持具
23 ライブロック取付部
30 ライブロック生産設備
40 サンゴ等育成用構造物
42 コンクリート層
43 生物定着層
50 造礁用構造物
52 支持体
52S 生物定着層
54 載置網
1 Hardened
5 Structure for
Claims (10)
セメントと、
前記セメント混合物中に微細な気泡を混入させる空気連行剤と、
前記セメント混合物中に発生する物質と反応して気体を発生させる起泡剤と、を含み、
少なくとも、前記硬化体の内部に形成される空隙に生物を定着させることを特徴とするライブロック用構造体。 It is a hardened body of cement obtained by hydrating and hardening a cement mixture containing cement and water.
Cement,
An air entraining agent that mixes fine bubbles in the cement mixture;
A foaming agent that reacts with a substance generated in the cement mixture to generate a gas,
A live block structure characterized in that at least living organisms are fixed in voids formed inside the cured body.
前記水と前記セメントとの質量比は、30%以上40%以下であることを特徴とするライブロック用構造体。 In the structure for a live block of any one of Claims 1-3,
The structure for a livelock characterized by the mass ratio of the water and the cement being 30% or more and 40% or less.
前記セメントの質量に対する前記空気連行剤の質量の比は、0.1%以上0.3%以下であり、前記セメントの質量に対する前記起泡剤の質量の比は、0.5%以上1.5%以下であることを特徴とするライブロック用構造体。 The structure for a livelock according to claim 4,
The ratio of the mass of the air entraining agent to the mass of the cement is 0.1% to 0.3%, and the ratio of the mass of the foaming agent to the mass of the cement is 0.5% to 1. A structure for a livelock characterized by being 5% or less.
セメントと、
前記セメント混合物中に気泡を混入させる空気連行剤と、
前記セメント混合物中に発生する物質と反応して気体を発生させる起泡剤と、
を含むことを特徴とする多孔質セメント硬化体。 It is a hardened body of cement obtained by hydrating and hardening a cement mixture containing cement and water.
Cement,
An air entraining agent that mixes air bubbles in the cement mixture;
A foaming agent that reacts with a substance generated in the cement mixture to generate a gas;
A hardened porous cement, comprising:
前記水と前記セメントとの質量比は、30%以上40%以下であることを特徴とする多孔質セメント硬化体。 In the hardened porous cement according to any one of claims 5 to 7,
The porous cement hardened body, wherein a mass ratio of the water and the cement is 30% or more and 40% or less.
前記セメントの質量に対する前記空気連行剤の質量の比は、0.1%以上0.3%以下であり、前記セメントの質量に対する前記起泡剤の質量の比は、0.5%以上1.5%以下であることを特徴とする多孔質セメント硬化体。 In the hardened porous cement according to claim 9,
The ratio of the mass of the air entraining agent to the mass of the cement is 0.1% to 0.3%, and the ratio of the mass of the foaming agent to the mass of the cement is 0.5% to 1. A hardened porous cement, which is 5% or less.
Priority Applications (1)
| Application Number | Priority Date | Filing Date | Title |
|---|---|---|---|
| JP2007046302A JP5143447B2 (en) | 2007-02-26 | 2007-02-26 | Structure for live block and hardened porous cement |
Applications Claiming Priority (1)
| Application Number | Priority Date | Filing Date | Title |
|---|---|---|---|
| JP2007046302A JP5143447B2 (en) | 2007-02-26 | 2007-02-26 | Structure for live block and hardened porous cement |
Publications (2)
| Publication Number | Publication Date |
|---|---|
| JP2008206445A true JP2008206445A (en) | 2008-09-11 |
| JP5143447B2 JP5143447B2 (en) | 2013-02-13 |
Family
ID=39783312
Family Applications (1)
| Application Number | Title | Priority Date | Filing Date |
|---|---|---|---|
| JP2007046302A Expired - Fee Related JP5143447B2 (en) | 2007-02-26 | 2007-02-26 | Structure for live block and hardened porous cement |
Country Status (1)
| Country | Link |
|---|---|
| JP (1) | JP5143447B2 (en) |
Cited By (2)
| Publication number | Priority date | Publication date | Assignee | Title |
|---|---|---|---|---|
| JP2012024033A (en) * | 2010-07-26 | 2012-02-09 | Yorigami Maritime Construction Co Ltd | Porous artificial corallite and method of producing the same |
| JP2013129567A (en) * | 2011-12-21 | 2013-07-04 | Okinawa Cement Kogyo Kk | Artificial corallite product, and method for producing the same |
Families Citing this family (2)
| Publication number | Priority date | Publication date | Assignee | Title |
|---|---|---|---|---|
| JP3257674B2 (en) | 1990-11-20 | 2002-02-18 | 三菱マテリアル株式会社 | Copper smelting equipment |
| JP7579901B2 (en) | 2023-02-13 | 2024-11-08 | 正成 茂木 | Artificial live rock precursor, artificial live rock, marine fish tank, and method for producing artificial live rock precursor |
Citations (8)
| Publication number | Priority date | Publication date | Assignee | Title |
|---|---|---|---|---|
| JPS54153190A (en) * | 1978-05-11 | 1979-12-03 | Dainichi Concrete Kogyo Kk | Spherical fish bank |
| JPS5545324A (en) * | 1978-09-27 | 1980-03-31 | Fuyooraito Kk | Fish bank |
| JPH0434479B2 (en) * | 1986-08-08 | 1992-06-08 | Onoda Alc Kk | |
| JP2003252673A (en) * | 2002-02-27 | 2003-09-10 | Taiheiyo Cement Corp | Water-retentive block |
| JP2004231430A (en) * | 2003-01-28 | 2004-08-19 | Toden Kogyo Co Ltd | Light weight mortar, formed article using the same, and method of casting light weight mortar |
| JP2005137254A (en) * | 2003-11-06 | 2005-06-02 | Mitsuishi Taika Renga Kk | Artificial live rock |
| JP2005341836A (en) * | 2004-06-01 | 2005-12-15 | Nanwa Sangyo Kk | Mold block, method for producing the same, and unit block used therefor |
| JP2006069815A (en) * | 2004-08-31 | 2006-03-16 | Sanyo Chem Ind Ltd | Foaming agent for aerated concrete, and aerated concrete |
-
2007
- 2007-02-26 JP JP2007046302A patent/JP5143447B2/en not_active Expired - Fee Related
Patent Citations (8)
| Publication number | Priority date | Publication date | Assignee | Title |
|---|---|---|---|---|
| JPS54153190A (en) * | 1978-05-11 | 1979-12-03 | Dainichi Concrete Kogyo Kk | Spherical fish bank |
| JPS5545324A (en) * | 1978-09-27 | 1980-03-31 | Fuyooraito Kk | Fish bank |
| JPH0434479B2 (en) * | 1986-08-08 | 1992-06-08 | Onoda Alc Kk | |
| JP2003252673A (en) * | 2002-02-27 | 2003-09-10 | Taiheiyo Cement Corp | Water-retentive block |
| JP2004231430A (en) * | 2003-01-28 | 2004-08-19 | Toden Kogyo Co Ltd | Light weight mortar, formed article using the same, and method of casting light weight mortar |
| JP2005137254A (en) * | 2003-11-06 | 2005-06-02 | Mitsuishi Taika Renga Kk | Artificial live rock |
| JP2005341836A (en) * | 2004-06-01 | 2005-12-15 | Nanwa Sangyo Kk | Mold block, method for producing the same, and unit block used therefor |
| JP2006069815A (en) * | 2004-08-31 | 2006-03-16 | Sanyo Chem Ind Ltd | Foaming agent for aerated concrete, and aerated concrete |
Cited By (2)
| Publication number | Priority date | Publication date | Assignee | Title |
|---|---|---|---|---|
| JP2012024033A (en) * | 2010-07-26 | 2012-02-09 | Yorigami Maritime Construction Co Ltd | Porous artificial corallite and method of producing the same |
| JP2013129567A (en) * | 2011-12-21 | 2013-07-04 | Okinawa Cement Kogyo Kk | Artificial corallite product, and method for producing the same |
Also Published As
| Publication number | Publication date |
|---|---|
| JP5143447B2 (en) | 2013-02-13 |
Similar Documents
| Publication | Publication Date | Title |
|---|---|---|
| CN103960179B (en) | Artificial ecology barrier reef | |
| US20220312746A1 (en) | Concrete settlement substrate for oyster and preparation method thereof, and marine ecological engineering construction method | |
| CN111253125B (en) | Green concrete for inducing adhesion of marine periphyton and preparation method thereof | |
| CN111302727A (en) | Underwater ecological restoration method for service breakwater | |
| JP5143447B2 (en) | Structure for live block and hardened porous cement | |
| US12416127B2 (en) | Construction method for ecological riprap breakwater, induced cement-based coating and preparation method thereof | |
| CN111270647A (en) | An in-service marine breakwater ecological method | |
| JP2008182898A (en) | Overriding soil block construction method | |
| WO2020107576A1 (en) | Artificial ecological reef of composite concrete material for ecological restoration of coral reefs | |
| CN111321699A (en) | Construction method of marine ecological engineering of waste concrete | |
| KR100759391B1 (en) | Porous Sulfur Concrete Composition and Manufacturing Method and Artificial Reefs Using the Same | |
| CN111268959B (en) | Concrete for inducing adhesion of marine periphyton and promoting growth and preparation method thereof | |
| CN111264427B (en) | Construction method of marine ecological engineering | |
| KR101771959B1 (en) | The method making tetrapod of smooth surface, groove of a ring shape and dimple | |
| JP5569682B2 (en) | Fish reef / alga reef block using coal ash as raw material and method for forming fish reef / alga reef | |
| CN111268954B (en) | Oyster attaching base of lightweight concrete and preparation method thereof | |
| CN105129997B (en) | A kind of preparation method of lightweight concrete for plant growth floating bed | |
| CN108129113B (en) | Alkali-activated artificial fish reef, single-ball mold adopted by same and preparation method of single ball | |
| JP4432696B2 (en) | Method of manufacturing the substrate | |
| JP2006110727A (en) | Hydraulic cured body and method for producing the same | |
| JP5168027B2 (en) | Repair method for steel revetment structures | |
| JP5163397B2 (en) | Method of supplying naturally-disintegrating cured body and earth and sand | |
| JP2006025720A (en) | Structure for creating seaweed bed and method for creating seaweed bed by using the same | |
| JP7501805B1 (en) | Method for fixing carbon dioxide and creating a seaweed bed using a concrete seaweed bed growth reef substrate | |
| JP2773067B2 (en) | Porous molded body for growing aquatic organisms and artificial reef comprising the molded body |
Legal Events
| Date | Code | Title | Description |
|---|---|---|---|
| A621 | Written request for application examination |
Free format text: JAPANESE INTERMEDIATE CODE: A621 Effective date: 20100217 |
|
| A977 | Report on retrieval |
Free format text: JAPANESE INTERMEDIATE CODE: A971007 Effective date: 20120326 |
|
| A131 | Notification of reasons for refusal |
Free format text: JAPANESE INTERMEDIATE CODE: A131 Effective date: 20120424 |
|
| A521 | Request for written amendment filed |
Free format text: JAPANESE INTERMEDIATE CODE: A523 Effective date: 20120621 |
|
| TRDD | Decision of grant or rejection written | ||
| A01 | Written decision to grant a patent or to grant a registration (utility model) |
Free format text: JAPANESE INTERMEDIATE CODE: A01 Effective date: 20121120 |
|
| A01 | Written decision to grant a patent or to grant a registration (utility model) |
Free format text: JAPANESE INTERMEDIATE CODE: A01 |
|
| A61 | First payment of annual fees (during grant procedure) |
Free format text: JAPANESE INTERMEDIATE CODE: A61 Effective date: 20121121 |
|
| FPAY | Renewal fee payment (event date is renewal date of database) |
Free format text: PAYMENT UNTIL: 20151130 Year of fee payment: 3 |
|
| R150 | Certificate of patent or registration of utility model |
Ref document number: 5143447 Country of ref document: JP Free format text: JAPANESE INTERMEDIATE CODE: R150 Free format text: JAPANESE INTERMEDIATE CODE: R150 |
|
| S531 | Written request for registration of change of domicile |
Free format text: JAPANESE INTERMEDIATE CODE: R313531 |
|
| S533 | Written request for registration of change of name |
Free format text: JAPANESE INTERMEDIATE CODE: R313533 |
|
| R350 | Written notification of registration of transfer |
Free format text: JAPANESE INTERMEDIATE CODE: R350 |
|
| R250 | Receipt of annual fees |
Free format text: JAPANESE INTERMEDIATE CODE: R250 |
|
| R250 | Receipt of annual fees |
Free format text: JAPANESE INTERMEDIATE CODE: R250 |
|
| LAPS | Cancellation because of no payment of annual fees |
