JP2008189250A - Bumper structure - Google Patents

Bumper structure Download PDF

Info

Publication number
JP2008189250A
JP2008189250A JP2007028150A JP2007028150A JP2008189250A JP 2008189250 A JP2008189250 A JP 2008189250A JP 2007028150 A JP2007028150 A JP 2007028150A JP 2007028150 A JP2007028150 A JP 2007028150A JP 2008189250 A JP2008189250 A JP 2008189250A
Authority
JP
Japan
Prior art keywords
vehicle
bumper
standing
upper side
rigidity
Prior art date
Legal status (The legal status is an assumption and is not a legal conclusion. Google has not performed a legal analysis and makes no representation as to the accuracy of the status listed.)
Pending
Application number
JP2007028150A
Other languages
Japanese (ja)
Inventor
Narutoyo Yonezawa
成豊 米澤
Hiroyasu Miyamoto
裕康 宮本
Takahiko Taniguchi
貴彦 谷口
Current Assignee (The listed assignees may be inaccurate. Google has not performed a legal analysis and makes no representation or warranty as to the accuracy of the list.)
Hayashi Telempu Corp
Toyota Motor Corp
Original Assignee
Hayashi Telempu Corp
Toyota Motor Corp
Priority date (The priority date is an assumption and is not a legal conclusion. Google has not performed a legal analysis and makes no representation as to the accuracy of the date listed.)
Filing date
Publication date
Application filed by Hayashi Telempu Corp, Toyota Motor Corp filed Critical Hayashi Telempu Corp
Priority to JP2007028150A priority Critical patent/JP2008189250A/en
Publication of JP2008189250A publication Critical patent/JP2008189250A/en
Pending legal-status Critical Current

Links

Images

Landscapes

  • Body Structure For Vehicles (AREA)

Abstract

【課題】車両の衝突時に立設部をエネルギー吸収部から破断させる。
【解決手段】バンパ構造10では、アブソーバ20の立設部26の車両下側端の車両前側部分に切欠28が形成されている。このため、バンパカバー14に車両上側から荷重が作用する際には、立設部26の切欠28部分に圧縮方向の荷重が作用することで、立設部26の切欠28によるエネルギー吸収部22からの破断が防止されて、面剛性保持部30がバンパカバー14の形状を保持できる。一方、車両の前面衝突時には、立設部26の切欠28部分に引張方向の荷重が作用することで、立設部26が切欠28によってエネルギー吸収部22から破断でき、立設部26がエネルギー吸収部22の圧縮変形を阻害することを防止できる。
【選択図】図1
An upright portion is broken from an energy absorbing portion when a vehicle collides.
In a bumper structure, a notch is formed in a vehicle front side portion of a vehicle lower end of an upright portion of an absorber. For this reason, when a load acts on the bumper cover 14 from the upper side of the vehicle, a load in the compression direction acts on the notch 28 portion of the standing portion 26, so that the energy absorbing portion 22 by the notch 28 of the standing portion 26 Is prevented, and the surface rigidity holding portion 30 can hold the shape of the bumper cover 14. On the other hand, at the time of a frontal collision of the vehicle, a load in the tensile direction acts on the notch 28 portion of the standing portion 26, whereby the standing portion 26 can be broken from the energy absorbing portion 22 by the notch 28, and the standing portion 26 absorbs energy. It is possible to prevent the compression deformation of the portion 22.
[Selection] Figure 1

Description

本発明は、バンパカバーとバンパリインフォースメントとの間にアブソーバが配置されたバンパ構造に関する。   The present invention relates to a bumper structure in which an absorber is disposed between a bumper cover and a bumper reinforcement.

バンパ構造としては、アブソーバの車両下側部に、衝撃を吸収する主体部が設けられると共に、アブソーバの車両上側部に、バンパカバーの形状を保持する形状保持部が設けられたものがある(例えば、特許文献1参照)。   As a bumper structure, there is a structure in which a main body portion that absorbs an impact is provided on a vehicle lower side portion of an absorber, and a shape holding portion that holds a shape of a bumper cover is provided on an upper vehicle portion of the absorber (for example, , See Patent Document 1).

ここで、このようなバンパ構造では、車両の衝突時に主体部から形状保持部が破断するのが望ましい。
実開平1−120457号公報
Here, in such a bumper structure, it is desirable that the shape holding portion breaks from the main portion when the vehicle collides.
Japanese Utility Model Publication No. 1-120457

本発明は、上記事実を考慮し、車両の衝突時に立設部がエネルギー吸収部から破断できるバンパ構造を得ることが目的である。   An object of the present invention is to obtain a bumper structure in which the standing portion can be broken from the energy absorbing portion in the event of a vehicle collision in consideration of the above facts.

請求項1に記載のバンパ構造は、車両のバンパの外面に設けられたバンパカバーと、前記バンパを補強するバンパリインフォースメントと、前記バンパカバーと前記バンパリインフォースメントとの間に配置されたアブソーバと、前記アブソーバに設けられると共に、前記バンパリインフォースメントの車両外側に配置され、衝突エネルギーを吸収可能にされたエネルギー吸収部と、前記アブソーバに設けられ、前記エネルギー吸収部から車両上側に立設された立設部と、前記立設部の車両上側部分に設けられ、前記バンパカバーの形状を保持可能にされた形状保持部と、前記立設部に設けられ、前記立設部の車両外側部分の剛性を前記立設部の車両内側部分の剛性に比し低下させる剛性低下手段と、を備えている。   The bumper structure according to claim 1 includes a bumper cover provided on an outer surface of a bumper of a vehicle, a bumper reinforcement that reinforces the bumper, and an absorber disposed between the bumper cover and the bumper reinforcement. An energy absorber disposed on the outer side of the bumper reinforcement and capable of absorbing collision energy; and provided on the absorber and erected on the upper side of the vehicle from the energy absorber. A standing portion, a shape holding portion provided in an upper portion of the vehicle of the standing portion and capable of holding the shape of the bumper cover, and provided in the standing portion of a vehicle outer portion of the standing portion. Rigidity reduction means for reducing the rigidity as compared with the rigidity of the vehicle inner side portion of the upright portion.

請求項2に記載のバンパ構造は、請求項1に記載のバンパ構造において、前記エネルギー吸収部の車両内側部分から車両上側に前記立設部が立設されると共に、前記立設部の車両外側部分に前記剛性低下手段を設けた、ことを特徴としている。   The bumper structure according to a second aspect is the bumper structure according to the first aspect, wherein the standing portion is erected on the vehicle upper side from a vehicle inner side portion of the energy absorbing portion, and the vehicle outer side of the erected portion. The portion is provided with the rigidity reducing means.

請求項3に記載のバンパ構造は、請求項1又は請求項2に記載のバンパ構造において、前記剛性低下手段は、切り欠き状にされると共に、前記バンパリインフォースメントの車両前側面よりも車両上側に配置された、ことを特徴としている。   The bumper structure according to a third aspect is the bumper structure according to the first or second aspect, wherein the rigidity reducing means is notched and is above the vehicle front side of the bumper reinforcement. It is arranged in that.

請求項4に記載のバンパ構造は、請求項1乃至請求項3の何れか1項に記載のバンパ構造において、前記立設部の車両下側部を前記バンパリインフォースメントの車両上側面に当接させた、ことを特徴としている。   A bumper structure according to a fourth aspect of the present invention is the bumper structure according to any one of the first to third aspects, wherein the vehicle lower side portion of the standing portion abuts against the vehicle upper side surface of the bumper reinforcement. It is characterized by that.

請求項1に記載のバンパ構造では、車両のバンパの外面にバンパカバーが設けられると共に、バンパリインフォースメントがバンパを補強しており、バンパカバーとバンパリインフォースメントとの間にアブソーバが配置されている。   In the bumper structure according to claim 1, the bumper cover is provided on the outer surface of the bumper of the vehicle, the bumper reinforcement reinforces the bumper, and the absorber is disposed between the bumper cover and the bumper reinforcement. .

また、アブソーバに設けられたエネルギー吸収部が、バンパリインフォースメントの車両外側に配置されて、衝突エネルギーを吸収可能にされている。さらに、アブソーバに設けられた立設部が、エネルギー吸収部から車両上側に立設されており、立設部の車両上側部分に設けられた形状保持部が、バンパカバーの形状を保持可能にされている。   Moreover, the energy absorption part provided in the absorber is arrange | positioned on the vehicle outer side of bumper reinforcement, and it is made possible to absorb collision energy. Further, the standing part provided on the absorber is erected on the vehicle upper side from the energy absorbing part, and the shape holding part provided on the vehicle upper part of the standing part can hold the shape of the bumper cover. ing.

ここで、立設部に設けられた剛性低下手段が、立設部の車両外側部分の剛性を立設部の車両内側部分の剛性に比し低下させている。   Here, the rigidity reducing means provided in the standing portion reduces the rigidity of the vehicle outer portion of the standing portion as compared with the rigidity of the vehicle inner portion of the standing portion.

このため、バンパカバーに車両上側から作用する荷重を立設部の形状保持部が受ける際には、立設部の剛性低下手段に圧縮方向の荷重が作用することで、立設部の剛性低下手段によるエネルギー吸収部からの破断が抑制されて、形状保持部がバンパカバーの形状を保持することができる。   For this reason, when the shape retaining portion of the standing portion receives a load acting on the bumper cover from the upper side of the vehicle, a load in the compression direction acts on the rigidity reducing means of the standing portion, thereby reducing the rigidity of the standing portion. The breakage from the energy absorbing portion by the means is suppressed, and the shape holding portion can hold the shape of the bumper cover.

一方、車両が衝突相手に衝突してバンパカバーに車両外側から作用する荷重を立設部が受ける際には、立設部の剛性低下手段に引張方向の荷重が作用することで、立設部が剛性低下手段によってエネルギー吸収部から破断できて、衝突相手を適切に保護することができる。   On the other hand, when the erected part receives a load acting on the bumper cover from the outside of the vehicle when the vehicle collides with the collision partner, a load in the tensile direction acts on the rigidity reducing means of the erected part. However, it can be broken from the energy absorbing portion by the rigidity reducing means, and the collision partner can be appropriately protected.

請求項2に記載のバンパ構造では、エネルギー吸収部の車両内側部分から車両上側に立設部が立設されており、立設部の車両外側部分に剛性低下手段が設けられている。このため、簡単な構造で剛性低下手段が立設部の車両外側部分の剛性を立設部の車両内側部分の剛性に比し低下させることができる。   In the bumper structure according to the second aspect, the standing portion is erected on the vehicle upper side from the vehicle inner portion of the energy absorbing portion, and the rigidity reducing means is provided on the vehicle outer portion of the standing portion. For this reason, the rigidity reducing means can reduce the rigidity of the vehicle outer portion of the upright portion as compared with the rigidity of the vehicle inner portion of the upright portion with a simple structure.

請求項3に記載のバンパ構造では、剛性低下手段が切り欠き状にされている。このため、簡単な構造で立設部に剛性低下手段を構成することができる。さらに、剛性低下手段がバンパリインフォースメントの車両前側面よりも車両上側に配置されている。このため、車両が衝突相手に衝突した際には、立設部の剛性低下手段によるエネルギー吸収部からの破断をバンパリインフォースメントの車両前側面が阻害することを防止できる。   In the bumper structure according to claim 3, the rigidity reducing means is cut out. For this reason, a rigidity reduction means can be comprised in a standing part with a simple structure. Furthermore, the rigidity reducing means is arranged on the vehicle upper side with respect to the vehicle front side surface of the bumper reinforcement. For this reason, when the vehicle collides with the collision partner, it is possible to prevent the front side surface of the bumper reinforcement from inhibiting the breakage from the energy absorbing portion by the rigidity reducing means of the standing portion.

請求項4に記載のバンパ構造では、立設部の車両下側部がバンパリインフォースメントの車両上側面に当接されている。このため、バンパカバーに車両上側から作用する荷重を立設部の形状保持部が受ける際には、バンパリインフォースメントの車両上側面が荷重を受けることができるため、立設部のエネルギー吸収部からの破断を効果的に抑制できて、形状保持部がバンパカバーの形状を効果的に保持することができる。   In the bumper structure according to the fourth aspect, the vehicle lower side portion of the standing portion is in contact with the vehicle upper side surface of the bumper reinforcement. For this reason, when the shape holding part of the standing part receives the load acting on the bumper cover from the upper side of the vehicle, the upper side surface of the bumper reinforcement can receive the load. Can be effectively suppressed, and the shape holding portion can effectively hold the shape of the bumper cover.

[第1の実施の形態]
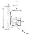
図1には、本発明の第1の実施の形態に係るバンパ構造10が車両左方から見た断面図にて示されている。なお、図面では、車両前方(車両外方)を矢印FRで示し、車両上方を矢印UPで示す。
[First Embodiment]
FIG. 1 shows a bumper structure 10 according to a first embodiment of the present invention in a sectional view as seen from the left side of a vehicle. In the drawings, the front side of the vehicle (outside the vehicle) is indicated by an arrow FR, and the upper side of the vehicle is indicated by an arrow UP.

本実施の形態に係るバンパ構造10は、車両のバンパとしてのフロントバンパ12に適用されており、フロントバンパ12は、車両の前側端に設けられている。   The bumper structure 10 according to the present embodiment is applied to a front bumper 12 as a vehicle bumper, and the front bumper 12 is provided at a front end of the vehicle.

フロントバンパ12の外面には、断面コ字形板状のバンパカバー14(バンパフェイシャ)が設けられており、バンパカバー14は、車幅方向へ延在されると共に、内部が車両後側(車両内方)へ開放されている。   A bumper cover 14 (bumper fascia) having a U-shaped cross section is provided on the outer surface of the front bumper 12, and the bumper cover 14 extends in the vehicle width direction, and the interior is the rear side of the vehicle (inside the vehicle). Are open to

バンパカバー14の内部には、車両下側部分かつ車両後側部分において、長尺矩形筒状のバンパリインフォースメント16が設けられており、バンパリインフォースメント16は、車幅方向へ延在されると共に、フロントバンパ12を補強している。バンパリインフォースメント16の内部には、板状の補強板18が所定数(本実施の形態では2つ)設けられており、補強板18は、バンパリインフォースメント16の車両前側壁と車両後側壁との間に架け渡されて、バンパリインフォースメント16を補強している。   Inside the bumper cover 14, a long rectangular tubular bumper reinforcement 16 is provided in the vehicle lower portion and the vehicle rear portion, and the bumper reinforcement 16 extends in the vehicle width direction. The front bumper 12 is reinforced. A predetermined number (two in the present embodiment) of plate-like reinforcing plates 18 are provided inside the bumper reinforcement 16, and the reinforcing plates 18 are provided on the vehicle front side wall and the vehicle rear side wall of the bumper reinforcement 16. The bumper reinforcement 16 is reinforced between the two.

バンパカバー14の内部には、バンパリインフォースメント16の車両前側において、エネルギー吸収部材としての柱状のアブソーバ20が設けられており、アブソーバ20は、発泡材によって構成されて、圧縮強度が引張強度に比し大きくされている。   Inside the bumper cover 14, a columnar absorber 20 as an energy absorbing member is provided on the front side of the bumper reinforcement 16. The absorber 20 is made of a foam material and has a compressive strength that is higher than the tensile strength. It has been enlarged.

アブソーバ20の車両下側部分には、断面U字形柱状のエネルギー吸収部22が設けられており、エネルギー吸収部22の車両上側部分及び車両下側部分の車両後側端はバンパリインフォースメント16の車両前側面に固定されている。ここで、車両が衝突相手24(例えば歩行者の脚等)に前面衝突した際には、バンパカバー14が変形又は破断されて、エネルギー吸収部22が車両後側へ圧縮変形されることで、衝突荷重(衝突エネルギー)が吸収される。   An energy absorbing portion 22 having a U-shaped cross section is provided in the vehicle lower portion of the absorber 20, and the vehicle upper side portion and the vehicle rear end of the vehicle lower portion of the energy absorbing portion 22 are the vehicles of the bumper reinforcement 16. Fixed to the front side. Here, when the vehicle collides frontally with a collision partner 24 (for example, a pedestrian's leg), the bumper cover 14 is deformed or broken, and the energy absorbing portion 22 is compressed and deformed to the rear side of the vehicle. The collision load (collision energy) is absorbed.

アブソーバ20の車両上側部分には、断面L字形柱状の立設部26が設けられており、立設部26は、エネルギー吸収部22の車両上側面の車両後側端から、車両上側に立設されると共に車両前側に突出されている。これにより、立設部26は、バンパリインフォースメント16の車両前側面及び車両上側面の車両上側に配置されており、立設部26の車両後側には、バンパリインフォースメント16が配置されていない。   An upright portion 26 having an L-shaped cross section is provided at the vehicle upper portion of the absorber 20, and the standing portion 26 is erected on the vehicle upper side from the vehicle rear side end of the vehicle upper side surface of the energy absorbing portion 22. And protrudes to the front side of the vehicle. Thereby, the standing part 26 is arrange | positioned at the vehicle upper side of the vehicle front side surface and the vehicle upper side surface of the bumper reinforcement 16, and the bumper reinforcement 16 is not arranged on the vehicle rear side of the standing part 26. .

立設部26の車両下側端(エネルギー吸収部22と立設部26との間)には、車両前側部分において、剛性低下手段としての半円柱状の切欠28(脆弱部)が形成されており、切欠28は車両前側へ開放されている。これにより、立設部26の車両下側端の車両前側部分の剛性が立設部26の車両下側端の車両後側部分の剛性に比し低下されている。また、切欠28はバンパリインフォースメント16の車両前側面及び車両上側面の車両上側に配置されている。   A semi-cylindrical notch 28 (fragile portion) as a rigidity reducing means is formed at the vehicle lower side end (between the energy absorbing portion 22 and the standing portion 26) of the standing portion 26 at the vehicle front side portion. The notch 28 is open to the front side of the vehicle. As a result, the rigidity of the vehicle front side portion at the vehicle lower end of the standing portion 26 is reduced as compared with the rigidity of the vehicle rear portion of the vehicle lower end of the standing portion 26. Further, the notch 28 is disposed on the vehicle front side of the bumper reinforcement 16 and on the vehicle upper side of the vehicle upper side surface.

立設部26の車両上側端の車両前後方向全体には、形状保持部としての面剛性保持部30が設けられており、面剛性保持部30の車両前側部分は立設部26から車両前側に延伸されている。さらに、面剛性保持部30の車両上側面はバンパカバー14の車両上側壁の近傍に配置されており、面剛性保持部30の車両前側面はバンパカバー14の車両前側壁の近傍に配置されている。   A surface rigidity holding portion 30 as a shape holding portion is provided in the entire vehicle longitudinal direction at the vehicle upper end of the standing portion 26, and a vehicle front side portion of the surface rigidity holding portion 30 is located on the vehicle front side from the standing portion 26. Has been stretched. Further, the vehicle upper side surface of the surface rigidity holding portion 30 is disposed in the vicinity of the vehicle upper side wall of the bumper cover 14, and the vehicle front side surface of the surface rigidity holding portion 30 is disposed in the vicinity of the vehicle front side wall of the bumper cover 14. Yes.

次に、本実施の形態の作用を説明する。   Next, the operation of the present embodiment will be described.

以上の構成のバンパ構造10では、バンパカバー14の車両上側面に人が手をつく等によってバンパカバー14の車両上側壁に車両上側から荷重が作用してバンパカバー14の車両上側壁が車両下側へ変形された際に、アブソーバ20の面剛性保持部30に車両上側から作用する荷重F1を面剛性保持部30が受けて、バンパカバー14の車両上側壁の変形量が小さくされることで、バンパカバー14の車両上側壁の変形が一時的なものにされて、バンパカバー14の車両上側壁の形状(面剛性)が保持される。   In the bumper structure 10 having the above-described configuration, a load is applied to the vehicle upper side wall of the bumper cover 14 from the upper side of the vehicle when a person touches the vehicle upper side surface of the bumper cover 14 so that the vehicle upper side wall of the bumper cover 14 is below the vehicle. When the surface rigidity holding portion 30 receives the load F1 acting on the surface rigidity holding portion 30 of the absorber 20 from the upper side of the vehicle when being deformed to the side, the deformation amount of the upper side wall of the bumper cover 14 is reduced. The vehicle upper side wall of the bumper cover 14 is temporarily deformed, and the shape (surface rigidity) of the vehicle upper side wall of the bumper cover 14 is maintained.

また、車両が衝突相手24に前面衝突した際には、バンパカバー14が変形又は破断されて、アブソーバ20のエネルギー吸収部22が車両後側へ圧縮変形されることで衝突荷重が吸収されると共に、アブソーバ20の面剛性保持部30に車両前側から荷重F2が作用する。   Further, when the vehicle collides frontally with the collision partner 24, the bumper cover 14 is deformed or broken, and the energy absorbing portion 22 of the absorber 20 is compressed and deformed toward the rear side of the vehicle, thereby absorbing the collision load. The load F2 acts on the surface rigidity holding portion 30 of the absorber 20 from the front side of the vehicle.

ここで、アブソーバ20では、立設部26の車両下側端の車両前側部分に切欠28が形成されることで、立設部26の車両下側端の車両前側部分の剛性が立設部26の車両下側端の車両後側部分の剛性に比し低下されている。また、アブソーバ20(発泡材)は、圧縮強度が引張強度に比し大きくされている。   Here, in the absorber 20, the notch 28 is formed in the vehicle front side portion of the vehicle lower side end of the standing portion 26, so that the rigidity of the vehicle front side portion of the vehicle lower end of the standing portion 26 is increased. This is lower than the rigidity of the vehicle rear side portion of the vehicle lower end. Further, the absorber 20 (foaming material) has a compressive strength larger than the tensile strength.

これにより、上述の如くバンパカバー14の車両上側壁に車両上側から荷重が作用して面剛性保持部30に車両上側から荷重F1が作用する際には、図2(A)に示す如く、立設部26にエネルギー吸収部22に対する車両前側へのモーメントM1(=F1×L1)が作用する。このため、立設部26の車両下側端の車両後側部分に引張方向の荷重が作用する一方、立設部26の車両下側端の車両前側部分(切欠28部分)に圧縮方向の荷重が作用することで、図3に破線で示す如く、立設部26の切欠28によるエネルギー吸収部22からの破断が防止されて、面剛性保持部30がバンパカバー14の形状を保持することができる。   Thus, as described above, when a load acts on the upper side wall of the bumper cover 14 from the upper side of the vehicle and a load F1 acts on the surface rigidity holding portion 30 from the upper side of the vehicle, as shown in FIG. A moment M1 (= F1 × L1) to the vehicle front side with respect to the energy absorbing portion 22 acts on the installation portion 26. Therefore, a load in the tensile direction acts on the vehicle rear side portion of the vehicle lower end of the standing portion 26, while a load in the compression direction acts on the vehicle front portion (notch 28 portion) of the vehicle lower end of the standing portion 26. As a result, as shown by a broken line in FIG. 3, breakage from the energy absorbing portion 22 due to the notch 28 of the standing portion 26 is prevented, and the surface rigidity holding portion 30 holds the shape of the bumper cover 14. it can.

また、上述の如く車両の前面衝突時にエネルギー吸収部22が車両後側へ圧縮変形されると共に面剛性保持部30に車両前側から荷重F2が作用する際には、図2(B)に示す如く、立設部26にエネルギー吸収部22に対する車両後側へのモーメントM2(=F2×L2)が作用する。このため、立設部26の車両下側端の車両後側部分に圧縮方向の荷重が作用する一方、立設部26の車両下側端の車両前側部分(切欠28部分)に引張方向の荷重が作用することで、図3に実線で示す如く、立設部26が切欠28によってエネルギー吸収部22から比較的容易に破断(離脱)できる。しかも、切欠28がバンパリインフォースメント16の車両前側面及び車両上側面の車両上側に配置されているため、立設部26の切欠28によるエネルギー吸収部22からの破断をバンパリインフォースメント16の車両前側面が阻害することを防止できると共に、エネルギー吸収部22から破断された立設部26がバンパリインフォースメント16の車両上側を介して車両後側へ移動することができる。これにより、立設部26がエネルギー吸収部22の圧縮変形を阻害することを防止できて、エネルギー吸収部22による衝突荷重の吸収を安定化させることができ、衝突相手24を狙い通りに適切に保護することができる。   When the energy absorbing portion 22 is compressed and deformed to the rear side of the vehicle and the load F2 is applied to the surface rigidity holding portion 30 from the front side of the vehicle as described above, as shown in FIG. The moment M2 (= F2 × L2) to the rear side of the vehicle with respect to the energy absorbing portion 22 acts on the standing portion 26. For this reason, a load in the compression direction acts on the vehicle rear side portion of the vehicle lower end of the standing portion 26, while a load in the tensile direction acts on the vehicle front portion (notch 28 portion) of the vehicle lower end of the standing portion 26. By acting, as shown by a solid line in FIG. 3, the standing portion 26 can be relatively easily broken (detached) from the energy absorbing portion 22 by the notch 28. In addition, since the notch 28 is disposed on the vehicle front side of the bumper reinforcement 16 and the vehicle upper side of the bumper reinforcement 16, the breakage from the energy absorbing portion 22 due to the notch 28 of the standing portion 26 is prevented in front of the bumper reinforcement 16 in front of the vehicle. The side surface can be prevented from being obstructed, and the standing portion 26 broken from the energy absorbing portion 22 can move to the vehicle rear side via the vehicle upper side of the bumper reinforcement 16. As a result, the standing portion 26 can be prevented from obstructing the compressive deformation of the energy absorbing portion 22, the absorption of the collision load by the energy absorbing portion 22 can be stabilized, and the collision partner 24 can be appropriately set as intended. Can be protected.

したがって、本実施の形態の如くアブソーバ20にエネルギー吸収部22及び立設部26が設けられた場合と、図4に示す如くアブソーバ20にエネルギー吸収部22のみ設けられて立設部26は設けられていない場合とで、車両の前面衝突時におけるアブソーバ20の変位(変形ストローク)とアブソーバ20の吸収荷重との関係をほぼ同様にすることができる。   Therefore, when the absorber 20 is provided with the energy absorbing portion 22 and the standing portion 26 as in the present embodiment, and when the absorber 20 is provided with only the energy absorbing portion 22 as shown in FIG. 4, the standing portion 26 is provided. The relationship between the displacement (deformation stroke) of the absorber 20 and the absorption load of the absorber 20 at the time of a frontal collision of the vehicle can be made substantially the same.

さらに、面剛性保持部30の車両前側部分が立設部26から車両前側に延伸されている。このため、車両の前面衝突時に立設部26がエネルギー吸収部22から破断されて車両後側へ移動する際において、面剛性保持部30の車両前側部分がバンパカバー14の車両上側壁等に当接しても、面剛性保持部30の車両前側部分が立設部26から容易に折れることで、面剛性保持部30の車両前側部分によって立設部26の車両後側への移動が阻害されることを防止できる。   Further, the vehicle front side portion of the surface rigidity holding portion 30 extends from the standing portion 26 to the vehicle front side. For this reason, when the standing portion 26 is broken from the energy absorbing portion 22 and moves to the rear side of the vehicle at the time of a frontal collision of the vehicle, the front side portion of the surface rigidity holding portion 30 contacts the vehicle upper side wall of the bumper cover 14 and the like. Even if they come into contact with each other, the vehicle front side portion of the surface rigidity holding portion 30 is easily folded from the standing portion 26, so that the movement of the standing portion 26 toward the vehicle rear side is hindered by the vehicle front side portion of the surface rigidity holding portion 30. Can be prevented.

また、立設部26の車両前側部分に切欠28が設けられているため、簡単な構造で立設部26の車両前側部分の剛性を立設部26の車両後側部分の剛性に比し低下させることができる。しかも、本発明の剛性低下手段が切欠28にされているため、簡単な構造で立設部26に剛性低下手段を構成することができる。   In addition, since the notch 28 is provided in the front portion of the standing portion 26, the rigidity of the front portion of the standing portion 26 is lower than the rigidity of the rear portion of the standing portion 26 with a simple structure. Can be made. Moreover, since the rigidity reducing means of the present invention is formed in the notch 28, the rigidity reducing means can be configured in the standing portion 26 with a simple structure.

[第2の実施の形態]
図5には、本発明の第2の実施の形態に係るバンパ構造50が車両左方から見た断面図にて示されている。
[Second Embodiment]
FIG. 5 shows a bumper structure 50 according to the second embodiment of the present invention in a sectional view as seen from the left side of the vehicle.

本実施の形態に係るバンパ構造50は、上記第1の実施の形態と、ほぼ同様の構成であるが、以下の点で異なる。   The bumper structure 50 according to the present embodiment has substantially the same configuration as the first embodiment, but differs in the following points.

本実施の形態に係るバンパ構造50では、アブソーバ20において、立設部26の車両後側端部(エネルギー吸収部22からの車両後側への突出部分)がバンパリインフォースメント16の車両上側面に載置されている。   In the bumper structure 50 according to the present embodiment, in the absorber 20, the vehicle rear side end portion (the protruding portion from the energy absorbing portion 22 to the vehicle rear side) of the standing portion 26 is on the vehicle upper side surface of the bumper reinforcement 16. It is placed.

ここで、本実施の形態でも、上記第1の実施の形態と同様の作用及び効果を奏することができる。   Here, also in this embodiment, the same operations and effects as those in the first embodiment can be obtained.

さらに、上述の如くアブソーバ20の立設部26の車両後側端部がバンパリインフォースメント16の車両上側面に載置されている。このため、バンパカバー14の車両上側面に人が手をつく等によってバンパカバー14の車両上側壁に車両上側から荷重が作用してバンパカバー14の車両上側壁が変形された際には、アブソーバ20の面剛性保持部30に車両上側から作用する荷重F1を立設部26を介してバンパリインフォースメント16の車両上側面が受けることで、立設部26の切欠28によるエネルギー吸収部22からの破断を効果的に防止できて、バンパカバー14の車両上側壁の形状を効果的に保持することができる。   Further, as described above, the vehicle rear side end portion of the standing portion 26 of the absorber 20 is placed on the vehicle upper side surface of the bumper reinforcement 16. For this reason, when a load is applied to the vehicle upper side wall of the bumper cover 14 from the upper side of the vehicle due to a person's hand on the upper side surface of the bumper cover 14 or the like, When the vehicle upper side surface of the bumper reinforcement 16 receives the load F1 acting on the surface rigidity holding portion 30 of the vehicle 20 from the upper side of the vehicle through the standing portion 26, the energy from the energy absorbing portion 22 by the notch 28 of the standing portion 26 is reduced. Breakage can be effectively prevented, and the shape of the vehicle upper side wall of the bumper cover 14 can be effectively retained.

なお、上記第1の実施の形態及び第2の実施の形態では、立設部26の車両下側端の車両前側部分に、剛性低下手段として車両前側へ開放された切欠28(脆弱部)を形成した構成としたが、立設部26の車両下側端の車両前側部分に、剛性低下手段として車両前側へ開放されない中空(脆弱部)を形成した構成としてもよい。   In the first embodiment and the second embodiment, the notch 28 (fragile portion) opened to the front side of the vehicle as a rigidity reducing means is provided in the front side portion of the vehicle at the lower end of the standing portion 26. However, a hollow (fragile portion) that does not open to the front side of the vehicle as a rigidity reducing means may be formed in the front side portion of the vehicle lower side end of the standing portion 26.

さらに、上記第1の実施の形態及び第2の実施の形態では、車両の前面衝突時に立設部26がエネルギー吸収部22から離脱する構成としたが、車両の前面衝突時には、立設部26がエネルギー吸収部22から完全に離脱しなくてもよく、立設部26がエネルギー吸収部22の圧縮変形を阻害することを防止できる構成であればよい。   Furthermore, in the first embodiment and the second embodiment, the standing portion 26 is separated from the energy absorbing portion 22 at the time of the frontal collision of the vehicle. However, the standing portion 26 is at the time of the frontal collision of the vehicle. However, it is not necessary to completely detach from the energy absorbing portion 22, and any configuration that can prevent the standing portion 26 from inhibiting the compressive deformation of the energy absorbing portion 22 may be used.

また、上記第1の実施の形態及び第2の実施の形態では、バンパ構造10、50を車両の前側端のフロントバンパ12に適用した構成としたが、バンパ構造10、50を車両の後側端のリヤバンパ(バンパ)に適用した構成としてもよい。   In the first embodiment and the second embodiment, the bumper structures 10 and 50 are applied to the front bumper 12 at the front end of the vehicle. However, the bumper structures 10 and 50 are arranged on the rear side of the vehicle. The configuration may be applied to the rear bumper (bumper) at the end.

本発明の第1の実施の形態に係るバンパ構造を示す車両左方から見た断面図である。It is sectional drawing seen from the vehicle left side which shows the bumper structure which concerns on the 1st Embodiment of this invention. (A)及び(B)は、本発明の第1の実施の形態に係るバンパ構造におけるアブソーバへの荷重作用状況を示す車両左方から見た断面図であり、(A)は、バンパカバーの車両上側壁に車両上側から荷重が作用した際を示す図であり、(B)は、車両が衝突相手に前面衝突した際を示す図である。(A) And (B) is sectional drawing seen from the vehicle left side which shows the load action condition to the absorber in the bumper structure which concerns on the 1st Embodiment of this invention, (A) is a bumper cover It is a figure which shows the time of a load having acted on the vehicle upper side wall from the vehicle upper side, and (B) is a figure which shows a time when a vehicle collides frontally with the collision partner. 本発明の第1の実施の形態に係るバンパ構造におけるアブソーバの立設部の変位とアブソーバの立設部へ作用する荷重との関係を示すグラフである。It is a graph which shows the relationship between the displacement of the standing part of an absorber in the bumper structure which concerns on the 1st Embodiment of this invention, and the load which acts on the standing part of an absorber. アブソーバにエネルギー吸収部のみ設けられて立設部は設けられていないバンパ構造を示す車両左方から見た断面図である。It is sectional drawing seen from the vehicle left side which shows the bumper structure in which only the energy absorption part is provided in the absorber and the standing part is not provided. 本発明の第2の実施の形態に係るバンパ構造を示す車両左方から見た断面図である。It is sectional drawing seen from the vehicle left side which shows the bumper structure which concerns on the 2nd Embodiment of this invention.

符号の説明Explanation of symbols

10 バンパ構造
12 フロントバンパ(バンパ)
14 バンパカバー
16 バンパリインフォースメント
20 アブソーバ
22 エネルギー吸収部
26 立設部
28 切欠(剛性低下手段)
30 面剛性保持部(形状保持部)
50 バンパ構造
10 Bumper structure 12 Front bumper (bumper)
14 Bumper cover 16 Bumper reinforcement 20 Absorber 22 Energy absorption part 26 Standing part 28 Notch (Rigidity reduction means)
30 Surface rigidity holder (shape holder)
50 Bumper structure

Claims (4)

車両のバンパの外面に設けられたバンパカバーと、
前記バンパを補強するバンパリインフォースメントと、
前記バンパカバーと前記バンパリインフォースメントとの間に配置されたアブソーバと、
前記アブソーバに設けられると共に、前記バンパリインフォースメントの車両外側に配置され、衝突エネルギーを吸収可能にされたエネルギー吸収部と、
前記アブソーバに設けられ、前記エネルギー吸収部から車両上側に立設された立設部と、
前記立設部の車両上側部分に設けられ、前記バンパカバーの形状を保持可能にされた形状保持部と、
前記立設部に設けられ、前記立設部の車両外側部分の剛性を前記立設部の車両内側部分の剛性に比し低下させる剛性低下手段と、
を備えたバンパ構造。
A bumper cover provided on the outer surface of the bumper of the vehicle;
Bumper reinforcement for reinforcing the bumper;
An absorber disposed between the bumper cover and the bumper reinforcement;
An energy absorbing portion that is provided on the absorber and is arranged outside the bumper reinforcement and capable of absorbing collision energy;
A standing portion provided on the absorber, and standing on the vehicle upper side from the energy absorbing portion;
A shape holding portion that is provided on a vehicle upper side portion of the upright portion and is capable of holding the shape of the bumper cover;
Rigidity reduction means provided at the standing portion for reducing the rigidity of the vehicle outer portion of the standing portion as compared to the rigidity of the vehicle inner portion of the standing portion;
Bumper structure with
前記エネルギー吸収部の車両内側部分から車両上側に前記立設部が立設されると共に、前記立設部の車両外側部分に前記剛性低下手段を設けた、ことを特徴とする請求項1記載のバンパ構造。   2. The apparatus according to claim 1, wherein the standing portion is erected on a vehicle upper side from a vehicle inner side portion of the energy absorbing portion, and the rigidity reducing means is provided on a vehicle outer portion of the standing portion. Bumper structure. 前記剛性低下手段は、切り欠き状にされると共に、前記バンパリインフォースメントの車両前側面よりも車両上側に配置された、ことを特徴とする請求項1又は請求項2記載のバンパ構造。   3. The bumper structure according to claim 1, wherein the rigidity reducing means is formed in a notch shape and is disposed on the vehicle upper side of the front side surface of the bumper reinforcement. 4. 前記立設部の車両下側部を前記バンパリインフォースメントの車両上側面に当接させた、ことを特徴とする請求項1乃至請求項3の何れか1項記載のバンパ構造。   The bumper structure according to any one of claims 1 to 3, wherein a vehicle lower side portion of the standing portion is brought into contact with a vehicle upper side surface of the bumper reinforcement.
JP2007028150A 2007-02-07 2007-02-07 Bumper structure Pending JP2008189250A (en)

Priority Applications (1)

Application Number Priority Date Filing Date Title
JP2007028150A JP2008189250A (en) 2007-02-07 2007-02-07 Bumper structure

Applications Claiming Priority (1)

Application Number Priority Date Filing Date Title
JP2007028150A JP2008189250A (en) 2007-02-07 2007-02-07 Bumper structure

Publications (1)

Publication Number Publication Date
JP2008189250A true JP2008189250A (en) 2008-08-21

Family

ID=39749754

Family Applications (1)

Application Number Title Priority Date Filing Date
JP2007028150A Pending JP2008189250A (en) 2007-02-07 2007-02-07 Bumper structure

Country Status (1)

Country Link
JP (1) JP2008189250A (en)

Cited By (1)

* Cited by examiner, † Cited by third party
Publication number Priority date Publication date Assignee Title
CN114633711A (en) * 2020-12-16 2022-06-17 株式会社钟化 Energy absorber for bumper

Citations (2)

* Cited by examiner, † Cited by third party
Publication number Priority date Publication date Assignee Title
JPH01158354A (en) * 1987-12-15 1989-06-21 Toa Medical Electronics Co Ltd Reagent and method for immunological measurement of many components
JP2006160015A (en) * 2004-12-06 2006-06-22 Fuji Heavy Ind Ltd Bumper shock absorbing member

Patent Citations (2)

* Cited by examiner, † Cited by third party
Publication number Priority date Publication date Assignee Title
JPH01158354A (en) * 1987-12-15 1989-06-21 Toa Medical Electronics Co Ltd Reagent and method for immunological measurement of many components
JP2006160015A (en) * 2004-12-06 2006-06-22 Fuji Heavy Ind Ltd Bumper shock absorbing member

Cited By (6)

* Cited by examiner, † Cited by third party
Publication number Priority date Publication date Assignee Title
CN114633711A (en) * 2020-12-16 2022-06-17 株式会社钟化 Energy absorber for bumper
EP4015316A1 (en) * 2020-12-16 2022-06-22 Kaneka Corporation Bumper absorber
JP2022095377A (en) * 2020-12-16 2022-06-28 株式会社カネカ Bumpa absorber
JP7236425B2 (en) 2020-12-16 2023-03-09 株式会社カネカ bumper absorber
US11801799B2 (en) 2020-12-16 2023-10-31 Kaneka Corporation Bumper absorber
CN114633711B (en) * 2020-12-16 2025-06-06 株式会社钟化 Bumper energy absorber

Similar Documents

Publication Publication Date Title
JP5979084B2 (en) Body front structure
JP5203870B2 (en) Automotive body reinforcement with excellent bending crush characteristics
JP2006015859A (en) Front body structure of the vehicle
US7677616B2 (en) Bumper absorber
CN109941215A (en) Protective upper part of vehicle
JP5139954B2 (en) Bumper device for vehicle
JP5978133B2 (en) Body front structure
JP2006232042A (en) Vehicle front structure
JP4473537B2 (en) Energy absorber for personal protection
JP2008189250A (en) Bumper structure
JP2009269448A (en) Vehicular hood supporting structure
JP2009274663A (en) Vehicle energy absorbing structure
JP4450172B2 (en) Automobile perimeter frame structure
JP5027684B2 (en) Body front structure
JP5149509B2 (en) Bumper structure of vehicle
JP2007204016A (en) Bumper structure for vehicles
JP2007176451A (en) Bumper absorber
JP2008013124A (en) Energy absorbing member for personal protection
JP2018111378A (en) Vehicle bumper structure
JP4781212B2 (en) Shock absorber for automobile
JP7060560B2 (en) Body front structure
JP2006056471A (en) Bumper beam mounting structure
JP5092319B2 (en) Vehicle front-rear direction end structure
JP4449754B2 (en) Vehicle front structure
JP2008001149A (en) Vehicle side structure

Legal Events

Date Code Title Description
A621 Written request for application examination

Free format text: JAPANESE INTERMEDIATE CODE: A621

Effective date: 20090821

A977 Report on retrieval

Free format text: JAPANESE INTERMEDIATE CODE: A971007

Effective date: 20110606

A131 Notification of reasons for refusal

Free format text: JAPANESE INTERMEDIATE CODE: A131

Effective date: 20110621

A521 Written amendment

Effective date: 20110810

Free format text: JAPANESE INTERMEDIATE CODE: A523

A02 Decision of refusal

Effective date: 20111004

Free format text: JAPANESE INTERMEDIATE CODE: A02