JP2008144995A - Plant leakage detecting system - Google Patents

Plant leakage detecting system Download PDF

Info

Publication number
JP2008144995A
JP2008144995A JP2006330146A JP2006330146A JP2008144995A JP 2008144995 A JP2008144995 A JP 2008144995A JP 2006330146 A JP2006330146 A JP 2006330146A JP 2006330146 A JP2006330146 A JP 2006330146A JP 2008144995 A JP2008144995 A JP 2008144995A
Authority
JP
Japan
Prior art keywords
water
leak
plant
open
blow valve
Prior art date
Legal status (The legal status is an assumption and is not a legal conclusion. Google has not performed a legal analysis and makes no representation as to the accuracy of the status listed.)
Granted
Application number
JP2006330146A
Other languages
Japanese (ja)
Other versions
JP5019861B2 (en
Inventor
Makoto Ozasa
誠 小笹
Hiroshi Umeki
博 梅木
Yasushi Fukai
泰 深井
Current Assignee (The listed assignees may be inaccurate. Google has not performed a legal analysis and makes no representation or warranty as to the accuracy of the list.)
Chugoku Electric Power Co Inc
Original Assignee
Chugoku Electric Power Co Inc
Priority date (The priority date is an assumption and is not a legal conclusion. Google has not performed a legal analysis and makes no representation as to the accuracy of the date listed.)
Filing date
Publication date
Application filed by Chugoku Electric Power Co Inc filed Critical Chugoku Electric Power Co Inc
Priority to JP2006330146A priority Critical patent/JP5019861B2/en
Publication of JP2008144995A publication Critical patent/JP2008144995A/en
Application granted granted Critical
Publication of JP5019861B2 publication Critical patent/JP5019861B2/en
Expired - Fee Related legal-status Critical Current
Anticipated expiration legal-status Critical

Links

Images

Landscapes

  • Examining Or Testing Airtightness (AREA)

Abstract

<P>PROBLEM TO BE SOLVED: To provide a plant leakage detecting system capable of surely detecting a leakage part of a water supply system in safety with a simple constitution in a boiler plant of a heat power plant and the like. <P>SOLUTION: This plant leakage detecting system is composed of a refilled-water volume measuring means 1 for measuring the water volume refilled in the water supply system, temperature sensors 2, 3, 4 disposed on vapor or/and water leakage detection parts of the water supply system, and a leakage part detecting means 6 for detecting the leakage of vapor or/and water on the basis of temperature changes of the leakage detection parts measured by the temperature sensors 2, 3, 4, when the increase of the refilled-water volume is detected. <P>COPYRIGHT: (C)2008,JPO&INPIT

Description

本発明は、給水系統で給水を循環使用するボイラプラントにおいて、水蒸気又は水のリークを検出するプラントリーク検出システムに関する。   The present invention relates to a plant leak detection system for detecting a leak of water vapor or water in a boiler plant that circulates and uses feed water in a feed water system.

火力発電所等のボイラプラントでは、給水をボイラで加熱して水蒸気を生成し、蒸気タービンを駆動した後、その排気を復水器で凝縮し給水として循環使用している。給水系統で循環使用される給水は、水蒸気の一部をタービングランド部のシール用やボイラ内の灰除去用等に使われて系外に排出されている。この給水の減少分は、補給水タンクから給水系統に補給されるようになっており、補給水量は流量計で監視している(例えば、特許文献1参照)。   In a boiler plant such as a thermal power plant, water is heated with a boiler to generate water vapor, and a steam turbine is driven. Then, the exhaust gas is condensed with a condenser and circulated for use as water supply. The water used for circulation in the water supply system is discharged from the system by using a part of the steam for sealing the turbine gland and for removing ash in the boiler. The reduced amount of the water supply is supplied to the water supply system from the makeup water tank, and the amount of makeup water is monitored by a flow meter (see, for example, Patent Document 1).

給水系統に補給される補給水量は、通常運転中は略一定量に保たれているが、ブロー弁やドレン弁等の弁部からの水蒸気・水漏れ又はチューブリークの発生により補給水量が増加する。この水蒸気や水の漏れは、補給水量の増加により発電コストの増加を招くのみならず、漏洩箇所周辺の機器に悪影響を及ぼす恐れがある。このため、従来は、補給水量が増加した場合に、検査者がドレン系統の各弁部及び配管を目視又は触診により確認して、弁部の漏れ又はチューブリークの箇所を特定していた。   The amount of makeup water supplied to the water supply system is maintained at a substantially constant amount during normal operation, but the amount of makeup water increases due to the occurrence of water vapor / water leaks or tube leaks from valve parts such as blow valves and drain valves. . This leakage of water vapor and water not only causes an increase in power generation cost due to an increase in the amount of makeup water, but also has a risk of adversely affecting the equipment around the leakage location. For this reason, conventionally, when the amount of replenishing water increases, the inspector confirms each valve part and piping of the drain system visually or by palpation, and specifies the leak of the valve part or the tube leak.

また、ボイラのダクトに設けたAEセンサで、チューブリークにより発生する音波を検出してチューブリーク位置を特定するチューブリーク位置検出装置は知られている(例えば、特許文献2参照)。   Also, a tube leak position detection device is known in which an AE sensor provided in a duct of a boiler detects a sound wave generated by tube leak and identifies a tube leak position (see, for example, Patent Document 2).

特開2003−139302号公報JP 2003-139302 A 特開平7−248274号公報JP 7-248274 A

しかし、検査者がドレン系統の各弁部及び配管を目視又は触診により確認していたのでは、確認箇所が多いためにリーク箇所の特定に多大な時間と労力を要するのみならず、漏出した水蒸気による火傷などの危険を伴うという課題があった。
また、特許文献2に記載のチューブリーク位置検出装置は、ダクト内のように閉空間内のチューブリーク検出には使用できるが、他の部分の給水系統においてはノイズの影響を受ける恐れがある他、給水系統全体に設けるとコスト高になるという問題があった。
However, if the inspector confirmed each valve part and piping of the drain system by visual inspection or palpation, because there are many confirmation parts, not only much time and labor are required to identify the leak part, but also the leaked water vapor There was a problem of being accompanied by dangers such as burns.
Further, the tube leak position detecting device described in Patent Document 2 can be used for detecting tube leak in a closed space as in a duct, but other parts of the water supply system may be affected by noise. There was a problem that it would be expensive to install in the entire water supply system.

そこで、本発明は、火力発電所等のボイラプラントにおいて、簡単な構成により安全且つ確実に給水系統のリーク箇所を検出することができるプラントリーク検出システムを提供するものである。   Therefore, the present invention provides a plant leak detection system that can detect a leak point of a water supply system safely and reliably with a simple configuration in a boiler plant such as a thermal power plant.

本発明は、上記課題を解決するために、給水系統で給水を循環使用するボイラプラントにおいて、前記給水系統に補給される補給水量を計測する補給水量計測手段と、前記給水系統の水蒸気又は/及び水のリーク検出箇所に設けた温度センサと、補給水量の増加を検知したときに前記温度センサで計測したリーク検出箇所の温度変化から水蒸気又は水のリークを検出するリーク箇所検出手段とからなるプラントリーク検出システムを提供するものである。   In order to solve the above problems, the present invention provides a boiler plant that circulates and uses feed water in a feed water system, a make-up water amount measuring means that measures the amount of make-up water replenished to the feed water system, and steam or / and / or the feed water system A plant comprising a temperature sensor provided at a water leak detection location and a leak location detection means for detecting a water vapor or water leak from a temperature change at the leak detection location measured by the temperature sensor when an increase in the amount of makeup water is detected A leak detection system is provided.

また、本発明は、前記温度センサを前記給水系統の蒸気配管又は/及び温水配管に設けられたブロー弁及びドレントラップの排出側に設置した請求項1に記載のプラントリーク検出システムを提供するものである。   Moreover, this invention provides the plant leak detection system of Claim 1 installed in the discharge side of the blow valve and drain trap which were provided in the steam piping of the said water supply system, and / or warm water piping. It is.

また、本発明は、前記温度センサで計測したリーク検出箇所の温度が予め定めた基準値を超えたときに、前記リーク箇所検出手段が水蒸気又は水のリークを検出するようにした請求項2に記載のプラントリーク検出システムを提供するものである。   Further, in the present invention, when the temperature of the leak detection location measured by the temperature sensor exceeds a predetermined reference value, the leak location detection means detects a leak of water vapor or water. The described plant leak detection system is provided.

また、本発明は、前記給水系統の水配管に設けられたブロー弁の排出側に漏水センサを設置し、前記リーク箇所検出手段が該漏水センサで水のリークを検出するようにした請求項1乃至3の何れかに記載のプラントリーク検出システムを提供するものである。   In the present invention, a water leak sensor is installed on the discharge side of a blow valve provided in a water pipe of the water supply system, and the leak point detecting means detects water leak with the water leak sensor. The plant leak detection system in any one of thru | or 3 is provided.

また、本発明は、ボイラプラントの運転状態に対応したブロー弁の開閉条件を記憶する記憶手段と、ボイラプラントの運転状態からブロー弁の開閉条件を管理する管理手段を備えた請求項1乃至4の何れかに記載のプラントリーク検出システムを提供するものである。   The present invention further comprises storage means for storing the open / close conditions of the blow valve corresponding to the operating state of the boiler plant, and management means for managing the open / close conditions of the blow valve from the operating state of the boiler plant. The plant leak detection system described in any of the above is provided.

また、本発明は、前記リーク箇所検出手段が開条件のブロー弁をリーク検出対象から外すようにした請求項5に記載のプラントリーク検出システムを提供するものである。   The present invention also provides a plant leak detection system according to claim 5, wherein the leak point detection means removes the blow valve in the open condition from the leak detection target.

また、本発明は、前記リーク箇所検出手段がブロー弁の開閉状態を検知する開閉状態検知手段を備え、運転状態に対応した弁の開閉条件と前記検知した開閉状態を比較し、一致しないときに警告を発するようにした請求項5又は6に記載のプラントリーク検出システムを提供するものである。   Further, the present invention includes an open / close state detection means for detecting the open / close state of the blow valve, and the leak location detection means compares the open / close condition of the valve corresponding to the operating state with the detected open / close state, and does not match. The plant leak detection system according to claim 5 or 6, wherein a warning is issued.

また、本発明は、前記リーク箇所検出手段が、補給水量の増加を検知し、且つ、前記ブロー弁及びドレントラップから水蒸気又は水のリークを検出しないときに、ボイラチューブリークと判断するようにした請求項1乃至7の何れかに記載のプラントリーク検出システムを提供するものである。   Further, in the present invention, when the leak point detection unit detects an increase in the amount of makeup water and does not detect a leak of water vapor or water from the blow valve and the drain trap, it is determined as a boiler tube leak. A plant leak detection system according to any one of claims 1 to 7 is provided.

また、本発明は、ボイラチューブにメタル温度を計測するメタル温度センサを設けてあり、前記リーク箇所検出手段が該メタル温度の変化からチューブリークを検出するようにした請求項1乃至8の何れかに記載のプラントリーク検出システムを提供するものである。   Further, according to the present invention, a metal temperature sensor for measuring a metal temperature is provided in the boiler tube, and the leak point detecting means detects a tube leak from a change in the metal temperature. The plant leak detection system described in 1. is provided.

本発明に係るプラントリーク検出システムによれば、給水系統で給水を循環使用するボイラプラントにおいて、前記給水系統に補給される補給水量を計測する補給水量計測手段と、前記給水系統の水蒸気又は/及び水のリーク検出箇所に設けた温度センサと、補給水量の増加を検知したときに前記温度センサで計測したリーク検出箇所の温度変化から水蒸気又は水のリークを検出するリーク箇所検出手段とからなる構成を有することにより、補給水量の増加で給水系統からの水蒸気又は水のリークを検出することができ、リーク箇所は水蒸気又は水の漏出によって配管又は配管内部の温度が変化するから、温度変化を検出した温度センサの設置された箇所によってリーク箇所を特定することができる。また、補給水量計測手段が補給水量の増加を検知したときにリークの検出を行うから、負荷増減等のリーク以外の要因による温度変化を排除して、信頼性の高いリーク箇所検出を行うことができる効果がある。   According to the plant leak detection system of the present invention, in a boiler plant that circulates and uses feed water in a feed water system, a makeup water amount measuring means that measures the amount of makeup water to be supplemented to the feed water system, and steam or / and / or the feed water system A configuration comprising a temperature sensor provided at a water leak detection location and a leak location detection means for detecting a water vapor or water leak from a temperature change at the leak detection location measured by the temperature sensor when an increase in the amount of makeup water is detected It is possible to detect the leakage of water vapor or water from the water supply system by increasing the amount of makeup water, and the leak location detects the temperature change because the temperature of the pipe or the piping changes due to the leakage of water vapor or water. The leak location can be identified by the location where the temperature sensor is installed. In addition, since the leak detection is performed when the makeup water volume measuring means detects an increase in the makeup water volume, it is possible to perform highly reliable leak location detection by eliminating temperature changes due to factors other than leak such as load increase / decrease. There is an effect that can be done.

また、本発明は、前記温度センサを前記給水系統の蒸気配管又は/及び温水配管に設けられたブロー弁及びドレントラップの排出側に設置した請求項1に記載の構成を有することにより、ブロー弁又はドレントラップから水蒸気又は温水が漏出したときに、温度センサが温度の上昇を検知するから、リーク箇所を確実に検出することができる効果がある。   Moreover, this invention has a structure of the blow valve provided in the discharge | emission side of the blow valve provided in the steam piping of the said water supply system, and / or warm water piping, and a drain trap. Or when water vapor | steam or warm water leaks from a drain trap, since a temperature sensor detects a raise of temperature, there exists an effect which can detect a leak location reliably.

また、本発明は、前記温度センサで計測したリーク検出箇所の温度が予め定めた基準値を超えたときに、前記リーク箇所検出手段が水蒸気又は水のリークを検出するようにした請求項2に記載の構成を有することにより、予め定めた基準値と温度センサで計測した温度の比較によって簡単にリーク箇所を検出することができる効果がある。   Further, in the present invention, when the temperature of the leak detection location measured by the temperature sensor exceeds a predetermined reference value, the leak location detection means detects a leak of water vapor or water. With the described configuration, there is an effect that a leak point can be easily detected by comparing a predetermined reference value with a temperature measured by a temperature sensor.

また、本発明は、前記給水系統の水配管に設けられたブロー弁の排出側に漏水センサを設置し、前記リーク箇所検出手段が該漏水センサで水のリークを検出するようにした請求項1乃至3の何れかに記載の構成を有することにより、リーク箇所の温度変化が小さい水のリークも確実に検出することができる効果がある。   In the present invention, a water leak sensor is installed on the discharge side of a blow valve provided in a water pipe of the water supply system, and the leak point detecting means detects water leak with the water leak sensor. By having the configuration described in any one of 3 to 3, there is an effect that it is possible to reliably detect a water leak with a small temperature change at the leak location.

また、本発明は、ボイラプラントの運転状態に対応したブロー弁の開閉条件を記憶する記憶手段と、ボイラプラントの運転状態からブロー弁の開閉条件を管理する管理手段を備えた請求項1乃至4の何れかに記載の構成を有することにより、ボイラプラントの各ブロー弁の開閉状態を把握することができ、開状態にあるブロー弁とリークしているブロー弁を識別することができる効果がある。   The present invention further comprises storage means for storing the open / close conditions of the blow valve corresponding to the operating state of the boiler plant, and management means for managing the open / close conditions of the blow valve from the operating state of the boiler plant. By having the configuration described in any of the above, it is possible to grasp the open / closed state of each blow valve of the boiler plant, and to identify the blow valve that is open and the leaking blow valve .

また、本発明は、前記リーク箇所検出手段が開条件のブロー弁をリーク検出対象から外すようにした請求項5に記載の構成を有することにより、開状態にあるブロー弁をリーク箇所として誤検出するのを防止することができる効果がある。   Further, the present invention has the configuration according to claim 5, wherein the leak location detecting means excludes the blow valve in the open condition from the leak detection target, so that the blow valve in the open state is erroneously detected as the leak location. There is an effect that can be prevented.

また、本発明は、前記リーク箇所検出手段がブロー弁の開閉状態を検知する開閉状態検知手段を備え、運転状態に対応した弁の開閉条件と前記検知した開閉状態を比較し、一致しないときに警告を発するようにした請求項5又は6に記載の構成を有することにより、ブロー弁の動作不良を検出することができる効果がある。   Further, the present invention includes an open / close state detection means for detecting the open / close state of the blow valve, and the leak location detection means compares the open / close condition of the valve corresponding to the operating state with the detected open / close state, and does not match. By having the configuration according to claim 5 or 6 which issues a warning, there is an effect that it is possible to detect a malfunction of the blow valve.

また、本発明は、前記リーク箇所検出手段が、補給水量の増加を検知し、且つ、前記ブロー弁及びドレントラップから水蒸気又は水のリークを検出しないときに、ボイラチューブリークと判断するようにした請求項1乃至7の何れかに記載の構成を有することにより、発見が困難なチューブリークの発生をボイラ外の状態から簡単に検出することができる効果がある。   Further, in the present invention, when the leak point detection unit detects an increase in the amount of makeup water and does not detect a leak of water vapor or water from the blow valve and the drain trap, it is determined as a boiler tube leak. By having the configuration according to any one of claims 1 to 7, it is possible to easily detect the occurrence of tube leak that is difficult to detect from the state outside the boiler.

また、本発明は、ボイラチューブにメタル温度を計測するメタル温度センサを設けてあり、前記リーク箇所検出手段が該メタル温度の変化からチューブリークを検出するようにした請求項1乃至8の何れかに記載の構成を有することにより、ボイラの運転中においても安全かつ確実にチューブリーク箇所を特定することができる効果がある。   Further, according to the present invention, a metal temperature sensor for measuring a metal temperature is provided in the boiler tube, and the leak point detecting means detects a tube leak from a change in the metal temperature. By having the configuration described in the above, there is an effect that the tube leak portion can be specified safely and reliably even during operation of the boiler.

本発明の実施の形態を図示する実施例に基づいて説明する。
本発明に係るプラントリーク検出システムは、給水系統で給水を循環使用するボイラプラントにおいて、前記給水系統に補給される補給水量を計測する補給水量計測手段1と、前記給水系統の水蒸気又は/及び水のリーク検出箇所に設けた温度センサ2,3,4と、補給水量の増加を検知したときに前記温度センサ2,3,4で計測したリーク検出箇所の温度変化から水蒸気又は水のリークを検出するリーク箇所検出手段6とから構成してある。
Embodiments of the present invention will be described based on examples shown in the drawings.
A plant leak detection system according to the present invention includes a replenishment water amount measuring means 1 for measuring a replenishment water amount replenished to the water supply system, and steam or / and water of the water supply system in a boiler plant that circulates and uses the water supply in the water supply system. Detects water vapor or water leak from temperature sensors 2, 3 and 4 provided at the leak detection location and temperature changes at the leak detection location measured by the temperature sensors 2, 3 and 4 when an increase in the amount of makeup water is detected The leak location detecting means 6 is configured.

図1は、本発明に係るプラントリーク検出システムの一実施例を示す構成図である。図1に示す実施例において、ボイラプラントは火力発電プラントであり、ボイラ10でボイラチューブ11内の給水を加熱して水蒸気を生成し、蒸気配管12を通って蒸気をタービン20へ供給し、タービン20を回転して発電するように構成してある。タービン20の下端部には復水器21を設けてあり、タービン20を回転して発電に使用された蒸気が冷却されて水に戻され、水配管13を通って給水ポンプ14によりボイラチューブ11に再び供給されて給水系統11,12,13で給水を循環使用するようにしてある。   FIG. 1 is a block diagram showing an embodiment of a plant leak detection system according to the present invention. In the embodiment shown in FIG. 1, the boiler plant is a thermal power plant, the boiler 10 heats the feed water in the boiler tube 11 to generate steam, supplies the steam to the turbine 20 through the steam pipe 12, and the turbine It is comprised so that 20 may be rotated and it may generate electric power. A condenser 21 is provided at the lower end of the turbine 20. The steam used for power generation by rotating the turbine 20 is cooled and returned to water, and passes through the water pipe 13 and the boiler tube 11 by the feed pump 14. The water supply is recirculated and used in the water supply systems 11, 12, and 13.

図1において、22は補給水を貯えた補給水タンクである。補給水タンク22は、水蒸気の一部をタービングランド部のシール用やボイラ内の灰除去用等として系外に排出することによる給水の減少分を補って、給水系統で循環使用される給水の水量を一定に維持できるように、補給水を復水器21に補給するように構成してある。また、補給水タンク22と復水器21の間には、流量計からなる補給水量計測手段1を設けてあり、復水器21に補給される補給水量を計測することができるようにしてある。   In FIG. 1, reference numeral 22 denotes a makeup water tank that stores makeup water. The make-up water tank 22 compensates for the decrease in water supply by discharging a part of the water vapor outside the system for sealing the turbine gland and for removing ash in the boiler, and the like. In order to maintain the amount of water constant, makeup water is replenished to the condenser 21. Further, a make-up water amount measuring means 1 comprising a flow meter is provided between the make-up water tank 22 and the condenser 21 so that the amount of make-up water to be supplied to the condenser 21 can be measured. .

リーク箇所検出手段6は、補給水量計測手段1が計測する補給水量を監視し、補給水量の増加を検知したときに、ブロー弁15,16やドレン弁17等の弁部からの水蒸気又は水漏れ、或いはチューブリークの発生と判断してリーク箇所を検出するように構成してある。また、リーク箇所検出手段6は、水蒸気などを系外に排出する排出弁の開度から給水の排出量を管理する排出量管理手段を備え、給水の排出量と補給水量を比較して補給水量が増加したときにチューブリーク等の発生と判断することができるように構成することも可能である。   The leak location detection means 6 monitors the amount of makeup water measured by the makeup water amount measurement means 1 and detects an increase in the amount of makeup water when water vapor or water leaks from valve parts such as the blow valves 15 and 16 and the drain valve 17. Alternatively, it is determined that a tube leak has occurred and the leak location is detected. Moreover, the leak location detection means 6 is provided with a discharge amount management means for managing the discharge amount of the feed water from the opening degree of the discharge valve that discharges water vapor and the like out of the system, and compares the discharge amount of the feed water with the make-up water amount. It is also possible to configure so that the occurrence of tube leak or the like can be determined when the value increases.

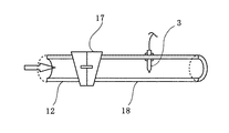
図1乃至図3に示すように、温度センサ2,3は熱電対からなり、蒸気配管12に設けられたブロー弁15及びドレントラップ17の排出側に設置してある。図示の実施例において、温度センサ2,3は、蒸気排出管18の上側から下側に向かって挿入し、温度検知部を蒸気排出管18の中心より下側に設けて、ブロー弁15又はドレントラップ17から漏れた水蒸気を直接検出することができるようにしてある。また、温度センサ2,3は、蒸気配管12内の水蒸気の温度変化による影響を軽減すると共に、少量のリークを検出することができるように、ブロー弁15又はドレントラップ17から20〜30cm排出側の位置に設置してあることが好ましい。なお、温度センサ2,3は、熱電対以外の種々の温度センサを使用することもでき、蒸気排出管18の周囲に設置することも可能である。   As shown in FIGS. 1 to 3, the temperature sensors 2 and 3 are thermocouples and are installed on the discharge side of the blow valve 15 and the drain trap 17 provided in the steam pipe 12. In the illustrated embodiment, the temperature sensors 2 and 3 are inserted from the upper side to the lower side of the steam discharge pipe 18, and the temperature detection unit is provided below the center of the steam discharge pipe 18, so that the blow valve 15 or the drain is provided. Water vapor leaking from the trap 17 can be directly detected. Further, the temperature sensors 2 and 3 reduce the influence caused by the temperature change of the water vapor in the steam pipe 12 and can detect a small amount of leak from the blow valve 15 or the drain trap 17 by 20 to 30 cm. It is preferable to be installed at the position. The temperature sensors 2 and 3 may be various temperature sensors other than thermocouples, and may be installed around the steam discharge pipe 18.

図示の実施例において、リーク箇所検出手段6は、温度センサ2,3で計測したリーク検出箇所の温度が弁毎に予め定めた基準値を超えたときに、水蒸気のリークを検出するようにしてある。また、リーク箇所検出手段6は、季節別に基準値を変えて定めることができるようにしてある。なお、リーク箇所検出手段6は、基準値を定めずに温度センサ2,3で計測したリーク検出箇所の温度上昇量で水蒸気のリークを検出することも勿論可能である。   In the illustrated embodiment, the leak point detection means 6 detects the leak of water vapor when the temperature of the leak detection point measured by the temperature sensors 2 and 3 exceeds a predetermined reference value for each valve. is there. Further, the leak location detecting means 6 can be determined by changing the reference value for each season. Of course, the leak location detection means 6 can detect a water vapor leak from the temperature rise amount at the leak detection location measured by the temperature sensors 2 and 3 without setting a reference value.

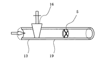
図1及び図4において、5は漏水センサであり、水配管13に設けられたブロー弁16の排出側である水排出管19に設置してある。リーク箇所検出手段6は、漏水センサ6によってブロー弁16からの水のリークを直接的に検出することができるように構成してある。
また、水配管13の中でもボイラ10に近く、給水が予熱により温められている温水配管に設けられたブロー弁16には、温度センサ2,3を設置して水蒸気のリークと同様に温水のリークを検出することもできる。
In FIGS. 1 and 4, reference numeral 5 denotes a water leakage sensor, which is installed in a water discharge pipe 19 on the discharge side of the blow valve 16 provided in the water pipe 13. The leak location detection means 6 is configured such that the leak sensor 6 can directly detect a water leak from the blow valve 16.
In addition, temperature sensors 2 and 3 are provided in the blow valve 16 provided in the hot water pipe near the boiler 10 among the water pipes 13 and the water supply is warmed by preheating. Can also be detected.

図1に示すように、ボイラチューブ11には、所定の間隔でメタル温度センサ4を設けてあり、ボイラチューブ11のメタル温度を計測することができるようにしてある。リーク箇所検出手段6は、隣り合うメタル温度センサ4,4が計測したメタル温度を比較して、後方に位置するメタル温度が上昇したときに、両メタル温度センサ4,4の間でチューブリークの発生を検出するように構成してある。   As shown in FIG. 1, the boiler tube 11 is provided with metal temperature sensors 4 at predetermined intervals so that the metal temperature of the boiler tube 11 can be measured. The leak location detection means 6 compares the metal temperatures measured by the adjacent metal temperature sensors 4 and 4 and when the metal temperature located behind increases, the tube leak between the metal temperature sensors 4 and 4 is detected. It is configured to detect occurrence.

図示の実施例において、リーク箇所検出手段6は、補給水量計測手段1により補給水量の増加を検知したときに、先ずブロー弁15,16及びドレントラップ17のリーク箇所を探索するようにしてある。リーク箇所検出手段6は、温度センサ2,3又は漏水センサ6によって、ブロー弁15,16又はドレントラップ17のリークを検出すると、リーク箇所の弁を表示して警告を発することができるように構成してある。   In the illustrated embodiment, when the increase in the amount of replenishment water is detected by the replenishment water amount measurement unit 1, the leak location detection means 6 first searches for leak locations in the blow valves 15 and 16 and the drain trap 17. The leak location detection means 6 is configured to display a leak location valve and issue a warning when the temperature sensor 2, 3 or the water leak sensor 6 detects a leak in the blow valves 15, 16 or the drain trap 17. It is.

また、リーク箇所検出手段6は、温度センサ2,3又は漏水センサ6によって、ブロー弁15,16又はドレントラップ17のリークを検出しないときに、ボイラチューブ11から水蒸気がリークしているチューブリークであると判断するようにしてある。リーク箇所検出手段6は、チューブリークであると判断すると、隣り合うメタル温度センサ4,4が計測したメタル温度を比較してリーク箇所を特定し、ボイラチューブ11のリーク箇所を表示して警告を発することができるように構成してある。   Further, the leak point detection means 6 is a tube leak in which water vapor leaks from the boiler tube 11 when the temperature sensor 2 or 3 or the water leak sensor 6 does not detect the leak of the blow valves 15 and 16 or the drain trap 17. Judging that there is. When it is determined that the leak is a tube leak, the leak location detection means 6 compares the metal temperature measured by the adjacent metal temperature sensors 4 and 4 to identify the leak location, displays the leak location of the boiler tube 11 and gives a warning. It is configured to be able to emit.

本発明に係るプラントリーク検出システムは、ボイラプラントの運転状態に対応したブロー弁15,16の開閉条件を記憶する記憶手段と、ボイラプラントの運転状態からブロー弁15,16の開閉条件を管理する管理手段を備えていることが好ましい。リーク箇所検出手段6は、補給水量の増加を検知したときに開条件のブロー弁15,16をリーク検出対象から外し、閉条件のブロー弁15,16及びドレントラップ17のリーク箇所を探索するようにしてある。   The plant leak detection system according to the present invention manages the opening and closing conditions of the blow valves 15 and 16 corresponding to the operating state of the boiler plant, and manages the opening and closing conditions of the blow valves 15 and 16 from the operating state of the boiler plant. It is preferable to have a management means. When detecting an increase in the amount of makeup water, the leak location detection means 6 removes the open condition blow valves 15 and 16 from the leak detection target, and searches for leak locations in the close condition blow valves 15 and 16 and the drain trap 17. It is.

本発明に係るプラントリーク検出システムにおいて、リーク箇所検出手段6は、ブロー弁15,16の開閉状態を検知する開閉状態検知手段を備えた構成とすることも可能である。開閉状態検知手段は、温度センサ2で計測した検出箇所の温度が、弁毎に予め定めた基準値以下のときに弁の閉状態を検出し、この基準値を超えたときに、弁の開状態を検出するようにしてある。また、開閉状態検知手段は、漏水センサ6によって水排出管19の通水を検知したときは弁の開状態を検出し、水排出管19の通水を検知しないときは弁の閉状態を検出するようにしてある。   In the plant leak detection system according to the present invention, the leak location detection means 6 may be configured to include an open / close state detection means for detecting the open / close state of the blow valves 15 and 16. The open / closed state detecting means detects the closed state of the valve when the temperature of the detection point measured by the temperature sensor 2 is equal to or lower than a predetermined reference value for each valve. The state is detected. The open / closed state detection means detects the open state of the valve when the water leakage sensor 6 detects water flow through the water discharge pipe 19 and detects the closed state of the valve when water flow through the water discharge pipe 19 is not detected. I have to do it.

開閉状態検知手段は、上述したボイラプラントの運転状態に対応した弁の開閉条件と、検知した弁の開閉状態を比較し、一致しないときに警告を発して弁の動作不良を検出することができるように構成してある。   The open / close state detection means compares the valve open / close conditions corresponding to the operation state of the boiler plant described above with the detected open / close state of the valve, and can issue a warning and detect a malfunction of the valve when they do not match. It is constituted as follows.

本発明に係るプラントリーク検出システムの一実施例を示す構成図。The block diagram which shows one Example of the plant leak detection system which concerns on this invention. その一実施例の要部を示す断面図。Sectional drawing which shows the principal part of the one Example. その一実施例の要部を示す断面図。Sectional drawing which shows the principal part of the one Example. その一実施例の要部を示す断面図。Sectional drawing which shows the principal part of the one Example.

符号の説明Explanation of symbols

1 補給水量計測手段
2,3 温度センサ
4 メタル温度センサ
5 漏水センサ
6 リーク箇所検出手段
10 ボイラ
11 ボイラチューブ
12 蒸気配管
13 水配管
14 給水ポンプ
15,16 ブロー弁
17 ドレントラップ
18 蒸気排出管
19 水排出管
20 タービン
21 復水器
22 補給水タンク
DESCRIPTION OF SYMBOLS 1 Supply water amount measurement means 2, 3 Temperature sensor 4 Metal temperature sensor 5 Water leak sensor 6 Leak location detection means 10 Boiler 11 Boiler tube 12 Steam piping 13 Water piping 14 Water supply pumps 15, 16 Blow valve 17 Drain trap 18 Steam discharge pipe 19 Water Discharge pipe 20 Turbine 21 Condenser 22 Makeup water tank

Claims (9)

給水系統で給水を循環使用するボイラプラントにおいて、前記給水系統に補給される補給水量を計測する補給水量計測手段と、前記給水系統の水蒸気又は/及び水のリーク検出箇所に設けた温度センサと、補給水量の増加を検知したときに前記温度センサで計測したリーク検出箇所の温度変化から水蒸気又は水のリークを検出するリーク箇所検出手段とからなるプラントリーク検出システム。   In a boiler plant that circulates and uses feed water in the feed water system, a make-up water amount measuring means that measures the amount of make-up water replenished to the feed water system, a temperature sensor provided at a water vapor or / and water leak detection point of the feed water system, A plant leak detection system comprising leak point detection means for detecting a leak of water vapor or water from a temperature change of a leak detection point measured by the temperature sensor when an increase in the amount of makeup water is detected. 前記温度センサを前記給水系統の蒸気配管又は/及び温水配管に設けられたブロー弁及びドレントラップの排出側に設置した請求項1に記載のプラントリーク検出システム。   The plant leak detection system according to claim 1, wherein the temperature sensor is installed on a discharge side of a blow valve and a drain trap provided in a steam pipe or / and a hot water pipe of the water supply system. 前記温度センサで計測したリーク検出箇所の温度が予め定めた基準値を超えたときに、前記リーク箇所検出手段が水蒸気又は水のリークを検出するようにした請求項2に記載のプラントリーク検出システム。   The plant leak detection system according to claim 2, wherein when the temperature of the leak detection point measured by the temperature sensor exceeds a predetermined reference value, the leak point detection means detects a leak of water vapor or water. . 前記給水系統の水配管に設けられたブロー弁の排出側に漏水センサを設置し、前記リーク箇所検出手段が該漏水センサで水のリークを検出するようにした請求項1乃至3の何れかに記載のプラントリーク検出システム。   The water leakage sensor is installed in the discharge side of the blow valve provided in the water piping of the said water supply system, The said leak location detection means detects the leak of water with this water leakage sensor. The described plant leak detection system. ボイラプラントの運転状態に対応したブロー弁の開閉条件を記憶する記憶手段と、ボイラプラントの運転状態からブロー弁の開閉条件を管理する管理手段を備えた請求項1乃至4の何れかに記載のプラントリーク検出システム。   The storage means which memorize | stores the open / close condition of the blow valve corresponding to the operation state of a boiler plant, The management means which manages the open / close condition of a blow valve from the operation state of a boiler plant, It provided in any one of Claim 1 thru | or 4 Plant leak detection system. 前記リーク箇所検出手段が開条件のブロー弁をリーク検出対象から外すようにした請求項5に記載のプラントリーク検出システム。   The plant leak detection system according to claim 5, wherein the leak point detection means removes the blow valve under the open condition from the leak detection target. 前記リーク箇所検出手段がブロー弁の開閉状態を検知する開閉状態検知手段を備え、運転状態に対応した弁の開閉条件と前記検知した開閉状態を比較し、一致しないときに警告を発するようにした請求項5又は6に記載のプラントリーク検出システム。   The leak location detection means includes an open / close state detection means for detecting the open / close state of the blow valve, and compares the open / close condition of the valve corresponding to the operating state with the detected open / close state, and issues a warning when they do not match. The plant leak detection system according to claim 5 or 6. 前記リーク箇所検出手段が、補給水量の増加を検知し、且つ、前記ブロー弁及びドレントラップから水蒸気又は水のリークを検出しないときに、ボイラチューブリークと判断するようにした請求項1乃至7の何れかに記載のプラントリーク検出システム。   The leak point detection means detects an increase in the amount of makeup water, and determines no boiler tube leak when no leak of water vapor or water is detected from the blow valve and drain trap. The plant leak detection system in any one. ボイラチューブにメタル温度を計測するメタル温度センサを設けてあり、前記リーク箇所検出手段が該メタル温度の変化からチューブリークを検出するようにした請求項1乃至8の何れかに記載のプラントリーク検出システム。
The plant leak detection according to any one of claims 1 to 8, wherein a metal temperature sensor for measuring a metal temperature is provided in the boiler tube, and the leak point detection means detects a tube leak from a change in the metal temperature. system.
JP2006330146A 2006-12-07 2006-12-07 Plant leak detection system Expired - Fee Related JP5019861B2 (en)

Priority Applications (1)

Application Number Priority Date Filing Date Title
JP2006330146A JP5019861B2 (en) 2006-12-07 2006-12-07 Plant leak detection system

Applications Claiming Priority (1)

Application Number Priority Date Filing Date Title
JP2006330146A JP5019861B2 (en) 2006-12-07 2006-12-07 Plant leak detection system

Publications (2)

Publication Number Publication Date
JP2008144995A true JP2008144995A (en) 2008-06-26
JP5019861B2 JP5019861B2 (en) 2012-09-05

Family

ID=39605378

Family Applications (1)

Application Number Title Priority Date Filing Date
JP2006330146A Expired - Fee Related JP5019861B2 (en) 2006-12-07 2006-12-07 Plant leak detection system

Country Status (1)

Country Link
JP (1) JP5019861B2 (en)

Cited By (7)

* Cited by examiner, † Cited by third party
Publication number Priority date Publication date Assignee Title
JP2013185726A (en) * 2012-03-06 2013-09-19 Chugoku Electric Power Co Inc:The Device and method for determination of leaking part
WO2014208227A1 (en) * 2013-06-26 2014-12-31 株式会社日立製作所 Boiler tube leak detecting device, boiler tube leak detecting method, and data monitoring center, information providing service, and boiler plant using same
WO2015186554A1 (en) * 2014-06-06 2015-12-10 株式会社テイエルブイ Fluid utilization facility management method and fluid utilization facility management system
JP2018189075A (en) * 2017-05-10 2018-11-29 株式会社神戸製鋼所 Thermal energy recovery system and detection unit
KR20180131239A (en) * 2017-05-31 2018-12-10 주식회사 지오네트 Method and system for managing thermal power plant
JP2020071196A (en) * 2018-11-02 2020-05-07 東京電力ホールディングス株式会社 Method for determining leakage in tubular heat exchanger
JPWO2022113459A1 (en) * 2020-11-30 2022-06-02

Families Citing this family (2)

* Cited by examiner, † Cited by third party
Publication number Priority date Publication date Assignee Title
JP7084155B2 (en) 2018-02-20 2022-06-14 三菱重工エンジニアリング株式会社 Tube leak detection device and tube leak detection method
US11573148B2 (en) 2019-08-12 2023-02-07 A. O. Smith Corporation Leakage detection in condensing water heater

Citations (4)

* Cited by examiner, † Cited by third party
Publication number Priority date Publication date Assignee Title
JPS4858521U (en) * 1971-11-01 1973-07-25
JPH0666410A (en) * 1992-08-19 1994-03-08 Ishikawajima Harima Heavy Ind Co Ltd Monitoring apparatus for tube leakage of boiler
JPH10252988A (en) * 1997-03-14 1998-09-22 Tlv Co Ltd Method for evaluating operational condition of steam strap
JPH1122909A (en) * 1997-06-30 1999-01-26 Hitachi Ltd Heat exchanger thin tube leak detection method

Patent Citations (4)

* Cited by examiner, † Cited by third party
Publication number Priority date Publication date Assignee Title
JPS4858521U (en) * 1971-11-01 1973-07-25
JPH0666410A (en) * 1992-08-19 1994-03-08 Ishikawajima Harima Heavy Ind Co Ltd Monitoring apparatus for tube leakage of boiler
JPH10252988A (en) * 1997-03-14 1998-09-22 Tlv Co Ltd Method for evaluating operational condition of steam strap
JPH1122909A (en) * 1997-06-30 1999-01-26 Hitachi Ltd Heat exchanger thin tube leak detection method

Cited By (15)

* Cited by examiner, † Cited by third party
Publication number Priority date Publication date Assignee Title
JP2013185726A (en) * 2012-03-06 2013-09-19 Chugoku Electric Power Co Inc:The Device and method for determination of leaking part
WO2014208227A1 (en) * 2013-06-26 2014-12-31 株式会社日立製作所 Boiler tube leak detecting device, boiler tube leak detecting method, and data monitoring center, information providing service, and boiler plant using same
JP2015007509A (en) * 2013-06-26 2015-01-15 株式会社日立製作所 Boiler tube leak detection device, boiler tube leak detection method, data monitoring center using these, information providing service, and boiler plant.
US10663162B2 (en) 2014-06-06 2020-05-26 Tlv Co., Ltd. Fluid utilization facility management method and fluid utilization facility management system
WO2015186554A1 (en) * 2014-06-06 2015-12-10 株式会社テイエルブイ Fluid utilization facility management method and fluid utilization facility management system
JPWO2015186554A1 (en) * 2014-06-06 2017-04-20 株式会社テイエルブイ Fluid use facility management method or fluid use facility management system
US10101022B2 (en) 2014-06-06 2018-10-16 Tlv Co., Ltd. Fluid utilization facility management method and fluid utilization facility management system
JP2018189075A (en) * 2017-05-10 2018-11-29 株式会社神戸製鋼所 Thermal energy recovery system and detection unit
KR101960754B1 (en) 2017-05-31 2019-03-25 주식회사 지오네트 Method and system for managing thermal power plant
KR20180131239A (en) * 2017-05-31 2018-12-10 주식회사 지오네트 Method and system for managing thermal power plant
JP2020071196A (en) * 2018-11-02 2020-05-07 東京電力ホールディングス株式会社 Method for determining leakage in tubular heat exchanger
JP7147486B2 (en) 2018-11-02 2022-10-05 東京電力ホールディングス株式会社 Leak determination method for tubular heat exchangers
JPWO2022113459A1 (en) * 2020-11-30 2022-06-02
WO2022113459A1 (en) * 2020-11-30 2022-06-02 株式会社Ihi Abnormality detection device and abnormality detection method
JP7452703B2 (en) 2020-11-30 2024-03-19 株式会社Ihi Anomaly detection device and anomaly detection method

Also Published As

Publication number Publication date
JP5019861B2 (en) 2012-09-05

Similar Documents

Publication Publication Date Title
CN111712698B (en) Pipe leakage detection device and pipe leakage detection method
JP5019861B2 (en) Plant leak detection system
US20130000739A1 (en) Method for precisely and reliably controlling liquid level of pressure tank with multiple sensors
US20160125965A1 (en) Power Plant
BR112017013425B1 (en) Fluid leak detection process in a turbomachine, fluid delivery system and turbomachine
JP2009133451A (en) Abnormality monitoring device of drain discharge device
KR102012128B1 (en) Apparatus for draining condenssation water
KR101506871B1 (en) Control system for inside water leak of water-heating equipment having heat exchanger and the method thereof
JP2010223116A (en) Engine cooling system
JP6223046B2 (en) Leak detection device and nuclear facility
JP2009293844A (en) High-viscosity liquid fuel warming system
JP6802685B2 (en) Water hammer prediction system and water hammer prediction method in piping
JP4494817B2 (en) Operating method of supercritical pressure boiler
JP4672019B2 (en) Fuel gas supply facility and fuel gas moisture monitoring method
JP6137981B2 (en) Leak detection device and nuclear facility
GB2528787A (en) A condensate disposal system for disposing of condensate from a condensing fuel burning appliance, a condensing fuel burning appliance having a condensate
JP2011141085A (en) Tube leakage detection method
JP5301000B2 (en) Leak site determination apparatus and method
JP5374344B2 (en) Marine boiler structure
JP4368636B2 (en) Liquefied petroleum gas storage tank
ES2811699T3 (en) Procedure and device for operating a steam generator in an incineration plant
JPH06160231A (en) Liquid leakage detection device in supply/replenishment system for liquid
KR20210059905A (en) Leakage detection method of Boiler spiral tube and method thereof
JP2014159914A (en) Make-up water system control device and make-up water system control method
JP2014118887A (en) Piping leakage detection system

Legal Events

Date Code Title Description
RD02 Notification of acceptance of power of attorney

Free format text: JAPANESE INTERMEDIATE CODE: A7422

Effective date: 20090618

A621 Written request for application examination

Free format text: JAPANESE INTERMEDIATE CODE: A621

Effective date: 20091207

A521 Request for written amendment filed

Free format text: JAPANESE INTERMEDIATE CODE: A523

Effective date: 20100310

A977 Report on retrieval

Free format text: JAPANESE INTERMEDIATE CODE: A971007

Effective date: 20111227

A131 Notification of reasons for refusal

Free format text: JAPANESE INTERMEDIATE CODE: A131

Effective date: 20120117

A521 Request for written amendment filed

Free format text: JAPANESE INTERMEDIATE CODE: A523

Effective date: 20120312

TRDD Decision of grant or rejection written
A01 Written decision to grant a patent or to grant a registration (utility model)

Free format text: JAPANESE INTERMEDIATE CODE: A01

Effective date: 20120605

A01 Written decision to grant a patent or to grant a registration (utility model)

Free format text: JAPANESE INTERMEDIATE CODE: A01

A61 First payment of annual fees (during grant procedure)

Free format text: JAPANESE INTERMEDIATE CODE: A61

Effective date: 20120612

R150 Certificate of patent or registration of utility model

Ref document number: 5019861

Country of ref document: JP

Free format text: JAPANESE INTERMEDIATE CODE: R150

Free format text: JAPANESE INTERMEDIATE CODE: R150

FPAY Renewal fee payment (event date is renewal date of database)

Free format text: PAYMENT UNTIL: 20150622

Year of fee payment: 3

FPAY Renewal fee payment (event date is renewal date of database)

Free format text: PAYMENT UNTIL: 20150622

Year of fee payment: 3

R250 Receipt of annual fees

Free format text: JAPANESE INTERMEDIATE CODE: R250

R250 Receipt of annual fees

Free format text: JAPANESE INTERMEDIATE CODE: R250

R250 Receipt of annual fees

Free format text: JAPANESE INTERMEDIATE CODE: R250

R250 Receipt of annual fees

Free format text: JAPANESE INTERMEDIATE CODE: R250

LAPS Cancellation because of no payment of annual fees