JP2008110096A - Backrest and seat part for chair for welfare - Google Patents

Backrest and seat part for chair for welfare Download PDF

Info

Publication number
JP2008110096A
JP2008110096A JP2006295368A JP2006295368A JP2008110096A JP 2008110096 A JP2008110096 A JP 2008110096A JP 2006295368 A JP2006295368 A JP 2006295368A JP 2006295368 A JP2006295368 A JP 2006295368A JP 2008110096 A JP2008110096 A JP 2008110096A
Authority
JP
Japan
Prior art keywords
backrest
seat frame
seat
chair
cushion
Prior art date
Legal status (The legal status is an assumption and is not a legal conclusion. Google has not performed a legal analysis and makes no representation as to the accuracy of the status listed.)
Pending
Application number
JP2006295368A
Other languages
Japanese (ja)
Inventor
Mitsuru Hirai
満 平井
Current Assignee (The listed assignees may be inaccurate. Google has not performed a legal analysis and makes no representation or warranty as to the accuracy of the list.)
Individual
Original Assignee
Individual
Priority date (The priority date is an assumption and is not a legal conclusion. Google has not performed a legal analysis and makes no representation as to the accuracy of the date listed.)
Filing date
Publication date
Application filed by Individual filed Critical Individual
Priority to JP2006295368A priority Critical patent/JP2008110096A/en
Publication of JP2008110096A publication Critical patent/JP2008110096A/en
Pending legal-status Critical Current

Links

Images

Landscapes

  • Chair Legs, Seat Parts, And Backrests (AREA)
  • Mattresses And Other Support Structures For Chairs And Beds (AREA)

Abstract

<P>PROBLEM TO BE SOLVED: To provide a backrest and a seat part for a chair for welfare, and back attachment for the chair, which enables a seated person who has a spine or pelvis curved, muscles or fat on the back or buttocks lost, or has already developed decubitus to sit thereon comfortably and stably, to rest, not to develop pains or decubitus even after long time use but to improve symptoms, does not lose movability of the seated person, and is versatile and economical. <P>SOLUTION: In the chair including a backrest 8, a seat part 3, and a chair body 2, the backrest 8 includes a backrest body 9 having a recessed part 9d on the front, a backrest pad 10, and a headrest 11. The backrest pad 10 and the headrest 11 are attachable/detachable and freely positioned, while the seat part 3 includes a seat frame 4 having a recessed part 4d provided with a ventilation groove on its upper surface, and a seat cushion 5 having avoid part. The seat cushion 5 is removably mounted on the upper surface of the seat frame 4. <P>COPYRIGHT: (C)2008,JPO&INPIT

Description

本発明は、脊柱や骨盤が湾曲したり、背中や臀部の筋肉や脂肪が落ちたり、既に褥瘡を発症したりした着座者が用いる、福祉用椅子の背もたれと着座部、および、椅子用後付アタッチメントに関する。 The present invention provides a backrest and seating part for a welfare chair used by a seated person who has a curved spine and pelvis, muscles and fat in the back and buttocks, and who has already developed pressure sores. Regarding attachments.

一般的な椅子や座椅子、更には車椅子や起立補助椅子などの椅子に長時間座っていると、健康な者であっても臀部や背中が痛くなるものであるが、脊柱や骨盤が湾曲したり、背中や臀部の筋肉や脂肪が落ちたり、既に褥瘡を発症したりした人にとっては、椅子に座ること自体が、更なる痛みや褥瘡の発症、悪化、脊柱や骨盤の湾曲助長の原因となりうる。 Even if a person is healthy, it may hurt his buttocks and back if he / she sits in a chair such as a general chair or sitting chair, or a chair such as a wheelchair or standing support chair, but the spine and pelvis are curved. For those who have had muscles or fat in the back or buttocks, or have already developed pressure ulcers, sitting in a chair itself can cause further pain and pressure ulcers, worsening, and promoting spinal and pelvic curvature. It can be.

すなわち、図17に示すように、脊柱や骨盤が湾曲したり、背中や臀部の筋肉や脂肪が落ちたり、既に褥瘡を発症したりした着座者が普通の椅子に座ると、脊柱の湾曲頂部は背もたれによって矢印Aのように押される。しかし、筋肉が落ちた着座者はこの力に抗せないので、ますます前屈みになり、内臓を圧迫され、息苦しくさせられる。そこで着座者は、仕方なく、臀部を着座部の前方に移動し、例えば図19(a)のようなすべり座りの姿勢をとることになる。しかし、着座者の脊柱は湾曲しているので、この着座姿勢では、背中と背もたれとは点当たりであり、身体がローリングし易く、しかも、浅掛けであるので、ずり落ちたりもする、極めて不安定な着座姿勢である。そこで、安定を得るために、着座者は、足を踏ん張り、背中や臀部を椅子に強く押し付けざるをえない。しかし、これが、椅子からの反発を強める原因となり、背もたれはもとより、着座部からも、矢印Bのような、体圧以上の反発力を受けることとなる。 That is, as shown in FIG. 17, when a seated person with a curved spine or pelvis, muscles or fat in the back or hips, or already developing pressure ulcers sits in a normal chair, the curved top of the spine becomes It is pushed as shown by arrow A by the backrest. However, a seated person whose muscles have fallen cannot resist this force, so it becomes more bent forward and the internal organs are squeezed and suffocated. Therefore, the seated person inevitably moves the buttocks to the front of the seated section, and takes a sliding sitting posture as shown in FIG. 19A, for example. However, because the seated person's spinal column is curved, in this sitting position, the back and back are pointed, the body is easy to roll, and because it is shallow, it may slip off, which is extremely inconsequential. A stable sitting posture. Therefore, in order to obtain stability, the occupant is forced to step on his foot and press his back and buttocks strongly against the chair. However, this becomes a cause of strengthening the repulsion from the chair, and the repulsive force exceeding the body pressure as indicated by the arrow B is received from the seat back as well as the backrest.

これら椅子からの反発力は全て、筋肉や脂肪が落ちて、骨の浮き出た脊柱の湾曲頂部や突起した骨(坐骨結節、尾骨、仙骨下部)からなる臀部下部が受圧するのであるが、クッションが内蔵されているとは言え、背もたれや着座部の当接面は平面であり、点当りになるので、圧力は当接部に集中し、痛みの原因となる。そこで、着座者は、当接部を庇おうと、すべり座りの姿勢をますます深くし、不安定さと増圧との悪循環に陥ることになる。 All of the repulsive force from these chairs is that muscles and fats fall, and the lower part of the hip, which consists of the curved top of the spine and the protruding bones (sciatic tubercle, tailbone, lower sacrum), is received by the cushion. Although it is built-in, the contact surface of the backrest and the seating portion is a flat surface and hits a point, so that the pressure concentrates on the contact portion and causes pain. Therefore, the seated person makes the sitting posture deeper and deeper, and falls into a vicious circle between instability and pressure increase, in order to crawl the contact portion.

高い圧力の発生部位は、前述のように、着座姿勢において、筋肉や脂肪が本来的に少なく、突起した骨が直接体圧を支持するような部位である。背筋が伸び、背中や臀部に十分な筋肉や脂肪が付いている着座者の場合、体圧は分散されるので問題にはならない。しかし、図17に示すような着座者にとって、集中してかかる体圧は、脊柱の湾曲頂部や臀部下部(坐骨結節、尾骨、仙骨下部)への耐え難いストレスとなる。高圧力が、薄くなった筋肉や脂肪、皮膚に力学的な痛みや損傷を与えるとともに、血管を圧迫して血流を阻害するからである。また、当接部は、発汗や湿気の蒸発が阻害されるので、皮膚の湿潤化という問題も発生する。褥瘡は、皮膚組織が、血流の停滞と湿潤下に長時間にわたって曝された時、擦れによって発症するので、椅子に座ること自体が痛みや褥瘡の原因となりかねないのである。 As described above, the site where high pressure is generated is a site where muscles and fat are inherently small in the sitting posture, and the protruding bone directly supports body pressure. For a seated person whose back is stretched and has enough muscles and fat on the back and buttocks, body pressure is not a problem. However, for a seated person such as that shown in FIG. 17, such concentrated body pressure is an unbearable stress on the curved top of the spinal column and the lower part of the buttocks (sciatic nodules, coccyx, lower sacrum). This is because high pressure causes mechanical pain and damage to thinned muscles, fat, and skin, and also presses blood vessels to inhibit blood flow. In addition, since the abutting portion inhibits sweating and moisture evaporation, there is a problem of skin wetting. Pressure ulcers can develop as a result of rubbing when skin tissue is exposed to prolonged stagnation and humidity, and sitting in a chair can itself cause pain and pressure ulcers.

なお、図18は、腸骨や仙骨、坐骨結節や尾骨からなる骨盤の前面図であるが、椅子に座った人の体圧分布を見ると、左右二つの坐骨結節を中心に高い圧力分布が見られ、体形や着座姿勢、着座部の構成によっては、尾骨や仙骨下部にも、また、背中にも高圧部が出現し、かかる部位に圧痛や褥瘡が発症し易い。 FIG. 18 is a front view of the pelvis composed of the iliac bone, sacrum, sciatic tubercle and coccyx. Looking at the body pressure distribution of a person sitting on a chair, a high pressure distribution centered on the two left and right sciatic nodules. Depending on the body shape, the sitting posture, and the configuration of the sitting portion, a high-pressure portion appears on the lower part of the coccyx and sacrum and on the back, and tenderness and pressure ulcer tend to develop in such a site.

そこで、圧痛や褥瘡発症を防ぐために、当接部にかかる圧力を分散、軽減し、かつ、同一部位への圧迫を短時間に止め、皮膚を乾燥させる事が大事であり、そのために、着座姿勢を頻繁に変え、支持位置を変える事が大事である。因みに、(財)保健福祉広報協会のホームページによれば、車椅子を使用する米国の高齢者は、1時間おきにベッドに戻るか、15分おきに臀部を座面から上げるよう、指導されているという。 Therefore, in order to prevent tenderness and pressure ulcer development, it is important to disperse and reduce the pressure applied to the abutment part, stop the compression to the same part in a short time, and dry the skin. It is important to change the support position frequently. By the way, according to the homepage of the Health and Welfare Public Relations Association, elderly people in the United States who use wheelchairs are instructed to go back to bed every hour or raise their buttocks from the seat every 15 minutes. That's it.

図19は、同じく、(財)保健福祉広報協会のホームページに開示された、スリングシートでおこりやすい、望ましくない座り方を示す図である。図19(a)は、座骨結節が前方に移動し骨盤が後傾するいわゆる「すべり座り」の状態を示す図である。すべり座りは、高齢者に特に多く見られる座り方であり、この場合、座骨結節に加え、尾骨や仙骨下部に高圧力が発生する。また、図19(b)は、骨盤が傾斜する座り方であり、この場合には、左右どちらか一方に圧力が集中する。さらに、図19(c)は、骨盤が回旋する座り方であり、この場合にも、圧力が集中する。ところがこれらの座り方は、スリングシートに座った時だけおこるのではなく、背中や腹部、臀部の筋肉や脂肪が落ちた着座者の場合、脊柱や骨盤の湾曲として、変形が固定されていることが多い。 FIG. 19 is also a diagram showing an undesirable way of sitting that is likely to occur with a sling seat disclosed on the homepage of the Health and Welfare Public Relations Association. FIG. 19A is a diagram showing a so-called “slip sitting” state in which the sciatic nodule moves forward and the pelvis tilts backward. Slip-sitting is a sitting method that is particularly common in elderly people. In this case, high pressure is generated in the coccyx and the lower part of the sacrum in addition to the sciatic nodules. FIG. 19B shows a sitting method in which the pelvis is inclined. In this case, pressure is concentrated on either the left or right side. Further, FIG. 19C shows a sitting method in which the pelvis rotates, and in this case, the pressure is concentrated. However, these sittings do not occur only when sitting on a sling seat, but in the case of a seated person who has lost muscles and fat in the back, abdomen, and buttocks, the deformation is fixed as a curvature of the spine and pelvis. There are many.

故に、脊柱や骨盤が湾曲したり、背中や臀部の筋肉や脂肪が落ちたり、既に褥瘡を発症したりした着座者が快適に座る為に、椅子は、着座者の身体をしっかりと支えるものでなければならない。すなわち、椅子は、着座者の体格や体形、着座姿勢に対応して変化し、臀部や大腿部、背中、首、頭をきちんと支えることのできるものでなければならない。また、座るということは、身体に力学的なストレスを加えるに留まらず、皮膚環境や内臓環境などに悪影響を与えかねないので、これについても対応できるものでなければならない。 Therefore, in order for a seated person who has a curved spine, pelvis, muscles and fat in the back and buttocks, or already developed pressure ulcers to sit comfortably, the chair firmly supports the body of the seated person. There must be. That is, the chair must be able to support the buttocks, thighs, back, neck, and head properly, depending on the physique, body shape, and sitting posture of the seated person. In addition, sitting does not only add mechanical stress to the body, but it can also adversely affect the skin environment and internal organs environment, so it must be able to cope with this.

このことから、痛みや褥瘡の主たる原因である体圧を減じ、皮膚環境を改善できるとする、背もたれや着座部について、例えば、特許文献1〜8のような発明がなされており、リクライニング椅子などの開発もなされている。まず、特許文献1について述べる。公報の記載によれば、特許文献1は、「椅子の座部やマットレスで臀部などを支える部分において、クッションの反発力を位置によって急変させずに体圧を分散させることによって、長時間利用しても身体が痛くならないクッション構造、それを座部に備えた車椅子やマットレスを提供すること」を目的に、座クッション構造や同クッションを適用した車椅子を開示している。 For this reason, inventions such as Patent Documents 1 to 8 have been made for backrests and seating parts that reduce body pressure, which is the main cause of pain and pressure ulcers, and can improve the skin environment. Development has also been made. First, Patent Document 1 will be described. According to the description of the gazette, Patent Document 1 states that “in a portion where a chair seat or a mattress supports a buttocks or the like, the body pressure is dispersed without abruptly changing the repulsive force of the cushion depending on the position. The present invention discloses a seat cushion structure and a wheelchair to which the cushion is applied for the purpose of providing a cushion structure that does not hurt the body, and a wheelchair and mattress provided with the cushion structure.

図20は同提案になる車椅子の座部に用いた座クッションの斜視図であり、図21は図20に示す座クッションの左半分の分解図で、同座クッションは、「小さな反発力をもって臀部を支える第1のクッション材74と、このクッション材よりも大きな反発力をもって大腿部の側を支える第2のクッション材75、およびその周囲で大きな反発力を有する第3および第4のクッション材76、77は、それらの接合部分において双方のクッション材が上下に重なり合うように斜めに接合されている。第1および第2のクッション材74、75は、その上層側に第1のクッション材74よりも大きな反発力をもつ薄い上層側クッション73を有し、下層側には第1のクッション材74よりも大きな反発力をもつ下層側クッション71を有している。」 FIG. 20 is a perspective view of a seat cushion used for the seat portion of the wheelchair proposed in the above, and FIG. 21 is an exploded view of the left half of the seat cushion shown in FIG. The first cushion material 74 that supports the thigh, the second cushion material 75 that supports the thigh side with a larger repulsive force than the cushion material, and the third and fourth cushion materials that have a large repulsive force around the first cushion material 74 76 and 77 are joined diagonally so that both of the cushion materials overlap vertically at their joints, and the first and second cushion materials 74 and 75 are on the upper layer side thereof. A lower upper cushion 73 having a larger repulsive force and a lower cushion 71 having a larger repulsive force than the first cushion material 74 on the lower layer side. . "

したがって、「反発力の異なるクッション材が、上下に重なり合うように斜めに接合されているので、この部分で、クッションの反発力の急激な変化を少なくすることができる。それ故、体圧は、接合部分でも局部に集中しないので、長時間利用しても身体が痛くならない。また、クッションの面方向において反発力を最適な状態に連続的に変化させており、かかるクッション構造を備えた座部では、臀部全体をクッション材で支えるため、上体を安定に保持できる。」旨、記載されている。 Therefore, “the cushion materials having different repulsive forces are joined obliquely so as to overlap each other, so that a sudden change in the repulsive force of the cushion can be reduced in this portion. The joint does not concentrate locally, so the body does not hurt even when used for a long time, and the repulsive force is continuously changed to the optimal state in the cushion surface direction, and the seat with such a cushion structure Then, since the entire buttocks are supported by the cushioning material, the upper body can be stably held. "

次に、特許文献2について述べる。図22は、特許文献2として公報で開示された座位保持クッションの要部斜視図で、同クッションは、「底面51は、クッション性のある平板であって、底面中央部に座骨穴52、53と前部中程に土手状に隆起した股間壁54を設ける。そして、後部から両サイドにかけて馬蹄形の階段状になった殿部堤55を設けたもの」であり、上記構成により、「座位姿勢において、座骨の安定を可能にし、大腿骨頭の内転と骨盤の後傾を低減させ脊柱R状を抑制することで、上体や腰椎にかかる負担と内臓の圧迫が軽減できる。」旨、記載されている。 Next, Patent Document 2 will be described. FIG. 22 is a perspective view of a main part of the sitting position holding cushion disclosed in the gazette as Patent Document 2. The cushion indicates that “the bottom surface 51 is a flat plate having a cushioning property, and the sciatic holes 52 and 53 are formed at the center of the bottom surface. In the middle of the front, there is a crotch wall 54 raised like a bank, and a horseshoe-shaped staircase ridge 55 is provided from the rear to both sides. In the above, it is possible to stabilize the sciatic bone, and to reduce the burden on the upper body and the lumbar vertebrae and the compression of the internal organs by suppressing the inversion of the femoral head and the posterior tilt of the pelvis to suppress the R-shaped spine. Has been.

また、同文献には、「座位保持クッションは、合成ゴム、ウレタンゴム、ポリエチレン等樹脂系の発泡体の素材を用いて全体を一体成型したものである。」旨、および「階段状になった殿部堤55は、殿部周辺の形状と座面の体圧分布とを参考に馬蹄形に成型し、クッションの反発力を増す目的で堤を階段状にしたものである。」旨、記載されている。 The document also states that “the sitting-holding cushion is integrally molded using a resin-based foam material such as synthetic rubber, urethane rubber, and polyethylene.” The Tonobu dyke 55 is formed into a horseshoe shape with reference to the shape around the buttock and the body pressure distribution on the seating surface, and the dam is stepped for the purpose of increasing the repulsive force of the cushion. ing.

次に、特許文献3について述べる。図23は、特許文献3として公報で開示されたクッション材の断面図で、同クッション材は、「使用者の体重を集中的に受け止める着座部を一部に備えたクッション材において、前記着座部は第1のクッション体、第2のクッション体及び第3のクッション体を厚さ方向に順に積層して構成され、前記第1のクッション体は第2のクッション体よりも硬度は低く厚さは着座部における第2のクッション体の厚さよりも厚くされ、前記第3のクッション体は第2のクッション体よりも硬度は高く厚さは着座部における第2のクッション体の厚さよりも薄くされていることを特徴とするクッション材。」である。この構成により、「クッション材の全体の厚みを一定範囲内に抑えるという条件下で、使用者の体重の上下幅が大きくなっても、底上げ感及び底付き感のない心地よい使用感を与えることができる。また、第2のクッション体の幅方向に第1のクッションを着脱可能に保持する凹部を形成すれば、使用者の体形や好みに応じて第1のクッション体を交換することが簡単に行える。」旨、記載されている。 Next, Patent Document 3 will be described. FIG. 23 is a cross-sectional view of a cushion material disclosed in Japanese Patent Laid-Open Publication No. 2003-122867. The cushion material is “a cushion material partially including a seating portion that receives the weight of a user in a concentrated manner. Is configured by sequentially stacking a first cushion body, a second cushion body, and a third cushion body in the thickness direction, and the first cushion body has a lower hardness than the second cushion body. The third cushion body is thicker than the second cushion body in the seating portion, and the third cushion body is harder than the second cushion body and the thickness is thinner than the thickness of the second cushion body in the seating portion. It is a cushioning material characterized by being. " With this configuration, "providing a comfortable feeling without raising the bottom and feeling of bottoming even if the user's weight increases or decreases under the condition that the overall thickness of the cushion material is kept within a certain range. In addition, if the concave portion for detachably holding the first cushion is formed in the width direction of the second cushion body, it is easy to replace the first cushion body according to the body shape and preference of the user. "I can do it."

つぎに、特許文献4について述べる。図24は、特許文献4として公報で開示された座椅子上に載せ置きしたクッションシートの斜視図で、81は腰掛け面、82は背当て面、83はクッションシート、84は褥瘡用空間部、85は背骨用空間部、87は座椅子であるが、同クッションシートは、「腰掛け面と該腰掛け面の後端に続く背当て面とよりなるクッションシートであって、前記腰掛け面の後端部中央に腰掛者の尾底骨周辺,褥瘡部分をさけて当らないようにした空間部を設け、且つ前記背当て面の中央部縦全長に背骨部分をさけて当らないようにした空間部を設けたことを特徴とする褥瘡や脊柱側弯症の人のためのクッションシート。」であり、上記構成によれば、「褥瘡部分や曲がったり突出したりした背骨が当らないようにした各空間部を設けたので、腰掛者は座位やベッドでの上体起こし、車椅子や乗物による移動などを苦痛を伴うことなく長時間快適に過ごすことができるという効果を生ずる。」旨、記載されている。 Next, Patent Document 4 will be described. FIG. 24 is a perspective view of a cushion sheet placed on a seat chair disclosed in Japanese Patent Application Laid-Open No. 2004-151405. 81 is a seating surface, 82 is a backrest surface, 83 is a cushion sheet, and 84 is a space for pressure ulcers. , 85 is a spine space portion, and 87 is a seat chair. The cushion seat is “a cushion seat comprising a seating surface and a backrest surface following the rear end of the seating surface, A space where the space around the caudal bone of the seated person and the pressure ulcer part is kept away from hitting at the center of the rear end, and the backbone part is kept away from the vertical length of the central part of the backrest surface. A cushion sheet for people with pressure ulcers or scoliosis characterized by the provision of a part. ”According to the above configuration,“ spaces that prevent pressure ulcers and bent or protruding spines from hitting. The seat is Raised the upper body at or bed, a long period of time without the pain and movement by the wheelchair or vehicle cause the effect of being able to comfortably spend. "Effect, it has been described.

次に、特許文献5について述べる。図25は、特許文献5として公報で開示されたシートクッションで、(a)図はその斜視図、(b)図はシートクッションと骨格との関係を示す図で、56はシート板、57は凹所、58はフィルムであるが、同シートクッションは、「弾力材料によって形成されたシート板56の後縁部に、着座状態において坐骨が収容される凹所57を設け、坐骨部分への体圧の集中を抑制し、体圧が平坦な臀部や大腿部に分散するので、臀部が痛くなりにくい。」旨、記載されている。 Next, Patent Document 5 will be described. FIG. 25 is a seat cushion disclosed in the gazette as Patent Document 5, wherein (a) is a perspective view thereof, (b) is a diagram showing the relationship between the seat cushion and the skeleton, 56 is a seat plate, 57 is Although the recess 58 is a film, the seat cushion is provided with “a recess 57 in which the sciatic bone is accommodated in the seated state at the rear edge of the seat plate 56 formed of a resilient material. The concentration of pressure is suppressed, and the body pressure is dispersed in the flat buttocks and thighs, so that the buttocks are less likely to hurt. "

次に、特許文献6について述べる。図26は、特許文献6として公報で開示された褥瘡マットで、1aは直方体状のゲル体、2aはその表面全体を覆うカバー材で図ではその一部を切り欠いて示してあり、3aはカバー材のシール部であるが、同褥創予防マットは、「ゲル体中に封じ込まれた気泡によりゲル体全体の柔軟性が増加するため、同一の柔軟性にする場合にゲル体自体の架橋密度を大きくすることができ、その結果、ゲル体の分離を生じることがなくなり型くずれせず、良好な体圧分散効果を得ることができ、さらに比重がほぼ1又はそれ以上のゲル体の一部を気泡で置換することによりゲル体の重量が軽減され、マットの操作性もよくなるという効果が得られる」旨、記載されている。 Next, Patent Document 6 will be described. FIG. 26 shows a pressure ulcer mat disclosed in Patent Literature 6 as a patent document 6, 1a is a rectangular parallelepiped gel body, 2a is a cover material covering the entire surface, and a part thereof is cut out in the figure, and 3a is Although it is a sealing part of the cover material, the mat prevention wound mat is “the flexibility of the entire gel body is increased by the air bubbles enclosed in the gel body. The crosslink density can be increased, and as a result, separation of the gel body does not occur and it does not lose its shape, a good body pressure dispersion effect can be obtained, and a gel body having a specific gravity of approximately 1 or more. By substituting the part with bubbles, the weight of the gel body is reduced, and the operability of the mat is improved. ”

次に、特許文献7について述べる。図27は特許文献7として公報で開示された座部システムで、「座部システム(2b)は、上面(8b)を備えたベース部材(6b)と、上面(8b)の上に置かれる流体パッド(7b)とを有する。上面(8b)は、転子を含むユーザの大腿骨と共に、ユーザの坐骨の粗面および尾骨に対応する領域(12b、14b、16b)を有するように輪郭付けられ且つ寸法取りされているのが好ましい。好ましい実施例での流体パッド(7b)は、単一品であり、且つ、流体を充填した少なくとも3つの個々別々のポーチ(1b、3b、5b)を有する。各ポーチは、その中に流体を収納するために且つ他の2つのポーチの中の流体との連通を阻止して隔離するためにシールを有する。パッド(7b)の各ポーチは、ベース部材(6b)の上面(8b)の上に、ユーザの坐骨の粗面および尾骨の下になるように夫々位置決めされる。これにより、ユーザの坐骨の粗面および尾骨は、それ自身の個々独立した流体ポーチで支えられる。」旨記載され、また、「かかる構成により、各ポーチの中の流体の量を適当に調整することによって、ユーザの坐骨の粗面及び尾骨の支持圧を、所望のように実質的に等しく又は異なるようにすることができる。」旨、記載されている。 Next, Patent Document 7 will be described. FIG. 27 shows a seat system disclosed in Japanese Patent Application Laid-Open No. H10-293400. “The seat system (2b) is a base member (6b) having an upper surface (8b) and a fluid placed on the upper surface (8b)”. The upper surface (8b) is contoured to have areas (12b, 14b, 16b) corresponding to the rough surface and tailbone of the user's ischia, with the user's femur including the trochanter. The fluid pad (7b) in the preferred embodiment is a single piece and has at least three individual pouches (1b, 3b, 5b) filled with fluid. Each pouch has a seal to contain the fluid therein and to prevent and isolate communication with the fluid in the other two pouches Each pouch of the pad (7b) has a base member ( It is positioned on the upper surface (8b) of 6b) so that it is below the rough surface of the user's sciatic bone and below the tailbone. Thereby, the rough surface and the tailbone of the user's ischia are supported by their own individual fluid pouches, ”and“ with such a configuration, the amount of fluid in each pouch is appropriately adjusted. Thus, the user's rough surface of the sciatic bone and the support pressure of the coccyx can be made substantially equal or different as desired.

次に、特許文献8について述べる。図28は特許文献8として公報で開示された椅子用クッションで、「反発性が小さい材料からなり臀部を支える緩衝部2と、臀部後方において少なくとも仙骨,尾骨および座骨結節部を除く両大殿筋部を支持する臀部支持部3aと、大腿支持部3bとを有し、かつ他の材料に比較して最も反発性が大きい材料からなる支持部3と、中央部に前記緩衝部2を嵌入する穴または溝4aを有し、前記支持部3より反発性が小さいか又は同等の材料からなり、少なくともその一部は前記支持部の下方にあってかつ実質的に座部全域にわたって配設され、座圧力を座部全域に分散する座圧力分散追従部4とを備える。」ので、「本発明によれば、着座姿勢や臀部形状の個人差にかかわらず、高い圧力や極端な圧力集中の発生を抑制可能とし、座り心地が良く、また、長時間使用しても褥瘡発生が抑制可能な椅子用クッションおよび同クッションを備える車椅子を提供することができる。」旨、記載されている。 Next, Patent Document 8 will be described. FIG. 28 is a cushion for a chair disclosed in Japanese Patent Application Laid-Open No. 2005-228561. “A buffer portion 2 made of a material with low resilience and supporting the buttocks, and both large gluteal muscle portions excluding at least the sacrum, coccyx and sciatic nodule at the back of the buttocks A support part 3 made of a material having the most repulsive property compared to other materials, and a hole for fitting the buffer part 2 into the center part. Or a groove 4a, which is made of a material having a smaller resiliency than the support portion 3 or of an equivalent material, at least a part of which is disposed below the support portion and substantially over the entire seat portion. "With the seat pressure dispersion follow-up part 4 that disperses the pressure over the entire seat part." "According to the present invention, high pressure and extreme pressure concentration are generated regardless of individual differences in seating posture and buttocks shape." Suppressable and comfortable to sit Ku, also long decubitus generated be used it is possible to provide a wheelchair with a cushion and the cushion capable of suppressing chair. "Effect, is described.

特開平9−51918号公報Japanese Patent Laid-Open No. 9-51918 特開平8−140784号公報JP-A-8-140784 特開2002−165676号公報JP 2002-165676 A 実用新案登録第3092029号公報Utility Model Registration No. 3092029 特開2003−394号公報JP 2003-394 A 実用新案登録2044203Utility model registration 2044203 特表2000−513591号公報Special Table 2000-513591 特開2006−200号公報JP 2006-200 A

ところで、前記特許文献1〜8に開示された従来の椅子用クッションは、福祉用椅子の背もたれや着座部に求められる課題の一部に応えることのできる構成を備えてはいるものの、下記のような問題があった。個々の問題点を述べるに当たり、福祉用椅子の背もたれや着座部が解決すべき課題と、その要点を整理すると、下記のとおりである。 By the way, although the conventional chair cushion disclosed in Patent Documents 1 to 8 has a configuration capable of meeting a part of the problems required for the backrest and the seating portion of the welfare chair, it is as follows. There was a problem. The following is a summary of the issues to be solved by the backrest and seating section of welfare chairs and the main points in describing individual problems.

課題(1):着座者が、心地よく、安定して座り、休息することが出来る。
その為に、大腿部、臀部、腰部、背部、首、頭の要所をきちんと支えられる。
椅子を、着座者の体格や体形、着座姿勢に合わせられる。
課題(2):長時間使用しても、痛みや褥瘡を発生させない。
その為に、皮膚環境(圧力、温度、湿度)を整えられる。
支持部位にかかる圧力を分散、軽減し、同一部位への圧迫を短時間に止められる。
褥瘡を発症しやすい部位を避けて支持できる。
皮膚を乾燥させられる。
課題(3):症状の改善ができる。
その為に、褥瘡の発症原因を取り除ける。
背もたれおよび着座部と、その構成部品を、着脱、位置変えできる。
支持部位周辺の換気と、構成部品の清拭ができる。
課題(4):着座者の動作性を損なわない。
その為に、無用な拘束をしない。
課題(5):汎用性と経済性を備える。
その為に、多様な体格、体形、着座姿勢に対応できる。
既存の椅子に、そのまま適用できる。
耐久性があり、損耗部品は交換できる。
部品構造が単純で、安価に製作できる。
Problem (1): A seated person can sit comfortably and stably and rest.
For that purpose, the thigh, buttocks, hips, back, neck, and head can be properly supported.
The chair can be adjusted to the seated person's physique, body shape and sitting posture.
Problem (2): Does not cause pain or pressure ulcers even when used for a long time.
Therefore, the skin environment (pressure, temperature, humidity) can be adjusted.
The pressure applied to the support site can be dispersed and reduced, and compression to the same site can be stopped in a short time.
Can avoid and support areas that tend to develop pressure ulcers.
The skin can be dried.
Problem (3): Symptoms can be improved.
For this reason, the cause of pressure ulcers can be removed.
The backrest and seating part and its components can be attached, detached and repositioned.
Ventilation around the support area and cleaning of components can be performed.
Problem (4): The operability of the seated person is not impaired.
Therefore, do not use unnecessary restraints.
Problem (5): Versatile and economical.
Therefore, it can cope with various physiques, body shapes, and sitting postures.
It can be applied directly to existing chairs.
Durable and wearable parts can be replaced.
The part structure is simple and can be manufactured at low cost.

前記課題と要点に照らして、特許文献1〜8のクッションについて検討すると、個々の課題を個別に解決する構成、もしくは部分的に解決する構成は認められるものの、前記課題を総合的に解決する構成を備えるものはない。まず、特許文献1の場合、反発力の異なるクッション材が、上下に重なり合うように斜めに接合されているので、高い圧力や極端な圧力集中を抑制する効果の点では、優れた構成を備えていると言える。しかしながら、特許文献1の構成の場合、前述のように、「大腿部の側を支える第2のクッション材75、およびその周囲で大きな反発力を有する第3および第4のクッション材76、77」は備えるものの、「臀部の背面部を支持する構成部材」はもちろんのこと、背中などの支持部材が存在しないので、前記課題(1)の達成はできない。 In light of the above problems and points, the cushions disclosed in Patent Documents 1 to 8 are configured to solve each problem individually, or a structure that partially resolves, but a structure that comprehensively solves the above problems. There is no one with. First, in the case of Patent Document 1, the cushion materials having different repulsive forces are joined obliquely so as to overlap each other, so that it has an excellent configuration in terms of suppressing high pressure and extreme pressure concentration. I can say that. However, in the case of the configuration of Patent Document 1, as described above, “the second cushion material 75 supporting the thigh side, and the third and fourth cushion materials 76 and 77 having a large repulsive force around the second cushion material 75. However, since the supporting member such as the back does not exist as well as the “constituent member that supports the back surface portion of the buttocks”, the above-described problem (1) cannot be achieved.

また、前記「臀部の背面部を支持する構成部材」に限定して従来技術をみると、特許文献2に当該構成部材が開示されている。即ち、特許文献2においては、前述のように、「階段状になった臀部堤55は、臀部周辺の形状と座面の体圧分布とを参考に馬蹄形に成型し、クッションの反発力を増す目的で堤を階段状にしたものである。」旨の記載があり、一応、臀部の背面部を支持する構成部材が記載されている。しかしながら、特許文献2の前記馬蹄形臀部堤55はとクッション性のある平板である底面51は坐骨穴52、3があるものの、あるが故に、前述の褥瘡発生の多い部位である仙骨や尾骨の圧迫を助長する構造であり、総合的問題解決はもとより、課題(2)の圧力集中の課題も解決されていない。 Further, when the conventional technique is limited to the above-mentioned “constituent member that supports the back portion of the collar portion”, the constituent member is disclosed in Patent Document 2. That is, in Patent Document 2, as described above, “the step-shaped buttock ridge 55 is molded into a horseshoe shape with reference to the shape of the buttock periphery and the body pressure distribution of the seat surface, thereby increasing the repulsive force of the cushion. There is a description stating that the bank is stepped for the purpose, and the constituent members that support the back part of the heel part are described. However, although the horseshoe-shaped buttocks ridge 55 of Patent Document 2 is a flat plate having a cushioning property, the bottom surface 51 has sciatic holes 52 and 3; The problem of pressure concentration in Problem (2) has not been solved as well as comprehensive problem solving.

なお、臀部下部(坐骨結節、尾骨、仙骨下部)や脊柱の湾曲頂部に集中する圧力を軽減する構成については、特許文献4に、「腰掛者の尾底骨周辺、褥瘡部分をさけて当らないようにした空間部を設け、且つ前記背当て面の中央部縦全長に背骨部分をさけて当らないようにした空間部を設けた構成」が、さらに特許文献5に、「着座状態において坐骨が収容される凹所57を設けた構成」が提案されている。これらはいずれも、臀部下部(坐骨結節、尾骨、仙骨下部)や脊柱の湾曲頂部への圧力集中を避けるものとして素晴しい発明であるが、常に同一部位が圧迫されることに変わりなく、しかも、大腿部や臀部、および腰部や背部、首や頭部について、支持位置を変えつつ、要所をきちんと支える構成が無いので、着座者に所謂「良い姿勢」や「一定の体形」を要求するものであり、総合的に見ると、課題(1)および(2)、(4)を残していると言わざるを得ない。 In addition, about the structure which reduces the pressure which concentrates on the lower part of the buttocks (sciatic tubercle, tailbone, lower sacrum) and the curved top of the spinal column, Patent Document 4 states, “Do not hit the periphery of the tailbone of the seated person and the pressure ulcer part. A configuration in which a space portion is provided and a space portion is provided so that the spine portion is not applied to the entire vertical length of the central portion of the back support surface ”is further described in Patent Document 5 as“ the sciatic bone is in a sitting state. A configuration in which a recess 57 to be accommodated is provided is proposed. Both of these are great inventions to avoid pressure concentration on the lower buttocks (sciatic nodules, coccyx, lower sacrum) and the curved top of the spinal column, but the same part is always compressed, and The thighs and buttocks, as well as the waist, back, neck and head are not configured to properly support important points while changing the support position, so the seated person must have a so-called “good posture” or “constant body shape”. From a comprehensive viewpoint, it must be said that the problems (1), (2), and (4) remain.

残る特許文献3、6および7の各発明も、圧力集中の抑制を目的とし、体圧分散効果や心地よい使用感をねらった発明であるが、いずれも、前記臀部の背面部を支持する構成などの開示はなく、構成も複雑で、総合的な解決策を有するものではない。最後の特許文献8は、特許文献1〜7の残した課題を解決すべく提案されたもので、臀部支持において優れた圧力分散効果を発揮し、先に述べた他の発明に比べて、最大圧力を小さくした実績を示している。しかし、構成を複雑にした割に大差はなく、これは、いかに反発性の低い材料を使おうとも、臀部全体がクッションに当接する限り、他部位より突出する臀部下部(坐骨結節、尾骨、仙骨下部)に、その周辺で、最も体圧がかかることに変わりないことを示している。しかも、本発明においては、臀部の側面や背面の支持部が低く、前述の特許文献4、5と同じく、腰部や背部、首や頭部に対する支持が無いため、着座者に所謂「良い姿勢」や「一定の体形」を要求する発明であり、脊柱や骨盤が湾曲したり、背中や臀部の筋肉や脂肪が落ちたり、既に褥瘡を発症したりした着座者には、採用しにくい発明と言わざるを得ない。 The remaining inventions of Patent Documents 3, 6, and 7 are also inventions aiming at suppressing pressure concentration and aiming at a body pressure dispersion effect and a comfortable feeling of use, all of which support the back part of the buttocks, etc. There is no disclosure, the configuration is complicated, and there is no comprehensive solution. The last patent document 8 has been proposed to solve the problems left in the patent documents 1 to 7, and exhibits an excellent pressure dispersion effect in the buttock support, which is the maximum compared to the other inventions described above. It shows the results of reducing the pressure. However, there is no great difference in the complexity of the structure, regardless of how low the rebound material is used, as long as the entire buttocks abuts the cushion, the lower part of the buttocks protruding from other parts (sciatic nodules, coccyx, sacrum) (Lower part) shows that the body pressure is the most applied around it. In addition, in the present invention, since the support portions on the side surface and the back surface of the buttocks are low and there is no support for the waist, the back, the neck and the head as in the above-mentioned Patent Documents 4 and 5, so-called “good posture” for the seated person. It is an invention that requires a “certain body shape” and is difficult to adopt for a seated person who has a curved spine or pelvis, muscles or fat in the back or hips, or has already developed pressure ulcers. I must.

本発明は、上記のような諸問題に鑑みてなされたものであり、発明の課題は、脊柱や骨盤が湾曲したり、背中や臀部の筋肉や脂肪が落ちたり、既に褥瘡を発症したりした着座者が、心地よく安定して座り、休息することができ、長時間使用しても、痛みや褥瘡を発生させず、症状の改善ができ、しかも、着座者の動作性を損なわない、汎用性と経済性を備えた、福祉用椅子の背もたれおよび着座部、および、椅子用後付アタッチメントを提供することにある。 The present invention has been made in view of the problems as described above, and the problems of the invention are that the spine and pelvis are curved, muscles and fat in the back and hips have dropped, and pressure ulcers have already developed. The seated person can sit and rest comfortably and stably, and can be used for a long time without causing pain or pressure ulcers, symptom improvement, and versatility that does not impair the seated person's operability It is to provide a backrest and a seating portion of a welfare chair, and a chair retrofit attachment, which are economical.

上述の課題を解決するため、本発明は、背もたれと着座部および椅子本体などからなる椅子において、背もたれは、その前面に背中などが嵌り込む十分大きく深い凹部を有する背もたれ本体と、背もたれパッドおよびヘッドレストからなり、該凹部の下方左右側部に取り付けた背もたれパッドと、背もたれ本体上方に該本体を横断して取り付けたヘッドレストは、着脱および位置変えが自在であり、着座部は、その上面に、通気溝を備えてなる、臀部が嵌り込む十分大きく深い凹部を有するシートフレームと、前部が厚く後部が薄い、抜き部を有するシートクッションからなり、シートクッションは、前記シートフレームの上面に、着脱自在に載置してなることを特徴とする(請求項1)。前記において、背もたれパッドは、左右一対、2個に限るものではなく、必要に応じて増減してよい。また、シートフレームの凹部の上縁各辺は、嵌り込む臀部上部(腸骨、仙骨上部)に合わせて、軽い弧を描き、かつR面取りなどを施してよい。 In order to solve the above-described problems, the present invention provides a chair comprising a backrest, a seating portion, a chair body, and the like. The backrest includes a backrest body having a sufficiently large and deep recess into which the back is fitted, a backrest pad, and a headrest. The backrest pad attached to the lower left and right sides of the recess and the headrest attached across the main body above the backrest body can be attached / detached and repositioned, and the seating section has ventilation on its upper surface. It consists of a seat frame that has a groove and has a sufficiently large and deep recess into which the collar fits, and a seat cushion that has a thick front part and a thin rear part, and a cutout part. The seat cushion is detachable on the upper surface of the seat frame. (Claim 1). In the above, the backrest pads are not limited to the left and right pair, and may be increased or decreased as necessary. In addition, each upper edge side of the concave portion of the seat frame may draw a light arc and beveled in accordance with the upper part of the buttocks (the iliac and the upper part of the sacrum).

前記請求項1の発明によれば、背もたれは、背もたれ本体と背もたれパッドおよびヘッドレストからなり、背もたれパッドとヘッドレストは、着脱および位置変え自在であるから、背もたれパッドは、背中や腰部と前記凹部との間に隙間ができるように、背部下方後側面と腰部後側面とに、もしくはそのどちらか一方に、斜めから挟み込んで当接させ、該凹部の下方左右側部にセットする。ヘッドレストは、休息時に、着座者の後頭部下部もしくは後頚部を支持するように、背もたれ本体上方に該本体を横断してセットする。なお、圧迫されて褥瘡を発症しやすい脊柱の彎曲頂部は、前記凹部が十分大きく深いので、該凹部に当接することなく、隙間を空けて嵌り込む。 According to the first aspect of the present invention, the backrest includes the backrest body, the backrest pad, and the headrest, and the backrest pad and the headrest are detachable and repositionable. Therefore, the backrest pad includes the back, the waist, and the recess. In order to create a gap between them, the rear lower side of the back and / or the rear side of the lower back are sandwiched and contacted obliquely and set on the lower left and right sides of the recess. The headrest is set across the main body above the backrest main body so as to support the lower back of the head or the rear neck of the seated person at rest. In addition, since the concave portion is sufficiently large and deep, the curved top portion of the spinal column, which is likely to develop pressure ulcers by pressure, is fitted with a gap without contacting the concave portion.

また、着座部は、シートフレームと、その上面に着脱自在に載置されたシートクッションからなるので、着座者の臀部は、シートクッション後部を挟んでシートフレームの凹部に嵌り込み、大腿部は、同クッションの前部に載るが、臀部上部(腸骨、仙骨上部)は、シートクッション後部を挟んでシートフレームの凹部に嵌り込んでその上縁に当接する。なお、圧迫されて褥瘡を発症しやすい臀部下部(坐骨結節、尾骨、仙骨下部)は、前記凹部が十分大きく深いので、該凹部に当接することなく、隙間を空けて嵌り込む。 In addition, since the seating portion is composed of a seat frame and a seat cushion that is detachably mounted on the upper surface thereof, the seated person's buttocks fit into the recess of the seat frame across the rear portion of the seat cushion, and the thigh is The upper part of the buttocks (the iliac and the upper part of the sacrum) fits into the recessed part of the seat frame with the rear part of the seat cushion interposed therebetween, and comes into contact with the upper edge of the cushion. In addition, the lower part of the buttocks (sciatic tuberosity, coccyx, lower part of the sacrum), which is likely to develop pressure ulcers, is pressed and is fitted with a gap without contacting the recess.

かくして、体圧は、背もたれパッドに当接する背部下方後側面と腰部後側面の両方か、もしくは、そのどちらか一方と、シートフレームの凹部上縁に当接する臀部上部(腸骨、仙骨上部)と、シートクッション前部に載る大腿部下面で受圧する。更に、休息時には、ヘッドレストに当接する後頭部下部もしくは後頚部も加えて受圧する。なお、これら、体圧を受圧する支持部位は、平坦であり、体圧を分散して受圧するので、圧力は高くならず、しかも、同部位は、相対的に筋肉や脂肪が多く、圧迫の影響を受けにくい部位であるので、痛みや褥瘡の原因とならない。また、当然のことながら、脊柱の湾曲頂部始め、前記凹部に当接しない背中や腰部、臀部下部(坐骨結節、尾骨、仙骨下部)に、圧力は発生しない。また、背もたれパッドとヘッドレストは、着脱および位置変えが自在であるから、同一部位への圧迫が長時間に及ばぬよう、取り付け位置を変えることができ、着座者も、その着座姿勢を自由に変えることができる。 Thus, body pressure can be measured by both the lower back side of the back and the back side of the waist that contact the back pad, or one of them, and the upper part of the buttocks (the iliac and upper sacrum) that contact the upper edge of the recess of the seat frame. The pressure is received by the lower surface of the thigh placed on the front part of the seat cushion. Furthermore, when resting, the lower part of the back of the head or the back of the neck that contacts the headrest is also applied to receive pressure. In addition, these support parts that receive body pressure are flat and receive body pressure in a distributed manner, so the pressure does not increase. Because it is a less susceptible area, it does not cause pain or pressure ulcers. Also, as a matter of course, no pressure is generated at the curved top of the spinal column, the back, waist, and lower buttocks (sciatic nodules, coccyx, lower sacrum) that do not contact the recess. In addition, since the back pad and headrest can be attached and detached and repositioned freely, the mounting position can be changed so that pressure on the same part does not reach for a long time, and the seated person can also freely change its sitting posture be able to.

また、背もたれ本体の凹部に嵌り込んだ背中や腰部は、背もたれパッドに当接した背部下方後側面と腰部後側面の両方か、もしくは、そのどちらか一方を、斜めから支持され、シートフレームの凹部に嵌り込んだ臀部は、該凹部上縁に当接した臀部上部(腸骨、仙骨上部)を支持され、シートクッションの前部に載った大腿部は、その下面と両外側を支持されるので、着座者は、身体を前方や側方に押し出され、前後左右にローリングしたり、浅掛けになったりする、不安定な姿勢を強いられることはなく、安定した着座姿勢が得られる。また、ヘッドレストに後頭部下部もしくは後頚部を預け、もたれかかれば、上半身も更に安定し、心地よく休息することが出来る。 In addition, the back and waist that fit into the recess of the backrest body are supported by the back lower side and the back side of the back that are in contact with the back pad, or one of them, and the recess of the seat frame. The buttocks fitted into the upper part are supported by the upper part of the buttocks (the iliac and upper sacrum) that are in contact with the upper edge of the concave part, and the thighs that are placed on the front part of the seat cushion are supported by the lower surface and both outer sides. Therefore, the seated person is pushed forward and laterally, and is not forced to take an unstable posture such as rolling forward, backward, left and right, or shallow, and a stable sitting posture can be obtained. In addition, if the lower part of the back of the head or the back of the neck is deposited on the headrest and leans against it, the upper body can be further stabilized and can rest comfortably.

また、背中や腰部と背もたれ本体凹部との間、および、臀部下部(坐骨結節、尾骨、仙骨下部)とシートフレーム凹部との間には隙間が形成されており、更に、通気溝などが設けられており、これらが一体となって通気層を形成して換気するので、脊柱の湾曲頂部や臀部下部(坐骨結節、尾骨、仙骨下部)を含む前記支持部位周辺の温度や湿度の上昇を抑えることができる。 In addition, gaps are formed between the back and lower back and the backrest main body recess, and between the lower buttocks (sciatic tubercle, tailbone, lower sacrum) and the seat frame recess, and a ventilation groove is provided. Since these are integrated to form a ventilation layer and ventilate, the rise in temperature and humidity around the support area including the curved top of the spinal column and the lower groin (sciatic tuberosity, coccyx, lower sacrum) are suppressed. Can do.

また、湾曲した背中は、背もたれ本体の凹部に嵌り込むので、図17で示した普通の椅子に座った場合のように、背中が背もたれによって前のめりに押され、内臓を圧迫されるようなことはなく、背筋も伸ばせる。また、背もたれパッドは、背部下方後側面や腰部後側面を斜めから支持するので、腕や肩が束縛されず、上半身の自由度は高い。 Also, since the curved back fits into the recess of the backrest body, it is unlikely that the back is pushed forward by the backrest and the internal organs are pressed like when sitting on a normal chair shown in FIG. There are no backs. In addition, since the back pad supports the lower back side of the back and the back side of the waist from an oblique direction, the arms and shoulders are not restrained and the degree of freedom of the upper body is high.

また、背もたれパッドやヘッドレストは位置変え自在であるので、その取り付け位置は、着座者の体格や体形、着座姿勢に合わせて、変更できる。また、相対的に損耗し易いヘッドレスト、背もたれパッドおよびシートクッションは、着脱可能であるので、それだけ取り替えれば全体として長期間使用でき、耐久性を得られる。 Further, since the position of the backrest pad and the headrest can be freely changed, the mounting position can be changed according to the physique, body shape, and sitting posture of the seated person. Moreover, since the headrest, the backrest pad, and the seat cushion, which are relatively easily worn, are detachable, if they are replaced, they can be used for a long time as a whole, and durability can be obtained.

また、請求項1とあいまって、上述の課題を解決するために本発明は、前記背もたれ本体は、その背面下方に着脱、位置変え自在に取り付けたスペーサーを挟み、背もたれ支持板に、前記シートフレームは、シートフレーム支持板に、それぞれ着脱、位置変え自在に取り付け、背もたれの角度と着座部の位置は変更自在であることを特徴とする(請求項2)。なお、前記において、背もたれ本体はマジックテープを有する背もたれ取り付けバンドによって、シートフレームは、マジックテープよって取り付けることが望ましい。 Further, in order to solve the above-mentioned problem in combination with claim 1, according to the present invention, the backrest body has a spacer that is detachably and removably attached to the lower back of the back, and the seat frame is attached to the backrest support plate. Is attached to the seat frame support plate so as to be detachable and position-changeable, and the angle of the backrest and the position of the seating part can be freely changed (claim 2). In the above, it is preferable that the backrest body is attached by a backrest attachment band having a magic tape, and the seat frame is attached by a magic tape.

前記請求項2の発明によれば、背もたれの角度と着座部の位置は変更自在であるので、着座者の体格や体形、着座姿勢に合わせて、背もたれの角度と着座部の位置を変更できるので、着座者は無理な姿勢を強いられることがなく、心地よく安定して座れる。また、マジックテープを有する背もたれ取り付けバンドやマジックテープによって取り付ければ、変更が容易である。また、前記請求項1、2によれば、全体として単純な構成であるので、容易に製作でき、安価に、福祉用椅子の背もたれおよび着座部を提供できる。 According to the second aspect of the invention, since the angle of the backrest and the position of the seating part can be changed, the angle of the backrest and the position of the seating part can be changed according to the physique, body shape, and sitting posture of the seated person. The seated person can sit comfortably and stably without being forced into an unreasonable posture. Moreover, if it attaches with the backrest attachment band which has a magic tape, or a magic tape, a change is easy. Further, according to the first and second aspects, since it has a simple configuration as a whole, it can be easily manufactured, and the backrest and seating portion of the welfare chair can be provided at a low cost.

前記請求項1の発明の実施態様としては、下記請求項3ないし5が、前期請求項2の発明の実施態様としては、下記請求項6の発明が好ましいが、これらの構成に限定されるものではない。また、前記請求項1、2および前記請求項3ないし6の各実施態様の作用効果や、前記実施態様とは異なるその他の実施態様(その他のバリエーション)については、後に詳述する。 As the embodiments of the invention of claim 1, the following claims 3 to 5 are preferred, and the embodiment of the invention of claim 2 is preferably the invention of claim 6 below, but is limited to these configurations. is not. The operational effects of the embodiments of claims 1 and 2 and claims 3 to 6 and other embodiments (other variations) different from the embodiments will be described in detail later.

まず、請求項1に記載の福祉用椅子の背もたれおよび着座部において、前記背もたれ本体の凹部は、その縦、横断面が、曲がった背中と腰部を模して、台形または半楕円状を呈し、背部下方後側面および腰部後側面を、背もたれパッドで、斜めから差し込むように支持された背中や腰部が、隙間を空けて嵌り込むに十分な凹部であり、シートフレーム上面の、通気溝を備えてなる凹部は、該シートフレームの後部に向って突き出す凸字状を呈し、その外縁から底部に向ってすぼまり落ち込む凹部であり、臀部下部(坐骨結節、尾骨、仙骨下部)が、シートクッションの一部とともにその底部や底部周辺に当接することなく嵌り込み、かつ、臀部上部(腸骨と仙骨上部)が該シートクッションを挟み、該凹部の上縁に嵌り込んで当接するに十分な凹部であり、前記シートクッションの抜き部は、クッション心材の上下面に貫通する抜き穴と該抜き穴に連続する抜き溝からなり、抜き穴は着座姿勢において、坐骨結節と尾骨および仙骨下部を結んで出来る多角形を取り囲む穴であり、抜き溝は前記抜き穴から該心材の対角外方に伸びる溝であることを特徴とする(請求項3)。 First, in the backrest and seating portion of the welfare chair according to claim 1, the concave portion of the backrest main body has a trapezoidal shape or a semi-elliptical shape, with its longitudinal and transverse cross sections imitating a curved back and waist. The back and lower back of the back and the back of the lower back are supported by a backrest pad so that they are inserted diagonally.The back and lower back are sufficient recesses to fit in, and there is a ventilation groove on the upper surface of the seat frame. The concave part is a concave part that protrudes toward the rear part of the seat frame and sinks down from the outer edge toward the bottom part. The lower part of the buttocks (sciatic tubercle, tailbone, lower sacrum) Fits partly without contacting the bottom or bottom, and the upper part of the buttocks (the iliac and upper part of the sacrum) sandwiches the seat cushion and fits into the upper edge of the recess. The seat cushion is formed by a punched hole that penetrates the upper and lower surfaces of the cushion core material and a groove that continues to the punched hole, and the punched hole connects the sciatic nodule to the coccyx and lower sacrum in the sitting position. A hole surrounding the polygon formed by the above-described method, and the punched groove is a groove extending diagonally outward of the core material from the punched hole (claim 3).

前記実施形態により、褥瘡を発症しやすい脊柱の湾曲頂部は、背部下方後側面と腰部後側面の両方か、もしくは、そのどちらか一方を、背もたれパッドで支えられ、背もたれ本体の凹部に当接することなく、隙間を空けて嵌り込むので、図17に示した場合のように、背もたれによって押されることはなく、すべり座りなど、望ましくない姿勢を強いられることも、圧力を集中的に受けることもない。また、褥瘡を発症しやすい臀部下部(坐骨結節、尾骨、仙骨下部)は、シートクッションの抜き穴が坐骨結節と尾骨および仙骨下部を結んで出来る多角形を取り囲む穴であるから、クッション心材に当接することはなく、しかも、抜き溝が、抜き部周辺の変形抵抗を減ずるので、着座姿勢を少々変えても、集中的に高い圧力を受けることはない。 According to the embodiment, the curved top portion of the spinal column that is likely to develop pressure ulcers is supported by a back pad on either or both of the lower back side of the back and the back side of the lumbar region, and abuts against the recess of the backrest body. 17 and is inserted with a gap, so that it is not pushed by the backrest as in the case shown in FIG. 17, and it is not forced to take an undesired posture such as a slip-sitting or receive pressure intensively. . In addition, the lower hip area (sciatic tuberosity, coccyx, lower sacrum), which tends to develop pressure ulcers, is a hole that surrounds the polygon formed by connecting the sciatic nodule to the coccyx and the lower sacrum. Moreover, since the punching groove reduces the deformation resistance around the punched portion, even if the seating posture is slightly changed, high pressure is not concentrated.

なお、背もたれ本体の凹部は、その縦、横断面が、曲がった背中と腰部を模して台形または半楕円状を呈するので、体格や体形が異なっても、背もたれパッドやヘッドレストを、着座者の背部下方後側面や腰部後側面に当接させ易く、位置変えし易い。また、シートフレーム上面の凹部は、外縁から底部に向ってすぼまり落ち込む凹部であるので、体格や体形が異なっても、問題なく嵌り込んで当接するので、着座者に無理な姿勢を強いることはない。 The concave part of the backrest body has a trapezoidal or semi-elliptical shape, imitating the curved back and waist, so that the backrest pad and headrest can be attached to the seated person even if the physique and body shape are different. It is easy to abut on the back lower rear side and the waist rear side, and it is easy to change the position. In addition, since the recess on the top surface of the seat frame is a recess that sinks down from the outer edge toward the bottom, even if the physique or body shape is different, it fits and comes into contact with no problem, thus forcing an unreasonable posture to the seated person There is no.

さらに、前記請求項1、3に記載の福祉用椅子の背もたれおよび着座部において、前記背もたれ本体は、該背もたれ本体凹部の下方左右側部および上方の両外縁に、マジックテープ(メス)を、背もたれパッドおよびヘッドレストは、その背面にマジックテープ(オス)をそれぞれ有し、前記シートクッションは、シートクッション下面の前、後部に前記抜き部を挟んでマジックテープ(オス)を、前記シートフレームは、シートフレーム上面の前、後部に前記凹部を挟んでマジックテープ(メス)を有し、これらマジックテープによって、それぞれ着脱が自在であることを特徴とする(請求項4)。さらにまた、前記1、3、4に記載の背もたれ本体において、背もたれ本体凹部の下方左右側部および上方の両外縁に取り付けたマジックテープ(メス)は十分広く、背もたれパッドおよびヘッドレストの位置変えが自在であることを特徴とする(請求項5)。 Furthermore, the backrest and seating part of the welfare chair according to claim 1 and 3, wherein the backrest main body is provided with a velcro tape (female) on the lower left and right side parts and upper outer edges of the backrest main body recess. Each of the pad and the headrest has a magic tape (male) on the back surface thereof, the seat cushion has a magic tape (male) sandwiched between the front portion and the rear portion of the lower surface of the seat cushion, and the seat frame has a seat It has a velcro tape (female) sandwiching the concave portion in front and rear of the upper surface of the frame, and these velcro tapes are detachable from each other (Claim 4). Furthermore, in the backrest body described in the above 1, 3, 4, the velcro tape (female) attached to the lower left and right side portions of the backrest body recess and the upper outer edges is sufficiently wide so that the position of the backrest pad and the headrest can be freely changed. (Claim 5).

また、前期請求項1ないし5のいずれか1項に記載の福祉用椅子の背もたれおよび着座部において、前記背もたれ本体は、その背面下方に着脱、位置変え自在に取り付けたスペーサーを挟み、背もたれ取り付けバンドによって、背もたれ支持板に取り付け、シートフレームは、シートフレーム支持板にそのマジックテープによって取り付けるが、背もたれ本体は、その左右両側面上下にマジックテープ(オス)を、背面下方両外縁に十分広いマジックテープ(メス)を有し、背もたれ取り付けバンドは、その一面両端にマジックテープ(メス)を有してなり、スペーサーは、その背面にマジックテープ(オス)を有してなる。また、シートフレームは、その下面の前、後部にマジックテープ(オス)を有し、シートフレーム支持板はその上面の前、後部に、十分広いマジックテープ(メス)を有し、これらマジックテープによって、それぞれ着脱が自在であり、前記マジックテープ(メス)が十分広いので、スペーサーとシートフレームの位置変えが自在であり、これにより、背もたれの角度と着座部の位置は変更自在であることを特徴とする(請求項6)。前記実施形態により、体格や体形、着座姿勢に合わせて、構成部品の位置や背もたれの角度、着座部の位置を簡便に変えることができる。 Further, in the back and seating part of the welfare chair according to any one of claims 1 to 5, the backrest main body has a backrest attachment band sandwiched by a spacer that is detachably and repositionably attached to the lower back of the backrest body. The seat frame is attached to the seat frame support plate with its velcro tape, but the backrest body has velcro straps (male) on the left and right sides of the upper and lower sides, and a wide enough velcro tape at the lower outer edges of the back. The backrest mounting band has a magic tape (female) at both ends of one surface, and the spacer has a magic tape (male) at the back surface. The seat frame has a magic tape (male) in front and rear of its lower surface, and the seat frame support plate has a sufficiently wide magic tape (female) in front and rear of its upper surface. The velcro tape (female) is wide enough so that the position of the spacer and the seat frame can be changed freely, so that the angle of the backrest and the position of the seating part can be changed. (Claim 6). According to the embodiment, the position of the component, the angle of the backrest, and the position of the seating part can be easily changed according to the physique, body shape, and sitting posture.

また、前記請求項1ないし6のいずれか1項に記載の福祉用椅子の背もたれおよび着座部において、背もたれ本体は、その背面を板状の補強材で補強した硬質発泡ウレタンなどからなる厚板状の背もたれ本体心材を外皮で一体的に包んでなり、背もたれパッドは、軟質発泡ウレタンなどからなるブロック状のパッド本体を外皮で包んでなり、ヘッドレストは、板状の補強材と硬質発泡ウレタンなどからなるヘッドレスト心材および軟質発泡ウレタンなどからなるクッション材で構成された積層材を外皮で包んでなり、シートフレームは、その底面を板状の補強材で補強した厚板状の硬質発泡ウレタンなどからなるシートフレーム心材を外皮で一体的に包んでなり、シートクッションは、その底面を、シートフレームの凹部を囲むように切り抜いた額縁状の補強材で補強した、横断面が踏み台状の、軟質発泡ウレタンなどからなるクッション心材を外皮で包んでなることを特徴とする(請求項7)。ただし、パッド本体、ヘッドレストのクッション材およびシートクッションのクッション心材の素材は、軟質発泡ウレタンに限定するものではなく、合成ゴム、ウレタンゴム、ポリエチレン等樹脂系の発泡体の素材を用いてもいいことは当然である。 The backrest and seating portion of the welfare chair according to any one of claims 1 to 6, wherein the backrest main body is a thick plate made of rigid foamed urethane whose back surface is reinforced with a plate-like reinforcing material. The backrest body core material is integrally wrapped with the outer skin, the backrest pad is made of soft foam urethane and the block-shaped pad body is wrapped with the outer skin, and the headrest is made of plate-like reinforcing material and hard foam urethane, etc. A laminated material composed of a cushion material composed of a headrest core material and soft foamed urethane, etc. is wrapped with an outer shell, and the seat frame is composed of a thick plate-like hard foamed urethane with its bottom surface reinforced with a plate-like reinforcing material The seat frame core material is integrally wrapped with an outer skin, and the bottom of the seat cushion is cut out so as to surround the recess of the seat frame. It was reinforced with frame-shaped reinforcing member, cross section springboard-like, the cushion core made of soft urethane foam, characterized in that it wrapped in skin (claim 7). However, the pad body, headrest cushion material, and seat cushion cushion core material are not limited to soft urethane foam, but resin-based foam materials such as synthetic rubber, urethane rubber, and polyethylene may be used. Is natural.

また、前記請求項1ないし7のいずれか1項に記載の福祉用椅子の背もたれおよび着座部において、背もたれ本体心材およびシートフレーム心材は、それぞれの凹部および補強材とともに、注入発泡による一体成型で同時成形されてなることを特徴とする(請求項8)。したがって、各構成部材は、全体として単純な構成で、注入発泡による一体成型もできるので、容易に製作でき、安価に、福祉用椅子の背もたれおよび着座部を提供できる。 Further, in the backrest and seating portion of the welfare chair according to any one of claims 1 to 7, the backrest main body core and the seat frame core are simultaneously formed by integral molding by injection foaming together with the respective recesses and reinforcing members. It is formed (claim 8). Accordingly, each component member has a simple configuration as a whole, and can be integrally formed by injection foaming. Therefore, each component member can be easily manufactured, and the backrest and the seating portion of the welfare chair can be provided at a low cost.

また、前記請求項1ないし8のいずれか1項に記載の福祉用椅子の背もたれおよび着座部において、前記背もたれ本体および背もたれパッド、ヘッドレスト、シートクッションおよびシートフレームの外皮材料は、通気性と伸縮性を有し、このうち少なくともシートクッションの外皮材料は、抗菌および撥水加工をしてなるものとすることを特徴とする(請求項9)。したがって、背もたれパッド、ヘッドレスト、シートクッションおよびシートフレームの外皮材料は、通気性を有し、また、シートフレームと背もたれ本体の凹部と、該凹部に嵌り込んだ臀部下部(坐骨結節、尾骨、仙骨下部)と背中や腰部は、それぞれ隙間を形成しており、また、クッション心材、パッド本体、および、クッション材が、通気性を有する軟質発泡ウレタンからなり、これらとシートフレームの通気溝やシートクッションの抜き部とが一体となって煙突効果を発揮して換気し、支持部周辺の温度と湿度の上昇を効率的に抑えるので、皮膚の乾燥を保つことができる。また、伸縮性を有するので、当接部に、無用な反発力を発生させず、また、各部品を包むに容易である。 The backrest and the seating part of the welfare chair according to any one of claims 1 to 8, wherein the backrest body, the backrest pad, the headrest, the seat cushion, and the outer skin material of the seat frame are breathable and stretchable. Of these, at least the skin material of the seat cushion is formed by antibacterial and water repellent treatment (claim 9). Therefore, the back pad, headrest, seat cushion, and seat frame outer skin material are breathable, and the seat frame and the backrest body recess, and the lower part of the buttocks (sciatic tubercle, tailbone, lower sacrum) ) And the back and lower back, respectively, and the cushion core material, the pad body, and the cushion material are made of soft foam urethane having air permeability, and the ventilation groove of the seat frame and the seat cushion Since the vent part is integrated with the chimney effect to ventilate and the increase in temperature and humidity around the support part is efficiently suppressed, the skin can be kept dry. Moreover, since it has elasticity, it does not generate unnecessary repulsive force in the contact portion, and it is easy to wrap each component.

また、外皮材料は、抗菌および撥水加工をしてなるので、清拭も簡単で、清潔を保つ事ができる。したがって、脊柱の彎曲頂部や臀部下部(坐骨結節、尾骨、仙骨下部)に褥瘡を発症している場合も、皮膚が乾燥でき、前述のように同部位への圧迫が解消されるので、血行も改善し、症状の改善を図ることができる。なお、褥瘡を発症している部位が脊柱の彎曲頂部や臀部下部(坐骨結節、尾骨、仙骨下部)でない場合も、背もたれパッドやヘッドレストは着脱、位置変えが自在であるので、褥瘡部を避けて支持すれば同様の効果が得られる。 Moreover, since the outer skin material is antibacterial and water repellent, it is easy to wipe and keep clean. Therefore, even if a pressure ulcer develops at the apex of the spinal column or the lower part of the hip (sciatic tuberosity, coccyx, lower sacrum), the skin can be dried and the pressure on the same part is eliminated as described above, so blood circulation is also reduced. Improve and improve symptoms. Even if the area where pressure ulcer develops is not the curved top of the spinal column or the lower part of the heel (sciatic tuberosity, coccyx, lower sacrum), the backrest pad and headrest can be detached and repositioned, so avoid the pressure ulcer part. If supported, the same effect can be obtained.

最後に、椅子用後付アタッチメントとしては、前記請求項1ないし9のいずれか1項に記載の福祉用椅子の背もたれおよび着座部を備えることを特徴とする(請求項10)。これにより、シートフレーム支持板や支持板取り付けバンドなど数点の部品追加により、椅子用後付アタッチメントとして、既存の椅子にもそのまま取り付けできる。 Finally, as a chair retrofit attachment, the backrest and seating part of the welfare chair according to any one of claims 1 to 9 are provided (claim 10). Thereby, by adding several parts such as a seat frame support plate and a support plate mounting band, it can be attached to an existing chair as it is as a chair retrofit attachment.

以上、本発明によれば、脊柱や骨盤が湾曲したり、背中や臀部の筋肉や脂肪が落ちたり、既に褥瘡を発症したりした着座者が、心地よく安定して座り、休息することができ、長時間使用しても、痛みや褥瘡を発症させず、症状の改善ができ、しかも、着座者の動作性を損なわない、汎用性と経済性を備えた、福祉用椅子の背もたれおよび着座部、および、椅子用後付アタッチメントを提供することができる。 As described above, according to the present invention, a seated person whose spine and pelvis are curved, muscles and fat in the back and hips, or who has already developed pressure sores, can sit comfortably and stably and rest. Backrest and seating part of welfare chair with versatility and economy, which can improve symptoms even if used for a long time, can improve symptoms, and does not impair the operability of the seated person, And the retrofit attachment for chairs can be provided.

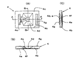
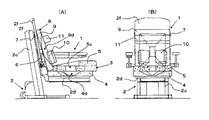
図面に基づき、本発明の実施形態について述べる。まず、図1ないし図10により、基本的な実施形態(1)について述べる。図1は、本発明の背もたれおよび着座部を福祉用椅子(起立補助椅子)に適用した実施形態(1)の側面断面図(A)および正面部分断面図(B)、図2は、実施形態(1)の使用形態を示す斜視図、図3は、実施形態(1)の椅子本体の一般的な構成を示す側面図(A)および正面図(B)、図4は、シートフレームの上面図(A)およびA−A断面矢視図(B)およびB−B断面矢視図(C)、図5は、シートクッションの上面図(A)およびA−A断面矢視図(B)およびB−B断面矢視図(C)、図6は、スペーサーの斜視図、図7は、背もたれ本体取り付けベルトの上面図、図8は、背もたれ本体の正面図(A)およびA−A断面矢視図(B)およびB−B断面矢視図(C)、図9は、背もたれパッドの斜視図、図10は、ヘッドレストの正面図(A)および横断面図(B)である。 Embodiments of the present invention will be described with reference to the drawings. First, a basic embodiment (1) will be described with reference to FIGS. FIG. 1 is a side sectional view (A) and a front partial sectional view (B) of an embodiment (1) in which the backrest and seating portion of the present invention are applied to a welfare chair (stand-up auxiliary chair), and FIG. 2 is an embodiment. FIG. 3 is a side view (A) and a front view (B) showing a general configuration of the chair body of the embodiment (1), and FIG. 4 is an upper surface of the seat frame. Drawing (A), AA cross section arrow view (B), BB cross section arrow view (C), FIG. 5 are a top view (A) and AA cross section arrow view (B) of the seat cushion. And FIG. 6 is a perspective view of the spacer, FIG. 7 is a top view of the backrest main body attaching belt, and FIG. 8 is a front view of the backrest main body (A) and AA cross section. Arrow view (B) and BB cross section arrow view (C), FIG. 9 is a perspective view of a backrest pad, FIG. 10 is a head It is a front view of the strike (A) and cross-sectional view (B).

図1、図2において、1は、実施形態(1)の福祉用椅子(起立補助椅子)、2は椅子本体、3は着座部、4はシートフレーム、5はシートクッション、6はスペーサー、7は背もたれ取り付けバンド、8は背もたれ、9は背もたれ本体、10は背もたれパッド、11はヘッドレストを示す。 1 and 2, reference numeral 1 denotes a welfare chair (stand-up auxiliary chair) of the embodiment (1), 2 is a chair body, 3 is a seating portion, 4 is a seat frame, 5 is a seat cushion, 6 is a spacer, 7 Is a back mounting band, 8 is a backrest, 9 is a backrest body, 10 is a backrest pad, and 11 is a headrest.

本発明を適用した福祉用椅子(起立補助椅子)1は、図1、2に示すように、背もたれ8と着座部3および椅子本体2などからなるが、背もたれ8は、その前面に背中などがはまり込む十分大きく深い凹部9dを有する背もたれ本体9と背もたれパッド10およびヘッドレスト11からなり、該凹部9dの下方左右側部に取り付けた背もたれパッド10と、背もたれ本体9上方に該本体を横断して取り付けたヘッドレスト11は、着脱および位置変え自在である。着座部3は、その上面に、通気溝4eを備えてなる、臀部が嵌り込む十分大きく深い凹部4dを有するシートフレーム4と、前部が厚く後部が薄い、抜き部5bを有するシートクッション5からなり、シートクッション5は、前記シートフレーム4の上面に、着脱自在に載置してなる。また、背もたれ本体9は、その背面下方に、着脱、位置変え自在に取り付けたスペーサー6を挟み、背もたれ取り付けバンド7によって、椅子本体2の背もたれ支持板2fに、シートフレーム4は、シートフレーム支持板2dに、それぞれ着脱、位置変え自在に取り付け、背もたれの角度および着座部の位置は調整自在である。 As shown in FIGS. 1 and 2, a welfare chair (stand-up auxiliary chair) 1 to which the present invention is applied includes a backrest 8, a seating portion 3, a chair body 2, and the like. The backrest 8 has a back and the like on the front surface thereof. A backrest body 9 having a sufficiently large and deep concave portion 9d to be fitted, a backrest pad 10 and a headrest 11, and a backrest pad 10 attached to the lower left and right side portions of the concave portion 9d and attached to the upper portion of the backrest body 9 across the main body. The headrest 11 is detachable and can be repositioned. The seating portion 3 includes a seat frame 4 having a ventilation groove 4e on the upper surface thereof and having a sufficiently large and deep concave portion 4d into which a collar portion is fitted, and a seat cushion 5 having a front portion is thick and a rear portion is thin and has a withdrawal portion 5b. The seat cushion 5 is detachably mounted on the upper surface of the seat frame 4. Further, the backrest body 9 has a spacer 6 attached to the lower back of the seat so that it can be freely attached and detached, and the position of the backrest body 9 can be freely changed. The backrest attachment band 7 supports the backrest support plate 2f of the chair body 2, and the seat frame 4 It is attached to 2d so as to be detachable and repositionable, and the angle of the backrest and the position of the seating part are adjustable.

なお、椅子本体2は、図3に示すように、ベース2a、駆動部2b、リフト用コラム2c、シートフレーム支持板2d、背もたれ支持板2fおよび肘掛2gからなるが、シートフレーム支持板2d、背もたれ支持板2fおよび肘掛2gは一体的に結合されており、駆動部2bによって、その高さ調整は自在である。また、シートフレーム支持板2d上面の前部および後部には、シートフレーム4を位置変え自在に取り付けるために、十分な広さのマジックテープ(メス)2eが一体的に設けてある。 As shown in FIG. 3, the chair body 2 includes a base 2a, a drive unit 2b, a lift column 2c, a seat frame support plate 2d, a backrest support plate 2f, and an armrest 2g, but the seat frame support plate 2d and the backrest. The support plate 2f and the armrest 2g are integrally coupled, and the height of the support plate 2f can be freely adjusted by the drive unit 2b. In addition, a magic tape (female) 2e having a sufficient width is integrally provided on the front and rear portions of the upper surface of the seat frame support plate 2d so that the seat frame 4 can be freely moved.

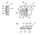
また、着座部3を構成するシートフレーム4は、図4に示すように、その上面に通気溝4eを備えてなる、臀部が嵌り込む十分大きく深い凹部4dを有し、その底面を板状の補強材4aで補強した厚板状の硬質発泡ウレタンなどからなるシートフレーム心材4bを外皮4cで一体的(例えば接着による)に包んでなり、該シートフレーム心材は、前記凹部および補強材とともに、注入発泡による一体成型で同時成形されてなる。なお、外皮4cは、通気性と伸縮性を有し、抗菌および撥水加工を施した材料であることが望ましい。 Further, as shown in FIG. 4, the seat frame 4 constituting the seating portion 3 has a sufficiently large and deep concave portion 4 d in which a flange portion is fitted, and has a plate-like bottom surface. A sheet frame core material 4b made of thick hard urethane foam reinforced with a reinforcement material 4a is integrally wrapped with an outer skin 4c (for example, by adhesion), and the sheet frame core material is injected together with the recess and the reinforcement material. It is formed by integral molding by foaming. The outer skin 4c is desirably a material having air permeability and stretchability and subjected to antibacterial and water repellent treatment.

また、凹部4dは、その上縁がシートフレーム4の後部に向って突き出す、凸字状を呈する凹部であり、かつ、上縁から底部に向ってすぼまり落ち込む凹部であり、臀部下部(坐骨結節、尾骨、仙骨下部)が、シートクッション5の一部とともにその底部や底部周辺に当接することなく嵌り込み、かつ、臀部上部(腸骨、仙骨上部)が前記シートクッションを挟み、該凹部の上縁に嵌り込んで当接する、十分大きく深い凹部である。なお、特に図示しないが、該凹部の上縁各辺は、嵌り込む臀部上部(腸骨、仙骨上部)に合わせて弧を描き、かつ、面取りが施されている。また、シートフレーム4の上面の前、後部には、シートクッション5を取り付けるために、前記凹部を挟んでマジックテープ(メス)4gを、下面の前、後部には、シートフレーム支持板2dに取り付けるためのマジックテープ(オス)4fを一体的に設けている。(なお、本発明は、材質的には硬質発泡ウレタンに限定するものではなく、製法も一体成型に限定するものではなく、切削や接着によっても構わないことは当然である) Further, the concave portion 4d is a concave portion having a convex shape, the upper edge of which protrudes toward the rear portion of the seat frame 4, and is a concave portion that sinks down from the upper edge toward the bottom portion. The nodule, the tailbone, and the lower sacrum are fitted together with a part of the seat cushion 5 without contacting the bottom and the periphery of the bottom, and the upper buttocks (iliac and upper sacrum) sandwich the seat cushion, It is a sufficiently large and deep recess that fits into and abuts the upper edge. Although not particularly illustrated, each side of the upper edge of the recess is arced and chamfered in accordance with the upper part of the buttocks (the iliac and upper sacrum) to be fitted. Further, in order to attach the seat cushion 5 to the front and rear portions of the seat frame 4, a magic tape (female) 4g is attached to the front and rear portions of the lower surface to attach the seat cushion 5 to the seat frame support plate 2d. Magic tape (male) 4f is provided integrally. (Note that the present invention is not limited to rigid foamed urethane in terms of material, and the manufacturing method is not limited to integral molding. Of course, cutting or adhesion may be used.)

シートクッション5は、図5に示すように、その底面をシートフレーム4の凹部4dを囲むように切り抜いた額縁状の補強材5eで補強した、前部が厚く後部が薄い、横断面が踏み台状の軟質発泡ウレタンからなるクッション心材5aを、外皮5fで包んでなり、その下面の前、後部には、該シートクッションをシートフレーム4上面に取り付けるためのマジックテープ(オス)5hを一体的に設けている。また、前記クッション心材は、その略中央に抜き部5bを有するが、該抜き部は、クッション心材の上下面に貫通する抜き穴5cと該抜き穴に連続する抜き溝5dからなり、抜き穴は、着座姿勢において、坐骨結節および尾骨、仙骨下部を結んで出来る多角形を取り囲む穴であり、抜き溝は、前記抜き穴から該心材の対角外方に延びる溝である。なお、クッション心材5aの材質は、軟質発泡ウレタンに限定するものではなく、合成ゴム、ウレタンゴム、ポリエチレン等樹脂系の発泡素材を用いてもいいことは当然であり、その成形は、型発泡やプレス加工、切断加工、接着加工などによる。また、外皮5fは、通気性と伸縮性を有し、抗菌および撥水加工を施した材料であることが望ましい。 As shown in FIG. 5, the seat cushion 5 is reinforced with a frame-shaped reinforcing material 5 e cut out so as to surround the recess 4 d of the seat frame 4. The front part is thick and the rear part is thin, and the cross section is a step-like shape. A cushion core material 5a made of soft urethane foam is wrapped with an outer skin 5f, and a magic tape (male) 5h for attaching the seat cushion to the upper surface of the seat frame 4 is integrally provided at the front and rear of the lower surface thereof. ing. In addition, the cushion core material has a cutout portion 5b at substantially the center thereof, and the cutout portion includes a cutout hole 5c penetrating the upper and lower surfaces of the cushion core material and a cutout groove 5d continuous with the cutout hole. In the sitting posture, the hole surrounds a polygon formed by connecting the sciatic nodule, the tailbone, and the lower part of the sacrum, and the piercing groove extends from the piercing hole diagonally outward of the core material. The material of the cushion core material 5a is not limited to soft foam urethane, and it is natural that resin-based foam materials such as synthetic rubber, urethane rubber, and polyethylene may be used. By pressing, cutting, and bonding. The outer skin 5f is desirably a material having air permeability and stretchability and subjected to antibacterial and water repellent treatment.

また、スペーサー6は、図6に示すように、硬質発泡ウレタンなどからなる、断面が台形状のスペーサー心材6aを外皮6bで一体的(例えば接着による)に包んでなり、その一面の両端に、背もたれ本体9に取り付けるためのマジックテープ(オス)6cを一体的に設けている。また、背もたれ取り付けバンド7は、図7に示すように、テープ7aの両端に、背もたれ本体9を背もたれ支持板2fに取り付けるためのマジックテープ(メス)7bを一体的に設けてなる。 In addition, as shown in FIG. 6, the spacer 6 is made of hard foamed urethane or the like, and a spacer core material 6a having a trapezoidal cross section is integrally wrapped with an outer skin 6b (for example, by adhesion). A magic tape (male) 6 c for attaching to the backrest body 9 is integrally provided. Further, as shown in FIG. 7, the backrest attachment band 7 is integrally formed with magic tape (female) 7b for attaching the backrest body 9 to the back support plate 2f at both ends of the tape 7a.

また、背もたれ8を構成する背もたれ本体9は、図8に示すように、その前面に、背中などが嵌り込む十分大きく深い凹部9dを有し、その背面を板状の補強材9aで補強した厚板状の硬質発泡ウレタンなどからなる背もたれ本体心材9bを外皮9c(図示せず)で一体的(例えば接着による)に包んでなり、該背もたれ本体心材は、前記凹部および補強材とともに、注入発泡による一体成型で同時成形されてなる。また、外皮9cは、通気性と伸縮性を有し、抗菌および撥水加工を施した材料であることが望ましい。 Further, as shown in FIG. 8, the backrest main body 9 constituting the backrest 8 has a sufficiently large and deep recess 9d into which the back and the like are fitted, and the back surface is reinforced with a plate-shaped reinforcing material 9a. A backrest body core material 9b made of plate-like hard foam urethane or the like is integrally wrapped (for example, by adhesion) with a skin 9c (not shown), and the backrest body core material is formed by injection foaming together with the recess and the reinforcing material. It is formed by integral molding at the same time. The outer skin 9c is desirably a material having air permeability and stretchability and subjected to antibacterial and water repellent treatment.

また、凹部9dは、その縦、横断面が、曲がった背中と腰部を模して台形または半楕円状を呈するとともに、背中や腰部が隙間を持って嵌り込むに十分な凹部であり、該凹部の下方左右側部には、背もたれパッド10を取り付けるためのマジックテープ(メス)9eを、上方の両外縁には、ヘッドレスト11を取り付けるためのマジックテープ(メス)9fを、それぞれ一体的に設けている。また、背もたれ本体9の左右両側面上下には、背もたれ取り付けバンド7に対応するマジックテープ(オス)9hを、背面下方両外縁には、スペーサー6を取り付けるためのマジックテープ(メス)9gを、それぞれ一体的に設けている。なお、マジックテープ(メス)9e、9f、9gは、スペーサー6、背もたれパッド10およびヘッドレスト11の位置変えを自在にするに十分な広さを有するものである。(なお、本発明は、材質的には硬質発泡ウレタンに限定するものではなく、製法も一体成型に限定するものではなく、切削や接着によっても構わないことは当然である) The concave portion 9d is a concave portion whose longitudinal and transverse sections are trapezoidal or semi-elliptical, imitating a curved back and waist, and the back and waist are sufficient to fit with a gap. A velcro tape (female) 9e for attaching the backrest pad 10 is integrally provided on the lower left and right sides of the upper part, and a velcro tape (female) 9f for attaching the headrest 11 is integrally provided on both upper outer edges. Yes. In addition, on the upper and lower sides of the backrest body 9, velcro tape (male) 9h corresponding to the backrest attachment band 7 is provided, and velcro tape (female) 9g for attaching the spacer 6 is provided on both lower edges of the back, respectively. Provided integrally. The magic tapes (female) 9e, 9f, and 9g are wide enough to freely change the positions of the spacer 6, the backrest pad 10, and the headrest 11. (Note that the present invention is not limited to rigid foamed urethane in terms of material, and the manufacturing method is not limited to integral molding. Of course, cutting or adhesion may be used.)

また、背もたれパッド10は、図9に示すように、軟質発泡ウレタンからなるブロック状のパッド本体10aを外皮10bで一体的に包んでなり、その背部に、背もたれ本体9に取り付けるためのマジックテープ(オス)10cを一体的に設けている。なお、パッドの数は、2個に限らず、必要に応じて、その数を増減する。一方、ヘッドレスト11は、板状の補強材11bと硬質発泡ウレタンなどからなるヘッドレスト心材11cおよび軟質発泡ウレタンなどからなるクッション材11dで構成された積層材11aを、外皮11eで包んでなり、その背部に、背もたれ本体9に取り付けるためのマジックテープ(オス)11fを一体的に設けている。なお、外皮10bおよび11eは、通気性と伸縮性を有し、抗菌および撥水加工を施した材料であることが望ましい。 As shown in FIG. 9, the backrest pad 10 is formed by integrally wrapping a block-shaped pad main body 10 a made of soft foamed urethane with an outer skin 10 b, and a velcro tape for attaching the backrest main body 9 to the backrest main body 9. Male) 10c is provided integrally. The number of pads is not limited to two, and the number is increased or decreased as necessary. On the other hand, the headrest 11 is formed by wrapping a laminated material 11a composed of a plate-like reinforcing material 11b, a headrest core material 11c made of hard foamed urethane, etc. and a cushion material 11d made of soft foamed urethane, etc., with an outer skin 11e. Further, a magic tape (male) 11f for attaching to the backrest body 9 is integrally provided. The outer skins 10b and 11e are desirably made of a material having air permeability and stretchability and subjected to antibacterial and water repellent treatment.

次に、図11ないし図15により、実施形態(2)について述べる。図11は、本発明の背もたれおよび着座部を、既存の起立補助椅子に適用した実施形態(2)の側面断面図(A)および正面部分断面図、図12は、実施形態(2)の使用形態を示す斜視図、図13は、既存の起立補助椅子の一般的な構成を示す側面図(A)および正面図(B)、図14は、シートフレーム支持板の上面図(A)および側面図(B)、図15は、支持板取り付けベルトの上面図である。 Next, the embodiment (2) will be described with reference to FIGS. FIG. 11 is a side cross-sectional view (A) and a front partial cross-sectional view of the embodiment (2) in which the backrest and seating portion of the present invention are applied to an existing standing auxiliary chair, and FIG. 12 is the use of the embodiment (2). FIG. 13 is a side view (A) and a front view (B) showing a general configuration of an existing standing auxiliary chair, and FIG. 14 is a top view (A) and a side view of a seat frame support plate. FIGS. 15 (B) and 15 are top views of the support plate mounting belt.

図11、図12において、21は、実施形態(2)の福祉用椅子(起立補助椅子)、22は椅子本体、22dはシート、22fは背もたれ、23はシートフレーム支持板、24は支持板取り付けバンド、3は着座部、4はシートフレーム、5はシートクッション、6はスペーサー、7は背もたれ取り付けバンド、8は背もたれ、9は背もたれ本体、10は背もたれパッド、11はヘッドレストを示す。 11 and 12, 21 is a welfare chair (stand-up auxiliary chair) of the embodiment (2), 22 is a chair body, 22d is a seat, 22f is a backrest, 23 is a seat frame support plate, and 24 is a support plate attached. Band 3, seating section 4, seat frame 5, seat cushion 5, spacer 6, backrest mounting band 8, backrest 9, backrest body 10, backrest pad 11, headrest

本発明を適用した実施形態(2)の福祉用椅子(起立補助椅子)21は、図11に示すように、椅子本体22と、椅子用後付アタッチメントとからなるが、該アタッチメントは、実施形態(1)の背もたれ8および着座部3そのものである。したがって、背もたれ本体9は、その間にスペーサー6を挟み、取り付けバンド7によって、椅子本体22の背もたれ22fに、シートフレーム4は、そのマジックテープによって、シートフレーム支持板23に、それぞれ着脱、位置変え自在に取り付けるので、福祉用椅子(起立補助椅子)21は、実施形態(1)の福祉用椅子(起立補助椅子)と同等の構成となる。 As shown in FIG. 11, the welfare chair (standing support chair) 21 according to the embodiment (2) to which the present invention is applied includes a chair body 22 and a chair retrofit attachment. They are the backrest 8 and the seating part 3 itself of (1). Therefore, the backrest body 9 has the spacer 6 sandwiched therebetween, and the attachment band 7 allows the backrest 22f of the chair body 22 and the seat frame 4 to the seat frame support plate 23 by means of the velcro, respectively, and can be freely attached and detached. Therefore, the welfare chair (stand-up auxiliary chair) 21 has the same configuration as the welfare chair (stand-up auxiliary chair) of the embodiment (1).

なお、椅子本体22は、図13に示す既存の起立補助椅子22Aのシート22dの上面に載置した、シートフレーム支持板23を、支持板取り付けバンド24で、該シートに一体的に取り付けてなり、該シートフレーム支持板は、シートフレーム支持板2dと同じく、図14に示すように、プレート23aの上面の前、後部に、マジックテープ(メス)23bを一体的に設けてなり、該マジックテープ(メス)23bは、シートフレーム4下面のマジックテープ(オス)に対応し、その位置変えを可能にするに十分な広さを有する。また、支持板取り付けバンド24は、図15に示すように、テープ24aの一端にマジックテープ(メス)24bを、他端裏面にマジックテープ(オス)24Bを一体的に設けてなる。したがって、背もたれ22fが実施形態(1)の背もたれ支持板2fの、また、シート22dとシートフレーム支持板23とがシートフレーム支持板2dの機能を、それぞれ果たすので、椅子本体22は、実施形態1の椅子本体2と同等の機能を有するものである。 The chair body 22 is formed by integrally attaching a seat frame support plate 23 placed on the upper surface of the seat 22d of the existing standing auxiliary chair 22A shown in FIG. As in the case of the seat frame support plate 2d, the seat frame support plate is integrally provided with a magic tape (female) 23b on the front and rear of the upper surface of the plate 23a, as shown in FIG. The (female) 23b corresponds to the magic tape (male) on the lower surface of the seat frame 4 and has a sufficient width to allow its position to be changed. Further, as shown in FIG. 15, the support plate mounting band 24 is integrally formed with a magic tape (female) 24b at one end of a tape 24a and a magic tape (male) 24B at the back of the other end. Therefore, since the backrest 22f functions as the backrest support plate 2f of the embodiment (1), and the seat 22d and the seatframe support plate 23 serve as the seatframe support plate 2d, the chair body 22 is the same as that of the first embodiment. It has a function equivalent to the chair main body 2 of.

また、既存の起立補助椅子22Aは、図13に示すように、ベース22a、駆動部22b、リフト用コラム22c、シート22d、背もたれ22fおよび肘掛22gからなり、シート22d、背もたれ22fおよび肘掛22gは一体的に結合されており、駆動部22bによって、その高さ調整は自在である。 Further, as shown in FIG. 13, the existing standing auxiliary chair 22A includes a base 22a, a drive unit 22b, a lift column 22c, a seat 22d, a backrest 22f, and an armrest 22g. The seat 22d, the backrest 22f, and the armrest 22g are integrated. The height is freely adjustable by the drive unit 22b.

上記本発明によれば、脊柱や骨盤が湾曲したり、背中や臀部の筋肉や脂肪が落ちたり、既に褥瘡を発症したりした着座者が、心地よく安定して座り、休息することができ、長時間使用しても、痛みや褥瘡を発症させず、症状の改善ができ、しかも、着座者の動作性を損なわない、汎用性と経済性を備えた、福祉用椅子の背もたれおよび着座部、および、椅子用後付アタッチメントが得られる。これらの作用効果について、前記本発明の課題(1)〜(5)に関連付けて、以下に述べる。 According to the present invention, a seated person who has a curved spine or pelvis, muscles or fat in the back or buttocks, or who has already developed pressure sores can sit comfortably and stably and rest. Backrest and seating part of welfare chair with versatility and economy that does not cause pain or pressure ulcers, can improve symptoms even if used over time, and does not impair the operability of the seated person, and A retrofit attachment for the chair is obtained. These functions and effects will be described below in association with the problems (1) to (5) of the present invention.

先ず、課題(1)の「着座者が、心地よく、安定して座り、休息することができる」および、課題(2)の「長時間使用しても、痛みや褥瘡を発生させない」に関して述べる。脊柱や骨盤が湾曲したり、背中や臀部の筋肉や脂肪が落ちたり、既に褥瘡を発症させたりした着座者が、「心地よく、安定して座り、休息でき、かつ、長時間使用しても痛みや褥瘡を発症させない」為に、椅子は、着座者の体格や体形、着座姿勢に合わせて、大腿部や臀部、腰部、背部、首、頭の要所を、きちんと支持できるものであり、同時に、褥瘡の主たる発症原因である、皮膚環境(圧力、温度、湿度)を整えるものでなければならない。 First, the problem (1) “a seated person can sit comfortably and stably and rest” and the problem (2) “does not cause pain or pressure sores even if used for a long time” will be described. A seated person with a curved spine, pelvis, muscles and fat in the back and buttocks, and already developing pressure sores, said, “It is comfortable, stable to sit, rest, and pain even after prolonged use. In order not to develop pressure ulcers or pressure ulcers, the chair can properly support the thighs, buttocks, hips, back, neck, and head, according to the physique, body shape and sitting posture of the seated person. At the same time, the skin environment (pressure, temperature, humidity), which is the main cause of pressure ulcers, must be prepared.

本発明は、褥瘡を発症しやすい脊柱の湾曲頂部や臀部下部(坐骨結節、尾骨、仙骨下部)を守る為に、図2、図12および図16の斜線部で示すように、後頭部下部もしくは後頚部をヘッドレスト11で、背部下方後側面と腰部後側面とを、もしくはそのどちらか一方を、背もたれパッド10で、臀部上部(腸骨、仙骨上部)および大腿部を、シートフレーム4とシートクッション5とで支持して、支持部位にかかる圧力を分散、軽減し、かつ、各部品を位置変えして、同一部位への圧迫を短時間に止める。更に、通気層を形成して換気し、脊柱の湾曲頂部や臀部下部(坐骨結節、尾骨、仙骨下部)を含む支持部位周辺の温、湿度環境を整えるものである。 In order to protect the curved top of the spinal column and the lower part of the hips (sciatic tuberosity, coccyx, lower part of the sacrum) that are likely to develop pressure ulcers, the present invention provides a lower occipital or posterior part as shown by the shaded part in FIGS. The neck rests on the headrest 11 and the back lower back and / or lumbar back side, or one of them, with the back pad 10, the upper buttocks (iliac, upper sacrum) and thigh, the seat frame 4 and the seat cushion 5 to disperse and reduce the pressure applied to the support site, and to change the position of each component to stop the compression to the same site in a short time. Furthermore, a ventilation layer is formed and ventilated to adjust the temperature and humidity environment around the support site including the curved top of the spinal column and the lower part of the buttocks (sciatic nodules, coccyx, lower sacrum).

すなわち、本発明は、図1に示すように、背もたれ8と着座部3および椅子本体2などからなる椅子において、椅子本体は、ベース2a、シートフレーム支持板2dおよび背もたれ支持板2fなどからなり、背もたれ8は、その前面に、背中などが嵌り込む十分大きく深い凹部9dを有する背もたれ本体9と、背もたれパッド10およびヘッドレスト11からなり、該凹部の下方左右側部に取り付けた背もたれパッドと、背もたれ本体上方に該本体を横断して取り付けたヘッドレストは、着脱および位置変えが自在であり、着座部3は、その上面に、通気溝4eを備えてなる、臀部が嵌り込む十分大きく深い凹部4dを有するシートフレーム4と、前部が厚く後部が薄い、横断面が階段状の、抜き部5bを有するシートクッション5からなり、シートクッション5は、前記シートフレームの上面に着脱自在に載置してなる。また、背もたれ本体9は、その背面下方に、着脱、位置変え自在に取り付けたスペーサー6を挟み、背もたれ取り付けバンド7によって、背もたれ支持板2fに、シートフレーム4は、シートフレーム支持板2dに、マジックテープによって、それぞれ着脱自在に取り付けてなる。なお、特に図示しないが、背もたれパッドは、左右一対、2個に限るものではなく、必要に応じて増減し、また、シートフレームの凹部4dの上縁各辺は、嵌り込む臀部上部(腸骨、仙骨上部)に合わせて、軽い弧を描き、かつR面取りなどを施すことが望ましい。 That is, as shown in FIG. 1, the present invention is a chair composed of a backrest 8, a seating portion 3, a chair body 2, and the like. The chair body is composed of a base 2a, a seat frame support plate 2d, a backrest support plate 2f, and the like. The backrest 8 includes a backrest main body 9 having a sufficiently large and deep recess 9d into which the back and the like fit, a backrest pad 10 and a headrest 11, and a backrest pad attached to the lower left and right sides of the recess, and a backrest main body. The headrest mounted on the upper side across the main body is freely attachable and detachable, and the seating portion 3 includes a ventilation groove 4e on its upper surface, and has a sufficiently large and deep recess 4d into which the collar portion fits. It comprises a seat frame 4 and a seat cushion 5 having a punched portion 5b having a thick front portion and a thin rear portion and a stepwise cross section, The seat cushion 5 is detachably mounted on the upper surface of the seat frame. Further, the backrest body 9 has a spacer 6 attached to the lower back side of the backrest body 9 so as to be detachable and repositionable. The backrest attachment band 7 is used to attach the backrest support plate 2f, and the seat frame 4 is attached to the seat frame support plate 2d. Each tape is detachably attached. Although not particularly illustrated, the backrest pads are not limited to a pair of right and left and two, but may be increased or decreased as necessary, and each upper edge side of the recessed portion 4d of the seat frame is an upper portion of the buttocks (Ibium) It is desirable to draw a light arc and R chamfer etc. according to the upper part of the sacrum.

なお、背もたれ本体9は、該背もたれ本体凹部9dの下方左右側部および上方の両外縁に、十分広いマジックテープ(メス)9e、9fを、背もたれパッド10およびヘッドレスト11は、その背面にマジックテープ(オス)10c、11fをそれぞれ有し、シートクッション5は、該シートクッション下面の前、後部に前記抜き部5bを挟んでマジックテープ(オス)5hを、シートフレーム4は、該シートフレーム上面の前、後部に前記凹部4dを挟んでマジックテープ(メス)4gを有し、これらマジックテープによって、それぞれ着脱が自在となっている。なお、マジックテープ(メス)9e、9fが十分広いので、背もたれパッド10およびヘッドレスト11の位置変えは自在である。 It should be noted that the backrest main body 9 has a sufficiently wide magic tape (female) 9e, 9f on the lower left and right side portions and the upper outer edge of the backrest main body recess 9d, and the backrest pad 10 and the headrest 11 have a magic tape ( Male) 10c and 11f, respectively, the seat cushion 5 is in front of the lower surface of the seat cushion, the rear portion is sandwiched with the punched portion 5b, the magic tape (male) 5h, and the seat frame 4 is in front of the upper surface of the seat frame. The rear part has a magic tape (female) 4g sandwiching the concave part 4d, and these magic tapes can be attached and detached respectively. Since the magic tapes (female) 9e, 9f are sufficiently wide, the positions of the backrest pad 10 and the headrest 11 can be freely changed.

また、背もたれ本体は、その左右両側面上下にマジックテープ(オス)9hを、背面下方両外縁に十分広いマジックテープ(メス)9gを有し、背もたれ取り付けバンド7は、その一面両端にマジックテープ(メス)7bを有してなり、スペーサーは、その背面にマジックテープ(オス)6cを有してなる。また、シートフレームは、その下面の前、後部にマジックテープ(オス)4fを有し、シートフレーム支持板はその上面の前、後部に、十分広いマジックテープ(メス)2eを有し、これらマジックテープによって、それぞれ着脱が自在である。また、マジックテープ(メス)2e、9gが十分広いので、スペーサーおよびシートフレームの位置変えが自在である。これらにより、体格や体形、着座姿勢に合わせて、構成部品の位置や背もたれの角度、着座部の位置を簡便に変えることができる。 Further, the backrest body has magic tape (male) 9h on the upper and lower sides of the left and right sides, and a sufficiently wide magic tape (female) 9g on the lower outer edges of the back, and the backrest attachment band 7 has magic tape ( The spacer has a magic tape (male) 6c on its back surface. The seat frame has magic tape (male) 4f in front and rear of the lower surface, and the seat frame support plate has sufficiently wide magic tape (female) 2e in front and rear of the upper surface. Each tape is detachable. In addition, since the magic tapes (female) 2e and 9g are sufficiently wide, the positions of the spacer and the seat frame can be freely changed. Accordingly, the position of the component, the angle of the backrest, and the position of the seating portion can be easily changed in accordance with the physique, the body shape, and the sitting posture.

かかる構成において、着座者の背中や腰部は、背もたれ本体の凹部9dに嵌り込むが、背もたれパッド10は、背中や腰部と該凹部との間に隙間ができるように、背部下方後側面と腰部後側面とに、もしくはそのどちらか一方に、斜めから挟み込んで当接させ、前記凹部の下方左右側部にセットする。ヘッドレスト11は、休息時に、着座者の後頭部下部もしくは後頚部を支持するように、背もたれ本体上方に該本体を横断してセットする。なお、圧迫されて褥瘡を発症しやすい脊柱の彎曲頂部は、前記凹部が十分大きく深いので、該凹部に当接することなく、隙間を空けて嵌り込む。また、着座者の臀部は、シートフレームの上面に載置されたシートクッションの後部を挟んでシートフレームの凹部4dに嵌り込み、大腿部は、同クッションの前部に載るが、臀部上部(腸骨、仙骨上部)は、シートクッション後部を挟んでシートフレームの凹部4dに嵌り込んでその上縁に当接する。なお、圧迫されて褥瘡を発症しやすい臀部下部(坐骨結節、尾骨、仙骨下部)は、凹部4dが十分大きく深いので、該凹部に当接することなく、隙間を空けて嵌り込む。 In such a configuration, the back and waist of the seated person fit into the recess 9d of the backrest body, but the backrest pad 10 has a back lower back side and a back of the waist so that a gap is formed between the back and the waist and the recess. It is sandwiched and brought into contact with the side surface or one of the side surfaces and set on the lower left and right side portions of the recess. The headrest 11 is set across the main body above the backrest main body so as to support the lower back or rear neck of the seated person at rest. In addition, since the concave portion is sufficiently large and deep, the curved top portion of the spinal column, which is likely to develop pressure ulcers by pressure, is fitted with a gap without contacting the concave portion. In addition, the seated person's buttocks fit into the recess 4d of the seat frame across the rear part of the seat cushion placed on the upper surface of the seat frame, and the thigh rests on the front part of the cushion. The upper part of the iliac and sacrum is fitted into the recess 4d of the seat frame with the rear part of the seat cushion interposed therebetween and abuts on the upper edge thereof. Note that the lower part of the buttocks (sciatic tuberosity, coccyx, lower part of the sacrum) that is likely to develop pressure ulcers by being pressed is fitted with a gap without contacting the concave part because the concave part 4d is sufficiently large and deep.

かくして、体圧は、背もたれパッドに当接する背部下方後側面と腰部後側面の両方か、もしくは、そのどちらか一方と、シートフレームの凹部上縁に当接する臀部上部(腸骨、仙骨上部)と、シートクッション前部に載る大腿部下面で受圧する。更に、休息時には、ヘッドレストに当接する後頭部下部もしくは後頚部も加えて受圧する。 Thus, body pressure can be measured by both the lower back side of the back and the back side of the waist that contact the back pad, or one of them, and the upper part of the buttocks (the iliac and upper sacrum) that contact the upper edge of the recess of the seat frame. The pressure is received by the lower surface of the thigh placed on the front part of the seat cushion. Furthermore, when resting, the lower part of the back of the head or the back of the neck that contacts the headrest is also applied to receive pressure.

なお、これら、体圧を受圧する支持部位は、平坦であり、体圧を分散して受圧するので、圧力は高くならず、しかも、同部位は、相対的に筋肉や脂肪が多く、圧迫の影響を受けにくい部位であるので、痛みや褥瘡の原因とならない。また、当然のことながら、脊柱の湾曲頂部始め、前記凹部に当接しない背中や腰部、臀部下部(坐骨結節、尾骨、仙骨下部)に、圧力は発生しない。また、背もたれパッドとヘッドレストは、着脱および位置変えが自在であるから、同一部位への圧迫が長時間に及ばぬよう、取り付け位置を変えることができ、着座者も、その着座姿勢を自由に変えることができる。また、背もたれの角度と着座部の位置は、着座者の体格や体形、着座姿勢に合わせて、簡便に変更できる。 In addition, these support parts that receive body pressure are flat and receive body pressure in a distributed manner, so the pressure does not increase. Because it is a less susceptible area, it does not cause pain or pressure ulcers. Also, as a matter of course, no pressure is generated at the curved top of the spinal column, the back, waist, and lower buttocks (sciatic nodules, coccyx, lower sacrum) that do not contact the recess. In addition, since the back pad and headrest can be attached and detached and repositioned freely, the mounting position can be changed so that pressure on the same part does not reach for a long time, and the seated person can also freely change its sitting posture be able to. Further, the angle of the backrest and the position of the seating part can be easily changed according to the physique, body shape, and sitting posture of the seated person.

また、背もたれ本体の凹部9dに嵌り込んだ背中や腰部は、背もたれパッド10に当接した背部下方後側面と腰部後側面の両方か、もしくは、そのどちらか一方を、斜めから支持され、シートフレームの凹部4dに嵌り込んだ臀部は、該凹部上縁に当接した臀部上部(腸骨、仙骨上部)を支持され、シートクッション5の前部に載った大腿部は、その下面と両外側を支持されるので、着座者は、身体を前方や側方に押し出され、前後左右にローリングしたり、浅掛けになったりする、不安定な姿勢を強いられることはなく、安定した着座姿勢が得られる。また、ヘッドレストに後頭部下部もしくは後頚部を預け、もたれかかれば、上半身も更に安定し、心地よく休息することが出来る。また、背中や腰部と背もたれ本体凹部との間、および、臀部下部(坐骨結節、尾骨、仙骨下部)とシートフレーム凹部との間には隙間が形成されており、更に、通気溝4eなどが設けられており、これらが一体となって通気層を形成して換気するので、脊柱の湾曲頂部や臀部下部(坐骨結節、尾骨、仙骨下部)を含む前記支持部位周辺の温度や湿度の上昇を抑えることができる。よって、本発明になる背もたれおよび着座部は、心地よく、安定して座り、休息でき、かつ、長時間使用しても痛みや褥瘡を発症させない。 In addition, the back and the waist fitted in the recess 9d of the backrest body are supported by the lower back side and / or the back side of the back in contact with the back pad 10, or one of them, and the seat frame The heel part fitted into the concave part 4d is supported by the upper part of the heel part (iliac and sacral upper part) in contact with the upper edge of the concave part, and the thigh part placed on the front part of the seat cushion 5 has its lower surface and both outer sides. Therefore, the seated person is pushed forward and laterally, and is not forced to take an unstable posture that rolls forward, backward, left and right, or shallows, and has a stable sitting posture. can get. In addition, if the lower part of the back of the head or the back of the neck is deposited on the headrest and leans against it, the upper body can be further stabilized and can rest comfortably. In addition, gaps are formed between the back and lower back and the backrest main body recess, and between the lower buttocks (sciatic tubercle, tailbone, lower sacrum) and the seat frame recess, and further provided with a ventilation groove 4e and the like. Since these are integrated to form a ventilation layer and ventilate, it suppresses the rise in temperature and humidity around the support site including the curved top of the spinal column and the lower part of the buttocks (sciatic tuberosity, coccyx, lower sacrum) be able to. Therefore, the backrest and seating portion according to the present invention can be comfortably and stably seated and rest, and will not cause pain or pressure ulcers even when used for a long time.

次に、課題(3)の「症状の改善ができる」に関して述べる。着座者の「症状の改善ができる」為には、椅子そのものが、望ましくない体形や褥瘡の発症原因を取り除いたものであり、既に発症した褥瘡の治癒を図れるものでなければならない。すなわち、椅子は、着座者に無理な姿勢を強制せず、皮膚にかかる圧力を可能な限り小さく、短時間に止め、皮膚を乾燥させ、清潔に保て、既に褥瘡が発症している場合は、その部位を避け、発症しにくい部位を支持できることが大事である。そのために、背もたれや着座部は、着座者の体格や体形、着座姿勢や褥瘡の発症部位に応じて、その構成部品の位置変えができ、しかも、支持部への圧力の分散、軽減ができ、同時に、支持部周辺の温度と湿度の上昇を抑えられ、しかも、清拭できることが大事である。 Next, issue (3) “Improve symptoms” will be described. In order for a seated person to “improve symptoms”, the chair itself must be able to remove the undesirable body shape and the cause of pressure ulcers and cure the pressure ulcers that have already developed. In other words, the chair does not force the seated person into an unreasonable posture, the pressure on the skin is kept as low as possible, it is stopped in a short time, the skin is kept dry, and the pressure ulcer has already developed. It is important to avoid the site and support the site that is difficult to develop. Therefore, the backrest and seating part can change the position of its constituent parts according to the physique and body shape of the seated person, the sitting posture and the pressure ulcer development site, and can distribute and reduce the pressure on the support part, At the same time, it is important that the temperature and humidity rise around the support portion can be suppressed and wiped off.

本発明は、上記課題解決の為に、課題(1)および(2)の項で述べた特徴に加え、以下の特徴を持つ。すなわち、背もたれ本体の凹部9dは、図8に示すように、その縦、横断面が、曲がった背中と腰部を模して台形または半楕円状を呈し、背部下方後側面および腰部後側面を、背もたれパッド10で、斜めから差し込むように支持された背中や腰部が、隙間を空けて嵌り込むに十分な凹部である。 In order to solve the above problems, the present invention has the following characteristics in addition to the characteristics described in the items (1) and (2). That is, as shown in FIG. 8, the concave portion 9d of the backrest body has a vertical or horizontal cross-section that has a trapezoidal shape or a semi-elliptical shape imitating a bent back and waist, The back and waist supported by the backrest pad 10 so as to be inserted obliquely are sufficient recesses to be fitted with a gap.

また、シートフレーム上面の、通気溝4eを備えてなる凹部4dは、図4に示すように、該シートフレームの後部に向って突き出す凸字状を呈し、その外縁から底部に向ってすぼまり落ち込む凹部であり、臀部下部(坐骨結節、尾骨、仙骨下部)が、シートクッション5の一部とともに、その底部や底部周辺に当接することなく嵌り込み、かつ、臀部上部(腸骨と仙骨上部)が該シートクッションを挟み、該凹部の上縁に嵌り込んで当接するに十分な凹部であり、前記シートクッションの抜き部5bは、図5に示すように、クッション心材5aの上下面に貫通する抜き穴5cと該抜き穴に連続する抜き溝5dからなり、抜き穴5cは着座姿勢において、坐骨結節と尾骨および仙骨下部を結んで出来る多角形を取り囲む穴であり、抜き溝5dは前記抜き穴から該心材の対角外方に伸びる溝である。 Further, as shown in FIG. 4, the concave portion 4d provided with the ventilation groove 4e on the upper surface of the seat frame has a convex shape protruding toward the rear portion of the seat frame and is narrowed from the outer edge toward the bottom portion. It is a depression that falls, and the lower part of the buttocks (sciatic tubercle, tailbone, lower sacrum) fits together with a part of the seat cushion 5 without contacting the bottom part or the periphery of the bottom part, and the upper part of the hip part (iliac and upper part of the sacrum) Is a recess that is sufficient to fit into and contact the upper edge of the recess, and the seat cushion extraction portion 5b penetrates the upper and lower surfaces of the cushion core 5a as shown in FIG. The punched hole 5c is formed of a punched hole 5d continuous with the punched hole. The punched hole 5c is a hole surrounding a polygon formed by connecting the sciatic nodule to the tailbone and the lower sacrum in the sitting posture. A groove extending from the serial vent holes diagonally outwardly of said cardiac member.

また、背もたれ本体9、背もたれパッド10、ヘッドレスト11、シートクッション5およびシートフレーム4の外皮材料は通気性と伸縮性を有し、このうち少なくともシートクッションの外皮材料は、抗菌および撥水加工をしてなる。 In addition, the outer skin material of the backrest body 9, the backrest pad 10, the headrest 11, the seat cushion 5 and the seat frame 4 is breathable and stretchable, and at least the outer skin material of the seat cushion is antibacterial and water repellent. It becomes.

したがって、褥瘡を発症しやすい脊柱の彎曲頂部は、背部下方後側面と腰部後側面の両方か、もしくは、そのどちらか一方を、背もたれパッド10に支えられ、背もたれ本体の凹部9dに当接することなく、隙間を空けて嵌り込むので、図17で示した場合のように、背もたれによって押されることはなく、すべり座りなど、望ましくない姿勢を強いられることも、圧力を集中的に受けることもない。また、褥瘡を発症しやすい臀部下部(坐骨結節、尾骨、仙骨下部)は、シートクッションの抜き穴5cが、坐骨結節と尾骨および仙骨下部を結んで出来る多角形を取り囲む穴であるから、クッション心材5aに当接することはなく、しかも、外皮5fが伸縮性を有し、抜き溝5dが、抜き部周辺の変形抵抗を減ずるので、着座位置を少々変えても、集中的に高い圧力を受けることはない。 Therefore, the curved top of the spinal column, which is likely to develop pressure ulcer, is supported by the back pad 10 on either or both of the lower back side of the back and the back of the lumbar region without contacting the recess 9d of the back body. Since it is fitted with a gap, it is not pushed by the backrest as in the case shown in FIG. 17, and is not forced to take an undesired posture such as a slip-sitting or receive pressure intensively. In addition, the lower part of the buttocks that is likely to develop pressure ulcers (sciatic nodules, coccyx, lower sacrum) is a cushion core material because the hole 5c of the seat cushion surrounds the polygon formed by connecting the sciatic nodules to the coccyx and the lower sacrum. 5a does not abut, and the outer skin 5f has elasticity, and the punching groove 5d reduces deformation resistance around the punched portion, so that even if the seating position is slightly changed, high pressure is intensively received. There is no.

なお、背もたれ本体の凹部9dは、その縦、横断面が、曲がった背中と腰部を模して台形または半楕円状を呈するので、体格や体形が異なっても、背もたれパッドやヘッドレストを、着座者の背部下方後側面や腰部後側面に当接させ易く、位置変えし易い。また、シートフレーム上面の凹部4dは、外縁から底部に向ってすぼまり落ち込む凹部であるので、体格や体形が異なっても、問題なく嵌り込んで当接するので、着座者に無理な姿勢を強いることはない。
しかも、先に述べたように、構成部品は着脱、位置変え自在であるので、着座姿勢や支持位置を頻繁に変え、同一部位への圧迫を短時間に止める事ができる。
The recess 9d of the backrest body has a trapezoidal shape or a semi-elliptical shape, imitating a curved back and waist, so that the backrest pad and headrest can be attached to the seated person even if the physique and body shape are different. It is easy to abut on the lower back side of the back and the back side of the waist, and the position can be easily changed. Further, since the recess 4d on the upper surface of the seat frame is a recess that sinks down from the outer edge toward the bottom, even if the physique or body shape is different, it fits and comes into contact with no problem, thus forcing an unreasonable posture to the seated person There is nothing.
In addition, as described above, since the component parts can be freely attached and detached, and the position thereof can be freely changed, the seating posture and the support position can be frequently changed, and the compression to the same part can be stopped in a short time.

また、シートフレームと背もたれ本体の凹部4d、9dと、該凹部に嵌り込んだ臀部下部(坐骨結節、尾骨、仙骨下部)と背中や腰部は、それぞれ隙間を形成しており、また、背もたれ本体、背もたれパッド、ヘッドレスト、シートクッションおよびシートフレームの外皮材料が通気性を有するとともに、クッション心材5a、パッド本体10a、および、クッション材11dが、通気性を有する軟質発泡ウレタンからなり、これらと通気溝4e、抜き部5bとが一体となって煙突効果を発揮して換気し、支持部周辺の温度と湿度の上昇を効率的に抑えるので、皮膚の乾燥を保つことができる。また、伸縮性を有するので、当接部に、無用な反発力を発生させず、また、各部品を包むに容易である。また、外皮材料は、抗菌および撥水加工をしてなるので、清拭も簡単で、清潔を保つ事ができる。 In addition, the seat frame and the backrest body recesses 4d and 9d, and the lower part of the buttocks (sciatic tubercle, tailbone, lower sacrum) and the back and waist that fit into the recesses form a gap, respectively, and the backrest body, The back pad, the headrest, the seat cushion, and the outer material of the seat frame are breathable, and the cushion core material 5a, the pad main body 10a, and the cushion material 11d are made of soft foamed urethane having breathability, and the vent groove 4e. Since the vent part 5b is integrated with the chimney effect to ventilate and the increase in temperature and humidity around the support part is efficiently suppressed, the skin can be kept dry. Moreover, since it has elasticity, it does not generate unnecessary repulsive force in the contact portion, and it is easy to wrap each component. Moreover, since the outer skin material is antibacterial and water repellent, it is easy to wipe and keep clean.

したがって、脊柱の彎曲頂部や臀部下部(坐骨結節、尾骨、仙骨下部)に褥瘡を発症している場合も、同部位への圧迫が解消されるので、血行が改善し、皮膚も乾燥できるので、症状の改善を図ることができる。なお、褥瘡を発症している部位が脊柱の彎曲頂部や臀部下部(坐骨結節、尾骨、仙骨下部)でない場合も、背もたれパッドやヘッドレストは着脱、位置変えが自在であるので、褥瘡部を避けて支持すれば同様の効果が得られる。よって、本発明になる背もたれおよび着座部は、望ましくない体形や褥瘡の原因を回避でき、着座者の症状の改善ができる。 Therefore, even if you develop pressure ulcers at the top of the vertebral fold and the lower part of the hips (sciatic tuberosity, coccyx, lower sacrum), the pressure on the same part is eliminated, so blood circulation improves and the skin can also dry. Symptoms can be improved. Even if the area where pressure ulcer develops is not the curved top of the spinal column or the lower part of the heel (sciatic tuberosity, coccyx, lower sacrum), the backrest pad and headrest can be detached and repositioned, so avoid the pressure ulcer part. If supported, the same effect can be obtained. Therefore, the backrest and seating portion according to the present invention can avoid the cause of undesirable body shape and pressure ulcer, and can improve the symptoms of the seated person.

次に、課題(4)の「着座者の動作性を損なわない」に関して述べる。「着座者の動作性を損なわない」為には、着座者が姿勢を自由に変えられるように、無用な拘束をしないことが大事である。本発明においては、湾曲した背中は、背もたれ本体の凹部9dに嵌り込むので、背中が背もたれによって前のめりに押され、内臓を圧迫されるようなことは無く、背筋も伸ばせる。また、背もたれパッド10は、背部下方後側面や腰部後側面を斜めから支持するので、腕や肩が束縛されず、上半身の自由度は高い。また、シートクッション5の抜き穴5cは坐骨結節と尾骨および仙骨下部を結んで出来る多角形を取り囲む穴であるから、臀部下部(坐骨結節、尾骨、仙骨下部)がクッション心材5aに当接することはなく、しかも、外皮5fが伸縮性を有し、抜き溝5dが、クッション心材の抜き部周辺の変形抵抗を減ずるので、着座位置を少々変えても、臀部下部(坐骨結節、尾骨、仙骨下部)に集中的な圧力は発生せず、臀部の位置変えは自由である。よって、本発明になる背もたれおよび着座部は、着座者の動作性を損なわない。 Next, issue (4) “Does not impair the operability of the seated person” will be described. In order not to impair the operability of the seated person, it is important not to use unnecessary restraint so that the seated person can freely change the posture. In the present invention, since the curved back fits into the recess 9d of the backrest body, the back is pushed forward by the backrest, the internal organs are not compressed, and the back muscles can be stretched. Moreover, since the backrest pad 10 supports the lower back side of the back and the back side of the waist from an oblique direction, the arms and shoulders are not restrained, and the degree of freedom of the upper body is high. Further, the hole 5c of the seat cushion 5 is a hole surrounding a polygon formed by connecting the sciatic nodule, the tailbone, and the lower part of the sacrum, so that the lower part of the buttocks (the sciatic nodule, the tailbone, the lower part of the sacrum) is in contact with the cushion core material 5a. In addition, the outer skin 5f has elasticity, and the extraction groove 5d reduces the deformation resistance around the extraction part of the cushion core material, so even if the seating position is slightly changed, the lower part of the buttocks (sciatic tuberosity, tailbone, lower sacrum) Intensive pressure is not generated in this area, and the position of the buttocks can be freely changed. Therefore, the backrest and the seating portion according to the present invention do not impair the operability of the seated person.

最後に、課題(5)の「汎用性と経済性を備える」に関して述べる。「汎用性と経済性を備える」為には、背もたれや着座部は、多様な体格、体形、着座姿勢に対応でき、既存の椅子に適用でき、しかも、耐久性があり、安価であることが大事である。その為には、背もたれ角度や着座部の位置および各部品の取り付け位置が簡便に変更でき、しかも、既存の椅子にもそのまま取り付けでき、かつ、損耗部品の交換も容易であることが大事であり、また、部品構造が単純で、安価に製作できることが大事である。 Finally, issue (5) “Providing versatility and economy” will be described. In order to “provide versatility and economy”, the backrest and seating section can be applied to existing chairs, can be applied to various physiques, body shapes, and sitting postures, and must be durable and inexpensive. It is important. For that purpose, it is important that the backrest angle, the position of the seating part, and the mounting position of each part can be easily changed, can be mounted on an existing chair as it is, and replacement of worn parts is easy. Also, it is important that the component structure is simple and can be manufactured at low cost.

本発明において、各構成部品は、先に述べた如く、それぞれ着脱、位置変えが自在であるので、背もたれ8の背もたれ角度や着座部3の位置、および各部品の取り付け位置は、着座者の体格や体形、着座姿勢に合わせて、簡便に変更できる。また、図11、12の如く、シートフレーム支持板23や支持板取り付けバンド24など、数点の部品追加により、椅子用後付アタッチメントとして、既存の椅子にもそのまま取り付けできる。また、相対的に損耗し易いヘッドレスト11、背もたれパッド10およびシートクッション5は、着脱自在であるので、それだけ取り替えれば全体として長期間使用でき、耐久性を得られる。また、各構成部品は、単純な構造であり(例えば、背もたれ本体9は、その背面を板状の補強材9aで補強した、前面に凹部9dを有する硬質発泡ウレタンなどからなる厚板状の背もたれ本体心材9bを、外皮9cで一体的に包んでなるが、背もたれ本体心材は、凹部および補強材とともに、注入発泡による一体成型で同時成形できる)、安価に製作できる。よって、本発明になる背もたれおよび着座部は、汎用性と経済性を備える。 In the present invention, as described above, each component can be freely attached and detached, and the position thereof can be freely changed. It can be easily changed according to body shape and sitting posture. Further, as shown in FIGS. 11 and 12, by adding several parts such as a seat frame support plate 23 and a support plate mounting band 24, it can be attached to an existing chair as it is as a retrofit attachment for the chair. Further, since the headrest 11, the backrest pad 10, and the seat cushion 5 that are relatively easily worn are detachable, if they are replaced, they can be used for a long time as a whole, and durability can be obtained. Each component has a simple structure (for example, the backrest main body 9 has a thick plate-like backrest made of hard foamed urethane or the like having a concave portion 9d on the front surface, the back surface of which is reinforced with a plate-shaped reinforcing material 9a. Although the main body core 9b is integrally wrapped with the outer skin 9c, the backrest main body core can be formed simultaneously with the concave portion and the reinforcing material by integral molding by injection foaming), and can be manufactured at low cost. Therefore, the backrest and the seating portion according to the present invention have versatility and economy.

本発明の背もたれおよび着座部を起立補助椅子に適用した実施形態(1)の側面断面図(A)および正面部分断面図(B)Side cross-sectional view (A) and front partial cross-sectional view (B) of embodiment (1) in which the backrest and seating portion of the present invention are applied to a standing auxiliary chair 実施形態(1)の使用形態を示す斜視図The perspective view which shows the usage type of embodiment (1) 実施形態(1)の椅子本体の一般的な構成を示す側面図(A)および正面図(B)Side view (A) and front view (B) showing general configuration of chair body of embodiment (1) シートフレームの上面図(A)およびA−A断面矢視図(B)およびB−B断面矢視図(C)Top view of seat frame (A), AA cross section arrow view (B) and BB cross section arrow view (C) シートクッションの上面図(A)およびA−A断面矢視図(B)およびB−B断面矢視図(C)Top view of seat cushion (A) and AA cross section arrow view (B) and BB cross section arrow view (C) スペーサーの斜視図Perspective view of spacer 背もたれ本体取り付けベルトの上面図Top view of the backrest mounting belt 背もたれ本体の正面図(A)およびA−A断面矢視図(B)およびB−B断面矢視図(C)Front view of backrest body (A) and AA cross section arrow view (B) and BB cross section arrow view (C) 背もたれパッドの斜視図Perspective view of the back pad ヘッドレストの正面図(A)および横断面図(B)Front view (A) and cross-sectional view (B) of the headrest 本発明の背もたれおよび着座部を既存の起立補助椅子に適用した実施形態(2)の側面断面図(A)および正面部分断面図(B)Side cross-sectional view (A) and front partial cross-sectional view (B) of embodiment (2) in which the backrest and seating portion of the present invention are applied to an existing standing auxiliary chair 実施形態(2)の使用形態を示す斜視図The perspective view which shows the usage condition of embodiment (2) 既存の起立補助椅子の一般的な構成を示す側面図(A)および正面図(B)Side view (A) and front view (B) showing the general configuration of an existing standing chair シートフレーム支持板の上面図(A)および側面図(B)Top view (A) and side view (B) of seat frame support plate 支持板取り付けベルトの上面図Top view of support plate mounting belt 本発明の背もたれおよび着座部が支持する身体の部位を示す図The figure which shows the site | part of the body which the backrest and seating part of this invention support 既存の起立補助椅子の使用形態を示す斜視図The perspective view which shows the usage form of the existing standing auxiliary chair 骨盤の前面図Front view of pelvis 望ましくない座り方を示す図Illustration showing undesirable sitting 特許文献1に開示された車椅子の座部に用いた座クッションの斜視図。The perspective view of the seat cushion used for the seat part of the wheelchair disclosed by patent document 1. FIG. 図20に示す座クッションの左半分の分解図。The exploded view of the left half of the seat cushion shown in FIG. 特許文献2に開示された座位保持クッションの要部斜視図。The principal part perspective view of the sitting position holding cushion disclosed by patent document 2. FIG. 特許文献3に開示されたクッション材の断面図Sectional view of cushion material disclosed in Patent Document 3 特許文献4に開示された座椅子上に設けたクッションシートの斜視図。The perspective view of the cushion sheet provided on the seat chair disclosed by patent document 4. FIG. 特許文献5に開示されたシートクッションの説明図。Explanatory drawing of the seat cushion disclosed by patent document 5. FIG. 特許文献6に開示された褥創予防マットの構成を示す斜視図。The perspective view which shows the structure of the wound prevention mat | matte disclosed by patent document 6. FIG. 特許文献7に開示された座部システムの斜視図。The perspective view of the seat part system disclosed by patent document 7. FIG. 特許文献8に開示された椅子用クッションの実施形態に関わる構成図。The block diagram in connection with embodiment of the cushion for chairs disclosed by patent document 8. FIG.

符号の説明Explanation of symbols

1 福祉用椅子(起立補助椅子)
2 椅子本体
2a ベース
2b 駆動部
2c リフト用コラム
2d シートフレーム支持板
2e マジックテープ(メス)
2f 背もたれ支持板
2g 肘掛
3 着座部
4 シートフレーム
4a 補強材
4b シートフレーム心材
4c 外皮
4d 凹部
4e 通気溝
4f マジックテープ(オス)
4g マジックテープ(メス)
5 シートクッション
5a クッション心材
5b 抜き部
5c 抜き穴
5d 抜き溝
5e 補強材
5f 外皮
5g 空間
5h マジックテープ(オス)
6 スペーサー
6a スペーサー心材
6b 外皮
6c マジックテープ(オス)
7 背もたれ取り付けバンド
7a テープ
7b マジックテープ(メス)
8 背もたれ
9 背もたれ本体
9a 補強材
9b 背もたれ本体心材
9c 外皮
9d 凹部
9e マジックテープ(メス)
9f マジックテープ(メス)
9g マジックテープ(メス)
9h マジックテープ(オス)
10 背もたれパッド
10a パッド本体
10b 外皮
10c マジックテープ(オス)
11 ヘッドレスト
11a 積層材
11b 補強材
11c ヘッドレスト心材
11d クッション材
11e 外皮
11f マジックテープ(オス)
21 福祉用椅子(起立補助椅子)
22 椅子本体
22A 既存の起立補助椅子
22a ベース
22b 駆動部
22c リフト用コラム
22d シート
22f 背もたれ
22g 肘掛
23 シートフレーム支持板
23a プレート
23b マジックテープ(メス)
24 支持板取り付けバンド
24a テープ
24b マジックテープ(オス、メス)
1 Welfare chair (stand-up auxiliary chair)
2 Chair body 2a Base 2b Drive unit 2c Lift column 2d Seat frame support plate 2e Magic tape (female)
2f Backrest support plate 2g Armrest 3 Seat part 4 Seat frame 4a Reinforcement material 4b Seat frame core 4c Outer skin 4d Recess 4e Ventilation groove 4f Magic tape (male)
4g Velcro (female)
5 Seat Cushion 5a Cushion Core Material 5b Extraction Part 5c Extraction Hole 5d Extraction Groove 5e Reinforcing Material 5f Outer Skin 5g Space 5h Magic Tape (Male)
6 Spacer 6a Spacer core 6b Outer skin 6c Magic tape (male)
7 Backrest mounting band 7a Tape 7b Magic tape (female)
8 Backrest 9 Backrest body 9a Reinforcing material 9b Backrest body core 9c Outer skin 9d Recess 9e Magic tape (female)
9f Magic tape (female)
9g Velcro (female)
9h Magic tape (male)
10 Backrest pad 10a Pad body 10b Outer skin 10c Magic tape (male)
11 Headrest 11a Laminated material 11b Reinforcement material 11c Headrest core material 11d Cushion material 11e Outer skin 11f Magic tape (male)
21 Welfare chair (stand-up auxiliary chair)
22 Chair Main Body 22A Existing Standing Auxiliary Chair 22a Base 22b Drive 22c Lift Column 22d Seat 22f Backrest 22g Armrest 23 Seat Frame Support Plate 23a Plate 23b Magic Tape (Female)
24 Support plate mounting band 24a Tape 24b Magic tape (male, female)

Claims (10)

背もたれと着座部および椅子本体などからなる椅子において、
背もたれは、その前面に背中などが嵌り込む十分大きく深い凹部を有する背もたれ本体と、背もたれパッドおよびヘッドレストからなり、該凹部の下方左右側部に取り付けた背もたれパッドと、背もたれ本体上方に該本体を横断して取り付けたヘッドレストは、着脱および位置変えが自在であり、着座部は、その上面に、通気溝を備えてなる、臀部が嵌り込む十分大きく深い凹部を有するシートフレームと、前部が厚く後部が薄い、抜き部を有するシートクッションからなり、シートクッションは、前記シートフレームの上面に、着脱自在に載置してなることを特徴とする福祉用椅子の背もたれおよび着座部。
In a chair consisting of a backrest, a seating part and a chair body,
The backrest is composed of a backrest body having a sufficiently large and deep recessed portion into which the back and the like fit into the front surface, a backrest pad and a headrest, and a backrest pad attached to the lower left and right side portions of the recessed portion, and the backrest body crossing the main body above the backrest body. The headrest attached can be freely attached and detached, and the position of the headrest can be freely changed, and the seating part is provided with a ventilation groove on the upper surface thereof, a seat frame having a sufficiently large and deep recess into which a collar part fits, and a front part having a thick rear part. The seat back includes a seat cushion having a pull-out portion, and the seat cushion is detachably mounted on the upper surface of the seat frame.
前記背もたれ本体は、その背面下方に着脱、位置変え自在に取り付けたスペーサーを挟み、背もたれ支持板に、前記シートフレームは、シートフレーム支持板に、それぞれ着脱、自在に取り付け、背もたれの角度と着座部の位置は変更自在であることを特徴とする請求項1に記載の福祉用椅子の背もたれおよび着座部 The backrest body has a spacer that is detachably attached and can be repositioned under the back of the back, and the seat frame is attached to the backrest support plate, and the seat frame is detachably attached to the seat frame support plate, the angle of the backrest and the seating portion. 2. The backrest and seating part of the welfare chair according to claim 1, wherein the position of the welfare chair can be changed. 前記背もたれ本体の凹部は、その縦、横断面が、曲がった背中と腰部を模して、台形または半楕円状を呈し、背部下方後側面および腰部後側面を、背もたれパッドで、斜めから差し込むように支持された背中や腰部が、隙間を空けて嵌り込むに十分な凹部であり、シートフレーム上面の、通気溝を備えてなる凹部は、該シートフレームの後部に向って突き出す凸字状を呈し、その外縁から底部に向ってすぼまり落ち込む凹部であり、臀部下部(坐骨結節、尾骨、仙骨下部)が、シートクッションの一部とともにその底部や底部周辺に当接することなく嵌り込み、かつ、臀部上部(腸骨と仙骨上部)が該シートクッションを挟み、該凹部の上縁に嵌り込んで当接するに十分な凹部であり、前記シートクッションの抜き部は、クッション心材の上下面に貫通する抜き穴と該抜き穴に連続する抜き溝からなり、抜き穴は着座姿勢において、坐骨結節と尾骨および仙骨下部を結んで出来る多角形を取り囲む穴であり、抜き溝は前記抜き穴から該心材の対角外方に伸びる溝であることを特徴とする請求項1に記載の福祉用椅子の背もたれおよび着座部。 The recess of the backrest body has a trapezoidal shape or a semi-elliptical shape, imitating a curved back and waist, and the lower back side and the back side of the back are inserted diagonally with a backrest pad. The back and hips supported by the seat are concave enough to fit in with a gap, and the concave on the upper surface of the seat frame, which is provided with a ventilation groove, has a convex shape protruding toward the rear of the seat frame. , A recess that sinks down from the outer edge toward the bottom, and the lower part of the buttocks (sciatic tubercle, coccyx, lower part of the sacrum) fits together with a part of the seat cushion without contacting the bottom or the bottom, and The upper part of the buttocks (the iliac and the upper part of the sacrum) sandwiches the seat cushion and is a concave part sufficient to fit into and contact the upper edge of the concave part. The punched hole is a hole that surrounds a polygon formed by connecting the sciatic nodule to the tailbone and the lower part of the sacrum in the sitting posture. The backrest and the seating part of the welfare chair according to claim 1, wherein the groove extends outwardly diagonally from the core. 前記背もたれ本体は、該背もたれ本体凹部の下方左右側部および上方の両外縁に、マジックテープ(メス)を、背もたれパッドおよびヘッドレストは、その背面にマジックテープ(オス)をそれぞれ有し、前記シートクッションは、該シートクッション下面の前、後部に前記抜き部を挟んでマジックテープ(オス)を、前記シートフレームは、シートフレーム上面の前、後部に前記凹部を挟んでマジックテープ(メス)を有し、これらマジックテープによって、それぞれ着脱が自在であることを特徴とする請求項1および3に記載の福祉用椅子の背もたれおよび着座部。(前記及び以下に使用する「マジックテープ」は商標である) The backrest main body has magic tape (female) on the lower left and right side portions and the upper outer edges of the concave portion of the backrest main body, and the backrest pad and the headrest have magic tape (male) on the back surface thereof, and the seat cushion. Has a magic tape (male) with the punched portion sandwiched in front and rear of the lower surface of the seat cushion, and the seat frame has a magic tape (female) sandwiched with the concave portion in front and rear of the upper surface of the seat frame. The backrest and the seating part of the welfare chair according to claim 1 and 3, wherein the velcro is detachable with the velcro tape. ("Magic tape" used above and below is a trademark) 前記背もたれ本体において、背もたれ本体凹部の下方左右側部および上方の両外縁に取り付けたマジックテープ(メス)は十分広く、背もたれパッドおよびヘッドレストの位置変えは自在であることを特徴とする請求項1および3、4に記載の福祉用椅子の背もたれおよび着座部。 In the backrest main body, the magic tape (female) attached to the lower left and right side portions of the backrest main body recess and the upper outer edges is sufficiently wide, and the position of the backrest pad and the headrest can be freely changed. The backrest and seating part of the welfare chairs as described in 3 and 4. 前記背もたれ本体は、その左右両側面上下にマジックテープ(オス)を、背面下方両外縁に十分広いマジックテープ(メス)を有し、背もたれ取り付けバンドは、その一面両端にマジックテープ(メス)を有してなり、スペーサーは、その背面にマジックテープ(オス)を有してなる。また、シートフレームは、その下面の前、後部にマジックテープ(オス)を有し、シートフレーム支持板はその上面の前、後部に、十分広いマジックテープ(メス)を有し、これらマジックテープによって、それぞれ着脱が自在であり、前記マジックテープ(メス)が十分広いので、スペーサーとシートフレームの位置変えが自在であり、これにより、背もたれの角度と着座部の位置は変更自在であることを特徴とする請求項1ないし5のいずれか1項に記載の福祉用椅子の背もたれおよび着座部 The backrest body has magic tape (male) on the upper and lower sides of the left and right sides, and a wide enough magic tape (female) on the lower outer edges of the back. The backrest mounting band has magic tape (female) on both ends of the one side. Thus, the spacer has a magic tape (male) on its back surface. The seat frame has a magic tape (male) in front and rear of its lower surface, and the seat frame support plate has a sufficiently wide magic tape (female) in front and rear of its upper surface. The velcro tape (female) is wide enough so that the position of the spacer and the seat frame can be changed freely, so that the angle of the backrest and the position of the seating part can be changed. The backrest and seating part of the welfare chair according to any one of claims 1 to 5 前記背もたれにおいて、背もたれ本体は、その背面を板状の補強材で補強した硬質発泡ウレタンなどからなる厚板状の背もたれ本体心材を外皮で一体的に包んでなり、背もたれパッドは、軟質発泡ウレタンなどからなるブロック状のパッド本体を外皮で包んでなり、ヘッドレストは、板状の補強材と硬質発泡ウレタンなどからなるヘッドレスト心材および軟質発泡ウレタンなどからなるクッション材で構成された積層材を外皮で包んでなり、前記着座部において、シートフレームは、その底面を、板状の補強材で補強した厚板状の硬質発泡ウレタンなどからなるシートフレーム心材を外皮で一体的に包んでなり、シートクッションは、その底面を、シートフレームの凹部を囲むように切り抜いた額縁状の補強材で補強した、横断面が踏み台状の、軟質発泡ウレタンなどからなるクッション心材を外皮で包んでなることを特徴とする請求項1ないし6のいずれか1項に記載の福祉用椅子の背もたれおよび着座部。 In the above-mentioned backrest, the backrest main body is integrally wrapped with a thick plate-shaped backrest main body core made of hard foam urethane whose back surface is reinforced with a plate-shaped reinforcing material, and the backrest pad is soft foamed urethane, etc. A block-shaped pad body made of wrapping with a hull, and the headrest wraps with a hull a laminated material composed of a plate-shaped reinforcing material, a headrest core made of hard foamed urethane, etc., and a cushioning material made of soft foamed urethane, etc. In the seating portion, the seat frame is formed by integrally wrapping the bottom of the seat frame core material made of a thick plate-like hard foam urethane reinforced with a plate-like reinforcing material with an outer skin, and the seat cushion is The bottom is reinforced with a frame-shaped reinforcement cut out so as to surround the recess of the seat frame. , The backrest and the seating portion of the Welfare chair according to any one of claims 1 to 6 cushion core made of soft urethane foam, characterized in that it wrapped in skin. 前記背もたれ本体およびシートフレームにおいて、背もたれ本体心材およびシートフレーム心材は、それぞれの凹部および補強材とともに、注入発泡による一体成型で同時成形されてなることを特徴とする請求項1ないし7のいずれか1項に記載の福祉用椅子の背もたれおよび着座部 8. The backrest main body and the seat frame, wherein the backrest main body core and the seat frame core material are simultaneously formed by integral molding by injection foaming together with the respective concave portions and the reinforcing material. Back and seat of the welfare chair 前記背もたれ本体、背もたれパッド、ヘッドレスト、シートクッションおよびシートフレームの外皮材料は、通気性と伸縮性を有し、このうち少なくともシートクッションの外皮材料は、抗菌および撥水加工をしてなることを特徴とする請求項1ないし8のいずれか1項に記載の福祉用椅子の背もたれおよび着座部 The outer back material of the backrest body, the backrest pad, the headrest, the seat cushion, and the seat frame has air permeability and stretchability, and at least the outer material of the seat cushion is antibacterial and water repellent. The backrest and seating part of the welfare chair according to any one of claims 1 to 8 前記請求項1ないし9のいずれか1項に記載の福祉用椅子の背もたれおよび着座部を備えることを特徴とする椅子用後付アタッチメント A back attachment for a chair comprising the backrest and seating portion of the welfare chair according to any one of claims 1 to 9.
JP2006295368A 2006-10-31 2006-10-31 Backrest and seat part for chair for welfare Pending JP2008110096A (en)

Priority Applications (1)

Application Number Priority Date Filing Date Title
JP2006295368A JP2008110096A (en) 2006-10-31 2006-10-31 Backrest and seat part for chair for welfare

Applications Claiming Priority (1)

Application Number Priority Date Filing Date Title
JP2006295368A JP2008110096A (en) 2006-10-31 2006-10-31 Backrest and seat part for chair for welfare

Publications (1)

Publication Number Publication Date
JP2008110096A true JP2008110096A (en) 2008-05-15

Family

ID=39442960

Family Applications (1)

Application Number Title Priority Date Filing Date
JP2006295368A Pending JP2008110096A (en) 2006-10-31 2006-10-31 Backrest and seat part for chair for welfare

Country Status (1)

Country Link
JP (1) JP2008110096A (en)

Cited By (3)

* Cited by examiner, † Cited by third party
Publication number Priority date Publication date Assignee Title
JP2009148536A (en) * 2007-11-30 2009-07-09 Hirohiko Takeda Chairs and chair fittings
JP2010104638A (en) * 2008-10-31 2010-05-13 Ts Tech Co Ltd Seat
KR101594170B1 (en) * 2014-12-18 2016-02-16 주식회사 포트 Wheelchair seat back structure with a position auxiliary functions

Cited By (4)

* Cited by examiner, † Cited by third party
Publication number Priority date Publication date Assignee Title
JP2009148536A (en) * 2007-11-30 2009-07-09 Hirohiko Takeda Chairs and chair fittings
JP2011245340A (en) * 2007-11-30 2011-12-08 Hirohiko Takeda Chair
JP2010104638A (en) * 2008-10-31 2010-05-13 Ts Tech Co Ltd Seat
KR101594170B1 (en) * 2014-12-18 2016-02-16 주식회사 포트 Wheelchair seat back structure with a position auxiliary functions

Similar Documents

Publication Publication Date Title
KR102163201B1 (en) Functional chair
US5857749A (en) Wheelchair seat assembly with contoured seat pan and cushion and method
EP2559358B1 (en) Lumbar support seat
US5123699A (en) Portable, customized patient support system with detachable bottom back and side cushions and method of using
US4500137A (en) Physiological chair
ES2708725T3 (en) A comfortable orthopedic chair for the prevention of diseases of the spine
US20120112506A1 (en) Posture Trainer
US4458943A (en) Spring seat
US20220287463A1 (en) Seat and lumbar support cushion
US20050023872A1 (en) Modular seat cushion with interlocking human support and base portions and method of creating and using a seat cushion
KR20150047490A (en) A sitting device for prevention of spinal diseases
JP2832705B2 (en) Sitting equipment
JP3137036U (en) Chair
JP4686678B2 (en) Chair cushion and wheelchair equipped with the cushion
JP2008110096A (en) Backrest and seat part for chair for welfare
JP2019042421A (en) cushion
JP7627074B1 (en) cushion
JPH11239526A (en) Cushion for chair capable of adjusting angle
JP7670946B2 (en) Arm pillow
JP7671553B2 (en) Backrest
CN220192569U (en) Ergonomic seat
JP2006095262A (en) cushion
US20100078977A1 (en) Posture trainer
JPH11155696A (en) Floor cushion
CN223247858U (en) Flexible support&#39;s waist support cushion