JP2008091320A - 半導体加工リアクタ用のランプ締結具 - Google Patents

半導体加工リアクタ用のランプ締結具 Download PDF

Info

Publication number
JP2008091320A
JP2008091320A JP2007159858A JP2007159858A JP2008091320A JP 2008091320 A JP2008091320 A JP 2008091320A JP 2007159858 A JP2007159858 A JP 2007159858A JP 2007159858 A JP2007159858 A JP 2007159858A JP 2008091320 A JP2008091320 A JP 2008091320A
Authority
JP
Japan
Prior art keywords
eyelet
screw
lamp
fastener
assembly
Prior art date
Legal status (The legal status is an assumption and is not a legal conclusion. Google has not performed a legal analysis and makes no representation as to the accuracy of the status listed.)
Granted
Application number
JP2007159858A
Other languages
English (en)
Other versions
JP5301796B2 (ja
JP2008091320A5 (ja
Inventor
Robert C Haro
シー. ハロ ロバート
Ellis G Harvey
ジー. ハーヴィー エリス
Current Assignee (The listed assignees may be inaccurate. Google has not performed a legal analysis and makes no representation or warranty as to the accuracy of the list.)
ASM America Inc
Original Assignee
ASM America Inc
Priority date (The priority date is an assumption and is not a legal conclusion. Google has not performed a legal analysis and makes no representation as to the accuracy of the date listed.)
Filing date
Publication date
Application filed by ASM America Inc filed Critical ASM America Inc
Publication of JP2008091320A publication Critical patent/JP2008091320A/ja
Publication of JP2008091320A5 publication Critical patent/JP2008091320A5/ja
Application granted granted Critical
Publication of JP5301796B2 publication Critical patent/JP5301796B2/ja
Active legal-status Critical Current
Anticipated expiration legal-status Critical

Links

Images

Classifications

    • HELECTRICITY
    • H01ELECTRIC ELEMENTS
    • H01RELECTRICALLY-CONDUCTIVE CONNECTIONS; STRUCTURAL ASSOCIATIONS OF A PLURALITY OF MUTUALLY-INSULATED ELECTRICAL CONNECTING ELEMENTS; COUPLING DEVICES; CURRENT COLLECTORS
    • H01R11/00Individual connecting elements providing two or more spaced connecting locations for conductive members which are, or may be, thereby interconnected, e.g. end pieces for wires or cables supported by the wire or cable and having means for facilitating electrical connection to some other wire, terminal, or conductive member, blocks of binding posts
    • H01R11/11End pieces or tapping pieces for wires, supported by the wire and for facilitating electrical connection to some other wire, terminal or conductive member
    • H01R11/26End pieces terminating in a screw clamp, screw or nut
    • CCHEMISTRY; METALLURGY
    • C23COATING METALLIC MATERIAL; COATING MATERIAL WITH METALLIC MATERIAL; CHEMICAL SURFACE TREATMENT; DIFFUSION TREATMENT OF METALLIC MATERIAL; COATING BY VACUUM EVAPORATION, BY SPUTTERING, BY ION IMPLANTATION OR BY CHEMICAL VAPOUR DEPOSITION, IN GENERAL; INHIBITING CORROSION OF METALLIC MATERIAL OR INCRUSTATION IN GENERAL
    • C23CCOATING METALLIC MATERIAL; COATING MATERIAL WITH METALLIC MATERIAL; SURFACE TREATMENT OF METALLIC MATERIAL BY DIFFUSION INTO THE SURFACE, BY CHEMICAL CONVERSION OR SUBSTITUTION; COATING BY VACUUM EVAPORATION, BY SPUTTERING, BY ION IMPLANTATION OR BY CHEMICAL VAPOUR DEPOSITION, IN GENERAL
    • C23C16/00Chemical coating by decomposition of gaseous compounds, without leaving reaction products of surface material in the coating, i.e. chemical vapour deposition [CVD] processes
    • C23C16/44Chemical coating by decomposition of gaseous compounds, without leaving reaction products of surface material in the coating, i.e. chemical vapour deposition [CVD] processes characterised by the method of coating
    • C23C16/48Chemical coating by decomposition of gaseous compounds, without leaving reaction products of surface material in the coating, i.e. chemical vapour deposition [CVD] processes characterised by the method of coating by irradiation, e.g. photolysis, radiolysis, particle radiation
    • C23C16/481Chemical coating by decomposition of gaseous compounds, without leaving reaction products of surface material in the coating, i.e. chemical vapour deposition [CVD] processes characterised by the method of coating by irradiation, e.g. photolysis, radiolysis, particle radiation by radiant heating of the substrate
    • HELECTRICITY
    • H01ELECTRIC ELEMENTS
    • H01LSEMICONDUCTOR DEVICES NOT COVERED BY CLASS H10
    • H01L21/00Processes or apparatus adapted for the manufacture or treatment of semiconductor or solid state devices or of parts thereof
    • H01L21/67Apparatus specially adapted for handling semiconductor or electric solid state devices during manufacture or treatment thereof; Apparatus specially adapted for handling wafers during manufacture or treatment of semiconductor or electric solid state devices or components ; Apparatus not specifically provided for elsewhere
    • H01L21/67005Apparatus not specifically provided for elsewhere
    • H01L21/67011Apparatus for manufacture or treatment
    • H01L21/67098Apparatus for thermal treatment
    • H01L21/67115Apparatus for thermal treatment mainly by radiation
    • HELECTRICITY
    • H05ELECTRIC TECHNIQUES NOT OTHERWISE PROVIDED FOR
    • H05BELECTRIC HEATING; ELECTRIC LIGHT SOURCES NOT OTHERWISE PROVIDED FOR; CIRCUIT ARRANGEMENTS FOR ELECTRIC LIGHT SOURCES, IN GENERAL
    • H05B3/00Ohmic-resistance heating
    • H05B3/0033Heating devices using lamps
    • H05B3/0038Heating devices using lamps for industrial applications
    • H05B3/0047Heating devices using lamps for industrial applications for semiconductor manufacture
    • H10P72/0436
    • FMECHANICAL ENGINEERING; LIGHTING; HEATING; WEAPONS; BLASTING
    • F16ENGINEERING ELEMENTS AND UNITS; GENERAL MEASURES FOR PRODUCING AND MAINTAINING EFFECTIVE FUNCTIONING OF MACHINES OR INSTALLATIONS; THERMAL INSULATION IN GENERAL
    • F16BDEVICES FOR FASTENING OR SECURING CONSTRUCTIONAL ELEMENTS OR MACHINE PARTS TOGETHER, e.g. NAILS, BOLTS, CIRCLIPS, CLAMPS, CLIPS OR WEDGES; JOINTS OR JOINTING
    • F16B41/00Measures against loss of bolts, nuts, or pins; Measures against unauthorised operation of bolts, nuts or pins
    • F16B41/002Measures against loss of bolts, nuts or pins
    • FMECHANICAL ENGINEERING; LIGHTING; HEATING; WEAPONS; BLASTING
    • F16ENGINEERING ELEMENTS AND UNITS; GENERAL MEASURES FOR PRODUCING AND MAINTAINING EFFECTIVE FUNCTIONING OF MACHINES OR INSTALLATIONS; THERMAL INSULATION IN GENERAL
    • F16BDEVICES FOR FASTENING OR SECURING CONSTRUCTIONAL ELEMENTS OR MACHINE PARTS TOGETHER, e.g. NAILS, BOLTS, CIRCLIPS, CLAMPS, CLIPS OR WEDGES; JOINTS OR JOINTING
    • F16B43/00Washers or equivalent devices; Other devices for supporting bolt-heads or nuts
    • HELECTRICITY
    • H01ELECTRIC ELEMENTS
    • H01RELECTRICALLY-CONDUCTIVE CONNECTIONS; STRUCTURAL ASSOCIATIONS OF A PLURALITY OF MUTUALLY-INSULATED ELECTRICAL CONNECTING ELEMENTS; COUPLING DEVICES; CURRENT COLLECTORS
    • H01R11/00Individual connecting elements providing two or more spaced connecting locations for conductive members which are, or may be, thereby interconnected, e.g. end pieces for wires or cables supported by the wire or cable and having means for facilitating electrical connection to some other wire, terminal, or conductive member, blocks of binding posts
    • H01R11/11End pieces or tapping pieces for wires, supported by the wire and for facilitating electrical connection to some other wire, terminal or conductive member
    • H01R11/12End pieces terminating in an eye, hook, or fork
    • HELECTRICITY
    • H01ELECTRIC ELEMENTS
    • H01RELECTRICALLY-CONDUCTIVE CONNECTIONS; STRUCTURAL ASSOCIATIONS OF A PLURALITY OF MUTUALLY-INSULATED ELECTRICAL CONNECTING ELEMENTS; COUPLING DEVICES; CURRENT COLLECTORS
    • H01R4/00Electrically-conductive connections between two or more conductive members in direct contact, i.e. touching one another; Means for effecting or maintaining such contact; Electrically-conductive connections having two or more spaced connecting locations for conductors and using contact members penetrating insulation
    • H01R4/28Clamped connections, spring connections
    • H01R4/30Clamped connections, spring connections utilising a screw or nut clamping member
    • H01R4/302Clamped connections, spring connections utilising a screw or nut clamping member having means for preventing loosening of screw or nut, e.g. vibration-proof connection

Landscapes

  • Chemical & Material Sciences (AREA)
  • Engineering & Computer Science (AREA)
  • Manufacturing & Machinery (AREA)
  • Toxicology (AREA)
  • Health & Medical Sciences (AREA)
  • Metallurgy (AREA)
  • General Chemical & Material Sciences (AREA)
  • Organic Chemistry (AREA)
  • Mechanical Engineering (AREA)
  • Materials Engineering (AREA)
  • Chemical Kinetics & Catalysis (AREA)
  • Power Engineering (AREA)
  • Condensed Matter Physics & Semiconductors (AREA)
  • General Physics & Mathematics (AREA)
  • Microelectronics & Electronic Packaging (AREA)
  • Physics & Mathematics (AREA)
  • Computer Hardware Design (AREA)
  • Resistance Heating (AREA)
  • Chemical Vapour Deposition (AREA)
  • Fastening Of Light Sources Or Lamp Holders (AREA)
  • Arrangement Of Elements, Cooling, Sealing, Or The Like Of Lighting Devices (AREA)

Abstract

【課題】ねじの交換を容易にできかつねじが不用意に外れない、半導体加工リアクタ内にランプをねじ留めするための締結具を提供する。
【解決手段】放射加熱された半導体加工リアクタ内にランプを取り付け得る被捕捉型の締結具38は、ランプの各端部のハトメ形末端部32内に捕捉され、これにより、締結具38が、ランプに回転式に留められる。ハトメ形末端部32は、締結具38のねじ切りされた部分内に螺合される、ねじ切りされた開口部を具え得る。あるいは、末端部を適合させることは、末端部から挿入される締結具の上部上にタブ、導電体延長部、またはハウジングアセンブリを重ね合わせることで行い得る。別の実施形態では、末端部を適合させることは、末端部を通って挿入される締結具の円形の蟻溝とノッチ付き突起部とを係合させることで行い得る。
【選択図】図2B

Description

本発明は、概ね、半導体加工リアクタに適切な加熱ランプに関する。
化学気相成長(CVD)は、半導体産業において非常によく知られている、シリコンウエハなどの基板上に原料から薄膜を形成するプロセスである。CVDプロセスでは、堆積される原料成分を含む気体分子が、ウエハに供給されて、化学反応によりウエハ上にその原料から薄膜が形成される。一般に、CVDプロセスは、化学反応を促進し高品質の膜を生成するように、高温で行われる。
基板(例えば、シリコンウエハ)は、抵抗加熱、誘導加熱、または放射加熱を用いて加熱し得る。これらの間では、放射加熱が、最も効率のよい技術であり、よって、いくつかのタイプのCVDに、特にコールドウォール型リアクタに、現在好ましい方法であり、このリアクタでは、各加熱サイクルにおいて急速加熱することが望ましい。同様に、放射加熱は、短時間アニール(RTA)、高速熱処理装置(RTP)、エッチング器具などの多数の他のタイプの半導体加工リアクタにおいて好ましい。放射加熱には、リアクタと呼ばれる高温炉内に赤外線ランプを配置する必要がある。現在、ランプは、真鍮座金およびねじでリアクタに留め付けられる。リアクタ内の空間は制限されるので、これらのねじは、差し込みおよび/または交換が難しく、またリアクタの機器自体の中で紛失してしまうことも多い。紛失したねじは、リアクタに損傷を与え、電気的短絡を引き起こす恐れがあり、その結果、ランプの交換中にねじの場所を突き止め交換する時間が、無駄になる。
したがって、先の構成の上述の問題を回避する、半導体加工リアクタ内において加熱ランプを留め付ける手段への要望が存在する。
本発明の一態様において、半導体加工用ランプを提供する。ランプは、ランプボディと、ランプボディ内のフィラメントと、被捕捉型の締結具アセンブリと、フィラメントから被捕捉型の締結具への電気的接続を提供する導電コネクタと、を含む。
被捕捉型の締結具は、いくつかの形態の1つを取り得ることが理解される。好ましい実施形態では、被捕捉型の締結具は、ねじ切りされたハトメ形末端部を含む。ねじ切りされたねじをハトメ形末端部に螺合させる。ねじの軸の上部のねじ山は、一旦ねじ切りされた部分がねじ切りされたハトメを通過するとねじが自由に回転し得るように、取り除く。別の実施形態では、ハトメ内にねじを保持するように、ランプの導線をハトメの被加締め部分に通す。別の実施形態では、環状の溝を有するねじをハトメ形末端部に挿入する。続いて、保持用スナップリングを環状の溝に係合させる。さらに別の実施形態では、ハトメ形末端部にねじを挿入し、ハトメ形末端部の上部のタブをねじの頭部に係合させる。さらに別の実施形態では、ハウジングアセンブリを有するハトメ形末端部にねじを挿入し、アームにより末端部にヒンジ式に連結したハウジングアセンブリをねじの頭部上に折り曲げる。さらに別の実施形態では、円形の蟻溝を頭部の底に有するねじを、ハトメ形末端部に挿入する。ハトメ形末端部は、ノッチ付きの突起部を有し、ノッチ付き突起部は、円形の蟻溝と係合する上面から延びる。
本発明の別の態様に係る、半導体加工リアクタ用ランプのハトメ形末端部内にねじを維持するための方法を提供する。本方法は、頭部と長い軸部分とを備えるねじを設けるステップを、含み、当該ステップでは、長い軸部分は、ねじ切りされた部分を有する。ねじをハトメ形末端部内に挿入する。ハトメ形末端部からねじが外れないように、ねじをハトメ形末端部内に捕捉する。
本発明の別の態様に係る化学気相成長リアクタを提供する。リアクタは、ランプと、ランプをリアクタ内に留めるための締結具と、ランプをリアクタから取り外した後、締結具をランプ上に保持するための手段と、を含む。
これらは、本発明の他の態様であって、以下の説明および添付の図面から容易に理解されるだろう。当該図面では、同様の番号は、同様の部品を指し、これは、本発明を示すためであって、本発明を限定する意図はない。
図1に、リアクタ内にあるのが一般的である先行技術のランプ10を示す。ここに示すランプ10は、一般に、2つのハトメ形末端部12を含み、このハトメ形末端部は、導電金属からなり、管14の両側に配置され、当該管14は、一般に、石英または他の透過性材料からなる。フィラメント16は、管14の中を通り、各ハトメ形末端部12に電気的に接続される。各ハトメ形末端部12は、(図ではプラスの)真鍮ねじ18および座金20でリアクタに留め付けられる。よって、電源が末端部12に接続されると、一般に当業者に知られるように、フィラメント16には、電流が流れ、放射エネルギー源となり得る。困ったことに、リアクタ内の空間は制限されているので、ねじ18および座金20の取り外しおよび回収を行いにくい。これらのランプはその作動で消耗するので、新しいランプと交換する必要が頻繁に生じる。このように絶えず交換を行うことによって、締結具が落下し紛失する可能性が高くなる。その上、一般的なリアクタは、20を超えるランプ(ハトメおよび締結具は40)を収容するので、締結具が落下する可能性は高くなる。
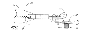
この問題への1つの解決方法として、ハトメ形末端部で締結具を捕捉することを提案する。図2Aおよび図3Aの好ましい実施形態に示すように、石英ランプ30をワイヤまたは導電コネクタ34によりハトメ形末端部32に取り付ける。ハトメ形末端部32の開口部36の内側は、ねじ切りされている。この好ましい実施形態では、六角形の受け部をボタン状頭部40に設けた結果、締結具またはねじ38は、アレンレンチで締め付けられる。当然ながら、代替駆動機構も使用できるので、どんなタイプのねじまたはボルトと取り替えてよい。長い軸部分が、ボタン状頭部40から延びる。軸は、アンダーカット状でねじ切りされていない円筒形中間部42と、先端が鈍い、ねじ切りされた端部44とを有する。捕捉型ねじの組み立ては、ねじ切りされたハトメの中にねじ38を螺合させることにより行う。組み立て後、ねじ切りされていない中間部42は、ハトメ36内を自由に回転するが、ねじ38は、故意に緩めなければ、ねじ切りされたハトメから外れることはない。ランプ30をリアクタ内に取り付ける際、ねじ切りされていない中間部42はハトメ36内において回転自在なままで、ねじ切りされた端部44をリアクタの電極に螺合させ得る。
図1および図2A〜図15の実施形態に係るランプが使用される、例示的な半導体加工リアクタは、アリゾナ州フェニックスのASM America,Inc.から市販品を入手可能なEpsilon(登録商標)化学気相成長リアクタである。Epsilon(登録商標)のチャンバ用の加熱システムの一構成の説明が、「Heating System for Reaction Chamber of Chemical Vapor Deposition Equipment」という発明の名称の、1990年12月4日発行の米国特許第4,975,561号明細書にあり、その開示は、参照によりここに組み込まれる。これに関連して、ここに記載のランプの容量は、6kWから10kWであることが好ましい。
図2Bおよび図3Bに変更した実施形態を示し、当該実施形態では、導電コネクタ34は、延長された真鍮の導線を含み、当該導線は、ねじ38をハトメ形末端部32と接触させて下方に偏ったままにしておくことを支援する。導電コネクタ34は、ハトメ形末端部32の保持部を通って延ばされ、次に、加締められて、その結果、延ばされた部分が、ねじ38の頭部40と接触しそれを保持することを助ける。ここに示すように、この実施形態のハトメ形末端部32には、内側にねじ溝を具える必要はない。
図4および図5に、本発明の別の実施形態に係る、被捕捉型の締結具アセンブリを示す。締結具またはねじ38は、ボタン状頭部40と、頭部40から延びる長い軸部とを有する。軸は、アンダーカット状でねじ切りされていない円筒形中間部42と、先端が鈍くねじ切りされた端部44と、を有する。環状の溝46(図5)が、ねじ切りされた端部44に最も近い端部に隣接して設けられる。ねじ部材を、ハトメとの関係において捕捉されて回転し得るように保持するための保持用スナップリング48(例えば、Eリング、Cリング)が設けられる。保持用スナップリング48は、間隙52を有する環状の周縁リム50を含む。リム50は、ねじ部材の環状の溝46と係合し得る。被捕捉型のねじの組み立ては、座金を伴ってまたは伴わずに、ハトメ形末端部32の中にねじ38を挿入することにより行う。ねじ部材は、保持用スナップリング48のリム50をねじ38の環状の溝46内に係合させることにより、捕捉され、リング48は、ハトメ形末端部32の下側に配置される。
図6は、本発明のさらに別の実施形態に係る被捕捉型の締結具アセンブリの側面図であり、図7は、本発明のさらに別の実施形態に係る被捕捉型の締結具アセンブリの平面図である。石英ランプ30は、導電コネクタ34によりハトメ形末端部32に取り付けられる。締結具またはねじ38は、六角形の受け部付きのボタン状頭部40と、先端が鈍くねじ切りされた部分44とを有する。ハトメ形末端部32はねじ切りされていないので、ねじ38に、ねじ切りされていない部分を含ませる必要はない。ねじ38を、ハトメ末端部32との関係において捕捉されて回転し得るように保持するために、ハトメ32は、上向きに突出する四角形の3つのタブ60を上面の直径の周りに均等な間隔をおいて配置した統合型の捕捉部分を有する。ここに示した3つの撓み得るタブの代わりに、1つまたはそれ以上の撓み得るタブを使用してよい。図8〜図9に示すように、被捕捉型のねじの組み立ては、ハトメ形末端部32の中に、座金を伴ってまたは伴わずに、ねじ38を挿入することにより行う。ねじ38の頭部40上にタブ60が撓むことにより、ねじ38が捕捉される。図10に示すように、ここに示す撓み得るタブの構成の代わりに、タブを、適合性のある形状にして、例えば、タブ60が、係合すると、ねじ部材の頭部40の周りにスナップ留めされ得る波状にして固定し得ることが、理解されるだろう。
図11は、本発明のさらに別の実施形態に係る被捕捉型の締結具アセンブリの側面図であり、図12は、本発明のさらに別の実施形態に係る被捕捉型の締結具アセンブリの上下面の図である。ねじを、ハトメ形末端部32との関係において捕捉され回転し得るように保持するために、ハウジングアセンブリ74を追加することにより、ハトメ形末端部32を変更している。ハウジングアセンブリ74は、円錐形のキャップ部材76を含み、当該キャップ部材76は、アーム78によりハトメ形末端部32にヒンジ式に連結される。アーム部78は、ハトメ部分にハウジングアセンブリをかぶせるように適合されて、ねじ部材の頭部40に係合させて捕捉することを目的として、半径周りに屈曲させ得る。ねじ部材の頭部にドライバーを到達させるための貫通孔80を、キャップの上部に設ける。締め付け機構(図示せず)をねじに到達させ締め付け機構でねじを操作し得る程度大きく、ハトメ形末端部32からねじが外れるのを妨げる程度小さい、締め付け機構の大きさを選択し得るように、孔80の直径を選択する。
本例では、キャッチアセンブリ82が、円錐形のキャップ76の部材に設けられて、キャップを係合させると固定されるが、図13に示した代替案のように、キャッチアセンブリは省略してよい。図11および図12に戻ると、キャッチアセンブリ82は、固定型の長方形のタブ84を含み、当該タブ84は、円錐形のキャップ部材76の側から外側に延び、遠位端にノッチ86を有する。キャッチアセンブリ82は、タブ88をさらに備え、当該タブ88は、ハトメ形末端部32から上向きに延び適合性のあるキャッチ90を有する。図14に示すように、キャッチ90が円錐形のハウジングアセンブリ74に直接係合するように、ここに示すノッチ86は省略してよいことに留意する。
被捕捉型のねじは、ねじ38を、またはねじおよび座金をハトメ形末端部32の中に挿入することにより、組み立てられる。ねじ部材は、円錐形のキャップ部材76をねじの頭部上に折り曲げることにより、捕捉される。キャッチアセンブリ82を使用する場合、円錐形のキャップ76のノッチ付きのタブ84は、ハトメ形末端部32の適合性のあるタブ90内に係合する。他の構成では、ここに示す円錐形のキャップの構成の代わりに、キャップを他の外形、例えば、リング形にし得ることが理解されるだろう。
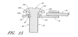
図15は、本発明のさらに別の実施形態における被捕捉型の締結具アセンブリの側面図である。締結具またはねじ38は、六角形の受け部付きのボタン状頭部40を有し、長い軸部分が、頭部40から延びる。軸は、アンダーカット状のねじ切りされていない円筒形の中間部42と、先端が鈍いねじ切りされた端部44とを有する。軸の周りに同心に形成された円形の蟻溝100は、ねじ頭部40の底面に設けられた凹所である。円形の蟻溝100の内径は、ハトメ形末端部32の直径より小さいが、軸の主な直径よりも大きいことに留意する。ハトメ形末端部は、上面から上向きに延び概ね円筒形のカラー102を有する。カラーの内径は、ハトメ形末端部32の内径と位置を合わせる。カラー102は、上面から外側に延び適合性のあるノッチ104を有する。被捕捉型のねじは、ねじ38をハトメ形末端部32の中に挿入することにより、組み立てられる。ねじ部材38は、ねじ部材の円形の蟻溝100を、カラー延長部102の適合性のあるノッチ104に係合させることにより、捕捉される。他の構成において、ここに示したノッチ付きカラーの代わりに、適合性のあるノッチ付きの係合部材を、ハトメ形末端部の上面から上向きに延びる2つまたはそれ以上のノッチ付きのタブなどの他の構成にし得ることが、理解されるだろう。
前述の各実施形態では、意図的な変更をしなければねじがハトメから垂直方向に持ち上がらず、ねじが外れないという意味で、ねじが、ハトメ形末端部内に捕捉される。しかしながら、放射加熱された半導体リアクタ内において対応の端子または電極に迅速に取り付けるためのねじは、ハトメ内を自由に回転する。
本発明の範囲を逸脱せずに種々の変更および変形を行い得ることを、当業者は理解するだろう。このような変更および変形は、添付の特許請求の範囲に定める本発明の範囲内であるものとする。
通常のハトメ形末端部を有し、当該ハトメ形末端部がねじおよび座金でリアクタ内に装着される先行技術のランプの側面図である。 本発明の好ましい実施形態によって構成された、ねじ切りされたハトメ形末端部により捕捉されたねじの側面図である。 本発明の好ましい実施形態によって構成された、延長された導線により捕捉されたねじの側面図である。 図2Aのハトメ形末端部の斜視図である。 図2Bのハトメ形末端部の斜視図である。 本発明の別の実施形態により構成された、保持用スナップリングにより捕捉されたねじの側面図である。 図4におけるねじの側面図、および保持用スナップリングの斜視図である。 本発明のさらに別の実施形態により構成された、ハトメ形末端部上の屈曲させ得るタブにより捕捉されたねじの側面図である。 図6のねじおよび屈曲させ得るタブの上平面図である。 タブでねじが捕捉される前の図6のねじおよびハトメ形末端部の側面図である。 タブでねじが捕捉された後の図6のねじおよびハトメ形末端部の側面図である。 図6に示した実施形態の代替形態の斜視図であって、ここでは、適合性のあるタブが固定されている。 本発明のさらに別の実施形態により構成された、ハトメ形末端部のハウジングアセンブリの斜視図である。 図11のハトメ形末端部およびハウジングの上平面図である。 図11に示す実施形態の代替形態の斜視図であって、ここでは、ノッチおよびキャッチアセンブリがない。 図11に示す実施形態の代替形態の斜視図であって、ここでは、キャッチが、ハウジングアセンブリに直接係合している。 本発明のさらに別の実施形態により構成された、ハトメ形末端部上の適合性のある舌状部により捕捉される円形の蟻溝を有する締結具の側面図である。

Claims (25)

  1. ランプボディと、
    前記ランプボディ内のフィラメントと、
    被捕捉型の締結具アセンブリと、
    導電コネクタと、
    を備え、
    前記フィラメントから前記被捕捉型の締結具アセンブリへの電気的接続を提供する半導体加工用ランプアセンブリ。
  2. 前記被捕捉型の締結具アセンブリは、開口部を有するハトメ部と、前記開口部から挿入される締結具と、を備える請求項1に記載のランプアセンブリ。
  3. 前記被捕捉型の締結具アセンブリは、さらに座金を備える請求項2に記載のランプアセンブリ。
  4. 前記被捕捉型の締結具アセンブリは、導電コネクタの延長部を含み、当該導電コネクタの延長部は、前記締結具を所定位置に保持するように、前記ハトメ部の被加締め部分を通って突出する請求項2に記載のランプアセンブリ。
  5. 前記締結具は、頭部および長い軸部分を含むねじであり、当該長い軸部分は、ねじ切りされていない中間部と、ねじ切りされた端部とを有する請求項2に記載のランプアセンブリ。
  6. 前記開口部は、ねじ切りされ、前記締結具は、前記ねじ切りされた開口部を通って螺合される請求項5に記載のランプアセンブリ。
  7. 環状の溝が、前記ねじ切りされた端部の近位端に隣接して設けられ、また、保持用リングが、前記環状の溝内にスナップ留めされて、前記締結具が前記ハトメに回転式に留められる請求項5に記載のランプアセンブリ。
  8. 前記被捕捉型の締結具アセンブリは、さらに、前記ハトメ部と一体化した捕捉部分をさらに含む請求項2に記載のランプアセンブリ。
  9. 前記捕捉部分は、上向きに突出する複数のタブを含む請求項8に記載のランプアセンブリ。
  10. 前記複数のタブは、前記締結具の頭部上の所定位置に撓むように適合される請求項9に記載のランプアセンブリ。
  11. 前記複数のタブは、適合性があり、前記締結具の頭部の周りにスナップ留めされる形状である請求項9に記載のランプアセンブリ。
  12. 前記捕捉部分は、前記ハトメ部上に配置され得るハウジングアセンブリを含み、さらに、前記ハウジングアセンブリは、前記ハトメ部から延びるアームを含み、当該アームは、前記ハトメ部から間隔を置いて配置されたハウジング部を有し、当該ハウジング部は、開口部を有し、前記アーム部は、前記ハトメ部の上に前記ハウジング部を配置するように適合されて半径周りを撓み得る請求項8に記載のランプアセンブリ。
  13. 前記ハウジング部は、前記ハトメ部から遠位に延びるノッチ付きタブをさらに含み、さらに、前記ハトメは、キャッチタブを含み、当該キャッチタブは、前記ハウジング部の遠位のハトメ部の側から延び、前記キャッチ用突起部を受け入れるように適合される請求項12に記載のランプアセンブリ。
  14. 前記締結具は、頭部および長い軸部分を含み、前記頭部は、底面に円形の蟻溝を有し、前記ハトメ部は、前記円形の蟻溝と係合するように適合され、上向きに延びるノッチ付きの1つまたはそれ以上の突起部をさらに含む請求項2に記載のランプアセンブリ。
  15. 前記上向きに延びるノッチ付きの1つまたはそれ以上の突起部は、前記ハトメ部の開口部と同軸でカラー状の円形突起である請求項14に記載のランプアセンブリ。
  16. 前記上向きに延びるノッチ付きの1つまたはそれ以上の突起部は、複数のタブ突起である請求項14に記載のランプアセンブリ。
  17. 半導体加工リアクタ用ランプのハトメ形末端部内にねじを維持する方法であって、当該方法は、
    頭部と、ねじ切りされた部分を有する長い軸部分とを含むねじを設けるステップと、
    前記ねじを前記ハトメ形末端部内に挿入するステップと、
    前記ハトメ形末端部から前記ねじが外れないように、前記ねじを前記ハトメ形末端部内に捕捉するステップと、
    を含む方法。
  18. 前記捕捉ステップは、前記ねじ切りされた部分を、前記ハトメ形末端部のねじ切りされた開口部に螺合させて通すステップを含む請求項17に記載の方法。
  19. 前記捕捉ステップは、ランプフィラメントに電気的に接続されたコネクタを、前記ハトメ形末端部の被加締め部分の中に延ばすステップを含み、前記導電体は、前記ねじの頭部上を延びる請求項17に記載の方法。
  20. 前記捕捉ステップは、
    前記ねじ切りされた端部の近位端に隣接して環状の溝を設けるステップと、
    前記ねじを前記ハトメ形末端部の開口部に挿入するステップと、
    保持用リングを前記環状の溝内にスナップ留めするステップと、
    を含む請求項17に記載の方法。
  21. 前記捕捉ステップは、
    前記ハトメ形末端部の上面から上向きに突出する複数のタブを設けるステップと、
    前記ねじを前記ハトメ形末端部の開口部に挿入するステップと、
    前記タブを前記ねじの頭部上に配置するステップと、
    を含む請求項17に記載の方法。
  22. 前記捕捉ステップは、
    アームを含むハウジングアセンブリを設けるステップであって、前記アームは、前記ハトメ形末端部から延び、前記ハトメ形末端部から間隔をおいて配置されたハウジング部を有し、前記ハウジング部は、開口部を含み、前記アーム部分は、前記ハトメ形末端部上に前記ハウジング部を配置するように適合されて半径周りに撓ませることができる、ステップと、
    前記ねじを前記ハトメ形末端部の開口部に挿入するステップと、
    前記ハウジングアセンブリを前記ねじの頭部上に配置するステップと、
    を含む請求項17に記載の方法。
  23. 前記ハトメ形末端部の遠位に延びるノッチ付きタブを前記ハウジングアセンブリに設けるステップと、
    前記ハウジング部の遠位の、前記ハトメ形末端部の側から延び、キャッチ用突起部を受け入れるように適合されたキャッチタブを設けるステップと、
    前記ハウジングアセンブリが前記ねじの頭部上に配置されたとき、前記ノッチ付きタブを前記キャッチタブ内に係合させるステップと、
    をさらに含む請求項22に記載の方法。
  24. 前記捕捉ステップは、
    前記頭部の底面に円形の蟻溝を設けるステップと、
    前記ハトメ形末端部の上面から上向きに延びる1つまたはそれ以上のノッチ付き突起部を設けるステップと、
    前記ねじを前記ハトメ形末端部の開口部に挿入するステップと、
    前記ノッチ付き突起部を前記円形の蟻溝内に係合させるステップと、
    を含む請求項17に記載の方法。
  25. ランプと、
    化学気相成長リアクタ内にランプを留めるための締結具と、
    前記ランプを前記リアクタから取り外した後、前記ランプ上に前記締結具を保持するための手段と、
    を含む化学気相成長リアクタ。
JP2007159858A 2006-08-11 2007-06-18 化学気相成長リアクタ Active JP5301796B2 (ja)

Applications Claiming Priority (2)

Application Number Priority Date Filing Date Title
US11/502,935 US7597574B2 (en) 2006-08-11 2006-08-11 Lamp fasteners for semiconductor processing reactors
US11/502,935 2006-08-11

Publications (3)

Publication Number Publication Date
JP2008091320A true JP2008091320A (ja) 2008-04-17
JP2008091320A5 JP2008091320A5 (ja) 2010-08-05
JP5301796B2 JP5301796B2 (ja) 2013-09-25

Family

ID=38581881

Family Applications (1)

Application Number Title Priority Date Filing Date
JP2007159858A Active JP5301796B2 (ja) 2006-08-11 2007-06-18 化学気相成長リアクタ

Country Status (3)

Country Link
US (1) US7597574B2 (ja)
EP (1) EP1893001A3 (ja)
JP (1) JP5301796B2 (ja)

Cited By (2)

* Cited by examiner, † Cited by third party
Publication number Priority date Publication date Assignee Title
JP2019525409A (ja) * 2016-07-22 2019-09-05 サン−ゴバン グラス フランス 導電性要素を備えたグレージング及びその電気接続
KR20220067438A (ko) * 2020-11-17 2022-05-24 주식회사 유라코퍼레이션 전선볼트 고정구조

Families Citing this family (3)

* Cited by examiner, † Cited by third party
Publication number Priority date Publication date Assignee Title
DE102009034128A1 (de) * 2009-07-20 2011-01-27 Haver & Boecker Ohg Schutzeinrichtung für ein Maschinenteil
WO2021087872A1 (en) * 2019-11-07 2021-05-14 Fresenius Medical Care Deutschland Gmbh Fall-proof component for screw, fall-proof screw assembly, fall-proof screw-nut assembly and corresponding part, combination structure and assembly
EP4298352A4 (en) * 2021-02-26 2025-01-22 RDI (Robaina Design Innovations) LLC FASTENING ARRANGEMENT

Citations (7)

* Cited by examiner, † Cited by third party
Publication number Priority date Publication date Assignee Title
JPS54104987U (ja) * 1978-01-10 1979-07-24
US4692343A (en) * 1985-08-05 1987-09-08 Spectrum Cvd, Inc. Plasma enhanced CVD
JPS62201465U (ja) * 1986-06-12 1987-12-22
JPH07100863B2 (ja) * 1987-06-18 1995-11-01 アドヴァンスド・セミコンダクター・マテリアルズ・インコーポレーテッド 化学蒸着装置の反応室用加熱装置
FR2758910A1 (fr) * 1997-01-29 1998-07-31 Peugeot Prise de masse pour un vehicule automobile et son procede d'assemblage
JP2002289549A (ja) * 2001-03-28 2002-10-04 Hitachi Kokusai Electric Inc 基板処理装置
JP2006164621A (ja) * 2004-12-03 2006-06-22 Ushio Inc ヒーターランプ

Family Cites Families (27)

* Cited by examiner, † Cited by third party
Publication number Priority date Publication date Assignee Title
BE406408A (ja) * 1933-11-22
US2151807A (en) 1936-06-18 1939-03-28 Benjamin Electric Ltd Cable terminal
US2387055A (en) * 1942-05-20 1945-10-16 Gen Electric Electric switch for discharge lamps
US2454243A (en) * 1945-09-07 1948-11-16 Arthur E Wiedenhoeft Lighting fixture
BE465060A (ja) * 1946-05-23
US2706804A (en) 1952-09-27 1955-04-19 Gilbert Co A C Wire connection binding clip
US3376779A (en) * 1965-10-23 1968-04-09 Sol Jack Self-locking pin
US3505636A (en) * 1967-05-08 1970-04-07 Clell D Mcdowell Clamping bolt assembly for an easily loosened clamp
US3561075A (en) 1969-07-15 1971-02-09 Motorola Inc Threaded fastener captivating device
US3862397A (en) * 1972-03-24 1975-01-21 Applied Materials Tech Cool wall radiantly heated reactor
US4049335A (en) * 1977-01-10 1977-09-20 Julian Victor J Sealed battery threaded stud termination
US4261402A (en) * 1978-11-06 1981-04-14 Textron, Inc. Captive thread forming terminal screw
US4632497A (en) * 1985-09-18 1986-12-30 Allen-Bradley Company, Inc. Terminal assembly for electrical apparatus
JPH04328043A (ja) * 1991-04-26 1992-11-17 Nippon Sheet Glass Co Ltd 車輌用標識灯の取付構造
US5372781A (en) * 1992-02-18 1994-12-13 Solarchem Enterprises Inc. UV reactor assembly with improved lamp cooling means
US5533916A (en) 1994-01-19 1996-07-09 Leviton Manufacturing Co., Inc. Reverse wire termination device
US5511301A (en) * 1994-07-25 1996-04-30 Textron Inc. Self retaining fastener
DE9412215U1 (de) * 1994-07-28 1994-09-22 Lamson + Sessions GmbH, 58840 Plettenberg Kabelschuh mit Befestigungselement
JP3725913B2 (ja) * 1995-04-12 2005-12-14 株式会社ソミック石川 ボールジョイント装置
US5781692A (en) * 1997-06-04 1998-07-14 Trw Inc. Quartz lamp heater assembly for thin film deposition apparatus
JP3371359B2 (ja) * 1997-07-10 2003-01-27 矢崎総業株式会社 端子の接続固定構造
EP1156552B1 (en) * 2000-03-07 2006-06-21 Sumitomo Wiring Systems, Ltd. A construction for preventing erroneous assembling of battery terminals, a battery and a set of terminals
JP3659863B2 (ja) 2000-04-06 2005-06-15 大日本スクリーン製造株式会社 熱処理装置
US6280263B1 (en) * 2000-05-02 2001-08-28 Yazaki North America, Inc. Anti-rotation terminal with captured nut
TW538974U (en) * 2001-01-03 2003-06-21 Mosel Vitelic Inc Heating lamp brackets for reaction chambers of evaporation coating machines
US7075037B2 (en) 2001-03-02 2006-07-11 Tokyo Electron Limited Heat treatment apparatus using a lamp for rapidly and uniformly heating a wafer
US6648692B1 (en) * 2002-09-30 2003-11-18 Rockwell Automation Technologies, Inc. Zero space fuse system

Patent Citations (7)

* Cited by examiner, † Cited by third party
Publication number Priority date Publication date Assignee Title
JPS54104987U (ja) * 1978-01-10 1979-07-24
US4692343A (en) * 1985-08-05 1987-09-08 Spectrum Cvd, Inc. Plasma enhanced CVD
JPS62201465U (ja) * 1986-06-12 1987-12-22
JPH07100863B2 (ja) * 1987-06-18 1995-11-01 アドヴァンスド・セミコンダクター・マテリアルズ・インコーポレーテッド 化学蒸着装置の反応室用加熱装置
FR2758910A1 (fr) * 1997-01-29 1998-07-31 Peugeot Prise de masse pour un vehicule automobile et son procede d'assemblage
JP2002289549A (ja) * 2001-03-28 2002-10-04 Hitachi Kokusai Electric Inc 基板処理装置
JP2006164621A (ja) * 2004-12-03 2006-06-22 Ushio Inc ヒーターランプ

Cited By (9)

* Cited by examiner, † Cited by third party
Publication number Priority date Publication date Assignee Title
JP2019525409A (ja) * 2016-07-22 2019-09-05 サン−ゴバン グラス フランス 導電性要素を備えたグレージング及びその電気接続
KR20220067438A (ko) * 2020-11-17 2022-05-24 주식회사 유라코퍼레이션 전선볼트 고정구조
KR20220166252A (ko) * 2020-11-17 2022-12-16 주식회사 유라코퍼레이션 전선볼트 고정구조
KR20220166768A (ko) * 2020-11-17 2022-12-19 주식회사 유라코퍼레이션 전선볼트 고정구조
KR20220166769A (ko) * 2020-11-17 2022-12-19 주식회사 유라코퍼레이션 전선볼트 고정구조
KR102484080B1 (ko) 2020-11-17 2023-01-04 주식회사 유라코퍼레이션 전선볼트 고정구조
KR102484081B1 (ko) 2020-11-17 2023-01-04 주식회사 유라코퍼레이션 전선볼트 고정구조
KR102484076B1 (ko) * 2020-11-17 2023-01-04 주식회사 유라코퍼레이션 전선볼트 고정구조
KR102484079B1 (ko) 2020-11-17 2023-01-04 주식회사 유라코퍼레이션 전선볼트 고정구조

Also Published As

Publication number Publication date
US20080038950A1 (en) 2008-02-14
JP5301796B2 (ja) 2013-09-25
US7597574B2 (en) 2009-10-06
EP1893001A2 (en) 2008-02-27
EP1893001A3 (en) 2008-09-17

Similar Documents

Publication Publication Date Title
JP5301796B2 (ja) 化学気相成長リアクタ
KR102322400B1 (ko) 고온 전극 연결들
JP5650547B2 (ja) カムロック電極クランプ
TWI870732B (zh) 用於晶圓處理的升降銷系統、支撐結構及升降銷總成
CN203481190U (zh) 喷头电极、喷头电极组件以及导热和导电的衬垫组
TWI486101B (zh) 用於一電漿處理設備之元件
US6456506B1 (en) Electronic retainer for preventing electromagnetic interference and capable of being absorbed mechanically
CA2639045A1 (en) Screw assembly for electrical connectors
WO2011116990A1 (en) Electrode arrangement
JP6298373B2 (ja) プラズマ処理装置および上部電極アセンブリ
JP2008091320A5 (ja) 化学気相成長リアクタ
TWI575825B (zh) Electronic device
TWI902301B (zh) 電漿摻雜系統及用於電漿摻雜室內的台座上的組件
WO2015138125A1 (en) Device for securing a source of led light to a heat sink surface
CN111560650A (zh) 多晶硅制造装置以及多晶硅
US20120214354A1 (en) Easy Assembling One Click Bulb Socket
CN201104366Y (zh) 一种电阻丝加热器的电极连接装置
JP4349020B2 (ja) 成膜装置
CN1745445A (zh) 用于连接环形电缆终端的接线夹和所属的电气设备
KR20250065624A (ko) 플라즈마 처리 장치에서 사용되는 부품, 플라즈마 처리 장치에서 사용되는 부품의 제조 방법, 및 플라즈마 처리 장치
JP3843899B2 (ja) ランプ
US20170158517A1 (en) Silicon core wire for producing polycrystalline silicon rod, and device for producing polycrystalline silicon rod
JP7770867B2 (ja) 電極フィラメント接続部材、cvd装置及び記録媒体基板の製造方法
JP5133857B2 (ja) 端子台
KR200251797Y1 (ko) 갓 부착용 소켓

Legal Events

Date Code Title Description
RD02 Notification of acceptance of power of attorney

Free format text: JAPANESE INTERMEDIATE CODE: A7422

Effective date: 20090703

RD03 Notification of appointment of power of attorney

Free format text: JAPANESE INTERMEDIATE CODE: A7423

Effective date: 20090703

A521 Request for written amendment filed

Free format text: JAPANESE INTERMEDIATE CODE: A821

Effective date: 20091208

RD04 Notification of resignation of power of attorney

Free format text: JAPANESE INTERMEDIATE CODE: A7424

Effective date: 20091208

A521 Request for written amendment filed

Free format text: JAPANESE INTERMEDIATE CODE: A523

Effective date: 20100618

A621 Written request for application examination

Free format text: JAPANESE INTERMEDIATE CODE: A621

Effective date: 20100618

A977 Report on retrieval

Free format text: JAPANESE INTERMEDIATE CODE: A971007

Effective date: 20120621

A131 Notification of reasons for refusal

Free format text: JAPANESE INTERMEDIATE CODE: A131

Effective date: 20120703

A131 Notification of reasons for refusal

Free format text: JAPANESE INTERMEDIATE CODE: A131

Effective date: 20130409

A521 Request for written amendment filed

Free format text: JAPANESE INTERMEDIATE CODE: A523

Effective date: 20130531

TRDD Decision of grant or rejection written
A01 Written decision to grant a patent or to grant a registration (utility model)

Free format text: JAPANESE INTERMEDIATE CODE: A01

Effective date: 20130618

A61 First payment of annual fees (during grant procedure)

Free format text: JAPANESE INTERMEDIATE CODE: A61

Effective date: 20130620

R150 Certificate of patent or registration of utility model

Ref document number: 5301796

Country of ref document: JP

Free format text: JAPANESE INTERMEDIATE CODE: R150

R250 Receipt of annual fees

Free format text: JAPANESE INTERMEDIATE CODE: R250

R250 Receipt of annual fees

Free format text: JAPANESE INTERMEDIATE CODE: R250

R250 Receipt of annual fees

Free format text: JAPANESE INTERMEDIATE CODE: R250

R250 Receipt of annual fees

Free format text: JAPANESE INTERMEDIATE CODE: R250

R250 Receipt of annual fees

Free format text: JAPANESE INTERMEDIATE CODE: R250

S111 Request for change of ownership or part of ownership

Free format text: JAPANESE INTERMEDIATE CODE: R313113

R250 Receipt of annual fees

Free format text: JAPANESE INTERMEDIATE CODE: R250

R350 Written notification of registration of transfer

Free format text: JAPANESE INTERMEDIATE CODE: R350

R250 Receipt of annual fees

Free format text: JAPANESE INTERMEDIATE CODE: R250

R250 Receipt of annual fees

Free format text: JAPANESE INTERMEDIATE CODE: R250

R250 Receipt of annual fees

Free format text: JAPANESE INTERMEDIATE CODE: R250