JP2008087407A - 射出成形方法 - Google Patents
射出成形方法 Download PDFInfo
- Publication number
- JP2008087407A JP2008087407A JP2006272928A JP2006272928A JP2008087407A JP 2008087407 A JP2008087407 A JP 2008087407A JP 2006272928 A JP2006272928 A JP 2006272928A JP 2006272928 A JP2006272928 A JP 2006272928A JP 2008087407 A JP2008087407 A JP 2008087407A
- Authority
- JP
- Japan
- Prior art keywords
- mold
- temperature
- molded product
- injection molding
- molding method
- Prior art date
- Legal status (The legal status is an assumption and is not a legal conclusion. Google has not performed a legal analysis and makes no representation as to the accuracy of the status listed.)
- Pending
Links
- 238000001746 injection moulding Methods 0.000 title claims abstract description 29
- 229920003002 synthetic resin Polymers 0.000 claims abstract description 21
- 239000000057 synthetic resin Substances 0.000 claims abstract description 21
- 230000009477 glass transition Effects 0.000 claims description 19
- 239000012778 molding material Substances 0.000 claims description 14
- 238000000465 moulding Methods 0.000 claims description 14
- 230000003287 optical effect Effects 0.000 claims description 5
- 229920005989 resin Polymers 0.000 description 14
- 239000011347 resin Substances 0.000 description 14
- 229920006127 amorphous resin Polymers 0.000 description 5
- 230000007246 mechanism Effects 0.000 description 5
- 238000001816 cooling Methods 0.000 description 4
- 229920006038 crystalline resin Polymers 0.000 description 4
- 238000002347 injection Methods 0.000 description 4
- 239000007924 injection Substances 0.000 description 4
- 239000000463 material Substances 0.000 description 4
- 238000000034 method Methods 0.000 description 4
- 229920000178 Acrylic resin Polymers 0.000 description 3
- 239000004925 Acrylic resin Substances 0.000 description 3
- 238000010438 heat treatment Methods 0.000 description 3
- 239000002184 metal Substances 0.000 description 3
- 229920005668 polycarbonate resin Polymers 0.000 description 3
- 239000004431 polycarbonate resin Substances 0.000 description 3
- 125000006850 spacer group Chemical group 0.000 description 3
- 229920000089 Cyclic olefin copolymer Polymers 0.000 description 2
- 238000005452 bending Methods 0.000 description 2
- 238000010586 diagram Methods 0.000 description 2
- 238000002844 melting Methods 0.000 description 2
- 230000008018 melting Effects 0.000 description 2
- 238000007493 shaping process Methods 0.000 description 2
- 229920005497 Acrypet® Polymers 0.000 description 1
- 229920000297 Rayon Polymers 0.000 description 1
- 238000005299 abrasion Methods 0.000 description 1
- 201000009310 astigmatism Diseases 0.000 description 1
- 230000008859 change Effects 0.000 description 1
- 238000006243 chemical reaction Methods 0.000 description 1
- 230000003247 decreasing effect Effects 0.000 description 1
- 238000000605 extraction Methods 0.000 description 1
- 239000011521 glass Substances 0.000 description 1
- 230000005499 meniscus Effects 0.000 description 1
- 230000004044 response Effects 0.000 description 1
- 230000009466 transformation Effects 0.000 description 1
- XLYOFNOQVPJJNP-UHFFFAOYSA-N water Substances O XLYOFNOQVPJJNP-UHFFFAOYSA-N 0.000 description 1
Images
Landscapes
- Injection Moulding Of Plastics Or The Like (AREA)
- Moulds For Moulding Plastics Or The Like (AREA)
Abstract
【課題】短いサイクルタイムで安定した品質の成形品を取出すことができるようにする。
【解決手段】合成樹脂47を射出成形により成形する射出成形方法において、金型10,20から成形品50を取出す際に発生する離型抵抗の大きさよりも、成形品50の弾性率が下回らない温度で成形品50を金型10,20から取出すようにする。
【選択図】 図3
【解決手段】合成樹脂47を射出成形により成形する射出成形方法において、金型10,20から成形品50を取出す際に発生する離型抵抗の大きさよりも、成形品50の弾性率が下回らない温度で成形品50を金型10,20から取出すようにする。
【選択図】 図3
Description
本発明は、成形材料を射出成形用の金型を用いて成形する射出成形方法に関する。
従来、光学機器に用いられる光学材料として、透明性、高屈折性、耐摩耗性等の特性が要求されることから、主にガラス材料が用いられてきたが、近年の小型軽量化、低コスト化等の要請から合成樹脂が用いられるようになった。
この合成樹脂を射出成形する場合、特に光学素子のような高精度成形品を成形する際の金型温度は、通常、ガラス転移点(Tg℃)よりも低い温度とするのが一般的であった(特許文献1参照)。これは、金型温度を、ガラス転移点(Tg℃)よりも高く設定すると、成形品を金型から取出すときに成形品が変形するおそれがあるためである。
一方、高精度が要求される製品の成形では、樹脂の充填時はガラス転移点(Tg℃)よりも金型温度を上げ、冷却時に、金型温度をガラス転移点(Tg℃)以下とする方法も公知である(特許文献2及び特許文献3参照)。
特開2005−193416号公報
特開平3−227610号公報
特開平1−200925号公報
図6に示すように、一般に金型温度は、成形時には樹脂の充填により急激に上昇する。このため、冷却時には、充填時の熱を金型温調管内の媒体により奪い、金型温度を下げ、樹脂を冷却させている。そして、通常は、金型温度が安定になった時点で、すなわち温度安定領域で型開きを行い、成形品を取出す。
しかし、このような状態でサイクルタイムを短縮していくと、温度安定領域になる前に型開きを行うことになる。この時の金型温度、及び成形品の樹脂温度は急激に変化しており、その結果、各成形サイクルのショット毎の金型温度が大きく変動し,製品品質がバラツク要因となる。
本発明は斯かる課題を解決するためになされたもので、短いサイクルタイムで安定した品質の成形品を金型から取出すことのできる射出成形方法を提供することを目的とする。
前記目的を達成するため、請求項1に係る射出成形方法の発明は、
成形材料を射出成形用の金型を用いて成形する射出成形方法において、
前記金型から成形品を取出す際に該成形品に作用する離型抵抗の大きさよりも、前記成形材料の弾性率が下回らないような温度で、前記成形品を前記金型から取出すことを特徴とする。
成形材料を射出成形用の金型を用いて成形する射出成形方法において、
前記金型から成形品を取出す際に該成形品に作用する離型抵抗の大きさよりも、前記成形材料の弾性率が下回らないような温度で、前記成形品を前記金型から取出すことを特徴とする。
請求項2に係る発明は、請求項1に記載の射出成形方法において、
前記金型から前記成形品を取出す際の該成形品の離型温度(To℃)を、前記成形材料のガラス転移点(Tg℃)よりも高く設定したことを特徴とする。
前記金型から前記成形品を取出す際の該成形品の離型温度(To℃)を、前記成形材料のガラス転移点(Tg℃)よりも高く設定したことを特徴とする。
請求項3に係る発明は、請求項2に記載の射出成形方法において、
前記離型温度(To℃)と前記成形材料のガラス転移点(Tg℃)とは、
Tg≦To≦Tg+10℃
の関係を有することを特徴とする。
前記離型温度(To℃)と前記成形材料のガラス転移点(Tg℃)とは、
Tg≦To≦Tg+10℃
の関係を有することを特徴とする。
請求項4に係る発明は、請求項1〜3のいずれかに記載の射出成形方法において、
成形中の前記金型の温度を、前記離型温度(To℃)と略等しく設定したことを特徴とする。
成形中の前記金型の温度を、前記離型温度(To℃)と略等しく設定したことを特徴とする。
請求項5に係る発明は、請求項1〜4のいずれかに記載の射出成形方法において、
前記離型温度(To℃)での前記成形材料の前記弾性率が1400MPa以上であることを特徴とする。
前記離型温度(To℃)での前記成形材料の前記弾性率が1400MPa以上であることを特徴とする。
請求項6に係る発明は、請求項1〜5のいずれかに記載の射出成形方法において、
前記成形材料は合成樹脂であることを特徴とする。
請求項7に係る発明は、請求項1又は2に記載の射出成形方法において、
前記成形品は光学素子であることを特徴とする。
前記成形材料は合成樹脂であることを特徴とする。
請求項7に係る発明は、請求項1又は2に記載の射出成形方法において、
前記成形品は光学素子であることを特徴とする。
本発明によれば、金型から成形品を取出す際に該成形品に作用する離型抵抗の大きさよりも、成形品の弾性率が下回らないような温度で成形品を金型から取出すことで、短いサイクルタイムで安定した品質の成形品を取出すことができる。
以下、図面に基づき本発明の実施の形態を説明する。
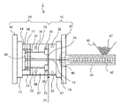
図1は、射出成形用の金型の断面図であり、図2は、離型時の状態を示す図である。
射出成形用の金型1は、固定側金型10と可動側金型20とで構成されている。固定側金型10は、中央にスプルー11が設けられた固定側型板12と、この固定側型板12が取り付けられる固定側取付板13とを有している。
図1は、射出成形用の金型の断面図であり、図2は、離型時の状態を示す図である。
射出成形用の金型1は、固定側金型10と可動側金型20とで構成されている。固定側金型10は、中央にスプルー11が設けられた固定側型板12と、この固定側型板12が取り付けられる固定側取付板13とを有している。
また、可動側金型20は、可動側型板22と可動側取付板23とを有している。可動側取付板23には、スペーサブロック24を介して可動側型板22が取付けられている。この可動側型板22には、キャビティ25が形成されている。なお、スペーサブロック24の内側の空間であって、可動側型板22と可動側取付板23との間の空間には、突出機構32が配置されている。
突出機構32は、成形品50(図2参照)を可動側型板22から突き出すための機構である。なお、図2において、正確には、溶融樹脂が固化した成形体を、金型10,20から取出した後にランナ部分等を除去して得られたものを成形品と呼ぶ。しかし、本実施形態では、便宜上、この成形体を成形品50と呼ぶこととする。
突出機構32は、1対のエジェクタプレート26、27とエジェクタピン28、29,30を有している。そして、1対のエジェクタプレート26、27が、図の右方向に移動すると、エジェクタピン28、29,30が固定側金型10の方向へ移動する。
この結果、成形品50が可動側型板22から突き出される。このとき、ランナ31の付近まで延びているエジェクタピン30が、ランナ31の部分で固化している樹脂を併せて突き出す。
更に、固定側型板12と可動側型板22には、金型温度を調整するための、温調管36、38が設けられている。この温調管36、38は、管内を媒体(水、油)が流通することにより、金型温度を一定に保つ役目をなしている。また、キャビティ25の壁面に近接した位置(例えば、略2mm離れた位置)に熱電対39を配置し、この熱電対39により、キャビティ25の近傍の温度を検出している。
本実施形態では、この熱電対39の検出温度を便宜的に金型温度と呼ぶ。よって、この金型温度は、金型から成形品50を取出す際の該成形品50の温度としての離型温度(To℃)と略等しいことになる。
このような射出成形用の金型1が、射出成形機(図示省略)のプラテン40,41に固定されている。この金型1は、パーティングラインPLを境に、固定側金型10と可動側金型20とが開閉自在となっている。
固定側金型10のプラテン40には、スクリュー42を内蔵した加熱筒44が固定されている。これにより、ホッパー46内の合成樹脂47は加熱筒44内のスクリュー42にて加熱溶融され、ノズル48を介して金型1内に射出される。金型1内に射出された溶融樹脂は、スプルー11、ランナー31を通ってキャビティ25内に充填される。
更に、保圧、冷却後、図2に示すように、パーティングラインLで固定側金型10に対し可動側金型20を移動させて、両者を離間させる(型開き)。次いで、エジェクタピン28、29,30を固定側金型10側に突き出すことにより、成形品50をキャビティ25から取出す。
以上において、本実施形態では、金型1から成形品50を取出す際に該成形品50に作用する離型抵抗(取出し抵抗)の大きさよりも、成形材料としての合成樹脂47の弾性率が下回らないような温度で、成形品50を金型1から取出すこととした。
成形品50を金型1から取出すときの離型抵抗の大きさよりも、合成樹脂47の弾性率が下回らなければ、成形品50の離型時の変形は可及的に小さくなるためである。
そして、上述した離型温度(To℃)から推測すると、合成樹脂47の弾性率(材料の変形のしにくさを表す値)が略1400MPa以上であれば、離型抵抗に負けずに成形品50を離型することができると考えられる。但し、離型の際の離型抵抗と合成樹脂47の弾性率とは、合成樹脂47の種類によっても異なる等、一義的に定めることが困難であるため、離型温度を数値で設定することは困難である。
そして、上述した離型温度(To℃)から推測すると、合成樹脂47の弾性率(材料の変形のしにくさを表す値)が略1400MPa以上であれば、離型抵抗に負けずに成形品50を離型することができると考えられる。但し、離型の際の離型抵抗と合成樹脂47の弾性率とは、合成樹脂47の種類によっても異なる等、一義的に定めることが困難であるため、離型温度を数値で設定することは困難である。
なお、ここでの弾性率とは、具体的には縦弾性率(E)を想定している。
また、本実施形態では、離型温度(To℃)とガラス転移点(Tg℃)との関係を
Tg≦To≦Tg+10℃ のように設定した。
また、本実施形態では、離型温度(To℃)とガラス転移点(Tg℃)との関係を
Tg≦To≦Tg+10℃ のように設定した。
これは、離型温度(To℃)をガラス転移点(Tg℃)よりも高く設定して、充填する樹脂の温度と金型温度との差を小さくするためである。これにより、図3に示すように、温度安定領域に金型温度が達するまでの時間を短縮することができ、サイクルタイムが短縮される。
また、図3によれば、たとえ温度安定領域前であっても、金型温度はなだらかに低く変化している。そして、離型温度(To℃)を上述のように設定することで、樹脂をショットする毎の金型温度の変動が小さくなり、成形品50の品質が安定化する。
すなわち、成形時に、合成樹脂47の充填により金型温度は急に上昇するが、充填する樹脂の温度と金型温度との差が小さいことから、冷却時には短時間で金型温度は温度安定領域に収束する。
更に、本実施形態では、成形中の金型温度を離型温度(To℃)と略等しい温度に設定した。ここで、前述したように、離型温度(To℃)をガラス転移点(Tg℃)よりも高く設定することから、金型温度もガラス転移点(Tg℃)よりも高いことになる。
こうすることで、前述と同様に、充填する樹脂の温度と金型温度(離型温度)との差を小さくし、温度安定領域に金型温度が達するまでの時間を短縮することが可能となる。これにより、成形品50の離型時の変形を極力少なくすることができる。
図4は、結晶性樹脂の温度と弾性率の関係を示す図であり、図5は、非晶性樹脂の温度と弾性率の関係を示す図である。
これらの図で明らかなように、ポリカーボネート樹脂のような結晶性樹脂では、ガラス転移点(Tg℃)を境として、高剛性と中剛性が略明確に区別することができる。また、ガラス転移点(Tg℃)と溶融点(Tm℃)の間では、成形品を変形なく離型することが可能と考えられる。
これらの図で明らかなように、ポリカーボネート樹脂のような結晶性樹脂では、ガラス転移点(Tg℃)を境として、高剛性と中剛性が略明確に区別することができる。また、ガラス転移点(Tg℃)と溶融点(Tm℃)の間では、成形品を変形なく離型することが可能と考えられる。
一方、アクリル樹脂のような非晶性樹脂では、ガラス転移点(Tg℃)を境として、剛性が明確に区別することができない。しかし、ガラス転移点(Tg℃)と溶融点(Tm℃)の間では、成形品を変形なく離型することが可能と考えられる。
一般に合成樹脂は、ガラス転移点(Tg℃)を超えると急激に弾性率(弾性体に外力を加えて変形させるとき、弾性範囲内での応力とひずみとの比率をいい、いわば材料の変形のしにくさを表す値)が小さくなると考えられている。しかし、合成樹脂の弾性率は、ガラス転移点(Tg℃)からガラス転移点(Tg℃)+10℃の範囲では、それほど変化することはない。
成形品の評価方法としては、小型レーザ干渉縞解析装置(オリンパス製:KIF202L)にて、成形品の面形状を測定し、非対称性成分(アス:astigmatism)や理想球面からのずれ(面精度)を評価した。
以下、具体的な実施例について説明する。
(実施例1)
合成樹脂として、シクロオレフィンポリマー(非晶性樹脂)ZEONEX480R(日本ゼオン(株)、Tg:137.2℃)を用いた。この合成樹脂を射出成形して、外径φ9mmの両凸レンズを成形した。この際、金型温度を138℃に設定し、1回ごとの成形に要する時間(サイクルタイム)を45secとして成形した。また、このシクロオレフィンポリマーの充填温度は270℃とした。
(実施例1)
合成樹脂として、シクロオレフィンポリマー(非晶性樹脂)ZEONEX480R(日本ゼオン(株)、Tg:137.2℃)を用いた。この合成樹脂を射出成形して、外径φ9mmの両凸レンズを成形した。この際、金型温度を138℃に設定し、1回ごとの成形に要する時間(サイクルタイム)を45secとして成形した。また、このシクロオレフィンポリマーの充填温度は270℃とした。
このとき、本実施例では、離型時に成形品の温度を140℃までしか冷却しなかったが、離型抵抗で変形することはなかった。この時の樹脂の曲げ弾性率は1500MPaで、離型抵抗は1250Mpaなので変形することはなった。また、金型温度は離型時に140℃、充填直前時に139℃で安定した。
離型方式は、入子がある場合は入子突出しで離型する方法もあるが、本実施例では、図2に示すように、固定側金型10に対し可動側金型20を図の左方に移動させて離間する。次いで、3本のエジェクタピン28、29,30を同時に図の右方に突き出すことにより、成形品50をキャビティ25から離型させて取出す。
(実施例2)
合成樹脂として、アクリル樹脂(非晶性樹脂)アクリペットV000(三菱レイヨン(株)、Tg:109℃)を用いた。この合成樹脂を射出成形して、外径φ7mmの凹メニスカスレンズを成形した。この際、金型温度を115℃に設定した。また、このアクリル樹脂の充填温度は250℃とした。
(実施例2)
合成樹脂として、アクリル樹脂(非晶性樹脂)アクリペットV000(三菱レイヨン(株)、Tg:109℃)を用いた。この合成樹脂を射出成形して、外径φ7mmの凹メニスカスレンズを成形した。この際、金型温度を115℃に設定した。また、このアクリル樹脂の充填温度は250℃とした。
本実施例では、離型時の成形品の温度は、115℃であり、樹脂の曲げ弾性率は1450Mpaで、離型抵抗の1100MPaより大きいので離型時の変形はなく、金型温度も安定した。
(実施例3)
合成樹脂として、ポリカーボネート樹脂(結晶性樹脂)GS2010MLR(三菱ガス化学(株)、Tg:145℃)を用いた。この合成樹脂を射出成形して、外径35mm、高さ20mm、肉厚1.5mmの円筒物(鏡枠)を成形した。金型温度は153℃に設定した。また、このポリカーボネート樹脂の充填温度は280℃とした。
(実施例3)
合成樹脂として、ポリカーボネート樹脂(結晶性樹脂)GS2010MLR(三菱ガス化学(株)、Tg:145℃)を用いた。この合成樹脂を射出成形して、外径35mm、高さ20mm、肉厚1.5mmの円筒物(鏡枠)を成形した。金型温度は153℃に設定した。また、このポリカーボネート樹脂の充填温度は280℃とした。
本実施例では、離型時の成形品の温度は、152℃であり、樹脂の曲げ弾性率は1350Mpaで、離型抵抗の1200MPaより大きいので離型時の変形はなく、金型温度も安定した。
1 射出成形用金型
10 固定側金型
11 スプルー
12 固定側型板
13 固定側取付板
20 可動側金型
22 可動側型板
23 可動側取付板
24 スペーサブロック
25 キャビティ
26 エジェクタプレート
27 エジェクタプレート
28 エジェクタピン
29 エジェクタピン
30 エジェクタピン
31 ランナ
32 突出機構
36 温調管
38 温調管
39 熱電対
40 プラテン
41 プラテン
42 スクリュー
44 加熱筒
46 ホッパー
47 合成樹脂
48 ノズル
50 成形品
10 固定側金型
11 スプルー
12 固定側型板
13 固定側取付板
20 可動側金型
22 可動側型板
23 可動側取付板
24 スペーサブロック
25 キャビティ
26 エジェクタプレート
27 エジェクタプレート
28 エジェクタピン
29 エジェクタピン
30 エジェクタピン
31 ランナ
32 突出機構
36 温調管
38 温調管
39 熱電対
40 プラテン
41 プラテン
42 スクリュー
44 加熱筒
46 ホッパー
47 合成樹脂
48 ノズル
50 成形品
Claims (7)
- 成形材料を射出成形用の金型を用いて成形する射出成形方法において、
前記金型から成形品を取出す際に該成形品に作用する離型抵抗の大きさよりも、前記成形材料の弾性率が下回らないような温度で、前記成形品を前記金型から取出す
ことを特徴とする射出成形方法。 - 前記金型から前記成形品を取出す際の該成形品の離型温度(To℃)を、前記成形材料のガラス転移点(Tg℃)よりも高く設定した
ことを特徴とする請求項1に記載の射出成形方法。 - 前記離型温度(To℃)と前記成形材料のガラス転移点(Tg℃)とは、
Tg≦To≦Tg+10℃
の関係を有する
ことを特徴とする請求項2に記載の射出成形方法。 - 成形中の前記金型の温度を、前記離型温度(To℃)と略等しく設定した
ことを特徴とする請求項1〜3のいずれかに記載の射出成形方法。 - 前記離型温度(To℃)での前記成形材料の前記弾性率が1400MPa以上である
ことを特徴とする請求項1〜4のいずれかに記載の射出成形方法。 - 前記成形材料は合成樹脂である
ことを特徴とする請求項1〜5のいずれかに記載の射出成形方法。 - 前記成形品は光学素子である
ことを特徴とする請求項1又は2に記載の射出成形方法。
Priority Applications (1)
| Application Number | Priority Date | Filing Date | Title |
|---|---|---|---|
| JP2006272928A JP2008087407A (ja) | 2006-10-04 | 2006-10-04 | 射出成形方法 |
Applications Claiming Priority (1)
| Application Number | Priority Date | Filing Date | Title |
|---|---|---|---|
| JP2006272928A JP2008087407A (ja) | 2006-10-04 | 2006-10-04 | 射出成形方法 |
Publications (1)
| Publication Number | Publication Date |
|---|---|
| JP2008087407A true JP2008087407A (ja) | 2008-04-17 |
Family
ID=39372041
Family Applications (1)
| Application Number | Title | Priority Date | Filing Date |
|---|---|---|---|
| JP2006272928A Pending JP2008087407A (ja) | 2006-10-04 | 2006-10-04 | 射出成形方法 |
Country Status (1)
| Country | Link |
|---|---|
| JP (1) | JP2008087407A (ja) |
Cited By (2)
| Publication number | Priority date | Publication date | Assignee | Title |
|---|---|---|---|---|
| JP2016500034A (ja) * | 2012-11-28 | 2016-01-07 | アプリックスAplix | 成形された捕捉要素およびその製造方法 |
| JP2019182921A (ja) * | 2018-04-03 | 2019-10-24 | 株式会社トクヤマデンタル | ポリアリールエーテルケトン樹脂材料の製造方法 |
Citations (2)
| Publication number | Priority date | Publication date | Assignee | Title |
|---|---|---|---|---|
| JPH06177190A (ja) * | 1992-12-01 | 1994-06-24 | Apic Yamada Kk | 半導体装置の樹脂モールド方法及び樹脂モールド装置 |
| JP2000326378A (ja) * | 1999-03-16 | 2000-11-28 | Polyplastics Co | 液晶ポリマー用射出成形機および射出成形方法 |
-
2006
- 2006-10-04 JP JP2006272928A patent/JP2008087407A/ja active Pending
Patent Citations (2)
| Publication number | Priority date | Publication date | Assignee | Title |
|---|---|---|---|---|
| JPH06177190A (ja) * | 1992-12-01 | 1994-06-24 | Apic Yamada Kk | 半導体装置の樹脂モールド方法及び樹脂モールド装置 |
| JP2000326378A (ja) * | 1999-03-16 | 2000-11-28 | Polyplastics Co | 液晶ポリマー用射出成形機および射出成形方法 |
Cited By (3)
| Publication number | Priority date | Publication date | Assignee | Title |
|---|---|---|---|---|
| JP2016500034A (ja) * | 2012-11-28 | 2016-01-07 | アプリックスAplix | 成形された捕捉要素およびその製造方法 |
| JP2020011511A (ja) * | 2012-11-28 | 2020-01-23 | アプリックスAplix | 成形された捕捉要素およびその製造方法 |
| JP2019182921A (ja) * | 2018-04-03 | 2019-10-24 | 株式会社トクヤマデンタル | ポリアリールエーテルケトン樹脂材料の製造方法 |
Similar Documents
| Publication | Publication Date | Title |
|---|---|---|
| JP3264615B2 (ja) | プラスチックレンズの射出成形方法 | |
| JPWO2009122862A1 (ja) | 光学素子の製造方法、光学素子成形金型、及び光学素子 | |
| JP5884302B2 (ja) | 射出成形方法、射出成形品、インクタンク、記録装置及び射出成形金型 | |
| EP0955147B1 (en) | Method of injection molding plastic lens | |
| JP2009255468A (ja) | 2色成形用金型及び2色成形方法 | |
| JP2008155622A (ja) | 光学部材を製造するための高圧射出成形プロセス | |
| JP2009137162A (ja) | 2色成形方法及び2色成形用金型 | |
| JP2008087407A (ja) | 射出成形方法 | |
| JP2006281765A (ja) | 光学素子の表面精度改善方法及びその装置 | |
| JP2010082838A (ja) | レンズ製造方法 | |
| JP2008230005A (ja) | プラスチックレンズ成形方法およびレンズプリフォーム | |
| JP3619805B2 (ja) | レンズの射出圧縮成形方法 | |
| CN103648745B (zh) | 模制品的制造方法以及模具 | |
| JP2008238687A (ja) | 金型装置と射出成形方法、及び光学素子 | |
| WO2002102570A1 (en) | Method of producing plastic lens and injection molding machine | |
| JP3998682B2 (ja) | レンズの射出圧縮成形方法 | |
| JP3766325B2 (ja) | レンズの射出圧縮成形方法 | |
| JPH07266391A (ja) | プラスチックレンズの製造方法および製造装置 | |
| JP2014061597A (ja) | 成形装置及び光学素子の製造方法 | |
| JP4242621B2 (ja) | プラスチック光学部品の射出成形方法 | |
| JP2009241297A (ja) | 光学素子の製造方法、光学素子成形金型、及び光学素子 | |
| JP4039848B2 (ja) | プラスチック光学部品の射出成形方法及び射出成形金型 | |
| JP4032996B2 (ja) | 射出成形方法 | |
| JP2006187969A (ja) | レンズ成形金型 | |
| JP2007261142A (ja) | 光学レンズ射出成形用金型 |
Legal Events
| Date | Code | Title | Description |
|---|---|---|---|
| A621 | Written request for application examination |
Free format text: JAPANESE INTERMEDIATE CODE: A621 Effective date: 20081029 |
|
| A977 | Report on retrieval |
Free format text: JAPANESE INTERMEDIATE CODE: A971007 Effective date: 20110407 |
|
| A131 | Notification of reasons for refusal |
Free format text: JAPANESE INTERMEDIATE CODE: A131 Effective date: 20110419 |
|
| A02 | Decision of refusal |
Free format text: JAPANESE INTERMEDIATE CODE: A02 Effective date: 20110913 |