JP2008075251A - プレキャスト鉄筋コンクリート梁部材同士の接合方法及び接合構造 - Google Patents

プレキャスト鉄筋コンクリート梁部材同士の接合方法及び接合構造 Download PDF

Info

Publication number
JP2008075251A
JP2008075251A JP2006252252A JP2006252252A JP2008075251A JP 2008075251 A JP2008075251 A JP 2008075251A JP 2006252252 A JP2006252252 A JP 2006252252A JP 2006252252 A JP2006252252 A JP 2006252252A JP 2008075251 A JP2008075251 A JP 2008075251A
Authority
JP
Japan
Prior art keywords
beam members
hole
reinforced concrete
precast reinforced
holes
Prior art date
Legal status (The legal status is an assumption and is not a legal conclusion. Google has not performed a legal analysis and makes no representation as to the accuracy of the status listed.)
Granted
Application number
JP2006252252A
Other languages
English (en)
Other versions
JP4964544B2 (ja
Inventor
Yuji Ishikawa
裕次 石川
Hiroyuki Ueda
博之 上田
Nobuyuki Yanagisawa
信行 柳澤
Kiyoshi Ogura
清志 小倉
Yasuyuki Shibata
恭幸 柴田
Keishiro Okamoto
圭史郎 岡本
Yutaka Soga
裕 曽我
Current Assignee (The listed assignees may be inaccurate. Google has not performed a legal analysis and makes no representation or warranty as to the accuracy of the list.)
Takenaka Komuten Co Ltd
Original Assignee
Takenaka Komuten Co Ltd
Priority date (The priority date is an assumption and is not a legal conclusion. Google has not performed a legal analysis and makes no representation as to the accuracy of the date listed.)
Filing date
Publication date
Application filed by Takenaka Komuten Co Ltd filed Critical Takenaka Komuten Co Ltd
Priority to JP2006252252A priority Critical patent/JP4964544B2/ja
Publication of JP2008075251A publication Critical patent/JP2008075251A/ja
Application granted granted Critical
Publication of JP4964544B2 publication Critical patent/JP4964544B2/ja
Expired - Fee Related legal-status Critical Current
Anticipated expiration legal-status Critical

Links

Images

Landscapes

  • Joining Of Building Structures In Genera (AREA)

Abstract

【課題】PCa梁部材同士を接合するにあたり、PCa梁部材を水平方向に移動させることなく大掛かりな後工事を飛躍的に簡略化することができ、工期の短縮を実現し、経済性に優れた、プレキャスト鉄筋コンクリート梁部材同士の接合方法及び接合構造を提供する。
【解決手段】梁部材1、1の接合端部にそれぞれ、ほぼ当接状態に近づけると一致する貫通孔2(又は非貫通孔)を設けておき、前記梁部材1、1同士を、ほぼ当接状態に近づけて対向配置に位置決めし、前記一致した貫通孔2(又は非貫通孔)へ前記二つの梁部材1、1を連結する連結部材4を挿入し位置決めし、しかる後に、前記貫通孔2内(又は非貫通孔内)へ硬化材7を充填してプレキャスト鉄筋コンクリート梁部材1、1同士を一体的に接合する。
【選択図】図3

Description

この発明は、プレキャスト鉄筋コンクリート(以下適宜、PCaという。)梁部材同士の接合方法及び接合構造の技術分野に属する。
従来、PCa梁部材同士の接合方法及び接合構造は、図25A、Bに例示したように、対向するPCa梁部材a、aから突出した鉄筋b、b同士を接合してその接合部に後打ちコンクリート打設工事等の後工事(図示略)を行うことが一般的に行われる。ちなみに鉄筋b、b同士の接合(継手)方法には、圧接継手方法、溶接継手方法、機械式継手方法等が用いられ、前記鉄筋b、b同士を接合する作業を確実に行うべく、作業上の観点から、PCa梁部材a、a同士の間隔Lを150cm程度確保して行うのが一般的である(例えば、特許文献1の第1図、特許文献2の図4、及び特許文献3の図3参照)。ちなみに、図25A、Bは、PCa柱部材eの上方に複数の柱主筋cを突き出した構造形式(所謂串刺し工法等)で構築する実施例を示している。図中の符号dは、支保工を示している。
しかしながら、前記従来のPCa梁部材a、a同士の接合方法は、作業上の観点から、PCa梁部材a、a同士の間隔を150cm程度確保する必要があるので、前記鉄筋b、b同士の継手作業終了後は、梁部材a、a同士の間の隙間を埋めるべく、対向するPCa梁部材a、a同士の接合部近傍にコンクリート打設用の型枠を設置しコンクリートを打設して前記鉄筋b、b同士の継手部分とPCa梁部材a、a同士とを一体化させる大掛かりな後工事を行う必要があった。よって、工期が長期化し、不経済に過ぎるという問題があった。
ところで、図26は、PCa梁部材a、a同士の異なる接合方法を示している。この技術は、一方(図示例では左側)のPCa梁部材aに水平方向にスリーブ継手fを埋設し、他方(図示例では右側)のPCa梁部材aに水平方向に鉄筋bを突設させておき、当該他方のPCa梁部材aを水平方向(図示例では左方向)に移動させて当該鉄筋bを前記スリーブ継手f内へ挿入して納め、当該接合部分にグラウトを充填してPCa梁部材a、a同士の接合作業を行っている(例えば、特許文献4の図3参照)。
この図26に係る技術によると、PCa梁部材a、a同士の間隔を殆ど空けることなく当該接合部分(隙間)にグラウトを充填する程度の作業でPCa梁部材a、a同士を接合できる。よって、対向するPCa梁部材a、a同士の接合部近傍にコンクリート打設用の型枠を設置しコンクリートを打設する等の大掛かりな後工事は不要となるので、図25A、Bに係る技術と比して、後工事を簡略化させて工期の短縮を図ることができ、経済性に優れているように見える。
特開平3−212537号公報 特開平5−340003号公報 特開平5−86643号公報 特開2004−346587号公報
図26(例えば、特許文献4)に係る技術は、図25A、Bと比して、後工事を簡略化させて工期の短縮を図ることができるというものの、それは、PCa梁部材aの水平方向の動きを許容する、PCa柱部材eの下方に複数の柱主筋cを突き出した構造形式(所謂逆串刺し工法、逆挿し柱等)で実施する故にほかならない。
即ち、図25A、Bに示したように、PCa柱部材eの上方に複数の柱主筋cを突き出した構造形式については、PCa梁部材aの水平方向の動きが拘束されるので、図26に係る技術、すなわちPCa梁部材を水平方向に移動させる技術は一切適用できず、依然として大掛かりな後工事を行う必要があり、工期が長期化し、不経済に過ぎるという問題は解消することができない。また、図26に係る技術は、図中の左側のPCa梁部材aをまず位置決めした後に、右側のPCa梁部材aを位置決めする等、いずれか一方のPCa梁部材aを位置決めしなければ他方のPCa梁部材aを位置決めすることはできず、施工手順に大きな制約を受けるので、工期の長期化の一因ともなっている。
本発明の目的は、PCa柱部材eの下方に複数の柱主筋cを突き出した構造形式(図26参照)は勿論のこと、PCa柱部材eの上方に複数の柱主筋cを突き出した構造形式(図25A、B参照)に特に好適に実施することができ、PCa梁部材a、a同士を接合するにあたり、PCa梁部材aを水平方向に移動させることなく大掛かりな後工事を飛躍的に簡略化することができ、工期の短縮を実現し、経済性に優れた、プレキャスト鉄筋コンクリート梁部材同士の接合方法及び接合構造を提供することにある。
上記従来技術の課題を解決するための手段として、請求項1に記載した発明に係るプレキャスト鉄筋コンクリート梁部材同士の接合方法は、プレキャスト鉄筋コンクリート梁部材同士の接合方法において、
前記梁部材の接合端部にそれぞれ、ほぼ当接状態に近づけると一致する貫通孔又は非貫通孔を設けておき、前記梁部材同士を、ほぼ当接状態に近づけて対向配置に位置決めすること、
前記一致した貫通孔又は非貫通孔へ前記二つの梁部材を連結する連結部材を挿入し位置決めすること、
しかる後に、前記貫通孔内又は非貫通孔内へ硬化材を充填してプレキャスト鉄筋コンクリート梁部材同士を一体的に接合することを特徴とする。
請求項2に記載した発明に係るプレキャスト鉄筋コンクリート梁部材同士の接合構造は、プレキャスト鉄筋コンクリート梁部材同士の接合構造において、
前記梁部材の端部にはそれぞれ、ほぼ当接状態に近づけると一致する貫通孔又は非貫通孔が設けられていること、
前記梁部材同士がほぼ当接状態に近づけて対向配置に設けられ、前記一致した貫通孔又は非貫通孔へ前記二つの梁部材に跨り連結する連結部材が挿入され位置決めされていること、
前記貫通孔内又は非貫通孔内に硬化材が充填されてプレキャスト鉄筋コンクリート梁部材同士が一体的に接合されていることを特徴とする。
請求項3に記載した発明は、請求項2に記載したプレキャスト鉄筋コンクリート梁部材同士の接合構造において、
前記梁部材における前記連結部材の端部に相当する位置に切り欠き部が形成され、同端部はナット、機械式定着具等の定着具で切り欠き部内に定着することにより位置決めされていることを特徴とする。
請求項4に記載した発明は、請求項2又は3に記載したプレキャスト鉄筋コンクリート梁部材同士の接合構造において、
前記梁部材同士をほぼ当接状態に近づけると、一側の梁部材の上面から他側の梁部材の下面に向かって傾斜して貫通する貫通孔が、正面方向から見ると、左右対称なクロス状に形成されていること、
前記各貫通孔に棒状の連結部材が挿入されて位置決めされていること、
前記貫通孔内に硬化材が充填されてプレキャスト鉄筋コンクリート梁部材同士が一体的に接合されていることを特徴とする。
請求項5に記載した発明は、請求項4に記載したプレキャスト鉄筋コンクリート梁部材同士の接合構造において、
前記連結部材はPC鋼棒、或いは丸鋼、ねじ節鉄筋、ボルトであり、プレストレスを導入してその両端部が定着されていることを特徴とする、請求項4に記載したプレキャスト鉄筋コンクリート梁部材同士の接合構造。
請求項6に記載した発明は、請求項2又は3に記載したプレキャスト鉄筋コンクリート梁部材同士の接合構造において、
前記梁部材同士をほぼ当接状態に近づけると、一側の梁部材の上面から他側の梁部材の上面に向かって鉛直方向に曲線状に折り返して貫通する貫通孔と、一側の梁部材の下面から他側の梁部材の下面に向かって鉛直方向に曲線状に折り返して貫通する貫通孔とが、正面方向から見ると、上下対称配置に形成されていること、
前記各貫通孔内に同貫通孔の形状と一致する曲線状の連結部材が挿入されて位置決めされていること、
前記貫通孔内に硬化材が充填されてプレキャスト鉄筋コンクリート梁部材同士が一体的に接合されていることを特徴とする。
請求項7に記載した発明は、請求項2又は3に記載したプレキャスト鉄筋コンクリート梁部材同士の接合構造において、
前記梁部材同士をほぼ当接状態に近づけると、一側の梁部材の側面から他側の梁部材の側面に向かって水平方向に曲線状に折り返して貫通する貫通孔が、平面方向から見ると、左右対称配置に形成されていること、
前記貫通孔内には同貫通孔の形状と一致する曲線状の連結部材が挿入されて位置決めされていること、
前記貫通孔内に硬化材が充填されてプレキャスト鉄筋コンクリート梁部材同士が一体的に接合されていることを特徴とする。
請求項8に記載した発明は、請求項2又は3に記載したプレキャスト鉄筋コンクリート梁部材同士の接合構造において、
前記梁部材同士をほぼ当接状態に近づけると、一側の梁部材の両側面から他側の梁部材の両側面に向かってそれぞれ水平方向に曲線状に折り返して貫通する貫通孔が、平面方向から見ると、左右対称配置に形成されていること、
前記貫通孔内には同貫通孔の形状と一致する曲線状の連結部材が挿入されて位置決めされていること、
前記貫通孔内に硬化材が充填されてプレキャスト鉄筋コンクリート梁部材同士が一体的に接合されていることを特徴とする。
請求項9に記載した発明は、請求項2又は3に記載したプレキャスト鉄筋コンクリート梁部材同士の接合構造において、
前記梁部材同士をほぼ当接状態に近づけると、一側の梁部材の上面から他側の梁部材内に向かって傾斜して行き止まる非貫通孔が設けられ、同非貫通孔の行き止まり部には、該他側の梁部材に埋設された鉄筋の端部が挿入された継手が設けられており、前記非貫通孔、継手及び鉄筋は、正面方向から見ると、左右対称配置に形成されていること、
前記非貫通孔内に棒状の連結部材がその先端部が前記継手の内部に届くまで挿入され、前記継手内で前記鉄筋の端部と対向配置に位置決めされていること、
前記非貫通孔内に硬化材が充填されてプレキャスト鉄筋コンクリート梁部材同士が一体的に接合されていることを特徴とする。
請求項10に記載した発明は、請求項2又は3に記載したプレキャスト鉄筋コンクリート梁部材同士の接合構造において、
前記梁部材同士をほぼ当接状態に近づけると、一側の梁部材の側面から他側の梁部材内に向かって傾斜して行き止まる非貫通孔が設けられ、同非貫通孔の行き止まり部には、該他側の梁部材に埋設された鉄筋の端部が挿入された継手が埋設されており、前記非貫通孔、継手及び鉄筋は、平面方向から見ると、左右対称配置に形成されていること、
前記非貫通孔内に棒状の連結部材がその先端部が前記継手の内部に届くまで挿入され、前記継手内で前記鉄筋の端部と対向配置に位置決めされていること、
前記非貫通孔内に硬化材が充填されてプレキャスト鉄筋コンクリート梁部材同士が一体的に接合されていることを特徴とする。
請求項11に記載した発明は、請求項2〜10のいずれか一に記載したプレキャスト鉄筋コンクリート梁部材同士の接合構造において、
前記貫通孔又は非貫通孔は、シース管、或いはコンクリートホールで形成されていることを特徴とする。
請求項12に記載した発明は、請求項2〜11のいずれか一に記載したプレキャスト鉄筋コンクリート梁部材同士の接合構造において、
前記硬化材は、グラウト、モルタル、樹脂モルタル、エポキシ樹脂、若しくはコンクリート、又はこれらの組み合わせであることを特徴とする。
請求項1〜請求項12に係るプレキャスト鉄筋コンクリート梁部材同士の接合方法及び接合構造によれば、PCa柱部材の下方に複数の柱主筋を突き出した構造形式(所謂逆串刺し工法、逆挿し柱、図26参照)は勿論のこと、PCa柱部材の上方に複数の柱主筋を突き出した構造形式(所謂串刺し工法、図25A、B参照)に特に好適に実施することができ、PCa梁部材1、1同士を接合するにあたり、PCa梁部材1を水平方向に移動させることなく、僅かな隙間(2cm程度)を設けて対向配置に位置決めして実施できるので、鋼板等の簡易な型枠材の使用、及び少量のグラウト等の硬化材7の充填により、PCa梁部材1、1同士を確実に一体的に接合することができる。よって、大掛かりな後工事を飛躍的に簡略化させることができ、工期の大幅な短縮を実現することができるので、施工性、及び経済性に非常に優れている。
また、請求項5に係るPCa梁部材同士の接合構造によれば、上記作用効果に加えて、PCa梁部材1、1同士の接合部における曲げひび割れ耐力強度を向上させることができる。さらに、請求項7と請求項10に係るPCa梁部材同士の接合構造によれば、上記作用効果に加えて、PCa梁部材1、1同士を一側面からのみで接合作業を行えるので、ベランダ、或いはバルコニーの構築に使用される梁部材同士の接合構造に好適に実施できる。
本発明に係るプレキャスト鉄筋コンクリート(PCa)梁部材同士の接合方法は、総じて、図1〜図24にバリエーションを示したように、前記梁部材1の接合端部にそれぞれ、ほぼ当接状態に近づけると一致する貫通孔2又は非貫通孔2を設けておき、前記梁部材1、1同士を、ほぼ当接状態に近づけて対向配置に位置決めすること、前記一致した貫通孔2又は非貫通孔2へ前記二つの梁部材1、1を連結する連結部材4を挿入し位置決めすること、しかる後に、前記貫通孔2内又は非貫通孔2内へ硬化材7を充填してプレキャスト鉄筋コンクリート梁部材同士を一体的に接合することを特徴とする(請求項1記載の発明)。
前記PCa梁部材1、1の位置決め方法は、PCa柱部材の上方に複数の柱主筋を突き出した構造形式(所謂串刺し工法、図25A、B参照)に適用する場合には、水平方向に移動させて位置決めすることはできないので、双方のPCa梁部材1、1を吊り込むことにより対向配置に位置決めする。なお、双方のPCa梁部材1、1同士の間の隙間はほとんど隙間を空けないで実施できないことはないが、構造設計上、及び吊り込み作業上の観点から2cm程度の隙間を空けて実施することが好ましい。
本発明に係るプレキャスト鉄筋コンクリート梁部材同士の接合構造は、総じて、図1〜図24にバリエーションを示したように、前記梁部材1の端部にはそれぞれ、ほぼ当接状態に近づけると一致する貫通孔2又は非貫通孔2が設けられていること、前記梁部材1、1同士がほぼ当接状態に近づけて対向配置に設けられ、前記一致した貫通孔2又は非貫通孔2へ外部から前記二つの梁部材1、1に跨り連結する連結部材4が挿入され位置決めされていること、前記貫通孔2内又は非貫通孔2内に硬化材7が充填されてプレキャスト鉄筋コンクリート梁部材1、1同士が一体的に接合されていることを特徴とする(請求項2記載の発明)。
また、図1〜図24(図8と図13を除く。)に係るPCa梁部材同士の接合構造は、前記梁部材1における前記連結部材4の端部に相当する位置に切り欠き部5が形成され、同端部はナット6、或いは機械式定着具等の定着具で切り欠き部5内に定着することにより位置決めされている(請求項3記載の発明)。
なお、前記硬化材7は、構造設計に応じた強度を発現するべく、また、充填部位の位置、大きさ等を考慮し、グラウト、モルタル、樹脂モルタル、エポキシ樹脂、若しくはコンクリート、又はこれらを組み合わせて、適宜選択して実施している(請求項12記載の発明)。
ちなみに、図1〜図24(図17〜図19を除く。以下、この段落について同じ。)に係るPCa梁部材1は、所謂逆梁工法に使用される幅寸が小さい梁部材同士1、1の接合構造を示しているがこれに限定されず、一般の柱梁架構に適用する幅寸が大きい(例えば、断面がほぼ正方形状の)PCa梁部材同士の接合構造にも勿論適用可能である。ちなみに、図1〜図24に係る梁部材1の幅寸は180mm程度、梁せいは750mm程度で実施している。
以下、個々のバリエーションについて具体的に説明する。
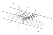
図1〜図3は、請求項4に係るプレキャスト鉄筋コンクリート梁部材同士の接合構造を示している。この接合構造は、前記梁部材1の端部にはそれぞれ、ほぼ当接状態に近づけると一致する貫通孔2が4個ずつ設けられ、前記梁部材1、1同士がほぼ当接状態に近づけて対向配置に設けられ、前記一致した4個の貫通孔2内へ外部から前記二つの梁部材1、1に跨り連結する連結部材4が計4本挿入され位置決めされ、前記各貫通孔2内に接合するのに好適な前記硬化材7が充填されてプレキャスト鉄筋コンクリート梁部材1、1同士が一体的に接合されている(請求項2記載の発明)。
また、図1〜図3に係る接合構造は、前記梁部材1、1同士をほぼ当接状態に近づけると、一側の梁部材1の上面から他側の梁部材1の下面に向かって傾斜して貫通する貫通孔2が、正面方向から見ると、左右対称なクロス状に形成され(図1B参照)、前記各貫通孔2に棒状の連結部材4が挿入されて位置決めされ、前記貫通孔2内に硬化材7が充填されてプレキャスト鉄筋コンクリート梁部材1、1同士が一体的に接合されている(請求項4記載の発明)。
さらに、図1〜図3に係る接合構造は、前記梁部材1における前記連結部材4の端部に相当する位置、即ち前記PCa梁部材1の上面部及び下面部にそれぞれ切り欠き部5が形成され、同端部はナット6、或いは機械式定着具等の定着具で切り欠き部5内に定着することにより位置決めされている(請求項3記載の発明)。
ちなみに、図1中の符号10は所要の長さで水平方向に折り曲げ成形したU字形状鉄筋、符号11はあばら筋、符号12は補強筋を示している。
前記貫通孔2は、本実施例では、各PCa梁部材1に4個ずつ設けて実施しているがこれに限定されず、使用するPCa梁部材1の大きさ(特に幅寸)、及び要求される設計強度に応じて適宜増減可能である。ちなみに、本実施例に係る貫通孔2は、図1Bと図1Cを参照すると、右上から左下へ傾斜する貫通孔2、2を右側へ偏倚させてほぼ平行に設け、左上から右下へ傾斜する貫通孔2、2を左側へ偏倚させてほぼ平行に設けて当該各貫通孔2が干渉しないような工夫が施されているが、貫通孔2の配設位置はこれに限定されないことは勿論である。
また、前記貫通孔2は、シース管(図示省略)を埋設することにより形成しているが、貫通孔を形成する手法は特にシース管を埋設することに限定されるものではなく、コンクリートホールで形成してもよい。ちなみに、前記コンクリートホールは、エアチューブをコンクリート打設前に所定の(貫通孔、非貫通孔に相当する)位置に設置し、コンクリート打設後、エアを抜いてチューブを抜き出す手法で形成したものである(以上、請求項11記載の発明)。以下の実施例についても同様の技術的思想とする。
前記連結部材4は、棒状の鉄筋(ねじ節鉄筋等の異形鉄筋、PC鋼棒を含む。以下、同じ。)が好適に使用される。この連結部材4はその両端部にねじ加工がなされており、対向するPCa梁部材1、1が形成する一連の貫通孔2、2内に差し込み、その両端部をナット6で切り欠き部5内に定着させることにより、双方のPCa梁部材1、1を確実に位置決めしている。本実施例に係る連結部材4は、貫通孔2の個数に応じて計4本で実施しているが、前記貫通孔2の個数、ひいては使用する前記梁部材1の大きさ(特に幅寸)、及び要求される設計強度に応じて適宜増減可能である。この連結部材4の所要長さは、前記貫通孔2内に挿入して位置決めした状態でその両端部が切り欠き部5に露出する程度の長さで実施することに留意する。
なお、前記切り欠き部5は、前記連結部材4をナット6で定着する場合には必要であるが、図8と図13に示したように、硬化材7でのみ定着する場合には特に必要ではない。
また、前記連結部材4を前記定着具6で定着する手法は種々あるが、同連結部材4の端部にねじ加工がなされている場合にナット6をねじ込んで定着する手法は勿論のこと、同連結部材4をねじ節鉄筋4で実施する場合には、当該ねじ節部にダイレクトにナットをねじ込んで定着する手法もある。以下の実施例についても同様の技術的思想とする。
かくして、対向配置に位置決めされた梁部材1、1同士の各貫通孔2に連結部材4が差し込まれ、同連結部材4の両端部がナット6、6により切り欠き部5内に定着された状態で、前記貫通孔2の両端部に設けた充填孔8を通じて同貫通孔2の内部にグラウト等の硬化材7が充填されると共に、切り欠き部5の内部にコンクリート等の硬化材7が充填されることにより、連結部材4が強固に固定されてプレキャスト鉄筋コンクリート梁部材1、1同士が一体的に接合されるのである(図1B参照)。なお、PCa梁部材1、1同士の下側に設けた切り欠き部5の充填作業は、硬化材7の漏れを防止するべく、鋼板等の簡易な型枠材(図示省略)を設けて行うことに留意する。
したがって、このプレキャスト鉄筋コンクリート梁部材同士の接合方法、及び同方法により構築した接合構造によれば、PCa柱部材の下方に複数の柱主筋を突き出した構造形式(所謂逆串刺し工法、逆挿し柱、図26参照)は勿論のこと、PCa柱部材の上方に複数の柱主筋を突き出した構造形式(所謂串刺し工法、図25A、B参照)に特に好適に実施することができ、PCa梁部材1、1同士を接合するにあたり、PCa梁部材1を水平方向に移動させることなく、僅かな隙間(2cm程度)を設けて対向配置に位置決めして実施できるので、鋼板等の簡易な型枠材の使用、及び少量のグラウト等の硬化材7の充填により、PCa梁部材1、1同士を確実に一体的に接合することができる。よって、大掛かりな後工事を飛躍的に簡略化させることができ、工期の大幅な短縮を実現することができるので、施工性、及び経済性に非常に優れている。
また、前記連結部材4をPC鋼棒、或いは丸鋼、ねじ節鉄筋、ボルトで実施し、ナット6で締め付ける際にインパクト(空気)レンチ等でプレストレスを導入して実施すると(請求項5記載の発明)、上記作用効果に加えて、PCa梁部材1、1同士の接合部における曲げひび割れ耐力強度を向上させることができる。なお、プレストレスを導入して実施する場合には、アンボンドで実施することもできるが、グラウト等の硬化材7を充填して実施する方が、防錆効果があり、一体化強度が向上するので好ましい。
図4〜図6は、請求項6に係るプレキャスト鉄筋コンクリート梁部材同士の接合構造を示している。この接合構造は、前記梁部材1の端部にはそれぞれ、ほぼ当接状態に近づけると一致する貫通孔2が4個ずつ設けられ、前記梁部材1、1同士がほぼ当接状態に近づけて対向配置に設けられ、前記一致した4個の貫通孔2内へ外部から前記二つの梁部材1、1に跨り連結する連結部材4が計4本挿入され位置決めされ、前記各貫通孔2内に接合するのに好適な前記硬化材7が充填されてプレキャスト鉄筋コンクリート梁部材1、1同士が一体的に接合されている(請求項2記載の発明)。
また、図4〜図6に係る接合構造は、前記梁部材1、1同士をほぼ当接状態に近づけると、一側の梁部材1の上面から他側の梁部材1の上面に向かって鉛直方向に曲線状に折り返して貫通する貫通孔2と、一側の梁部材1の下面から他側の梁部材1の下面に向かって鉛直方向に曲線状に折り返して貫通する貫通孔2とが、正面方向から見ると、上下対称配置に形成され(図4B参照)、前記各貫通孔2内に同貫通孔2の形状と一致する曲線状の連結部材4が挿入されて位置決めされ、前記貫通孔2内に硬化材7が充填されてプレキャスト鉄筋コンクリート梁部材1、1同士が一体的に接合されている(請求項6記載の発明)。
さらに、図4〜図6に係る接合構造は、前記梁部材1における前記連結部材4の端部に相当する位置、即ち前記PCa梁部材1の上面部及び下面部にそれぞれ切り欠き部5が形成され、同端部はナット6、或いは機械式定着具等の定着具で切り欠き部5内に定着することにより位置決めされている(請求項3記載の発明)。
ちなみに、図4中の符号10は所要の長さで水平方向に折り曲げ成形したU字形状鉄筋、符号11はあばら筋を示している。
前記貫通孔2は、本実施例では、各PCa梁部材1に4個ずつ設けて実施しているがこれに限定されず、使用するPCa梁部材1の大きさ(特に幅寸)、及び要求される設計強度に応じて適宜増減可能である。ちなみに、本実施例に係る貫通孔2は、図4Bと図4Cを参照すると、下に凸状の貫通孔2を右側へ偏倚させて設け、上に凸状の貫通孔2を左側へ偏倚させて設けて当該各貫通孔2が干渉しないような工夫が施されているが、貫通孔2の配設位置はこれに限定されないことは勿論である。
前記連結部材4は、前記貫通孔2の形状と一致する形状(図示例では半円形状)の曲線状の鉄筋(ねじ節鉄筋等の異形鉄筋、PC鋼棒を含む。以下、同じ。)が好適に使用される。この連結部材4はその両端部にねじ加工がなされており、対向するPCa梁部材1、1が形成する一連の貫通孔2、2内に差し込み、その両端部をナット6で切り欠き部5内に定着させることにより、双方のPCa梁部材1、1を確実に位置決めしている。本実施例に係る連結部材4は、貫通孔2の個数に応じて計4本で実施しているが、前記貫通孔2の個数、ひいては使用する前記梁部材1の大きさ(特に幅寸)、及び要求される設計強度に応じて適宜増減可能である。この連結部材4の所要長さは、前記貫通孔2内に挿入して位置決めした状態でその両端部が切り欠き部5に露出する程度の長さで実施することに留意する。
かくして、対向配置に位置決めされた梁部材1、1同士の各貫通孔2に連結部材4が差し込まれ、同連結部材4の両端部がナット6、6により切り欠き部5内に定着された状態で、前記貫通孔2の両端部に設けた充填孔(図示省略)を通じて同貫通孔2の内部にグラウト等の硬化材7が充填されると共に、切り欠き部5の内部にコンクリート等の硬化材7が充填されることにより、連結部材4が強固に固定されてプレキャスト鉄筋コンクリート梁部材1、1同士が一体的に接合されるのである(図4B参照)。なお、PCa梁部材1、1同士の下側に設けた切り欠き部5の充填作業は、硬化材7の漏れを防止するべく、鋼板等の簡易な型枠材(図示省略)を設けて行うことに留意する。
したがって、このプレキャスト鉄筋コンクリート梁部材同士の接合方法、及び同方法により構築した接合構造によれば、上記実施例1とほぼ同様の作用効果を奏する。すなわち、PCa柱部材の下方に複数の柱主筋を突き出した構造形式(所謂逆串刺し工法、逆挿し柱、図26参照)は勿論のこと、PCa柱部材の上方に複数の柱主筋を突き出した構造形式(所謂串刺し工法、図25A、B参照)に特に好適に実施することができ、PCa梁部材1、1同士を接合するにあたり、PCa梁部材1を水平方向に移動させることなく、僅かな隙間(2cm程度)を設けて対向配置に位置決めして実施できるので、鋼板等の簡易な型枠材の使用、及び少量のグラウト等の硬化材7の充填により、PCa梁部材1、1同士を確実に一体的に接合することができる。よって、大掛かりな後工事を飛躍的に簡略化させることができ、工期の大幅な短縮を実現することができるので、施工性、及び経済性に非常に優れている。
ちなみに、図7と図8は、実施例2に係るPCa梁部材同士の接合構造のバリエーションを示している。図7は、前記図4〜図6に係る接合構造と比して、貫通孔2及び連結部材4の形状の曲率を小さくし、個数を倍増した場合の実施例であり、図8は、図7に係る接合構造と比して、連結部材4をナット6等の定着具を使用しないでグラウト等の硬化材7でのみ定着した場合の実施例である。これらのバリエーションについても、上記した実施例2に係る作用効果と同様の作用効果を奏する。
図9〜図11は、請求項7に係るプレキャスト鉄筋コンクリート梁部材同士の接合構造を示している。この接合構造は、前記梁部材1の端部にはそれぞれ、ほぼ当接状態に近づけると一致する貫通孔2が上方部分にバランスよく4個、下方部分にバランスよく4個の計8個ずつ設けられ、前記梁部材1、1同士がほぼ当接状態に近づけて対向配置に設けられ、前記一致した8個の貫通孔2内へ外部から前記二つの梁部材1、1に跨り連結する連結部材4が計8本挿入され位置決めされ、前記各貫通孔2内に接合するのに好適な前記硬化材7が充填されてプレキャスト鉄筋コンクリート梁部材1、1同士が一体的に接合されている(請求項2記載の発明)。
また、図9〜図11に係る接合構造は、前記梁部材1、1同士をほぼ当接状態に近づけると、一側の梁部材1の側面から他側の梁部材1の側面に向かって水平方向に曲線状に折り返して貫通する貫通孔2が、平面方向から見ると、左右対称配置に形成され(図9A参照)、前記貫通孔2内に同貫通孔2の形状と一致する曲線状の連結部材4が挿入されて位置決めされ、前記貫通孔2内に前記硬化材7が充填されてプレキャスト鉄筋コンクリート梁部材1、1同士が一体的に接合されている(請求項7記載の発明)。
さらに、図9〜図11に係る接合構造は、前記梁部材1における連結部材4の端部に相当する位置、即ち前記PCa梁部材1の一側面部にそれぞれ切り欠き部5が形成され、同端部はナット6等の定着具で切り欠き部5内に定着することにより位置決めされている(請求項3記載の発明)。ちなみに、図9中の符号10は所要の長さで水平方向に折り曲げ成形したU字形状鉄筋、符号11はあばら筋を示している。
前記貫通孔2は、本実施例では、各PCa梁部材1に8個ずつ設けて実施しているがこれに限定されず、使用するPCa梁部材1の大きさ(特に幅寸)、及び要求される設計強度に応じて適宜増減可能である。ちなみに、本実施例に係る貫通孔2は、上方部分と下方部分に集中して設けて実施しているが、配設位置はこれに限定されないことは勿論である。
前記連結部材4は、前記貫通孔2の形状と一致するように屈曲した曲線状の鉄筋が好適に使用される。この連結部材4はその両端部にねじ加工がなされており、対向するPCa梁部材1、1が形成する一連の貫通孔2、2内に差し込み、その両端部をナット6で切り欠き部5内に定着させることにより、双方のPCa梁部材1、1を確実に位置決めしている。本実施例に係る連結部材4は、貫通孔2の個数に応じて計8本で実施しているが、前記貫通孔2の個数、ひいては使用する前記梁部材1の大きさ(特に幅寸)、及び要求される設計強度に応じて適宜増減可能である。この連結部材4の所要長さは、前記貫通孔2内に挿入して位置決めした状態でその両端部が切り欠き部5に露出する程度の長さで実施することに留意する。
かくして、対向配置に位置決めされた梁部材1、1同士の各貫通孔2に前記連結部材4が差し込まれ、同連結部材4の両端部がナット6、6により切り欠き部5内に定着された状態で、前記貫通孔2の両端部に設けた充填孔(図示省略)を通じて同貫通孔2の内部にグラウト等の硬化材7が充填されると共に、切り欠き部5の内部にコンクリート等の硬化材7が充填されることにより、連結部材4が強固に固定されてプレキャスト鉄筋コンクリート梁部材1、1同士が一体的に接合されるのである(図9A参照)。なお、前記切り欠き部5の充填作業は、硬化材7の漏れを防止するべく、鋼板等により成形した簡易な型枠材(図示省略)を設けて行うことに留意する。
したがって、このプレキャスト鉄筋コンクリート梁部材同士の接合方法、及び同方法により構築した接合構造によれば、上記実施例1及び2とほぼ同様の作用効果を奏する。すなわち、PCa柱部材の下方に複数の柱主筋を突き出した構造形式(所謂逆串刺し工法、逆挿し柱、図26参照)は勿論のこと、PCa柱部材の上方に複数の柱主筋を突き出した構造形式(所謂串刺し工法、図25A、B参照)に特に好適に実施することができ、PCa梁部材1、1同士を接合するにあたり、PCa梁部材1を水平方向に移動させることなく、僅かな隙間(2cm程度)を設けて対向配置に位置決めして実施できるので、鋼板等の簡易な型枠材の使用、及び少量のグラウト等の硬化材7の充填により、PCa梁部材1、1同士を確実に一体的に接合することができる。よって、大掛かりな後工事を飛躍的に簡略化させることができ、工期の大幅な短縮を実現することができるので、施工性、及び経済性に非常に優れている。
加えて、この実施例3に係る接合構造は、PCa梁部材1、1同士の接合作業を一側面のみから行い得るので、ベランダ、或いはバルコニーの構築に使用される梁部材同士の接合構造に好適に実施できる利点がある。
図12は、請求項8に係るPCa梁部材1、1同士の接合構造を示している。この接合構造は、前記梁部材1の端部にはそれぞれ、ほぼ当接状態に近づけると一致する貫通孔2が上方部分にバランスよく4個、下方部分にバランスよく4個の計8個ずつ設けられ(前記図10のPCa梁部材1の端面を参照)、前記梁部材1、1同士がほぼ当接状態に近づけて対向配置に設けられ、前記一致した8個の貫通孔2へ外部から前記二つの梁部材1、1に跨り連結する連結部材4が計8本挿入され位置決めされ、前記各貫通孔2内に接合するのに好適な前記硬化材7が充填されてプレキャスト鉄筋コンクリート梁部材1、1同士が一体的に接合されている(請求項2記載の発明)。
また、図12に係る接合構造は、前記梁部材1、1同士をほぼ当接状態に近づけると、一側の梁部材1の両側面から他側の梁部材1の両側面に向かってそれぞれ水平方向に曲線状に折り返して貫通する貫通孔2が、平面方向から見ると、左右対称配置に形成され(図12A参照)、前記貫通孔2内には同貫通孔2の形状と一致する曲線状の連結部材4が挿入されて位置決めされ、前記貫通孔2内に前記硬化材7が充填されてプレキャスト鉄筋コンクリート梁部材1、1同士が一体的に接合されている(請求項8記載の発明)。
さらに、図12に係る接合構造は、前記梁部材1における前記連結部材4の端部に相当する位置、即ち前記PCa梁部材1の両側面部にそれぞれ切り欠き部5が形成され、同端部はナット6等の定着具で切り欠き部5内に定着することにより位置決めされている(請求項3記載の発明)。ちなみに、図12中の符号10は所要の長さで水平方向に折り曲げ成形したU字形状鉄筋、符号11はあばら筋を示している。
前記貫通孔2は、本実施例では、各PCa梁部材1に8個ずつ設けて実施しているがこれに限定されず、使用するPCa梁部材1の大きさ(特に幅寸)、及び要求される設計強度に応じて適宜増減可能である。ちなみに、本実施例に係る貫通孔2は、上方部分と下方部分に集中して設けて実施しているが(図12B参照)、配設位置はこれに限定されないことは勿論である。
前記連結部材4は、前記貫通孔2の形状と一致するように屈曲した曲線状の鉄筋が好適に使用される。この連結部材4はその両端部にねじ加工がなされており、対向するPCa梁部材1、1が形成する一連の貫通孔2、2内に差し込み、その両端部をナット6で切り欠き部5内に定着させることにより、双方のPCa梁部材1、1を確実に位置決めしている。本実施例に係る連結部材4は、貫通孔2の個数に応じて計8本で実施しているが、前記貫通孔2の個数、ひいては使用する前記梁部材1の大きさ(特に幅寸)、及び要求される設計強度に応じて適宜増減可能である。この連結部材4の所要長さは、前記貫通孔2内に挿入して位置決めした状態でその両端部が切り欠き部5に露出する程度の長さで実施することに留意する。
かくして、対向配置に位置決めされた梁部材1、1同士の各貫通孔2に連結部材4が差し込まれ、同連結部材4の両端部がナット6、6により切り欠き部5内に定着された状態で、前記貫通孔2の両端部に設けた充填孔(図示省略)を通じて同貫通孔2の内部にグラウト等の硬化材7が充填されると共に、切り欠き部5の内部にコンクリート等の硬化材7が充填されることにより、連結部材4が強固に固定されてプレキャスト鉄筋コンクリート梁部材1、1同士が一体的に接合されるのである(図12A参照)。なお、切り欠き部5の充填作業は、硬化材7の漏れを防止するべく、鋼板等により成形した簡易な型枠材(図示省略)を設けて行うことに留意する。
したがって、このプレキャスト鉄筋コンクリート梁部材同士の接合方法、及び同方法により構築した接合構造によれば、上記実施例1〜実施例3とほぼ同様の作用効果を奏する。すなわち、PCa柱部材の下方に複数の柱主筋を突き出した構造形式(所謂逆串刺し工法、逆挿し柱、図26参照)は勿論のこと、PCa柱部材の上方に複数の柱主筋を突き出した構造形式(所謂串刺し工法、図25A、B参照)に特に好適に実施することができ、PCa梁部材1、1同士を接合するにあたり、PCa梁部材1を水平方向に移動させることなく、僅かな隙間(2cm程度)を設けて対向配置に位置決めして実施できるので、鋼板等の簡易な型枠材の使用、及び少量のグラウト等の硬化材7の充填により、PCa梁部材1、1同士を確実に一体的に接合することができる。よって、大掛かりな後工事を飛躍的に簡略化させることができ、工期の大幅な短縮を実現することができるので、施工性、及び経済性に非常に優れている。
ちなみに、図13は、実施例4に係る接合構造のバリエーションを示している。この図13に係る接合構造は、前記図12に係る接合構造と比して、連結部材4をナット6等の定着具を使用しないでグラウト等の硬化材7でのみ定着した場合の実施例である。この図13に係る接合構造についても、ほぼ同様の作用効果を奏する。
図14〜図16は、請求項9に係るPCa梁部材1、1同士の接合構造を示している。
この接合構造は、前記梁部材1の端部にはそれぞれ、ほぼ当接状態に近づけると一致する貫通孔2が2個、非貫通孔2が2個設けられ、前記梁部材1、1同士がほぼ当接状態に近づけて対向配置に設けられ、前記一致すると非貫通孔2となる4個の非貫通孔2へ外部から前記二つの梁部材1、1に跨り連結する連結部材4が計4本挿入され位置決めされ、前記各非貫通孔2内に接合するのに好適な前記硬化材7が充填されてプレキャスト鉄筋コンクリート梁部材1、1同士が一体的に接合されている(請求項2記載の発明)。
また、図14〜図16に係る接合構造は、前記梁部材1、1同士をほぼ当接状態に近づけると、一側の梁部材1の上面から他側の梁部材内に向かって傾斜して行き止まる非貫通孔2が設けられ、同非貫通孔2の行き止まり部には、該他側の梁部材1に埋設された鉄筋9の端部が挿入された継手3が鉛直方向に傾斜して設けられており、前記非貫通孔2、継手3及び鉄筋9は、正面方向から見ると、左右対称配置に形成され(図14B参照)、前記非貫通孔2内に棒状の連結部材4がその先端部が前記継手3の内部に届くまで挿入され、前記継手3内で前記鉄筋9の端部と対向配置に位置決めされ、前記非貫通孔2内に硬化材7が充填されてプレキャスト鉄筋コンクリート梁部材1、1同士が一体的に接合されている(請求項9記載の発明)。
さらに、図14〜図16に係る接合構造は、前記梁部材1における前記連結部材4の端部に相当する位置、即ち前記PCa梁部材1の上面部にそれぞれ切り欠き部5が形成され、同端部はナット6、或いは機械式定着具等の定着具で切り欠き部5内に定着することにより位置決めされている(請求項3記載の発明)。ちなみに、図14中の符号10は所要の長さで水平方向に折り曲げ成形したU字形状鉄筋、符号11はあばら筋、符号12は補強筋を示している。
前記貫通孔2及び非貫通孔2の個数は、本実施例では、各PCa梁部材1に計4個ずつ設けて実施しているがこれに限定されず、使用するPCa梁部材1の大きさ(特に幅寸)、及び要求される設計強度に応じて、例えば、図17〜図19にバリエーションを示したように、適宜増減可能である。ちなみに、本実施例に係る前記貫通孔2と非貫通孔2とを一致させて一連に形成した非貫通孔2は、図14A〜Cを参照すると、右上から左下へ傾斜する非貫通孔2を右側へ偏倚させてほぼ平行に設け、左上から右下へ傾斜する非貫通孔2を左側へ偏倚させてほぼ平行に設けて当該各非貫通孔2が干渉しないような工夫が施されているが、貫通孔2の配設位置はこれに限定されないことは勿論である。
前記連結部材4は、棒状の鉄筋が好適に使用される。この連結部材4は、切り欠き部5内に露出する側の端部にねじ加工がなされており、対向するPCa梁部材1、1が形成する一連の非貫通孔2内に差し込み、その先端部を継手3内に挿入して、埋設された鉄筋9の端部と対向配置に位置決めし、その基端部をナット6で切り欠き部5内に定着させている。本実施例に係る連結部材4は、非貫通孔2の個数に応じて計4本で実施しているが、前記非貫通孔2の個数、ひいては使用する前記梁部材1の大きさ(特に幅寸)、及び要求される設計強度に応じて、適宜増減可能である(前記図17〜図19参照)。この連結部材4の所要長さは、その先端部を前記継手3内に挿入して位置決めした状態でその基端部が切り欠き部5に露出する程度の長さで実施することに留意する。
なお、本実施例に係る継手3は、スリーブ継手3で実施されているがこれに限定されず、内壁面にねじ加工が施されたねじ式継手でも同様に実施することができる。
かくして、対向配置に位置決めされた梁部材1、1同士の各非貫通孔2内に連結部材4が差し込まれ、同連結部材4の基端部がナット6により切り欠き部5内に定着された状態で、前記貫通孔2に設けた充填孔(図示省略)を通じて同非貫通孔2、スリーブ継手3の内部にグラウト等の硬化材7が充填されると共に、切り欠き部5の内部にコンクリート等の硬化材7が充填されることにより、連結部材4が強固に固定されてプレキャスト鉄筋コンクリート梁部材1、1同士が一体的に接合されるのである(図14B参照)。
なお、硬化材7の充填作業はすべて上側からのみの作業で足りるので、簡易な型枠材で実施可能である。前記スリーブ継手3の代わりに前記ねじ式継手で実施する場合には、前記鉄筋9の端部と前記連結部材4の先端部とが同ねじ式継手の両サイドからねじ込んで連結されるので、ねじ式継手の内部にグラウト等の硬化材7を充填する必要はない。また、前記切り欠き部5は、前記連結部材4をナット6で定着する場合には必要であるが、硬化材7でのみ定着する場合には特に必要ではない。
さらに、前記継手3の形状、及び設置部位は図14〜図16、及び図17〜図19に限定されず、ぞれぞれ図20A、及び図20Bに示したような部位に、屈曲した形状で実施することもできる。この図20A、Bに係る実施例によると、前記図14〜図16、及び図17〜図19に係る実施例では前記鉄筋9の一端部を上向きに傾斜して立ち上がる形状に屈曲して実施しなければならないのに対し、何ら加工することなく棒状の鉄筋9のままで実施できる利点がある。
ちなみに、前記連結部材4の外部に露出する側の端部をナット等の定着具6で定着して実施する場合には、構造設計上、必要な強度を発揮してPCa梁部材1、1同士を強固に接合できることを条件に、非貫通孔2全体に硬化材7を充満させる必要はなく、継手3の部分に充填するだけで実施できる場合もある。
したがって、このプレキャスト鉄筋コンクリート梁部材同士の接合方法、及び同方法により構築した接合構造によれば、上記実施例1〜実施例4とほぼ同様の作用効果を奏する。すなわち、PCa柱部材の下方に複数の柱主筋を突き出した構造形式(所謂逆串刺し工法、逆挿し柱、図26参照)は勿論のこと、PCa柱部材の上方に複数の柱主筋を突き出した構造形式(所謂串刺し工法、図25A、B参照)に特に好適に実施することができ、PCa梁部材1、1同士を接合するにあたり、PCa梁部材1を水平方向に移動させることなく、僅かな隙間(2cm程度)を設けて対向配置に位置決めして実施できるので、鋼板等の簡易な型枠材の使用、及び少量のグラウト等の硬化材7の充填により、PCa梁部材1、1同士を確実に一体的に接合することができる。よって、大掛かりな後工事を飛躍的に簡略化させることができ、工期の大幅な短縮を実現することができるので、施工性、及び経済性に非常に優れている。
図21〜図23は、請求項10に係るPCa梁部材1、1同士の接合構造を示している。
この接合構造は、前記梁部材1の端部にはそれぞれ、ほぼ当接状態に近づけると一致する貫通孔2が3個、非貫通孔2が3個設けられ、前記梁部材1、1同士がほぼ当接状態に近づけて対向配置に設けられ、前記一致すると非貫通孔2となる6個の非貫通孔2へ外部から前記二つの梁部材1、1に跨り連結する連結部材4が計6本挿入され位置決めされ、前記各非貫通孔2内に接合するのに好適な前記硬化材7が充填されてプレキャスト鉄筋コンクリート梁部材1、1同士が一体的に接合されている(請求項2記載の発明)。
また、図21〜図23に係る接合構造は、前記梁部材1、1同士をほぼ当接状態に近づけると、一側の梁部材1の側面から他側の梁部材1内に向かって傾斜して行き止まる非貫通孔2が設けられ、同非貫通孔2の行き止まり部には、該他側の梁部材1に埋設された鉄筋9の端部が挿入された継手3が水平方向に傾斜して埋設されており、前記非貫通孔2、継手3及び鉄筋9は、平面方向から見ると、左右対称配置に形成され(図21A参照)、前記非貫通孔2内に棒状の連結部材4がその先端部が前記継手3の内部に届くまで挿入され、前記継手3内で前記鉄筋9の端部と対向配置に位置決めされ、前記非貫通孔2内に硬化材7が充填されてプレキャスト鉄筋コンクリート梁部材1、1同士が一体的に接合されている(請求項10記載の発明)。
さらに、図21〜図23に係る接合構造は、前記梁部材1における前記連結部材4の端部に相当する位置にそれぞれ切り欠き部5が形成され、同端部はナット6、或いは機械式継手等の定着具で切り欠き部5内に定着することにより位置決めされている(請求項3記載の発明)。ちなみに、図21中の符号10は所要の長さで鉛直方向に折り曲げ成形し、且つ前記切り欠き部5を回避するように水平方向にも屈曲させたU字形状鉄筋、符号11はあばら筋を示している。
前記貫通孔2及び非貫通孔2の個数は、本実施例では、図22に示したように、各PCa梁部材1の中央部に計6個ずつ、ほぼ鉛直線上に揃えて設けて実施しているがこれに限定されず、使用するPCa梁部材1の大きさ(特に幅寸)、及び要求される設計強度に応じて適宜増減可能である。
前記連結部材4は、短尺の棒状の鉄筋が好適に使用される。この連結部材4は、切り欠き部5内に露出する側の端部にねじ加工がなされており、対向するPCa梁部材1、1が形成する一連の非貫通孔2内に差し込み、その先端部を継手3内に挿入して、埋設された鉄筋9の端部と対向配置に位置決めし、その基端部をナット6で切り欠き部5に定着させている。本実施例に係る連結部材4は、非貫通孔2の個数に応じて計6本で実施しているが、前記非貫通孔2の個数、ひいては使用する前記梁部材1の大きさ(特に幅寸)、及び要求される設計強度に応じて適宜増減可能である。この連結部材4の所要長さは、その先端部を前記継手3内に挿入して位置決めした状態でその基端部が切り欠き部5に露出する程度の長さで実施することに留意する。
なお、本実施例に係る継手3は、スリーブ継手3で実施されているがこれに限定されず、内壁面にねじ加工が施されたねじ式継手でも同様に実施することができる。
かくして、対向配置に位置決めされた梁部材1、1同士の各非貫通孔2内に連結部材4がほぼ平行に差し込まれ、同連結部材4の基端部がナット6により切り欠き部5内に定着された状態で、前記貫通孔2に設けた充填孔(図示省略)を通じて同非貫通孔2、スリーブ継手3の内部にグラウト等の硬化材7が充填されると共に、切り欠き部5の内部にコンクリート等の硬化材7が充填されることにより、連結部材4が強固に固定されてプレキャスト鉄筋コンクリート梁部材1、1同士が一体的に接合されるのである(図21A参照)。なお、切り欠き部5の充填作業は、硬化材7の漏れを防止するべく、鋼板等により成形した簡易な型枠材(図示省略)を設けて行うことに留意する。
なお、前記スリーブ継手3の代わりに前記ねじ式継手で実施する場合には、前記鉄筋9の端部と前記連結部材4の先端部とが同ねじ式継手の両サイドからねじ込んで連結されるので、ねじ式継手の内部にグラウト等の硬化材7を充填する必要はない。また、前記切り欠き部5は、前記連結部材4をナット6で定着する場合には必要であるが、硬化材7でのみ定着する場合には特に必要ではない。
さらに、前記継手3の形状、及び設置部位は図21〜図23に限定されず、図24に示したような部位に、屈曲した形状で実施することもできる。この図24に係る実施例によると、前記図21〜図23に係る実施例では前記鉄筋9の一端部を傾斜した形状に屈曲して実施しなければならないのに対し、何ら加工することなく棒状の鉄筋9のままで実施できる利点がある。
ちなみに、前記連結部材4の外部に露出する側の端部をナット等の定着具6で定着して実施する場合には、構造設計上、必要な強度を発揮してPCa梁部材1、1同士を強固に接合できることを条件に、非貫通孔2全体に硬化材7を充満させる必要はなく、継手3の部分に充填するだけで実施できる場合もある。
したがって、このプレキャスト鉄筋コンクリート梁部材同士の接合方法、及び同方法により構築した接合構造によれば、上記実施例1〜実施例5とほぼ同様の作用効果を奏する。すなわち、PCa柱部材の下方に複数の柱主筋を突き出した構造形式(所謂逆串刺し工法、逆挿し柱、図26参照)は勿論のこと、PCa柱部材の上方に複数の柱主筋を突き出した構造形式(所謂串刺し工法、図25A、B参照)に特に好適に実施することができ、PCa梁部材1、1同士を接合するにあたり、PCa梁部材1を水平方向に移動させることなく、僅かな隙間(2cm程度)を設けて対向配置に位置決めして実施できるので、鋼板等の簡易な型枠材の使用、及び少量のグラウト等の硬化材7の充填により、PCa梁部材1、1同士を確実に一体的に接合することができる。よって、大掛かりな後工事を飛躍的に簡略化させることができ、工期の大幅な短縮を実現することができるので、施工性、及び経済性に非常に優れている。
加えて、この実施例6に係る接合構造は、上記実施例3に係る接合構造と同様に、PCa梁部材1、1同士の接合作業を一側面のみから行い得るので、ベランダ、或いはバルコニーの構築に使用される梁部材同士の接合構造に好適に実施できる利点がある。
以上に実施形態を図面に基づいて説明したが、本発明は、図示例の実施形態の限りではなく、その技術的思想を逸脱しない範囲において、当業者が通常に行う設計変更、応用のバリエーションの範囲を含むことを念のために言及する。
例えば、前記連結部材4の両端部をナット等の定着具で定着する実施例について(図1、図4、図7、図9、及び図12を参照)、構造設計上、必要な強度を発揮してPCa梁部材1、1同士を強固に接合できることを条件に、前記貫通孔2内にグラウト等の硬化材7を充填しないで実施できる場合もある。
Aは、実施例1に係るプレキャスト鉄筋コンクリート梁部材同士の接合構造の枢要部を示した平面図であり、Bは、同正面図であり、Cは、同側断面図である。 実施例1に係るプレキャスト鉄筋コンクリート梁部材同士の接合構造の枢要部を示した分解斜視図である。 実施例1に係るプレキャスト鉄筋コンクリート梁部材同士の接合構造の枢要部を示した斜視図である。 Aは、実施例2に係るプレキャスト鉄筋コンクリート梁部材同士の接合構造の枢要部を示した平面図であり、Bは、同正面図であり、Cは、同側断面図である。 実施例2に係るプレキャスト鉄筋コンクリート梁部材同士の接合構造の枢要部を示した分解斜視図である。 実施例2に係るプレキャスト鉄筋コンクリート梁部材同士の接合構造の枢要部を示した斜視図である。 実施例2に係るプレキャスト鉄筋コンクリート梁部材同士の接合構造のバリエーションを示した分解斜視図である。 実施例2に係るプレキャスト鉄筋コンクリート梁部材同士の接合構造のバリエーションを示した分解斜視図である。 Aは、実施例3に係るプレキャスト鉄筋コンクリート梁部材同士の接合構造の枢要部を示した平面図であり、Bは、同正面図であり、Cは、同側断面図である。 実施例3に係るプレキャスト鉄筋コンクリート梁部材同士の接合構造の枢要部を示した分解斜視図である。 実施例3に係るプレキャスト鉄筋コンクリート梁部材同士の接合構造の枢要部を示した斜視図である。 Aは、実施例4に係るプレキャスト鉄筋コンクリート梁部材同士の接合構造の枢要部を示した平面図であり、Bは、同正面図である。 Aは、実施例4に係るプレキャスト鉄筋コンクリート梁部材同士の接合構造のバリエーションを示した平面図であり、Bは、同正面図である。 Aは、実施例5に係るプレキャスト鉄筋コンクリート梁部材同士の接合構造の枢要部を示した平面図であり、Bは、同正面図であり、Cは、同側断面図である。 実施例5に係るプレキャスト鉄筋コンクリート梁部材同士の接合構造の枢要部を示した分解斜視図である。 実施例5に係るプレキャスト鉄筋コンクリート梁部材同士の接合構造の枢要部を示した斜視図である。 Aは、実施例5のバリエーションに係るプレキャスト鉄筋コンクリート梁部材同士の接合構造の枢要部を示した平面図であり、Bは、同正面図であり、Cは、同側断面図である。 実施例5のバリエーションに係るプレキャスト鉄筋コンクリート梁部材同士の接合構造の枢要部を示した分解斜視図である。 実施例5のバリエーションに係るプレキャスト鉄筋コンクリート梁部材同士の接合構造の枢要部を示した斜視図である。 Aは、図14Bに係る継手のバリエーションを示しており、Bは、図17Bに係る継手のバリエーションを示している。 Aは、実施例6に係るプレキャスト鉄筋コンクリート梁部材同士の接合構造の枢要部を示した平面図であり、Bは、同正面図であり、Cは、同側断面図である。 実施例6に係るプレキャスト鉄筋コンクリート梁部材同士の接合構造の枢要部を示した分解斜視図である。 実施例6に係るプレキャスト鉄筋コンクリート梁部材同士の接合構造の枢要部を示した斜視図である。 図21Aに係る継手のバリエーションを示している。 A、Bは、従来技術に係るプレキャスト鉄筋コンクリート梁部材同士の接合構造の枢要部を示した正面図である。 従来技術に係るプレキャスト鉄筋コンクリート梁部材同士の接合構造の枢要部を示した正面図である。
符号の説明
1 梁部材
2 貫通孔、非貫通孔
3 スリーブ継手
4 連結部材
5 切り欠き部
6 ナット
7 硬化材
8 充填孔
9 鉄筋
10 U字形状鉄筋
11 あばら筋
12 補強筋

Claims (12)

  1. プレキャスト鉄筋コンクリート梁部材同士の接合方法において、
    前記梁部材の接合端部にそれぞれ、ほぼ当接状態に近づけると一致する貫通孔又は非貫通孔を設けておき、前記梁部材同士を、ほぼ当接状態に近づけて対向配置に位置決めすること、
    前記一致した貫通孔又は非貫通孔へ前記二つの梁部材を連結する連結部材を挿入し位置決めすること、
    しかる後に、前記貫通孔内又は非貫通孔内へ硬化材を充填してプレキャスト鉄筋コンクリート梁部材同士を一体的に接合することを特徴とする、プレキャスト鉄筋コンクリート梁部材同士の接合方法。
  2. プレキャスト鉄筋コンクリート梁部材同士の接合構造において、
    前記梁部材の端部にはそれぞれ、ほぼ当接状態に近づけると一致する貫通孔又は非貫通孔が設けられていること、
    前記梁部材同士がほぼ当接状態に近づけて対向配置に設けられ、前記一致した貫通孔又は非貫通孔へ前記二つの梁部材に跨り連結する連結部材が挿入され位置決めされていること、
    前記貫通孔内又は非貫通孔内に硬化材が充填されてプレキャスト鉄筋コンクリート梁部材同士が一体的に接合されていることを特徴とする、プレキャスト鉄筋コンクリート梁部材同士の接合構造。
  3. 前記梁部材における前記連結部材の端部に相当する位置に切り欠き部が形成され、同端部はナット、機械式定着具等の定着具で切り欠き部内に定着することにより位置決めされていることを特徴とする、請求項2に記載したプレキャスト鉄筋コンクリート梁部材同士の接合構造。
  4. 前記梁部材同士をほぼ当接状態に近づけると、一側の梁部材の上面から他側の梁部材の下面に向かって傾斜して貫通する貫通孔が、正面方向から見ると、左右対称なクロス状に形成されていること、
    前記各貫通孔に棒状の連結部材が挿入されて位置決めされていること、
    前記貫通孔内に硬化材が充填されてプレキャスト鉄筋コンクリート梁部材同士が一体的に接合されていることを特徴とする、請求項2又は3に記載したプレキャスト鉄筋コンクリート梁部材同士の接合構造。
  5. 前記連結部材はPC鋼棒、或いは丸鋼、ねじ節鉄筋、ボルトであり、プレストレスを導入してその両端部が定着されていることを特徴とする、請求項4に記載したプレキャスト鉄筋コンクリート梁部材同士の接合構造。
  6. 前記梁部材同士をほぼ当接状態に近づけると、一側の梁部材の上面から他側の梁部材の上面に向かって鉛直方向に曲線状に折り返して貫通する貫通孔と、一側の梁部材の下面から他側の梁部材の下面に向かって鉛直方向に曲線状に折り返して貫通する貫通孔とが、正面方向から見ると、上下対称配置に形成されていること、
    前記各貫通孔内に同貫通孔の形状と一致する曲線状の連結部材が挿入されて位置決めされていること、
    前記貫通孔内に硬化材が充填されてプレキャスト鉄筋コンクリート梁部材同士が一体的に接合されていることを特徴とする、請求項2又は3に記載したプレキャスト鉄筋コンクリート梁部材同士の接合構造。
  7. 前記梁部材同士をほぼ当接状態に近づけると、一側の梁部材の側面から他側の梁部材の側面に向かって水平方向に曲線状に折り返して貫通する貫通孔が、平面方向から見ると、左右対称配置に形成されていること、
    前記貫通孔内には同貫通孔の形状と一致する曲線状の連結部材が挿入されて位置決めされていること、
    前記貫通孔内に硬化材が充填されてプレキャスト鉄筋コンクリート梁部材同士が一体的に接合されていることを特徴とする、請求項2又は3に記載したプレキャスト鉄筋コンクリート梁部材同士の接合構造。
  8. 前記梁部材同士をほぼ当接状態に近づけると、一側の梁部材の両側面から他側の梁部材の両側面に向かってそれぞれ水平方向に曲線状に折り返して貫通する貫通孔が、平面方向から見ると、左右対称配置に形成されていること、
    前記貫通孔内には同貫通孔の形状と一致する曲線状の連結部材が挿入されて位置決めされていること、
    前記貫通孔内に硬化材が充填されてプレキャスト鉄筋コンクリート梁部材同士が一体的に接合されていることを特徴とする、請求項2又は3に記載したプレキャスト鉄筋コンクリート梁部材同士の接合構造。
  9. 前記梁部材同士をほぼ当接状態に近づけると、一側の梁部材の上面から他側の梁部材内に向かって傾斜して行き止まる非貫通孔が設けられ、同非貫通孔の行き止まり部には、該他側の梁部材に埋設された鉄筋の端部が挿入された継手が設けられており、前記非貫通孔、継手及び鉄筋は、正面方向から見ると、左右対称配置に形成されていること、
    前記非貫通孔内に棒状の連結部材がその先端部が前記継手の内部に届くまで挿入され、前記継手内で前記鉄筋の端部と対向配置に位置決めされていること、
    前記非貫通孔内に硬化材が充填されてプレキャスト鉄筋コンクリート梁部材同士が一体的に接合されていることを特徴とする、請求項2又は3に記載したプレキャスト鉄筋コンクリート梁部材同士の接合構造。
  10. 前記梁部材同士をほぼ当接状態に近づけると、一側の梁部材の側面から他側の梁部材内に向かって傾斜して行き止まる非貫通孔が設けられ、同非貫通孔の行き止まり部には、該他側の梁部材に埋設された鉄筋の端部が挿入された継手が埋設されており、前記非貫通孔、継手及び鉄筋は、平面方向から見ると、左右対称配置に形成されていること、
    前記非貫通孔内に棒状の連結部材がその先端部が前記継手の内部に届くまで挿入され、前記継手内で前記鉄筋の端部と対向配置に位置決めされていること、
    前記非貫通孔内に硬化材が充填されてプレキャスト鉄筋コンクリート梁部材同士が一体的に接合されていることを特徴とする、請求項2又は3に記載したプレキャスト鉄筋コンクリート梁部材同士の接合構造。
  11. 前記貫通孔又は非貫通孔は、シース管、或いはコンクリートホールで形成されていることを特徴とする、請求項2〜10のいずれか一に記載したプレキャスト鉄筋コンクリート梁部材同士の接合構造。
  12. 前記硬化材は、グラウト、モルタル、樹脂モルタル、エポキシ樹脂、若しくはコンクリート、又はこれらの組み合わせであることを特徴とする、請求項2〜11のいずれか一に記載したプレキャスト鉄筋コンクリート梁部材同士の接合構造。
JP2006252252A 2006-09-19 2006-09-19 プレキャスト鉄筋コンクリート梁部材同士の接合構造 Expired - Fee Related JP4964544B2 (ja)

Priority Applications (1)

Application Number Priority Date Filing Date Title
JP2006252252A JP4964544B2 (ja) 2006-09-19 2006-09-19 プレキャスト鉄筋コンクリート梁部材同士の接合構造

Applications Claiming Priority (1)

Application Number Priority Date Filing Date Title
JP2006252252A JP4964544B2 (ja) 2006-09-19 2006-09-19 プレキャスト鉄筋コンクリート梁部材同士の接合構造

Publications (2)

Publication Number Publication Date
JP2008075251A true JP2008075251A (ja) 2008-04-03
JP4964544B2 JP4964544B2 (ja) 2012-07-04

Family

ID=39347599

Family Applications (1)

Application Number Title Priority Date Filing Date
JP2006252252A Expired - Fee Related JP4964544B2 (ja) 2006-09-19 2006-09-19 プレキャスト鉄筋コンクリート梁部材同士の接合構造

Country Status (1)

Country Link
JP (1) JP4964544B2 (ja)

Cited By (9)

* Cited by examiner, † Cited by third party
Publication number Priority date Publication date Assignee Title
JP2012046925A (ja) * 2010-08-25 2012-03-08 Toyota T & S Kensetsu Kk コンクリート部材の接合構造及びその接合方法
JP2013104175A (ja) * 2011-11-10 2013-05-30 Kajima Corp プレキャスト部材の設置方法及びこれに用いるプレキャスト構造体
JP2015086594A (ja) * 2013-10-31 2015-05-07 大成建設株式会社 プレキャスト床版の接合構造およびプレキャスト床版の接合方法
JP2018053441A (ja) * 2016-09-26 2018-04-05 清水建設株式会社 ループ状継手を備えたプレキャストコンクリート床版
JP2018066141A (ja) * 2016-10-18 2018-04-26 首都高速道路株式会社 プレキャスト壁高欄接合構造、及びプレキャスト壁高欄接合方法
JP2019190127A (ja) * 2018-04-25 2019-10-31 株式会社大林組 木質構造
JP2022113877A (ja) * 2018-04-25 2022-08-04 株式会社大林組 木質構造
KR102507360B1 (ko) * 2022-03-23 2023-03-08 이노스텍 주식회사 프리캐스트 콘크리트 구조물 접합용 전단연결재 및 이를 이용한 프리캐스트 콘크리트 구조물의 접합시공 방법
CN119466179A (zh) * 2025-01-09 2025-02-18 安庆市国丰新型建材有限公司 一种装配式房屋预制墙体结构及其施工方法

Families Citing this family (1)

* Cited by examiner, † Cited by third party
Publication number Priority date Publication date Assignee Title
CN106759968A (zh) * 2017-01-19 2017-05-31 中国水利水电第八工程局有限公司 一种装配式预制构件墙板缝的处理方法

Citations (1)

* Cited by examiner, † Cited by third party
Publication number Priority date Publication date Assignee Title
JPH11256687A (ja) * 1998-03-13 1999-09-21 Hatsuo Fujita 軸組構造及び軸組工法

Patent Citations (1)

* Cited by examiner, † Cited by third party
Publication number Priority date Publication date Assignee Title
JPH11256687A (ja) * 1998-03-13 1999-09-21 Hatsuo Fujita 軸組構造及び軸組工法

Cited By (11)

* Cited by examiner, † Cited by third party
Publication number Priority date Publication date Assignee Title
JP2012046925A (ja) * 2010-08-25 2012-03-08 Toyota T & S Kensetsu Kk コンクリート部材の接合構造及びその接合方法
JP2013104175A (ja) * 2011-11-10 2013-05-30 Kajima Corp プレキャスト部材の設置方法及びこれに用いるプレキャスト構造体
JP2015086594A (ja) * 2013-10-31 2015-05-07 大成建設株式会社 プレキャスト床版の接合構造およびプレキャスト床版の接合方法
JP2018053441A (ja) * 2016-09-26 2018-04-05 清水建設株式会社 ループ状継手を備えたプレキャストコンクリート床版
JP2018066141A (ja) * 2016-10-18 2018-04-26 首都高速道路株式会社 プレキャスト壁高欄接合構造、及びプレキャスト壁高欄接合方法
JP2019190127A (ja) * 2018-04-25 2019-10-31 株式会社大林組 木質構造
JP2022113877A (ja) * 2018-04-25 2022-08-04 株式会社大林組 木質構造
JP7243037B2 (ja) 2018-04-25 2023-03-22 株式会社大林組 木質構造
JP7276568B2 (ja) 2018-04-25 2023-05-18 株式会社大林組 木質構造
KR102507360B1 (ko) * 2022-03-23 2023-03-08 이노스텍 주식회사 프리캐스트 콘크리트 구조물 접합용 전단연결재 및 이를 이용한 프리캐스트 콘크리트 구조물의 접합시공 방법
CN119466179A (zh) * 2025-01-09 2025-02-18 安庆市国丰新型建材有限公司 一种装配式房屋预制墙体结构及其施工方法

Also Published As

Publication number Publication date
JP4964544B2 (ja) 2012-07-04

Similar Documents

Publication Publication Date Title
JP5860576B2 (ja) プレキャスト柱梁の接合構造
JP4472729B2 (ja) 補強構造
JP2014055517A (ja) プレキャスト柱梁の接合構造
JP2008075251A (ja) プレキャスト鉄筋コンクリート梁部材同士の接合方法及び接合構造
JP2021071026A (ja) 柱梁接合構造
JP2009097212A (ja) プレキャストコンクリート柱およびその接合方法
JP2019052424A (ja) PCa版の継手構造及びその構築方法
JP2009114755A (ja) プレキャストコンクリート柱部材の接合構造、及びプレキャストコンクリート柱部材の接合方法
JP2005200994A (ja) 閉鎖断面部材の接合構造
JP4914236B2 (ja) プレキャスト鉄筋コンクリート梁部材同士の接合方法及び接合構造
JP6861472B2 (ja) プレキャスト部材の接合構造
JP2015229855A (ja) プレキャスト柱梁部材接合構造
JP6866257B2 (ja) 接合構造及び接合方法
JP2007146641A (ja) プレキャストコンクリート部材の接合部の構造並びに該接合部を有するプレキャストコンクリート組立構造物及びその構造物の構築方法
JP5041796B2 (ja) プレキャスト鉄筋コンクリート梁部材同士の接合方法及び接合構造
JP2008063802A (ja) プレキャスト鉄筋コンクリート梁部材同士の接合方法及び接合構造
JP2012017575A (ja) プレキャストコンクリート部材の接合構造及び接合方法
JP2009299267A (ja) プレキャストコンクリート構造部材接合構造、及びプレキャストコンクリート構造部材の接合方法
JP5717983B2 (ja) 部材の接合構造、建物、及び部材の接合方法
JP2017206844A (ja) 耐震壁構造
JP5008522B2 (ja) プレキャストコンクリート部材の接合構造、建物、及び建物の施工方法
JP2020190103A (ja) プレキャストコンクリート部材の接合方法
KR101685632B1 (ko) 강도와 연성을 증가시킬 수 있는 전단 접합부
JP2006200270A (ja) 接合構造及び接合方法。
JP5002085B2 (ja) 誘導埋込み材及びそれを用いたひび割れ誘導構造

Legal Events

Date Code Title Description
A621 Written request for application examination

Free format text: JAPANESE INTERMEDIATE CODE: A621

Effective date: 20090626

A521 Request for written amendment filed

Free format text: JAPANESE INTERMEDIATE CODE: A523

Effective date: 20091224

A977 Report on retrieval

Free format text: JAPANESE INTERMEDIATE CODE: A971007

Effective date: 20111020

A131 Notification of reasons for refusal

Free format text: JAPANESE INTERMEDIATE CODE: A131

Effective date: 20111025

A521 Request for written amendment filed

Free format text: JAPANESE INTERMEDIATE CODE: A523

Effective date: 20111213

TRDD Decision of grant or rejection written
A01 Written decision to grant a patent or to grant a registration (utility model)

Free format text: JAPANESE INTERMEDIATE CODE: A01

Effective date: 20120228

A01 Written decision to grant a patent or to grant a registration (utility model)

Free format text: JAPANESE INTERMEDIATE CODE: A01

A61 First payment of annual fees (during grant procedure)

Free format text: JAPANESE INTERMEDIATE CODE: A61

Effective date: 20120328

R150 Certificate of patent or registration of utility model

Ref document number: 4964544

Country of ref document: JP

Free format text: JAPANESE INTERMEDIATE CODE: R150

Free format text: JAPANESE INTERMEDIATE CODE: R150

FPAY Renewal fee payment (event date is renewal date of database)

Free format text: PAYMENT UNTIL: 20150406

Year of fee payment: 3

LAPS Cancellation because of no payment of annual fees