JP2008057279A - 構造物支持装置、及び構造物の設置方法 - Google Patents

構造物支持装置、及び構造物の設置方法 Download PDF

Info

Publication number
JP2008057279A
JP2008057279A JP2006238089A JP2006238089A JP2008057279A JP 2008057279 A JP2008057279 A JP 2008057279A JP 2006238089 A JP2006238089 A JP 2006238089A JP 2006238089 A JP2006238089 A JP 2006238089A JP 2008057279 A JP2008057279 A JP 2008057279A
Authority
JP
Japan
Prior art keywords
curved plate
roof
dome
convex portion
shaped convex
Prior art date
Legal status (The legal status is an assumption and is not a legal conclusion. Google has not performed a legal analysis and makes no representation as to the accuracy of the status listed.)
Granted
Application number
JP2006238089A
Other languages
English (en)
Other versions
JP4447587B2 (ja
Inventor
Yasushi Ogoshi
泰 大越
Yoshio Terunuma
美穂 照沼
Yoshihiro Aramaki
義博 荒蒔
Current Assignee (The listed assignees may be inaccurate. Google has not performed a legal analysis and makes no representation or warranty as to the accuracy of the list.)
Sharp Corp
Original Assignee
Sharp Corp
Priority date (The priority date is an assumption and is not a legal conclusion. Google has not performed a legal analysis and makes no representation as to the accuracy of the date listed.)
Filing date
Publication date
Application filed by Sharp Corp filed Critical Sharp Corp
Priority to JP2006238089A priority Critical patent/JP4447587B2/ja
Priority to US11/896,121 priority patent/US7946082B2/en
Publication of JP2008057279A publication Critical patent/JP2008057279A/ja
Application granted granted Critical
Publication of JP4447587B2 publication Critical patent/JP4447587B2/ja
Expired - Fee Related legal-status Critical Current
Anticipated expiration legal-status Critical

Links

Images

Classifications

    • HELECTRICITY
    • H02GENERATION; CONVERSION OR DISTRIBUTION OF ELECTRIC POWER
    • H02SGENERATION OF ELECTRIC POWER BY CONVERSION OF INFRARED RADIATION, VISIBLE LIGHT OR ULTRAVIOLET LIGHT, e.g. USING PHOTOVOLTAIC [PV] MODULES
    • H02S20/00Supporting structures for PV modules
    • H02S20/20Supporting structures directly fixed to an immovable object
    • H02S20/22Supporting structures directly fixed to an immovable object specially adapted for buildings
    • H02S20/23Supporting structures directly fixed to an immovable object specially adapted for buildings specially adapted for roof structures
    • FMECHANICAL ENGINEERING; LIGHTING; HEATING; WEAPONS; BLASTING
    • F24HEATING; RANGES; VENTILATING
    • F24SSOLAR HEAT COLLECTORS; SOLAR HEAT SYSTEMS
    • F24S25/00Arrangement of stationary mountings or supports for solar heat collector modules
    • F24S25/30Arrangement of stationary mountings or supports for solar heat collector modules using elongate rigid mounting elements extending substantially along the supporting surface, e.g. for covering buildings with solar heat collectors
    • F24S25/33Arrangement of stationary mountings or supports for solar heat collector modules using elongate rigid mounting elements extending substantially along the supporting surface, e.g. for covering buildings with solar heat collectors forming substantially planar assemblies, e.g. of coplanar or stacked profiles
    • FMECHANICAL ENGINEERING; LIGHTING; HEATING; WEAPONS; BLASTING
    • F24HEATING; RANGES; VENTILATING
    • F24SSOLAR HEAT COLLECTORS; SOLAR HEAT SYSTEMS
    • F24S25/00Arrangement of stationary mountings or supports for solar heat collector modules
    • F24S25/60Fixation means, e.g. fasteners, specially adapted for supporting solar heat collector modules
    • F24S25/61Fixation means, e.g. fasteners, specially adapted for supporting solar heat collector modules for fixing to the ground or to building structures
    • FMECHANICAL ENGINEERING; LIGHTING; HEATING; WEAPONS; BLASTING
    • F24HEATING; RANGES; VENTILATING
    • F24SSOLAR HEAT COLLECTORS; SOLAR HEAT SYSTEMS
    • F24S25/00Arrangement of stationary mountings or supports for solar heat collector modules
    • F24S25/60Fixation means, e.g. fasteners, specially adapted for supporting solar heat collector modules
    • F24S25/65Fixation means, e.g. fasteners, specially adapted for supporting solar heat collector modules for coupling adjacent supporting elements, e.g. for connecting profiles together
    • FMECHANICAL ENGINEERING; LIGHTING; HEATING; WEAPONS; BLASTING
    • F24HEATING; RANGES; VENTILATING
    • F24SSOLAR HEAT COLLECTORS; SOLAR HEAT SYSTEMS
    • F24S25/00Arrangement of stationary mountings or supports for solar heat collector modules
    • F24S2025/01Special support components; Methods of use
    • F24S2025/021Sealing means between support elements and mounting surface
    • FMECHANICAL ENGINEERING; LIGHTING; HEATING; WEAPONS; BLASTING
    • F24HEATING; RANGES; VENTILATING
    • F24SSOLAR HEAT COLLECTORS; SOLAR HEAT SYSTEMS
    • F24S40/00Safety or protection arrangements of solar heat collectors; Preventing malfunction of solar heat collectors
    • F24S40/40Preventing corrosion; Protecting against dirt or contamination
    • F24S40/44Draining rainwater or condensation
    • YGENERAL TAGGING OF NEW TECHNOLOGICAL DEVELOPMENTS; GENERAL TAGGING OF CROSS-SECTIONAL TECHNOLOGIES SPANNING OVER SEVERAL SECTIONS OF THE IPC; TECHNICAL SUBJECTS COVERED BY FORMER USPC CROSS-REFERENCE ART COLLECTIONS [XRACs] AND DIGESTS
    • Y02TECHNOLOGIES OR APPLICATIONS FOR MITIGATION OR ADAPTATION AGAINST CLIMATE CHANGE
    • Y02BCLIMATE CHANGE MITIGATION TECHNOLOGIES RELATED TO BUILDINGS, e.g. HOUSING, HOUSE APPLIANCES OR RELATED END-USER APPLICATIONS
    • Y02B10/00Integration of renewable energy sources in buildings
    • Y02B10/10Photovoltaic [PV]
    • YGENERAL TAGGING OF NEW TECHNOLOGICAL DEVELOPMENTS; GENERAL TAGGING OF CROSS-SECTIONAL TECHNOLOGIES SPANNING OVER SEVERAL SECTIONS OF THE IPC; TECHNICAL SUBJECTS COVERED BY FORMER USPC CROSS-REFERENCE ART COLLECTIONS [XRACs] AND DIGESTS
    • Y02TECHNOLOGIES OR APPLICATIONS FOR MITIGATION OR ADAPTATION AGAINST CLIMATE CHANGE
    • Y02BCLIMATE CHANGE MITIGATION TECHNOLOGIES RELATED TO BUILDINGS, e.g. HOUSING, HOUSE APPLIANCES OR RELATED END-USER APPLICATIONS
    • Y02B10/00Integration of renewable energy sources in buildings
    • Y02B10/20Solar thermal
    • YGENERAL TAGGING OF NEW TECHNOLOGICAL DEVELOPMENTS; GENERAL TAGGING OF CROSS-SECTIONAL TECHNOLOGIES SPANNING OVER SEVERAL SECTIONS OF THE IPC; TECHNICAL SUBJECTS COVERED BY FORMER USPC CROSS-REFERENCE ART COLLECTIONS [XRACs] AND DIGESTS
    • Y02TECHNOLOGIES OR APPLICATIONS FOR MITIGATION OR ADAPTATION AGAINST CLIMATE CHANGE
    • Y02EREDUCTION OF GREENHOUSE GAS [GHG] EMISSIONS, RELATED TO ENERGY GENERATION, TRANSMISSION OR DISTRIBUTION
    • Y02E10/00Energy generation through renewable energy sources
    • Y02E10/40Solar thermal energy, e.g. solar towers
    • Y02E10/47Mountings or tracking
    • YGENERAL TAGGING OF NEW TECHNOLOGICAL DEVELOPMENTS; GENERAL TAGGING OF CROSS-SECTIONAL TECHNOLOGIES SPANNING OVER SEVERAL SECTIONS OF THE IPC; TECHNICAL SUBJECTS COVERED BY FORMER USPC CROSS-REFERENCE ART COLLECTIONS [XRACs] AND DIGESTS
    • Y02TECHNOLOGIES OR APPLICATIONS FOR MITIGATION OR ADAPTATION AGAINST CLIMATE CHANGE
    • Y02EREDUCTION OF GREENHOUSE GAS [GHG] EMISSIONS, RELATED TO ENERGY GENERATION, TRANSMISSION OR DISTRIBUTION
    • Y02E10/00Energy generation through renewable energy sources
    • Y02E10/50Photovoltaic [PV] energy

Landscapes

  • Engineering & Computer Science (AREA)
  • Chemical & Material Sciences (AREA)
  • Physics & Mathematics (AREA)
  • Life Sciences & Earth Sciences (AREA)
  • Sustainable Development (AREA)
  • Sustainable Energy (AREA)
  • Thermal Sciences (AREA)
  • Combustion & Propulsion (AREA)
  • Mechanical Engineering (AREA)
  • General Engineering & Computer Science (AREA)
  • Civil Engineering (AREA)
  • Structural Engineering (AREA)
  • Architecture (AREA)
  • Roof Covering Using Slabs Or Stiff Sheets (AREA)

Abstract

【課題】耐久性の点で優れ、少ない部品点数であって、設置作業が容易であり、大型化を抑えつつ、強度向上を図ることが可能な構造物支持装置を提供する。
【解決手段】湾曲板2の凹面側を屋根41面に向けて、湾曲板2を屋根41上に配置し、湾曲板2のドーム状凸部3の各ネジ孔8、9を通じて、ネジを屋根41の垂木42にねじ込んで締着し、湾曲板2を屋根部材21に圧接固定しているので、ネジの締着力により湾曲板2が屋根部材21に強く圧接され、湾曲板2が平板状に変形する。このときの湾曲板2の弾性力により該湾曲板2の2つの辺2bが屋根部材21に強く圧接されて、この2つの辺2bと屋根部材21間が防水される。また、構造物支持装置1のドーム状凸部3頂部に太陽電池パネル46を支持するので、屋根部材21及び湾曲板2の表面よりも高い位置にあるドーム状凸部3頂部の各ネジ孔8、9が浸水することはない。
【選択図】図12

Description

本発明は、住宅用太陽光発電システムなどに使用される太陽電池モジュール等の構造物を家屋の屋根等に支持固定するための構造物支持装置及び構造物の設置方法に関する。
周知の様に省エネルギーもしくは太陽エネルギー有効利用のために、太陽電池モジュールを家屋の屋根等に設置し、太陽電池モジュールによる発電電力を住宅に供給するという住宅用太陽光発電システムが提供されている。この様なシステムを利用するには、太陽電池モジュールの屋根等への設置工事が必要であり、その際には、太陽電池モジュールの配線等のために、太陽電池モジュールを屋根の取付け面から間隔を空けて浮かせた状態で取付ける必要がある。また、屋根上では風雨に直接さらされるので、強風で吹飛ばされないように太陽電池モジュールを強固に取付ける必要があり、更に太陽電池モジュールの取付け部分から雨漏りなどが生じないように考慮する必要もある。
特許文献1には、太陽電池モジュールをスレート屋根に設置するための取付け構造に関する先行技術が開示されている。ここでは、太陽電池モジュールを取付けるための支持金具を屋根の野地板に設置して、支持金具の取付け箇所に防水処理を施し、スレート瓦を加工して、支持金具とスレート瓦とが重ならないようにスレート瓦を設置している。この後で、支持金具の上に、太陽電池モジュールを取付けるための縦桟と横桟とを井桁状に組み合わせて載せ、これらの桟の上に太陽電池モジュールを取付けている。
また、特許文献2には、太陽光利用機器を屋根上に設置するための防水構造に関する先行技術が開示されている。ここでは、太陽光利用機器を設置するための固定金具を屋根の野地板に設置し、この固定金具を覆う防水カバーを取付けて、この固定金具のボルトのみを防水カバーを貫通させて突出させ、このボルト上に架台を取付け、この架台上に太陽光利用機器を固定支持している。雨水は、防水カバーの周囲に沿って流れ、固定金具を避けるので、固定金具と野地板間の隙間を通じて雨水が浸入することはない。
特開平8−93159号公報 特開2006−52529号公報
しかしながら、特許文献1では、シーリング材を支持金具周辺の隙間に充填して、防水処理を施しているので、施工に手間を要する。また、その防水性能がシーリング材のみに依存するので、耐久性も劣る。
また、特許文献2では、防水カバーで覆う構造であるから、耐久性の点で優れるものの、固定金具と防止カバーが別体であるので、それぞれを別々に取付ける必要があり、ネジ釘等を含めると、部品点数が多く、設置作業が煩雑である。また、固定金具の強度を向上させるために、固定金具を大型化した場合は、これを覆う防水カバーが非常に大きくなって目立ち、施工後の外観が見苦しいものとなる。
そこで、本発明は、上記従来の問題に鑑みてなされたものであり、耐久性の点で優れ、少ない部品点数であって、設置作業が容易であり、大型化を抑えつつ、強度向上を図ることが可能な構造物支持装置を提供することを目的とする。
また、本発明は、上記本発明の構造物支持装置を用いて構造物を屋根に支持固定する構造物の設置方法を提供することを目的とする。
上記課題を解決するために、本発明の構造物支持装置は、屋根に構造物を支持固定するための構造物支持装置において、湾曲板の中央部を該湾曲板の凹面側から凸面側へと突出させてドーム状凸部を形成し、前記ドーム状凸部に前記湾曲板の中央部を貫通するネジ孔を設け、前記ドーム状凸部の頂部に構造物を支持している。
また、前記湾曲板が矩形状であり、該矩形の対向する2つの辺が弧を描く様に該湾曲板が湾曲している。
更に、前記ドーム状凸部の内側に補強部材が設けられ、前記ネジ孔が前記湾曲板及び該補強部材を貫通している。
また、前記ドーム状凸部の頂部が前記構造物を支持するための支持面を有し、前記ネジ孔が該支持面に対して鉛直に設けられている。
更に、前記ドーム状凸部のネジ孔は、複数であって、相互に間隔を開けて設けられている。
また、本発明の設置方法は、上記本発明の構造物支持装置を用いて構造物を屋根に支持固定する構造物の設置方法において、前記構造物支持装置の湾曲板の凹面側を前記屋根面に向けて、該屋根上に段葺きされて上下に重なり合う屋根部材間に前記湾曲板の一部を挿入する工程と、前記ドーム状凸部のネジ孔を通じて、ネジを前記屋根にねじ込んで締着し、前記湾曲板を該屋根に圧接固定する工程と、前記ドーム状凸部の頂部に構造物を支持する工程とを含んでいる。
この様な構成の本発明の構造物支持装置によれば、湾曲板の中央部を突出させてドーム状凸部を形成し、ドーム状凸部にネジ孔を設け、ドーム状凸部の頂部に構造物を支持している。ここで、湾曲板の凹面側を屋根面に向けて、湾曲板を屋根上に配置し、ドーム状凸部のネジ孔を通じて、ネジを屋根にねじ込んで締着し、湾曲板を屋根に圧接固定すると、ネジの締着力により湾曲板が屋根に強く圧接され、湾曲板が平板状に変形する。このときの湾曲板の弾性力により該湾曲板の外周辺が屋根に密接して、湾曲板と屋根間が防水される。そして、ドーム状凸部の頂部に構造物を支持するので、雨水が屋根及び湾曲板の表面を流れ、これらの表面よりも高い位置にあるドーム状凸部のネジ孔等が浸水することがない。
また、湾曲板及びドーム状凸部が一体構造であるため、これらの取付け作業が容易であり、強度を向上させながらも、大型化を抑えることが可能である。
例えば、湾曲板が矩形状であり、該矩形の対向する2つの辺が弧を描く様に該湾曲板が湾曲している。この場合は、湾曲板が屋根に圧接固定されて平板状に変形すると、弧を描く2つの辺が直線状に変形し、湾曲板の弾性力により他の2つの辺が屋根に密接して、この他の2つの辺と屋根間が防水される。この場合、防水性能を発揮させるには、屋根の傾斜並びに雨水の流れ方向を考慮して、湾曲板の矩形状の向きを適宜に設定する必要がある。
更に、ドーム状凸部の内側に補強部材が設けられ、ネジ孔が湾曲板及び補強部材を貫通している。この補強部材によりドーム状凸部の強度を向上させることでき、ネジの締着によるドーム状凸部の変形を防止することができ、延いてはネジの締着により湾曲板を屋根に強く圧接固定することが可能となる。
また、ドーム状凸部の頂部が構造物を支持するための支持面を有し、ネジ孔が該支持面に対して鉛直に設けられている。これにより、ネジが該支持面に対して鉛直にねじ込まれることになる。
更に、ドーム状凸部のネジ孔は、複数であって、相互に間隔を開けて設けられている。屋根上に段葺きされて上下に重なり合う屋根部材上に、湾曲板を載せて固定すると、湾曲板が屋根部材の段差に跨ることになる。このため、ドーム状凸部のネジ孔を複数設けて、段差部位の両側にドーム状凸部のそれぞれのネジ孔を位置決めし、段差部位の両側で湾曲板を締着することができるようにしている。これにより、段差部位の両側のいずれか一方で湾曲板が屋根部材から浮くことがなくなり、湾曲板と屋根部材間に大きな隙間が生じることがなくなる。
また、本発明の設置方法によれば、屋根上に段葺きされて上下に重なり合う屋根部材間に湾曲板の一部を挿入している。この場合は、屋根の傾斜上方向に向く該屋根と湾曲板の隙間が屋根部材に覆われることになるので、該隙間からの浸水が防止される。そして、湾曲板の凹面側を屋根面に向けて、湾曲板を屋根上に配置し、ドーム状凸部のネジ孔を通じて、ネジを屋根にねじ込んで締着し、湾曲板を屋根に圧接固定しているので、ネジの締着力により湾曲板が屋根に強く圧接され、湾曲板が平板状に変形する。このときの湾曲板の弾性力により該湾曲板の外周辺が屋根に密接して、湾曲板と屋根間が防水される。更に、ドーム状凸部の頂部に構造物を支持するので、雨水が屋根及び湾曲板の表面を流れ、これらの表面よりも高い位置にあるドーム状凸部のネジ孔に浸水することがない。
以下、本発明の一実施形態を添付図面を参照しつつ詳細に説明する。
図1(a)、(b)、及び(c)は、本発明の構造物支持装置の一実施形態を示す平面図、正面図、及び側面図である。また、図2(a)、(b)は、図1(a)におけるA−A及びB−Bに沿うそれぞれの断面図である。
本実施形態の構造物支持装置1は、矩形状の金属板を湾曲させた湾曲板2と、この湾曲板2の中央部を該湾曲板2の凹面側から凸面側へと突出させたドーム状凸部3と、このドーム状凸部3内側に配置された2個の補強部材4、5とを有している。また、各補強部材4、5底面に防水用のブチルゴムシート7を貼り付け、ブチルゴムシート7に離型紙(図示せず)を付けている。
尚、ドーム状凸部3と各補強部材4、5間にも防水用のブチルゴムシートを介在させても構わない。
湾曲板2及びドーム状凸部3は、矩形状の金属板を金型により成型した一体構造のものである。湾曲板2は、該矩形の相互に対向する2つの辺2aが弧を描く様に湾曲し、該矩形の対向する他の2つの辺2bがより緩やかな弧を描くかもしくは直線状である。湾曲板2の弧を描く2つの辺2aは、他の2つの辺2bを結ぶ直線Kに対して最大10mm程度離間する様な曲率を有する。
ここでは、意図的に湾曲板2を湾曲させているが、金型により湾曲板2及びドーム状凸部3を一体的に成型する場合は、湾曲板2を平坦に成型する方が困難であり、この意図的な湾曲の付与により構造物支持装置1の形状が安定するという利点がある。
ドーム状凸部3頂部には、後で述べる様なスライダー基部を固定支持するための2つの支持面3a、3bが形成されている。これらの支持面3a、3bに当接されるスライダー基部のそれぞれの底面が同一平面上になくて相互にずれているので、スライダー基部の各底面に合致する様にドーム状凸部3の各支持面3a、3bも同一平面上になくて相互にずれている。
各支持面3a、3bは、それぞれの補強部材4、5により補強支持されている。一方の補強部材4及びドーム状凸部3には、該補強部材4及びドーム状凸部3を貫通する2つのネジ孔8が形成され、同様に他方の補強部材5及びドーム状凸部3には、該補強部材5及びドーム状凸部3を貫通する2つのネジ孔9が形成されている。従って、ドーム状凸部3及び各補強部材4、5には、4つのネジ孔8、9が形成されている。
一方の補強部材4側の各ネジ孔8は、ドーム状凸部3の支持面3aに対して鉛直に形成されている。同様に、他方の補強部材5側の各ネジ孔9は、ドーム状凸部3の支持面3bに対して鉛直に形成されている。
各補強部材4、5も、金属板を金型により成型したものであり、それらの底面が開放されて、それらの底面に防水用のブチルゴムシート7が貼り付けられ、それらの底面近くに水抜き孔4a、5aが設けられている。
各補強部材4、5底面は、ドーム状凸部3下端よりも上方に僅かに引っ込んだ位置にある。また、ブチルゴムシート7底面は、ドーム状凸部3下端よりも下方に僅かに突出した位置にある。
金型によるドーム状凸部3の成型に際しては、図2(a)、(b)に示す様な各ネジ孔8、9を打ち抜き成型し、これらのネジ孔8、9下側にかえり(バリ)を生じさせる。そして、ドーム状凸部3の各ネジ孔8、9下側のかえりを各補強部材4、5の孔8a、9aに挿入し、各ネジ孔8、9下側のかえりを押し潰して、カシメ加工を施し、各補強部材4、5をドーム状凸部3内側に支持固定している。
湾曲板2、ドーム状凸部3、及び各補強部材4、5の材質は、メッキ鋼板である。また、湾曲板2及びドーム状凸部3の表面には、合成樹脂の塗装が施されている。
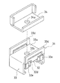
次に、図3(a)、(b)、及び(c)を参照して、構造物支持装置1のドーム状凸部3頂部に固定支持されるスライダー基部を説明する。図3(a)、(b)、及び(c)は、スライダー基部を示す平面図、正面図、及び側面図である。
このスライダー基部11は、金属板を金型により成型した一体構造であり、平面視すると略長方形状の底壁11aと、底壁11a両辺で折り曲げられた2つの側壁11bと、各側壁11b上辺で折り曲げられた2つの上壁11cと、各上壁11c内側辺で下方に折り曲げられた2つの縁部11dと、底壁11aよりも下方に突出する様に成型された2つの凸部11e、11fとを有している。各凸部11e、11fには、それぞれのネジ孔11g、11hが2つずつ形成されている。また、各凸部11e、11f底面には、防水用のブチルゴムシート12が貼り付けられ、ブチルゴムシート12に離型紙(図示せず)が付けられている。更に、各側壁11bには、スライダーのストッパー11iが形成されている。
スライダー基部11の各凸部11e、11f底面を構造物支持装置1のドーム状凸部3の各支持面3a、3bに載せることができ、この状態では、スライダー基部11の凸部11eの各ネジ孔11gがドーム状凸部3の支持面3aの各ネジ孔8に重なって挿通し、かつスライダー基部11の凸部11fの各ネジ孔11hがドーム状凸部3の支持面3bの各ネジ孔9に重なって挿通する。
図4(a)に示す様な屋根部材21上に構造物支持装置1を配置し、スライダー基部11の各凸部11e、11f底面を構造物支持装置1のドーム状凸部3の各支持面3a、3bに載せ、2本のネジ22をスライダー基部11の凸部11eの各ネジ孔11g及びドーム状凸部3の各ネジ孔8に通してネジ込み、かつ2本のネジ23をスライダー基部11の凸部11fの各ネジ孔11h及びドーム状凸部3の各ネジ孔9に通してネジ込む。これにより、構造物支持装置1が屋根上に固定支持され、これと同時にスライダー基部11が構造物支持装置1のドーム状凸部3上に支持される。
尚、構造物支持装置1、スライダー基部11等を屋根上に取り付けるための施工手順は後で詳述する。
図5に示す様にスライダー基部11は、単独であっても、屋根上に固定支持して用いることができる。この場合は、2つの屋根部材21間の段差を跨ぐようにしてスライダー基部11を配置し、スライダー基部11の各凸部11e、11f底面をそれぞれの屋根部材21表面に当接させて、2本のネジをスライダー基部11の凸部11eの各ネジ孔11gを通じてねじ込み、かつ2本のネジをスライダー基部11の凸部11fの各ネジ孔11hを通じてねじ込む。これにより、各屋根部材21間の段差両側のいずれでもスライダー基部11の端部が浮き上がることなく、スライダー基部11が屋根上に固定支持される。
このときの各屋根部材21表面の高さと傾きを考慮して、各屋根部材21表面に当接する様にスライダー基部11の各凸部11e、11f底面を予め設定している。このため、先に述べた様にスライダー基部11の各凸部11e、11f底面が同一平面上になくて相互にずれており、これらの底面に合致するドーム状凸部3の各支持面3a、3bも同一平面上になくて相互にずれている。
この様なスライダー基部11は、スライダーを該スライダー基部11の長手方向に移動可能に支持する。
次に、図4(a)、(b)及び図6を参照して、スライダー基部11により支持されるスライダーを説明する。図4(a)、(b)は該スライダーをスライダー基部11に取り付けた状態を示す側面図及び断面図であり、図6はスライダーを示す斜視図である。
このスライダー31は、内スライダー32を外スライダー33側方から該外スライダー33内に挿入して、内スライダー32及び外スライダー33を組み合わせたものである。この組み合わせた状態で、内スライダー32がスライダー基部11内側に移動可能に挿入され、外スライダー33がスライダー基部11外側に移動可能に支持される。
内スライダー32は、図7に示す様にベース部32aと、ベース部32a中央のネジ孔32bと、ベース部32a両側の側ガイド部32cと、ベース部32a前後の上ガイド部32dと、ベース部32a四隅の下ガイド部32eとを有している。前後の上ガイド部32dと四隅の下ガイド部32e間には、上下方向の隙間が設けられている。
外スライダー33は、図8に示す様にベース部33aと、ベース部33a中央のネジ孔33bと、ベース部33a両側のL字型ガイド部33cと、ベース部33a前後に突設された位置決め片33dとを有している。
図4(a)、(b)に示す様に内スライダー32と外スライダー33を組み合わせてスライダー基部11に装着した状態では、内スライダー32両側の側ガイド部32cがスライダー基部11の各側壁11b内面に対峙し、内スライダー32前後の上ガイド部32dと四隅の下ガイド部32e間にスライダー基部11の各上壁11cが挿通し、四隅の下ガイド部32e内側にスライダー基部11の各縁部11dが位置する。また、外スライダー33のベース部33a及び両側のL字型ガイド部33c内側にスライダー基部11が抱え込まれる。これにより、内スライダー32がスライダー基部11内側に移動可能に支持され、かつ外スライダー33がスライダー基部11外側に移動可能に支持される。
この状態で、各スライダー32、33をスライダー基部11の長手方向に沿って移動させて適宜の位置に配置し、図6に示す様にドックワッシャー34を外スライダー33上側に重ねて配置する。そして、図9に示す様にボルト35をドックワッシャー34のネジ孔34a及び外スライダー33のネジ孔33bに通して内スライダー3のネジ孔32bの雌ネジにねじ込んで締め付けると、各スライダー32、33が相互に固定され、同時に各スライダー32、33間にスライダー基部11が挟み込まれて、各スライダー32、33が位置決め固定される。
実際には、各スライダー32、33を位置決め固定するためのボルト35は、該各スライダー32、33に載せられる構造物もしくはその支持部材等を固定するためにも用いられる。
この様に内スライダー32と外スライダー33を組み合わせて用いると、各スライダー32、33のいずれか一方を用いたときよりも、スライダー全体の強度が向上し、また各スライダー32、33によりスライダー基部11が補強されて、スライダー31及びスライダー基部11が共に変形し難くなる。
仮に、内スライダー32のみを用いた場合は、内スライダー32を持ち上げる様な大きな力が作用すると、内スライダー32とスライダー基部11間に大きな力が作用して、両者が共に変形し、内スライダー32がスライダー基部11の各上壁11c間から抜けて外れる可能性がある。
次に、構造物支持装置1、スライダー基部11、各スライダー32、33、及びドックワッシャー34を用いて、構造物である太陽電池パネルを屋根上に固定支持するための施工手順を説明する。
図10(a)、(b)に示す様に屋根41では、屋根41の傾斜方向と直交する方向に複数の垂木42を一定間隔で並べて、屋根41の傾斜方向に沿って垂木42を配置し、各垂木42上に野地板43を隙間なく配置して固定し、野地板43上に防水シート44を重ねて張り付け、防水シート44上に複数の屋根部材21を段葺きにしている。屋根部材21は、屋根41の傾斜方向と直交する方向に長い厚さ5mm程度の帯状のアスファルトシングルであり、複数の帯状のアスファルトシングルが相互に部分的に重ね合わせられて段葺き状に配置されている。
この屋根41において、まず、各屋根部材21上に垂木42の中心を通る墨だし線Pを印し、構造物である太陽電池パネルの縁の位置を示す墨だし線Qを印す。
そして、各墨だし線P、Qを基準にして、規定サイズの矩形状切り欠きSを屋根部材21に形成する。この矩形状切り欠きSは、墨だし線Qよりも屋根41の傾斜上方向に位置し、その中心が墨だし線Pに重なる。
次に、図11(a)、(b)に示す様に構造物支持装置1の湾曲板2裏面の点線領域2c及び湾曲板2表面の点線領域2eにシリコーン樹脂を塗布し、構造物支持装置1の各補強部材4、5のブチルゴムシート7の離型紙を剥がしてから、湾曲板2の凹面側を屋根部材21に向けた状態で、矩形状切り欠きSが形成された屋根部材21とその下に重なる屋根部材21の隙間に湾曲板2の略半分を挿入する。このとき、湾曲板2の各辺の中心を示すそれぞれの刻印2dを各墨だし線P、Qに重ね合わせて、湾曲板2を位置決めする。
引き続いて、図4(a)に示す様にスライダー基部11の各凸部11e、11f底面のブチルゴムシート12の離型紙を剥がし、ブチルゴムシート12を介在させて、スライダー基部11の各凸部11e、11f底面を構造物支持装置1のドーム状凸部3の各支持面3a、3bに載せ、2本のネジ22をスライダー基部11の凸部11eの各ネジ孔11g及びドーム状凸部3の支持面3aの各ネジ孔8に通して垂木42にネジ込み、かつ2本のネジ23をスライダー基部11の凸部11fの各ネジ孔11h及びドーム状凸部3の支持面3bの各ネジ孔9に通して垂木42にネジ込む。先に述べた様にドーム状凸部3の各ネジ孔8、9が該ドーム状凸部3の各支持面3a、3bに対して鉛直に形成されているので、各ネジ22、23が各支持面3a、3bに対して鉛直にねじ込まれ、各ネジ22、23の締着力が各支持面3a、3bに対して鉛直に作用する。これにより、構造物支持装置1が屋根41上に安定的に固定支持され、これと同時にスライダー基部11が構造物支持装置1のドーム状凸部3上に支持される。
また、湾曲板2が屋根部材21に圧接されて平板状に変形し、湾曲板2裏面の点線領域2c及び湾曲板2表面の点線領域2eのシリコーン樹脂が上下の屋根部材21に密着する。これにより、屋根41の傾斜上方向に向く湾曲板2と屋根部材21間の隙間が封止されて、この隙間からの浸水が確実に防止される。
更に、湾曲板2が屋根部材21に圧接されて平板状に変形すると、湾曲板2の弧を描く2つの辺2aが直線状に変形し、湾曲板2の弾性力により他の2つの辺2bが屋根部材21に強く圧接されて、この他の2つの辺2bと屋根部材21間が防水される。
また、先に述べた様に構造物支持装置1では、各補強部材4、5底面がドーム状凸部3下端よりも僅かに引っ込んだ位置にある。このため、湾曲板2が屋根部材21に圧接されて平板状に変形したときに、各補強部材4、5底面が屋根部材21から僅かに浮いて、各補強部材4、5底面が湾曲板2よりも先に該屋根部材21に当接することはなく、湾曲板2が屋根部材21に確実に圧接される。
更に、先に述べた様に各補強部材4、5のブチルゴムシート7底面がドーム状凸部3下端よりも下方に僅かに突出した位置にある。このため、各補強部材4、5のブチルゴムシート7底面が湾曲板2よりも先に該屋根部材21に当接することになり、各補強部材4、5と屋根部材21間にブチルゴムシート7が挟み込まれて、各補強部材4、5と屋根部材21間が確実に防水される。
また、電動工具等により各ネジ22、23が強く締め付けられたときには、各補強部材4、5がブチルゴムシート7を介して屋根部材21に圧接されるので、各ネジ22、23のねじ込み量が制限され、湾曲板2の過度な変形が防止される。
更に、構造物支持装置1のドーム状凸部3の各支持面3a、3bとスライダー基部11の各凸部11e、11f底面間にブチルゴムシート12を介在させているので、両者間が防水される。このブチルゴムシート12による防水にもかかわらず、ドーム状凸部3の各支持面3a、3bの各ネジ孔8、9から各補強部材3、5内側へと雨水が浸入して来た場合は、雨水が各補強部材4、5の水抜き孔4a、5aを通じて屋根41の傾斜下方向へと抜かれるので、屋根41からの雨漏りが防止される。
こうして構造物支持装置1及びスライダー基部11を設置した後、図12(a)、(b)に示す様にスライダー31をスライダー基部11に装着し、スライダー31をスライダー基部11の長手方向に沿って移動させて適宜の位置に配置し、L字型横桟45を外スライダー33の各位置決め片33d間に配置して、L字型横桟45上にドックワッシャー34を重ね、ボルト35をドックワッシャー34のネジ孔34a、L字型横桟45の孔、及び外スライダー33のネジ孔33bに通して内スライダー32のネジ孔32bの雌ネジにねじ込んで締め付ける。これにより、各スライダー32、33が相互に固定され、同時に各スライダー32、33間にスライダー基部11が挟み込まれて、各スライダー32、33が位置決め固定される。また、L字型横桟45がドックワッシャー34と外スライダー33間に挟み込まれて固定される。
この様な構造物支持装置1の設置を屋根41の4箇所で行い、2本のL字型横桟45を屋根41上で支持する。図13に示す様に屋根41上の棟側で該屋根41の傾斜方向と直交する方向に一対の構造物支持装置1を並べて設置し、これらの構造物支持装置1によりL字型横桟45を支持し、また屋根41上の軒先側で該直交する方向に一対の構造物支持装置1を並べて設置し、これらの構造物支持装置1により他のL字型横桟45を支持する。これにより、2本のL字型横桟45が相互に平行に間隔を開けて並設される。
そして、各L字型横桟45間に太陽電池パネル46を配置して、太陽電池パネル46の上下辺を各L字型横桟45にそれぞれ載せて係合させ、太陽電池パネル46を固定支持する。
この様に本実施形態の構造物支持装置1では、湾曲板2の凹面側を屋根41面に向けて、湾曲板2を屋根41上に配置し、湾曲板2のドーム状凸部3の各ネジ孔8、9を通じて、ネジを屋根41の垂木42にねじ込んで締着し、湾曲板2を屋根部材21に圧接固定しているので、ネジの締着力により湾曲板2が屋根部材21に強く圧接され、湾曲板2が平板状に変形する。このときの湾曲板2の弾性力により該湾曲板2の2つの辺2bが屋根部材21に強く圧接されて、この2つの辺2bと屋根部材21間が防水される。
更に、湾曲板2の各辺2bが屋根41の傾斜方向に沿う様に該湾曲板2を配置しているので、雨水が湾曲板2の各辺2bに沿って流れることになり、これによっても該各辺2bからの浸水が発生し難くなっている。
また、上下に重なる屋根部材21の隙間に湾曲板2の略半分を挿入するので、屋根41の傾斜上方向に向く湾曲板2と屋根部材21の隙間からの浸水が発生し難い。更に、湾曲板2裏面の点線領域2c及び湾曲板2表面の点線領域2eにシリコーン樹脂を塗布しているから、浸水がより効果的に防止される。
また、屋根41の傾斜下方向に向く湾曲板2と屋根部材21の隙間は、十分に狭くて、雨水が吹き込み難いので、格別な防水処理を施さなくても構わない。この隙間にシリコーン樹脂を充填して、防水性を向上させることも可能である。
また、構造物支持装置1のドーム状凸部3頂部に太陽電池パネル46を支持するための各ネジ孔8、9を設けているので、雨水が屋根部材21及び湾曲板2の表面を流れ、これらの表面よりも高い位置にあるドーム状凸部3頂部の各ネジ孔8、9が浸水することはない。
また、湾曲板2及びドーム状凸部3が構造物支持装置1として一体化されているため、構造物支持装置1の取付け作業が容易であり、構造物支持装置1全体の強度が高い。更に、より強度を高めるために、構造物支持装置1となる金属板を厚くしたとしても、著しい大型化を招くことがない。
尚、本発明の構造物支持装置は、上記実施形態に限定されるものではなく、多様に変形することができる。例えば、湾曲板の湾曲形状を変更しても構わない。金属板の成型加工の複雑化が許容されるのであれば、湾曲板の周縁全体が屋根面に圧接される様な該湾曲板の形状を採用しても良い。また、ドーム状凸部の形状、ネジ孔の個数等を任意に変更することができる。あるいは、1枚の湾曲板に複数のドーム状凸部を形成しても構わない。
また、本発明の構造物支持装置は、太陽電池パネルだけではなく、他の構造物を支持するために用いることができる。他の構造物としては、太陽熱の集熱装置、看板等の装飾装置、アンテナなどがある。
(a)、(b)、及び(c)は、本発明の構造物支持装置の一実施形態を示す平面図、正面図、及び側面図である。 (a)、(b)は、図1(a)におけるA−A及びB−Bに沿うそれぞれの断面図である。 (a)、(b)、及び(c)は、図1の構造物支持装置のドーム状凸部頂部に固定支持されるスライダー基部を示す平面図、正面図、及び側面図である。 (a)、(b)は、スライダー基部にスライダーを挿入した状態を示す側面図及び断面図である。 図3のスライダー基部を単独で屋根上に配置した状態を示す側面図である。 図3のスライダー基部に装着されるスライダー及びドックワッシャーを示す斜視図である。 図6のスライダーにおける内スライダーを示す斜視図である。 図6のスライダーにおける外スライダーを示す斜視図である。 スライダー基部にスライダーを固定した状態を示す断面図である。 (a)、(b)は、図1の構造物支持装置が設置される屋根を例示する平面図及び側面図である。 (a)、(b)は、図1の構造物支持装置を屋根上に配置した状態を示す平面図及び側面図である。 (a)、(b)は、構造物支持装置、スライダー基部、及びスライダー等を屋根上に設置して示す平面図及び側面図である。 屋根上に太陽電池パネルを固定支持した状態を示す斜視図である。
符号の説明
1 構造物支持装置
2 湾曲板
2a、2b 辺
2d 刻印
3 ドーム状凸部
4、5 補強部材
7、12 ブチルゴムシート
8、9 ネジ孔
11 スライダー基部
21 屋根部材
22、23 ネジ
31 スライダー
32 内スライダー
33 外スライダー
34 ドックワッシャー
35 ボルト
41 屋根
42 垂木
43 野地板
44 防水シート
45 L字型横桟
46 太陽電池パネル

Claims (6)

  1. 屋根に構造物を支持固定するための構造物支持装置において、
    湾曲板の中央部を該湾曲板の凹面側から凸面側へと突出させてドーム状凸部を形成し、前記ドーム状凸部に前記湾曲板の中央部を貫通するネジ孔を設け、前記ドーム状凸部の頂部に構造物を支持することを特徴とする構造物支持装置。
  2. 前記湾曲板が矩形であり、該矩形の対向する2つの辺が弧を描く様に該湾曲板が湾曲していることを特徴とする請求項1に記載の構造物支持装置。
  3. 前記ドーム状凸部の内側に補強部材が設けられ、前記ネジ孔が前記湾曲板及び該補強部材を貫通することを特徴とする請求項1に記載の構造物支持装置。
  4. 前記ドーム状凸部の頂部が前記構造物を支持するための支持面を有し、前記ネジ孔が該支持面に対して鉛直に設けられたことを特徴とする請求項1に記載の構造物支持装置。
  5. 前記ドーム状凸部のネジ孔は、複数であって、相互に間隔を開けて設けられたことを特徴とする請求項1に記載の構造物支持装置。
  6. 請求項1に記載の構造物支持装置を用いて構造物を屋根に支持固定する構造物の設置方法において、
    前記構造物支持装置の湾曲板の凹面側を前記屋根面に向けて、該屋根上に段葺きされて上下に重なり合う屋根部材間に前記湾曲板の一部を挿入する工程と、
    前記ドーム状凸部のネジ孔を通じて、ネジを前記屋根にねじ込んで締着し、前記湾曲板を該屋根に圧接固定する工程と、
    前記ドーム状凸部の頂部に構造物を支持する工程とを含むことを特徴とする構造物の設置方法。
JP2006238089A 2006-09-01 2006-09-01 構造物支持装置、及び構造物の設置方法 Expired - Fee Related JP4447587B2 (ja)

Priority Applications (2)

Application Number Priority Date Filing Date Title
JP2006238089A JP4447587B2 (ja) 2006-09-01 2006-09-01 構造物支持装置、及び構造物の設置方法
US11/896,121 US7946082B2 (en) 2006-09-01 2007-08-29 Structure support apparatus and structure installation method

Applications Claiming Priority (1)

Application Number Priority Date Filing Date Title
JP2006238089A JP4447587B2 (ja) 2006-09-01 2006-09-01 構造物支持装置、及び構造物の設置方法

Publications (2)

Publication Number Publication Date
JP2008057279A true JP2008057279A (ja) 2008-03-13
JP4447587B2 JP4447587B2 (ja) 2010-04-07

Family

ID=39149595

Family Applications (1)

Application Number Title Priority Date Filing Date
JP2006238089A Expired - Fee Related JP4447587B2 (ja) 2006-09-01 2006-09-01 構造物支持装置、及び構造物の設置方法

Country Status (2)

Country Link
US (1) US7946082B2 (ja)
JP (1) JP4447587B2 (ja)

Cited By (6)

* Cited by examiner, † Cited by third party
Publication number Priority date Publication date Assignee Title
JP2010242357A (ja) * 2009-04-03 2010-10-28 Yane Gijutsu Kenkyusho:Kk 支持装置
JP2011027346A (ja) * 2009-07-27 2011-02-10 Iwasaki Kogyo:Kk クロスフィンチューブ式熱交換器
JP2012002044A (ja) * 2010-06-21 2012-01-05 Sanyo Industries Ltd 太陽発電パネルの取付架台
JP2012237105A (ja) * 2011-05-10 2012-12-06 Ever Kk 屋根配置設備の屋根への取付方法、屋根配置設備を配置した屋根構造、屋根配置設備を取り付ける取付基台及び防水板
JP2013133590A (ja) * 2011-12-26 2013-07-08 Tajima Oyo Kako Kk ソーラーシステムの取付構造
WO2020054510A1 (ja) * 2018-09-12 2020-03-19 シャープ株式会社 電源装置及び支持金具

Families Citing this family (44)

* Cited by examiner, † Cited by third party
Publication number Priority date Publication date Assignee Title
US7836639B2 (en) * 2006-04-20 2010-11-23 Sharp Kabushiki Kaisha Structure mounting and supporting device and method
US8936224B2 (en) * 2006-06-15 2015-01-20 Sapa Holding Gmbh Mounting system, especially for solar modules
CN101591947B (zh) * 2008-05-30 2011-08-17 公元太阳能股份有限公司 太阳能电池板安装支架
CN101387151B (zh) * 2008-09-18 2011-05-11 吴文强 平板紧固系统
US10277159B2 (en) * 2008-11-17 2019-04-30 Kbfx Llc Finished multi-sensor units
US11063553B2 (en) 2008-11-17 2021-07-13 Kbfx Llc Solar carports, solar-tracking carports, and methods
US10151114B2 (en) 2010-01-25 2018-12-11 Rillito River Solar, Llc Roof mount assembly
US8826618B2 (en) 2011-03-15 2014-09-09 Vermont Slate & Copper Services, Inc. Roof mount assembly
US9134044B2 (en) 2010-01-25 2015-09-15 Vermont Slate & Copper Services, Inc. Roof mount assembly
US9447988B2 (en) 2010-01-25 2016-09-20 Rillito Rive Solar, LLC Roof mount assembly
US8153700B2 (en) 2010-03-19 2012-04-10 Vermont Slate & Copper Services, Inc. Roofing system and method
US8209914B2 (en) * 2010-01-25 2012-07-03 Vermont Slate & Copper Services, Inc. Roofing grommet forming a seal between a roof-mounted structure and a roof
US8869470B2 (en) * 2009-03-21 2014-10-28 Carlo John Lanza Protective covering for roof device
US8316592B2 (en) * 2009-03-21 2012-11-27 Carlo John Lanza Protective covering for roof mounted systems
WO2010112049A1 (en) * 2009-04-03 2010-10-07 Renusol Gmbh Mounting system for solar panels, and mounting member and positioning element for same
IT1394700B1 (it) * 2009-05-04 2012-07-13 Ren Electron Srl Apparato per la copertura di strutture con pannelli fotovoltaici
US8305286B2 (en) * 2009-05-29 2012-11-06 Cisco Technology, Inc. Mounting an antenna system to a solid surface
US20110005512A1 (en) * 2009-07-10 2011-01-13 Ruesswick Scott Adjustable solar panel support structure
US10472828B2 (en) 2010-01-25 2019-11-12 EcoFasten Solar, LLC Roof mounting system
US8122648B1 (en) * 2010-02-02 2012-02-28 Jun Liu Roof mounting system
FR2956680A1 (fr) * 2010-02-19 2011-08-26 Serres Marchegay Systeme de fixation d'au moins un panneau photovoltaique sur une toiture en tuiles ou en ardoises.
GR20110100192A (el) * 2011-03-24 2012-09-15 Aluminco Α.Ε. Ανωνυμος Εταιρεια Αλουμινιου Και Συναφων Μεταλλων, Συστημα στηριξης φωτοβολταϊκων στοιχειων επι κεραμοσκεπων απο προφιλ αλουμινιου
US10041693B2 (en) * 2011-03-30 2018-08-07 Daniel Joseph Rheaume Solar-powered ridge vent fan unit
US8683751B2 (en) 2011-07-08 2014-04-01 Vermont Slate & Copper Services, Inc. Roof mount having built-in failure
EP2546584A1 (en) * 2011-07-14 2013-01-16 Marchegay S.A. System for fastening at least one photovoltaic panel to a roof of tiles or slates
WO2013043816A1 (en) 2011-09-23 2013-03-28 Vermont Slate & Copper Services, Inc. Roof mount assembly and method of mounting same
US9212833B2 (en) 2011-09-23 2015-12-15 Vermont Slate and Copper Services, Inc. Power grip button
US8752338B2 (en) 2012-05-04 2014-06-17 D Three Enterprises, Llc Adjustable roof mounting system
US9175478B2 (en) 2012-05-29 2015-11-03 Vermont Slate & Copper Services, Inc. Snow fence for a solar panel
JP5705380B2 (ja) * 2012-07-23 2015-04-22 株式会社屋根技術研究所 太陽電池モジュールの固定構造
US9973142B2 (en) 2013-03-06 2018-05-15 Vermont Slate and Copper Services, Inc. Snow fence for a solar panel
US12107530B2 (en) 2014-04-07 2024-10-01 EcoFasten Solar, LLC Height adjustment bracket for roof applications
US9985575B2 (en) * 2014-04-07 2018-05-29 Rillito River Solar, Llc Height adjustment bracket for roof applications
US9431953B2 (en) 2014-10-31 2016-08-30 Rillito River Solar, Llc Height adjustment bracket for roof applications
US8875455B1 (en) * 2014-05-28 2014-11-04 Zep Solar, Llc Ramp mounting system for a flat roof solar array
JP6373070B2 (ja) * 2014-06-02 2018-08-15 ソーラーフロンティア株式会社 止水板及び止水構造
US12294332B2 (en) 2015-12-15 2025-05-06 Kbfx Llc Solar carports, solar-tracking carports, and methods
US10135387B2 (en) * 2016-03-23 2018-11-20 Solarcity Corporation Photovoltaic mounting system with sealant injector inlet
US10469023B2 (en) 2016-09-12 2019-11-05 EcoFasten Solar, LLC Roof mounting system
US10273694B2 (en) * 2017-03-03 2019-04-30 Zsi-Foster, Inc. Rooftop support system
US10036576B1 (en) 2017-06-26 2018-07-31 Zia Mounting Solutions, Llc Multi-level mounting system
US10840851B2 (en) 2017-09-08 2020-11-17 D Three Enterprises Llc Roof mount bracket
CN111779202B (zh) * 2020-06-16 2021-11-23 周琮 一种绿色环保建筑生态节能屋面
CN117157481A (zh) * 2021-03-03 2023-12-01 沃伦·罗切斯特 管道支撑件以及管道支撑件套件

Family Cites Families (26)

* Cited by examiner, † Cited by third party
Publication number Priority date Publication date Assignee Title
US4852323A (en) * 1988-05-31 1989-08-01 The Firestone Tire & Rubber Company Nonpenetrating roof membrane fastening system
US5715640A (en) * 1992-07-13 1998-02-10 Haddock; Robert M. M. Mounting device for controlling uplift of a metal roof
JPH0893159A (ja) 1994-09-22 1996-04-09 Mitsui Home Co Ltd 太陽電池の取付け方法
JP3299877B2 (ja) 1995-12-28 2002-07-08 積水化学工業株式会社 太陽電池モジュールの取付に用いられる取付金物及び太陽電池モジュールの取付構造並びに太陽電池モジュール搭載の屋根
US5661938A (en) * 1996-02-02 1997-09-02 Illinois Tool Works Inc. Easy drive concrete fastener system
US5887831A (en) * 1997-08-04 1999-03-30 Post; Robert E. Roof cable support system
JPH11107460A (ja) 1997-10-03 1999-04-20 Sekisui Chem Co Ltd 屋根瓦の固定具
US6205730B1 (en) * 1999-01-13 2001-03-27 Illinois Tool Works Inc Roofing plate for securing roofing membrane
US6145272A (en) * 1999-04-12 2000-11-14 Tomaini; John C. Insulation fastener disk method for fastening insulation
US6250034B1 (en) * 1999-11-09 2001-06-26 Construction Fasteners, Inc. Membrane plate
US6282857B1 (en) * 2000-03-09 2001-09-04 Sarnafil, Inc. Articulating plate assembly for retaining sheets of roofing material on a roof surface
US6722095B2 (en) * 2001-08-20 2004-04-20 Illinois Tool Works Inc. Seam plate for retaining roof decking membrane
US20030033780A1 (en) * 2001-08-20 2003-02-20 Riaz Hasan Seam plate for retaining roof decking membrane
JP3860463B2 (ja) 2001-11-20 2006-12-20 株式会社Msk 屋根上機器の取付構造
JP3953339B2 (ja) 2002-03-04 2007-08-08 株式会社屋根技術研究所 屋根に設置される屋根上設置物の固定用枠体の支持装置
US6952902B2 (en) * 2002-09-04 2005-10-11 Pinconning Metals, Inc. Attachment plate
JP4146752B2 (ja) 2002-10-08 2008-09-10 積水化学工業株式会社 建物
US6991352B2 (en) * 2003-04-30 2006-01-31 Quoizel, Inc. Light fixture having a support system
US7168670B2 (en) * 2003-09-09 2007-01-30 Hoo Cheung Group Ltd. Quick ceiling fan housing and canopy installation assembly
US6981679B1 (en) * 2003-11-03 2006-01-03 Nate Mullen Mounting bracket for light fixture
JP2005264441A (ja) 2004-03-16 2005-09-29 Kyocera Corp 太陽電池アレイ
JP4400875B2 (ja) 2004-08-09 2010-01-20 京セラ株式会社 太陽光利用システム
US7661240B2 (en) * 2004-09-23 2010-02-16 Miro Industries, Inc. Rooftop structure supporting stand
US7631468B2 (en) * 2005-02-23 2009-12-15 Omg Roofing, Inc. Seam plate, for retaining roof decking membranes, having means for preventing interlocking of adjacent plates
JP4570515B2 (ja) * 2005-05-19 2010-10-27 シャープ株式会社 構造物設置支持装置
US7836639B2 (en) 2006-04-20 2010-11-23 Sharp Kabushiki Kaisha Structure mounting and supporting device and method

Cited By (7)

* Cited by examiner, † Cited by third party
Publication number Priority date Publication date Assignee Title
JP2010242357A (ja) * 2009-04-03 2010-10-28 Yane Gijutsu Kenkyusho:Kk 支持装置
JP2011027346A (ja) * 2009-07-27 2011-02-10 Iwasaki Kogyo:Kk クロスフィンチューブ式熱交換器
JP2012002044A (ja) * 2010-06-21 2012-01-05 Sanyo Industries Ltd 太陽発電パネルの取付架台
JP2012237105A (ja) * 2011-05-10 2012-12-06 Ever Kk 屋根配置設備の屋根への取付方法、屋根配置設備を配置した屋根構造、屋根配置設備を取り付ける取付基台及び防水板
JP2013133590A (ja) * 2011-12-26 2013-07-08 Tajima Oyo Kako Kk ソーラーシステムの取付構造
WO2020054510A1 (ja) * 2018-09-12 2020-03-19 シャープ株式会社 電源装置及び支持金具
JPWO2020054510A1 (ja) * 2018-09-12 2021-08-30 シャープ株式会社 電源装置及び支持金具

Also Published As

Publication number Publication date
US7946082B2 (en) 2011-05-24
US20080053008A1 (en) 2008-03-06
JP4447587B2 (ja) 2010-04-07

Similar Documents

Publication Publication Date Title
JP4447587B2 (ja) 構造物支持装置、及び構造物の設置方法
KR101355881B1 (ko) 태양전지 모듈의 고정구조, 태양전지 모듈용의 프레임 및 고정부재
JP4010666B2 (ja) 太陽光発電装置
US7866099B2 (en) Mounting structure of solar cell module
US20050005534A1 (en) Solar cell module, method of laying solar cell modules, and apparatus for preventing solar cell modules from being blown off
US9853595B1 (en) Fixture for on-roof installation object and fixing structure of on-roof installation object
KR20180040161A (ko) 지붕설치용 태양광 발전기
JP4093839B2 (ja) 太陽電池モジュールの屋根取付け構造体及び太陽電池アレイ
JP3555719B2 (ja) 太陽電池の取付け装置
JP2012102545A (ja) 屋根への太陽電池モジュールの設置構造
JP2014047461A (ja) 太陽電池パネルの雪止め構造
JP6474185B2 (ja) 太陽光発電パネルの施工方法
JP2011038285A (ja) 屋根材の葺設構造
JP2005307693A (ja) 太陽電池モジュールおよび太陽電池モジュール設置構造
JP2005282124A (ja) パネルの取付構造
JPH10317598A (ja) 太陽電池モジュール等の屋上設備機器を設置した屋根
JP7653392B2 (ja) 太陽光パネル支持台
JP2001090293A (ja) 太陽電池屋根の防水構造
KR20200122604A (ko) 태양 전지 패널을 포함하는 지붕재를 포함하는 태양광 발전 시스템
JP4758729B2 (ja) 太陽発電システムの防水構造
JP2001027018A (ja) 木造住宅等への太陽電池パネルの取付構造
JP4311817B2 (ja) 太陽電池付き屋根パネル間のジョイントシール構造
JP6620537B2 (ja) 太陽電池モジュールの取り付け器具及び太陽光発電装置
JP2001107525A (ja) 太陽電池モジュールを用いた屋根葺き構造及び屋根葺き工法
KR102084438B1 (ko) 태양 전지 패널을 포함하는 지붕재

Legal Events

Date Code Title Description
A621 Written request for application examination

Free format text: JAPANESE INTERMEDIATE CODE: A621

Effective date: 20080806

A977 Report on retrieval

Free format text: JAPANESE INTERMEDIATE CODE: A971007

Effective date: 20081212

A131 Notification of reasons for refusal

Free format text: JAPANESE INTERMEDIATE CODE: A131

Effective date: 20090106

A521 Request for written amendment filed

Free format text: JAPANESE INTERMEDIATE CODE: A523

Effective date: 20090227

RD02 Notification of acceptance of power of attorney

Free format text: JAPANESE INTERMEDIATE CODE: A7422

Effective date: 20090227

A131 Notification of reasons for refusal

Free format text: JAPANESE INTERMEDIATE CODE: A131

Effective date: 20090623

A521 Request for written amendment filed

Free format text: JAPANESE INTERMEDIATE CODE: A523

Effective date: 20090820

TRDD Decision of grant or rejection written
A01 Written decision to grant a patent or to grant a registration (utility model)

Free format text: JAPANESE INTERMEDIATE CODE: A01

Effective date: 20100119

A01 Written decision to grant a patent or to grant a registration (utility model)

Free format text: JAPANESE INTERMEDIATE CODE: A01

A61 First payment of annual fees (during grant procedure)

Free format text: JAPANESE INTERMEDIATE CODE: A61

Effective date: 20100120

FPAY Renewal fee payment (event date is renewal date of database)

Free format text: PAYMENT UNTIL: 20130129

Year of fee payment: 3

R150 Certificate of patent or registration of utility model

Free format text: JAPANESE INTERMEDIATE CODE: R150

FPAY Renewal fee payment (event date is renewal date of database)

Free format text: PAYMENT UNTIL: 20130129

Year of fee payment: 3

LAPS Cancellation because of no payment of annual fees