JP2008039293A - Air conditioner indoor unit - Google Patents

Air conditioner indoor unit Download PDF

Info

Publication number
JP2008039293A
JP2008039293A JP2006214456A JP2006214456A JP2008039293A JP 2008039293 A JP2008039293 A JP 2008039293A JP 2006214456 A JP2006214456 A JP 2006214456A JP 2006214456 A JP2006214456 A JP 2006214456A JP 2008039293 A JP2008039293 A JP 2008039293A
Authority
JP
Japan
Prior art keywords
dust
air
unit
air filter
indoor unit
Prior art date
Legal status (The legal status is an assumption and is not a legal conclusion. Google has not performed a legal analysis and makes no representation as to the accuracy of the status listed.)
Pending
Application number
JP2006214456A
Other languages
Japanese (ja)
Inventor
Koji Wada
宏二 和田
Current Assignee (The listed assignees may be inaccurate. Google has not performed a legal analysis and makes no representation or warranty as to the accuracy of the list.)
Carrier Japan Corp
Original Assignee
Toshiba Carrier Corp
Priority date (The priority date is an assumption and is not a legal conclusion. Google has not performed a legal analysis and makes no representation as to the accuracy of the date listed.)
Filing date
Publication date
Application filed by Toshiba Carrier Corp filed Critical Toshiba Carrier Corp
Priority to JP2006214456A priority Critical patent/JP2008039293A/en
Publication of JP2008039293A publication Critical patent/JP2008039293A/en
Pending legal-status Critical Current

Links

Images

Landscapes

  • Air Filters, Heat-Exchange Apparatuses, And Housings Of Air-Conditioning Units (AREA)

Abstract

【課題】エアフィルタ清掃装置がユニット化され、小形で、従来の室内機の構造を大幅に改造することなくエアフィルタ清掃装置を組み込むことができる空気調和機の室内機を提供する。
【解決手段】本空気調和機の室内機は、エアフィルタ清掃装置がエアフィルタの表面を移動可能に配され、ケース内に、埃除去手段を収容する埃除去部と、この埃除去部に近接して配され埃除去手段で除去された埃を収容する埃収容部と、この埃収容部に溜まった埃を室外に排出するための排気用送風機とを設けた清掃ユニットと、 室内機本体の一側に配された排気ダクトを備え、清掃ユニットによるエアフィルタ清掃終了後、清掃ユニットと排気ダクトを連通し、排気用送風機を運転することで埃収容部に溜まった埃を前記排気ダクトを介して空気と共に室外に排出する。
【選択図】 図2
To provide an air conditioner indoor unit that is an air filter cleaning device that is unitized, is small, and can incorporate the air filter cleaning device without significantly modifying the structure of a conventional indoor unit.
In an indoor unit of the air conditioner, an air filter cleaning device is arranged so as to be movable on the surface of the air filter, and a dust removing unit that houses dust removing means in the case and a proximity to the dust removing unit A cleaning unit provided with a dust storage part for storing the dust removed by the dust removing means, and an exhaust fan for discharging the dust accumulated in the dust storage part to the outside of the room, An exhaust duct arranged on one side is provided, and after the air filter cleaning by the cleaning unit is completed, the cleaning unit and the exhaust duct are communicated with each other, and the dust collected in the dust container by operating the exhaust fan is passed through the exhaust duct. And exhaust the air together with the air.
[Selection] Figure 2

Description

本発明は空気調和機の室内機に係り、特にエアフィルタ清掃装置の構造を改良した空気調和機の室内機に関する。   The present invention relates to an indoor unit of an air conditioner, and more particularly to an indoor unit of an air conditioner having an improved structure of an air filter cleaning device.

空気調和機の室内機にエアフィルタを設け、被調和空気の挨の除去を行っているが、エアフィルタヘの挨付着は、性能低下の要因、省エネの阻害要因となり、いずれの要因も送風性能を悪化させ、空気調和機の空気調和能力を著しく悪化させる。   An air filter is installed in the indoor unit of the air conditioner to remove dust from the air to be conditioned, but dust adhering to the air filter is a factor that reduces performance and hinders energy saving. Worsens the air conditioning capability of the air conditioner.

従来、エアフィルタ清掃装置を備えた空気調和機の室内機において、エアフィルタ清掃装置は、エアフィルタ部にノズルを当て、直接吸引排気する構造、あるいはブラシ等で掻き取り、その後一気に排気する構造(特許文献1)等があるが、いずれの構造もエアフィルタ接触部から室外排気までの経路は一つに繋がっており、その経路を構成することで、室内機が大きくなるという問題があり、スペースの効率が悪かった。また、エアフィルタ清掃装置を備えるために、そのスペースを確保するための特殊な構造を必要とし、そのエアフィルタ清掃構造を実現するために、それらのスペースの確保が必要となり、エアフィルタ清掃装置を備えない空気調和機の室内機に対しても、予め特殊な構造としておかざるをえず、設計的にも標準化という点で大きな制約があった。
特開2002−340395号公報
Conventionally, in an indoor unit of an air conditioner equipped with an air filter cleaning device, the air filter cleaning device applies a nozzle to the air filter portion and directly sucks and exhausts, or scrapes with a brush or the like, and then exhausts all at once ( Patent Document 1) and the like, but in any structure, the route from the air filter contact portion to the outdoor exhaust is connected to one, and there is a problem that the indoor unit becomes large by configuring the route, and the space The efficiency of was bad. Moreover, in order to provide the air filter cleaning device, a special structure for securing the space is required, and in order to realize the air filter cleaning structure, it is necessary to secure the space, and the air filter cleaning device is provided. Even for indoor units of air conditioners that are not equipped, a special structure had to be provided in advance, and there were significant restrictions in terms of standardization in terms of design.
JP 2002-340395 A

本発明は上述した事情を考慮してなされたもので、エアフィルタ清掃装置が小形で、従来の室内機の構造を大幅に改造することなく、室内機本体に組み込むことができる空気調和機の室内機を提供することを目的とする。   The present invention has been made in consideration of the above-described circumstances. The air filter cleaning device is small, and the interior of the air conditioner can be incorporated into the indoor unit main body without significantly modifying the structure of the conventional indoor unit. The purpose is to provide a machine.

上述した目的を達成するため、本発明に係る空気調和機の室内機は、室内機本体の空気吸込口と吹出口を連通する送風路に、エアフィルタ、熱交換器、室内空気循環用送風機、前記エアフィルタを清掃するエアフィルタ清掃装置を配置する空気調和機の室内機において、前記エアフィルタ清掃装置は、エアフィルタの表面を移動可能に配され、ケース内に、埃除去手段を収容する埃除去部と、この埃除去部に近接して配され埃除去手段で除去された埃を収容する埃収容部と、この埃収容部に溜まった埃を室外に排出するための排気用送風機とを設けた清掃ユニットと、室内機本体の一側に配された排気ダクトを備え、前記清掃ユニットによるエアフィルタ清掃終了後、前記清掃ユニットと前記排気ダクトを連通し、前記排気用送風機を運転することで前記埃収容部に溜まった埃を前記排気ダクトを介して空気と共に室外に排出することを特徴とする。   In order to achieve the above-described object, an indoor unit of an air conditioner according to the present invention has an air filter, a heat exchanger, an indoor air circulation blower, and an air passage that communicates an air inlet and an outlet of an indoor unit main body. In an indoor unit of an air conditioner in which an air filter cleaning device that cleans the air filter is disposed, the air filter cleaning device is arranged so as to be movable on the surface of the air filter, and dust that contains dust removing means in the case A removing unit, a dust containing unit disposed in the vicinity of the dust removing unit and containing dust removed by the dust removing unit, and an exhaust fan for discharging the dust accumulated in the dust containing unit to the outside A cleaning unit provided and an exhaust duct arranged on one side of the indoor unit main body, and after the air filter cleaning by the cleaning unit is completed, the cleaning unit and the exhaust duct are connected to operate the exhaust fan. The dust accumulated in the dust containing portion by through the exhaust duct, characterized in that the discharge to the outdoor with air.

本発明に係る空気調和機の室内機によれば、エアフィルタ清掃装置が小形で、既存の室内機の基本構造を大幅に改造することなく、室内機本体に組み込むことができる空気調和機の室内機を提供することができる。   According to the indoor unit of an air conditioner according to the present invention, the air filter cleaning device is small, and the indoor unit of the air conditioner can be incorporated into the indoor unit main body without significantly remodeling the basic structure of the existing indoor unit. Machine can be provided.

本発明の第1実施形態に係る空気調和機の室内機について添付図面を参照して説明する。   An indoor unit of an air conditioner according to a first embodiment of the present invention will be described with reference to the accompanying drawings.

図1は本発明における第1実施形態に係る空気調和機の室内機の縦断面図であり、図2は本発明における第1実施形態に係る空気調和機の室内機本体の一部を切欠して示す斜視図である。   FIG. 1 is a longitudinal sectional view of an indoor unit of an air conditioner according to a first embodiment of the present invention, and FIG. 2 is a cutaway view of a part of the indoor unit body of the air conditioner according to the first embodiment of the present invention. FIG.

図1及び図2に示すように、本第1実施形態に係る空気調和機の室内機1は、室内機本体2を有し、この本体2には、その前面部に前部吸込口2aが開口され、上面部には上部吸込口2bが開口され、さらに、下部には吹出口2cが開口される。   As shown in FIG.1 and FIG.2, the indoor unit 1 of the air conditioner which concerns on this 1st Embodiment has the indoor unit main body 2, and this main body 2 has the front inlet 2a in the front part. The upper suction port 2b is opened on the upper surface, and the blower outlet 2c is opened on the lower portion.

両吸込口2a、2bと吹出口2cを連通する送風路3には、エアフィルタ4、熱交換器5、室内空気循環用送風機6が配される。   An air filter 4, a heat exchanger 5, and an indoor air circulation blower 6 are disposed in the air passage 3 that communicates the suction ports 2 a and 2 b with the air outlet 2 c.

エアフィルタ4はフィルタネットが金属化あるいは表面に金属の蒸着がなされ、側面視L字形状に形成されるエアフィルタ垂直部41とエアフィルタ水平部42からなり、エアフィルタ垂直部41は前部吸込口2aと熱交換器5の一部を構成する前面側熱交換器5a間に配され、前部吸込口2aから吸い込まれる被調和空気に含まれる埃を除去し、エアフィルタ水平部42は前部吸込口2aの一部及び上部吸込口2bと熱交換器5の一部を構成する背面側熱交換器5b間に配され、上部吸込口2bから吸い込まれる被調和空気に含まれる埃を除去する。   The air filter 4 is made up of an air filter vertical part 41 and an air filter horizontal part 42 formed by metallizing the filter net or depositing metal on the surface and forming an L shape in side view, and the air filter vertical part 41 is a front suction. It is arranged between the mouth 2a and the front side heat exchanger 5a constituting a part of the heat exchanger 5, and removes dust contained in the conditioned air sucked from the front suction port 2a. Dust contained in the conditioned air drawn from the upper suction port 2b is arranged between the rear suction heat exchanger 5b constituting a part of the upper suction port 2a and the upper suction port 2b and a part of the heat exchanger 5. To do.

また、エアフィルタ4に対向して、エアフィルタ清掃装置7が配されている。   Further, an air filter cleaning device 7 is disposed so as to face the air filter 4.

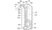
このエアフィルタ清掃装置7は、エアフィルタ表面に付着した埃を除去して溜める清掃ユニット8と、この清掃ユニット8を適宜移動させる移動機構9と、清掃ユニット8内に配置され除去された埃を室外に排出させるための後述の排気用送風機10と、室内機本体2の一側に配され、清掃ユニット8で除去された埃を室外に排出するための排気ダクト11とから構成される。   The air filter cleaning device 7 includes a cleaning unit 8 that removes and collects dust adhering to the air filter surface, a moving mechanism 9 that appropriately moves the cleaning unit 8, and dust that is disposed and removed in the cleaning unit 8. An exhaust fan 10 to be described later for discharging outside and an exhaust duct 11 disposed on one side of the indoor unit main body 2 for discharging dust removed by the cleaning unit 8 to the outdoors.

清掃ユニット8は、エアフィルタ4に付着した挨を掻き取り除去するもので、エアフィルタ4と同様にL字形状をなし、エアフィルタの垂直部41に付着した挨を掻き取る清掃ユニットの垂直部81と、エアフィルタの水平部42に付着した挨を掻き取る清掃ユニットの水平部82からなる。   The cleaning unit 8 scrapes and removes dust adhering to the air filter 4. The cleaning unit 8 has an L shape like the air filter 4 and scrapes dust adhering to the vertical portion 41 of the air filter. 81 and a horizontal portion 82 of the cleaning unit that scrapes dust adhering to the horizontal portion 42 of the air filter.

図3〜図5に示すように、清掃ユニット8は、垂直部81と水平部82の外郭を、長方体中空状の側面視L字形状に形成されるケース81a、82aで構成する。   As shown in FIGS. 3 to 5, the cleaning unit 8 is configured by the cases 81 a and 82 a that are formed in a rectangular parallelepiped L-shape in a side view when the outer portion of the vertical portion 81 and the horizontal portion 82 is formed.

清掃ユニットの垂直部81は、ケース81aにブラシ用開口81bが設けられ、内部に、長手方向に沿って埃除去手段である埃掻き取り具としてのブラシ81cを収容する埃除去部81bと、この埃除去部81bに隣接して連通し、空気取入口81bを備え除去した埃を収容する空間を形成する埃収容部81dが設けられ、上記ブラシ81cが回転可能に軸受部材81eと駆動用モータ81g間に軸支されている。 The vertical part 81 of the cleaning unit is provided with a brush opening 81b 1 in the case 81a, and a dust removing part 81b for accommodating a brush 81c as a dust scraper as dust removing means along the longitudinal direction inside the case 81a, communicates adjacent to the dust removal unit 81b, the dust containing portion 81d is provided to form a space for accommodating the dust removed with an inlet 81b 2 air intake, the brush 81c is for driving the rotatably bearing member 81e A shaft is supported between the motors 81g.

そして、垂直部81のケース81a内には、排気用送風機10を設けており、排気用送風機10の吸込口10aは空気取入口81bに連通し、吹出口10aは埃収容部81bに開口している。 And, in the case 81a of the vertical portion 81, an exhaust blower 10 are provided, the suction port 10a of the air discharge fan 10 communicates with the inlet 81b 2 air intake, air outlet 10a is open to the dust receiving portion 81b ing.

また、清掃ユニットの水平部82は、ケース82aにブラシ用開口82bが設けられ、内部に、長手方向に沿って埃除去手段である埃掻き取り具としてのブラシ82cを収容する埃除去部82bと、この埃除去部82bに隣接して連通し、空気排出口82bを備え除去した埃を収容する空間を形成する埃収容部82dが設けられ、上記ブラシ82cが回転可能に軸受部材82eと駆動用モータ82g間に軸支されている。 The horizontal portion 82 of the cleaning unit, the brush opening 82b 1 is provided in the case 82a, inside the dust removal unit 82b for accommodating the brush 82c as dust scraper is a dust removing means along the longitudinal direction And a dust accommodating portion 82d that communicates adjacent to the dust removing portion 82b and has an air discharge port 82b 2 to form a space for accommodating the removed dust, and the brush 82c is rotatable with the bearing member 82e. It is pivotally supported between the drive motors 82g.

上記のように、清掃ユニット8と排気用送風機10は、清掃ユニット8のケース垂直部81aまたはケース水平部82a内に収容されてユニット化される。   As described above, the cleaning unit 8 and the exhaust fan 10 are accommodated in the case vertical portion 81a or the case horizontal portion 82a of the cleaning unit 8 and unitized.

さらに、図2に示すように、移動機構9は、本体構成部材2dの長手方向に沿ってこの本体構成部材2dに取り付けたボールねじ9aと、本体壁2eにその長手方向に沿って取り付けた案内溝部材9b間に、エアフィルタ4に沿って水平移動可能に取り付けられる。   Further, as shown in FIG. 2, the moving mechanism 9 includes a ball screw 9a attached to the main body constituting member 2d along the longitudinal direction of the main body constituting member 2d, and a guide attached to the main body wall 2e along the longitudinal direction. Attached between the groove members 9b along the air filter 4 so as to be horizontally movable.

この移動可能な取り付けは、清掃ユニット8の一端を垂直部81の底面に取り付けられボールねじ9aに螺合するねじ部材9cに取り付け、他端を水平部82の端部に設けた案内ピン9dを案内溝部材9bの案内溝9bに摺動可能に溝係合して行なう。 In this movable attachment, one end of the cleaning unit 8 is attached to a screw member 9c attached to the bottom surface of the vertical portion 81 and screwed to the ball screw 9a, and the other end is provided with a guide pin 9d provided at the end portion of the horizontal portion 82. slidable in the guide groove 9b 1 of the guide groove member 9b performed engaged groove engagement.

また、ボールねじ9aは、その一端が本体構成部材2dに取り付けた軸受部材9eによって軸支され、他端が本体構成部材2dに取り付けられたねじ駆動用モータ9fに連結され、このねじ駆動用モータ9fを回転することで、ボールねじ9aを回転させ、このボールねじ9aに螺合するねじ部材9cを介して、清掃ユニット8を水平移動可能にしている。   Further, one end of the ball screw 9a is pivotally supported by a bearing member 9e attached to the main body constituting member 2d, and the other end is connected to a screw driving motor 9f attached to the main body constituting member 2d. By rotating 9f, the ball screw 9a is rotated, and the cleaning unit 8 can be moved horizontally through a screw member 9c that is screwed into the ball screw 9a.

本体2の一端側、すなわち軸受部材9e側には、排気ダクト11が設けられ、この排気ダクト11は一端側のダクト通気口11aが本体壁2eに固着された取付板12に取り付けられる。   An exhaust duct 11 is provided on one end side of the main body 2, that is, on the bearing member 9e side. The exhaust duct 11 is attached to a mounting plate 12 having a duct vent hole 11a on one end side fixed to the main body wall 2e.

エアフィルタ清掃装置7は上記のような構造であり、清掃ユニット8は、埃除去不動作時、図2に点線で示す電気部品収納箱13の前方の待機位置Pに待機し、図7に示すように、埃除去動作終了後、清掃ユニット8が一端側に達して取付板12に密接しすることで、取付板12を介して埃収容部の空気排出口82bと排気ダクト通気口11aが連通し、図3に示すように、埃収容部の空気取入口81bから取り入れられた空気は、排気用送風機10、埃収容部81d、82d、空気排出口82b、排気ダクト通気口11a及び排気ダクト11を介して室外に排出される。 The air filter cleaning device 7 has the above-described structure, and the cleaning unit 8 waits at a standby position P in front of the electrical component storage box 13 indicated by a dotted line in FIG. As described above, after the dust removal operation is completed, the cleaning unit 8 reaches one end side and comes into close contact with the mounting plate 12, so that the air discharge port 82 b 2 and the exhaust duct vent port 11 a of the dust container are interposed via the mounting plate 12. communicating, as shown in FIG. 3, the air taken from the inlet 81b 2 air intake of dust accommodating section, the exhaust blower 10, the dust containing portion 81d, 82d, air outlet 82b 2, the exhaust duct vent 11a and It is discharged out of the room through the exhaust duct 11.

なお、図中符号2fはルーバー、符号14は埃除去手段及び送風手段へ給電し、伸縮自由に巻回された配線である。   In the figure, reference numeral 2f is a louver, and reference numeral 14 is a wire wound around the dust removing means and the air blowing means so as to be freely expanded and contracted.

次にエアフィルタ清掃装置7の働きについて説明する。   Next, the function of the air filter cleaning device 7 will be described.

図1及び図2に示すように、前部吸込口2a及び上部吸込口2bを通り、本体2内に吸い込まれた室内空気は、送風路3に配されたエアフィルタ4で埃が除去され、熱交換器5で空気調和され、室内空気循環用送風機6を介して、吹出口2cから吹き出される。   As shown in FIGS. 1 and 2, the indoor air sucked into the main body 2 through the front suction port 2 a and the upper suction port 2 b is removed with dust by the air filter 4 disposed in the air passage 3. The air is conditioned by the heat exchanger 5 and blown out from the air outlet 2c through the blower 6 for circulating indoor air.

このような空気調和運転が長時間行われ、エアフィルタ4に埃が溜まると、埃検出センサがこれを検知して、あるいは所定運転時間を演算して、待機位置P近傍にある清掃ユニット8の駆動用モータ81gを回転させてブラシ81cを回転させ、図5に示すように、回転するブラシ81cによりエアフィルタ垂直部41の埃の除去を開始し、また、駆動用モータ82gを回転させ、図6に示すように、回転するブラシ82cによりエアフィルタ水平部42の埃の除去を開始する。これと同時に、ねじ駆動用モータ9fを回転させてボールねじ9aを回転させ、ねじ部材9cを介して、清掃ユニット8を排気ユニット10方向に水平移動し、エアフィルタ4の清掃を行なう。   When such air conditioning operation is performed for a long time and dust accumulates in the air filter 4, the dust detection sensor detects this or calculates a predetermined operation time, and the cleaning unit 8 in the vicinity of the standby position P The drive motor 81g is rotated to rotate the brush 81c, and as shown in FIG. 5, the removal of dust from the air filter vertical portion 41 is started by the rotating brush 81c, and the drive motor 82g is rotated to rotate the brush 81c. As shown in FIG. 6, the dust removal from the air filter horizontal portion 42 is started by the rotating brush 82c. At the same time, the screw driving motor 9f is rotated to rotate the ball screw 9a, and the cleaning unit 8 is moved horizontally toward the exhaust unit 10 via the screw member 9c to clean the air filter 4.

ブラシ81c及びブラシ82cによりエアフィルタ垂直部41及びエアフィルタ水平部42から除去された埃は、一時的にブラシ81c及びブラシ82cの近傍に設けた埃収容部81d、埃収容部82dに溜められる。   The dust removed from the air filter vertical part 41 and the air filter horizontal part 42 by the brush 81c and the brush 82c is temporarily stored in the dust containing part 81d and the dust containing part 82d provided in the vicinity of the brush 81c and the brush 82c.

図7に示すように、清掃ユニット8が水平移動を続行して、取付板12に当接し、取付板12を介して清掃ダクト通気口11aに密着すると、図3に示すように、排気用送風機10の働きで埃収容部の空気取入口81bから取り入れられた空気は、埃収容部81d、82dの内部を流れ、この埃収容部81d、82dに溜まった埃を排出しながら、空気排出口82b、排気ダクト通気口11a、排気ダクト11を介して室外に排出される。 As shown in FIG. 7, when the cleaning unit 8 continues to move horizontally, comes into contact with the mounting plate 12 and comes into close contact with the cleaning duct vent hole 11a via the mounting plate 12, as shown in FIG. the air taken from the inlet 81b 2 air intake of dust accommodating section 10 serves the dust receiving portion 81d, the flow inside the 82d, the dust containing portion 81d, while discharging the dust collected in the 82d, the air outlet 82 b 2 , the exhaust duct vent 11 a and the exhaust duct 11 are discharged outside the room.

一連の埃除去動作が完了すると、清掃ユニット8は待機位置Pに戻り、次の埃除去動作を待つ。清掃ユニット8がエアフィルタ4の前方を避けて待機するので、通風抵抗にならず、通風効率を高めることができる。   When a series of dust removal operations are completed, the cleaning unit 8 returns to the standby position P and waits for the next dust removal operation. Since the cleaning unit 8 stands by avoiding the front of the air filter 4, ventilation resistance can be improved and ventilation efficiency can be improved.

本第1実施形態に係る空気調和機の室内機によれば、上記のような埃除去動作により、エアフィルタ4に溜まった埃は除去され、自動的に清掃され、空気調和機の空気調和能力が維持される。また、排気用送風機10は清掃ユニット8内に収容されてユニット化されているので、エアフィルタ清掃装置7が小形化でき、従来の室内機の基本構造を大幅に改造することなくエアフィルタ清掃装7置を組み込むことができる。     According to the indoor unit of the air conditioner according to the first embodiment, the dust accumulated in the air filter 4 is removed and automatically cleaned by the dust removing operation as described above, and the air conditioner capability of the air conditioner. Is maintained. Further, since the exhaust blower 10 is housed in the cleaning unit 8 and unitized, the air filter cleaning device 7 can be miniaturized, and the air filter cleaning device can be reduced without significantly modifying the basic structure of the conventional indoor unit. Seven positions can be incorporated.

次に、本発明の第2実施形態に係る空気調和機の室内機について説明する。   Next, an indoor unit of an air conditioner according to a second embodiment of the present invention will be described.

本第2実施形態は、第1実施形態が清掃ユニット内に設けた埃除去手段及び送風手段への給電を配線により行なうのに対して、清掃ユニット内に設けた電池あるいは蓄電池により給電する。   In the second embodiment, power is supplied to the dust removing means and the air blowing means provided in the cleaning unit according to the first embodiment by wiring, but power is supplied from a battery or a storage battery provided in the cleaning unit.

例えば、図8に示すように、第2実施形態に係る空気調和機の室内機におけるエアフィルタ清掃装置7は、この清掃ユニット8内に設けた埃除去手段としてのブラシ81c、82cの駆動用モータ81g、82g及び排気用送風機10への給電を清掃ユニット8内に設けた電池あるいは充電が可能な蓄電池14により行う。   For example, as shown in FIG. 8, the air filter cleaning device 7 in the indoor unit of the air conditioner according to the second embodiment has a motor for driving brushes 81 c and 82 c as dust removing means provided in the cleaning unit 8. Power is supplied to 81g, 82g and the exhaust fan 10 by a battery provided in the cleaning unit 8 or a rechargeable storage battery 14.

これにより、給電用の配線が不要となり、移動時の支障がなくなり、さらに、配線にためのスペースを設ける必要がない。   This eliminates the need for power supply wiring, eliminates troubles during movement, and eliminates the need for a space for wiring.

なお、本第2実施形態では、清掃ユニット8の制御用に細いワイヤを設けるか、制御用送受信機を清掃ユニット、室内機本体に設けてもよく、また、清掃ユニット8の電源となる蓄電池14への充電を、室内機本体に蓄電池を充電する充電器を設け、エアフィルタ清掃装置の待機中位置Pおよび/もしくは排気ダクト11の取付板12接合位置で、清掃ユニット8側に電源供給させる端子を備え、蓄電池を充電するように構成させるように構成させている。   In the second embodiment, a thin wire may be provided for controlling the cleaning unit 8, or a control transceiver may be provided in the cleaning unit and the indoor unit main body. Also, the storage battery 14 serving as a power source for the cleaning unit 8. Is provided with a charger for charging the storage battery in the main body of the indoor unit, and power is supplied to the cleaning unit 8 side at the standby position P of the air filter cleaning device and / or the attachment plate 12 of the exhaust duct 11 It is made to comprise so that a storage battery may be charged.

他の構成は図3に示すエアフィルタ清掃装置と共通であるので、同一符号を付して説明は省略する。   Other configurations are common to the air filter cleaning device shown in FIG.

本発明における第1実施形態に係る空気調和機の室内機の縦断面図。The longitudinal cross-sectional view of the indoor unit of the air conditioner which concerns on 1st Embodiment in this invention. 本発明における第1実施形態に係る空気調和機の室内機の本体の一部を切欠して示す斜視図。The perspective view which notches and shows a part of main body of the indoor unit of the air conditioner which concerns on 1st Embodiment in this invention. 本発明における第1実施形態に係る空気調和機の室内機に用いる清掃ユニットの一部を切欠して示す斜視図。The perspective view which cuts and shows a part of cleaning unit used for the indoor unit of the air conditioner concerning 1st Embodiment in this invention. 本発明における第1実施形態に係る空気調和機の室内機に用いる清掃ユニットの一部を切欠して示す斜視図。The perspective view which cuts and shows a part of cleaning unit used for the indoor unit of the air conditioner concerning 1st Embodiment in this invention. 図4のA−A線に沿う断面図。Sectional drawing in alignment with the AA of FIG. 図4のB−B線に沿う断面図。Sectional drawing which follows the BB line of FIG. 本発明における第1実施形態に係る空気調和機の室内機に用いる清掃ユニットと排気ユニットの接合部の縦断面図。The longitudinal cross-sectional view of the junction part of the cleaning unit and exhaust unit which are used for the indoor unit of the air conditioner which concerns on 1st Embodiment in this invention. 本発明における第2実施形態に係る空気調和機の室内機に用いる清掃ユニットの一部を切欠して示す斜視図。The perspective view which notches and shows a part of cleaning unit used for the indoor unit of the air conditioner which concerns on 2nd Embodiment in this invention.

符号の説明Explanation of symbols

1…空気調和機の室内機、2…本体、4…エアフィルタ、41…エアフィルタ垂直部、42…エアフィルタ水平部、5…熱交換器、5a…前面側熱交換器、6…室内空気循環用送風機、7…エアフィルタ清掃装置、8…清掃ユニット、81…清掃ユニット垂直部、81a…ケース垂直部、81b…埃除去部、81b…ブラシ用開口、81c…ブラシ、81d…埃収容部、81b…埃収容部の空気取入口、82…清掃ユニット水平部、82a…ケース水平部、82b…埃除去部、82b…ブラシ用開口、82b…埃収容部の空気排出口、82c…ブラシ、82d…埃収容部、9…移動機構、10…排気用送風機、11…排気ダクト、11a…排気ダクト通気口、12…取付板。 DESCRIPTION OF SYMBOLS 1 ... Indoor unit of air conditioner, 2 ... Main body, 4 ... Air filter, 41 ... Air filter vertical part, 42 ... Air filter horizontal part, 5 ... Heat exchanger, 5a ... Front side heat exchanger, 6 ... Indoor air Circulating fan, 7 ... Air filter cleaning device, 8 ... Cleaning unit, 81 ... Cleaning unit vertical part, 81a ... Case vertical part, 81b ... Dust removing part, 81b 1 ... Brush opening, 81c ... Brush, 81d ... Dust storage , 81b 2 ... air intake port of the dust storage part, 82 ... horizontal part of the cleaning unit, 82a ... horizontal part of the case, 82b ... dust removal part, 82b 1 ... opening for brush, 82b 2 ... air discharge port of the dust storage part, 82c ... Brush, 82d ... Dust container, 9 ... Moving mechanism, 10 ... Exhaust fan, 11 ... Exhaust duct, 11a ... Exhaust duct vent, 12 ... Mounting plate.

Claims (2)

室内機本体の空気吸込口と吹出口を連通する送風路に、エアフィルタ、熱交換器、室内空気循環用送風機、前記エアフィルタを清掃するエアフィルタ清掃装置を配置する空気調和機の室内機において、
前記エアフィルタ清掃装置は、エアフィルタの表面を移動可能に配され、
ケース内に、埃除去手段を収容する埃除去部と、この埃除去部に近接して配され埃除去手段で除去された埃を収容する埃収容部と、 この埃収容部に溜まった埃を室外に排出するための排気用送風機とを設けた清掃ユニットと、
室内機本体の一側に配された排気ダクトを備え、
前記清掃ユニットによるエアフィルタ清掃終了後、前記清掃ユニットと前記排気ダクトを連通し、前記排気用送風機を運転することで前記埃収容部に溜まった埃を前記排気ダクトを介して空気と共に室外に排出することを特徴とする空気調和機の室内機。
In an indoor unit of an air conditioner in which an air filter, a heat exchanger, a blower for circulating indoor air, and an air filter cleaning device for cleaning the air filter are disposed in a blower passage that communicates an air inlet and an outlet of an indoor unit body ,
The air filter cleaning device is arranged to be movable on the surface of the air filter,
In the case, a dust removing unit for storing the dust removing unit, a dust containing unit disposed in the vicinity of the dust removing unit for storing the dust removed by the dust removing unit, and dust accumulated in the dust storing unit A cleaning unit provided with an exhaust fan for exhausting to the outside;
It has an exhaust duct arranged on one side of the indoor unit body,
After the air filter cleaning by the cleaning unit is completed, the cleaning unit communicates with the exhaust duct, and the exhaust fan is operated to discharge the dust accumulated in the dust container together with the air to the outside through the exhaust duct. An air conditioner indoor unit.
前記埃除去手段及び排気用送風機への給電は、ケース内に設けた電池あるいは蓄電池により行うことを特徴とする請求項1に記載の空気調和機の室内機。 The indoor unit of an air conditioner according to claim 1, wherein power supply to the dust removing means and the exhaust fan is performed by a battery or a storage battery provided in a case.
JP2006214456A 2006-08-07 2006-08-07 Air conditioner indoor unit Pending JP2008039293A (en)

Priority Applications (1)

Application Number Priority Date Filing Date Title
JP2006214456A JP2008039293A (en) 2006-08-07 2006-08-07 Air conditioner indoor unit

Applications Claiming Priority (1)

Application Number Priority Date Filing Date Title
JP2006214456A JP2008039293A (en) 2006-08-07 2006-08-07 Air conditioner indoor unit

Publications (1)

Publication Number Publication Date
JP2008039293A true JP2008039293A (en) 2008-02-21

Family

ID=39174510

Family Applications (1)

Application Number Title Priority Date Filing Date
JP2006214456A Pending JP2008039293A (en) 2006-08-07 2006-08-07 Air conditioner indoor unit

Country Status (1)

Country Link
JP (1) JP2008039293A (en)

Cited By (9)

* Cited by examiner, † Cited by third party
Publication number Priority date Publication date Assignee Title
KR20150058991A (en) * 2013-11-21 2015-05-29 엘지전자 주식회사 Air conditioner
CN113028515A (en) * 2021-04-20 2021-06-25 珠海格力电器股份有限公司 Indoor unit, air conditioner and cleaning method of indoor unit
KR20210091604A (en) * 2020-01-14 2021-07-22 엘지전자 주식회사 Indoor Unit for Air Conditioner
KR20220158590A (en) * 2021-05-24 2022-12-01 엘지전자 주식회사 Air Conditioning System
JP2022180325A (en) * 2021-05-24 2022-12-06 エルジー エレクトロニクス インコーポレイティド air conditioning system
JP2022180324A (en) * 2021-05-24 2022-12-06 エルジー エレクトロニクス インコーポレイティド air conditioning system
US12134058B2 (en) 2021-05-24 2024-11-05 Lg Electronics Inc. Filter cleaner and air-processing apparatus including filter cleaner
US12385666B2 (en) 2021-05-24 2025-08-12 Lg Electronics Inc. Air-processing apparatus
US12474068B2 (en) 2021-05-24 2025-11-18 Lg Electronics Inc. Air-conditioning system

Cited By (14)

* Cited by examiner, † Cited by third party
Publication number Priority date Publication date Assignee Title
KR20150058991A (en) * 2013-11-21 2015-05-29 엘지전자 주식회사 Air conditioner
KR102136156B1 (en) * 2013-11-21 2020-08-26 엘지전자 주식회사 Air conditioner
KR20210091604A (en) * 2020-01-14 2021-07-22 엘지전자 주식회사 Indoor Unit for Air Conditioner
KR102457134B1 (en) * 2020-01-14 2022-10-19 엘지전자 주식회사 Indoor Unit for Air Conditioner
CN113028515A (en) * 2021-04-20 2021-06-25 珠海格力电器股份有限公司 Indoor unit, air conditioner and cleaning method of indoor unit
JP2022180325A (en) * 2021-05-24 2022-12-06 エルジー エレクトロニクス インコーポレイティド air conditioning system
KR20220158590A (en) * 2021-05-24 2022-12-01 엘지전자 주식회사 Air Conditioning System
JP2022180324A (en) * 2021-05-24 2022-12-06 エルジー エレクトロニクス インコーポレイティド air conditioning system
KR102595212B1 (en) * 2021-05-24 2023-10-27 엘지전자 주식회사 Air Conditioning System
US12134058B2 (en) 2021-05-24 2024-11-05 Lg Electronics Inc. Filter cleaner and air-processing apparatus including filter cleaner
US12326277B2 (en) 2021-05-24 2025-06-10 Lg Electronics Inc. Air-conditioning system
US12385666B2 (en) 2021-05-24 2025-08-12 Lg Electronics Inc. Air-processing apparatus
US12474068B2 (en) 2021-05-24 2025-11-18 Lg Electronics Inc. Air-conditioning system
US12480667B2 (en) 2021-05-24 2025-11-25 Lg Electronics Inc. Air-conditioning system

Similar Documents

Publication Publication Date Title
JP3923067B2 (en) Air conditioner
JP2008039293A (en) Air conditioner indoor unit
JPWO2007145254A1 (en) Air conditioner indoor unit
CN101676640B (en) Air conditioner
JP2008051430A (en) Air conditioner indoor unit
CN101310150B (en) air conditioner
JP2008002767A (en) Air conditioner indoor unit
JP2006183996A6 (en) Air conditioner
JP2006183996A (en) Air conditioner
EP2493277A2 (en) An improvement in the cooling system for telecommunication shelters
JP4165246B2 (en) Air conditioner
JP4909699B2 (en) Air conditioner indoor unit
EP4001788B1 (en) Heat-exchange type ventilation device
JP3992722B2 (en) Air conditioner
JP2009505032A (en) Air conditioner indoor unit
JP2008002689A (en) Air conditioner indoor unit
KR20090022103A (en) Air conditioner
JP4878521B2 (en) Air conditioner indoor unit
JP2006183997A6 (en) Air conditioner
JP2008032351A (en) Air conditioner indoor unit
JP2008039290A (en) Air conditioner
KR102254648B1 (en) Air conditioner
JP2008039324A (en) Air conditioner indoor unit
JP2008045822A (en) Air conditioner indoor unit
JP2008175512A (en) Air conditioner indoor unit

Legal Events

Date Code Title Description
A711 Notification of change in applicant

Free format text: JAPANESE INTERMEDIATE CODE: A712

Effective date: 20080521