JP2008014073A - 防音構造 - Google Patents
防音構造 Download PDFInfo
- Publication number
- JP2008014073A JP2008014073A JP2006187940A JP2006187940A JP2008014073A JP 2008014073 A JP2008014073 A JP 2008014073A JP 2006187940 A JP2006187940 A JP 2006187940A JP 2006187940 A JP2006187940 A JP 2006187940A JP 2008014073 A JP2008014073 A JP 2008014073A
- Authority
- JP
- Japan
- Prior art keywords
- ceiling
- floor
- sound
- soundproof
- joist
- Prior art date
- Legal status (The legal status is an assumption and is not a legal conclusion. Google has not performed a legal analysis and makes no representation as to the accuracy of the status listed.)
- Pending
Links
- 239000000463 material Substances 0.000 claims abstract description 216
- 238000013016 damping Methods 0.000 claims abstract description 48
- 239000011810 insulating material Substances 0.000 claims abstract description 15
- 238000005192 partition Methods 0.000 claims description 53
- 239000011358 absorbing material Substances 0.000 claims description 51
- 238000000638 solvent extraction Methods 0.000 claims description 22
- 238000010521 absorption reaction Methods 0.000 claims description 8
- 238000009413 insulation Methods 0.000 claims description 8
- 238000002955 isolation Methods 0.000 claims description 5
- 229910052602 gypsum Inorganic materials 0.000 abstract description 25
- 239000010440 gypsum Substances 0.000 abstract description 25
- 239000011120 plywood Substances 0.000 abstract description 20
- 238000010276 construction Methods 0.000 abstract description 3
- 238000002407 reforming Methods 0.000 abstract 1
- 230000000694 effects Effects 0.000 description 14
- 238000012545 processing Methods 0.000 description 14
- 238000000034 method Methods 0.000 description 13
- 230000000052 comparative effect Effects 0.000 description 10
- 230000006870 function Effects 0.000 description 9
- 230000006872 improvement Effects 0.000 description 8
- 238000009408 flooring Methods 0.000 description 7
- 239000011490 mineral wool Substances 0.000 description 7
- 230000008569 process Effects 0.000 description 7
- 230000000452 restraining effect Effects 0.000 description 7
- 238000005520 cutting process Methods 0.000 description 6
- 230000035939 shock Effects 0.000 description 6
- 230000001629 suppression Effects 0.000 description 6
- 229920005549 butyl rubber Polymers 0.000 description 5
- 230000009467 reduction Effects 0.000 description 5
- 239000006096 absorbing agent Substances 0.000 description 4
- 230000002093 peripheral effect Effects 0.000 description 4
- 238000009418 renovation Methods 0.000 description 4
- 229910001335 Galvanized steel Inorganic materials 0.000 description 3
- 229910000831 Steel Inorganic materials 0.000 description 3
- 239000008397 galvanized steel Substances 0.000 description 3
- 239000012774 insulation material Substances 0.000 description 3
- 239000004745 nonwoven fabric Substances 0.000 description 3
- 239000011505 plaster Substances 0.000 description 3
- 239000010959 steel Substances 0.000 description 3
- 241000269799 Perca fluviatilis Species 0.000 description 2
- 230000004888 barrier function Effects 0.000 description 2
- 230000005540 biological transmission Effects 0.000 description 2
- 238000007667 floating Methods 0.000 description 2
- 238000007634 remodeling Methods 0.000 description 2
- 239000011359 shock absorbing material Substances 0.000 description 2
- 230000009471 action Effects 0.000 description 1
- 238000005452 bending Methods 0.000 description 1
- 239000004568 cement Substances 0.000 description 1
- 238000013461 design Methods 0.000 description 1
- 238000010586 diagram Methods 0.000 description 1
- 238000006073 displacement reaction Methods 0.000 description 1
- 238000005553 drilling Methods 0.000 description 1
- 229920001971 elastomer Polymers 0.000 description 1
- 238000005516 engineering process Methods 0.000 description 1
- 238000011156 evaluation Methods 0.000 description 1
- 230000005284 excitation Effects 0.000 description 1
- 239000000835 fiber Substances 0.000 description 1
- 230000005484 gravity Effects 0.000 description 1
- 229910052738 indium Inorganic materials 0.000 description 1
- 238000009434 installation Methods 0.000 description 1
- 238000005259 measurement Methods 0.000 description 1
- 239000002184 metal Substances 0.000 description 1
- 230000002265 prevention Effects 0.000 description 1
- 230000005855 radiation Effects 0.000 description 1
- 238000009419 refurbishment Methods 0.000 description 1
- 238000007665 sagging Methods 0.000 description 1
- 238000012360 testing method Methods 0.000 description 1
- 239000003190 viscoelastic substance Substances 0.000 description 1
- 239000002023 wood Substances 0.000 description 1
Images
Landscapes
- Building Environments (AREA)
Abstract
【解決手段】防音構造1を提供する。防音構造1は、界床2、天井懐内部3、天井4から構成される。界床2は、上から、カラーフロア2A、合板2B、遮音材2C及び界床板材(合板)2Dで構成される。界床板材2Dは根太5に釘止めされる。天井懐内部3では、根太5の間の下方に、天井根太6が設けられる。天井根太6の下部には、1種の防音材としての制振材7を介し、天井4として2つの石膏ボード8単体が固定される。上部の石膏ボード8の上側には、別の種の防音材としての拘束材付粘弾性体(制振材)9が貼付けられる。石膏ボード8は互いに継目が重ならない様に継目をずらしてビス固定する。
【選択図】図1
Description
遮音、制振、防振及び動吸振からなる群より選ばれる少なくとも1種の機能を用いる防音材は、具体的には、遮音材、制振材、防振材、動吸振材等、及びこれらを組み合わせた防音材から選ぶ事が出来る。又、防音材として吸音材を用いる事が出来るが、吸音材は単独で用いるよりは遮音材、制振材等の防音材と併用するか、これらの防音材自体が吸音機能を発揮する様にするのが良い。又、防音材としては、単独で防音性能を発揮するものだけでなく、通常の板状材であっても、それらの形状、材質、配置等において、防音構造として防音性能を発揮するものも包含される。
天井根太に、(a)制振処理、(b)剛性増処理、(c)重量増処理、及び(d)天井根太端部の固定部の振動絶縁処理からなる群より選ばれる少なくとも1種の処理を行う事が出来る。これらは、前述の防音材、特に制振機能を備える制振材を設ける事によって行う事が出来る。制振処理は、天井根太で、天井根太内、又は天井根太外周の一部又は全部、上面、側面、裏面、縦、横、斜め方向等に行う事が出来る。制振処理、剛性増処理、重量増処理、天井根太端部の固定部の振動絶縁処理等をする事で、更に低周波音はもとより、高周波音まで低減出来る。特に、コスト面等の理由から、界床裏面の仕切材処理をしない場合の効果には大きいものがある。この特徴は、特に、天井根太が軽天材であり、中でも薄板鋼材が用いられている場合には、より一層大きな効果となり易い。
図1は1例の防音構造の断面図である。図2は図1の防音構造の裏面図である。図3は他の例の防音構造の断面図である。図4は図3の防音構造の裏面図である。図5は更に他の例の防音構造の断面図である。図6は更に他の例の防音構造の断面図である。
(実施例1)
図1及び2に従う防音構造を施工する。
周辺端根太を2×10木材2枚合せとし、その下部に頭つなぎ木材3枚重ねとし、その上に合板15mm厚×909mm幅×1,818mm長さを固定し、芯〜芯455mmピッチで2×10木材を根太として、合板15mm厚と固定し、隙間なく合板を固定して1,818mm×2,727mmの面積のツーバイフォー床を作り、その天井懐において、芯〜芯455mmピッチで根太中央下部に天井根太を取り付ける。このとき、天井根太両端部材と端根太との間に、8.5mm厚×80mm幅×130mm長さのブチルゴム製制振材を介在させ、天井根太をビス固定する。
図1〜4に従う防音構造を施工する。
実施例1で用いるツーバイフォー床を用い、根太と平行に根太間中央に仕切材をビス止めし、根太と直交方向に芯〜芯300mmピッチで仕切材をビス止めして、界床板材である合板15mm厚の裏面を、1つの区画が小面積になる様に仕切る。穴開け加工シートを上面に貼ったロックウールを、各区画に設け、界床板材の平面と平行方向に、板状仕切材を配置し、その上面に0.2mm厚亜鉛メッキ鋼板とブチルゴム系粘弾性体とを備える制振材を貼って、その仕切材をビス固定する。
図1〜5に従う防音構造を施工する。
実施例1で用いるツーバイフォー床を用い、界床は実施例1、2と同じ構成とする。天井懐の根太の横に所々留め木を設け、その上に界床と平行に仕切材を設け、予め仕切材の上面に拘束材付粘弾性体を貼り、その上には、分割切断加工用シートを貼って、切断時の切込みが吸音材に入った吸音材(不織布50mm厚)を根太間全面に入れる。水平方向仕切材の下には、ロックウール吸音材40K、50mm厚を入れ、天井根太で支持する。天井根太の両端部の制振処理と天井根太の天井固定部の制振材及び上側石膏ボード上の拘束材付粘弾性体は実施例1、2のものと全く同じで良い。さらに、天井の石膏ボードの二層目を、継目がずれる様にしてビス止めし、供試体とする。実施例1、2と同様に重量床衝撃音を測定する。結果を表1に示す。
図1〜6に従う防音構造を施工する。
実施例1で用いるツーバイフォー床を用いるが、界床の構成は、上から、カラーフロア12mm厚、合板5.5mm厚、衝撃吸収材11mm厚及び界床板材からなり、衝撃吸収材はa、bの2種の粘弾性体からなる衝撃吸収部材2種と、円錐台状バネ1種の計3種のバネ特性の異なるものを0.8mm厚×100mm幅×900mm長さの支持板鋼板に、aを5個、bを3個、バネを2個、支持板両側50mm内側に芯〜芯200mmピッチで2個ずつ固定する。設置ピッチは芯〜芯303mmである。界床板材は、芯〜芯455mmピッチで長辺方向に平行で、根太に固定し、界床板材裏面は、根太と直交方向に、芯〜芯455mmピッチで仕切材を設け、小面積にする。
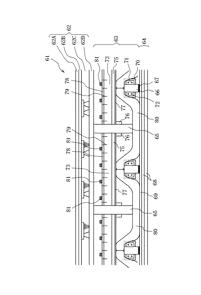
図7に示す様な天井懐構造を施工する。
図7は比較例の天井懐構造101の断面図を示し、界床102、天井懐内部103及び天井104から構成される。界床102は、上から、カラーフロア102A、合板102B、遮音材102C及び界床板材102Dから構成される。天井懐内部103では、界床板材102Dは根太105に釘止めされる。天井根太106は、端部固定部材107で周辺端根太にビス108によって止める。根太106間の天井根太106上に吸音材109を設ける。天井104は、石膏ボード110の2枚貼りで、2枚目は1枚目の継目が合致しない様にずらして、天井根太106にビス止めする。
実施例1のものは、現在供用されている界床の構成であるが、天井懐、天井材に防音処理を施した場合を示す。まず、天井根太について両端の端部根太と、天井根太の固定部材の間にブチルゴム系制振材を介在させ、かつ、天井根太の天井固定部にブルチゴム系制振材の2通りの防音処理を行い、更に、天井材の2層の石膏ボードのうち、天井懐側に面する石膏ボードの全面に拘束材付粘弾性体を設けた例である。その結果、現在供用されている比較例1と比べ、63Hzでは6.2dB、125Hzで2.6dB、250Hzで4.0dB、500Hzで3.6dB、1kHzで7.4dB、2kHzで8.3dB、4kHzで13.5dBと改善出来ており、LH75等級からLH70等級と1ランク改善している。125Hz〜4kHzではL-60以下となり、特に、JISで評価対象外となっている1kHz以上を見ると、比較例1と比べ7.4dB〜13.5dBと大きな改善が見られ、聴感上明らかに静かになっている。
2,22,42,62 界床
3,23,43,63 天井懐内部
4,24,44,64 天井
5,25,45,65 根太
6,26,46,66 天井根太
7,9,11,27,29,31,37,47,49,51,57,67,69,71,77 制振材
8,28,48,68 石膏ボード
10,30,50,70 天井根太端部固定材
12,32,52,72 ビス
13,33,40,53,60,73,80 吸音材
34,35,36,55,75 仕切材
38,58 シート
39 穴
56,76 留め木
59,79 切り込み部
81 錘
Claims (6)
- 天井懐の構成材の少なくとも1種に、遮音、制振、防振及び動吸振からなる群より選ばれる少なくとも1種の機能を用いる防音材による処理が施された、防音構造。
- 少なくとも1種の前記防音材に、拘束材と粘弾性体との積層体から構成される制振材を用いた、請求項1の防音構造。
- 天井根太に、(a)制振処理、(b)剛性増処理、(c)重量増処理、及び(d)天井根太端部の固定部の振動絶縁処理からなる群より選ばれる少なくとも1種の処理が施された、請求項1又は2の防音構造。
- 少なくとも1種の前記防音材に、吸音層を含み、前記吸音層の上部、中部、下部の少なくとも1箇所にシートが積層された吸音材を用いた、請求項1〜3のいずれか一項の防音構造。
- 少なくとも1種の前記防音材として、天井懐の上下方向に延在し、界床の裏面を仕切る仕切材を用いた、請求項1〜4のいずれか一項の防音構造。
- 少なくとも1種の前記防音材として、天井懐の水平方向に延在し、界床の下側を仕切る仕切材を用いた、請求項1〜5のいずれか一項の防音構造。
Priority Applications (1)
| Application Number | Priority Date | Filing Date | Title |
|---|---|---|---|
| JP2006187940A JP2008014073A (ja) | 2006-07-07 | 2006-07-07 | 防音構造 |
Applications Claiming Priority (1)
| Application Number | Priority Date | Filing Date | Title |
|---|---|---|---|
| JP2006187940A JP2008014073A (ja) | 2006-07-07 | 2006-07-07 | 防音構造 |
Publications (1)
| Publication Number | Publication Date |
|---|---|
| JP2008014073A true JP2008014073A (ja) | 2008-01-24 |
Family
ID=39071350
Family Applications (1)
| Application Number | Title | Priority Date | Filing Date |
|---|---|---|---|
| JP2006187940A Pending JP2008014073A (ja) | 2006-07-07 | 2006-07-07 | 防音構造 |
Country Status (1)
| Country | Link |
|---|---|
| JP (1) | JP2008014073A (ja) |
Cited By (3)
| Publication number | Priority date | Publication date | Assignee | Title |
|---|---|---|---|---|
| JP2012012888A (ja) * | 2010-07-02 | 2012-01-19 | Panasonic Electric Works Co Ltd | 防音パネル |
| JP2013076274A (ja) * | 2011-09-30 | 2013-04-25 | Sumitomo Forestry Co Ltd | 遮音床構造 |
| JP2018016989A (ja) * | 2016-07-27 | 2018-02-01 | 株式会社ノザワ | 遮音床構造 |
Citations (7)
| Publication number | Priority date | Publication date | Assignee | Title |
|---|---|---|---|---|
| JPH02194240A (ja) * | 1989-01-20 | 1990-07-31 | Sekisui Chem Co Ltd | 床構造体 |
| JPH02210135A (ja) * | 1989-02-09 | 1990-08-21 | Sekisui Chem Co Ltd | 床構造体 |
| JPH02210137A (ja) * | 1989-02-09 | 1990-08-21 | Sekisui Chem Co Ltd | 床構造体 |
| JPH09328857A (ja) * | 1996-06-11 | 1997-12-22 | Hayakawa Rubber Co Ltd | 床版構造 |
| JP2000345639A (ja) * | 1999-06-08 | 2000-12-12 | Sekisui Chem Co Ltd | 建 物 |
| JP2001152590A (ja) * | 1999-11-30 | 2001-06-05 | Zeon Kasei Co Ltd | 防音床構造 |
| JP2002242351A (ja) * | 2001-02-22 | 2002-08-28 | Sekisui Chem Co Ltd | 建物の上階床構造 |
-
2006
- 2006-07-07 JP JP2006187940A patent/JP2008014073A/ja active Pending
Patent Citations (7)
| Publication number | Priority date | Publication date | Assignee | Title |
|---|---|---|---|---|
| JPH02194240A (ja) * | 1989-01-20 | 1990-07-31 | Sekisui Chem Co Ltd | 床構造体 |
| JPH02210135A (ja) * | 1989-02-09 | 1990-08-21 | Sekisui Chem Co Ltd | 床構造体 |
| JPH02210137A (ja) * | 1989-02-09 | 1990-08-21 | Sekisui Chem Co Ltd | 床構造体 |
| JPH09328857A (ja) * | 1996-06-11 | 1997-12-22 | Hayakawa Rubber Co Ltd | 床版構造 |
| JP2000345639A (ja) * | 1999-06-08 | 2000-12-12 | Sekisui Chem Co Ltd | 建 物 |
| JP2001152590A (ja) * | 1999-11-30 | 2001-06-05 | Zeon Kasei Co Ltd | 防音床構造 |
| JP2002242351A (ja) * | 2001-02-22 | 2002-08-28 | Sekisui Chem Co Ltd | 建物の上階床構造 |
Cited By (3)
| Publication number | Priority date | Publication date | Assignee | Title |
|---|---|---|---|---|
| JP2012012888A (ja) * | 2010-07-02 | 2012-01-19 | Panasonic Electric Works Co Ltd | 防音パネル |
| JP2013076274A (ja) * | 2011-09-30 | 2013-04-25 | Sumitomo Forestry Co Ltd | 遮音床構造 |
| JP2018016989A (ja) * | 2016-07-27 | 2018-02-01 | 株式会社ノザワ | 遮音床構造 |
Similar Documents
| Publication | Publication Date | Title |
|---|---|---|
| JPS63219756A (ja) | 浮床用床パネル | |
| TW201938888A (zh) | 隔間壁構造及其施工方法 | |
| US11661739B2 (en) | Vibration absorption device and method for acoustic insulation | |
| US20160083960A1 (en) | An acoustic damping building material | |
| KR101828708B1 (ko) | 층간소음 저감을 위한 시공구조 및 그 시공방법. | |
| JP5435888B2 (ja) | 天井構造及びその施工方法 | |
| JP2008014073A (ja) | 防音構造 | |
| JP2855491B2 (ja) | 遮音床構造 | |
| JP4098068B2 (ja) | 浮床構造及びその施工方法 | |
| JPH078675Y2 (ja) | プレハブ建物における床部の防振兼遮音装置 | |
| JP3909938B2 (ja) | 床衝撃音低減構造 | |
| JP6707490B2 (ja) | 防振遮音床構造 | |
| JP2009035925A (ja) | 建物の防音システム | |
| JP2005090090A (ja) | 遮音床板 | |
| KR102788460B1 (ko) | 천장 설치형 층간소음 저감장치와 이의 시공방법 | |
| JP4090835B2 (ja) | 防音床構造 | |
| JP2001132151A (ja) | 床構造 | |
| JP2025073450A (ja) | 床構造及び建物 | |
| JP7184989B1 (ja) | 付加壁及び壁構造 | |
| JP4121303B2 (ja) | 床構造及び床構造に用いる幅木 | |
| JP2018168579A (ja) | 防振用天井構造 | |
| JP2003096962A (ja) | 建築物の床構造 | |
| JPH08232361A (ja) | 遮音シートを備えた建材、遮音制振シートを備えた建材及びこれらの建材を利用する床下地、及び遮音シート並びに遮音制振シートを備えた床下地補助材 | |
| JP2024056420A (ja) | 床構造体、床構造体の施工方法および建物 | |
| JP6928428B2 (ja) | 遮音床構造 |
Legal Events
| Date | Code | Title | Description |
|---|---|---|---|
| A621 | Written request for application examination |
Free format text: JAPANESE INTERMEDIATE CODE: A621 Effective date: 20090520 |
|
| RD03 | Notification of appointment of power of attorney |
Effective date: 20090520 Free format text: JAPANESE INTERMEDIATE CODE: A7423 |
|
| RD04 | Notification of resignation of power of attorney |
Free format text: JAPANESE INTERMEDIATE CODE: A7424 Effective date: 20090520 |
|
| A977 | Report on retrieval |
Effective date: 20110916 Free format text: JAPANESE INTERMEDIATE CODE: A971007 |
|
| A131 | Notification of reasons for refusal |
Effective date: 20110927 Free format text: JAPANESE INTERMEDIATE CODE: A131 |
|
| A02 | Decision of refusal |
Free format text: JAPANESE INTERMEDIATE CODE: A02 Effective date: 20120207 |
