JP2007315580A - ボルトの緩み防止用座金 - Google Patents
ボルトの緩み防止用座金 Download PDFInfo
- Publication number
- JP2007315580A JP2007315580A JP2006148870A JP2006148870A JP2007315580A JP 2007315580 A JP2007315580 A JP 2007315580A JP 2006148870 A JP2006148870 A JP 2006148870A JP 2006148870 A JP2006148870 A JP 2006148870A JP 2007315580 A JP2007315580 A JP 2007315580A
- Authority
- JP
- Japan
- Prior art keywords
- washer
- bolt
- insertion hole
- annular elastic
- elastic portion
- Prior art date
- Legal status (The legal status is an assumption and is not a legal conclusion. Google has not performed a legal analysis and makes no representation as to the accuracy of the status listed.)
- Pending
Links
- 238000003780 insertion Methods 0.000 claims abstract description 19
- 230000037431 insertion Effects 0.000 claims abstract description 19
- 230000005489 elastic deformation Effects 0.000 claims 1
- 230000008602 contraction Effects 0.000 abstract 1
- 238000012986 modification Methods 0.000 description 5
- 230000004048 modification Effects 0.000 description 5
- 230000002265 prevention Effects 0.000 description 2
- 238000010791 quenching Methods 0.000 description 2
- 230000000171 quenching effect Effects 0.000 description 2
- 229910001220 stainless steel Inorganic materials 0.000 description 2
- 239000010935 stainless steel Substances 0.000 description 2
- 239000000463 material Substances 0.000 description 1
- 238000004080 punching Methods 0.000 description 1
Images
Landscapes
- Bolts, Nuts, And Washers (AREA)
Abstract
【課題】 ばね座金を用いずにボルトの緩みを防止する。
【解決手段】 座金20の座金本体21と、この本体21の挿通穴側の縁部に形成された環状弾性部23とから構成し、環状弾性部23を分割してボルト頭の押圧で変形させることで挿通穴を縮径させる。
【選択図】 図1
【解決手段】 座金20の座金本体21と、この本体21の挿通穴側の縁部に形成された環状弾性部23とから構成し、環状弾性部23を分割してボルト頭の押圧で変形させることで挿通穴を縮径させる。
【選択図】 図1
Description
本発明は、被固定部を締付け固定するボルトの緩みを防止することが可能な座金に関する。
ボルトは、従来、被固定部に係止される座金と、締付力を保持するためのバネ座金とを用いて被固定部を締付け固定している。
しかし、ボルトの締付けに座金及びバネ座金の両者を用いると、その分だけ材料費が嵩むだけでなく、二つの部材を用いるため作業にもその分だけ手間を要する問題も生じる。
そこで、従来は、下記特許文献に示されているように、座金の内方に円弧状の切り込みを入れて焼き入れによりスプリング部を設け、このスプリング部の先端をボルトの頭部の底面に当接させ、これによりボルトの緩みを防止している。
特開平11−44314号公報
しかし、ボルトの締付けに座金及びバネ座金の両者を用いると、その分だけ材料費が嵩むだけでなく、二つの部材を用いるため作業にもその分だけ手間を要する問題も生じる。
そこで、従来は、下記特許文献に示されているように、座金の内方に円弧状の切り込みを入れて焼き入れによりスプリング部を設け、このスプリング部の先端をボルトの頭部の底面に当接させ、これによりボルトの緩みを防止している。
しかし、上記した座金は、焼き入れ処理によってスプリング部を製作する構成であるため、非常に高価になってしまう欠点がある。
本発明は、安価で、かつ緩み防止機能の優れたボルトの緩み防止用座金を提供することを目的とする。
本発明は、安価で、かつ緩み防止機能の優れたボルトの緩み防止用座金を提供することを目的とする。
本発明は上記課題を解決するため次の構成を備える。
即ち、本発明は、ボルトのねじ部の挿通される挿通穴を有する座金本体と、この座金本体の挿通穴の縁部に一体形成されてボルトの頭の底面側へ突出する環状弾性部とを含み、この環状弾性部がボルトの締付けで前記頭の底面で押圧されて弾性変形すること、を特徴としている。
即ち、本発明は、ボルトのねじ部の挿通される挿通穴を有する座金本体と、この座金本体の挿通穴の縁部に一体形成されてボルトの頭の底面側へ突出する環状弾性部とを含み、この環状弾性部がボルトの締付けで前記頭の底面で押圧されて弾性変形すること、を特徴としている。
本発明の緩み防止用座金は、弾性を有するステンレス板を打抜いて環状弾性部を形成することができ、非常に安価である。
環状弾性部は、複数に分割されていてもよい。この場合、環状弾性部の突出量(傾斜角)と挿通穴の径とをボルトのねじ部の径に対応させて所定寸法に設定することで、環状弾性部を変形させた場合に挿通穴を縮径させて内端縁をねじ部の溝に係入させることができる。
環状弾性部は、複数に分割されていてもよい。この場合、環状弾性部の突出量(傾斜角)と挿通穴の径とをボルトのねじ部の径に対応させて所定寸法に設定することで、環状弾性部を変形させた場合に挿通穴を縮径させて内端縁をねじ部の溝に係入させることができる。
本発明によれば、安価でありながらボルトの緩みを確実に防止することができる座金を提供することができる。
以下、本発明の実施例を図面を参照して詳細に説明する。
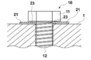
図1及び図2は本発明に係る緩み防止用座金のボルト締付け前の断面図と斜視図を示している。
図1において、ボルト10は頭11とねじ部12とを有する六角ボルトから成る。
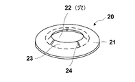
本発明の座金20は、図1及び図2に示すように、円盤状の座金本体21と、座金本体21の中央のボルトの挿通穴22と、座金本体21の挿通穴22の縁部に形成されている環状弾性部23とから成る。この座金20はステンレス板から形成され、その環状弾性部23は円錐状に突出形成されている。そして、環状弾性部23は径方向の切溝24により複数に分割されている。
本発明の座金20は、図1及び図2に示すように、円盤状の座金本体21と、座金本体21の中央のボルトの挿通穴22と、座金本体21の挿通穴22の縁部に形成されている環状弾性部23とから成る。この座金20はステンレス板から形成され、その環状弾性部23は円錐状に突出形成されている。そして、環状弾性部23は径方向の切溝24により複数に分割されている。
図3には本発明に係る座金20の使用態様が示されている。即ち、ボルト10を被固定部1に螺合させて図示しないナットと共に締付けると、頭11の底面により環状弾性部23が押圧される。環状弾性部23はこの圧力を受けて弾性変形すると、分割されていることから平坦化して挿通穴22を縮径する。従って、環状弾性部23の内端縁(挿通穴の端部)が弾性力により頭の底面に押圧されるだけでなく、ねじ部12の溝内に入り込んで係止する部分も生じるので、締付け後にボルト10に緩みが生じるのを確実に防止することができる。
図4には変形例に係る座金20が示されている。この座金20は、環状弾性部23が単に環状に形成されて溝24(図2参照)を有していない。従って、この座金20はボルト頭11により押圧されると同様に弾性変形するが、縮径することはないので、環状弾性部23の内端縁が頭11の底面に円形に弾性的に当接する。
図5には、本発明に係る座金の他の実施例が示されている。この座金20は、環状弾性部23Aが断面略三角形状に形成されている。環状弾性部23Aに溝24(図2)を設けることで挿通穴22の縮径も可能である。
図6には、更に本発明に係る座金の他の実施例が示されている。この座金20は、環状弾性部23Bが断面略L字状に立ち上がる形状に形成されている。同様に溝24を設けて挿通穴22を縮径可能としてもよい。
図7には本発明の他の実施例に係る座金が示されている。この実施例の座金20は、座金本体21の複数箇所に、断面湾曲状の弾性部25が設けられている。
図8には更に他の本発明の実施例に係る座金が示されている。この座金の実施例の座金20は、座金本体21の内端側に、波状の環状弾性部23Cが設けられている。
図9には図7の変形例が示されている。この変形例の座金20は、座金本体21に挿通穴22に沿って複数の弾性突起25Aが設けられている。
10 ボルト
11 ボルト頭
12 ねじ部
20 座金
21 座金本体
22 挿通穴
23 環状弾性部
24 溝
25 弾性部
11 ボルト頭
12 ねじ部
20 座金
21 座金本体
22 挿通穴
23 環状弾性部
24 溝
25 弾性部
Claims (3)
- ボルトのねじ部の挿通される挿通穴を有する座金本体と、該座金本体の前記挿通穴の縁部に一体形成されて前記ボルトの頭の底面側へ突出する環状弾性部とを含み、該環状弾性部は前記ボルトの締付けで前記頭の底面で押圧されて弾性変形することを特徴とするボルトの緩み防止用座金。
- 前記環状弾性部は、複数に分割され、前記弾性変形で前記挿通穴を縮径させ、該挿通穴の内端縁を前記ねじ部の溝に係入させることを特徴とする請求項1記載のボルトの緩み防止用座金。
- ボルトのねじ部の挿通される挿通穴を有する座金本体と、該座金本体に前記ボルトの頭に向けて突出形成されている複数の弾性部とを含むことを特徴とするボルトの緩み防止用座金。
Priority Applications (1)
| Application Number | Priority Date | Filing Date | Title |
|---|---|---|---|
| JP2006148870A JP2007315580A (ja) | 2006-05-29 | 2006-05-29 | ボルトの緩み防止用座金 |
Applications Claiming Priority (1)
| Application Number | Priority Date | Filing Date | Title |
|---|---|---|---|
| JP2006148870A JP2007315580A (ja) | 2006-05-29 | 2006-05-29 | ボルトの緩み防止用座金 |
Publications (1)
| Publication Number | Publication Date |
|---|---|
| JP2007315580A true JP2007315580A (ja) | 2007-12-06 |
Family
ID=38849617
Family Applications (1)
| Application Number | Title | Priority Date | Filing Date |
|---|---|---|---|
| JP2006148870A Pending JP2007315580A (ja) | 2006-05-29 | 2006-05-29 | ボルトの緩み防止用座金 |
Country Status (1)
| Country | Link |
|---|---|
| JP (1) | JP2007315580A (ja) |
Cited By (12)
| Publication number | Priority date | Publication date | Assignee | Title |
|---|---|---|---|---|
| JP2012172768A (ja) * | 2011-02-22 | 2012-09-10 | Minoru Saito | ばね座金 |
| CN103075412A (zh) * | 2013-02-19 | 2013-05-01 | 胡和萍 | 一种弹性垫圈 |
| KR101416165B1 (ko) * | 2008-05-14 | 2014-07-08 | 현대자동차주식회사 | 백래쉬 보정이 가능한 차동장치 |
| JP2018003370A (ja) * | 2016-06-30 | 2018-01-11 | 株式会社オーティス | 軒樋支持具 |
| KR101845989B1 (ko) | 2017-09-08 | 2018-04-05 | 주식회사 한서정밀 | 풀림방지 와셔 어셈블리 |
| JP2019027585A (ja) * | 2017-07-28 | 2019-02-21 | ジー・オー・ピー株式会社 | 締結具、締結方法および器具 |
| CN110332208A (zh) * | 2019-08-09 | 2019-10-15 | 嘉兴凯顺科技有限公司 | 一种家具用防松螺栓 |
| CN111237457A (zh) * | 2018-11-28 | 2020-06-05 | 青岛海尔智慧厨房电器有限公司 | 一种垫圈 |
| CN113007198A (zh) * | 2021-04-12 | 2021-06-22 | 胡晓梦 | 一种紧固防松装置设计与螺栓连接紧固防松的方法 |
| CN114076135A (zh) * | 2020-08-12 | 2022-02-22 | 维特汽车有限责任公司 | 公差补偿装置 |
| JP7320893B1 (ja) * | 2023-01-27 | 2023-08-04 | 北村精工株式会社 | 固定具 |
| CN116857270A (zh) * | 2023-06-20 | 2023-10-10 | 山东电力工业锅炉压力容器检验中心有限公司 | 一种输电设备紧固件防松垫片及其制备方法、安装方法 |
-
2006
- 2006-05-29 JP JP2006148870A patent/JP2007315580A/ja active Pending
Cited By (16)
| Publication number | Priority date | Publication date | Assignee | Title |
|---|---|---|---|---|
| KR101416165B1 (ko) * | 2008-05-14 | 2014-07-08 | 현대자동차주식회사 | 백래쉬 보정이 가능한 차동장치 |
| JP2012172768A (ja) * | 2011-02-22 | 2012-09-10 | Minoru Saito | ばね座金 |
| CN103075412A (zh) * | 2013-02-19 | 2013-05-01 | 胡和萍 | 一种弹性垫圈 |
| JP2018003370A (ja) * | 2016-06-30 | 2018-01-11 | 株式会社オーティス | 軒樋支持具 |
| JP2023071782A (ja) * | 2017-07-28 | 2023-05-23 | ジー・オー・ピー株式会社 | 締結具、締結方法および器具 |
| JP2019027585A (ja) * | 2017-07-28 | 2019-02-21 | ジー・オー・ピー株式会社 | 締結具、締結方法および器具 |
| JP7385887B2 (ja) | 2017-07-28 | 2023-11-24 | ジー・オー・ピー株式会社 | 作業台 |
| JP7498518B2 (ja) | 2017-07-28 | 2024-06-12 | ジー・オー・ピー株式会社 | 締結具、締結方法および器具 |
| KR101845989B1 (ko) | 2017-09-08 | 2018-04-05 | 주식회사 한서정밀 | 풀림방지 와셔 어셈블리 |
| CN111237457A (zh) * | 2018-11-28 | 2020-06-05 | 青岛海尔智慧厨房电器有限公司 | 一种垫圈 |
| CN110332208A (zh) * | 2019-08-09 | 2019-10-15 | 嘉兴凯顺科技有限公司 | 一种家具用防松螺栓 |
| US12049918B2 (en) | 2020-08-12 | 2024-07-30 | Witte Automotive Gmbh | Device for compensating for tolerances |
| CN114076135A (zh) * | 2020-08-12 | 2022-02-22 | 维特汽车有限责任公司 | 公差补偿装置 |
| CN113007198A (zh) * | 2021-04-12 | 2021-06-22 | 胡晓梦 | 一种紧固防松装置设计与螺栓连接紧固防松的方法 |
| JP7320893B1 (ja) * | 2023-01-27 | 2023-08-04 | 北村精工株式会社 | 固定具 |
| CN116857270A (zh) * | 2023-06-20 | 2023-10-10 | 山东电力工业锅炉压力容器检验中心有限公司 | 一种输电设备紧固件防松垫片及其制备方法、安装方法 |
Similar Documents
| Publication | Publication Date | Title |
|---|---|---|
| JP2007315580A (ja) | ボルトの緩み防止用座金 | |
| JP2011252573A (ja) | 緩み止めワッシャーおよびこれを用いた緩み止め締結具 | |
| KR20120127501A (ko) | 클램프 보조 부재 및 그 클램프 보조 부재를 구비한 절삭 공구 | |
| JP2018031466A (ja) | ワッシャ付ネジ | |
| JP5465093B2 (ja) | 弛み防止ねじ | |
| JP2016035315A (ja) | 緩み防止ネジ | |
| JP2008180369A (ja) | 締結構造体及び締結用組部材 | |
| JP2009209946A (ja) | 緩み止めナット | |
| JP6637150B1 (ja) | ケーブルグランド | |
| JP4945507B2 (ja) | クリップナット | |
| JP2010121695A (ja) | ボルトの緩み止め構造 | |
| JP2006118582A (ja) | 雌ねじ部品 | |
| JP2013122289A (ja) | ナット及びボルト・ナットの締結構造 | |
| JP6401881B1 (ja) | 座金 | |
| KR102098074B1 (ko) | 볼트-너트 조립체 | |
| JP2007211892A (ja) | 締結用組部材及びそれを用いた締結構造体 | |
| JP5089327B2 (ja) | 締結用部材 | |
| JP2006242206A (ja) | 締結部材 | |
| JP2018100765A (ja) | 緩み止めナット | |
| JP5794841B2 (ja) | 締結構造体 | |
| JP2009185845A (ja) | 締結用部材 | |
| KR200235137Y1 (ko) | 풀림방지용 볼트 | |
| KR101508221B1 (ko) | 볼트 풀림 방지용 고정부재 | |
| JP6083632B1 (ja) | 緩み止めナット | |
| JP6215601B2 (ja) | ボルト・ナットの弛み止め構造 |
Legal Events
| Date | Code | Title | Description |
|---|---|---|---|
| A621 | Written request for application examination |
Effective date: 20090529 Free format text: JAPANESE INTERMEDIATE CODE: A621 |
|
| A072 | Dismissal of procedure |
Effective date: 20101005 Free format text: JAPANESE INTERMEDIATE CODE: A073 |