JP2007314945A - 木質系構造材 - Google Patents
木質系構造材 Download PDFInfo
- Publication number
- JP2007314945A JP2007314945A JP2006142480A JP2006142480A JP2007314945A JP 2007314945 A JP2007314945 A JP 2007314945A JP 2006142480 A JP2006142480 A JP 2006142480A JP 2006142480 A JP2006142480 A JP 2006142480A JP 2007314945 A JP2007314945 A JP 2007314945A
- Authority
- JP
- Japan
- Prior art keywords
- wood
- web
- wooden
- pieces
- length
- Prior art date
- Legal status (The legal status is an assumption and is not a legal conclusion. Google has not performed a legal analysis and makes no representation as to the accuracy of the status listed.)
- Pending
Links
Images
Landscapes
- Dry Formation Of Fiberboard And The Like (AREA)
- Rod-Shaped Construction Members (AREA)
Abstract
【課題】従来にない極めて高い構造耐力を備えた木質系構造材を提供することを目的としている。
【解決手段】ウエブ2aと、ウエブの両端部に配置される一対のフランジ3aとを備えた木質系構造材1aにおいて、ウエブ2aが、重量比70%以上が厚さ1mm〜10mm、長さ20mm〜150mmの範囲にある多数の細長い木質材料片と、これらの木質材料片同士を結合させるための結合剤とを含む材料を、木質材料片の長さ方向がほぼ一方向を向くように配向された状態で積み重ね、加熱および積み重ね方向に加圧して、前記木質材料片同士を圧縮結合させて得られる密度が0.6g/cm3 以上の複合材料により平板状に形成されている。
【選択図】図1
【解決手段】ウエブ2aと、ウエブの両端部に配置される一対のフランジ3aとを備えた木質系構造材1aにおいて、ウエブ2aが、重量比70%以上が厚さ1mm〜10mm、長さ20mm〜150mmの範囲にある多数の細長い木質材料片と、これらの木質材料片同士を結合させるための結合剤とを含む材料を、木質材料片の長さ方向がほぼ一方向を向くように配向された状態で積み重ね、加熱および積み重ね方向に加圧して、前記木質材料片同士を圧縮結合させて得られる密度が0.6g/cm3 以上の複合材料により平板状に形成されている。
【選択図】図1
Description
本発明は、建築物の骨組みを構成する木質系構造材に関するもので、特に、ウエブの上下にフランジを備えたI型ビームやボックスビームなどの木質系構造材に関するものである。
従来、梁として使用されるI型ビームやボックスビームなどの木質系構造材は、構造耐力を増大させるために、ウエブにせん断強度の高い合板やOSB(Oriented Strand Board)などが使用されている。
また、より高い構造耐力を得るために、例えば、木材、わらなどの植物片に、結合剤を塗布するなどして担持させた結合剤付き植物片の集成物を加熱および圧縮してなる波板状のウエブを使用したものが提案されている。(例えば、特許文献1参照)。
また、より高い構造耐力を得るために、例えば、木材、わらなどの植物片に、結合剤を塗布するなどして担持させた結合剤付き植物片の集成物を加熱および圧縮してなる波板状のウエブを使用したものが提案されている。(例えば、特許文献1参照)。
しかしながら、近年、建築物にはさらに高い耐震性が求められており、上記提案の構造材では、十分な強度が得られない恐れがある。また、ウエブが波板状であるので、ウエブの上下端にフランジを接合するための位置決めが平板状のものに比べて困難になるし、ウエブを波板状に形成するための特別の金型を導入する必要があるなど、設備面での負担も重い。
特開平11−36514号公報
本発明は、上記問題点に鑑みてなされたものであって、その目的とするところは、従来にない極めて高い構造耐力を備えた木質系構造材を提供することにある。
以上の課題を達成するために、請求項1記載の発明にかかる木質系構造材は、
ウエブと、ウエブの両端部に配置される一対のフランジとを備えた木質系構造材において、ウエブが、重量比70%以上が厚さ1mm〜10mm、長さ20mm〜150mmの範囲にある多数の細長い木質材料片と、これらの木質材料片同士を結合させるための結合剤とを含む材料を、木質材料片の長さ方向がほぼ一方向を向くように配向された状態で積み重ね、加熱および積み重ね方向に加圧して、前記木質材料片同士を圧縮結合させて得られる密度が0.6g/cm3 以上の複合材料により平板状に形成されていることを特徴とするものである。
ウエブと、ウエブの両端部に配置される一対のフランジとを備えた木質系構造材において、ウエブが、重量比70%以上が厚さ1mm〜10mm、長さ20mm〜150mmの範囲にある多数の細長い木質材料片と、これらの木質材料片同士を結合させるための結合剤とを含む材料を、木質材料片の長さ方向がほぼ一方向を向くように配向された状態で積み重ね、加熱および積み重ね方向に加圧して、前記木質材料片同士を圧縮結合させて得られる密度が0.6g/cm3 以上の複合材料により平板状に形成されていることを特徴とするものである。
なお、木質材料片の長さ方向がほぼ一方向を向くように配向させるとは、木質材料片の繊維方向が意図した配向方向に対して30度以内となるように、木質材料片を配向させることをいう。
請求項2記載の発明は、請求項1記載の発明において、ウエブにおける木質材料片の圧縮方向および配向方向に直交する方向がフランジと直交するように、ウエブが配置されていることを特徴とするものである。
請求項3記載の発明は、請求項1または2記載の発明において、木質系構造材が、I型ビームまたはボックスビームであることを特徴とするものである。
本発明で用いられる木質材料片となる原料材の樹種としては、主に、スギ、ヒノキ、スプルース、ファー、ラジアータパイン等の針葉樹、シラカバ、アピトン、カメレレ、センゴンラウト、アスペン等の広葉樹が挙げられるが、これら森林から生産される植物材料だけでなく、竹、コウリャンといった森林以外で生産される植物材料をも含めることができる。
木質材料片の原材料としては、天然木だけでなく廃棄木材であっても構わない。廃棄木材としては、特に限定されないが、例えば、上記樹種の丸太、間伐材等の生材料、工場や住宅建築現場で発生する端材、部材輸送後に廃棄される廃パレット材、建築解体時に発生する解体木材等が挙げられる。
本発明に用いられる木質材料片としては、以下の理由により、厚さ1mm〜11mm、長さ20mm〜150mmの範囲のものを使用する。
すなわち、木質材料片の厚さが1mm未満のものを用いると、厚さが薄すぎて、多くの結合材が必要となり、強度を発現しにくく、木質材料片の厚さが11mmを超えると、木質材料片の積層数が少なくなり、応力伝達が十分に行えず、木質片の継ぎ目に応力集中を起こしやすく、所望の強度を得ることができないからである。
また、木質材料片の長さが20mm未満のものを用いると、木質材料片の配向方向の強度が不十分となってしまい、150mmを超えるものを用いると、木質材料片を積層した時に、木質材料片同士の隙間が多くなり、十分な圧密化ができないからである。なお、木質材料片は、必要な長さのものだけ正確に選別できる物ではないが、重量比で70%以上であり、好ましくは80%以上が上記長さの木質材料片を含有していれば、十分効果が発揮される。
また、木質材料片の長さと厚さの比は、特に限定されないが、長さが厚さの10倍以上となることが好ましい。言い換えれば、厚さが1mm〜11mmであることが好ましい。長さが厚さの10倍未満であると、成形された複合材料の長さ方向および厚さ方向の強度が不十分となる恐れがあるからである。
なお、木質材料片の密度は、0.3g/cm3〜0.6g/cm3の範囲であることが好ましい。つまり、木質材料片の密度が0.3g/cm3未満では、木質材料片が腐朽していることが多く、木質材料片の強度が十分に得られない上、成形時の圧密処理が十分に行うことができず、成形後の複合材料に所望の強度を与えることができないからである。一方、木質材料片の密度が0.6g/cm3を超えると、木質材料片が固く、所望の強度を発現する成形が難しいからである。
上記のような木質材料片を得る方法としては、上記原材料を破砕し、破砕片を振るい分ける方法が挙げられる。なお、破砕方法は、上記の大きさに破砕されていれば特に限定されない。例えば、ハンマーミル破砕機や小片製造機(ナイフフレーカーなど)が挙げられるが、ハンマーミル破砕機が好ましい。つまり、ハンマーミル破砕機により作製された木質材料片は、長さ20mm〜150mmの紡錘状になり、強度がでやすい傾向があるからである。
なお、本発明で用いられる結合剤としては、フェノール樹脂、ユリア樹脂、メラミン樹脂、タンニン樹脂、イソシアネート樹脂、酢酸ビニル系樹脂等熱硬化型樹脂や熱可塑型樹脂のような合板やパーティクルボードに用いられる木材工業用の接着剤が挙げられる。
また、天然物成分もしくは天然物から精製、抽出、変成等によって得られる接着剤としては、具体的には、ゼラチン、カゼイングルー、大豆グルー、にかわ、アルブミン等のタンパク質系接着剤、でんぷん、デキストリン、米糊、グルコマンナンなどのデンプン系接着剤、キチン・キトサンなどの動物系接着剤、セルロース系接着剤、リグニン系接着剤、タンニン系接着剤などが挙げられる。
また、天然物成分もしくは天然物から精製、抽出、変成等によって得られる接着剤としては、具体的には、ゼラチン、カゼイングルー、大豆グルー、にかわ、アルブミン等のタンパク質系接着剤、でんぷん、デキストリン、米糊、グルコマンナンなどのデンプン系接着剤、キチン・キトサンなどの動物系接着剤、セルロース系接着剤、リグニン系接着剤、タンニン系接着剤などが挙げられる。
そして、木質材料片と上記の結合剤との混合物を、木質材料片の繊維方向がほぼ一方向に配向された状態で積む方法としては、例えば、ベルトコンベアの上に、搬送方向に沿って複数の板状体を並列に立設させて、板状体の上から木質材料片を投下して配向させる方法や、幅方向に樋状体を並べて、凹凸溝形状として、木質材料片が溝の内を流れることで並べる方法や、ディスクオリエンター等の公知の配向手段をフォーミング型の上方に配置し、この配向手段により配向させながら投入する方法を用いることが可能である。
プレス機としては、特に限定されないが、例えば、既存の木質材料成形用の縦型プレス機や連続プレス機を垂直方向動作にしたものを用いることができる。
加熱方法としては、特に限定されないが、例えば、熱盤のように木質材料片の表面からの熱伝達によって、木質材料片と結合剤との混合物の内部に熱を伝える方法や、蒸気噴射や高周波加熱等のように、前記混合物の内部を直接加熱する方法が挙げられる。加熱と加圧とは、同時に行ってもよいし、加圧をした後に加熱をしてもよいし、加熱した後に加圧してもよい。
加熱方法としては、特に限定されないが、例えば、熱盤のように木質材料片の表面からの熱伝達によって、木質材料片と結合剤との混合物の内部に熱を伝える方法や、蒸気噴射や高周波加熱等のように、前記混合物の内部を直接加熱する方法が挙げられる。加熱と加圧とは、同時に行ってもよいし、加圧をした後に加熱をしてもよいし、加熱した後に加圧してもよい。
また、上記木質材料片からなる複合材料は、密度が0.6g/cm3以上であることが必要である。その理由は、密度が0.6g/cm3未満では、木質材料片同士の十分な結合が得られず、構造材として十分な強度を得ることができない恐れがあるからである。
さらに、空隙率は、10%以下となることが好ましい。すなわち、空隙率が10%を超えると、木質材料片同士の結合が不十分となり、十分な強度を発現しなくなる恐れがあるからである。
また、プレス成形後、ウエブの寸法精度や表面性を向上させるために、切削、サンディング加工を行うことが好ましい。
本発明によれば、重量比70%以上が厚さ1mm〜10mm、長さ20mm〜150mmの範囲にある多数の細長い木質材料片と、これらの木質材料片同士を結合させるための結合剤とを含む材料を、木質材料片の長さ方向がほぼ一方向を向くように配向された状態で積み重ね、加熱および積み重ね方向に加圧して、前記木質材料片同士を圧縮結合させて得られる密度が0.6g/cm3 以上の複合材料により平板状に形成してなるウエブを備えているので、せん断強度に優れた、極めて高い構造耐力を備えた木質系構造材を得ることができる。また、ウエブの密度分布のバラツキが少なく、温度変化や湿度変化による反りや曲がりの寸法変化を抑えることができ、優れた寸法安定性が得られる。
また、ウエブにおける木質材料片の圧縮方向および配向方向に直交する方向がフランジと直交するように、ウエブを配置したものでは、温度変化や湿度変化による反りや曲がりをさらに抑えることができ、より優れた寸法安定性が得られる。
以下、本発明にかかる一実施形態について、図面に基づいて説明する。
本実施形態の木質系構造材1aは、いわゆるI型ビームであり、図1に示すように、平板状に形成されたウエブ2aと、ウエブ2aの両端部に接合される一対のフランジ3bとから構成されている。
ウエブ2aは、図3に示すように、厚さ1mm〜10mm、長さ20mm〜150mm、密度が0.3g/cm3〜0.6g/cm3の範囲にある多数の木質材料片Kと、これらの木質材料片同士を結合させるための結合剤とを含む材料を、木質材料片Kの長さ方向の向きをほぼ同一方向に配向させた状態で積み重ね、加熱および積み重ね方向に加圧して、前記木質材料片同士を圧縮結合させて得られる密度が0.6g/cm3以上で、空隙率が10%以下である複合材料Lにより形成されている。
図3において、X方向は、木質材料片Kの配向方向とほぼ同一方向で、ウエブ2aの長さ方向となっている。木質材料片Kは、その繊維方向αを配向方向として配向されており、ウエブ2aの長さ方向と繊維方向αとのなす角度の絶対値の平均値が30度以内となるように配向されている。また、Z方向は、積み重ねられた木質材料片Kの圧縮方向であり、積み重ねられた木質材料片は、Z方向に圧縮されて、X方向およびZ方向に直交するY方向に扁平となるように押し潰されている。
ウエブ2aは、図1に示すように、X方向を長さ方向とし、Y方向を高さ方向とし、Z方向を幅方向として配置されており、ウエブ2aに対して略直角に配置されたフランジ3aに接合されている。ウエブ2aの高さ方向両端部には、図2に示すように、ウエブ2aの長さ方向に連続する楔状の係合部21が形成されている。また、フランジ3aの幅方向中央部には、この係合部21が係合する切り欠き31が形成されている。そして、レゾルシノール系接着剤や水性高分子−イソシアネート系接着剤などの接着剤を介して、ウエブ2aの係合部21をフランジ3aの切り欠き31に係合させることにより、ウエブ2aがフランジ3aに接合されている。
なお、フランジ3aの材質は、高い曲げ剛性を有する材質であれば特に限定されないが、例えば、無垢木材、集成材、LVL(Laminated Veneer Lumberの略)などが挙げられる。
なお、フランジ3aの材質は、高い曲げ剛性を有する材質であれば特に限定されないが、例えば、無垢木材、集成材、LVL(Laminated Veneer Lumberの略)などが挙げられる。
以上詳細に説明した通り、本実施形態の木質系構造材1aによれば、一方向に配向された木質材料片を積み重ね方向に加圧して圧密化することにより、木質材料片K同士の隙間やボイドが効果的に消滅している上、木質材料片自身が圧縮されていて、木質材料片同士の結合力に優れているため、ウエブ2aのせん断強度が従来に比べて飛躍的に向上する。その結果、極めて高い構造耐力を備えた木質系構造材1aを得ることができる。
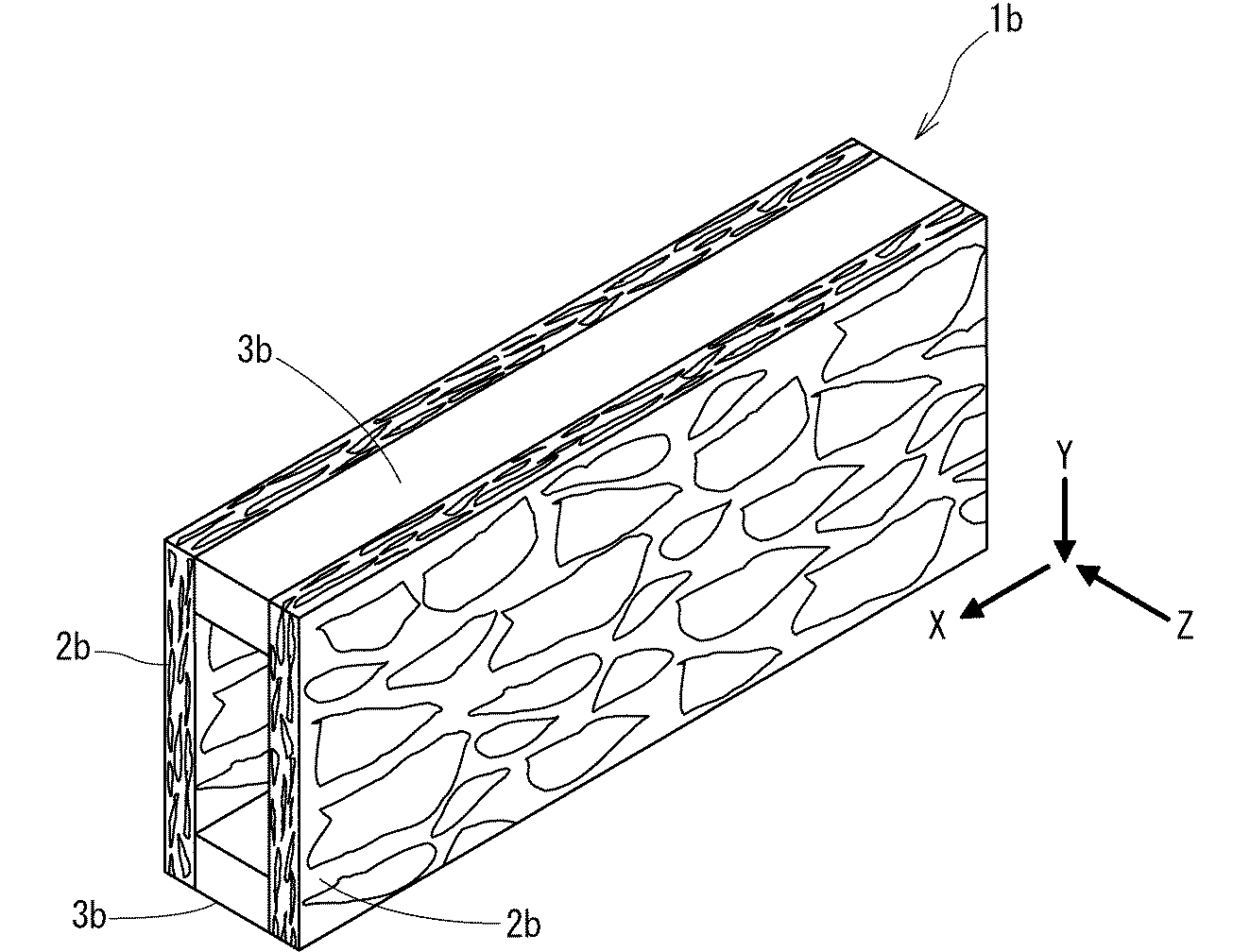
なお、本実施形態の木質系構造材1aは、いわゆるI型ビームであるが、本発明は、これに限定されるものではない。したがって、例えば、図4に示すように、ボックスビーム1bであっても構わない。ボックスビーム1bは、細長い平板状の一対のフランジ3b,3bと、このフランジ3b,3bを挟み込むように、フランジ3b,3bの両側に配置される2枚のウエブ2b,2bとから構成したもので、ウエブ2b,2bは、接着剤や釘、ねじなどによって、フランジ3b,3bに固定されている。
実施例の木質系構造材は、以下の方法によって得た。まず、木造住宅解体材(主にスギ、ヒノキ、マツ)をハンマーミル破砕機で破砕してなる密度0.3g/cm3〜0.6g/cm3の破砕チップをふるいにかけ、厚さ1mm〜11mm、長さ20mm〜150mmの木質材料片をより分けた。次に、得られた木質材料片に結合剤としてMDI樹脂をスプレー塗布した。そして、結合剤を塗布した木質材料片の長さ方向の向きを揃えて、成形ガイド内に積層し、180℃の蒸気を発生するプレス機で加熱・圧縮した。その後、取り出した複合材料をX方向長さが4000mm、Y方向長さが120mm、Z方向長さが30mmの細長い平板状にウエブに成形加工した。なお、得られたウエブの密度は、0.75g/cm3であった。
そして、上記ウエブのY方向両端に、X方向長さが4000mm、Y方向長さが38mm、Z方向長さが105mmの集成材(E105−F345)を、レゾルシノール系接着剤を用いて接着し、Iビームを作製した。
そして、上記ウエブのY方向両端に、X方向長さが4000mm、Y方向長さが38mm、Z方向長さが105mmの集成材(E105−F345)を、レゾルシノール系接着剤を用いて接着し、Iビームを作製した。
そして、このIビームの強度試験を行った。試験方法及び統計処理方法は、日本農林規格(JAS)記載の方法(4点曲げ)に準拠して行った。
なお、比較例として、横架材として一般的な日本農林規格(JAS)構造用集成材(E105−F345)の値を採用した。構造用集成材の日本農林規格(JAS)の基準強度としては、前記の集成材は、基準曲げ強度34.5 MPa(基準曲げ強度=95%片側許容限界・信頼水準75%)で、平均曲げ弾性率10.5GPaとなっている。
(試験結果)
実施例の基準曲げ強度(MPa)と、平均曲げ弾性率(GPa)、および重量(kg)についての試験結果を下表に示す。また、比較例として、日本農林規格(JAS)構造用集成材(E105−F345)の物性規格値と、実測重量(kg)を下表に示す。
(表1)に示すように、本実施例は、基準曲げ強度、平均曲げ弾性率ともに、比較例に示す物性規格値に比べて大きく、かつ重量は軽い。
実施例の基準曲げ強度(MPa)と、平均曲げ弾性率(GPa)、および重量(kg)についての試験結果を下表に示す。また、比較例として、日本農林規格(JAS)構造用集成材(E105−F345)の物性規格値と、実測重量(kg)を下表に示す。
(表1)に示すように、本実施例は、基準曲げ強度、平均曲げ弾性率ともに、比較例に示す物性規格値に比べて大きく、かつ重量は軽い。
(結論)
本実施例は、ウエブを重量比70%以上が厚さ1mm〜10mm、長さ20mm〜150mmの範囲にある多数の細長い木質材料片と、これらの木質材料片同士を結合させるための結合剤とを含む材料を、木質材料片の長さ方向がほぼ一方向を向くように配向された状態で積み重ね、加熱および積み重ね方向に加圧して、前記木質材料片同士を圧縮結合させて得られる密度が0.6g/cm3 以上の複合材料で形成したことにより、従来の横架材である日本農林規格(JAS)構造用集成材(E105−F345)を用いた比較例に比べて、優れたせん断強度を有し、かつ軽量であることが明らかとなった。すなわち、本実施例は、ウエブが木質材料片を利用した複合材料から形成されているにもかかわらず、従来の製材に比べて優れた強度を有している。その上、本実施例は、寸法安定性にも優れており、高強度で信頼性の高い木質系構造材として利用できる。
本実施例は、ウエブを重量比70%以上が厚さ1mm〜10mm、長さ20mm〜150mmの範囲にある多数の細長い木質材料片と、これらの木質材料片同士を結合させるための結合剤とを含む材料を、木質材料片の長さ方向がほぼ一方向を向くように配向された状態で積み重ね、加熱および積み重ね方向に加圧して、前記木質材料片同士を圧縮結合させて得られる密度が0.6g/cm3 以上の複合材料で形成したことにより、従来の横架材である日本農林規格(JAS)構造用集成材(E105−F345)を用いた比較例に比べて、優れたせん断強度を有し、かつ軽量であることが明らかとなった。すなわち、本実施例は、ウエブが木質材料片を利用した複合材料から形成されているにもかかわらず、従来の製材に比べて優れた強度を有している。その上、本実施例は、寸法安定性にも優れており、高強度で信頼性の高い木質系構造材として利用できる。
1a I型ビーム(木質系構造材)
1b ボックスビーム(木質系構造材)
2a ウエブ
2b ウエブ
3a フランジ
3b フランジ
K 木質材料片
1b ボックスビーム(木質系構造材)
2a ウエブ
2b ウエブ
3a フランジ
3b フランジ
K 木質材料片
Claims (3)
- ウエブと、ウエブの両端部に配置される一対のフランジとを備えた木質系構造材において、ウエブが、重量比70%以上が厚さ1mm〜10mm、長さ20mm〜150mmの範囲にある多数の細長い木質材料片と、これらの木質材料片同士を結合させるための結合剤とを含む材料を、木質材料片の長さ方向がほぼ一方向を向くように配向された状態で積み重ね、加熱および積み重ね方向に加圧して、前記木質材料片同士を圧縮結合させて得られる密度が0.6g/cm3 以上の複合材料により平板状に形成されていることを特徴とする木質系構造材。
- ウエブにおける木質材料片の圧縮方向および配向方向に直交する方向がフランジと直交するように、ウエブが配置されていることを特徴とする請求項1記載の木質系構造材。
- 木質系構造材が、I型ビームまたはボックスビームであることを特徴とする請求項1または2記載の木質系構造材。
Priority Applications (1)
| Application Number | Priority Date | Filing Date | Title |
|---|---|---|---|
| JP2006142480A JP2007314945A (ja) | 2006-05-23 | 2006-05-23 | 木質系構造材 |
Applications Claiming Priority (1)
| Application Number | Priority Date | Filing Date | Title |
|---|---|---|---|
| JP2006142480A JP2007314945A (ja) | 2006-05-23 | 2006-05-23 | 木質系構造材 |
Publications (1)
| Publication Number | Publication Date |
|---|---|
| JP2007314945A true JP2007314945A (ja) | 2007-12-06 |
Family
ID=38849059
Family Applications (1)
| Application Number | Title | Priority Date | Filing Date |
|---|---|---|---|
| JP2006142480A Pending JP2007314945A (ja) | 2006-05-23 | 2006-05-23 | 木質系構造材 |
Country Status (1)
| Country | Link |
|---|---|
| JP (1) | JP2007314945A (ja) |
Cited By (2)
| Publication number | Priority date | Publication date | Assignee | Title |
|---|---|---|---|---|
| JP2010269564A (ja) * | 2009-05-25 | 2010-12-02 | Sekisui Chem Co Ltd | 木質系複合材料およびその用途 |
| CN102561168A (zh) * | 2011-12-27 | 2012-07-11 | 东南大学 | 竹胶板梁结构 |
Citations (2)
| Publication number | Priority date | Publication date | Assignee | Title |
|---|---|---|---|---|
| JPH0342718A (ja) * | 1989-07-11 | 1991-02-22 | Nec Corp | 機能選択形編集プログラム生成方式 |
| JP2003305707A (ja) * | 2002-02-13 | 2003-10-28 | Sekisui Chem Co Ltd | 木質系複合材料及びその製造方法 |
-
2006
- 2006-05-23 JP JP2006142480A patent/JP2007314945A/ja active Pending
Patent Citations (2)
| Publication number | Priority date | Publication date | Assignee | Title |
|---|---|---|---|---|
| JPH0342718A (ja) * | 1989-07-11 | 1991-02-22 | Nec Corp | 機能選択形編集プログラム生成方式 |
| JP2003305707A (ja) * | 2002-02-13 | 2003-10-28 | Sekisui Chem Co Ltd | 木質系複合材料及びその製造方法 |
Cited By (2)
| Publication number | Priority date | Publication date | Assignee | Title |
|---|---|---|---|---|
| JP2010269564A (ja) * | 2009-05-25 | 2010-12-02 | Sekisui Chem Co Ltd | 木質系複合材料およびその用途 |
| CN102561168A (zh) * | 2011-12-27 | 2012-07-11 | 东南大学 | 竹胶板梁结构 |
Similar Documents
| Publication | Publication Date | Title |
|---|---|---|
| US6511567B1 (en) | Composite building components and method of making same | |
| US8245741B2 (en) | Method and system for glulam beams | |
| CN103231425B (zh) | 一种大规格重组复合结构材及其制造方法 | |
| US20170151688A1 (en) | Method of manufacturing a corrugated wood element, a corrugated wood element and its uses | |
| CN103029177B (zh) | 浸渍压缩重组结构人造板及其制造方法 | |
| JP2857734B2 (ja) | 割裂片積層材とその製造方法および装置 | |
| JP3515099B2 (ja) | 木質系複合材の製造方法 | |
| CN203331157U (zh) | 一种夹芯结构竹木复合重组结构材 | |
| JP7064630B1 (ja) | 木質積層ボード | |
| DK2463091T3 (en) | Hardwood strip products | |
| CN103231423A (zh) | 一种夹芯竹基纤维复合材料及其制造方法 | |
| JP2007314945A (ja) | 木質系構造材 | |
| CN103231424B (zh) | 一种空心竹基纤维复合结构材及其制造方法 | |
| JP7072781B1 (ja) | 木質複合材及び床材 | |
| WO2011137537A1 (en) | Composite veneer strand lumber and methods and systems for making same | |
| JP2012066449A (ja) | 木質系複合材料 | |
| JP7174186B1 (ja) | 木質ボード | |
| JP7332774B1 (ja) | 木質ボード | |
| JP2026006247A (ja) | 木質ボード | |
| JP5561958B2 (ja) | 木質系複合材料およびその用途 | |
| JP4012419B2 (ja) | 木質チップ配向積層体 | |
| JP2013223954A (ja) | 木質系複合材料の製造方法及び木質系複合材料 | |
| JP2026006248A (ja) | 木質ボード | |
| JP4619272B2 (ja) | 建具芯材およびこの建具芯材を備えた建具 | |
| JP3338030B2 (ja) | 木質系構造材料の製造方法 |
Legal Events
| Date | Code | Title | Description |
|---|---|---|---|
| A621 | Written request for application examination |
Free format text: JAPANESE INTERMEDIATE CODE: A621 Effective date: 20090219 |
|
| A977 | Report on retrieval |
Free format text: JAPANESE INTERMEDIATE CODE: A971007 Effective date: 20110302 |
|
| A131 | Notification of reasons for refusal |
Free format text: JAPANESE INTERMEDIATE CODE: A131 Effective date: 20110329 |
|
| A02 | Decision of refusal |
Free format text: JAPANESE INTERMEDIATE CODE: A02 Effective date: 20110726 |
