JP2007284939A - Earth-retaining structure using steel pipe, its constructing method and starting-arrival construction method for shield machine - Google Patents

Earth-retaining structure using steel pipe, its constructing method and starting-arrival construction method for shield machine Download PDF

Info

Publication number
JP2007284939A
JP2007284939A JP2006111622A JP2006111622A JP2007284939A JP 2007284939 A JP2007284939 A JP 2007284939A JP 2006111622 A JP2006111622 A JP 2006111622A JP 2006111622 A JP2006111622 A JP 2006111622A JP 2007284939 A JP2007284939 A JP 2007284939A
Authority
JP
Japan
Prior art keywords
steel pipe
gate
steel plate
opening
steel
Prior art date
Legal status (The legal status is an assumption and is not a legal conclusion. Google has not performed a legal analysis and makes no representation as to the accuracy of the status listed.)
Granted
Application number
JP2006111622A
Other languages
Japanese (ja)
Other versions
JP4805002B2 (en
Inventor
Kazuyuki Takenaka
計行 竹中
Masatsugu Mori
正嗣 森
Kaoru Miyazaki
薫 宮▲崎▼
Current Assignee (The listed assignees may be inaccurate. Google has not performed a legal analysis and makes no representation or warranty as to the accuracy of the list.)
Zenitaka Corp
Copros Co Ltd
Original Assignee
Zenitaka Corp
Copros Co Ltd
Priority date (The priority date is an assumption and is not a legal conclusion. Google has not performed a legal analysis and makes no representation as to the accuracy of the date listed.)
Filing date
Publication date
Application filed by Zenitaka Corp, Copros Co Ltd filed Critical Zenitaka Corp
Priority to JP2006111622A priority Critical patent/JP4805002B2/en
Publication of JP2007284939A publication Critical patent/JP2007284939A/en
Application granted granted Critical
Publication of JP4805002B2 publication Critical patent/JP4805002B2/en
Expired - Fee Related legal-status Critical Current
Anticipated expiration legal-status Critical

Links

Images

Landscapes

  • Excavating Of Shafts Or Tunnels (AREA)

Abstract

<P>PROBLEM TO BE SOLVED: To provide an earth-retaining structure using a steel pipe having a structure easily ensuring a cutoff property, a construction method for the earth-retaining structure and a starting-arrival construction method for a shield machine. <P>SOLUTION: The earth-retaining structure 1 is formed by driving the steel pipe 2 into a ground 17. In the earth-retaining structure 1, an opening section 5 for passing the shield machine is formed to a part of the steel pipe 2 while a steel plate 6 for a gate is arranged as covering the opening section 5 and being superposed outside the steel pipe 2 under a closely contacting state. Consequently, a double steel pipe section 8 composed of the steel pipe 2 and the steel plate 6 for the gate is fitted, and the steel plate for the gate is configured in a retractible manner from the place of the opening section by sliding the outside of the steel pipe. <P>COPYRIGHT: (C)2008,JPO&INPIT

Description

本発明は、例えば立坑の施工に使用され、複数のリング状鋼管を連結しながら地盤中に打設して行くことによって構築される土留め用の構造体、その構築方法及びシールドマシンの発進到達工法に関するものである。   The present invention is used for construction of a shaft, for example, a structure for earth retaining constructed by driving a plurality of ring-shaped steel pipes into a ground while connecting a plurality of ring-shaped steel pipes, a construction method thereof, and a shield machine reaching the start It relates to the construction method.

各種の建築物や構造物が林立する都市部では、地盤中を掘削し、地下鉄等の軌道を設けたり、下水や雨水等を一ヶ所に集めて流すための大規模な水路等を構築することが頻繁に行われている。この場合、シールドマシンと呼ばれる掘削機械が多く使用されており、地盤中を垂直に掘り起こして構築した立坑と呼ばれる坑道を利用してシールドマシンの搬入、搬出と、地中を水平に掘削し、掘進するための発進、到達とが行われている。   In urban areas where various buildings and structures are forested, excavating the ground, setting up tracks such as subways, and constructing large-scale waterways for collecting and flowing sewage and rainwater in one place Has been done frequently. In this case, a lot of excavating machines called shield machines are used, and the shield machine is carried in and out using a shaft called a vertical shaft constructed by digging vertically in the ground, and the underground is excavated horizontally for excavation. The start and the arrival to be done.

従来、発進立坑から到達立坑までシールドマシンによって掘削してトンネルを完成させる場合、まず複数のリング状鋼管を連結しながら地盤中に打設して行くことによって土留め用の構造体を形成し、立坑を構築する。次に、この立坑を形成している鋼管内にシールドマシンを搬設し、シールドマシンの通過背面の地盤を薬液注入により地盤改良した後、鋼管をガスバーナ等で開口して鏡切りを行っている。しかし、この方法では、鏡切りのために薬液による背面の地盤改良が必要である。   Conventionally, when a tunnel is completed by excavating with a shield machine from the starting shaft to the reaching shaft, first, a structure for earth retaining is formed by driving a plurality of ring-shaped steel pipes into the ground while being connected, Build a shaft. Next, the shield machine is carried in the steel pipe forming this shaft, the ground on the back side of the shield machine is improved by chemical injection, and then the steel pipe is opened with a gas burner or the like for mirror cutting. . However, in this method, it is necessary to improve the back ground with a chemical solution for mirror cutting.

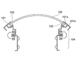
一方、図12に示すように、土留め壁を構成する鋼管101に開口部102を開け、この開口部102において、鋼管101と同様に彎曲したゲート用鋼板103を鋼管内側に配設して開口部102を覆っておき、このゲート用鋼板103を上方向にスライドさせることにより開口部102を現出させて、シールドマシンのためのエントランス104と連通させることが提案されている(例えば、下記特許文献1参照)。これによれば、鋼管101をガスバーナ等で開口しなくてもシールドマシンのための開口部102を形成することができ、また、エントランス104の内圧を地山側とバランスさせておくことで、薬液による地盤改良が不必要となる。   On the other hand, as shown in FIG. 12, an opening 102 is opened in a steel pipe 101 constituting a retaining wall, and a gate steel plate 103 bent in the same manner as the steel pipe 101 is disposed inside the steel pipe 101 and opened. It has been proposed to cover the portion 102 and slide the gate steel plate 103 upward to reveal the opening 102 and communicate with the entrance 104 for the shield machine (for example, the following patents) Reference 1). According to this, the opening 102 for the shield machine can be formed without opening the steel pipe 101 with a gas burner or the like, and the internal pressure of the entrance 104 is balanced with the natural ground side, so Ground improvement is unnecessary.

特開2004−44265号公報(図1参照)。JP 2004-44265 A (see FIG. 1).

しかしながら、特許文献1のように、ゲート用鋼板を鋼管の内側に配設した構造の場合、次のような問題がある。
ゲート用鋼板103が鋼管101の内側に在るので、ゲート用鋼板103に土水圧がかかった場合、その土水圧を鋼管101の外周面101aではなく内周面101bとの間又は内側に構築した支持部105で受けることになる。このため、これらのゲート用鋼板のシール部に高い止水性が要求され、そのために構造が大がかりとなる。
However, in the case of the structure in which the steel plate for gate is disposed inside the steel pipe as in Patent Document 1, there are the following problems.
Since the gate steel plate 103 is inside the steel pipe 101, when earth water pressure is applied to the gate steel plate 103, the earth water pressure is constructed not between the outer peripheral surface 101 a of the steel pipe 101 but between the inner peripheral surface 101 b and the inner side. It will be received by the support part 105. For this reason, a high water-stopping property is required for the sealing portion of these steel plates for gates, and thus the structure becomes large.

また、ゲート用鋼板が鋼管の内側に在ると、ゲート用鋼板が内側のエントランスの坑口コンクリートとの間でシールされる構造となり、ゲート用鋼板をスライドさせる際にシール部分で相対的移動が生じるので、止水性を確保するために、パッキン等を介在させてゲート用鋼板をスライドさせる必要がある。しかし、ゲート用鋼板と坑口コンクリートとの間にパッキン等を介在させた構造では、止水性を確保する上で確実性が低く、構造的にも複雑化し、コストアップになる。   Also, when the gate steel plate is inside the steel pipe, the gate steel plate is sealed between the entrance concrete of the inner entrance, and when the gate steel plate is slid, relative movement occurs in the seal portion. Therefore, it is necessary to slide the steel plate for the gate with a packing or the like in order to ensure the water-stopping property. However, in a structure in which a packing or the like is interposed between the gate steel plate and the wellhead concrete, the certainty is low in securing water-stopping, the structure is complicated, and the cost is increased.

また、ゲート用鋼板が鋼管の内側に在る構造では、鋼管の内部の土を上方からバケットで掘削する場合、ゲート用鋼板の存在がその作業の障害となる。   Further, in the structure in which the steel plate for the gate is inside the steel pipe, when the soil inside the steel pipe is excavated from above with the bucket, the presence of the steel plate for the gate becomes an obstacle to the work.

本発明は、このような問題点の存在を踏まえてなされたものであって、止水性の確保が容易である構造を有する鋼管を使用した土留め構造体、その構築方法及びシールドマシンの発進到達工法を提供することを課題とするものである。   The present invention has been made in view of the existence of such problems, and is a retaining structure using a steel pipe having a structure that can easily ensure water-stopping, a method for constructing the same, and a shield machine. It is an object to provide a construction method.

上記課題を解決するために、本発明の第1の形態に係る鋼管を使用した土留め構造体は、鋼管を地盤中に打設することによって形成される土留め用の構造体であって、前記鋼管の一部にシールドマシン通過用の開口部が設けられ、前記開口部を覆って前記鋼管の外側に密接状態で重ね合わせるようにゲート用鋼板が配置され、これにより前記鋼管と前記ゲート用鋼板からなる二重鋼管部が形成され、前記ゲート用鋼板は鋼管の外側をスライドして前記開口部の位置から退避可能に構成されていることを特徴とするものである。
ここで、「シールドマシン」とは、その本体にジャッキが装備されている所謂シールドマシンに限らず、ジャッキが本体とは別体で例えば立坑内にジャッキが設けられて元押し機構になっている推進機も含む意味で使われている。
In order to solve the above problems, a retaining structure using the steel pipe according to the first embodiment of the present invention is a structure for retaining earth formed by driving a steel pipe into the ground, An opening for passing a shield machine is provided in a part of the steel pipe, and a steel plate for the gate is arranged so as to cover the opening and overlap with the outside of the steel pipe in a close state, whereby the steel pipe and the gate A double steel pipe portion made of a steel plate is formed, and the steel plate for the gate is configured to be slidable from the position of the opening by sliding outside the steel pipe.
Here, the “shield machine” is not limited to a so-called shield machine in which the main body is equipped with a jack, and the jack is a separate body from the main body, for example, a jack is provided in a vertical shaft, and serves as a main pushing mechanism. Used to include propulsion devices.

本発明の第1の態様によれば、ゲート用鋼板が鋼管の外側に配置され、土水圧を鋼管の外周面で受ける構造となっているため、ゲート用鋼板の支持部において、容易に高い強度と止水性を得ることができる。また、ゲート用鋼板が鋼管の外側に在るため、ゲート用鋼板をスライドさせてもシール部が動かないので、止水性を確保するための構造が簡易になる。また、ゲート用鋼板が鋼管の外側に在るので、鋼管の内部の土を上方からバケットで掘削する場合に邪魔にならない。   According to the first aspect of the present invention, the steel plate for the gate is disposed outside the steel pipe and has a structure for receiving the earth and water pressure on the outer peripheral surface of the steel pipe. And waterstop can be obtained. Moreover, since the steel plate for gates is outside the steel pipe, the seal portion does not move even if the steel plate for gates is slid, so that the structure for ensuring water-stopping is simplified. Moreover, since the steel plate for gates is outside the steel pipe, it does not get in the way when excavating the soil inside the steel pipe from above with a bucket.

本発明の第2の形態に係る鋼管を使用した土留め構造体は、鋼管を地盤中に打設することによって形成される土留め用の構造体であって、前記鋼管の一部にシールドマシン通過用の開口部となるべき部位を覆って、前記鋼管の外側に密接状態で重ね合わせるようにゲート用鋼板が配置され、これにより前記鋼管と前記ゲート用鋼板からなる二重鋼管部が設けられており、前記ゲート用鋼板は鋼管の外側をスライドして前記開口部の位置から退避可能に構成されていることを特徴とするものである。   The earth retaining structure using the steel pipe according to the second embodiment of the present invention is an earth retaining structure formed by placing the steel pipe in the ground, and a shield machine is formed on a part of the steel pipe. The steel plate for the gate is arranged so as to cover the portion to be the opening for passage and overlap closely with the outside of the steel pipe, thereby providing a double steel pipe portion made of the steel pipe and the steel plate for the gate. The gate steel plate is configured to be slidable from the position of the opening by sliding outside the steel pipe.

本発明の第2の態様によれば、鋼管には打設時にまだ開口部が開けられていないので、鋼管自体が高強度を維持しており、シールドマシン通過用の開口部が大径の場合であっても、揺動圧入時には未だ開口部が開けられていないので当該鋼管が座屈する心配がない。また、ゲート用鋼板は鋼管の外側に配置されているため、高い強度と止水性を得ることができる等の上述の効果を得ることができる。   According to the second aspect of the present invention, when the steel pipe has not yet been opened at the time of casting, the steel pipe itself maintains high strength, and the opening for passing the shield machine has a large diameter. However, since the opening is not yet opened at the time of the rocking press-fitting, there is no fear that the steel pipe is buckled. Moreover, since the steel plate for gates is arrange | positioned on the outer side of a steel pipe, the above-mentioned effects, such as being able to obtain high intensity | strength and water stop, can be acquired.

本発明の第3の形態に係る鋼管を使用した土留め構造体は、前記第1の態様又は第2の態様において、前記ゲート用鋼板は前記鋼管に仮止めされていることを特徴とするものである。
本発明の第3の態様によれば、ゲート用鋼板は鋼管に仮止めされているので、ゲート用鋼板は鋼管と一緒に移動し、鋼管を打設する際にゲート用鋼板が鋼管から取り残されることがない。打設完了後に仮止めを解くことで、ゲート用鋼板はスライド可能となる。
The retaining structure using a steel pipe according to a third aspect of the present invention is characterized in that, in the first aspect or the second aspect, the gate steel plate is temporarily fixed to the steel pipe. It is.
According to the third aspect of the present invention, since the gate steel plate is temporarily fixed to the steel pipe, the gate steel plate moves together with the steel pipe, and the gate steel plate is left behind from the steel pipe when the steel pipe is placed. There is nothing. The gate steel plate can be slid by releasing the temporary fixing after the placement is completed.

本発明の第4の形態に係る鋼管を使用した土留め構造体は、第1の態様から第3の態様のいずれかにおいて、前記鋼管が、全周回転による圧入を容易とするための刃口を下端に有し、この刃口の鋼管外周表面からの半径方向の突出量の幅内に前記ゲート用鋼板の肉厚が収まるように、前記ゲート用鋼板の材料に高強度の材料が用いられていることを特徴とするものである。   The earth retaining structure using the steel pipe according to the fourth aspect of the present invention is the blade edge for facilitating press-fitting by rotating the entire circumference of the steel pipe in any one of the first to third aspects. A high-strength material is used for the gate steel plate so that the thickness of the gate steel plate falls within the width of the protruding amount in the radial direction from the outer peripheral surface of the steel pipe. It is characterized by that.

本発明の第4の態様によれば、刃口の半径方向の突出幅内にゲート用鋼板の肉厚が収まるので、鋼管の全周回転による円滑な揺動・回転圧入・切削を確保することができる。   According to the fourth aspect of the present invention, since the thickness of the steel plate for gate is within the protruding width in the radial direction of the blade edge, it is possible to ensure smooth swinging, rotational press-fitting, and cutting by rotating the entire circumference of the steel pipe. Can do.

本発明の第5の形態に係る土留め構造体の構築方法は、複数のリング状の鋼管を連結しながら地盤中に打設して行くことによって土留め用の構造体を形成する土留め構造体の構築方法であって、前記鋼管の一部にシールドマシン通過用の開口部が設けられ、前記開口部を覆って前記鋼管の外側に密接状態で重ね合わせるようにゲート用鋼板が配置され、これにより前記鋼管と前記ゲート用鋼板からなる二重鋼管部が形成され、前記ゲート用鋼板は鋼管の外側をスライドして前記開口部の位置から退避可能に構成されている前記二重管部を有する鋼管を地盤中に打設することを特徴とするものである。   The construction method of the earth retaining structure according to the fifth embodiment of the present invention is an earth retaining structure in which a structure for earth retaining is formed by driving a plurality of ring-shaped steel pipes into the ground while connecting them. A body construction method, wherein an opening for passing a shield machine is provided in a part of the steel pipe, and a steel plate for a gate is arranged so as to cover the opening and closely overlap the outside of the steel pipe, Thereby, a double steel pipe portion composed of the steel pipe and the steel plate for the gate is formed, and the double steel pipe portion configured so that the steel plate for the gate can slide out of the position of the opening by sliding outside the steel pipe. The steel pipe is provided in the ground.

本発明の第5の態様によれば、鋼管には予めシールドマシン通過用の開口部を設け、その外側をゲート用鋼板で覆った二重鋼管部を有する鋼管を、地盤中に打設するので、後にゲート用鋼板をスライドさせて退避させることで、シールドマシン通過用の開口部を開設することができる。また、ゲート用鋼板は鋼管の外側に配置されているため、高い強度と止水性を得ることができる等の上述の効果を得ることができる。   According to the fifth aspect of the present invention, a steel pipe having a double steel pipe portion in which an opening for passing a shield machine is provided in advance in the steel pipe and the outside thereof is covered with a steel plate for a gate is placed in the ground. Then, the opening for passing through the shield machine can be opened by sliding the gate steel plate later. Moreover, since the steel plate for gates is arrange | positioned on the outer side of a steel pipe, the above-mentioned effects, such as being able to obtain high intensity | strength and water stop, can be acquired.

本発明の第6の形態に係る土留め構造体の構築工法は、複数のリング状の鋼管を連結しながら地盤中に打設して行くことによって土留め用の構造体を形成する土留め構造体の構築方法であって、前記鋼管の一部にシールドマシン通過用の開口部となるべき部位を覆って、前記鋼管の外側に密接状態で重ね合わせるようにゲート用鋼板が配置され、これにより前記鋼管と前記ゲート用鋼板からなる二重鋼管部が設けられており、前記ゲート用鋼板は鋼管の外側をスライドして前記開口部の位置から退避可能に構成されている前記二重管部を有する鋼管を地盤中に打設することを特徴とするものである。   The construction method of the earth retaining structure according to the sixth embodiment of the present invention is the earth retaining structure in which a structure for earth retaining is formed by driving a plurality of ring-shaped steel pipes into the ground while connecting them. A method for constructing a body, wherein a steel plate for a gate is arranged so as to cover a portion of the steel pipe that is to be an opening for passing a shield machine and to be closely overlapped with the outside of the steel pipe, thereby A double steel pipe portion made of the steel pipe and the steel plate for the gate is provided, and the steel plate for the gate includes the double pipe portion configured to be slidable from the position of the opening by sliding outside the steel pipe. The steel pipe is provided in the ground.

本発明の第6の態様によれば、鋼管には打設時にまだ開口部が開けられていないので、鋼管自体の剛性が高い。従って、シールドマシン通過用の開口部が大径の場合であっても、揺動圧入時に鋼管が座屈する心配がない。また、ゲート用鋼板は鋼管の外側に配置されているため、高い強度と止水性を得ることができる等の上述の効果を得ることができる。   According to the sixth aspect of the present invention, the steel pipe itself has high rigidity because the opening is not yet opened in the steel pipe at the time of placing. Therefore, even if the opening for passing through the shield machine has a large diameter, there is no concern that the steel pipe will buckle when the rocking press fit is performed. Moreover, since the steel plate for gates is arrange | positioned on the outer side of a steel pipe, the above-mentioned effects, such as being able to obtain high intensity | strength and water stop, can be acquired.

本発明の第7の形態に係るシールドマシンの発進到達工法は、前記第5の態様または第6の態様に記載された土留め構造体の構築方法によって前記二重鋼管部を有する前記鋼管による土留め構造体を構築した後、前記ゲート用鋼板の切羽側となる外側とその反対側となる内側との圧力バランスを図った状態で、前記ゲート用鋼板をスライドさせて引き抜き、切羽を開放することなく直接シールドマシンを発進到達させるようにしたことを特徴とするものである。   According to a seventh aspect of the present invention, there is provided a shield machine start-up construction method in which the steel pipe having the double steel pipe portion is soiled by the construction method of the earth retaining structure described in the fifth aspect or the sixth aspect. After constructing the fastening structure, the gate steel plate is slid and pulled out in a state where the pressure balance between the outer side of the gate steel plate and the inner side opposite to the gate steel plate is released, and the face is opened. It is characterized in that the shield machine is started and reached directly.

本発明の第7の態様によれば、前記ゲート用鋼板の切羽側となる外側とその反対側となる内側との圧力バランスが確保されているから、シールドマシンの発進到達を別段の準備作業を講ずることなく直接実行することができ、トンネル施工コストの削減と工期の短縮を図ることができる。   According to the seventh aspect of the present invention, since the pressure balance between the outer side which is the face side of the steel plate for gates and the inner side which is the opposite side is ensured, the preliminary arrival of the shield machine is performed separately. It can be executed directly without taking lessons, and the tunnel construction cost and construction period can be reduced.

本発明の第8の形態に係るシールドマシンの発進到達工法は、前記第7の態様において、前記鋼管の内側の前記開口部の周りに坑口コンクリートとパッキンとによるエントランスを設備する工程と、前記エントランスのチャンバー内の圧力を切羽側の土水圧とバランスさせて圧力バランスを図る工程と、前記ゲート用鋼板を引き抜き、切羽を開放することなく直接シールドマシンを発進させる工程を含むことを特徴とするものである。   According to an eighth aspect of the present invention, in the seventh aspect, the shield machine start-up method includes a step of providing an entrance with a wellhead concrete and packing around the opening inside the steel pipe, and the entrance. A step of balancing the pressure in the chamber with the soil water pressure on the face side and balancing the pressure, and a step of pulling out the gate steel plate and starting the shield machine directly without opening the face. It is.

本発明の第8の態様によれば、前記圧力バランスを簡単且つ確実に確保することができるので、切羽を開放しないで直接シールドマシンを発進させることができ、薬液による地盤改良が不必要となる。従って、トンネル施工コストの削減と工期の短縮を図ることができる。   According to the eighth aspect of the present invention, the pressure balance can be easily and reliably ensured, so that the shield machine can be started directly without opening the face, and the ground improvement by the chemical is unnecessary. . Therefore, the tunnel construction cost can be reduced and the construction period can be shortened.

本発明の第9の形態に係るシールドマシンの発進到達工法は、前記第7の態様において、前記二重鋼管部の前記開口部となるべき部位にガスバーナ等の開口用手段にて実際の開口部を形成する工程と、前記開口部の周りに坑口コンクリートとパッキンとによるエントランスを設備する工程と、前記エントランスのチャンバー内の圧力を切羽側の土水圧とバランスさせて圧力バランスを図る工程と、前記ゲート用鋼板を引き抜き、切羽を開放することなく直接シールドマシンを発進させる工程を含むことを特徴とするものである。
本発明の第9の態様によれば、第8の態様と同様の作用効果が得られる。
The start reaching method of the shield machine according to the ninth aspect of the present invention is the seventh aspect, wherein the opening portion of the double steel pipe portion is an actual opening portion by means of opening means such as a gas burner. A step of providing an entrance with a wellhead concrete and packing around the opening, a step of balancing the pressure in the chamber of the entrance with the soil water pressure on the face side, and balancing the pressure, The method includes a step of starting the shield machine directly without pulling out the steel plate for the gate and opening the face.
According to the ninth aspect of the present invention, the same effect as that in the eighth aspect can be obtained.

本発明によれば、ゲート用鋼板が鋼管の外側に配置され、土水圧を鋼管の外周面で受ける構造となっているため、ゲート用鋼板の支持部において、容易に高い強度と止水性を得ることができる。また、ゲート用鋼板が鋼管の外側に在るため、ゲート用鋼板をスライドさせてもシール部が動かないので、止水性を確保するための構造が簡易になる。また、ゲート用鋼板が鋼管の外側に在るので、鋼管の内部の土を上方からバケットで掘削する場合に邪魔にならない。もって、シールドマシンの発進到達を切羽を開放しないでそのまま行うことができる。   According to the present invention, since the steel plate for a gate is disposed outside the steel pipe and has a structure that receives the earth water pressure on the outer peripheral surface of the steel pipe, high strength and water-stopping properties are easily obtained at the support portion of the steel plate for the gate. be able to. Moreover, since the steel plate for gates is outside the steel pipe, the seal portion does not move even if the steel plate for gates is slid, so that the structure for ensuring water-stopping is simplified. Moreover, since the steel plate for gates is outside the steel pipe, it does not get in the way when excavating the soil inside the steel pipe from above with a bucket. Therefore, the start of the shield machine can be performed without opening the face.

以下、本願発明に係る鋼管を使用した土留め構造体、その構築方法及びシールドマシンの発進到達工法を実施する最良の形態として、下記実施例1を例にして説明する。   Hereinafter, as a best mode for carrying out a retaining structure using a steel pipe according to the present invention, a construction method thereof, and a start reaching method of a shield machine, the following Example 1 will be described as an example.

[実施例1]
(1)土留め構造体の構造(図1、図2参照)
図1は土留め構造体の概略を示した要部斜視図、図2は土留め構造体を示す概略平面図である。
この土留め構造体1は、トンネル施工に先立って構築され、シールドマシンの発進部または到達部の立坑の側壁として使用されるもので、リング状の複数の鋼管2を上下に連結しながら地盤中に打設して行くことによって形成される。具体的には、リング状鋼管2を、図示してない専用の機械により揺動・回転圧入・切削し、このリング状鋼管2を上下に繋いで打設して行き、円形の発進立坑・到達立坑を構築する(以下「立坑構築工法」という)。
[Example 1]
(1) Structure of earth retaining structure (see FIGS. 1 and 2)
FIG. 1 is a main part perspective view showing an outline of the earth retaining structure, and FIG. 2 is a schematic plan view showing the earth retaining structure.
This earth retaining structure 1 is constructed prior to tunnel construction and is used as a side wall of a shaft of a starter or a reaching part of a shield machine. In the ground, a plurality of ring-shaped steel pipes 2 are connected vertically. It is formed by going to be placed. Specifically, the ring-shaped steel pipe 2 is swung, rotationally press-fitted, and cut by a dedicated machine (not shown), and the ring-shaped steel pipe 2 is driven up and down to reach a circular start shaft Constructing a shaft (hereinafter referred to as “vertical shaft construction method”).

上記立坑構築工法で構築される立坑の側壁をなす鋼管2には、シールド通過部分に対応する周面の一部に、予めシールドマシン3のためのエントランス4(図4参照)を形成する開口部5が形成されている。また、この開口部5における鋼管2の外側には、開口部5を覆って、上方向にスライド可能なゲート用鋼板6が、密接状態で重ね合わせて配置されている。更に、締結手段としてのボルト7(図7参照)により鋼管2に内側から仮止めされている。すなわち、上記開口部5においては、上記鋼管2から成る内側鋼管と、上記ゲート用鋼板6から成る外側鋼板の2部材により、二重鋼管部8が構成されている。   In the steel pipe 2 forming the side wall of the shaft constructed by the shaft construction method, an opening for forming an entrance 4 (see FIG. 4) for the shield machine 3 in advance in a part of the peripheral surface corresponding to the shield passage portion. 5 is formed. Further, on the outer side of the steel pipe 2 in the opening 5, a gate steel plate 6 that covers the opening 5 and is slidable in an upward direction is arranged in a close contact state. Furthermore, the steel pipe 2 is temporarily fixed from the inside by bolts 7 (see FIG. 7) as fastening means. That is, in the opening 5, a double steel pipe portion 8 is constituted by two members of an inner steel pipe made of the steel pipe 2 and an outer steel plate made of the gate steel plate 6.

上記複数のリング状鋼管2のうち、最下位のリング状鋼管2の下端には、図3に示すように、リング状鋼管2の全周回転による圧入を容易とするための刃口9が設けられている。この刃口9の鋼管外周表面からの半径方向の突出量であるフリクションカット量Dの幅内に、ゲート用鋼板6の肉厚が収まるように、上記ゲート用鋼板6の材料にはJIS規格のSM490又はS35C等の高強度の材料が用いられている。   Of the plurality of ring-shaped steel pipes 2, a lower end of the lowermost ring-shaped steel pipe 2 is provided with a blade edge 9 for facilitating press-fitting by rotating the entire circumference of the ring-shaped steel pipe 2 as shown in FIG. 3. It has been. The material of the gate steel plate 6 is JIS standard so that the thickness of the gate steel plate 6 is within the width of the friction cut amount D, which is the amount of protrusion of the blade 9 from the outer peripheral surface of the steel pipe in the radial direction. A high-strength material such as SM490 or S35C is used.

上記ゲート用鋼板6は、ボルト7による仮止めが解除され、切羽側の土水圧とのバランスを確保した状態で、上方向にスライドさせて引き抜かれるようになっているが、土水圧に対する止水性を完全なものとし、かつ、引き抜き時のスライド機能を確保するため、ゲート用鋼板6(外側鋼板)と鋼管2(内側鋼管)との間には、次のような保持構造が採用されている。   The gate steel plate 6 is pulled out by sliding upward in a state where the temporary fixing by the bolt 7 is released and the balance with the soil water pressure on the face side is ensured. In order to secure the sliding function at the time of pulling out, the following holding structure is adopted between the steel plate 6 for the gate (outer steel plate) and the steel pipe 2 (inner steel pipe). .

すなわち、図5に示すように、ゲート用鋼板6と鋼管2との間には、開口部5の周囲に沿って膨張ゴム10が設けられ、ボルト7による締結により立坑内への土砂や地下水の流入を防止している。また、鋼管2の外周面には、ゲート用鋼板6の側部に沿って、上記ゲート用鋼板6の両側部を保持する側部保持部材11が、溶接により複数個設けられている。これらの側部保持部材11は、主としてゲート用鋼板6を土水圧に耐える構造とするために設けられるが、ゲート用鋼板6との間においてはガイド用の段差部12も設けられている。   That is, as shown in FIG. 5, an expansion rubber 10 is provided between the gate steel plate 6 and the steel pipe 2 along the periphery of the opening 5, and earth and sand or groundwater into the shaft is secured by fastening with the bolt 7. Inflow is prevented. A plurality of side holding members 11 for holding both side portions of the gate steel plate 6 are provided on the outer peripheral surface of the steel pipe 2 by welding along the side portions of the gate steel plate 6. These side holding members 11 are mainly provided to make the gate steel plate 6 resistant to earth water pressure, but a stepped portion 12 for guide is also provided between the side steel holding member 11 and the gate steel plate 6.

また、この側部保持部材11より下位において、鋼管2の外周面には、ゲート用鋼板6の下部に沿って、ゲート用鋼板6の下部を保持する下部保持部材13が、溶接によって複数個設けられている(図5は一部を示したので1個だけ見えている)。これらの下部保持部材13は、図6に拡大して示すように、主としてゲート用鋼板6によって上方向から掛かる圧縮力14を支える構造とするために設けられているが、図7から良く判るように、ゲート用鋼板6との間においては嵌合用の段差部15も設けられている。図7は、この段差部15によって、ゲート用鋼板6が下部保持部材13と嵌り合う様子を示す。   A plurality of lower holding members 13 for holding the lower portion of the gate steel plate 6 are provided on the outer peripheral surface of the steel pipe 2 below the side holding member 11 along the lower portion of the gate steel plate 6 by welding. (FIG. 5 shows a part, so only one is visible). As shown in an enlarged view in FIG. 6, these lower holding members 13 are provided mainly for supporting a compressive force 14 applied from above by the gate steel plate 6. In addition, a step 15 for fitting is also provided between the steel plate 6 for gates. FIG. 7 shows a state where the gate steel plate 6 is fitted to the lower holding member 13 by the step portion 15.

一方、ゲート用鋼板6の上側部を保持する部材は設けられていない。これは、ゲート用鋼板6の上方への移動を可能とするためである。そこで、ゲート用鋼板6の上辺部には、ゲート用鋼板6の上方に引き上げることを目的として、適数本の鉄筋16が設けられ、立坑の外まで上方に向けて延在されている。   On the other hand, a member for holding the upper portion of the gate steel plate 6 is not provided. This is for enabling the gate steel plate 6 to move upward. Therefore, an appropriate number of reinforcing bars 16 are provided on the upper side portion of the gate steel plate 6 so as to be pulled up above the gate steel plate 6 and extend upward to the outside of the shaft.

(2)シールドマシン3の発進到達工法(図8〜図9参照)
図8はシールドマシン3の発進の手順を6段階に分けた前半の3段階(a)〜(c)を示す側断面図、図9は同上、後半の3段階(d)〜(f)を示す側断面図である。
シールドマシン3の発進到達工法は、複数のリング状鋼管2を連結しながら地盤中に打設して行くことによって構築される土留め構造体1によって形成される発進用の立坑からシールドマシン3を発進させ、あるいは同様の構成の土留め構造体1によって形成される到達用の立坑に対してシールドマシン3を到達させる工法である。
(2) Start reaching method of shield machine 3 (see FIGS. 8 to 9)
FIG. 8 is a side sectional view showing the first three stages (a) to (c) in which the starting procedure of the shield machine 3 is divided into six stages, and FIG. 9 is the same as the above, and the latter half three stages (d) to (f). It is a sectional side view shown.
The start reaching method of the shield machine 3 is that the shield machine 3 is removed from the start shaft formed by the earth retaining structure 1 constructed by driving a plurality of ring-shaped steel pipes 2 into the ground while connecting them. This is a construction method in which the shield machine 3 is made to start or reach a reaching shaft formed by the earth retaining structure 1 having the same configuration.

そして、これらの立坑の側壁のうち、シールドマシン3の発進部位となる側壁には、上述の二重鋼管部8を有する鋼管2が設けられており、この二重鋼管部8とシールドマシン3のカッターフェイスによる推進圧とによって切羽側の土水圧に対向する圧力を確保した状態でゲート用鋼板6を引き抜き、切羽を開放しないで直接シールドマシンを発進させることによって、本発明のシールドマシン3の発進工法は構成されている。   And the steel pipe 2 which has the above-mentioned double steel pipe part 8 is provided in the side wall used as the start part of the shield machine 3 among the side walls of these shafts, and this double steel pipe part 8 and the shield machine 3 The gate steel plate 6 is pulled out in a state where the pressure facing the soil water pressure on the face side is secured by the propulsion pressure by the cutter face, and the shield machine 3 is started directly without opening the face, thereby starting the shield machine 3 of the present invention. The construction method is structured.

シールドマシン3を発進させる場合を例にとって更に具体的に説明すると、本発明のシールドマシン3の発進工法は、(i)シールドマシン投入工程と、(ii)ゲート用鋼板6の仮止解除工程と、(iii)ゲート用鋼板6の引抜き工程と、(iv)シールドマシン発進工程とを備えることによって構成されている。   More specifically, taking the case where the shield machine 3 is started as an example, the start method of the shield machine 3 of the present invention includes: (i) a shield machine charging step; (ii) a temporary stop release step of the gate steel plate 6; And (iii) a drawing process of the steel plate 6 for gates, and (iv) a shield machine starting process.

図8(a)に示すように、上述の立坑構築工法と同様の工法によって、二重鋼管部8を有する鋼管2を、図示してない専用の機械により揺動・回転圧入・切削して打設する。そして、土留め構造体1が構築されたところで、図8(b)に示すように土留め構造体1である鋼管2の内部の地盤17を、図示してないバケットで掘削し、その後に底盤コンクリート18を打設し、養生、固化させ、立坑を完成させる。   As shown in FIG. 8 (a), the steel pipe 2 having the double steel pipe portion 8 is rocked, rotationally press-fitted and cut by a dedicated machine (not shown) by a method similar to the above-described shaft construction method. Set up. Then, when the earth retaining structure 1 is constructed, as shown in FIG. 8B, the ground 17 inside the steel pipe 2 as the earth retaining structure 1 is excavated with a bucket (not shown), and then the bottom base The concrete 18 is placed, cured and solidified, and the shaft is completed.

(i)シールドマシン投入工程(図8(c)参照)
シールドマシン投入工程では、図8(c)に示すように、シールドマシン3の発進部位の周囲に坑口コンクリート19を打設し、養生、固化させた後、坑口コンクリート19の端面にパッキン20を設置して、エントランス4を完成させる。そして、シールドマシン3を地上から降ろして立坑である鋼管2内に投入し、シールドマシン3を上下方向の所定の発進位置に位置させる。
(I) Shield machine input process (see FIG. 8C)
In the shield machine charging process, as shown in FIG. 8 (c), a concrete well 19 is placed around the starting part of the shield machine 3, cured and solidified, and then a packing 20 is installed on the end face of the concrete concrete 19 Then, the entrance 4 is completed. And the shield machine 3 is lowered | hung from the ground and thrown into the steel pipe 2 which is a shaft, and the shield machine 3 is located in the predetermined start position of an up-down direction.

(ii)ゲート用鋼板6の両側の圧力バランスを取る工程(図9(d)参照)
先ず、締結手段のボルト7(図7)を外すことにより、二重鋼管部8において開口部5を覆って鋼管2の外側に位置するゲート用鋼板6の仮止めを解除する。これにより、ゲート用鋼板6は上方にスライド可能になる。
(Ii) Step of balancing pressure on both sides of the gate steel plate 6 (see FIG. 9D)
First, the bolt 7 (FIG. 7) of the fastening means is removed to release the temporary fixing of the steel plate 6 for gates located outside the steel pipe 2 so as to cover the opening 5 in the double steel pipe portion 8. Thereby, the gate steel plate 6 can be slid upward.

そして、ゲート用鋼板6とシールドマシン3のカッターフェイス21と坑口コンクリート19とパッキン20とによって区画されるチャンバー22内に外部から充填材を充填し、チャンバー22内の圧力を高めて、切羽側の土水圧とのバランスを確保する。シールドマシン3をエントランス4内に進入させて掘進方向の所定位置にセットする。   Then, a filler 22 is filled from the outside into the chamber 22 defined by the gate steel plate 6, the cutter face 21 of the shield machine 3, the wellhead concrete 19, and the packing 20, and the pressure in the chamber 22 is increased, Ensure balance with earth water pressure. The shield machine 3 enters the entrance 4 and is set at a predetermined position in the excavation direction.

(iii)ゲート用鋼板6の引抜き工程(図9(e)参照)
ゲート用鋼板6の引抜き工程では、上記チャンバー22内の圧力と切羽側の土水圧とのバランスを確保した状態のまま、ゲート用鋼板6を上方に引き抜く。この状態では、シールドマシン3の本体側胴部23にパッキン20が撓み変形しながら当接したままであるため、立坑の内部空間とは遮断されて側圧のバランスが確保される。
(Iii) Drawing process of steel plate 6 for gate (see FIG. 9 (e))
In the drawing process of the gate steel plate 6, the gate steel plate 6 is drawn upward while maintaining a balance between the pressure in the chamber 22 and the soil water pressure on the face. In this state, since the packing 20 remains in contact with the main body side body portion 23 of the shield machine 3 while being bent and deformed, the inner space of the shaft is cut off and the balance of the side pressure is ensured.

(iv)シールドマシン発進工程(図9(f)参照)
シールドマシン発進工程では、シールドマシン3を作動状態とし、シールドマシン3を所定の速度で推進させながらカッターフェイス21を回転させて、シールドマシン3を発進用の立坑の開口部5から発進させる。尚、この状態でも上記の切羽側の土水圧とのバランスはそのまま保たれているから、従来のように地盤改良を行ったり防護工を設置することなく、直接シールドマシンを発進させることが可能である。
(Iv) Shield machine start process (see Fig. 9 (f))
In the shield machine starting step, the shield machine 3 is set in an operating state, the cutter face 21 is rotated while propelling the shield machine 3 at a predetermined speed, and the shield machine 3 is started from the opening 5 of the starting shaft. Even in this state, the balance with the soil water pressure on the face side is maintained as it is, so it is possible to start the shield machine directly without improving the ground or installing a protective work as in the past. is there.

[実施例2]
本願発明に係る鋼管を使用した土留め構造体についての実施例2を以下説明する。
[Example 2]
Example 2 about the earth retaining structure using the steel pipe according to the present invention will be described below.

図10は実施例2の鋼管を示す要部斜視図であり、図11は同鋼管の正面図を示す。司実施例1では、鋼管2の外側に位置する鉄筋16によってゲート用鋼板6を上方に引き上げる構造であるが、本実施例2では、図10に示したように、鋼管2の内側に引き上げ部材25が設けられている。この引き上げ部材としての鋼棒25が継ぎ手26によって開口部5を貫通して鋼管2の外側に位置するゲート用鋼板6に一体化されている。鋼棒25を図示しない油圧ジャッキ等によって上方に引き上げることによって継ぎ手26が開口部5内を下端から上端に移動し、これに伴ってゲート用鋼板6が上方にスライドして開口部5を開放するように構成されている。鋼棒25は開口部5の上下に設けられる坑口部材を貫通して設けられている。   FIG. 10 is a perspective view of a main part showing a steel pipe of Example 2, and FIG. 11 shows a front view of the steel pipe. In the first embodiment, the gate steel plate 6 is pulled upward by the reinforcing bars 16 located outside the steel pipe 2, but in this second embodiment, as shown in FIG. 25 is provided. A steel rod 25 as a lifting member is integrated with the gate steel plate 6 located outside the steel pipe 2 through the opening 5 by a joint 26. When the steel rod 25 is pulled upward by a hydraulic jack (not shown) or the like, the joint 26 moves from the lower end to the upper end in the opening 5, and accordingly, the gate steel plate 6 slides upward to open the opening 5. It is configured as follows. The steel rod 25 is provided through a wellhead member provided above and below the opening 5.

このように引き上げ用の鋼棒25を鋼管2の内側に設けると、鋼棒25は鋼管2の打設を完了してから前記継ぎ手26を介してゲート用鋼板6に固定することが可能になる。打設時に鉄筋がじゃまにならない。   When the steel rod 25 for pulling is provided inside the steel pipe 2 in this way, the steel rod 25 can be fixed to the gate steel plate 6 via the joint 26 after completing the placement of the steel pipe 2. . The rebar does not get in the way when placing.

[実施例3]
上記の実施例1,2では、打設される鋼管2に予めシールドマシン通過用の開口部5を設けると共に、この開口部5を覆って鋼管2の外側に密接状態で重ね合わせてゲート用鋼板6を配置し、鋼管2とゲート用鋼板6からなる二重鋼管部8を設けたが、打設後において実際の開口部5を形成することもできる。
[Example 3]
In the first and second embodiments, the steel pipe 2 to be cast is provided with the opening 5 for passing the shield machine in advance, and the opening 5 is covered and overlapped with the outside of the steel pipe 2 in close contact with the steel plate for the gate. 6 is provided and the double steel pipe portion 8 made of the steel pipe 2 and the steel plate 6 for gates is provided, but the actual opening 5 can also be formed after the placement.

すなわち、複数のリング状の鋼管2を連結しながら地盤17中に打設して行くことによって土留め用の構造体1を形成する土留め構造体1の構築方法において、打設される鋼管2には、予めシールドマシン通過用の開口部5となるべき部位を覆って、鋼管2の外側に密接状態で重ね合わせてゲート用鋼板6を配置することにより、鋼管2とゲート用鋼板6からなる二重鋼管部8を設け、このゲート用鋼板6を鋼管2の外側に仮止めした状態で鋼管2を地盤17中に打設する。そして、この土留め構造体1の構築方法によって上記二重鋼管部8を有する鋼管2を打設した後、上記二重鋼管部8の前記開口部5となるべき部位に実際の開口部5をガスバーナ等で形成する。   That is, in the construction method of the earth retaining structure 1 in which the structure 1 for earth retaining is formed by being driven into the ground 17 while connecting a plurality of ring-shaped steel pipes 2, the steel pipe 2 to be implanted In this case, the steel plate 2 and the gate steel plate 6 are formed by previously covering the portion to be the opening 5 for passing through the shield machine and arranging the steel plate 6 for the gate so as to be closely overlapped with the outside of the steel tube 2. A double steel pipe portion 8 is provided, and the steel pipe 2 is driven into the ground 17 in a state where the gate steel plate 6 is temporarily fixed to the outside of the steel pipe 2. And after placing the steel pipe 2 which has the said double steel pipe part 8 by the construction method of this earth retaining structure 1, the actual opening part 5 is made into the site | part which should become the said opening part 5 of the said double steel pipe part 8. FIG. It is formed with a gas burner or the like.

そして、当該鋼管2の内側の前記開口部5の周りに坑口コンクリート19とパッキン20とによるエントランス4を設備し、エントランス4のチャンバー22内の圧力を切羽側の土水圧とバランスさせた状態で、上記ゲート用鋼板6を引き抜き、切羽を開放しないで直接シールドマシンを発進させる。これにより、鋼管2自体の剛性が高まり、開口部5が大きい場合でも座屈することが無くなる、という効果が得られる。   And in the state which equips the entrance 4 by the wellhead concrete 19 and the packing 20 around the said opening part 5 inside the said steel pipe 2, and balanced the pressure in the chamber 22 of the entrance 4 with the soil water pressure of the face, The gate steel plate 6 is pulled out, and the shield machine is started directly without opening the face. Thereby, the rigidity of steel pipe 2 itself increases, and even when opening 5 is large, the effect that it does not buckle is acquired.

[その他の実施例]
上記実施例では、シールドマシンの発進部についての具体的な説明をしたが、シールドマシンの到達部にも同様に本発明を適用することができる。この到達部の場合、切羽側の土水圧に対する前記圧力バランスの取り方が発進部とは異なるが、それも凍結等の公知の方法(特開2004-270252号公報)を用いることができる。
[Other Examples]
In the above embodiment, the starter of the shield machine has been specifically described. However, the present invention can be similarly applied to the reaching part of the shield machine. In the case of this reaching portion, the method of balancing the pressure against the soil water pressure on the face side is different from that of the starting portion, but a known method such as freezing (JP 2004-270252 A) can also be used.

また、上記の実施形態では、ゲート用鋼板6を鋼管2に仮止めする締結手段としてボルト7を用いたが、締結手段はこれに限られるものではなく、例えば溶接により仮止めし、これをガスバーナで解除しても良い。   In the above embodiment, the bolt 7 is used as the fastening means for temporarily fastening the gate steel plate 6 to the steel pipe 2. However, the fastening means is not limited to this. For example, the fastening means is temporarily secured by welding, and the gas burner is used. You can cancel with.

本願発明は、立坑の施工に使用され、複数のリング状鋼管を連結しながら地盤中に打設して行くことによって構築される土留め用の構造体、その構築方法及びシールドマシンの発進到達工法に利用可能である。   The invention of the present application is a structure for earth retaining, which is used for construction of a shaft, and is constructed by driving a plurality of ring-shaped steel pipes into the ground while connecting them, a construction method thereof, and a shield machine start-up construction method Is available.

本発明の土留め構造体の概略を示した斜視図である。It is the perspective view which showed the outline of the earth retaining structure of this invention. 本発明の土留め構造体を示す平面図である。It is a top view which shows the earth retaining structure of this invention. 本発明の土留め構造体において、鋼管の下端に設けられる刃口を示した断面略図である。In the earth retaining structure of this invention, it is the cross-sectional schematic which showed the blade edge | tip provided in the lower end of a steel pipe. シールドマシンがエントランスにセットされた状態を示す概略側断面図である。It is a schematic sectional side view which shows the state which the shield machine was set to the entrance. 本発明の土留め構造体におけるゲート用鋼板の保持構造の一部を示した斜視図である。It is the perspective view which showed a part of holding structure of the steel plate for gates in the earth retaining structure of this invention. 図5の下部の拡大図である。It is an enlarged view of the lower part of FIG. 図6の断面図である。It is sectional drawing of FIG. 本発明のシールドマシンの発進工法を6段階に分けた前半の3段階(a)〜(c)を示す側断面図である。It is side sectional drawing which shows three steps (a)-(c) of the first half which divided the start method of the shield machine of this invention into six steps. 本発明のシールドマシンの発進工法の、後半の3段階(d)〜(f)を示す側断面図である。It is a sectional side view which shows three steps (d)-(f) of the latter half of the start method of the shield machine of this invention. 実施例2の鋼管を示す要部斜視図である。It is a principal part perspective view which shows the steel pipe of Example 2. FIG. 同鋼管の正面図を示す。The front view of the steel pipe is shown. 従来の土留め構造体のエントランスを示した部分断面図である。It is the fragmentary sectional view which showed the entrance of the conventional earth retaining structure.

符号の説明Explanation of symbols

1 構造体、 2 鋼管(リング状鋼管)、 3 シールドマシン、 4 エントランス、 5 開口部、 6 ゲート用鋼板、 7 ボルト、 8 二重鋼管部、 9 刃口、 10 膨張ゴム、 11 側部保持部材、 12 段差部、 13 下部保持部材、 14 圧縮力、 15 段差部、 16 鉄筋、 17 地盤、 18 底盤コンクリート、 19 坑口コンクリート、 20 パッキン、 21 カッターフェイス、 22 チャンバー、 23 本体側胴部、 101 鋼管、 102 開口部、 103 ゲート用鋼板、 104 エントランス   DESCRIPTION OF SYMBOLS 1 Structure, 2 Steel pipe (ring-shaped steel pipe), 3 Shield machine, 4 Entrance, 5 Opening part, 6 Steel plate for gate, 7 Bolt, 8 Double steel pipe part, 9 Cutting edge, 10 Expansion rubber, 11 Side part holding member , 12 stepped portion, 13 lower holding member, 14 compressive force, 15 stepped portion, 16 rebar, 17 ground, 18 bottom concrete, 19 wellhead concrete, 20 packing, 21 cutter face, 22 chamber, 23 main body side trunk, 101 steel pipe , 102 opening, 103 steel plate for gate, 104 entrance

Claims (9)

鋼管を地盤中に打設することによって形成される土留め用の構造体であって、
前記鋼管の一部にシールドマシン通過用の開口部が設けられ、
前記開口部を覆って前記鋼管の外側に密接状態で重ね合わせるようにゲート用鋼板が配置され、これにより前記鋼管と前記ゲート用鋼板からなる二重鋼管部が形成され、
前記ゲート用鋼板は鋼管の外側をスライドして前記開口部の位置から退避可能に構成されていることを特徴とする鋼管を使用した土留め構造体。
A structure for earth retaining formed by placing a steel pipe in the ground,
An opening for passing a shield machine is provided in a part of the steel pipe,
The steel plate for the gate is disposed so as to cover the opening and closely overlap the outside of the steel pipe, thereby forming a double steel pipe portion made of the steel pipe and the steel plate for the gate,
The earth retaining structure using a steel pipe, wherein the gate steel plate is configured to be slidable from the position of the opening by sliding outside the steel pipe.
鋼管を地盤中に打設することによって形成される土留め用の構造体であって、
前記鋼管の一部にシールドマシン通過用の開口部となるべき部位を覆って、前記鋼管の外側に密接状態で重ね合わせるようにゲート用鋼板が配置され、これにより前記鋼管と前記ゲート用鋼板からなる二重鋼管部が設けられており、
前記ゲート用鋼板は鋼管の外側をスライドして前記開口部の位置から退避可能に構成されていることを特徴とする鋼管を使用した土留め構造体。
A structure for earth retaining formed by placing a steel pipe in the ground,
A steel plate for a gate is disposed so as to cover a portion to be an opening for passing through a shield machine on a part of the steel pipe and overlap closely with the outside of the steel pipe, whereby the steel pipe and the steel plate for the gate are A double steel pipe is provided,
The earth retaining structure using a steel pipe, wherein the gate steel plate is configured to be slidable from the position of the opening by sliding outside the steel pipe.
請求項1又は2において、前記ゲート用鋼板は前記鋼管に仮止めされていることを特徴とする鋼管を使用した土留め構造体。   3. The earth retaining structure using a steel pipe according to claim 1, wherein the steel plate for gate is temporarily fixed to the steel pipe. 請求項1から3のいずれか1項において、前記鋼管が、全周回転による圧入を容易とするための刃口を下端に有し、この刃口の鋼管外周表面からの半径方向の突出量の幅内に前記ゲート用鋼板の肉厚が収まるように、前記ゲート用鋼板の材料に高強度の材料が用いられていることを特徴とする鋼管を使用した土留め構造体。   4. The steel pipe according to claim 1, wherein the steel pipe has a cutting edge for facilitating press-fitting by full-circulation rotation at a lower end, and the amount of protrusion of the cutting edge in the radial direction from the outer peripheral surface of the steel pipe. A earth retaining structure using a steel pipe, wherein a high-strength material is used as a material of the gate steel plate so that a thickness of the gate steel plate is within a width. 複数のリング状の鋼管を連結しながら地盤中に打設して行くことによって土留め用の構造体を形成する土留め構造体の構築方法であって、
前記鋼管の一部にシールドマシン通過用の開口部が設けられ、前記開口部を覆って前記鋼管の外側に密接状態で重ね合わせるようにゲート用鋼板が配置され、これにより前記鋼管と前記ゲート用鋼板からなる二重鋼管部が形成され、前記ゲート用鋼板は鋼管の外側をスライドして前記開口部の位置から退避可能に構成されている前記二重管部を有する鋼管を地盤中に打設することを特徴とする土留め構造体の構築方法。
It is a construction method of a retaining structure that forms a structure for retaining earth by driving it into the ground while connecting a plurality of ring-shaped steel pipes,
An opening for passing a shield machine is provided in a part of the steel pipe, and a steel plate for the gate is arranged so as to cover the opening and overlap with the outside of the steel pipe in a close state, whereby the steel pipe and the gate A double steel pipe portion made of a steel plate is formed, and the steel plate for the gate is slid on the outside of the steel pipe, and the steel pipe having the double pipe portion configured to be retractable from the position of the opening is placed in the ground The construction method of the earth retaining structure characterized by doing.
複数のリング状の鋼管を連結しながら地盤中に打設して行くことによって土留め用の構造体を形成する土留め構造体の構築方法であって、
前記鋼管の一部にシールドマシン通過用の開口部となるべき部位を覆って、前記鋼管の外側に密接状態で重ね合わせるようにゲート用鋼板が配置され、これにより前記鋼管と前記ゲート用鋼板からなる二重鋼管部が設けられており、前記ゲート用鋼板は鋼管の外側をスライドして前記開口部の位置から退避可能に構成されている前記二重管部を有する鋼管を地盤中に打設することを特徴とする土留め構造体の構築方法。
It is a construction method of a retaining structure that forms a structure for retaining earth by driving it into the ground while connecting a plurality of ring-shaped steel pipes,
A steel plate for a gate is disposed so as to cover a portion to be an opening for passing through a shield machine on a part of the steel pipe and overlap closely with the outside of the steel pipe, whereby the steel pipe and the steel plate for the gate are A steel pipe having the double pipe portion configured to be retractable from the position of the opening by sliding the outer side of the steel pipe into the ground. The construction method of the earth retaining structure characterized by doing.
請求項5または6に記載された土留め構造体の構築方法によって前記二重鋼管部を有する前記鋼管による土留め構造体を構築した後、前記ゲート用鋼板の切羽側となる外側とその反対側となる内側との圧力バランスを図った状態で、前記ゲート用鋼板をスライドさせて引き抜き、切羽を開放することなく直接シールドマシンを発進到達させるようにしたことを特徴とするシールドマシンの発進到達工法。   After constructing the retaining structure by the steel pipe having the double steel pipe part by the construction method of the retaining structure according to claim 5 or 6, the outer side which becomes the face side of the steel plate for gate and the opposite side The shield machine start-up construction method characterized in that the shield steel machine is started and reached without opening the face by sliding and pulling out the gate steel plate in a state where the pressure balance with the inner side is achieved . 請求項7において、前記鋼管の内側の前記開口部の周りに坑口コンクリートとパッキンとによるエントランスを設備する工程と、前記エントランスのチャンバー内の圧力を切羽側の土水圧とバランスさせて圧力バランスを図る工程と、前記ゲート用鋼板を引き抜き、切羽を開放することなく直接シールドマシンを発進させる工程を含むことを特徴とするシールドマシンの発進到達工法。   In Claim 7, the process of installing the entrance by a wellhead concrete and packing around the said opening part inside the said steel pipe, and balancing the pressure in the chamber of the said entrance with the earth-water pressure of a face side, and aiming at a pressure balance A shield machine start-up construction method comprising a step and a step of pulling out the gate steel plate and starting the shield machine directly without opening the face. 請求項7において、前記二重鋼管部の前記開口部となるべき部位にガスバーナ等の開口用手段にて実際の開口部を形成する工程と、前記開口部の周りに坑口コンクリートとパッキンとによるエントランスを設備する工程と、前記エントランスのチャンバー内の圧力を切羽側の土水圧とバランスさせて圧力バランスを図る工程と、前記ゲート用鋼板を引き抜き、切羽を開放することなく直接シールドマシンを発進させる工程を含むことを特徴とするシールドマシンの発進到達工法。   In Claim 7, The process of forming an actual opening part by the opening means, such as a gas burner, in the site | part which should become the said opening part of the said double steel pipe part, The entrance by wellhead concrete and packing around the said opening part A step of balancing the pressure in the chamber of the entrance with the soil water pressure on the face, and a step of pulling out the gate steel plate and starting the shield machine directly without opening the face A start-up method for a shield machine characterized by including
JP2006111622A 2006-04-14 2006-04-14 Earth retaining structure using steel pipe, construction method thereof and shield machine start-up construction method Expired - Fee Related JP4805002B2 (en)

Priority Applications (1)

Application Number Priority Date Filing Date Title
JP2006111622A JP4805002B2 (en) 2006-04-14 2006-04-14 Earth retaining structure using steel pipe, construction method thereof and shield machine start-up construction method

Applications Claiming Priority (1)

Application Number Priority Date Filing Date Title
JP2006111622A JP4805002B2 (en) 2006-04-14 2006-04-14 Earth retaining structure using steel pipe, construction method thereof and shield machine start-up construction method

Publications (2)

Publication Number Publication Date
JP2007284939A true JP2007284939A (en) 2007-11-01
JP4805002B2 JP4805002B2 (en) 2011-11-02

Family

ID=38756976

Family Applications (1)

Application Number Title Priority Date Filing Date
JP2006111622A Expired - Fee Related JP4805002B2 (en) 2006-04-14 2006-04-14 Earth retaining structure using steel pipe, construction method thereof and shield machine start-up construction method

Country Status (1)

Country Link
JP (1) JP4805002B2 (en)

Cited By (4)

* Cited by examiner, † Cited by third party
Publication number Priority date Publication date Assignee Title
JP2009155823A (en) * 2007-12-25 2009-07-16 Zenitaka Corp Earth retaining structure using steel pipe, construction method thereof and shield machine start-up construction method
CN106049502A (en) * 2016-07-07 2016-10-26 中铁三局集团广东建设工程有限公司 Protection device for underground pipeline digging exploring cutting and digging exploring cutting method
CN113931276A (en) * 2021-10-28 2022-01-14 广东恒实建设集团有限公司 Underground drainage pipeline non-excavation construction method
JP2024092472A (en) * 2022-12-26 2024-07-08 誠 植村 Method of entering an open shield machine into a vertical shaft in an open shield construction method and a vertical shaft of an open shield machine

Citations (9)

* Cited by examiner, † Cited by third party
Publication number Priority date Publication date Assignee Title
JPS6175198A (en) * 1984-09-20 1986-04-17 株式会社コプロス Propelling of small caliber machine
JPH0220793A (en) * 1988-07-06 1990-01-24 Tokyu Constr Co Ltd Start method of shield machine from side surface of existing tunnel
JPH0633688A (en) * 1992-07-16 1994-02-08 Taisei Corp Starting method of shield machine
JPH08199979A (en) * 1995-01-24 1996-08-06 Kido Kensetsu Kogyo Kk Starting pit device in propulsion method
JPH10102979A (en) * 1996-09-30 1998-04-21 Nippon Komushisu Kk Tunnel construction method and excavation machine passing gate used for it
JP2000226980A (en) * 1999-02-05 2000-08-15 Nakagawa Hume Kan Kogyo Kk Jacking shaft, its construction method and jacking method
JP2002138784A (en) * 2000-11-02 2002-05-17 Morimotogumi:Kk Structure of lead pipe for constructing shaft
JP2004044265A (en) * 2002-07-12 2004-02-12 Jfe Metal Products & Engineering Inc Entrance structure
JP2005336878A (en) * 2004-05-27 2005-12-08 Copros Co Ltd Propulsion tube construction method

Patent Citations (9)

* Cited by examiner, † Cited by third party
Publication number Priority date Publication date Assignee Title
JPS6175198A (en) * 1984-09-20 1986-04-17 株式会社コプロス Propelling of small caliber machine
JPH0220793A (en) * 1988-07-06 1990-01-24 Tokyu Constr Co Ltd Start method of shield machine from side surface of existing tunnel
JPH0633688A (en) * 1992-07-16 1994-02-08 Taisei Corp Starting method of shield machine
JPH08199979A (en) * 1995-01-24 1996-08-06 Kido Kensetsu Kogyo Kk Starting pit device in propulsion method
JPH10102979A (en) * 1996-09-30 1998-04-21 Nippon Komushisu Kk Tunnel construction method and excavation machine passing gate used for it
JP2000226980A (en) * 1999-02-05 2000-08-15 Nakagawa Hume Kan Kogyo Kk Jacking shaft, its construction method and jacking method
JP2002138784A (en) * 2000-11-02 2002-05-17 Morimotogumi:Kk Structure of lead pipe for constructing shaft
JP2004044265A (en) * 2002-07-12 2004-02-12 Jfe Metal Products & Engineering Inc Entrance structure
JP2005336878A (en) * 2004-05-27 2005-12-08 Copros Co Ltd Propulsion tube construction method

Cited By (6)

* Cited by examiner, † Cited by third party
Publication number Priority date Publication date Assignee Title
JP2009155823A (en) * 2007-12-25 2009-07-16 Zenitaka Corp Earth retaining structure using steel pipe, construction method thereof and shield machine start-up construction method
CN106049502A (en) * 2016-07-07 2016-10-26 中铁三局集团广东建设工程有限公司 Protection device for underground pipeline digging exploring cutting and digging exploring cutting method
CN113931276A (en) * 2021-10-28 2022-01-14 广东恒实建设集团有限公司 Underground drainage pipeline non-excavation construction method
CN113931276B (en) * 2021-10-28 2022-08-02 广东恒实建设集团有限公司 Non-excavation construction method for underground drainage pipeline
JP2024092472A (en) * 2022-12-26 2024-07-08 誠 植村 Method of entering an open shield machine into a vertical shaft in an open shield construction method and a vertical shaft of an open shield machine
JP7597777B2 (en) 2022-12-26 2024-12-10 誠 植村 Method of entering the vertical shaft of an open shield machine in the open shield construction method

Also Published As

Publication number Publication date
JP4805002B2 (en) 2011-11-02

Similar Documents

Publication Publication Date Title
JP5691991B2 (en) Special invert method for tunnel steel plate lining repair work and special invert material for it
JP2003206691A (en) Shield machine arrival construction method
JP2017172280A (en) Main body lining wall and its construction method
JP5339489B1 (en) A closed-type excavator corresponding to a horseshoe-shaped or hood-shaped underground space
JP4077341B2 (en) Shaft machine shaft construction method and pressure-resistant sealing device used for this
JP4805002B2 (en) Earth retaining structure using steel pipe, construction method thereof and shield machine start-up construction method
JP4380098B2 (en) Expansion method of existing tunnel
JP4925461B2 (en) Earth retaining structure using steel pipe, construction method thereof and shield machine start-up construction method
JP2018178593A (en) Underground wall construction method
JP2004346516A (en) Tunnel and construction method
JP6935640B2 (en) Construction method of underground widening part
JP5117369B2 (en) Underpass construction method
JP3177468B2 (en) Standing block, standing excavation method and sewer propulsion method
JP4226433B2 (en) Shield joining method and protective barrier structure
JP3803753B2 (en) Tunnel construction method
JP6009294B2 (en) Manhole construction method using steel circular casing
JP2013083047A (en) Pipe roof and construction method of pipe roof
JP5495874B2 (en) Removal method of shield excavator
JP3910191B2 (en) Propulsion pipe construction method
JP3616898B2 (en) Method for joining underground structures using propulsion device
JP3590429B2 (en) How to assemble a segment with a cutter
JP3990589B2 (en) Reinforcing structure for shaft opening
JPH11117686A (en) Resin inner surface covering type opening corresponding segment
JPH10102979A (en) Tunnel construction method and excavation machine passing gate used for it
JPH08270392A (en) How to stop water at pipe propulsion wellhead

Legal Events

Date Code Title Description
A621 Written request for application examination

Free format text: JAPANESE INTERMEDIATE CODE: A621

Effective date: 20090408

A977 Report on retrieval

Free format text: JAPANESE INTERMEDIATE CODE: A971007

Effective date: 20101129

TRDD Decision of grant or rejection written
A01 Written decision to grant a patent or to grant a registration (utility model)

Free format text: JAPANESE INTERMEDIATE CODE: A01

Effective date: 20110727

A01 Written decision to grant a patent or to grant a registration (utility model)

Free format text: JAPANESE INTERMEDIATE CODE: A01

A61 First payment of annual fees (during grant procedure)

Free format text: JAPANESE INTERMEDIATE CODE: A61

Effective date: 20110810

R150 Certificate of patent or registration of utility model

Free format text: JAPANESE INTERMEDIATE CODE: R150

FPAY Renewal fee payment (event date is renewal date of database)

Free format text: PAYMENT UNTIL: 20140819

Year of fee payment: 3

R250 Receipt of annual fees

Free format text: JAPANESE INTERMEDIATE CODE: R250

LAPS Cancellation because of no payment of annual fees