JP2007211466A - 地熱利用融雪凍結防止システム - Google Patents
地熱利用融雪凍結防止システム Download PDFInfo
- Publication number
- JP2007211466A JP2007211466A JP2006031583A JP2006031583A JP2007211466A JP 2007211466 A JP2007211466 A JP 2007211466A JP 2006031583 A JP2006031583 A JP 2006031583A JP 2006031583 A JP2006031583 A JP 2006031583A JP 2007211466 A JP2007211466 A JP 2007211466A
- Authority
- JP
- Japan
- Prior art keywords
- snow
- heat
- snow melting
- geothermal
- melting
- Prior art date
- Legal status (The legal status is an assumption and is not a legal conclusion. Google has not performed a legal analysis and makes no representation as to the accuracy of the status listed.)
- Pending
Links
- 238000002844 melting Methods 0.000 title claims abstract description 31
- 230000008018 melting Effects 0.000 claims abstract description 27
- 239000007788 liquid Substances 0.000 claims abstract description 6
- 230000002265 prevention Effects 0.000 claims description 13
- 230000005674 electromagnetic induction Effects 0.000 claims description 8
- 230000008014 freezing Effects 0.000 claims description 6
- 238000007710 freezing Methods 0.000 claims description 6
- XLYOFNOQVPJJNP-UHFFFAOYSA-N water Substances O XLYOFNOQVPJJNP-UHFFFAOYSA-N 0.000 abstract description 8
- 238000005086 pumping Methods 0.000 abstract description 6
- 239000002131 composite material Substances 0.000 abstract 1
- 229910000831 Steel Inorganic materials 0.000 description 12
- 239000010959 steel Substances 0.000 description 12
- 239000003673 groundwater Substances 0.000 description 8
- 238000010438 heat treatment Methods 0.000 description 7
- 238000005485 electric heating Methods 0.000 description 3
- 239000005413 snowmelt Substances 0.000 description 3
- 238000010586 diagram Methods 0.000 description 2
- 230000000694 effects Effects 0.000 description 2
- 230000005611 electricity Effects 0.000 description 2
- 230000005294 ferromagnetic effect Effects 0.000 description 2
- 238000009434 installation Methods 0.000 description 2
- 230000002411 adverse Effects 0.000 description 1
- 239000004020 conductor Substances 0.000 description 1
- 230000009931 harmful effect Effects 0.000 description 1
- 230000020169 heat generation Effects 0.000 description 1
- 230000001939 inductive effect Effects 0.000 description 1
- 239000011810 insulating material Substances 0.000 description 1
- WABPQHHGFIMREM-UHFFFAOYSA-N lead(0) Chemical compound [Pb] WABPQHHGFIMREM-UHFFFAOYSA-N 0.000 description 1
- 239000000463 material Substances 0.000 description 1
- 239000000155 melt Substances 0.000 description 1
- 238000000034 method Methods 0.000 description 1
- 229910001120 nichrome Inorganic materials 0.000 description 1
- 230000035699 permeability Effects 0.000 description 1
- 230000001105 regulatory effect Effects 0.000 description 1
Images
Landscapes
- Road Paving Structures (AREA)
- Cleaning Of Streets, Tracks, Or Beaches (AREA)
Abstract
【解決手段】地上に敷設した電気/地熱複合式の融雪装置1と、地中に埋設した熱交換器2と、これらを一巡して接続された循環配管6と、この循環配管6内の液体を循環させる循環ポンプ4とで融雪凍結防止システムを構成する。
【選択図】図1
Description
一方、電気式の発熱体を埋め込んだ発熱パネル等も融雪用として使用されている。電気式の発熱体にもさまざまな種類があり、大部分はニクロム線などの高抵抗導体に通電する抵抗加熱方式であるが、超音波加熱形などそれ以外のものもある。
図5はこのような発熱体を内蔵させた電気式の発熱パネル8を示す斜視図で、81は給電端子、82は防水コネクタである。
本発明は、電気式の融雪装置における電力を節減し、かつ地下水の汲み上げを行うことなしに地熱のみを利用するようにして経済的な地熱利用融雪凍結防止システムを実現することを目的とする。
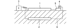
地上に敷設した電気/地熱複合式の融雪装置1と、地中に埋設した熱交換器2、循環ポンプ4、中継タンク5などが一巡する循環配管6により接続されている。
この循環水を地上等に設置した融雪装置の表面や内部空間を通過させることにより、循環水の温度が0℃以下にならない限り雪を融かすことができ、また凍結せずに循環が継続されるが、戻り水の温度、あるいは融雪装置表面の温度をセンサ等で検知して、たとえば1℃以上を保持するように適宜通電して電気による熱を加えるようにすれば、消費電力はきわめて少なくて済み、電気のみの場合に比べてはるかに経済的な融雪凍結防止システムが実現する。
なお、本発明の融雪装置は地上に敷設するものとして説明したが、階段や橋梁に取り付けてもよいし、タンクやパイプラインなどの構造物に取り付けてもよいのはいうまでもない。また、循環させる液体は水がもっとも手頃であるが、場合によっては熱媒など、他の液体を使用してもよい。
2 熱交換器
3 電源
4 循環ポンプ
5 中継タンク
6 循環配管
7 発熱体
8 発熱パネル
71 被覆材
72 発熱体本体
73 リード線
74 断熱材
81 給電端子
82 防水コネクタ
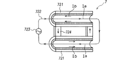
721 発熱鋼管
722 絶縁電線
723 交流電源
724 接続部(短絡片)
Claims (2)
- 地上に敷設した電気/地熱複合式の融雪装置(1)と、地中に埋設した熱交換器(2)と、前記融雪装置(1)と熱交換器(2)とを一巡して接続された循環配管(6)と、この循環配管(6)内の液体を循環させる循環ポンプ(4)とで構成されたことを特徴とする地熱利用融雪凍結防止システム。
- 前記融雪装置(1)の電気部分が、電磁誘導形のものである請求項1に記載の地熱利用融雪凍結防止システム。
Priority Applications (1)
| Application Number | Priority Date | Filing Date | Title |
|---|---|---|---|
| JP2006031583A JP2007211466A (ja) | 2006-02-08 | 2006-02-08 | 地熱利用融雪凍結防止システム |
Applications Claiming Priority (1)
| Application Number | Priority Date | Filing Date | Title |
|---|---|---|---|
| JP2006031583A JP2007211466A (ja) | 2006-02-08 | 2006-02-08 | 地熱利用融雪凍結防止システム |
Publications (1)
| Publication Number | Publication Date |
|---|---|
| JP2007211466A true JP2007211466A (ja) | 2007-08-23 |
Family
ID=38490149
Family Applications (1)
| Application Number | Title | Priority Date | Filing Date |
|---|---|---|---|
| JP2006031583A Pending JP2007211466A (ja) | 2006-02-08 | 2006-02-08 | 地熱利用融雪凍結防止システム |
Country Status (1)
| Country | Link |
|---|---|
| JP (1) | JP2007211466A (ja) |
Cited By (2)
| Publication number | Priority date | Publication date | Assignee | Title |
|---|---|---|---|---|
| KR100991085B1 (ko) | 2008-04-25 | 2010-10-29 | 김효성 | 온도에 따라 형성되는 액체의 성층을 이용한 노면 온도조절장치 |
| KR101061366B1 (ko) * | 2008-09-24 | 2011-09-01 | 조용성 | 수막을 이용한 안개 차단 시스템 |
Citations (8)
| Publication number | Priority date | Publication date | Assignee | Title |
|---|---|---|---|---|
| JPS54111922U (ja) * | 1978-01-26 | 1979-08-07 | ||
| JPS6023505A (ja) * | 1983-04-11 | 1985-02-06 | ミネソタ・マイニング・アンド・マニユフアクチユアリング・コンパニ− | 舗道標識 |
| JPS60223505A (ja) * | 1984-04-20 | 1985-11-08 | 昭和アルミニウム株式会社 | 道路等の融雪装置 |
| JPH0333660U (ja) * | 1990-04-05 | 1991-04-03 | ||
| JPH09242037A (ja) * | 1996-03-13 | 1997-09-16 | Kajima Corp | 地面加熱システム |
| JP2799721B2 (ja) * | 1989-02-08 | 1998-09-21 | 日本工営株式会社 | 重ね合わせ誘導電流発熱板 |
| JP2001107307A (ja) * | 1999-10-05 | 2001-04-17 | Maeda Seikan Kk | 融雪,凍結防止装置 |
| JP2004036972A (ja) * | 2002-07-02 | 2004-02-05 | Snow Techno:Kk | ヒートパイプを用いた融雪装置 |
-
2006
- 2006-02-08 JP JP2006031583A patent/JP2007211466A/ja active Pending
Patent Citations (8)
| Publication number | Priority date | Publication date | Assignee | Title |
|---|---|---|---|---|
| JPS54111922U (ja) * | 1978-01-26 | 1979-08-07 | ||
| JPS6023505A (ja) * | 1983-04-11 | 1985-02-06 | ミネソタ・マイニング・アンド・マニユフアクチユアリング・コンパニ− | 舗道標識 |
| JPS60223505A (ja) * | 1984-04-20 | 1985-11-08 | 昭和アルミニウム株式会社 | 道路等の融雪装置 |
| JP2799721B2 (ja) * | 1989-02-08 | 1998-09-21 | 日本工営株式会社 | 重ね合わせ誘導電流発熱板 |
| JPH0333660U (ja) * | 1990-04-05 | 1991-04-03 | ||
| JPH09242037A (ja) * | 1996-03-13 | 1997-09-16 | Kajima Corp | 地面加熱システム |
| JP2001107307A (ja) * | 1999-10-05 | 2001-04-17 | Maeda Seikan Kk | 融雪,凍結防止装置 |
| JP2004036972A (ja) * | 2002-07-02 | 2004-02-05 | Snow Techno:Kk | ヒートパイプを用いた融雪装置 |
Cited By (2)
| Publication number | Priority date | Publication date | Assignee | Title |
|---|---|---|---|---|
| KR100991085B1 (ko) | 2008-04-25 | 2010-10-29 | 김효성 | 온도에 따라 형성되는 액체의 성층을 이용한 노면 온도조절장치 |
| KR101061366B1 (ko) * | 2008-09-24 | 2011-09-01 | 조용성 | 수막을 이용한 안개 차단 시스템 |
Similar Documents
| Publication | Publication Date | Title |
|---|---|---|
| RU2579058C2 (ru) | Устройство и способ для добычи, особенно добычи на месте залегания (in-situ), углеродсодержащего вещества из подземного месторождения | |
| CA2945638C (en) | A system for inductive power transfer, a pavement slab assembly and a method of operating a system for inductive power transfer | |
| JP2007211466A (ja) | 地熱利用融雪凍結防止システム | |
| JP5255236B2 (ja) | 熱交換器、および熱交換システム | |
| KR101488416B1 (ko) | 신재생 지열원을 활용한 시설물의 냉,난방과 도로 융설 병용 시스템 | |
| JP2017145669A (ja) | 水道熱融雪装置、水道熱融雪システム、および、それらの制御方法 | |
| JP2001107307A (ja) | 融雪,凍結防止装置 | |
| KR20130059816A (ko) | 도로 결빙 방지 장치 및 시공방법 | |
| JP2008075809A (ja) | ロードヒーティングの配管接続構造、それに用いる防蝕スリーブおよびそれによる接続方法 | |
| JP2004039966A (ja) | 熱電素子融雪システムおよび熱電素子発電システム | |
| ATE317837T1 (de) | Verfahren zur induzierten wärmebehandlung von einer wasserversorgungsrohrleitung und einrichtung zur durchfürung des verfahrens | |
| JP2006225954A (ja) | 融雪路及び流体加熱方法 | |
| JP2003342926A (ja) | 融雪装置 | |
| JP2009002637A (ja) | ハイブリッド熱伝達装置 | |
| RU2276825C2 (ru) | Способ выполнения заземления в многолетнемерзлых грунтах | |
| JP2006257786A (ja) | 下水道熱を利用した無散水融雪工法 | |
| JPH09242037A (ja) | 地面加熱システム | |
| JP2015052259A (ja) | 地下水の揚水と,熱媒体液循環装置を同時に使用できる採熱井 | |
| KR20150067529A (ko) | 이중배관식 도로 융설 시스템 | |
| US7606475B2 (en) | Heat generation system | |
| JP4398333B2 (ja) | ヒーティング装置 | |
| JP3336382B2 (ja) | 融解・凝固装置 | |
| US10072399B2 (en) | Electrical pipe thawing system and methods of using the same | |
| JPS6338482B2 (ja) | ||
| JP2002242118A (ja) | 融雪用ブロックヒータ |
Legal Events
| Date | Code | Title | Description |
|---|---|---|---|
| A621 | Written request for application examination |
Free format text: JAPANESE INTERMEDIATE CODE: A621 Effective date: 20081105 |
|
| A977 | Report on retrieval |
Effective date: 20091228 Free format text: JAPANESE INTERMEDIATE CODE: A971007 |
|
| A131 | Notification of reasons for refusal |
Effective date: 20100105 Free format text: JAPANESE INTERMEDIATE CODE: A131 |
|
| A521 | Written amendment |
Effective date: 20100308 Free format text: JAPANESE INTERMEDIATE CODE: A523 |
|
| A131 | Notification of reasons for refusal |
Effective date: 20100420 Free format text: JAPANESE INTERMEDIATE CODE: A131 |
|
| A521 | Written amendment |
Effective date: 20100621 Free format text: JAPANESE INTERMEDIATE CODE: A523 |
|
| A02 | Decision of refusal |
Effective date: 20100706 Free format text: JAPANESE INTERMEDIATE CODE: A02 |