JP2007163749A - Lens unit - Google Patents

Lens unit Download PDF

Info

Publication number
JP2007163749A
JP2007163749A JP2005358878A JP2005358878A JP2007163749A JP 2007163749 A JP2007163749 A JP 2007163749A JP 2005358878 A JP2005358878 A JP 2005358878A JP 2005358878 A JP2005358878 A JP 2005358878A JP 2007163749 A JP2007163749 A JP 2007163749A
Authority
JP
Japan
Prior art keywords
lens
unit
camera
lens unit
view
Prior art date
Legal status (The legal status is an assumption and is not a legal conclusion. Google has not performed a legal analysis and makes no representation as to the accuracy of the status listed.)
Abandoned
Application number
JP2005358878A
Other languages
Japanese (ja)
Inventor
Kazuhiko Onda
和彦 恩田
Current Assignee (The listed assignees may be inaccurate. Google has not performed a legal analysis and makes no representation or warranty as to the accuracy of the list.)
Fujinon Corp
Original Assignee
Fujinon Corp
Priority date (The priority date is an assumption and is not a legal conclusion. Google has not performed a legal analysis and makes no representation as to the accuracy of the date listed.)
Filing date
Publication date
Application filed by Fujinon Corp filed Critical Fujinon Corp
Priority to JP2005358878A priority Critical patent/JP2007163749A/en
Publication of JP2007163749A publication Critical patent/JP2007163749A/en
Abandoned legal-status Critical Current

Links

Images

Landscapes

  • Lens Barrels (AREA)
  • Adjustment Of Camera Lenses (AREA)

Abstract

<P>PROBLEM TO BE SOLVED: To provide a lens unit whose assembling process is simplified. <P>SOLUTION: A lens unit 1 is provided with a liquid lens 21 constituting a photographic optical system 20. In the liquid lens 21, transparent water 21_3 having an electrolyte added thereto and transparent oil 21_4 being an insulating liquid are stored between cover glasses 21_1 and 21_2 without mixing. Since an optical refractive index of the oil 21_4 is higher than that of the water 21_3, the oil 21_4 in the liquid lens 21 serves as a lens which is refracting light. The liquid lens 21 includes a first electrode 21_6 in contact with the water 21_3 and a second electrode 21_7 in contact with the oil 21_4, which are formed via an insulator 21_5. <P>COPYRIGHT: (C)2007,JPO&INPIT

Description

本発明は、光学装置に組み込まれるレンズユニットに関する。   The present invention relates to a lens unit incorporated in an optical device.

従来より、ロール状の写真フイルム上に写真撮影を行なうコンパクトフイルムカメラや被写体光を撮像素子で捉えて画像信号を生成するデジタルカメラ、あるいは携帯電話に搭載されるカメラや動画を撮影するビデオカメラ等の光学機器において、その光学機器に組み込まれるレンズユニットを構成する撮影レンズの前面に、AF機構や手ぶれ補正機構等を設けることにより、そのレンズユニットに新たな機能を持たせるということが行なわれている。例えば、撮影レンズの前面に、手ぶれを除去するためのプリズムを設けることにより手ぶれ補正機構を実現するとともに、手ぶれがあるか否かに応じてAF機構を構成するレンズ群の移動速度を決定することにより、手ぶれ補正機構を備えた場合であってもAF機構の応答速度の低下を小さく抑えることができる技術が提案されている(特許文献1参照)。
特開平7−107372号公報
Conventionally, a compact film camera that takes a photograph on a roll-like photographic film, a digital camera that captures subject light with an image sensor and generates an image signal, a camera mounted on a mobile phone, a video camera that shoots a video, etc. In such an optical device, by providing an AF mechanism, a camera shake correction mechanism, or the like on the front surface of the photographing lens constituting the lens unit incorporated in the optical device, the lens unit is provided with a new function. Yes. For example, a camera shake correction mechanism is realized by providing a prism for removing camera shake on the front surface of the photographing lens, and the moving speed of the lens group constituting the AF mechanism is determined according to whether there is camera shake. Thus, a technique has been proposed that can suppress a decrease in the response speed of the AF mechanism even when a camera shake correction mechanism is provided (see Patent Document 1).
JP-A-7-107372

上述した特許文献1に提案された技術において、撮影レンズの前面に設けられたプリズムには、液体が封入されたガラス部材を保持する保持枠に設けられたコイルと、固定部に設けられたマグネットおよびヨークからなるアクチュエータが備えられている。このアクチュエータで、手ぶれの大きさに応じた角度に見合った分だけ、プリズムの角度を制御することにより手ぶれが除去される。ここで、手ぶれの大きさに応じた角度に見合った分だけプリズムの角度を制御するためには、アクチュエータを構成するコイルにその角度に見合った大きさの電流を、カメラ本体に備えられた電気回路基板から供給する必要がある。このためには、撮影レンズ前面のプリズムに備えられたコイルと、カメラ本体に備えられた電気回路基板とを、それらプリズムとカメラ本体との間に配備されたレンズホルダ内に配設された配線で半田接続等により結線する必要がある。従って、組立工程が複雑であるという問題がある。   In the technique proposed in Patent Document 1 described above, a prism provided on the front surface of the photographing lens includes a coil provided on a holding frame that holds a glass member filled with liquid, and a magnet provided on a fixed portion. And an actuator composed of a yoke. With this actuator, camera shake is removed by controlling the angle of the prism by an amount corresponding to the angle corresponding to the size of camera shake. Here, in order to control the angle of the prism by an amount corresponding to the angle corresponding to the size of the camera shake, a current corresponding to the angle is supplied to the coil constituting the actuator and the electric current provided in the camera body. It is necessary to supply from the circuit board. For this purpose, the coil provided in the prism on the front surface of the photographing lens and the electric circuit board provided in the camera body are wired in a lens holder disposed between the prism and the camera body. It is necessary to connect by soldering. Therefore, there is a problem that the assembly process is complicated.

本発明は、上記事情に鑑み、組立工程が簡素化されたレンズユニットを提供することを目的とする。   In view of the above circumstances, an object of the present invention is to provide a lens unit with a simplified assembly process.

上記目的を達成する本発明のレンズユニットは、
撮影レンズと、
上記撮影レンズのうちの少なくとも一部のレンズを保持するレンズホルダと、
上記レンズホルダに備えられた、電気的な配線を要する作用体とを備え、
上記レンズホルダは、電気的な配線として作用する接片がインモールド成型されたものであり、
上記接片と、上記作用体との間の電気的な配線として作用する弾性部材を備えたことを特徴とする。
The lens unit of the present invention that achieves the above object provides:
A taking lens,
A lens holder for holding at least a part of the photographing lenses;
An action body provided with the lens holder and requiring electrical wiring;
The lens holder is an in-mold molded piece that acts as electrical wiring,
An elastic member acting as an electrical wiring between the contact piece and the working body is provided.

本発明のレンズユニットは、レンズホルダに備えられた電気的な配線を要する作用体とカメラ本体等に備えられた電気回路基板との電気的な接続は、レンズホルダにインモールド成型された電気的な配線として作用する接片と電気的な配線として作用する弾性部材とにより行なわれる。このため、特許文献1に提案された、撮影レンズ前面に設けられたプリズムに備えられたコイルとカメラ本体に備えられた電気回路基板とをレンズホルダ内に配設された配線で半田接続等により結線する技術と比較し、組立工程が簡素化される。   In the lens unit of the present invention, the electrical connection between the working body provided in the lens holder that requires electrical wiring and the electric circuit board provided in the camera body or the like is electrically connected to the lens holder in-mold. This is performed by a contact piece that acts as a flexible wiring and an elastic member that acts as an electrical wiring. For this reason, the coil provided in the prism provided on the front surface of the photographing lens proposed in Patent Document 1 and the electric circuit board provided in the camera body are connected by soldering or the like with wiring arranged in the lens holder. The assembly process is simplified compared to the technique of connecting.

ここで、上記弾性部材が、コイルバネであることが好ましい。   Here, the elastic member is preferably a coil spring.

また、上記弾性部材が、板バネであることも好ましい態様である。   It is also a preferred aspect that the elastic member is a leaf spring.

弾性部材がコイルバネや板バネであると、弾性部材を容易に且つ低コストで入手することができる。   When the elastic member is a coil spring or a leaf spring, the elastic member can be easily obtained at low cost.

さらに、上記作用体が、ピント調節用の光学部材を駆動するフォーカスアクチュエータであることが好ましい。   Furthermore, it is preferable that the action body is a focus actuator that drives an optical member for focus adjustment.

また、上記作用体が、手ぶれ補正用の光学部材を駆動する手ぶれ補正アクチュエータであることも好ましい態様である。   It is also a preferred aspect that the action body is a camera shake correction actuator that drives an optical member for camera shake correction.

作用体がフォーカスアクチュエータや手ぶれ補正アクチュエータであると、AF機能や手ぶれ補正機能を有するレンズユニットを簡単に実現することができる。   When the acting body is a focus actuator or a camera shake correction actuator, a lens unit having an AF function or a camera shake correction function can be easily realized.

本発明によれば、組立工程が簡素化されたレンズユニットを提供することができる。   According to the present invention, it is possible to provide a lens unit with a simplified assembly process.

以下、本発明の実施の形態について説明する。   Embodiments of the present invention will be described below.

図1は、本発明のレンズユニットの第1実施形態が組み込まれたカメラの外観斜視図である。   FIG. 1 is an external perspective view of a camera in which the first embodiment of the lens unit of the present invention is incorporated.

図1(a)には、本発明のレンズユニットの第1実施形態が組み込まれたカメラを正面上方から見た図が示されている。また、図1(b)には、図1(a)に示すカメラを背面上方から見た図が示されている。   FIG. 1 (a) shows a view of a camera incorporating the first embodiment of the lens unit of the present invention as seen from the front upper side. Also, FIG. 1B shows a view of the camera shown in FIG.

図1に示すカメラ100は、撮影光学系を備えその撮影光学系を経由して入射してきた被写体光を撮像素子で捉えて画像信号を生成するデジタルカメラである。   A camera 100 shown in FIG. 1 is a digital camera that includes a photographic optical system and generates image signals by capturing subject light incident through the photographic optical system with an imaging device.

図1(a)に示すように、このカメラ100には、カメラボディ中央に備えられたレンズ鏡胴10と、そのレンズ鏡胴10に内蔵された撮影光学系20とからなるレンズユニット1が組み込まれている。このカメラ100では、撮影光学系20を通してカメラ100内部に配備されている撮像素子であるCCD固体撮像素子(以降CCDという)まで被写体の像が導かれるようになっている。   As shown in FIG. 1A, the camera 100 incorporates a lens unit 1 including a lens barrel 10 provided in the center of the camera body and a photographing optical system 20 built in the lens barrel 10. It is. In the camera 100, an image of a subject is guided through a photographing optical system 20 to a CCD solid-state image pickup device (hereinafter referred to as a CCD) that is an image pickup device provided in the camera 100.

また、図1(a)に示すカメラ100のレンズユニット1の上方には、ファインダ102と、測光光学系103と、測距部104と、発光ユニット105とが配備されている。測距部104は、互いに所定距離だけ離れた位置に配置されたAF受光窓104a,104bを有し、被写体からの自然散乱光(太陽光等)である反射光をそれらAF受光窓104a,104bを介して受光素子で受光して、いわゆる三角測距の原理を用いることにより被写体距離を測定する。   A finder 102, a photometric optical system 103, a distance measuring unit 104, and a light emitting unit 105 are disposed above the lens unit 1 of the camera 100 shown in FIG. The distance measuring unit 104 includes AF light receiving windows 104a and 104b disposed at positions separated from each other by a predetermined distance, and reflected light that is natural scattered light (sunlight or the like) from the subject is received by the AF light receiving windows 104a and 104b. The subject distance is measured by using a so-called triangulation principle.

また、図1(b)に示すように、カメラ100の背面および上面には、ユーザがこのカメラ100を使用するときに種々の操作を行なうための操作スイッチ群111が設けられている。   Further, as shown in FIG. 1B, an operation switch group 111 for performing various operations when the user uses the camera 100 is provided on the back surface and the upper surface of the camera 100.

この操作スイッチ群111の中にはカメラ100を作動させるための電源スイッチ111aのほか、シャッタ釦111b、十字キー111c、メニュー/OKキー111d、キャンセルキー111e、モードレバー111fなどがある。この操作スイッチ群111の中のモードレバー111fによって再生モードと撮影モードの切替えや撮影モードの中でさらに動画モード,静止画モードの切替えが行なわれる。このモードレバー111fが撮影モードに切り替えられるとスルー画が表示されてそのスルー画を見ながらシャッタ釦111bが押されると被写体の撮影が行なわれ、再生側に切り替えられると既撮影画像の再生表示がLCDパネル150上に行なわれる。   In addition to the power switch 111a for operating the camera 100, the operation switch group 111 includes a shutter button 111b, a cross key 111c, a menu / OK key 111d, a cancel key 111e, a mode lever 111f, and the like. The mode lever 111f in the operation switch group 111 switches between the reproduction mode and the shooting mode, and further switches between the moving image mode and the still image mode in the shooting mode. When the mode lever 111f is switched to the shooting mode, a through image is displayed, and the subject is photographed when the shutter button 111b is pressed while viewing the through image. This is performed on the LCD panel 150.

また、メニュー/OKキー111dおよび十字キー111cの操作により、セットアップメニューに切り替えて日時の設定や画像表示を行なうか否かの設定等を行なったり、撮影モードに切り替えてマニュアル,オート,風景,人物,夜景等を選択したり、あるいは撮影メニューに切り替えてセルフタイマ,連写等を選択したりすることができる。   Also, by operating the menu / OK key 111d and the cross key 111c, the setup menu is switched to set the date and time, whether or not to display an image, etc., or the shooting mode to switch to manual, auto, landscape, portrait , A night view, etc. can be selected, or the self-timer, continuous shooting, etc. can be selected by switching to the shooting menu.

図2は、図1に示すカメラの構成を示すブロック図である。   FIG. 2 is a block diagram showing the configuration of the camera shown in FIG.

図2に示すカメラ100には、撮影光学系20を構成する、後述する液体レンズ21(本発明にいう作用体の一例に相当)、撮影レンズ22、アイリス23、およびシャッタ24が備えられている。撮影レンズ22は複数のレンズから構成されている。   The camera 100 shown in FIG. 2 includes a liquid lens 21 (corresponding to an example of an action body according to the present invention), a photographing lens 22, an iris 23, and a shutter 24, which will be described later, constituting the photographing optical system 20. . The photographing lens 22 is composed of a plurality of lenses.

また、このカメラ100には、液体レンズ21のレンズ形状を変化させるAF制御部25、アイリス23を駆動するアイリス駆動部26、およびシャッタ24を駆動するシャッタ駆動部27が備えられている。   The camera 100 also includes an AF control unit 25 that changes the lens shape of the liquid lens 21, an iris driving unit 26 that drives the iris 23, and a shutter driving unit 27 that drives the shutter 24.

ここで、液体レンズ21は、TTLAF機能を実現するためのレンズである。このTTLAF機能とは、一般的には、光軸に沿う方向にレンズを移動させながら、CCDで得られた画像信号のコントラストをCPUで検出し、そのコントラストのピークが得られるレンズ位置をピント位置として、そのレンズをピント位置に調節するものである。このTTLAF機能によって、コントラストがピークになる被写体(つまり、最も近くにある最近被写体)に自動的に焦点を合わせて撮影を行なうことができる。第1実施形態においては、このようなレンズを移動させる代わりに、AF制御部25で液体レンズ21のレンズ形状を変化させることによって、被写体に焦点を合わせる。この液体レンズ21の構成については後述する。   Here, the liquid lens 21 is a lens for realizing the TTLAF function. The TTLAF function generally means that the CPU detects the contrast of the image signal obtained by the CCD while moving the lens in the direction along the optical axis, and the lens position where the contrast peak is obtained is the focus position. The lens is adjusted to the focus position. By this TTLAF function, it is possible to automatically focus on a subject having a contrast peak (that is, the closest subject closest to the subject). In the first embodiment, instead of moving such a lens, the AF control unit 25 changes the lens shape of the liquid lens 21 to focus on the subject. The configuration of the liquid lens 21 will be described later.

このカメラ100ではすべての処理がメインCPU110によって制御されていて、このメインCPU110の入力部には図1(b)に示した操作スイッチ群111からの操作信号がそれぞれ供給される。メインCPU110はEEPROM110aと接続されており、このEEPROM110aの中にはカメラ100として動作するために必要なプログラムが書き込まれている。このような構成を持つカメラ100の電源スイッチ111a(図1参照)が投入されると、EEPROM110a内のプログラムの手順にしたがってメインCPU110によりこのカメラ100全体の動作が制御される。   In the camera 100, all processes are controlled by the main CPU 110, and operation signals from the operation switch group 111 shown in FIG. 1B are supplied to the input section of the main CPU 110, respectively. The main CPU 110 is connected to the EEPROM 110a, and a program necessary for operating as the camera 100 is written in the EEPROM 110a. When the power switch 111a (see FIG. 1) of the camera 100 having such a configuration is turned on, the operation of the entire camera 100 is controlled by the main CPU 110 according to the procedure of the program in the EEPROM 110a.

詳細には、操作スイッチ群111の中の電源スイッチ111aが投入されると、メインCPU110により電源スイッチ111aが投入されたことが検知され、電源130からメインCPU110,駆動用CPU120などの各ブロックに電力が供給される。ここで、操作スイッチ群111の中のモードレバー111fが撮影側に切り替えられていた場合には、撮影光学系20を経由してCCD112に結像された被写体像が画像信号として所定の間隔ごとに間引かれて出力され、その出力された画像信号に基づく被写体像がLCDパネル150上に表示される。このCCD112にはクロックジェネレータ(以下、CGという)153からタイミング信号が供給されており、このタイミング信号によって所定の間隔ごとに、画像信号が間引かれて出力される。このCG153はメインCPU110からの指示に基づいてタイミング信号を出力しており、そのタイミング信号は、CCD112の他、後段のA/D部113、およびWB(ホワイトバランス)調整部・γ処理部114にも供給されている。従って、CCD112、A/D部113、WB調整部・γ処理部114ではそのタイミング信号に同期して順序良く画像信号の処理が流れるように行なわれる。   Specifically, when the power switch 111a in the operation switch group 111 is turned on, the main CPU 110 detects that the power switch 111a is turned on, and power is supplied from the power supply 130 to each block such as the main CPU 110 and the driving CPU 120. Is supplied. Here, when the mode lever 111f in the operation switch group 111 is switched to the photographing side, the subject image formed on the CCD 112 via the photographing optical system 20 is set as an image signal at predetermined intervals. The thinned image is output and a subject image based on the output image signal is displayed on the LCD panel 150. A timing signal is supplied to the CCD 112 from a clock generator (hereinafter referred to as CG) 153, and an image signal is thinned out and output at predetermined intervals by the timing signal. The CG 153 outputs a timing signal based on an instruction from the main CPU 110, and the timing signal is sent to the A / D unit 113 and the WB (white balance) adjustment unit / γ processing unit 114 in addition to the CCD 112. Are also supplied. Therefore, the CCD 112, the A / D unit 113, and the WB adjustment unit / γ processing unit 114 perform processing of image signals in order in synchronization with the timing signal.

このようにメインCPU110の指示に応じてCG153から出力されるタイミング信号に同期してA/D部113でデジタルの画像信号に変換され、またWB調整部・γ処理部114でホワイトバランス調整やγ補正が所定の間隔ごとに行なわれていくときには、それらの画像信号の流れを適切に調整する必要があるので、後段にバッファメモリ115が設けられており、そのバッファメモリ115によって所定の間隔ごとに画像信号がYC処理部116に転送されていくタイミングが調整される。バッファメモリ115からは古い時刻に記憶された画像信号から先にYC処理部116へ転送される。そのYC処理部116に転送された画像信号は、YC処理部116でRGB信号からYC信号に変換され、その後バス121を介してYC→RGB変換部151に供給される。このYC→RGB変換部151でYC信号が再びRGB信号に変換され、その変換されたRGB信号がドライバ152を経由してLCDパネル150に供給される。これにより、LCDパネル150上に被写体像の画像表示が行なわれる。前述したCG153から出力されるタイミング信号に同期してCCD112、A/D部113、WB調整部・γ補正部114が動作して、所定の間隔ごとにCCD112で生成された画像信号が処理されている訳であるから、このLCDパネル150上には撮影レンズ22が向けられた方向の被写体が被写体像として常に表示され続ける。この表示され続けている被写体像を視認しながら、シャッタチャンスにシャッタ釦111bが押されると、そのシャッタ釦111bの押下タイミングを起点として所定の時間を経た後、CCD112に結像された画像信号すべてがRGB信号となって出力される。このRGB信号はYC処理部116でYC信号に変換されてさらに圧縮・伸張部117でYC信号が圧縮され、その圧縮された画像信号がI/F(インターフェース)118を経由してメモリカード119に記録される。この圧縮・伸張部117では静止画についてはJPEG規格に準拠した圧縮方式で圧縮が行なわれてメモリカード119に画像信号が記録される。画像信号からなるファイルのヘッダ部には圧縮情報や撮影情報などが書き込まれており、このカメラ100のモードレバー111fが再生側に切り替えられたら、メモリカード119からそのファイルのヘッダがまず読み出され、そのヘッダ内の圧縮情報に基づいてファイル内の圧縮画像信号が伸張されて画像信号が元に復元された後、その画像信号に基づく被写体像がLCDパネル150上に表示される。   As described above, the A / D unit 113 converts the digital signal into a digital image signal in synchronization with the timing signal output from the CG 153 in response to an instruction from the main CPU 110, and the WB adjustment unit / γ processing unit 114 performs white balance adjustment and γ When correction is performed at predetermined intervals, it is necessary to appropriately adjust the flow of the image signals. Therefore, a buffer memory 115 is provided in the subsequent stage, and the buffer memory 115 sets the intervals at predetermined intervals. The timing at which the image signal is transferred to the YC processing unit 116 is adjusted. From the buffer memory 115, the image signal stored at the old time is transferred to the YC processing unit 116 first. The image signal transferred to the YC processing unit 116 is converted from an RGB signal to a YC signal by the YC processing unit 116, and then supplied to the YC → RGB conversion unit 151 via the bus 121. The YC → RGB conversion unit 151 converts the YC signal into an RGB signal again, and the converted RGB signal is supplied to the LCD panel 150 via the driver 152. As a result, an image of the subject image is displayed on the LCD panel 150. The CCD 112, the A / D unit 113, the WB adjustment unit / γ correction unit 114 operate in synchronization with the timing signal output from the CG 153 described above, and the image signal generated by the CCD 112 is processed at predetermined intervals. Therefore, the subject in the direction in which the photographing lens 22 is directed is always displayed on the LCD panel 150 as a subject image. When the shutter button 111b is pressed at a photo opportunity while visually recognizing the subject image being displayed, all image signals imaged on the CCD 112 are passed after a predetermined time from the pressing timing of the shutter button 111b. Are output as RGB signals. The RGB signal is converted into a YC signal by the YC processing unit 116, and the YC signal is further compressed by the compression / decompression unit 117. The compressed image signal is transferred to the memory card 119 via the I / F (interface) 118. To be recorded. In the compression / decompression unit 117, the still image is compressed by a compression method compliant with the JPEG standard, and an image signal is recorded on the memory card 119. Compression information, shooting information, etc. are written in the header portion of the file consisting of image signals. When the mode lever 111f of the camera 100 is switched to the playback side, the header of the file is first read from the memory card 119. After the compressed image signal in the file is expanded based on the compression information in the header and restored based on the image signal, the subject image based on the image signal is displayed on the LCD panel 150.

また、このカメラ100には、メインCPU110の他に駆動用CPU120が設けられており、この駆動用CPU120によって撮影光学系20および発光ユニット105の制御が行なわれる。   In addition to the main CPU 110, the camera 100 is provided with a driving CPU 120, and the driving optical system 20 and the light emitting unit 105 are controlled by the driving CPU 120.

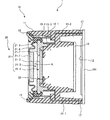
図3は、図1に示すカメラに組み込まれたレンズユニットの一部を切り欠いて示した図、図4は、図3に示すレンズユニットの断面図である。   3 is a partially cutaway view of the lens unit incorporated in the camera shown in FIG. 1, and FIG. 4 is a cross-sectional view of the lens unit shown in FIG.

図3に示すレンズユニット1には、レンズ鏡胴10を構成するレンズホルダ11およびそのレンズホルダ11を押さえるためのリング部材12が備えられている。リング部材12は、図4に示すように、レンズホルダ11にネジ13で固定されている。ここで、レンズホルダ11は、撮影レンズ22を保持するものであり、このレンズホルダ11では、電気的な配線として作用する第1の接片14_1と第2の接片14_2がインモールド成型されている。これら第1,第2の接片14_1,14_2の構造については後述する。   The lens unit 1 shown in FIG. 3 includes a lens holder 11 constituting the lens barrel 10 and a ring member 12 for holding the lens holder 11. As shown in FIG. 4, the ring member 12 is fixed to the lens holder 11 with screws 13. Here, the lens holder 11 holds the photographing lens 22, and in this lens holder 11, the first contact piece 14_1 and the second contact piece 14_2 that act as electrical wiring are in-mold molded. Yes. The structures of the first and second contact pieces 14_1 and 14_2 will be described later.

また、レンズユニット1には、撮影光学系20を構成する液体レンズ21が備えられている。液体レンズ21は、レンズホルダ11に保持された撮影レンズ22の前面に備えられた、電気的な配線を要する作用体である。この液体レンズ21は、カバーガラス21_1,21_2の間に、電解質が加えられた透明な水21_3と、絶縁性液体である透明な油21_4とが互いに混じり合わずに収容されている。水21_3よりも油21_4の方が光の屈折率が大きいため、この液体レンズ21では、油21_4が光を屈折させるレンズの役割を担う。また、液体レンズ21には、絶縁体21_5を挟んで形成された、水21_3と接する第1の電極21_6と、油21_4と接する第2の電極21_7が備えられている。   Further, the lens unit 1 is provided with a liquid lens 21 constituting the photographing optical system 20. The liquid lens 21 is an action body that is provided on the front surface of the photographing lens 22 held by the lens holder 11 and requires electrical wiring. In the liquid lens 21, transparent water 21_3 to which an electrolyte is added and transparent oil 21_4 that is an insulating liquid are accommodated between the cover glasses 21_1 and 21_2 without being mixed with each other. Since the oil 21_4 has a higher refractive index of light than the water 21_3, in the liquid lens 21, the oil 21_4 serves as a lens that refracts light. Further, the liquid lens 21 includes a first electrode 21_6 that is in contact with the water 21_3 and a second electrode 21_7 that is in contact with the oil 21_4, which are formed with the insulator 21_5 interposed therebetween.

さらに、レンズユニット1には、レンズホルダ11の第1の接片14_1,第2の接片14_2と、液体レンズ21の第1の電極21_6,第2の電極21_7との間の電気的な配線として作用する第1のコイルバネ15_1,第2のコイルバネ15_2が備えられている。これら第1,第2のコイルバネ15_1,15_2には、圧縮バネが採用されている。また、レンズユニット1には、図4に示すように、赤外線をカットする赤外カットフィルタ(IRカットフィルタ)16が配置されている。   Furthermore, in the lens unit 1, the electrical wiring between the first contact piece 14_1 and the second contact piece 14_2 of the lens holder 11 and the first electrode 21_6 and the second electrode 21_7 of the liquid lens 21 is provided. Are provided with a first coil spring 15_1 and a second coil spring 15_2. Compression springs are employed as the first and second coil springs 15_1 and 15_2. In addition, as shown in FIG. 4, an infrared cut filter (IR cut filter) 16 that cuts infrared rays is disposed in the lens unit 1.

ここで、レンズユニット1には、カメラ本体に備えられた電気回路基板101が取り付けられている。この電気回路基板101には、前述したCCD112が搭載されている。また、この電気回路基板101に設けられた電圧印加端子,グラウンド端子(図示せず)と第1,第2の接片14_1,14_2とが半田17で半田接続されている。このようにすることにより、電気回路基板101とレンズユニット1との半田接続部において防塵構造が実現されている。   Here, the electric circuit board 101 provided in the camera body is attached to the lens unit 1. The above-described CCD 112 is mounted on the electric circuit board 101. In addition, a voltage application terminal and a ground terminal (not shown) provided on the electric circuit board 101 and the first and second contact pieces 14_1 and 14_2 are solder-connected by a solder 17. By doing so, a dustproof structure is realized at the solder connection portion between the electric circuit board 101 and the lens unit 1.

図5は、レンズユニットの裏面を示す図である。   FIG. 5 is a diagram illustrating the back surface of the lens unit.

図5に示すレンズユニット1の裏面には、第1の接片14_1の先端部が露出されてなる半田接続部11aと、第2の接片14_2の先端部が露出されてなる半田接続部11bが設けられている。これら半田接続部11a,11bにおいて、電気回路基板101に設けられた電圧印加端子,グラウンド端子と第1,第2の接片14_1,14_2の先端部とを半田17で半田接続することにより、レンズユニット1と電気回路基板101とが密着して防塵構造が実現されている。   On the back surface of the lens unit 1 shown in FIG. 5, the solder connection portion 11a in which the tip end portion of the first contact piece 14_1 is exposed and the solder connection portion 11b in which the tip end portion of the second contact piece 14_2 is exposed. Is provided. In these solder connection portions 11a and 11b, the voltage application terminal and the ground terminal provided on the electric circuit board 101 are soldered to the front end portions of the first and second contact pieces 14_1 and 14_2 with the solder 17, thereby the lens. The unit 1 and the electric circuit board 101 are in close contact with each other to realize a dustproof structure.

ここで、電気回路基板101の電圧印加端子,グラウンド端子から第1,第2の接片14_1,14_2および第1,第のコイルバネ15_1,15_2を経由して、液体レンズ21の第1の電極21_6,第2の電極21_7にプラスの電圧,マイナスの電圧を印加すると、油21_4からみたときの、水21_3と油21_4との境界面Aの形状は凸状となり、このため液体レンズ21は凸レンズとして機能する。   Here, the first electrode 21_6 of the liquid lens 21 passes through the first and second contact pieces 14_1 and 14_2 and the first and first coil springs 15_1 and 15_2 from the voltage application terminal and the ground terminal of the electric circuit board 101. When a positive voltage or a negative voltage is applied to the second electrode 21_7, the shape of the boundary surface A between the water 21_3 and the oil 21_4 when viewed from the oil 21_4 becomes convex, and thus the liquid lens 21 is formed as a convex lens. Function.

また、第1の電極21_6と第2の電極21_7との相互間に電圧が印加されていない状態では、油21_4からみたときの、水21_3と油21_4との境界面Aの形状は凹状となり、液体レンズ21は凹レンズとして機能する。   In addition, in a state where no voltage is applied between the first electrode 21_6 and the second electrode 21_7, the shape of the boundary surface A between the water 21_3 and the oil 21_4 when viewed from the oil 21_4 is concave, The liquid lens 21 functions as a concave lens.

さらに、第1の電極21_6および第2の電極21_7に印加される電圧を調整することによって、水21_3と油21_4との境界面Aの形状を少しずつ変化させることができる。このように、この液体レンズ21によると、レンズを移動させる機構を設けなくても、水21_3と油21_4との境界面Aの形状を変化させることによって、フォーカス機能を実現することができる。   Further, by adjusting the voltage applied to the first electrode 21_6 and the second electrode 21_7, the shape of the boundary surface A between the water 21_3 and the oil 21_4 can be changed little by little. Thus, according to the liquid lens 21, the focus function can be realized by changing the shape of the boundary surface A between the water 21_3 and the oil 21_4 without providing a mechanism for moving the lens.

図6は、図3,図4,図5に示すレンズユニットを構成するレンズホルダにインモールド成型された第1,第2の接片を示す図である。   FIG. 6 is a view showing first and second contact pieces in-molded on a lens holder constituting the lens unit shown in FIGS. 3, 4 and 5.

図6には、レンズユニット1を構成するレンズホルダ11が示されており、このレンズホルダ11には、円周部14_1aおよび直進部14_1bからなる第1の接片14_1がインモールド成型されている。また、このこのレンズホルダ11には、円周部14_2aおよび直進部14_2bからなる第2の接片14_2もインモールド成型されている。   FIG. 6 shows a lens holder 11 constituting the lens unit 1, and a first contact piece 14_1 including a circumferential portion 14_1a and a rectilinear portion 14_1b is in-mold molded in the lens holder 11. . The lens holder 11 is also in-mold molded with a second contact piece 14_2 including a circumferential portion 14_2a and a rectilinear portion 14_2b.

図7は、レンズユニットの、第1,第2の接片を含む平面図、正面図、および側面図である。   FIG. 7 is a plan view, a front view, and a side view of the lens unit including the first and second contact pieces.

図7(a),図7(b),図7(c)には、それぞれ、レンズユニット1の、第1,第2の接片14_1,14_2を含む平面図,正面図,側面図が示されている。レンズユニット1は、これら図7(a),図7(b),図7(c)に示すように、撮影レンズ22と、その撮影レンズ22の前面に備えられた上述した液体レンズ21と、レンズホルダ11にインモールド成型された第1,第2の接片14_1,14_2とを有する。   FIGS. 7A, 7B, and 7C are a plan view, a front view, and a side view of the lens unit 1 including the first and second contact pieces 14_1 and 14_2, respectively. Has been. As shown in FIGS. 7A, 7B, and 7C, the lens unit 1 includes a photographic lens 22 and the liquid lens 21 provided on the front surface of the photographic lens 22, The lens holder 11 includes first and second contact pieces 14_1 and 14_2 formed in-mold.

図8は、レンズホルダの、第1,第2の接片がインモールド成型された1次成型後の斜視図、図9は、レンズホルダの、第1,第2の接片がインモールド成型された1次成型後の側面図および正面図である。   FIG. 8 is a perspective view after the primary molding in which the first and second contact pieces of the lens holder are in-mold molded, and FIG. 9 is the in-mold molding of the first and second contact pieces of the lens holder. It is the side view and front view after the primary molding performed.

尚、図8,図9に示す1次成型後のレンズホルダ11に対して、その後、さらに2次成型が行なわれて、前述した図3の斜線部に示すような、最終的なレンズホルダ11の形状となる。   8 and 9, the lens holder 11 after the primary molding is further subjected to secondary molding, and the final lens holder 11 as shown by the hatched portion in FIG. 3 described above. It becomes the shape of.

1次成型後のレンズホルダ11には、図8の斜視図および図9(a),図9(b)の側面図,正面図に示すように、円周部14_1a,直進部14_1bからなる第1の接片14_1と、円周部14_2a,直進部14_2bからなる第2の接片14_2がインモールド成型されている。   As shown in the perspective view of FIG. 8, the side view of FIGS. 9A and 9B, and the front view of the lens holder 11 after the primary molding, the lens holder 11 includes a circumferential portion 14_1a and a rectilinear portion 14_1b. One contact piece 14_1 and a second contact piece 14_2 composed of a circumferential portion 14_2a and a rectilinear portion 14_2b are molded in-mold.

図10は、第1の接片の斜視図、図11は、第2の接片の斜視図である。   FIG. 10 is a perspective view of the first contact piece, and FIG. 11 is a perspective view of the second contact piece.

第1の接片14_1は、図10に示すように、1つの円周部14_1aと3つの直進部14_1bとが一体に形成されている。また、第2の接片14_2は、図11に示すように、1つの円周部14_2aと3つの直進部14_2bとが一体に形成されている。   As shown in FIG. 10, the first contact piece 14_1 is integrally formed with one circumferential portion 14_1a and three rectilinear portions 14_1b. Further, as shown in FIG. 11, the second contact piece 14_2 is integrally formed with one circumferential portion 14_2a and three rectilinear portions 14_2b.

図12は、第1の接片の平面図、正面図、および側面図である。   FIG. 12 is a plan view, a front view, and a side view of the first contact piece.

第1の接片14_1は、図12(a)に示すように、円周部14_1aの、各直進部14_1bが形成された両端に、各切欠部14_1a1を有する。また、第1の接片14_1は、図12(b),図12(c)に示すように、3つの直進部14_1bのうちの1つの直進部14_1bが他の2つの直進部14_1bよりも長手方向に長く形成された形状を有する。   As shown in FIG. 12A, the first contact piece 14_1 has the notches 14_1a1 at both ends of the circumferential portion 14_1a where the rectilinear portions 14_1b are formed. Further, as shown in FIGS. 12B and 12C, the first contact piece 14_1 has one rectilinear portion 14_1b out of the three rectilinear portions 14_1b longer than the other two rectilinear portions 14_1b. It has a shape that is long in the direction.

以上説明したように、カメラ100に組み込まれた第1実施形態のレンズユニット1は、撮影レンズ22の前面に備えられた電気的な配線を要する液体レンズ21とカメラ本体に備えられた電気回路基板101との電気的な接続は、レンズホルダ11にインモールド成型された電気的な配線として作用する第1,第2の接片14_1,14_2と電気的な配線として作用する第1,第2のコイルバネ15_1,15_2とにより行なわれる。このため、特許文献1に提案された、撮影レンズ前面に設けられたプリズムに備えられたコイルとカメラ本体に備えられた電気回路基板とをレンズホルダ内に配設された配線で半田接続等により結線する技術と比較し、組立工程が簡素化される。   As described above, the lens unit 1 of the first embodiment incorporated in the camera 100 includes the liquid lens 21 that is provided on the front surface of the photographing lens 22 and requires electrical wiring, and the electric circuit board that is provided on the camera body. The first and second contact pieces 14 </ b> _ <b> 1 and 14 </ b> _ <b> 2 that act as electrical wiring in-molded on the lens holder 11 and the first and second electrical connections that act as electrical wiring. This is performed by the coil springs 15_1 and 15_2. For this reason, the coil provided in the prism provided on the front surface of the photographing lens proposed in Patent Document 1 and the electric circuit board provided in the camera body are connected by soldering or the like with wiring arranged in the lens holder. The assembly process is simplified compared to the technique of connecting.

図13は、図12に示す第1の接片とは異なる第1の接片の平面図、正面図、および側面図である。   FIG. 13 is a plan view, a front view, and a side view of a first contact piece different from the first contact piece shown in FIG.

第1の接片14_11は、図13(a)に示すように、円周部14_11aの、各直進部14_11bが形成された両端に、各3つの切欠部14_11a1,14_11a2,14_11a3を有する。このように、第1の接片14_11に3つの切欠部14_11a1,14_11a2,14_11a3を設けることにより、その第1の接片14_11の軽量化を図ってもよい。   As shown in FIG. 13A, the first contact piece 14_11 has three cutout portions 14_11a1, 14_11a2, and 14_11a3 at both ends of the circumferential portion 14_11a where the rectilinear portions 14_11b are formed. As described above, the first contact piece 14_11 may be reduced in weight by providing the first contact piece 14_11 with the three cutout portions 14_11a1, 14_11a2, and 14_11a3.

図14は、本発明のレンズユニットの第2実施形態の断面図である。   FIG. 14 is a cross-sectional view of a second embodiment of the lens unit of the present invention.

尚、図4に示すレンズユニット1の構成要素と同じ構成要素には同一の符号を付し、異なる点について説明する。   In addition, the same code | symbol is attached | subjected to the same component as the component of the lens unit 1 shown in FIG. 4, and a different point is demonstrated.

このレンズユニット2には、図14(a)に示すように、撮影レンズ22の前面に、ピント調節用のフォーカスレンズ2_1と、本発明にいう作用体の他の一例であるフォーカスアクチュエータ2_2が備えられている。   As shown in FIG. 14A, the lens unit 2 includes a focus lens 2 </ b> _ <b> 1 for adjusting the focus and a focus actuator 2 </ b> _ 2, which is another example of the operating body according to the present invention, on the front surface of the photographing lens 22. It has been.

フォーカスレンズ2_1は、第1のレンズ2_11と第2のレンズ2_12から構成されている。第1のレンズ2_11は移動部材2_3に取り付けられているとともに、第2のレンズ2_12はレンズホルダ11に取り付けられている。   The focus lens 2_1 is composed of a first lens 2_11 and a second lens 2_12. The first lens 2_11 is attached to the moving member 2_3, and the second lens 2_12 is attached to the lens holder 11.

一方、フォーカスアクチュエータ2_2は、移動部材2_3に取り付けられたヨーク部材2_21と、ヨーク部材2_21の外周面に取り付けられたボイスコイル部材2_22と、このレンズユニット2の外面の一部分を成すマグネット2_23とから構成されている。   On the other hand, the focus actuator 2_2 includes a yoke member 2_21 attached to the moving member 2_3, a voice coil member 2_22 attached to the outer peripheral surface of the yoke member 2_21, and a magnet 2_23 constituting a part of the outer surface of the lens unit 2. Has been.

また、このレンズユニット2には、圧縮バネである第1,第2のコイルバネ15_1,15_2も備えられている。これら第1,第2のコイルバネ15_1,15_2は、左方向に付勢されている。このレンズユニット2は、以下に説明するようにして、ボイスコイル部材2_22に通電されることで、この図14(a)に示す状態となる。   The lens unit 2 also includes first and second coil springs 15_1 and 15_2 that are compression springs. These first and second coil springs 15_1 and 15_2 are urged leftward. The lens unit 2 is in a state shown in FIG. 14A when the voice coil member 2_22 is energized as described below.

レンズユニット2は、最初の時点では、図14(b)に示す初期状態にある。ここで、電気回路基板101の電圧印加端子,グラウンド端子(図示せず)から第1,第2の接片14_1,14_2および第1,第2のコイルバネ15_1,15_2を経由して、ボイスコイル部材2_22に電圧が印加される。すると、ボイスコイル部材2_22に電流が流れ、これにより発生した電磁力と、ヨーク部材2_21およびマグネット2_23により形成された電磁場とにより所定の推進モーメントが得られ、このモーメントにより、フォーカスアクチュエータ2_2を構成するヨーク部材2_21およびボイスコイル部材2_22とフォーカスレンズ2_1を構成するレンズ2_11とが、図14(a)に示すように、右方向に移動する。このようにして、フォーカスレンズ2_1の合焦位置が可変され、フォーカシングが行われる。   The lens unit 2 is in an initial state shown in FIG. Here, the voice coil member is connected to the voltage application terminal and ground terminal (not shown) of the electric circuit board 101 through the first and second contact pieces 14_1 and 14_2 and the first and second coil springs 15_1 and 15_2. A voltage is applied to 2_22. Then, a current flows through the voice coil member 2_22, and a predetermined propulsion moment is obtained by the electromagnetic force generated thereby and the electromagnetic field formed by the yoke member 2_21 and the magnet 2_23, and this moment constitutes the focus actuator 2_2. The yoke member 2_21, the voice coil member 2_22, and the lens 2_11 constituting the focus lens 2_1 move to the right as shown in FIG. In this way, the focusing position of the focus lens 2_1 is varied and focusing is performed.

図15は、本発明のレンズユニットの第3実施形態の断面図である。   FIG. 15 is a sectional view of a third embodiment of the lens unit of the present invention.

図15に示すレンズユニット3は、図14に示すレンズユニット2と比較し、ピント調節用のフォーカスレンズ2_1がフォーカスレンズ3_1に置き換えられている点が異なっている。図15(a)に示すように、フォーカスレンズ3_1は、第1のレンズ3_11と第2のレンズ3_12から構成されている。第1のレンズ3_11は、リング部材3_3に固定されている。また、第1,第2のコイルバネ15_1,15_2は圧縮バネであり、これら第1,第2のコイルバネ15_1,15_2は、左方向に付勢されている。   The lens unit 3 shown in FIG. 15 is different from the lens unit 2 shown in FIG. 14 in that the focus adjustment focus lens 2_1 is replaced with the focus lens 3_1. As shown in FIG. 15A, the focus lens 3_1 is composed of a first lens 3_11 and a second lens 3_12. The first lens 3_11 is fixed to the ring member 3_3. The first and second coil springs 15_1 and 15_2 are compression springs, and the first and second coil springs 15_1 and 15_2 are urged leftward.

ここで、電気回路基板101の電圧印加端子,グラウンド端子(図示せず)から第1,第2の接片14_1,14_2および第1,第のコイルバネ15_1,15_2を経由して、ボイスコイル部材2_22に電圧が印加されると、ボイスコイル部材2_22に電流が流れ、これにより発生した電磁力と、ヨーク部材2_21およびマグネット2_23により形成された電磁場とにより所定の推進モーメントが得られ、このモーメントにより、フォーカスアクチュエータ2_2とともにフォーカスレンズ3_1を構成する第2のレンズ3_12が、図15(b)に示すように、右方向に移動する。このようにして、フォーカスレンズ3_1の合焦位置を可変してもよい。   Here, the voice coil member 2_22 from the voltage application terminal and ground terminal (not shown) of the electric circuit board 101 via the first and second contact pieces 14_1 and 14_2 and the first and first coil springs 15_1 and 15_2. When a voltage is applied to the current, a current flows through the voice coil member 2_22, and a predetermined propulsion moment is obtained by the electromagnetic force generated thereby and the electromagnetic field formed by the yoke member 2_21 and the magnet 2_23. The second lens 3_12 that forms the focus lens 3_1 together with the focus actuator 2_2 moves to the right as shown in FIG. In this way, the focus position of the focus lens 3_1 may be varied.

上述した第1〜第3実施形態において、圧縮バネを利用することにより、半田付けを行なわず、コイルバネの両端で簡単な構造で電気的接続を行なうことができる。   In the first to third embodiments described above, by using the compression spring, it is possible to perform electrical connection with a simple structure at both ends of the coil spring without performing soldering.

また、第2,第3実施形態においては、レンズを所定方向に付勢するコイルバネを電気的接続と兼用することで、リード線やフレキシブル基板等の配線材料を省略でき、部品点数を削減できる。ボイスコイル部材からリード線を引き出して回路基板に直接半田付け接続する場合、リード線が細いために断線する虞があるが、コイルバネを使用することで、断線の虞がなくなる。   In the second and third embodiments, the coil spring that urges the lens in a predetermined direction is also used as an electrical connection, so that wiring materials such as lead wires and flexible boards can be omitted, and the number of parts can be reduced. When the lead wire is pulled out from the voice coil member and directly connected to the circuit board by soldering, the lead wire is thin and there is a risk of disconnection. However, the use of a coil spring eliminates the possibility of disconnection.

図16は、本発明のレンズユニットの第4実施形態が組み込まれたカメラの構成を示すブロック図である。   FIG. 16 is a block diagram showing a configuration of a camera in which the fourth embodiment of the lens unit of the present invention is incorporated.

尚、図16に示すカメラ200の外観斜視図は、図1に示すカメラ100の外観斜視図と同じであるため、図示省略する。   The external perspective view of the camera 200 shown in FIG. 16 is the same as the external perspective view of the camera 100 shown in FIG.

図16に示すカメラ200は、図1に示すカメラ100と比較し、手ぶれ検出部201が追加されている点と、AF制御部25が手ぶれ補正部202に置き換えられている点とが異なっている。   The camera 200 shown in FIG. 16 differs from the camera 100 shown in FIG. 1 in that a camera shake detection unit 201 is added and that the AF control unit 25 is replaced with a camera shake correction unit 202. .

手ぶれ検出部201は、カメラ200のぶれを検出し、そのぶれの大きさに応じた手ぶれ信号を出力する。   The camera shake detection unit 201 detects a camera shake and outputs a camera shake signal corresponding to the magnitude of the camera shake.

手ぶれ補正部202は、手ぶれ検出部201でのぶれの検出結果に応じて液体レンズ21のレンズ形状を変化させることによって、手ぶれ補正を行なう。詳細には、入射してきた被写体光の光路上に配備された液体レンズ21に、手ぶれ検出部201で検出されたぶれの検出結果に応じた電圧を手ぶれ補正部202で印加し、印加された電圧に応じて液体レンズ21で光路を偏向することにより、CCD112の撮像面上の被写体像のぶれを補正する。尚、この液体レンズ21に代えて、手ぶれ補正用の光学部材を駆動する手ぶれ補正アクチュエータを備えてもよい。   The camera shake correction unit 202 performs camera shake correction by changing the lens shape of the liquid lens 21 in accordance with the camera shake detection result of the camera shake detection unit 201. Specifically, a voltage corresponding to the detection result of the shake detected by the camera shake detection unit 201 is applied to the liquid lens 21 arranged on the optical path of the incident subject light by the camera shake correction unit 202, and the applied voltage Accordingly, the liquid lens 21 deflects the optical path to correct blurring of the subject image on the imaging surface of the CCD 112. Instead of the liquid lens 21, a camera shake correction actuator that drives a camera shake correcting optical member may be provided.

上述した実施形態では、本発明にいう弾性部材としてコイルバネの例で説明したが、これに限られるものではなく、本発明にいう弾性部材は板バネであってもよい。   In the above-described embodiment, the example of the coil spring has been described as the elastic member according to the present invention. However, the present invention is not limited thereto, and the elastic member according to the present invention may be a leaf spring.

また、本実施形態では、撮影光学系を備えその撮影光学系を経由して入射してきた被写体光を撮像素子で捉えて画像信号を生成するデジタルカメラに、本発明のレンズユニットの各実施形態が組み込まれた例で説明したが、これに限られるものではなく、例えば、ロール状の写真フイルム上に写真撮影を行なうコンパクトフイルムカメラ、携帯電話に搭載されるカメラ、フィルムをカメラ外部に送り出すとともに現像するインスタントカメラ、あるいは動画を撮影するビデオカメラのいずれにも、本発明を適用することができる。   Further, in the present embodiment, each embodiment of the lens unit of the present invention is applied to a digital camera that includes a photographing optical system and captures subject light incident via the photographing optical system with an image pickup device and generates an image signal. This is not limited to this example. For example, a compact film camera that takes a photograph on a roll-shaped photographic film, a camera mounted on a mobile phone, and the film is sent to the outside of the camera and developed. The present invention can be applied to either an instant camera or a video camera that takes a moving image.

本発明のレンズユニットの第1実施形態が組み込まれたカメラの外観斜視図である。1 is an external perspective view of a camera in which a first embodiment of a lens unit of the present invention is incorporated. 図1に示すカメラの構成を示すブロック図である。It is a block diagram which shows the structure of the camera shown in FIG. 図1に示すカメラに組み込まれたレンズユニットの一部を切り欠いて示した図である。It is the figure which notched and showed a part of lens unit incorporated in the camera shown in FIG. 図3に示すレンズユニットの断面図である。It is sectional drawing of the lens unit shown in FIG. レンズユニットの裏面を示す図である。It is a figure which shows the back surface of a lens unit. 図3,図4,図5に示すレンズユニットを構成するレンズホルダにインモールド成型された第1,第2の接片を示す図である。It is a figure which shows the 1st, 2nd contact piece in-mold-molded in the lens holder which comprises the lens unit shown in FIG.3, FIG.4, FIG.5. レンズユニットの、第1,第2の接片を含む平面図、正面図、および側面図である。It is the top view including the 1st, 2nd contact piece of a lens unit, a front view, and a side view. レンズホルダの、第1,第2の接片がインモールド成型された1次成型後の斜視図である。It is a perspective view after the primary molding in which the 1st and 2nd contact piece of the lens holder was in-mold molded. レンズホルダの、第1,第2の接片がインモールド成型された1次成型後の側面図および正面図である。It is the side view and front view after the primary molding by which the 1st, 2nd contact piece of the lens holder was in-mold molded. 第1の接片の斜視図である。It is a perspective view of the 1st contact piece. 第2の接片の斜視図である。It is a perspective view of the 2nd contact piece. 第1の接片の平面図、正面図、および側面図である。It is the top view, front view, and side view of a 1st contact piece. 図11に示す第1の接片とは異なる第1の接片の平面図、正面図、および側面図である。It is the top view, front view, and side view of a 1st contact piece different from the 1st contact piece shown in FIG. 本発明のレンズユニットの第2実施形態の断面図である。It is sectional drawing of 2nd Embodiment of the lens unit of this invention. 本発明のレンズユニットの第3実施形態の断面図である。It is sectional drawing of 3rd Embodiment of the lens unit of this invention. 本発明のレンズユニットの第4実施形態が組み込まれたカメラの構成を示すブロック図である。It is a block diagram which shows the structure of the camera in which 4th Embodiment of the lens unit of this invention was integrated.

符号の説明Explanation of symbols

1,2,3 レンズユニット
2_1,3_1 フォーカスレンズ
2_2 フォーカスアクチュエータ
2_3 移動部材
2_11,3_11 第1のレンズ
2_12,3_12 第2のレンズ
2_21 ヨーク部材
2_22 ボイスコイル部材
2_23 マグネット
3_3,12 リング部材
10 レンズ鏡胴
11 レンズホルダ
11a,11b 半田接続部
13 ネジ
14_1,14_11 第1の接片
14_1a,14_2a,14_11a 円周部
14_1b,14_2b,14_11b 直進部
14_1a1,14_11a1,14_11a2,14_11a3 切欠部
14_2 第2の接片
15_1 第1のコイルバネ
15_2 第2のコイルバネ
16 赤外カットフィルタ(IRカットフィルタ)
17 半田
20 撮影光学系
21 液体レンズ
21_1,21_2 カバーガラス
21_3 水
21_4 油
21_5 絶縁体
21_6 第1の電極
21_7 第2の電極
22 撮影レンズ
23 アイリス
24 シャッタ
25 AF制御部
26 アイリス駆動部
27 シャッタ駆動部
100,200 カメラ
101 電気回路基板
102 ファインダ
103 測光光学系
104 測距部
104a,104b AF受光窓
105 発光ユニット
110 メインCPU
110a EEPROM
111 操作スイッチ群
111a 電源スイッチ
111b シャッタ釦
111c 十字キー
111d メニュー/OKキー
111e キャンセルキー
111f モードレバー
112 CCD
113 A/D部
114 WB調整部・γ処理部
115 バッファメモリ
116 YC処理部
117 圧縮・伸張部
118 I/F
119 メモリカード
120 駆動用CPU
121 バス
130 電源
150 LCDパネル
151 YC→RGB変換部
152 ドライバ
153 クロックジェネレータ
201 手ぶれ検出部
202 手ぶれ補正部
1, 2, 3 Lens unit 2_1, 3_1 Focus lens 2_2 Focus actuator 2_3 Moving member 2_11, 3_11 First lens 2_12, 3_12 Second lens 2_21 Yoke member 2_22 Voice coil member 2_23 Magnet 3_3, 12 Ring member 10 Lens barrel DESCRIPTION OF SYMBOLS 11 Lens holder 11a, 11b Solder connection part 13 Screw 14_1, 14_11 1st contact piece 14_1a, 14_2a, 14_11a Circumferential part 14_1b, 14_2b, 14_11b Rectilinear part 14_1a1, 14_11a1, 14_11a2, 14_11a3 Notch part 2_2 piece 14_11 First coil spring 15_2 Second coil spring 16 Infrared cut filter (IR cut filter)
17 Solder 20 Imaging optical system 21 Liquid lens 21_1, 21_2 Cover glass 21_3 Water 21_4 Oil 21_5 Insulator 21_6 First electrode 21_7 Second electrode 22 Shooting lens 23 Iris 24 Shutter 25 AF control unit 26 Iris driving unit 27 Shutter driving unit DESCRIPTION OF SYMBOLS 100,200 Camera 101 Electric circuit board 102 Finder 103 Photometry optical system 104 Distance measuring part 104a, 104b AF light reception window 105 Light emission unit 110 Main CPU
110a EEPROM
111 Operation switch group 111a Power switch 111b Shutter button 111c Four-way key 111d Menu / OK key 111e Cancel key 111f Mode lever 112 CCD
113 A / D unit 114 WB adjustment unit / γ processing unit 115 buffer memory 116 YC processing unit 117 compression / decompression unit 118 I / F
119 Memory card 120 CPU for driving
121 Bus 130 Power Supply 150 LCD Panel 151 YC → RGB Conversion Unit 152 Driver 153 Clock Generator 201 Camera Shake Detection Unit 202 Camera Shake Correction Unit

Claims (5)

撮影レンズと、
前記撮影レンズのうちの少なくとも一部のレンズを保持するレンズホルダと、
前記レンズホルダに備えられた、電気的な配線を要する作用体とを備え、
前記レンズホルダは、電気的な配線として作用する接片がインモールド成型されたものであり、
前記接片と、前記作用体との間の電気的な配線として作用する弾性部材を備えたことを特徴とするレンズユニット。
A taking lens,
A lens holder for holding at least a part of the photographing lens;
An action body provided with the lens holder and requiring electrical wiring;
The lens holder is an in-mold molded piece that acts as an electrical wiring,
A lens unit comprising an elastic member that acts as an electrical wiring between the contact piece and the working body.
前記弾性部材が、コイルバネであることを特徴とする請求項1記載のレンズユニット。   The lens unit according to claim 1, wherein the elastic member is a coil spring. 前記弾性部材が、板バネであることを特徴とする請求項1記載のレンズユニット。   The lens unit according to claim 1, wherein the elastic member is a leaf spring. 前記作用体が、ピント調節用の光学部材を駆動するフォーカスアクチュエータであることを特徴とする請求項1記載のレンズユニット。   The lens unit according to claim 1, wherein the acting body is a focus actuator that drives an optical member for focus adjustment. 前記作用体が、手ぶれ補正用の光学部材を駆動する手ぶれ補正アクチュエータであることを特徴とする請求項1記載のレンズユニット。   The lens unit according to claim 1, wherein the action body is a camera shake correction actuator that drives an optical member for camera shake correction.
JP2005358878A 2005-12-13 2005-12-13 Lens unit Abandoned JP2007163749A (en)

Priority Applications (1)

Application Number Priority Date Filing Date Title
JP2005358878A JP2007163749A (en) 2005-12-13 2005-12-13 Lens unit

Applications Claiming Priority (1)

Application Number Priority Date Filing Date Title
JP2005358878A JP2007163749A (en) 2005-12-13 2005-12-13 Lens unit

Publications (1)

Publication Number Publication Date
JP2007163749A true JP2007163749A (en) 2007-06-28

Family

ID=38246715

Family Applications (1)

Application Number Title Priority Date Filing Date
JP2005358878A Abandoned JP2007163749A (en) 2005-12-13 2005-12-13 Lens unit

Country Status (1)

Country Link
JP (1) JP2007163749A (en)

Cited By (9)

* Cited by examiner, † Cited by third party
Publication number Priority date Publication date Assignee Title
JP2008276228A (en) * 2007-04-26 2008-11-13 Samsung Electro-Mechanics Co Ltd Camera module for auto focusing which has liquid lens
JP2013073094A (en) * 2011-09-28 2013-04-22 Mitsumi Electric Co Ltd Lens drive device
WO2014058023A1 (en) * 2012-10-12 2014-04-17 シャープ株式会社 Camera module and electronic device
KR20150120145A (en) * 2014-04-17 2015-10-27 엘지이노텍 주식회사 Camera module
KR20160005414A (en) 2014-07-07 2016-01-15 삼성전기주식회사 Camera Module
WO2021054751A1 (en) * 2019-09-18 2021-03-25 엘지이노텍 주식회사 Lens module
KR20210118129A (en) * 2019-02-28 2021-09-29 후아웨이 테크놀러지 컴퍼니 리미티드 Lens assembly having a voice coil motor and a voice coil motor for driving a liquid lens
CN116055850A (en) * 2021-10-27 2023-05-02 宁波舜宇光电信息有限公司 Camera module, assembly method and electronic device
CN116097163A (en) * 2020-08-04 2023-05-09 罗伯特·博世有限公司 Camera module and method for producing a camera module

Citations (5)

* Cited by examiner, † Cited by third party
Publication number Priority date Publication date Assignee Title
JPH0546927B2 (en) * 1984-01-10 1993-07-15 Canon Kk
JP2003289679A (en) * 2002-03-27 2003-10-10 Toshiba Corp Electrostatic actuator
JP2003295033A (en) * 2002-04-02 2003-10-15 Shicoh Eng Co Ltd Lens driving device
JP2005173431A (en) * 2003-12-15 2005-06-30 Sharp Corp Autofocus device
JP2005210628A (en) * 2004-01-26 2005-08-04 Mitsui Chemicals Inc Substrate for mounting semiconductor for imaging device, and imaging device

Patent Citations (5)

* Cited by examiner, † Cited by third party
Publication number Priority date Publication date Assignee Title
JPH0546927B2 (en) * 1984-01-10 1993-07-15 Canon Kk
JP2003289679A (en) * 2002-03-27 2003-10-10 Toshiba Corp Electrostatic actuator
JP2003295033A (en) * 2002-04-02 2003-10-15 Shicoh Eng Co Ltd Lens driving device
JP2005173431A (en) * 2003-12-15 2005-06-30 Sharp Corp Autofocus device
JP2005210628A (en) * 2004-01-26 2005-08-04 Mitsui Chemicals Inc Substrate for mounting semiconductor for imaging device, and imaging device

Cited By (20)

* Cited by examiner, † Cited by third party
Publication number Priority date Publication date Assignee Title
US7773875B2 (en) 2007-04-26 2010-08-10 Samsung Electro-Mechanics Co., Ltd. Auto-focusing camera module having liquid lens
JP2008276228A (en) * 2007-04-26 2008-11-13 Samsung Electro-Mechanics Co Ltd Camera module for auto focusing which has liquid lens
JP2013073094A (en) * 2011-09-28 2013-04-22 Mitsumi Electric Co Ltd Lens drive device
JPWO2014058023A1 (en) * 2012-10-12 2016-09-05 シャープ株式会社 Camera module and electronic equipment
WO2014058023A1 (en) * 2012-10-12 2014-04-17 シャープ株式会社 Camera module and electronic device
CN104704414A (en) * 2012-10-12 2015-06-10 夏普株式会社 Camera module and electronic device
CN104704414B (en) * 2012-10-12 2017-03-08 夏普株式会社 Camera assembly and electronic equipment
JP2017517928A (en) * 2014-04-17 2017-06-29 エルジー イノテック カンパニー リミテッド Camera module and optical device
KR20150120145A (en) * 2014-04-17 2015-10-27 엘지이노텍 주식회사 Camera module
KR102217098B1 (en) * 2014-04-17 2021-02-18 엘지이노텍 주식회사 Camera module
CN105319802A (en) * 2014-07-07 2016-02-10 三星电机株式会社 Camera module
KR20160005414A (en) 2014-07-07 2016-01-15 삼성전기주식회사 Camera Module
CN105319802B (en) * 2014-07-07 2018-06-29 三星电机株式会社 Camera model
KR20210118129A (en) * 2019-02-28 2021-09-29 후아웨이 테크놀러지 컴퍼니 리미티드 Lens assembly having a voice coil motor and a voice coil motor for driving a liquid lens
KR102728534B1 (en) 2019-02-28 2024-11-08 후아웨이 테크놀러지 컴퍼니 리미티드 Voice coil motor for driving a liquid lens and lens assembly having a voice coil motor
WO2021054751A1 (en) * 2019-09-18 2021-03-25 엘지이노텍 주식회사 Lens module
CN116097163A (en) * 2020-08-04 2023-05-09 罗伯特·博世有限公司 Camera module and method for producing a camera module
JP2023538258A (en) * 2020-08-04 2023-09-07 ロベルト・ボッシュ・ゲゼルシャフト・ミト・ベシュレンクテル・ハフツング Camera module, camera module manufacturing method
JP7568827B2 (en) 2020-08-04 2024-10-16 ロベルト・ボッシュ・ゲゼルシャフト・ミト・ベシュレンクテル・ハフツング Camera module and manufacturing method thereof
CN116055850A (en) * 2021-10-27 2023-05-02 宁波舜宇光电信息有限公司 Camera module, assembly method and electronic device

Similar Documents

Publication Publication Date Title
JP5173453B2 (en) Imaging device and display control method of imaging device
US8988585B2 (en) Focus adjustment apparatus
JP6071436B2 (en) Imaging apparatus, imaging method, and program
JP2010026010A (en) Imaging apparatus and photographic lens
JP5199302B2 (en) Imaging device
JP2007114585A (en) Image blur correction apparatus and imaging apparatus
JP2010026120A (en) Camera system and adapter
JP2007163749A (en) Lens unit
US9008499B2 (en) Optical viewfinder
JP4745077B2 (en) Imaging device
JP2012019343A (en) Imaging device, control method thereof, and program
JP2011022566A (en) Zoom lens and image capturing apparatus
JP5203155B2 (en) IMAGING DEVICE AND IMAGING DEVICE CONTROL METHOD
JP4910454B2 (en) Lens barrel and imaging device
JP2007005912A (en) Electronic imaging apparatus
US20080084493A1 (en) Camera, camera unit and camera system
JP2007121770A (en) Lens device, lens adjustment device, and camera
US20070247545A1 (en) Auxiliary light irradiating device for photographing device, method thereof and storage medium storing program
JP2019169822A (en) Imaging apparatus and image display method in the same
JP4560383B2 (en) Lens unit
JP5274290B2 (en) IMAGING DEVICE AND IMAGING DEVICE CONTROL METHOD
US20140294371A1 (en) Optical viewfinder
JP4354416B2 (en) Digital camera
JP2007060131A (en) Camera with live view display function
JP2003348393A (en) Digital camera

Legal Events

Date Code Title Description
A621 Written request for application examination

Free format text: JAPANESE INTERMEDIATE CODE: A621

Effective date: 20081021

A711 Notification of change in applicant

Free format text: JAPANESE INTERMEDIATE CODE: A711

Effective date: 20100617

A977 Report on retrieval

Effective date: 20110307

Free format text: JAPANESE INTERMEDIATE CODE: A971007

A131 Notification of reasons for refusal

Free format text: JAPANESE INTERMEDIATE CODE: A131

Effective date: 20110315

A762 Written abandonment of application

Effective date: 20110421

Free format text: JAPANESE INTERMEDIATE CODE: A762